Entretien
Note: Les côtés gauche et droit de la machine sont déterminés d'après la position d'utilisation normale.
Consignes de sécurité pendant l'entretien
Prudence
Si vous laissez la clé dans le commutateur, quelqu'un pourrait mettre le moteur en marche accidentellement et vous blesser gravement, ainsi que toute personne à proximité.
Retirez la clé du commutateur d'allumage avant tout entretien.
-
Garez la machine sur une surface plane et horizontale, débrayez les commandes hydrauliques auxiliaires, abaissez l'outil, serrez le frein de stationnement, coupez le moteur et retirez la clé. Attendez l'arrêt complet de tout mouvement et laissez refroidir la machine avant de la régler, la nettoyer, la remiser ou la réparer.
-
Ne confiez pas l'entretien de la machine à des personnes non qualifiées.
-
Utilisez des chandelles pour soutenir les composants au besoin.
-
Libérez la pression emmagasinée dans les composants avec précaution ; voir Évacuer la pression hydraulique.
-
Débranchez la batterie avant d'entreprendre des réparations ; voir Utilisation du coupe-batterie.
-
N'approchez jamais les mains ou les pieds des pièces mobiles. Dans la mesure du possible, évitez de procéder à des réglages sur la machine quand elle est en marche.
-
Maintenez toutes les pièces en bon état de marche et toutes les fixations bien serrées. Remplacez tous les autocollants usés ou endommagés.
-
Ne modifiez pas les dispositifs de sécurité.
-
Utilisez uniquement des outils agréés par Toro. Les outils peuvent modifier la stabilité et les caractéristiques de fonctionnement de la machine. L'utilisation de la machine avec des outils non agréés risque d'annuler la garantie.
-
Utilisez exclusivement des pièces de rechange d'origine Toro.
-
Si un entretien ou une réparation exige que les bras de chargeuse soient levés, bloquez-les en position levée à l'aide du dispositif de verrouillage de vérins hydrauliques.
-
Reportez-vous à la réglementation locale concernant la sécurité d'entretien de la machine et apposez une étiquette d'avertissement sur le panneau de commande pour informer les autres utilisateurs de l'entretien en cours.
Programme d'entretien recommandé
| Périodicité d'entretien | Procédure d'entretien |
|---|---|
| Après les 8 premières heures de fonctionnement |
|
| Après les 50 premières heures de fonctionnement |
|
| À chaque utilisation ou une fois par jour |
|
| Toutes les 25 heures |
|
| Toutes les 50 heures |
|
| Toutes les 100 heures |
|
| Toutes les 400 heures |
|
| Toutes les 500 heures |
|
| Toutes les 1000 heures |
|
| Toutes les 1500 heures ou tous les 2 ans (la première échéance prévalant) |
|
| Une fois par an ou avant le remisage |
|
Procédures avant l'entretien
Utilisation des dispositifs de blocage des vérins
Attention
Lorsqu'ils sont levés, les bras de chargeuse peuvent s'abaisser accidentellement et d'écraser quelqu'un dans leur chute.
Pour cette raison, installez toujours le dispositif de blocage des vérins avant tout entretien exigeant d'élever les bras de chargeuse.
Installation des dispositifs de blocage des vérins
-
Retirez l'outil.
-
Levez les bras de chargeuse au maximum.
-
Coupez le moteur et retirez la clé.
-
Placez un dispositif de blocage sur la tige de chaque vérin de levage.

-
Fixez chaque dispositif de blocage à l'aide de 2 goupilles.
-
Abaissez lentement les bras de chargeuse jusqu'à ce que les dispositifs de blocage rencontrent les corps de vérin et l'extrémité des tiges.
Dépose et rangement des dispositifs de blocage de vérin
Important: Retirez les dispositifs de blocage des tiges et rangez-les correctement avant d'utiliser la machine.
-
Démarrez la machine.
-
Levez les bras de la chargeuse au maximum.
-
Coupez le moteur et retirez la clé.
-
Retirez les goupilles qui fixent chaque dispositif de blocage.
-
Déposez les dispositifs de blocage de vérin.
-
Placez les dispositifs de blocage sur les montants de chaque côté de la machine, et fixez-les en position à l'aide des goupilles.
-
Abaissez les bras de chargeuse.
Accès aux composants internes
Attention
L'ouverture ou la dépose des couvercles, capots et écrans alors que la machine est en marche peut vous exposer à des pièces mobiles et vous blesser gravement.
Avant d'ouvrir un couvercle, un capot ou un écran, coupez le moteur, enlevez la clé du commutateur et laissez refroidir la machine.
Abaissement du coussin arrière
-
Garez la machine sur une surface plane et horizontale.
-
Coupez le moteur de la machine, enlevez la clé et attendez l'arrêt complet de toutes les pièces mobiles.
-
Abaissez la plate-forme.
-
Desserrez les boutons de chaque côté du coussin.

-
Abaissez le coussin sur la plate-forme.

-
Effectuez les entretiens ou réglages nécessaires sur la machine.
-
Relevez le coussin et glissez-le sur les goupilles de chaque côté de la machine.
-
Serrez les boutons.
Dépose du couvercle arrière
-
Garez la machine sur une surface plane et horizontale.
-
Coupez le moteur de la machine, enlevez la clé et attendez l'arrêt complet de toutes les pièces mobiles.
-
Abaissez la plate-forme.
-
Abaissez le coussin arrière.
-
Retirez les boulons de fixation du couvercle arrière et déposez le couvercle.

Lubrification
Graissage de la machine
| Périodicité d'entretien | Procédure d'entretien |
|---|---|
| À chaque utilisation ou une fois par jour |
|
Type de graisse : universelle
-
Garez la machine sur une surface plane et horizontale et abaissez les bras de chargeuse.
-
Coupez le moteur et retirez la clé.
-
Nettoyez les graisseurs avec un chiffon.
-
Raccordez un pistolet de graissage à chaque graisseur.

-
Injectez de la graisse dans les graisseurs jusqu'à ce qu'elle commence à sortir des roulements (environ 3 injections).
-
Essuyez tout excès de graisse.
Entretien du système électrique
Consignes de sécurité relatives au système électrique
-
Débranchez la batterie avant d'entreprendre des réparations ; voir Utilisation du coupe-batterie.
-
Chargez la batterie dans un endroit dégagé et bien aéré, à l'écart des flammes ou sources d'étincelles. Débranchez le chargeur du secteur avant de brancher ou de débrancher la batterie. Portez des vêtements de protection et utilisez des outils isolés.
-
L'acide de la batterie est toxique et peut causer des brûlures. Évitez tout contact avec la peau, les yeux et les vêtements. Protégez-vous le visage, les yeux et les vêtements quand vous manipulez la batterie.
-
Les gaz de la batterie sont explosifs. Gardez la batterie éloignée des cigarettes, des flammes ou des sources d'étincelles.
Utilisation du coupe-batterie
-
Garez la machine sur une surface plane et horizontale et abaissez les bras de chargeuse.
-
Coupez le moteur et retirez la clé.
-
Tournez le coupe-batterie en position SOUS TENSION ou HORS TENSION.
-
Pour mettre la machine sous tension, tournez le coupe-batterie dans le sens horaire à la position SOUS TENSION.
-
Pour mettre la machine hors tension, tournez le coupe-batterie dans le sens antihoraire à la position HORS TENSION.

-
Entretien de la batterie au plomb
| Périodicité d'entretien | Procédure d'entretien |
|---|---|
| Toutes les 50 heures |
|
Retrait de la batterie
Attention
S'ils sont mal acheminés, les câbles de la batterie peuvent subir des dommages ou endommager la machine et produire des étincelles. Les étincelles peuvent provoquer l'explosion des gaz de la batterie et causer des blessures graves ou mortelles.
Débranchez toujours le câble négatif (noir) de la batterie avant le câble positif (rouge).
-
Garez la machine sur une surface plane et horizontale et abaissez les bras de chargeuse.
-
Coupez le moteur et retirez la clé.
-
Déposez le couvercle supérieur.

-
Débranchez le câble de masse négatif (noir) de la borne de la batterie. Conservez les fixations.

-
Repoussez le capuchon en caoutchouc sur le câble positif (rouge).
-
Débranchez le câble positif (rouge) de la borne de la batterie. Conservez les fixations.
-
Déposez la barrette de fixation de la batterie.
-
Retrait de la batterie.
Charge de la batterie
Attention
La batterie en charge produit des gaz qui peuvent exploser et causer des blessures graves ou mortelles.
Ne fumez jamais à côté de la batterie et tenez-la à l'écart des flammes ou sources d'étincelles.
Important: Gardez toujours la batterie chargée au maximum (densité 1,265). Cela est particulièrement important pour prévenir la dégradation de la batterie si la température tombe en dessous de 0 °C.
-
Retirez la batterie de la machine ; voir Retrait de la batterie.
-
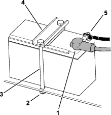
Chargez la batterie pendant 4 à 8 heures à un régime de 3 à 4 A (Figure 38). Ne chargez pas la batterie excessivement.

-
Quand la batterie est chargée au maximum, débranchez le chargeur de la prise, puis débranchez les fils du chargeur des bornes de la batterie (Figure 38).
Nettoyage de la batterie
Note: Maintenez propres les bornes et le bac de la batterie pour prolonger la vie de la batterie.
-
Garez la machine sur une surface plane et horizontale, abaissez les bras chargeuse et serrez le frein de stationnement.
-
Coupez le moteur et enlevez la clé.
-
Retirez la batterie de la machine ; voir Retrait de la batterie.
-
Lavez le bac complet avec un mélange d'eau et de bicarbonate de soude.
-
Rincez la batterie à l'eau claire.
-
Pour prévenir la corrosion, enduisez les bornes de la batterie et les cosses des câbles de graisse Grafo 112X (Skin-Over) ou de vaseline.
-
Reposez la batterie ; voir Mise en place de la batterie.
Mise en place de la batterie
Attention
S'ils sont mal acheminés, les câbles de la batterie peuvent subir des dommages ou endommager la machine et produire des étincelles. Les étincelles peuvent provoquer l'explosion des gaz de la batterie et causer des blessures graves ou mortelles.
Connectez toujours le câble positif (rouge) de la batterie avant le câble négatif (noir).
-
Placez la batterie sur son support et fixez-la en place avec la barrette de fixation.

-
Branchez le câble positif (rouge) de la batterie à la borne positive (+) à l'aide des fixations retirées précédemment.
-
Placez le capuchon rouge sur la borne positive de la batterie.
-
Branchez le câble négatif (noir) de la batterie à la borne négative (-) à l'aide des fixations retirées précédemment.
-
Reposez le couvercle supérieur.

Entretien d'une batterie de rechange
La batterie d'origine ne nécessite aucun entretien. Pour savoir comment faire l'entretien d'une batterie de rechange, reportez-vous aux instructions du fabricant de la batterie.
Entretien des batteries lithium-ion
Note: La machine est équipée de 10 batteries ion-lithium.
Les batteries ion-lithium doivent être mises au rebut ou recyclées conformément à la réglementation locale et fédérale. Pour tout entretien des batteries, contactez un concessionnaire-réparateur agréé.
N'ouvrez pas la batterie. En cas de problèmes de batterie, contactez votre concessionnaire-réparateur agréé.
Entretien des batteries ion-lithium
Attention
Les batteries contiennent une tension élevée qui peut causer des brûlures ou un choc électrique.
-
N'essayez pas d'ouvrir les batteries.
-
Faites preuve d'une extrême prudence quand vous manipulez une batterie dont le bac est fissuré.
-
Utilisez uniquement le chargeur conçu pour les batteries.
Les batteries ion-lithium possèdent une charge suffisante pour effectuer les travaux prévus au cours de leur durée de vie.
Pour une durée de vie et une utilisation optimales de vos batteries, respectez les consignes qui suivent :
-
N'ouvrez pas la batterie.
-
Remisez/garez la machine dans un garage ou un lieu d'entreposage propre et sec, à l'abri de la lumière directe du soleil, de sources de chaleur, de la pluie et de l'humidité. Ne la rangez pas dans un lieu où la température dépasse la plage spécifiée sous Spécifications de remisage des batteries.
Important: Les températures en dehors de cette plage endommageront les batteries. Les températures élevées pendant le stockage, notamment quand la charge est élevée, réduisent la durée de vie des batteries.
-
Si vous devez remiser la machine plus de 10 jours, placez-la dans un endroit frais et sec, à l'abri des rayons du soleil, de la pluie et de l'humidité.
-
Si vous utilisez la machine lorsqu'il fait très chaud ou en plein soleil, la batterie peut surchauffer. Dans ce cas, une alerte de haute température s'affiche sur l'écran de l'InfoCenter et la fonctionnalité de la machine peut être réduite.
Conduisez immédiatement la machine dans un endroit frais, à l'abri du soleil, coupez le moteur et laissez refroidir complètement les batteries avant de reprendre le travail. Si les batteries continuent de surchauffer, une autre alerte s'affiche sur l'InfoCenter et le moteur de la machine est coupé.
-
N'utilisez l'éclairage que lorsque cela est nécessaire.
Entretien du chargeur de batteries
Important: Confiez toutes les réparations électriques à un concessionnaire réparateur agréé.
Le chargeur n'a besoin que de très peu d'entretien à part d'être protégé des dommages et des intempéries.
-
Enroulez le cordon et placez-le dans le compartiment de rangement lorsqu'il ne sert pas.
-
Vérifiez régulièrement l'état du cordon et remplacez-le au besoin par un cordon agréé par Toro.
Entretien des fusibles
Le système électrique est protégé par des fusibles. Il ne nécessite aucun entretien. Voir le Manuels d'entretien du groupe de déplacement pour savoir comment tester et faire l'entretien des fusibles boulonnés.

-
Garez la machine sur une surface plane et horizontale et abaissez les bras de chargeuse.
-
Coupez le moteur et retirez la clé.
-
Tournez le coupe-batterie en position HORS TENSION.
-
Abaissez le coussin arrière et déposez le couvercle arrière ; voir Dépose du couvercle arrière.
-
Remplacez les fusibles au besoin.


-
Tournez le coupe-batterie en position SOUS TENSION.
-
Remettez en place le couvercle arrière et le coussin.
Entretien du système d'entraînement
Entretien des chenilles
| Périodicité d'entretien | Procédure d'entretien |
|---|---|
| Après les 8 premières heures de fonctionnement |
|
| Après les 50 premières heures de fonctionnement |
|
| À chaque utilisation ou une fois par jour |
|
| Toutes les 50 heures |
|
Nettoyage des chenilles
-
Garez la machine sur une surface plane et horizontale.
-
Le godet étant monté et basculé vers le bas, abaissez-le au sol afin que l'avant du groupe de déplacement se soulève de quelques centimètres.
-
Coupez le moteur et retirez la clé.
-
Nettoyez les chenilles au tuyau d'arrosage ou au jet haute pression.
Important: Le jet haute pression ne doit servir qu'au nettoyage des chenilles. Ne l'utilisez jamais pour nettoyer le reste de la machine N'utilisez pas de jet d'eau haute pression entre le pignon d'entraînement et le groupe de déplacement, cela pourrait endommager les joints du moteur. Le lavage au jet d'eau haute pression peut endommager le système électrique et les vannes hydrauliques, ou enlever la graisse.
Important: Nettoyez soigneusement les galets de roulement, la roue avant, la roue arrière et le pignon d'entraînement. Les galets de roulement doivent tourner librement lorsqu'ils sont propres.

Contrôle et réglage de la tension des chenilles
Levez/soutenez un côté de la machine, puis en vous aidant du poids de la chenille, vérifiez qu'un espace de 19 mm sépare le bas du rebord du galet de roulement et la chenille. Si ce n'est pas le cas, réglez la tension des chenilles comme suit :

-
Garez la machine sur une surface plane et horizontale et abaissez les bras de chargeuse.
-
Coupez le moteur et retirez la clé.
-
Levez le côté de la machine que vous réglez de sorte à décoller la chenille du sol.
-
Desserrez les boulons du couvercle et déposez le couvercle.

-
Desserrez l'écrou de blocage et tournez la vis de tension dans un sens ou dans l'autre jusqu'à ce que la chenille présente une flèche de 19 mm.

-
Resserrez l'écrou de blocage.
-
Reposez le couvercle et serrez les boulons.
-
Répétez la procédure pour l'autre chenille.
-
Conduisez la machine, puis garez-la sur une surface plane et horizontale, serrez le frein de stationnement, coupez le moteur et enlevez la clé.
-
Vérifiez que la chenille présente une flèche de 19 mm. Réglez au besoin.
Remplacement des chenilles
Dépose des chenilles
-
Retirez les outils éventuellement montés.
-
Garez la machine sur une surface plane et horizontale en vérifiant qu'une seule moitié de pignon est engagée sur la chenille.

-
Abaissez les bras de chargeuse.
-
Coupez le moteur et retirez la clé.
-
Soulevez la machine de sorte que le dessous de la chenille se trouve à au moins 10 cm au-dessus du sol. Soutenez la machine avec des chandelles.
Note: Utilisez des chandelles pouvant soutenir le poids de votre machine.
Attention
Les crics mécaniques ou hydrauliques peuvent céder sous le poids de la machine et causer des blessures graves.
Utilisez des chandelles pour soutenir la machine.
-
Retirez et conservez les 4 boulons qui fixent l'aile au cadre, et déposez l'aile.

-
Desserrez les boulons du couvercle et déposez le couvercle.

-
Desserrez l'écrou de blocage et tournez la vis de tension pour relâcher la tension.

-
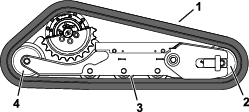
Déposez la moitié du pignon d'entraînement qui n'est pas engagée sur la chenille.
Important: Si vous ne déposez pas cette moitié du pignon, vous risquez d'avoir du mal à installer une nouvelle chenille sans l'endommager.

-
Démarrez la machine et activez la commande de déplacement.
-
Poussez la commande de déplacement en avant jusqu'à ce que l'autre moitié du pignon soit dégagée de la chenille.

-
Coupez le moteur et retirez la clé.
-
Déposez la chenille du cadre, du moyeu d'entraînement, puis de la roue avant.
Pose des chenilles
-
Enroulez la chenille neuve sur la roue avant.

-
Poussez la chenille sous et entre les galets de roulement, puis enroulez-la autour de la roue arrière.
-
Montez la chenille sur le moyeu d'entraînement en faisant levier.
-
Démarrez la machine.
-
Poussez la commande de déplacement en avant jusqu'à ce que la moitié du pignon d'entraînement s'engage sur la chenille.

-
Coupez le moteur et retirez la clé.
-
Appliquez du frein-filet sur les boulons du demi-pignon d'entraînement que vous avez retiré et posez le demi-pignon. Serrez les boulons à un couple de 80 à 99 N·m.

-
Réglez la vis de tension jusqu'à ce que la chenille présente une flèche de 19 mm.

-
Resserrez l'écrou de blocage.
-
Reposez le couvercle et serrez les boulons.

-
Montez l'aile sur la machine à l'aide des boulons conservés.

-
Répétez la procédure pour remplacer l'autre chenille.
-
Abaissez la machine au sol.
-
Conduisez la machine, puis garez-la sur une surface plane et horizontale, serrez le frein de stationnement, coupez le moteur et enlevez la clé.
-
Vérifiez que la chenille est correctement tendue ; voir Contrôle et réglage de la tension des chenilles.
Spécifications de l'huile pour engrenages du moteur d'entraînement
Type d'huile : Mobil SHC 75W-90
Capacité : 0,18 litre par boîtier d'engrenages
Contrôle de l'huile pour engrenages du moteur d'entraînement
-
Retirez les outils éventuellement montés.
-
Garez la machine sur une surface plane et horizontale en vérifiant qu'une seule moitié de pignon est engagée sur la chenille.

-
Coupez le moteur et retirez la clé.
-
Soulevez la machine de manière à décoller les chenilles du sol. Soutenez la machine avec des chandelles.
Note: Utilisez des chandelles pouvant soutenir le poids de votre machine. Voir la section Caractéristiques techniques pour le poids.
Attention
Les crics mécaniques ou hydrauliques peuvent céder sous le poids de la machine et causer des blessures graves.
Utilisez des chandelles pour soutenir la machine.
-
Déposez la moitié du pignon d'entraînement qui n'est pas engagée sur la chenille.

-
Retirez le bouchon de contrôle et vérifiez que le niveau d'huile atteint le bas de l'orifice.

-
Si le niveau est trop bas, faites l'appoint de liquide comme suit :
-
Déposez la chenille ; voir Dépose des chenilles.
-
Déposez le deuxième pignon.
-
Retirez le bouchon de remplissage.

-
Remplissez le moteur d'entraînement d'huile pour engrenages jusqu'à ce qu'elle atteigne le bas de l'orifice de contrôle.
-
Remettez en place les bouchons de remplissage et de contrôle.
-
-
Répétez les opérations 5 à 7 pour l'autre moteur d'entraînement.
-
Démarrez la machine et engagez la commande de déplacement pendant quelques minutes.
-
Coupez le moteur et retirez la clé.
-
Retirez le bouchon de contrôle sur les deux moteurs de traction et vérifiez que le niveau d'huile atteint le bas de l'orifice.
-
Remettez les bouchons en place et serrez-les à un couple de 5 à 6 N·m.
-
Appliquez du frein-filet sur les boulons du pignon d'entraînement inférieur et posez le pignon. Serrez les boulons à un couple de 80 à 99 N·m.
-
Reposez les chenilles le cas échéant ; voir Pose des chenilles.
-
Abaissez la machine au sol.
Vidange de l'huile pour engrenages du moteur d'entraînement
| Périodicité d'entretien | Procédure d'entretien |
|---|---|
| Après les 50 premières heures de fonctionnement |
|
| Toutes les 500 heures |
|
-
Retirez les outils éventuellement montés.
-
Démarrez le moteur et conduisez la machine pendant 5 minutes.
Note: Cela permet de réchauffer l'huile qui s'écoule alors plus facilement.
-
Garez la machine sur une surface plane et horizontale en vérifiant qu'une seule moitié de pignon est engagée sur la chenille.

-
Coupez le moteur et retirez la clé.
-
Déposez la chenille ; voir Dépose des chenilles.
-
Déposez le deuxième pignon.
-
Placez un bac de vidange sous le moteur d'entraînement.
-
Retirez les bouchons de remplissage et de vidange pour vidanger l'huile du moteur d'entraînement.

-
Remettez le bouchon de vidange en place.
-
Retirez le bouchon de remplissage et remplissez le moteur d'entraînement d'huile pour engrenages jusqu'à ce qu'elle commence à s'écouler par l'orifice de contrôle ; voir Spécifications de l'huile pour engrenages du moteur d'entraînement.
-
Remettez en place les bouchons de remplissage et de contrôle.
-
Répétez la procédure pour l'autre moteur d'entraînement.
-
Démarrez la machine et engagez la commande de déplacement pendant quelques minutes.
-
Coupez le moteur et retirez la clé.
-
Retirez le bouchon de contrôle sur les deux moteurs de traction et vérifiez que le niveau d'huile atteint le bas de l'orifice.
-
Remettez les bouchons en place et serrez-les à un couple de 5 à 6 N·m.
-
Appliquez du frein-filet sur les boulons du demi-pignon d'entraînement inférieur et posez le demi-pignon. Serrez les boulons à un couple de 80 à 99 N·m.
-
Reposez les chenilles ; voir Pose des chenilles.
-
Abaissez la machine au sol.
Entretien des commandes
Réglage des commandes
Les commandes sont réglées en usine avant l'expédition de la machine. Toutefois, après de nombreuses heures d'utilisation, il faudra éventuellement ajuster l'alignement, la position POINT MORT et le centrage de la commande de déplacement quand elle est à la position avant maximale.
Demandez à votre concessionnaire-réparateur agréé de régler les commandes de votre machine.
Entretien du système hydraulique
Consignes de sécurité relatives au système hydraulique
-
Consultez immédiatement un médecin si du liquide est injecté sous la peau. Toute injection de liquide hydraulique sous la peau doit être éliminée dans les quelques heures qui suivent par une intervention chirurgicale réalisée par un médecin.
-
Vérifiez l'état de tous les flexibles et conduits de liquide hydraulique, ainsi que le serrage de tous les raccords et branchements avant de mettre le système hydraulique sous pression.
-
N'approchez pas les mains ni aucune autre partie du corps des fuites en trou d'épingle ou des gicleurs d'où sort du liquide hydraulique sous haute pression.
-
Utilisez un morceau de papier ou de carton pour détecter les fuites.
-
Évacuez avec précaution toute la pression du système hydraulique avant toute intervention sur le système.
Évacuer la pression hydraulique
Pour évacuer la pression hydraulique moteur marche, débrayez la commande hydraulique auxiliaire et abaissez complètement les bras de chargeuse ; tournez la clé en position DéCHARGE DE LA PRESSION HYDRAULIQUE AUXILIAIRE et basculez plusieurs fois la commande du système hydraulique auxiliaire.

Pour évacuer la pression hydraulique moteur coupé, tournez la clé en position DéCHARGE DE LA PRESSION HYDRAULIQUE AUXILIAIRE et basculez plusieurs fois l'interrupteur de commande hydraulique auxiliaire.
Abaisser les bras de chargeuse sans assistance hydraulique
-
Garez la machine sur une surface plane et horizontale.
-
Coupez le moteur et retirez la clé.
-
Abaissez le coussin et déposez le couvercle arrière ; voir Dépose du couvercle arrière.
-
Desserrez la vanne de dérivation.

-
Abaissez les bras de chargeuse.
-
Resserrez la vanne de dérivation.
-
Remettez en place le couvercle arrière et le coussin.
Liquides hydrauliques spécifiés
| Périodicité d'entretien | Procédure d'entretien |
|---|---|
| Toutes les 100 heures |
|
Capacité du réservoir de liquide hydraulique : 22,7 litres
Liquide hydraulique recommandé : liquide hydraulique longue durée Toro PX
Note: Si vous utilisez le liquide de remplacement recommandé dans la machine vous n'aurez pas besoin de vidanger le liquide et de remplacer le filtre aussi souvent.
Autres liquides hydrauliques possibles : si vous ne disposez pas de liquide hydraulique longue durée Toro PX, vous pouvez utiliser d'autres liquides hydrauliques classiques à base de pétrole à condition qu'ils soient conformes aux caractéristiques physiques et aux spécifications de l'industrie suivantes. N'utilisez pas de liquide synthétique. Consultez votre distributeur de lubrifiants pour identifier un produit qui convient.
Note: Toro décline toute responsabilité en cas de dommage causé par l'utilisation d'huiles de remplacement inadéquates. Utilisez uniquement des produits provenant de fabricants réputés qui répondent de leur recommandation.
| Propriétés physiques : | ||
| Viscosité, ASTM D445 | 44 à 48 cSt à 40 °C | |
| Indice de viscosité, ASTM D2270 | 140 ou plus | |
| Point d'écoulement, ASTM D97 | -37 à -45 °C | |
| Spécifications de l'industrie : | Eaton Vickers 694 (I-286-S, M-2950-S/35VQ25 ou M-2952-S) | |
Note: De nombreux liquides hydrauliques sont presque incolores, ce qui rend difficile la détection des fuites. Un additif colorant rouge pour liquide hydraulique est disponible en bouteilles de 20 ml. Une bouteille suffit pour 15 à 22 litres de liquide hydraulique. Vous pouvez commander ces bouteilles chez les concessionnaires-réparateurs agréés (réf. 44-2500).
Contrôle du niveau de liquide hydraulique
| Périodicité d'entretien | Procédure d'entretien |
|---|---|
| Toutes les 25 heures |
|
Contrôlez le niveau de liquide hydraulique avant le premier démarrage de la machine, puis toutes les 25 heures de fonctionnement.
Voir Liquides hydrauliques spécifiés.
Important: Utilisez toujours le liquide hydraulique correct. L'utilisation de liquides non spécifiés endommagera le système hydraulique.
-
Garez la machine sur une surface plane et horizontale et abaissez les bras de chargeuse.
-
Coupez le moteur de la machine, enlevez la clé et laissez refroidir la machine.
-
Observez le viseur près de la plate-forme. Si le niveau de liquide hydraulique n'arrive pas à la moitié du viseur, faites l'appoint comme suit :

-
Déposez le couvercle arrière ; voir Dépose du couvercle arrière.
-
Nettoyez la surface autour du bouchon de remplissage et retirez-le.

-
Faites l'appoint jusqu'à ce que le niveau de liquide atteigne la moitié du viseur.
-
Remettez le bouchon de remplissage.
-
Reposez le couvercle arrière.
-
Remplacement du filtre hydraulique
| Périodicité d'entretien | Procédure d'entretien |
|---|---|
| Toutes les 500 heures |
|
-
Garez la machine sur une surface plane et horizontale et abaissez les bras de chargeuse.
-
Coupez le moteur de la machine, enlevez la clé et laissez refroidir la machine.
-
Déposez le couvercle arrière ; voir Dépose du couvercle arrière.
-
Déposez l'ancien filtre et mettez-le au rebut.

-
Mettez en place le filtre hydraulique de rechange et le bouchon de remplissage, et serrez le boulon sur le dessus à un couple de 13 à 15,5 N·m.
-
Essuyez le liquide éventuellement répandu.
-
Démarrez le moteur de la machine et laissez-le tourner environ 2 minutes pour purger l'air du circuit.
-
Coupez le moteur de la machine et recherchez d'éventuelles fuites.
-
Contrôlez le niveau de liquide dans le réservoir hydraulique ; voir Contrôle du niveau de liquide hydraulique. Faites l'appoint jusqu'à ce que le liquide soit visible dans le viseur.
-
Reposez le couvercle arrière.
Vidange du liquide hydraulique
| Périodicité d'entretien | Procédure d'entretien |
|---|---|
| Toutes les 400 heures |
|
| Toutes les 1000 heures |
|
-
Garez la machine sur une surface plane et horizontale et abaissez les bras de chargeuse.
-
Coupez le moteur de la machine, enlevez la clé et laissez refroidir la machine.
-
Déposez le couvercle arrière ; voir Dépose du couvercle arrière.
-
Placez sous la machine un grand bac de vidange pouvant contenir la quantité de liquide indiquée sous Liquides hydrauliques spécifiés.
-
Retirez le bouchon de vidange au bas du réservoir de liquide hydraulique et attendez que tout le liquide se soit écoulé.

-
Remettez le bouchon de vidange en place.
-
Remplissez le réservoir de liquide hydraulique ; voir Liquides hydrauliques spécifiés.
Note: Débarrassez-vous du liquide usagé dans un centre de recyclage agréé.
-
Reposez le couvercle arrière.
Nettoyage
Nettoyage des débris
| Périodicité d'entretien | Procédure d'entretien |
|---|---|
| À chaque utilisation ou une fois par jour |
|
Attention
L'utilisation incorrecte d'air comprimé pour nettoyer la machine peut causer de graves blessures.
-
Portez un équipement de protection individuelle adapté, notamment une protection oculaire, des protecteurs d'oreilles et un masque antipoussière.
-
Ne dirigez pas l'air comprimé vers vous ou vers toute autre personne.
-
Voir les instructions du fabricant du compresseur d'air pour tout renseignement sur l'utilisation et la sécurité.
-
Garez la machine sur une surface plane et horizontale, déposez l'outil, levez les bras de chargeuse et installez les dispositifs de blocage des vérins.
-
Coupez le moteur et retirez la clé.
-
Nettoyez les débris éventuellement accumulés sur la machine.
Important: Éliminez la poussière à l'air comprimé plutôt qu'à l'eau. Si vous utilisez de l'eau, évitez tout contact avec les éléments électriques et les vannes hydrauliques. Nettoyez les connecteurs électriques à l'air comprimé ; n'utilisez pas de produit de nettoyage pour contacts.
-
Retirez et rangez les dispositifs de blocage des vérins, puis abaissez les bras de la chargeuse.
Lavage de la machine
Si vous devez nettoyer la machine avec un nettoyeur haute pression, procédez comme suit :
Important: Ne nettoyez pas la machine pendant qu'elle est en charge. Attendez que la machine soit sèche avant de la charger.
-
Portez un équipement de protection individuelle adapté pour utiliser le nettoyeur haute pression.
-
Maintenez toutes les protections en place sur la machine.
-
Évitez d'utiliser le jet d'eau sous pression sur les composants électroniques.
-
Évitez d'utiliser le jet d'eau sous pression autour des autocollants.
-
Utilisez le jet d'eau sous pression uniquement sur l'extérieur de la machine. Ne dirigez pas le jet sous pression dans les ouvertures de la machine.
-
Utilisez le jet sous pression uniquement sur les parties sales de la machine.
-
Utilisez un embout de pulvérisation de 40 degrés ou plus. Les embouts de 40 degrés sont généralement blancs.
-
Maintenez le bout du nettoyeur haute pression à 61 cm au moins de la surface que vous lavez.
-
Utilisez uniquement des nettoyeurs haute pression de pression inférieure à 138 bar et de débit inférieur à 7,6 l par minute.
-
Remplacez les autocollants endommagés ou qui se décollent.
-
Graissez tous les points de graissage après le lavage ; voir Graissage de la machine.


) et la mention Prudence,
Attention ou Danger. Le non respect de ces instructions peut entraîner
des blessures graves ou mortelles.




















































à partir de l'écran
principal. Cela vous amènera au menu principal. Reportez-vous
aux tableaux ci-après pour le synopsis des options disponibles
dans les différents menus :












