Manuel püskürtme ucu seti püskürtme makinesi için özel bir ek parçadır ve özel olarak görevlendirilmiş profesyoneller tarafından ticari uygulamalarda kullanılmak üzere tasarlanmıştır. Öncelikle parklar, golf sahaları, spor sahaları ve ticari alanlardaki iyi bakımlı çimlere püskürtme yapmak için tasarlanmıştır.
Ürün emniyeti ve kullanımıyla ilgili eğitim materyalleri ile aksesuar bilgilerine erişmek, bayi bulmak ya da ürününüzü kaydettirmek için www.Toro.com adresine gidin.
Makinede hiç sıvı kalmadığından emin olun. Makinede kimyasal kullanılmışsa sistemi temiz suyla iyice yıkayın ve ardından bu suyu boşaltın; talimatlar için aracınızın Kullanım Kılavuzuna bakın.
Akünün eksi ucunu aküden ayırın.
Bu prosedür için gerekli parçalar:
| Hortum kancası | 1 |
| Flanşlı kilit somunu (⅜ inç) | 4 |
| Flanşlı kilit somunu (5/16 inç) | 4 |
| Taşıyıcı cıvata (⅜ x ¾ inç) | 4 |
| Taşıyıcı cıvata (5/16 x 1 inç) | 4 |
| R-Kelepçe | 2 |
| Püskürtme tabancası braketi | 1 |
Bu prosedür için gerekli parçalar:
| Dişi kapak | 2 |
| Kısma valfi | 2 |
Aktüatörü bölüm valfinin veya karıştırma valfinin manifold valfine sabitleyen tespit elemanını sökün.
Note: Tespit elemanını aşağı doğru bastırarak elemanın 2 ayağını sıkın.
Note: Aktüatörü ve tespit elemanını bir kenara koyun.

Aktüatörü manifoldlu valften çıkarın.
Baypas ayar valfi grubunu, uç kapağı, bağlantı parçasını ve hortum grubunu sabitleyen tespit elemanlarını Şekil 4 ile gösterildiği gibi sökün.
Note: Uç kapağı kullanmayacaksınız fakat kapağın üzerindeki O-halkayı saklayın.

Baypas ayar valfi grubunu Şekil 5 ile gösterildiği gibi 180° döndürün.

Baypas valfi grubunu, dişi kapağı, O-halkaları, kısma valfini, bağlantı parçasını ve hortum grubunu, daha önce söktüğünüz tespit elemanlarını kullanarak Şekil 6 ile gösterildiği gibi takın.

Manifoldun ucundaki uç kapağını çıkarın ve dişi bir kapakla değiştirin. Kapağı tespit elemanı ile sabitleyin.

Hortumu manifoldun ucuna sabitleyen tespit elemanını çıkarın.

Kısma valfini hortuma ve makineye takın. Tespit elemanlarıyla sabitleyin.

Bu prosedür için gerekli parçalar:
| Bkz. Parça Tablosu | 0 |
| Parça | 5800 | 1750 | Workman | |||||
|---|---|---|---|---|---|---|---|---|
| Adet | 2023 ve Öncesi | 2024 ve Sonrası GeoLink özelliği olmayan | 2024 ve Sonrası GeoLink özelliği olan | 2023 ve Öncesi | 2024 ve Sonrası GeoLink özelliği olmayan | 2024 ve Sonrası GeoLink özelliği olan | 2023 ve Öncesi | 2024 ve Sonrası |
| Kontrol valfi | 1 | 1 | 1 | 1 | 1 | |||
| Kontrol valfi (flanşlı uç kapaklı) | 1 | 1 | 1 | |||||
| Kontrol valfi kanat kolu | 1 | 1 | 1 | 1 | 1 | 1 | 1 | 1 |
| Düz bağlantı parçası | 1 | 1 | 1 | 1 | 1 | 1 | 1 | 1 |
| Valf montaj yuvası | 1 | 1 | 1 | 2 | 2 | 2 | ||
| Kontrol valfi braketi (2023) | 1 | |||||||
| Kontrol valfi braketi (delikli) | 1 | 1 | ||||||
| Kontrol valfi braketi (deliksiz) | 1 | 1 | 1 | |||||
| Kısma valfi | 1 | 1 | 2 | 1 | 1 | |||
| 90 derece dirsek bağlantı parçası | 1 | 1 | ||||||
| T-bağlantı parçası | 1 | |||||||
| Manifold T borusu | 1 | 1 | 1 | 1 | ||||
| Conta kelepçesi | 1 | 1 | 1 | |||||
| Cıvata (M6 x 12 mm) | 4 | 8 | 4 | 8 | 8 | 8 | ||
| Taşıyıcı cıvata (¼-20 X ⅝ inç) | 2 | 2 | ||||||
| Altıgen başlı cıvata (¼-20 X ⅝ inç) | 4 | 2 | 2 | |||||
| Kilit somunu (¼ inç) | 4 | 2 | 2 | 2 | 2 | |||
Yeşil kanat kolunu ve düz bağlantı parçasını kontrol valfine monte edin.

Uç kapağı ve kaplini basınç göstergesi portuna sabitleyen flanşlı kelepçeyi çıkarın.

Kaplini uç kapaktan çıkarın.
Kontrol valfi grubunu takın.
Kaplini, 90 derece bağlantı parçasındaki açık porta takın.
Note: Multi Pro 1750 ve Multi Pro WM modellerinin 90 derece bağlantı parçasının yan tarafındaki port, bağlantı parçasının ön tarafındadır (gösterilmemiştir).
Bir hortum kelepçesi kullanarak hortum makarası besleme hortumunu kontrol valfine bağlayın.
Basınç dönüştürücünün 3 soketli konnektörünü ayırın.

Basınç dönüştürücüyü 90° bağlantı parçasına sabitleyen flanşlı kelepçeyi çıkarın ve dönüştürücüyü, contayı ve flanşlı kelepçeyi çıkarın.

90° bağlantı parçasını algılama borusu için bir adet konnektörle donatılmış 90° bağlantı parçasına sabitleyen flanşlı kelepçeyi çıkarın, ardından da 90° bağlantı parçasını, contayı ve flanşlı kelepçeyi çıkarın.
Valf montaj yuvasını Şekil 14, A kısmında gösterildiği gibi kısma valfinin üzerine takın.

Valf montaj yuvasını flanş başlı vidayla (no. 6) kontrol valfine sabitleyin ve vidayı elinizle sıkın (Şekil 14, B).
Valf yuvasını 4 cıvata (6 x 12 mm) ve 4 düz rondela ile kontrol valfi braketine monte edin, cıvataları 10 ila 12 N∙m torkla sıkın.

T-bağlantı parçasının flanşını kontrol valfinin flanşına hizalayın.

T-bağlantı parçasını bir conta ve flanşlı kelepçeyle kontrol valfine takın, fakat sıkmayın.
Basınç dönüştürücünün flanşını T-bağlantı parçasının flanşına hizalayın.

Basınç dönüştürücüyü bir conta ve flanşlı kelepçeyle T-bağlantı parçasına monte edin ve kelepçeyi elle sıkın (Şekil 17).
T-bağlantı parçasının flanşını, algılama borusu için bir adet konnektörle donatılmış 90° bağlantı parçasının flanşıyla hizalayın.

T-bağlantı parçasını ve 90° bağlantı parçasını bir conta ve flanşlı kelepçeyle monte edin, fakat sıkmayın.
Note: Kontrol valfi braketini, valf montaj yuvasının yüzeyi ile aynı hizaya gelecek şekilde döndürün.
Kontrol valfi braketini şablon olarak kullanarak, braketteki deliklerin yerlerini manifold montaj yuvasının yüzeyinde işaretleyin.

Kelepçeyi, contayı ve flanşlı T-bağlantı parçasını, algılama borusu için bir adet konnektörle donatılmış 90° bağlantı parçasından çıkarın.
3 adımında manifold montaj yuvası için koyduğunuz işaretleri ortalayın.
5 adımında ortaladığınız işaretlerden, manifold montaj yuvasında 4 adet 6 mm delik açın.

T-bağlantı parçasının flanşını, algılama borusu için bir adet konnektörle donatılmış 90° bağlantı parçasının flanşıyla hizalayın.

T-bağlantı parçasını ve 90° bağlantı parçasını bir conta ve flanşlı kelepçeyle monte edin, fakat sıkmayın.
Kontrol valfi braketini 4 adet altıgen başlı cıvata (¼ x ⅝ inç) ve 4 adet flanşlı kilit somunuyla (6 mm) manifold montaj yuvasına monte edin ve cıvataları 10 ila 12 N∙m torkla sıkın.
Kontrol valfini ve T-bağlantı parçasını sabitleyen flanşlı kelepçeyi ve T-bağlantı parçasını algılama borusu için bir adet konnektörle donatılmış 90° bağlantı parçasına sabitleyen flanşlı kelepçeyi elinizle sıkın.
Basınç dönüştürücünün 3 soketli konnektörünü bağlayın.

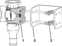
Kontrol valfi grubunu 4 cıvata (M6) kullanarak brakete sabitleyin

Mevcut donanımı Şekil 26 ile gösterildiği gibi çıkarın.

Mevcut donanımı kullanarak braketi makineye sabitleyin.

Braketin üst kısmını 4 cıvata (M6) kullanarak sabitleyin.

Manifold T-bağlantı parçası grubunu kontrol valfine takın.

Grubu, 4 cıvata (M6) kullanarak brakete sabitleyin.

Valf montaj yuvasını kısma valfine monte edin ve 4 cıvata (M6) kullanarak brakete sabitleyin.




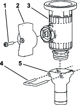
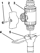
Bu prosedür için gerekli parçalar:
| Püskürtme tabancası grubu | 1 |
| Düz çıkıntılı bağlantı parçası | 1 |
| Hortum kelepçesi | 2 |
| Hortum | 1 |
Note: Konik boru dişi bağlantı parçalarını kapatmak için PTFE bant kullanın.
Düz çıkıntılı bağlantı parçasını, bir hortum kelepçesiyle hortum makarası besleme hortumunun açık ucuna sabitleyin.

Hortumun ucunu bir hortum kelepçesi ile kontrol valfine sabitleyin.

Fazla gelen hortumu deponun üzerindeki kancaya dolayın ve püskürtme tabancasını brakete koyun.
Akünün eksi ucunu aküye bağlayın.
Baypas ayar grubunu kalibre edin; bkz. makinenin Kullanma Kılavuzu.
Basınç altındaki sıvı cilde nüfuz edebilir ve yaralanmaya yol açabilir.
Vücudunuzu ve ellerinizi, yüksek basınçlı sıvı püskürten nozullardan uzak tutun.
Püskürtme ünitesini insanlara veya hayvanlara doğrultmayın.
Sisteme basınç uygulamadan önce tüm hidrolik hortumlarının ve hatlarının iyi durumda, hidrolik bağlantıları ile bağlantı parçalarının ise yeterince sıkı olduğunu kontrol edin.
Sızan sıvıları bulmak için bir karton veya kağıt kullanın.
Sistemde herhangi bir iş yapmaya başlamadan önce sistemdeki tüm basıncı emniyetli bir şekilde boşaltın.
Sıvı cildinize nüfuz ederse derhal tıbbi yardım alın.
Sıcak sıvılar ve kimyasallar yanıklara veya başka hasarlara yol açabilir.
Important: Bazı koşullarda, püskürtme makinesi sabit halde çalışırken motordan, radyatörden ve susturucudan gelen ısı çime zarar verebilir. Bu tür sabit halde çalışmalara örnek olarak depo karıştırma, elle püskürtme veya yürüyen bir boom kullanma gösterilebilir.
Şu önlemleri alın:
Koşullar çok sıcak ve/veya kuru olduğunda sabit halde püskürtme yapmaktan kaçının, zira bu tür dönemlerde çim daha stresli olabilir.
Sabit halde püskürtme yaparken makineyi çime park etmekten kaçının. Mümkün olan her durumda makinenizi bir araba yoluna park edin.
Makinenin belirli bir çim alanı üzerinde çalıştığı süreyi en aza indirin. Çimlerin ne kadar zarar görebileceği hem zamana hem de sıcaklığa bağlıdır.
İstenen basıncı ve akışı elde etmek için motor devrini mümkün olduğunca düşük ayarlayın. Bu, üretilen ısıyı ve soğutma fanından gelen havanın hızını en aza indirecektir.
Sabit çalışma sırasında, ısıyı zorla aracın altından bırakmaya çalışmak yerine motor muhafazasını/koltuk gruplarını yükselterek motor bölmesinden yukarı doğru bırakılmasını sağlayın. Koltuk gruplarının yükseltilmesi hakkında detaylı bilgi için Kullanma Kılavuzuna bakın.
Note: Sabit halde çalışma sırasında ek ısı koruması isterseniz aracın altında bir ısı kalkanı battaniyesi kullanın. Çim püskürtme makinenize uygun bir Toro ısı kalkanı battaniye seti edinmek için Yetkili Toro Bayinize danışın.
Makineyi durdurun, boom'ları kapatın ve park frenini etkinleştirin.
Manuel püskürtme ünitesinin makine sürülürken kullanılması kontrol kaybına yol açarak yaralanma veya ölüme neden olabilir. Sürüş sırasında manuel püskürtme ünitesini çalıştırmayın.
Makinenin arka kısmında, püskürtme tabancasının tetik kilidinin kilitli olduğunu kontrol edin.
Kontrol valfindeki yeşil kolu 90 derece döndürün.
Operatör konumundan pompayı çalıştırın.
Ana boom anahtarını AçıK konumuna getirin.
Motoru istediğiniz devire ayarlayın, ardından da boş motor devri kilidini etkinleştirin.
Important: Manuel püskürtme ünitesini 1034 kPa (150 psi) değerinden yüksek bir basınç ayarıyla kullanmayın.
Kontrol valfindeki yeşil kolu 90 derece döndürün.
Püskürtme tabancasının nozulunu püskürtme yapmanın güvenli olacağı bir noktaya yönlendirin, tetik kilidini bırakın, kalan tüm sıvı hortumdan dışarı boşaltılana kadar tetiği çekin, ardından da tetik kilidini tekrar etkinleştirin.
Püskürtme tabancasını tekrar yuvasına koyun.
Motoru rölanti devrine getirin.
Pompayı durdurun.
Important: Günlük temizlik rutini sırasında püskürtme tabancasının bolca temiz suyla yıkandığından emin olun (püskürtme makinesinin Kullanma Kılavuzuna bakın). Püskürtme tabancasının düzgünce temizlenmemesi püskürtme tabancasının performans ve güvenilirliğini zayıflatabilir.
İstediğiniz püskürtme basıncını ayarlamak için miktar anahtarını kullanın.