| Bakım Servisi Aralıkları | Bakım Prosedürü |
|---|---|
| Her kullanımdan önce veya günlük |
|
Bu genel hizmet aracının temel tasarım amacı, arazide insan ve malzeme yükleri taşımaktır. Bu ürünün kullanım amacı dışında kullanılması size ve çevrenizdekilere zarar verebilir.
Ürünü kullanmayı ve bakımlarını yapmayı öğrenmek ve olası yaralanmalar ile maddi hasarları önlemek için bu bilgileri dikkatle okuyun. Ürünü doğru ve emniyetli bir şekilde kullanmak sizin sorumluluğunuzdur.
Ürün emniyeti ve kullanımıyla ilgili eğitim materyalleri ile aksesuar bilgilerine erişmek, bayi bulmak veya ürününüzü kaydettirmek için www.Toro.com adresine gidin.
Servise, orijinal Toro parçalarına veya ek bilgiye ihtiyaç duyduğunuz takdirde Yetkili bir Servis Merkeziyle ya da Toro Müşteri Hizmetleriyle iletişim kurun ve ürünün model ve seri numaralarını hazır bulundurun. Şekil 1, model ve seri numaralarının ürün üzerindeki yerini belirtir. Bu numaraları, ilgili alana yazın.
Important: Garanti, yedek parça ve diğer ürün bilgilerine erişmek için, seri numarası etiketindeki (varsa) QR kodunu mobil aygıtınızla taratabilirsiniz.

Bu kılavuzda, bilgileri vurgulamak için 2 farklı sözcük kullanılır. Önemli sözcüğü bazı özel mekanik bilgilere dikkat çeker, Not sözcüğü ise dikkate alınması gereken genel bilgileri vurgular.
Hem bu kılavuzda hem de makinede görülen emniyet uyarısı sembolü (Şekil 2), kazaları önlemek için uymanız gereken önemli emniyet mesajlarını tanımlar. Bu sembol, Tehlike, Uyarı veya Dikkat sözcüğüyle birlikte görünür.
Tehlike, önlenmediği takdirde ağır yaralanma veya ölümle sonuçlanacak yakın bir tehlike durumunu belirtir.
Uyarı, önlenmediği takdirde ağır yaralanma veya ölümle sonuçlanabilecek potansiyel bir tehlike durumunu belirtir.
Dikkat, önlenmediği takdirde hafif veya orta seviyeli yaralanmayla sonuçlanabilecek potansiyel bir tehlike durumunu belirtir.

Bu ürün, ilgili tüm Avrupa direktiflerine uygundur. Detaylı bilgi için, ayrı olarak verilen Ürün Uygunluk Beyanı (DOC) sayfasını inceleyin.
California Kamu Kaynakları Yasası Bölüm 4442 veya 4443 uyarınca, motorun, Bölüm 4442'de belirtildiği gibi iyi çalışır durumdaki bir kıvılcım tutucuyla donatılmadığı veya yangının önlenmesine uygun bir şekilde üretilip tasarlanmadığı takdirde orman, çalı veya çimle kaplı bir yerde kullanılması veya çalıştırılması yasaktır.
Ekteki motor kullanıcı kılavuzu, ABD Çevre Koruma Ajansı (EPA) ve emisyon sistemleri, bakım ve garanti ile ilgili California Emisyon Kontrol Yönetmeliği hakkında bilgi vermek üzere sunulmuştur. Yedek parçalar motorun üreticisi kanalıyla sipariş edilebilir.
Bu makinede bir telematik cihazı varsa cihazın etkinleştirilmesine ilişkin talimatlar için yetkili Toro distribütörünüzle görüşün.
|
Elektromanyetik Uyumluluk Sertifikasyonu |
|
Evsel Ekipman: Bu cihaz, FCC Kuralları Bölüm 15'e uygundur. Çalıştırılması şu iki koşula tabidir: (1) Bu cihaz, zararlı parazite neden olmamalıdır ve (2) Bu cihaz, istenmeyen çalışmaya yol açabilecek parazitler dahil olmak üzere, alınabilecek her tür paraziti kabul edebilmelidir. |
|
FCC Kimliği: OF7RTS24 IC: 3575A-RTS24 |
|
Bu ekipman test edilmiş ve FCC (ABD Federal İletişim Komisyonu) Kurallarının 15. bölümü uyarınca Sınıf B dijital cihaz sınırları ile uyumlu olduğu görülmüştür. Bu sınırlar, meskun kullanımlarda zararlı parazitleri engellemeye yönelik makul korumayı sunmak üzere tasarlanmıştır. Bu ekipman radyo frekansı enerjisi üretir, kullanır ve yayabilir. Bu talimatlara uygun şekilde kurulmaz ve kullanılmazsa telsiz iletişimlerinde zararlı parazite neden olabilir. Bununla birlikte, belli bir tesisatta hiçbir parazite yol açmayacağı garanti edilemez. Bu ekipman telsiz veya televizyon sinyallerinde zararlı parazite yol açarsa (bu durum ekipmanın kapatılıp açılmasıyla tespit edilebilir) kullanıcıya aşağıdaki önlemlerden bir veya daha fazlasını uygulayarak paraziti düzeltmeye çalışması önerilir:
|
|
Arjantin |
![]() |
|
Avustralya |
![]() |
|
Fas |
|
|---|---|
|
AGREE PAR L’ANRT MAROC |
|
|
Numero d’agrement: |
MR00003613ANRT2024 |
|
Delivre d’agrement: |
22/08/2024 |
CALIFORNIA
Öneri 65 Uyarısı
Dizel motor egzozu ve içerdiği bazı maddelerin Kaliforniya Eyaleti tarafından kansere, doğuştan rahatsızlıklara ve başka zararlara neden olduğu kayda geçirilmiştir.
Akü kutup başları, uçları ve ilgili aksesuarlar Kaliforniya Eyaleti tarafından kansere ve başka zararlara neden olan kimyasal maddeler olarak kayda geçirilmiş kurşun ve kurşun bulunduran bileşenler içermektedir. Dokunduktan sonra ellerinizi yıkayın.
Bu ürün, yaralanmaya yol açabilir. Ağır yaralanmaları önlemek için, tüm emniyet talimatlarına her zaman uyun.
Makineyi çalıştırmadan önce bu Kullanma Kılavuzunu iyice okuyup anlayın. Bu ürünü kullanan herkesin, ürünü kullanmayı bildiğinden ve uyarıları anladığından emin olun.
Makineyi kullanırken tüm dikkatinizi işinize verin. Dikkatinizi dağıtabilecek başka şeylerle ilgilenmeyin, aksi takdirde yaralanma veya maddi hasar meydana gelebilir.
Ellerinizi veya ayaklarınızı, makinenin hareketli parçalarının yakınına koymayın.
Tüm koruyucular ve emniyet aygıtları makinede ve çalışır durumda değilken makineyi çalıştırmayın.
Çocukları ve çevredekileri çalışma alanından uzak tutun. Çocukların makineyi kullanmasına asla izin vermeyin.
Makinede bakım yapmadan veya yakıt doldurmadan önce makineyi durdurup kapatın ve anahtarını çıkarın.
Bu makinenin uygunsuz bir şekilde kullanılması
veya uygun bakım işlemlerinin yapılmaması
yaralanmaya yol açabilir. Yaralanma risklerini azaltmak amacıyla
bu emniyet talimatlarına her zaman uyun ve Dikkat, Uyarı
veya Tehlike anlamına gelen emniyet uyarısı sembolüne
çok dikkat edin.
Bu talimatlara uyulmaması yaralanma veya ölümle sonuçlanabilir.
![]() |
Tehlike potansiyeli barındıran tüm noktalara, operatör tarafından kolayca görülebilecek emniyet etiketleri ve talimatları yerleştirilmiştir. Hasar gören veya kaybolan etiketleri yenisiyle değiştirin. |


























Note: Makinenin sağ ve sol taraflarını, normal çalışma konumuna göre belirleyin.
Bu prosedür için gerekli parçalar:
| Direksiyon | 1 |
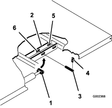
Direksiyonun arkasında bulunan ve orta kapağı tutan tırnakları serbest bırakın ve kapağı direksiyon göbeğinden çıkarın.
Direksiyon milinin kilit somununu ve rondelasını sökün.
Direksiyonu ve rondelayı, milin üzerine kaydırın.
Note: Direksiyonu, lastikler ileri doğru tam düz bakarken ve direksiyonun daha kalın olan kolu aşağı bakarken enine kiriş yatay olacak biçimde milin üzerinde hizalayın.
Note: Toz kapağı, fabrikada direksiyona yerleştirilmiştir.
Kilit somununu kullanarak direksiyonu mile sabitleyin ve kilit somununu Şekil 3 şeklinde gösterildiği gibi 24 ila 29 N∙m torkla sıkın.
Kapağın tırnaklarını direksiyondaki yarıklarla hizalayın ve kapağı direksiyon göbeğine geçirin (Şekil 3).

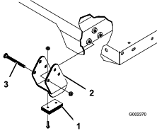
Bu prosedür için gerekli parçalar:
| Denge çubuğu | 1 |
| Flanş başlı cıvata (½ x 1¼ inç) | 6 |
6 flanş başlı cıvatanın (½ x 1¼ inç) dişlerine, orta dereceli (servis sırasında çıkarılabilen) diş kilitleme bileşiği uygulayın.
Denge çubuğunun her iki tarafını, makine iskeletinin her bir tarafındaki montaj delikleriyle hizalayın (Şekil 4).

Her bir taraftaki 3 flanş başlı cıvatayı (½ x 1¼ inç) kullanarak, denge çubuğu montaj braketini makine iskeletine sabitleyin (Şekil 4).
Flanş başlı cıvataları (½ x 1¼ inç), 115 N∙m torkla sıkın.
Motoru ilk kez çalıştırmadan önce ve sonra motor yağı seviyesini kontrol edin; bkz. Motor Yağı Seviyesi Kontrolü.
Motoru ilk kez çalıştırmadan önce transaks/hidrolik akışkan seviyesini kontrol edin; bkz. Transaks/Hidrolik Sıvısı Seviyesinin Kontrol Edilmesi.
Motoru ilk kez çalıştırmadan önce fren hidroliği seviyesini kontrol edin; bkz. Fren Hidroliği Seviyesinin Kontrol Edilmesi.
Lastiklerin hava basıncını kontrol edin; bkz. Lastik Hava Basıncının Kontrol Edilmesi.
Fren sisteminden optimum performansı alabilmek için, kullanmadan önce frenleri perdahlayın.
Makineyi azami hıza getirin ve lastikleri kilitlemeden makineyi durdurmak için hızla frenleri uygulayın.
Frenlerin aşırı ısınmasını önlemek için her defasında 1 dakika bekleyerek bu işlemi 10 defa tekrarlayın.
Important: Bu işlem en çok, makinede 454 kg yük olduğunda etkindir.
Motoru çalıştırmadan ve makineyi kullanmadan önce tüm kontrolleri tanıyın.


Şanzıman vitesteyken makinenin yürüyüş hızını değiştirmek için gaz pedalını (Şekil 7) kullanın. Gaz pedalına basılınca motor devri ve dolayısıyla yürüyüş hızı artar. Gaz pedalı bırakılınca motor devri ve dolayısıyla yürüyüş hızı azalır.

Motoru çalıştırırken veya vites değiştirirken debriyajı serbest bırakmak için debriyaj pedalına (Şekil 7) sonuna kadar basmalısınız. Şanzımanın ve ilgili diğer parçaların gereksiz yere aşınmasını önlemek için, şanzıman viteste olduğunda pedalı yavaşça bırakın.
Important: Çalışma sırasında debriyaj pedalına basmayın. Debriyaj pedalı tamamen dışarıda kalmalıdır, aksi takdirde debriyaj sıyırır, bu da ısınma ve aşınmaya yol açar. Bir tepeciğin üzerindeyken makineyi asla debriyaj pedalını kullanarak durdurulmuş halde tutmayın. Debriyaj hasar görebilir.
Makineyi durdurmak veya yavaşlatmak için fren pedalını kullanın (Şekil 7).
Makinenin aşınmış veya hatalı ayarlanmış frenlerle kullanılması yaralanmaya yol açabilir.
Fren pedalı makinenin zemin plakasının 25 mm'lik kısmının içine kadar hareket ederse frenleri ayarlayın veya onarın.
Debriyaj pedalına sonuna kadar basın ve vites kolunu (Şekil 8) istediğiniz konuma getirin. Vites değiştirme düzeninin bir örneği aşağıda gösterilmiştir.

Important: Makine hareketsiz durumda değilse transaksı GERI veya İLERI vites konumuna getirmeyin, aksi takdirde transaks hasar görebilir.
Çok yüksek bir hızdayken vites küçültmek arka tekerleklerin kaymasına, makine hakimiyetinin kaybedilmesine ve debriyajın ve/veya şanzımanın hasar görmesine yol açabilir.
Dişlilerin yalama olmasını önlemek için düzgünce vites değiştirin.
Diferansiyel kili (Şekil 9), artan çekişte arka aksın kilitlenmesini sağlar. Diferansiyel kilidini, makine hareket halindeyken etkinleştirebilirsiniz.
Kilidi etkinleştirmek için kolu ileri ve sağa oynatın.
Note: Diferansiyel kilidinin etkinleşmesi veya devre dışı kalması için makinenin hareket etmesi ve hafif bir dönüş yapılması gerekir.
Diferansiyel kilidi etkinken dönüş yapmak makine hakimiyetinin kaybedilmesine yol açabilir.
Yüksek hızlarda ilerlerken veya sert dönüşler yaparken makineyi diferansiyel kilidi etkin olarak kullanmayın; bkz. Diferansiyel Kilidi Kablosunun Ayarlanması.

Motoru her kapattığınızda, makinenin kazayla hareket etmesini önlemek için park frenini (Şekil 9) etkinleştirin.
Park frenini etkinleştirmek için, park freni kolunu geri çekin.
Park frenini devre dışı bırakmak için, park freni kolunu ileri itin.
Note: Makineyi hareket ettirmeden önce park frenini devre dışı bırakın.
Makineyi dik bir eğime park ederseniz park frenini etkinleştirin; vitesi, yokuş yukarıysanız BIRINCI veya yokuş aşağıysanız GERI vitese alın ve tekerleklerin yokuş aşağı bakan kısmına takozlar yerleştirin.
Hidrolik kaldırma ünitesi, kasayı yükseltir veya alçaltır. Kasayı yükseltmek için üniteyi geriye, alçaltmak içinse ileriye getirin (Şekil 9).
Important: Kasayı alçaltırken, kasa iskelete temas ettikten sonra kolu 1-2 saniye boyunca ileri konumda tutarak alçaltılmış konumda sabitleyin. Silindirler hareket mesafesinin sonuna geldikten sonra, hidrolik kaldırma ünitesini 5 saniyeden uzun bir süre boyunca yükseltme veya alçaltma konumunda tutmayın.
Makine bir kasayla donatılmamışsa hidrolik silindirlerin çalışmaması için hidrolik kaldırma kilidi kaldırma kolunu sabitler (Şekil 9). Ayrıca, ek parçalar için hidrolikler kullanıldığında kaldırma kolunu AçıK konumunda kilitler.
Yüksek-düşük vites aralığı kolu, hassas hız kontrolü için 3 ilave hız seçeneği daha kazandırır (Şekil 9):
YüKSEK ile DüşüK vites aralığı arasında geçiş yapmadan önce makineyi tamamen durdurmanız gerekir.
Sadece düz bir zemindeyken vites değişimi yapın.
Debriyaj pedalına sonuna kadar basın.
Kolu, YüKSEK aralık için sonuna kadar ileri ve DüşüK aralık için sonuna kadar geri getirin.
YüKSEK aralık—Hafif yüklerle, düz ve kuru yüzeylerdeki yüksek hızlı sürüşler içindir.
DüşüK aralık—Düşük hızlarda sürüşler içindir. Normalden fazla güç veya kontrol gerektiğinde bu aralığı kullanın. Örneğin; dik eğimler, zorlu araziler, ağır yükler, yüksek motor devriyle düşük hızlar (püskürtme işlerindeki gibi).
Important: YüKSEK ile DüşüK arasında, transaksın hiçbir aralıkta olmadığı bir konum vardır. Bu konumu bir BOş vites konumu olarak kullanmayın, aksi takdirde Yüksek-Düşük vites aralığı kolu sarsılırsa ve o anda vites kolu bir vites konumundaysa makine beklenmedik bir şekilde hareket edebilir.
4 Tekerlekten Çekiş Sistemini manuel olarak etkinleştirmek için, araç hareket halindeyken orta konsoldaki 4WD düğmesini (Şekil 9) basılı tutun; 4 tekerlekten çekiş sistemi devreye girer.
Motoru başlatmak veya kapatmak için anahtarlı şalteri (Şekil 5) kullanın.
Anahtarlı şalterin 3 konumu vardır: KAPALı, AçıK ve MARş. Marş motorunu etkinleştirmek için, anahtarlı şalteri saat yönünde MARş konumuna döndürün. Motor çalışınca anahtarlı şalteri bırakın. Anahtarlı şalter otomatik olarak AçıK konumuna gelir.
Motoru durdurmak için anahtarlı şalteri saatin aksi yönünde döndürerek KAPALı konumuna getirin.
Denetim şalterini (Şekil 5) YAVAŞ konumuna döndürüp anahtarı çıkarın. Denetim şalteri makine YÜKSEK hız aralığında üçüncü vitesteyken motor devrini 2.200 dev/dak ile sınırlar ve böylece maksimum hız 21 km/s ile sınırlanır.
Saat ölçer (Şekil 6), makinenin toplam çalışma saatini gösterir.
Kontak anahtarını her AçıK konumuna getirdiğinizde ve motor devri 500 dev/dak üzerindeyse her 6 dakikada bir saat ölçer çalışmaya başlar.
YüKSEK vites aralığındayken üçüncü vitesin kullanılmasını önlemek için üçüncü yüksek kilitleme anahtarını (Şekil 5) YAVAş konumuna getirin ve anahtarı yerinden çıkarın. YüKSEK vites aralığındayken vites kolu üçüncü vitese getirilirse motor durur.
Note: Anahtar, her konumda yerinden çıkarılabilir.
Farları açmak veya kapatmak için ışık anahtarına (Şekil 5) basın.
Motor çalışıyorken motor yağı basıncı emniyetli bir seviyenin altına düşerse yağ basıncı uyarı ışığı (Şekil 6) yanar.
Important: Işık yanıp söner veya yanmaya devam ederse makineyi durdurun, motoru kapatın ve yağ seviyesini kontrol edin. Yağ seviyesi düşükse fakat yağ eklenmesine rağmen motor çalıştırılınca bu uyarı ışığı sönmüyorsa motoru hemen kapatın ve destek için Yetkili Servise danışın.
Uyarı ışıklarının çalışmasını şöyle kontrol edin:
Park frenini etkinleştirin.
Anahtarlı şalteri AçıK/ÖN ISıTMA konumuna getirin, fakat motoru çalıştırmayın.
Note: Yağ basıncı ışığı kırmızı yanmalıdır. Işık yanmıyorsa ampulü patlamıştır veya sistemde onarılması gereken başka bir arıza vardır.
Note: Motor az önce kapatılmışsa, ışığın yanması 1-2 dakika alabilir.
Bujiler etkinleşince buji gösterge ışığı (Şekil 6) kırmızı yanar.
Important: Anahtar tekrar MARş konumuna getirilince, buji gösterge ışığı bir 15 saniye daha yanar.
Soğutma suyu sıcaklık göstergesi ve ışığı motordaki soğutma suyu sıcaklığını kaydeder ve yalnızca anahtarlı şalter AçıK konumundayken çalışır (Şekil 6).
Motor hararet yaparsa 5 soğutma suyu çubuğu yanıp söner.
Akü boşalınca şarj durumu göstergesi yanar. Çalışma sırasında bu ışık yanarsa makineyi durdurun, motoru kapatın ve alternatör kayışı gibi olası nedenleri araştırın (Şekil 6).
Important: Alternatör kayışı gevşemiş veya kopmuşsa, gerekli ayar veya onarım yapılana kadar makineyi kullanmayın. Aksi takdire motor hasar görebilir.
Uyarı ışıklarının çalışmasını şöyle kontrol edin:
Park frenini etkinleştirin.
Anahtarlı şalteri AçıK/ÖN ISıTMA konumuna getirin, fakat motoru çalıştırmayın. Soğuma suyu sıcaklığı, şarj durumu göstergesi ve yağ basıncı ışıkları yanmalıdır. Bu ışıkların hiçbiri yanmıyorsa ampul patlamıştır veya sistemde onarılması gereken başka bir arıza vardır.
Yakıt göstergesi, depodaki yakıt miktarını gösterir. Sadece, anahtarlı şalter AçıK konumunda olunca görüntülenir (Şekil 6).
Tek çubuk düşük yakıt seviyesini, yanıp sönen 1 çubuk ise yakıt deposunun tamamen boşalmak üzere olduğunu belirtir.
4WD anahtarı (Şekil 5) açık olduğunda, sensör arka tekerleklerin savrulduğunu algılarsa makine 4 tekerlekten çekiş sistemini otomatik olarak etkinleştirir. 4 tekerlekten çekiş sistemi etkinleşince 4WD anahtar ışığı yanar.
4WD, OTOMATIK modunda sadece ileri yönde çalışır. GERI yönde kullanmak istiyorsanız 4WD düğmesine basın.
Yüksek akışlı hidrolikleri etkinleştirmek için anahtarı çalıştırın (Şekil 5).
Korna anahtarı kontrol panelindedir (Şekil 5). Kornayı çalmak için korna anahtarına basın.
Takometre, motor devrini gösterir (Şekil 6).
Note: 540 dev/dak PTO çalışması için istenen motor devri 3.300 dev/dak'tır.
Hız göstergesi, makinenin yürüyüş hızını kaydeder (Şekil 6).
İsteğe bağlı sunulan 12V elektrikli aksesuarları çalıştırmak için güç noktasını (Şekil 5) kullanın.
Yolcu tutunma çubuğu, gösterge panelinde bulunur (Şekil 10).

Koltuğu, konforunuza göre ileri veya geri ayarlayabilirsiniz (Şekil 11).

Note: Tasarım ve teknik özellikler önceden haber verilmeden değiştirilebilir.
| Toplam Genişlik | 160 cm |
| Toplam Uzunluk | Kasa olmadan: 326 cm |
| Tam kasayla: 331 cm | |
| Arkaya montaj konumunda ⅔ kasayla: 346 cm | |
| Baz ağırlık (kuru) | 07385 modeli: 887 kg |
| 07385TC modeli: 924 kg | |
| 07387 modeli: 914 kg | |
| 07387TC modeli: 951 kg | |
| Nominal kapasite (91 kg operatör, 91 kg yolcu ve yüklü ek parça dahil) | 07385 modeli: 1471 kg |
| 07385TC modeli: 1435 kg | |
| 07387 modeli: 1445 kg | |
| 07387TC modeli: 1408 kg | |
| Maksimum brüt araç ağırlığı (GVW) | 2359 kg |
| Çekme kapasitesi | Çeki ağırlığı: 272 kg |
| Maksimum römork ağırlığı: 1587 kg | |
| Yerden yükseklik | Yüksüz haldeyken 18 cm |
| Aks mesafesi | 118 cm |
| Tekerlek izi (orta çizgiden orta çizgiye) | Ön: 117 cm |
| Arka: 121 cm | |
| Yükseklik | Denge çubuğunun tepesine kadar 191 cm |
Makine işlevlerini artırmak amacıyla makineyle birlikte kullanılabilecek çok sayıda Toro onaylı ek parça ve aksesuar vardır. Onaylanmış tüm ek parça ve aksesuarların bir listesi için Yetkili Servisinize veya Distribütörünüze ulaşın ya da www.Toro.com adresine gidin.
Makinenin en yüksek performansı sergilemesi ve emniyet sertifikası geçerliliğinin korunması için sadece orijinal Toro yedek parça ve aksesuarlarını kullanın. Başka üreticilerin ürettiği yedek parça ve aksesuarlar tehlike yaratabilir ve bunların kullanılması ürün garantisini geçersiz kılabilir.
Çocukların, eğitim almamış kişilerin veya makineyi güvenli bir şekilde kullanmak ya da bakım yapmak için gereken fiziksel kapasiteye sahip olmayanların makineyi kullanmasına veya bakım yapmasına asla izin vermeyin. Yerel yönetmelikler operatör yaşını sınırlandırabilir. Makine sahibi, tüm operatör ve bakım teknisyenlerinin eğitilmesini sağlamakla sorumludur.
Ekipmanın ve operatör kontrollerinin emniyetli bir şekilde kullanılmasını ve emniyet etiketlerinin anlamlarını öğrenin.
Operatör konumundan ayrılmadan önce, makinenin motorunu kapatın, anahtarı çıkarın ve tüm hareketin durmasını bekleyin. Makineyi ayarlamadan, bakım yapmadan, temizlemeden veya depoya kaldırmadan önce soğumasını bekleyin.
Makineyi hızla durdurmayı ve kapatmayı öğrenin.
Makinede, tutunma çubuklarının sayısından daha fazla yolcu (siz + yolcuların toplamı) bulunmadığından emin olun.
Tüm emniyet aygıtları ile etiketlerin yerinde olduğunu kontrol edin. Sorunlu tüm emniyet aygıtlarını onarın veya yenisiyle değiştirin ve okunamayan veya eksik tüm etiketleri yenileriyle değiştirin. Bunlar tamamlanmadan veya sorunsuz çalışmaya başlamadan makineyi çalıştırmayın.
Yakıt elleçlerken son derece dikkatli olun. Yakıt yanıcıdır ve buharı patlayıcıdır.
Sigaraları, puroları, pipoları ve diğer tutuşma kaynaklarını söndürün.
Sadece onaylanmış bir yakıt kabı kullanın.
Motor çalışıyorken veya sıcakken yakıt kapağını çıkarmayın ya da yakıt deposunu doldurmayın.
Kapalı bir yerde yakıt eklemeyin veya boşaltmayın.
Makineyi veya yakıt kabını asla bir su ısıtıcısı veya diğer cihazlarda bulunan tipte açık alev, kıvılcım veya tutuşturma alevlerinin bulunduğu yerlerde depolamayın.
Yakıt dökerseniz motoru çalıştırmayın; yakıt buharları tamamen ortadan kaybolana kadar her tür tutuşma kaynağını önleyin.
| Bakım Servisi Aralıkları | Bakım Prosedürü |
|---|---|
| Her kullanımdan önce veya günlük |
|
Her gün, makineyi çalıştırmadan önce bölümünde belirtilen Her Kullanımda/Her Gün prosedürlerini uygulayın.
| Bakım Servisi Aralıkları | Bakım Prosedürü |
|---|---|
| Her kullanımdan önce veya günlük |
|
Ön lastikler için hava basıncı değeri: 2,21 bar
Arka lastikler için hava basıncı değeri: 1,24 bar
Important: Lastiklerin düzgün şişirildiğini düzenli olarak kontrol edin. Lastikler doğru hava basıncıyla şişirilmemişse erken aşınır ve 4 tekerlekten çekiş sisteminin bloke olmasına yol açabilir.
Şekil 12, yetersiz şişirme nedeniyle yaşanan bir lastik aşınmasını gösterir.

Şekil 13, fazla şişirme nedeniyle yaşanan bir lastik aşınmasını gösterir.

Sadece, düşük (<500 ppm) veya ultra düşük (<15 ppm) kükürt içerikli biyodizel yakıtlar veya temiz dizel yakıt kullanın. Minimum setan derecesi 40 olmalıdır. Temizliğinin korunması amacıyla, sadece 180 gün içinde tüketebileceğiniz kadar yakıt satın alın.
-7°C'nin üzerindeki sıcaklıklarda yaz sınıfı dizel yakıt (No. 2-D), bu değerin altındaki sıcaklıklarda ise kış sınıfı dizel yakıt (No. 1-D veya No. 1-D/2-D karışımı) kullanın.
Daha düşük sıcaklıklarda kış sınıfı yakıt kullanılması daha düşük bir parlama noktası ve daha iyi soğukta akma özellikleri sağlar, bu da hem motoru çalıştırmayı kolaylaştırır hem de yakıt filtresinin tıkanmasını azaltır.
Note: -7°C'nin üzerindeki sıcaklıklarda yaz sınıfı yakıt kullanılması yakıt pompası ömrünün uzatılmasına katkıda bulunur ve kış sınıfı yakıta kıyasla daha yüksek güç elde edilmesine yardımcı olur.
Important: Dizel yakıt yerine kerosen veya benzin kullanmayın. Bu uyarının dikkate alınmaması motorda arızaya neden olur.
Bu makinede, B20'ye (%20 biyodizel, %80 petrodizel) kadar biyodizel karıştırılmış yakıt da kullanılabilir. Bu yakıtın petrodizel kısmı düşük veya ultra düşük kükürtlü olmalıdır. Şu tedbirlere uyun:
Yakıtın biyodizel kısmı ASTM D6751 veya EN 14214 gerekliliklerini karşılamalıdır.
Karıştırılmış yakıt bileşimi, ASTM D975 veya EN 590 gerekliliklerini karşılamalıdır.
Biyodizel yakıt karışımları boyalı yüzeylere hasar verebilir.
Soğuk havalarda, B5 (%5 biyodizel içeriği) veya daha düşük karışımlar kullanın.
Zaman içinde bozunabileceklerinden, yakıtla temas eden contaların, hortumların ve keçelerin durumunu takip edin.
Biyodizel karışımlarına geçildikten bir süre sonra yakıt filtresinin tıkanması normaldir.
Biyodizel hakkında detaylı bilgi almak için distribütörünüze danışın.
Yakıt Deposu Kapasitesi: 22 lt.
Yakıt deposu kapağının çevresini temizleyin.
Yakıt deposu kapağını çıkarın (Şekil 14).

Depoyu, en üst kısmının (dolum boynunun altı) biraz altına kadar doldurun ve kapağını takın.
Note: Depoya aşırı yakıt doldurmayın.
Yangın riskini önlemek için, varsa dökülen yakıtı silerek giderin.
| Bakım Servisi Aralıkları | Bakım Prosedürü |
|---|---|
| İlk 100 saatten sonra |
|
Makinenin düzgün performans sergilemesi için şunları yapın:
Frenlerin perdahlanmasını sağlayın; bkz. Frenlerin Perdahlanması.
Hidrolik ve motor yağı seviyelerini düzenli olarak kontrol edin. Makinenin veya parçalarının aşırı ısındığına ilişkin belirtileri dikkatle takip edin.
Soğuk bir motoru çalıştırdıktan sonra, makineyi kullanmadan önce yaklaşık 15 saniye bekleyin.
Note: Soğuk havalarda çalıştırdığınız zaman, motorun ısınmasını daha uzun bir süre bekleyin.
Çalışma sırasında makine hızını çeşitli aralıklarla değiştirin. Hızlı çalıştırma ve durdurma işlemlerinden kaçının.
Motor için rodaj yağı kullanılması gerekmez. Düzenli yağ değişimlerinde kullanılacak yağ, makine için başlangıçta belirtilen orijinal motor yağıdır.
Özel, düşük saatli kontroller için bkz. .
| Bakım Servisi Aralıkları | Bakım Prosedürü |
|---|---|
| Her kullanımdan önce veya günlük |
|
Emniyet kilitleme sisteminin amacı, debriyaj pedalına basılmadan motorun marş almasını veya çalışmasını önlemektir.
Emniyet kilidi anahtarlarının bağlantısı kesilir veya anahtarlar hasar görürse makine beklenmedik biçimde çalışarak yaralanmaya yol açabilir.
Emniyet kilidi anahtarlarını kurcalamayın.
Emniyet kilidi anahtarlarının çalışmasını her gün kontrol edin ve hasarlı anahtarlar varsa makineyi çalıştırmadan önce değiştirin.
Note: Ek parça kilit sisteminin kontrol edilmesine ilişkin prosedürler için ilgili ek parçanın Kullanma Kılavuzuna bakın.
Operatör koltuğuna oturun ve park frenini etkinleştirin.
Vites kolunu BOş konumuna getirin.
Note: Hidrolik kaldırma kolu İleri konumunda kilitlenmişse motor çalışmaz.
Debriyaj pedalına basmadan, anahtarlı şalteri saat yönünde döndürerek MARş konumuna getirin.
Note: Motor çalışır veya marş alırsa kilitleme sisteminde bir arıza vardır ve makine çalıştırılmadan önce bu arıza giderilmelidir.
Operatör koltuğuna oturun ve park frenini etkinleştirin.
Vites kolunu BOş vites konumuna getirin ve hidrolik kaldırma kolunun orta konumda olduğunu teyit edin.
Debriyaj pedalına basın.
Hidrolik kaldırma kolunu ileri itin ve anahtarlı şalteri MARş konumuna getirin.
Note: Motor çalışır veya marş alırsa kilitleme sisteminde bir arıza vardır ve makine çalıştırılmadan önce bu arıza giderilmelidir.
Makine sahibi/operatörü, yaralanma veya maddi hasara yol açabilecek kazaları önleyebilir ve önlemekle sorumludur.
Yolcular, sadece ayrılan oturma yerlerine oturmalıdır. Yük kasasının içinde yolcu taşımayın. Çocukları ve çevredekileri çalışma alanından uzak tutun.
Göz koruyucu, uzun pantolon, kaymaz ayakkabı ve kulak koruyucu gibi uygun kişisel koruyucu donanımlar giyin. Saçınız uzunsa toplayıp bağlayın, bol kıyafet giymeyin, bol takı takmayın.
Makineyi kullanırken tüm dikkatinizi işinize verin. Dikkatinizi dağıtabilecek başka şeylerle ilgilenmeyin, aksi takdirde yaralanma veya maddi hasar meydana gelebilir.
Yorgun, hasta veya alkol/ilaç etkisi altındayken makineyi çalıştırmayın.
Makineyi sadece açık havada veya iyi havalandırılmış yerlerde kullanın.
Makinenin maksimum brüt araç ağırlığını (GVW) aşmayın.
Yük kasasında ağır yük olduğunda fren yaparken veya viraj dönerken çok dikkatli olun.
Yük kasasında çok büyük ebatlı yükler taşımak makinenin dengesini azaltır. Kasanın taşıma kapasitesini aşmayın.
Makineye sabitlenemeyen malzemeler taşınması, direksiyon, fren ve makine hakimiyetini olumsuz etkileyebilir. Makineye sabitlenemeyen bir malzeme taşıyorsanız, dönüşler veya frenlemeler sırasında çok dikkatli olun.
Bozuk ve düzensiz zeminlerde, bordürlerin ve deliklerin yakınlarında ve arazideki diğer ani değişimlerde daha az yük taşıyın ve makinenin yürüyüş hızını azaltın. Yükler yer değiştirerek makinenin dengesini kaybetmesine yol açabilir.
Makineyi çalıştırmadan önce, şanzımanın boş vites konumunda, park freninin etkinleştirilmiş ve sizin de çalışma konumunda olduğunuzu teyit edin.
Makine hareket ediyorken hem sizin hem de yolcuların oturuyor olması gerekir. Ellerinizi direksiyondan ayırmayın, yolcularınız ise tutunma çubuklarını kullanmalıdır. Kol ve bacaklarınızı her zaman makinenin içinde tutun.
Makineyi sadece görüş imkanının iyi olduğu ortamlarda kullanın. Deliklere, tekerlek izlerine, tümseklere, kayalara ve diğer gizli nesnelere karşı dikkatli olun. Bozuk zemin, makinenin devrilmesine yol açabilir. Uzun çimler bazı engelleri gizliyor olabilir. Keskin virajlara, çalılara, ağaçlara veya görüş imkanını kısıtlayabilecek diğer nesnelere yaklaşırken çok dikkatli olun.
Makineyi yamaçların, hendeklerin veya toprak setlerinin yakınında sürmeyin. Bir tekerlek eşiğin üzerinden geçer veya eşik çökerse makine aniden devrilebilir.
Ağaç dalları, kapı pervazları, asılı yürüme yolları vb. alçak sarkan cisimlere karşı her zaman dikkatli olun ve bunlardan kaçının.
Makineyle geriye doğru hareket etmeden önce, arkanıza ve aşağıya bakarak yolun açık olduğunu teyit edin.
Makineyi trafikte kullanırken tüm trafik kurallarına uyun ve kanunların zorunlu kılmış olabileceği lambalar, sinyaller, yavaş hareket eden vasıta (SMV) vb. gibi tüm ek parçaları kullanın.
Makine anormal bir şekilde titreşiyorsa derhal makineyi durdurup kapatın, tüm hareketlerin durmasını bekleyin ve hasar kontrolü yapın. Çalışmaya devam etmeden önce makinedeki tüm hasarı onarın.
Makineyi ıslak zeminde durdurmak kuru zeminde durdurmaktan daha uzun sürebilir. Islanan frenleri kurutmak için, makineyi düz bir zeminde ayağınızı hafifçe fren pedalına basılı tutarak yavaşça sürün.
Makineyi yüksek hızda sürerken hızla durdurmanız arka tekerleklerin kilitlenmesine, bu da makine hakimiyetini kaybetmenize yol açabilir.
Motor çalışıyorken veya kapattıktan hemen sonra motora, şanzımana, egzoz susturucusuna veya egzoz manifolduna dokunmayın; buralar çok sıcak olabilir ve yanmanıza yol açabilir.
Çalışmakta olan bir makinenin başından ayrılmayın.
Çalışma konumundan ayrılmadan önce şunları yapın:
Makineyi düz bir zemine park edin.
Vitesi BOş konumuna getirin.
Park frenini etkinleştirin.
Yük kasasını indirin.
Makinenin motorunu kapatın ve anahtarını çıkarın.
Tüm hareketin durmasını bekleyin.
Yıldırım riski bulunan durumlarda makineyi çalıştırmayın.
Yalnızca Toro® Company tarafından onaylanmış aksesuar ve ek parçalar kullanın.
ROPS, entegre bir emniyet sistemidir.
ROPS'yi makineden sökmeyin.
Emniyet kemerinizi her zaman takın ve kemerin, acil bir durumda hızla çıkarabileceğiniz bir şekilde takıldığından emin olun.
Yukarıdan sarkan nesnelere karşı dikkatli olun ve bunlara temas etmeyin.
Olası hasarlara karşı düzenli olarak kontrol ederek ve tüm montaj sabitleme elemanlarını sıkı tutarak ROPS'yi güvenli çalışır durumda tutun.
Hasar gören ROPS bileşenlerini yenileriyle değiştirin. Bunları onarmayın veya üzerinde değişiklik yapmayın.
Eğimler araç hakimiyetinin kaybedilmesine ve aracın devrilmesine, bu da ağır yaralanma veya ölüme yol açabilir.
Sahayı kontrol ederek hangi eğimlerin makineyi kullanmak için emniyetli olduğunu tespit edin ve bu tür eğimlerde emniyetli çalışmak için kendi prosedür ve kurallarınızı oluşturun. Bu incelemeyi yaparken mantıklı düşünün ve doğru kararlar vermeye dikkat edin.
Makineyi eğimli bir yerde kullanabileceğinizden emin değilseniz, kullanmayın.
Eğimli zeminlerde tüm hareketleri yavaşça ve kademeli olarak yapın. Makinenin hızını veya yönünü aniden değiştirmeyin.
Makineyi ıslak zeminlerde çalıştırmaktan kaçının. Lastikler çekişten düşebilir. Makine, lastikler çekişten düşmeden önce de devrilebilir.
Bir eğimde düz yukarı ve düz aşağı hareket edin.
Bir eğimi tırmanırken momentum kaybederseniz frenleri kademeli olarak etkinleştirin ve makineyi düz bir şekilde tekrar yokuş aşağı doğru yönlendirin.
Eğim çıkarken veya inerken dönüş yapmak tehlikeli olabilir. Bir eğimde dönüş yapmanız gerekirse yavaşça ve dikkatle yapın.
Eğimli zeminlerde ağır yükler dengeyi olumsuz etkiler. Eğimde çalışıyorsanız veya yükün yüksek bir ağırlık merkezi varsa yükü azaltın ve yürüyüş hızınızı düşürün. Yükün yer değiştirmesini önlemek için yükü makinenin yük kasasına sabitleyin. Kolayca yer değiştirebilen yükler (örn. sıvılar, kaya, kum vs.) taşırken çok daha dikkatli olun.
Özellikle yük taşıyorken, makineyi eğimlerde çalıştırmayın, durdurmayın veya döndürmeyin. Bir eğimde ilerlerken durmak, düz bir zeminde durmaktan daha uzun sürer. Makineyi durdurmanız gerekiyorsa ani hız değişimlerinden kaçının, aksi takdirde makine yan yatabilir veya devrilebilir. Geriye doğru kayarken frenleri aniden etkinleştirmeyin, makine devrilebilir.
Makineyi yük kasasında yükle kullanıyorken ve/veya römork çekiyorken makinenin brüt araç ağırlığını aşmayın; bkz. Özellikler.
Makinenin denge ve hakimiyetini artırmak için yükü yük kasasında eşit olarak dağıtın.
Yükü boşaltmadan önce, makinenin arkasında kimse bulunmadığından emin olun.
Dolu bir yük kasasını, makine bir eğimde yanlamasına duruyorken boşaltmayın. Ağırlık dağılımındaki bir değişim makinenin devrilmesine neden olabilir.
Yükseltilen bir kasa aniden düşebilir ve altında çalışanları yaralayabilir.
Kasanın altında çalışmaya başlamadan, kasayı yukarıda tutması için mutlaka kasa tutma çubuğunu kullanın.
Kasayı yükseltmeden önce, varsa yükleri boşaltın.
Makinenin yük kasası yükseltilmiş bir şekilde sürülmesi makinenin yan yatmasına veya devrilmesine yol açabilir. Makineyi kasa yükseltilmiş olarak kullanırsanız yük kasasının yapısına zarar verebilirsiniz.
Makineyi, yük kasası indirilmiş olarak kullanın.
Yük kasasını boşalttıktan sonra indirin.
Kasa kilitlerini açtığınız zaman yük kasasının arka kısmında yük birikmesi olursa kasa beklenmedik bir şekilde açılabilir ve sizi veya çevredekileri yaralayabilir.
Mümkünse, yükleri yük kasasının içinde ortalayın.
Yük kasasını indirilmiş halde tutun ve kilitlerini açarken kimsenin kasaya yaslanmadığından veya arkasında durmadığından emin olun.
Makineye bakım yapmak için kasayı yükselteceğiniz zaman öncelikle kasadaki tüm yükü boşaltın.
Yük kasasını yükseltmek için kolu geriye doğru çekin (Şekil 15).

Kasa çok ağır olabilir. Elleriniz veya vücudunuzun diğer kısımları sıkışıp ezilebilir.
Kasayı indirirken ellerinizi ve vücudunuzun diğer kısımlarını uzak tutun.
Yük kasasını indirmek için kolu ileri itin (Şekil 15).
Yük kasasının indirilmiş ve kilitli olduğunu teyit edin.
Yük kasasının sağında ve solunda bulunan kilitleri açın ve bagaj kapağını indirin (Şekil 16).

Operatör koltuğuna oturun ve park frenini etkinleştirin.
PTO'yu ve yüksek akışlı hidrolikleri (varsa) devre dışı bırakın ve elden kumandalı gazı kelebeği kolunu (varsa) KAPALı konumuna getirin.
Vites kolunu BOş vites konumuna getirin ve debriyaj pedalına basın.
Hidrolik kaldırma kolunun Orta konumda olduğunu kontrol edin.
Ayağınızı gaz pedalından çekin.
Anahtarlı şalteri AçıK konumuna getirin.
Note: Buji gösterge ışığı yanınca motor çalıştırılmaya hazırdır.
Anahtarlı şalteri MARş konumuna getirin.
Note: Motor çalışınca anahtarı hemen bırakın ve ÇALışMA konumuna gelmesini sağlayın.
Note: Anahtar tekrar ÇALışMA konumuna getirilince, buji gösterge ışığı bir 15 saniye daha yanar.
Note: Marş motorunu tek seferde 10 saniyeden uzun bir süre çalıştırmayın, aksi takdirde marş motoru erkenden arızalanabilir. 10 saniyeden sonra motor çalışmazsa anahtarı KAPALı konumuna getirin. Kontrolleri ve marş prosedürünü kontrol edin, 10 saniye daha bekleyin ve marş işlemini tekrarlayın.
4 Tekerlekten Çekiş Sistemini etkinleştirmek için, çift yönlü anahtarın en üst kısmını 4X4 OTOMATIK konumuna doğru bastırın (Şekil 17).

4WD anahtarı açık olduğunda, sensör arka tekerleklerin savrulduğunu algılarsa makine 4 tekerlekten çekiş sistemini otomatik olarak etkinleştirir. 4 tekerlekten çekiş sistemi etkinleşince 4WD anahtar ışığı yanar.
Important: Geriye doğru giderken makine 4 Tekerlekten Çekiş Sistemini otomatik olarak etkinleştirmez. Geriye doğru giderken 4 Tekerlekten Çekiş Sistemini etkinleştirmek için 4WD düğmesine basmanız gerekir.
4 Tekerlekten Çekiş Sistemini manuel olarak etkinleştirmek için, araç hareket halindeyken orta konsoldaki 4WD düğmesini basılı tutun; 4 tekerlekten çekiş sistemi devreye girer.
Note: 4 Tekerlekten Çekiş Sistemi sadece siz düğmeyi basılı tuttuğunuz sürece etkin kalır. 4 Tekerlekten Çekiş Sistemini manuel olarak etkinleştirmek için 4WD anahtarının OTOMATIK konumunda olması gerekmez.
Park frenini devre dışı bırakın.
Debriyaj pedalına sonuna kadar basın.
Vites kolunu birinci vites konumuna getirin.
Gaz pedalını basılı tutarak debriyaj pedalını yavaşça bırakın.
Makine yeterli hıza ulaşınca ayağınızı gaz pedalından çekin, debriyaj pedalına sonuna kadar basın, vites kolunu bir sonraki vites konumuna getirin ve gaz pedalına basarak debriyaj pedalını bırakın.
Bu işlemi, istediğiniz hıza ulaşana kadar tekrarlayın.
Important: İleri vitesten geri veya geri vitesten ileri vitese geçmeden önce makineyi mutlaka durdurun.
Note: Motoru uzun süre rölantide bırakmayın.
Makinenin 3.600 dev/dak'taki yürüyüş hızını hesaplamak için aşağıdaki tabloyu kullanın.
| Vites | Aralık | Oran | Hız (km/sa) | Hız (mil/sa) |
|---|---|---|---|---|
| 1 | D | 82.83 : 1 | 4,7 | 2,9 |
| 2 | D | 54.52 : 1 | 7,2 | 4,5 |
| 3 | D | 31.56 : 1 | 12,5 | 7,7 |
| 1 | Y | 32.31 : 1 | 12,2 | 7,6 |
| 2 | Y | 21.27 : 1 | 18,5 | 11,5 |
| 3 | Y | 12.31 : 1 | 31,9 | 19,8 |
| G | D | 86.94 : 1 | 4,5 | 2,8 |
| G | Y | 33.91 : 1 | 11,6 | 7,1 |
Important: Makineyi çalıştırmak için itmeye veya çekmeye çalışmayın. Tahrik düzeni hasar görebilir.
Makineyi durdurmak için ayağınızı gaz pedalından çekin ve fren pedalına basın.
Makineyi düz bir zemine park edin.
Park frenini etkinleştirin.
Anahtarlı şalteri KAPALı konumuna döndürüp anahtarı çıkarın.
Makinenin bir tepecikte yan yatması veya devrilmesi ağır yaralanmaya yol açabilir.
Diferansiyel kilidiyle elde edilen ekstra çekiş, dönüş yapmak için çok dik olan eğimleri tırmanmak gibi tehlikeli durumları atlatmanız için yeterli olmayabilir. Özellikle dik eğimlerde, diferansiyel kilidi açık halde çalışırken çok dikkatli olun.
Yüksek bir hızda keskin bir dönüş yaparken diferansiyel kilidi açıksa ve arka iç tekerleğin yerle teması kesilirse makine hakimiyeti kaybedilebilir ve makine hızla savrulabilir. Diferansiyel kilidini yalnızca düşük hızlarda kullanın.
Diferansiyel kilidi etkinken dönüş yapmak makine hakimiyetinin kaybedilmesine yol açabilir. Yüksek hızlarda ilerlerken veya sert dönüşler yaparken makineyi diferansiyel kilidi etkin olarak kullanmayın.
Diferansiyel kilidi, arka tekerlekleri kilitleyip tekerleklerin boşa dönmesini önleyerek makinenin çekiş gücünü artırır. Bu, ıslak çimde veya kaygan zeminlerde ağır yük taşımanız, tepeciklere çıkmanız veya kumlu yüzeylerde ilerlemeniz gerektiğinde yardımcı olabilir. Bununla birlikte, bu ekstra çekişin sadece geçici ve sınırlı kullanıma yönelik olduğu unutulmamalıdır. Bu sistemi kullanmak, makineyi tedbirli kullanma zorunluluğunu ortadan kaldırmaz.
Diferansiyel kilidi, arka tekerleklerin aynı hızla dönmesini sağlar. Diferansiyel kilidini kullanırken keskin viraj dönme kabiliyetiniz bir şekilde azalır, bu da çimlerin kazınmasına yol açabilir. Diferansiyel kilidini sadece gerekli olduğunda, düşük hızlarda ve birinci veya ikinci viteste kullanın.
Hidrolik kontrolü, motor her çalıştığında makine pompasından hidrolik güç sağlar. Bu gücü, makinenin arkasındaki çabuk açılır kaplinler aracılığıyla kullanabilirsiniz.
Aniden boşalan basınçlı hidrolik sıvısı cilde nüfuz edebilir ve ağır yaralanmaya yol açabilir.
Hidrolik sisteminin çabuk açılır kaplinlerini bağlarken veya ayırırken dikkatli olun. Çabuk açılır kaplinleri bağlamadan veya ayırmadan önce makinenin motorunu kapatın, park frenini etkinleştirin, ek parçayı aşağı indirin ve uzak hidrolik valfini şamandıranın oyuk noktasına getirerek hidrolik basıncını boşaltın.
Important: Birkaç makine aynı ek parçayı kullanıyorsa, şanzıman yağı çapraz kirlenmeye maruz kalabilir. Bu tür durumlarda şanzıman yağını daha sık değiştirin.
KAPALı Konumu
Bu, kontrol valfinin kullanılmadığı zamanlardaki normal konumudur. Bu konumda, kontrol valfinin çalışma portları bloke edilir ve yükler her iki yöndeki çek valfler tarafından tutulur.
YüKSELT (Çabuk Açılır Kaplin A) Konumu
Bu konum, yük kasasını ve arka çeki ek parçasını yükseltir veya Çabuk Açılır Kaplin A'ya basınç uygular. Bu konum ayrıca, hidrolik akışkanın Çabuk Açılır Kaplin B'den tekrar valfe akmasını ve oradan da çıkıp hazneye gitmesini de sağlar. Bu geçici bir konumdur ve kolu bıraktığınız zaman yay kuvvetiyle tekrar ortaya, yani KAPALı konumuna geri döner.

İNDIR (Çabuk Açılır Kaplin B) konumu
Bu konum, yük kasasını ve arka çeki ek parçasını indirir veya Çabuk Açılır Kaplin B'ye basınç uygular. Bu konum ayrıca, hidrolik akışkanın Çabuk Açılır Kaplin A'dan tekrar valfe akmasını ve oradan da çıkıp hazneye gitmesini de sağlar. Bu geçici bir konumdur ve kolu bıraktığınız zaman yay kuvvetiyle tekrar ortaya, yani KAPALı konumuna geri döner. Kontrol kolu bu konumda geçici olarak tutulup tekrar bırakılınca Çabuk Açılır Kaplin B'ye hidrolik akışkan akışı sağlanır, bu da arka çeki bağlantısına güç besler. Kol tamamen bırakılınca ise, çeki bağlantısındaki basınç korunur.
Important: Kontrol kolunu bir hidrolik silindirle birlikte kullanırsanız, kontrol kolunun İndir konumunda tutulması tahliye valfinin üzerinden hidrolik akışkan akmasına yol açar, bu da hidrolik sistemine hasar verebilir.
AçıK Konumu
Bu konum, İNDIR (ÇABUK AçıLıR KAPLIN B) konumuna benzer. Bu konumda da Çabuk Açılır Kaplin B'ye hidrolik akışkan yönlendirilir, fakat kolun bu konumda tutulması kontrol panelindeki oluklu bir kolla sağlanır. Bu da, bir hidrolik motor kullanan ekipmana sürekli hidrolik akışkan akmasını sağlar.
Bu konumu sadece bir hidrolik motor bağlanmış ek parçalarda kullanın.
Important: Bu konumu bir hidrolik silindirle birlikte veya bir ek parça olmadan kullanırsanız AçıK konumu tahliye valfinin üzerinden hidrolik akışkan akmasına yol açar, bu da hidrolik sistemine hasar verebilir. Bu konumu sadece geçici olarak veya bir motor bağlanmışken kullanın.
Important: Bir ek parça takıldıktan sonra hidrolik akışkan seviyesini kontrol edin. Ek parçayı birkaç döngü boyunca çalıştırıp sistemdeki havayı boşaltarak ek parçanın çalışmasını kontrol edin, ardından da hidrolik akışkan seviyesini bir kez daha kontrol edin. Ek parça silindiri, transakstaki akışkan seviyesini biraz etkiler. Makinenin düşük bir hidrolik akışkan seviyesiyle kullanılması pompaya, uzak hidrolik ünitelerine, hidrolik direksiyona ve makine transaksına hasar verebilir.
Important: Bağlamadan önce, çabuk açılır kaplinlerin kirini iyice temizleyin. Kirli kaplinler, hidrolik sistemine kir girmesine yol açabilir.
Kaplindeki kilitleme halkasını geri çekin.
Hortumun ucunu, yerine tam oturana kadar kaplinin içine sokun.
Note: Uzak ekipmanı çabuk açılır kaplinlere sabitlerken öncelikle hangi tarafın basınca ihtiyacı olduğunu belirleyin, ardından da o hortumu, kontrol kolunu ileri ittiğinizde veya AçıK konumuna kilitlediğinizde basınca sahip olan çabuk açılır kaplin B'ye bağlayın.
Note: Hem makine hem de ek parça kapalı durumdayken, kaldırma kolunu ileri geri hareket ettirerek sistem basıncını alın ve çabuk açılır kaplinlerin bağlantısını gevşetin.
Kaplindeki kilitleme halkasını geri çekin.
Hortumu sert bir şekilde kaplinden geri çekin.
Important: Kullanılmadıkları zamanlarda, çabuk açılır kaplin uçlarına temiz toz tapası ve toz kapakları takın.
Çabuk açılır kaplinlerin bağlanmasında veya ayrılmasında zorluk.
Basınç boşaltılmamış (çabuk açılır kaplin basınç altında).
Hidrolik direksiyon zor dönüyor veya hiç dönmüyor.
Hidrolik sıvısı seviyesi düşük.
Hidrolik sıvısı çok sıcak.
Pompa çalışmıyor.
Hidrolik sızıntıları var.
Bağlantı parçaları gevşemiş.
Bağlantı parçasında O-halka yok.
Bir ek parça çalışmıyor.
Çabuk açılır kaplinler tam kavraşmamış.
Çabuk açılır kaplinler birbiriyle yanlış yerlere takılmış.
Tiz bir ses çıkıyor.
AçıK konumu oyuğunda bırakılan ve tahliye valfinden hidrolik sıvı akmasına yol açan valfi çıkarın.
Kayış gevşemiş.
Motor çalışmıyor.
Hidrolik kolu, İLERI konumunda kilitli kalmış.
Çalışma konumundan ayrılmadan önce şunları yapın:
Makineyi düz bir zemine park edin.
Vitesi BOş konumuna getirin.
Park frenini etkinleştirin.
Yük kasasını indirin.
Makinenin motorunu kapatın ve anahtarını çıkarın.
Tüm hareketin durmasını bekleyin
Makineyi ayarlamadan, bakım yapmadan, temizlemeden veya depoya kaldırmadan önce soğumasını bekleyin.
Makineyi asla bir su ısıtıcısı veya diğer cihazlarda bulunan tipte açık alev, kıvılcım veya tutuşturma alevlerinin bulunduğu yerlerde depolamayın.
Makinenin tüm parçalarını sorunsuz çalışır ve tüm donanımları sıkılmış durumda tutun.
Gerekiyorsa emniyet kemer(ler)ine bakım yapın ve temizleyin.
Aşınmış, hasar görmüş veya eksik tüm etiketleri yenileriyle değiştirin.
Makineyi bir römork veya kamyona yüklerken ve indirirken dikkatli olun.
Makineyi bir römork veya kamyona yüklemek için tam genişlikte rampalar kullanın.
Makineyi emniyetli bir şekilde bağlayın.
Makinedeki bağlama konumlarını görmek için bkz. Şekil 19 ve Şekil 20.
Note: Makineyi, ön kısmı ileri bakacak biçimde römorka yükleyin. Bu mümkün değilse, makine kaputunu bir kayışla çerçeveye sabitleyin veya kaputu çıkarıp ayrı olarak taşıyın; aksi takdirde, taşıma sırasında kaput yerinden çıkarak hasar görebilir.


Acil bir durumda, makineyi kısa bir mesafeye kadar çekebilirsiniz. Bununla birlikte, standart çalışma prosedürü bu değildir.
Makineyi aşırı hızlarda çekmek direksiyon hakimiyetinin kaybedilmesine ve yaralanmaya neden olabilir.
Makineyi asla saatte 8 km'den yüksek hızlarla çekmeyin.
Note: Hidrolik direksiyonun çalışmayacak olması makineye manevra yaptırmayı zorlaştırır.
Makinenin çekilmesi 2 kişiyle gerçekleştirilmelidir. Makineyi uzun bir mesafeye kadar çekmeniz gerekiyorsa bir kamyon veya römork üzerinde taşıyın.
Makine çerçevesinin ön kısmındaki çekme diline bir çekme halatı bağlayın (Şekil 19).
Vitesi BOş konumuna getirin ve park frenini bırakın.
Makine, kendisinden daha ağır römork ve ek parçaları çekebilecek kapasiteye sahiptir. Uygulamanıza bağlı olarak, makine için kullanılabilecek çeşitli çekme donanımları vardır. Detaylar için Yetkili Servis Merkezine başvurun.
Makineniz, arka aks borusuna bağlanan bir çekme donanımıyla donatılırsa, 1587 kg maksimum brüt römork ağırlığına (GTW) sahip römork veya ek parçaları çekebilir.
Bir römorku her zaman yük ağırlığının %60'ı römorkun ön tarafına gelecek biçimde yükleyin. Bu durumda, brüt römork ağırlığının (GTW) yaklaşık %10'u (maksimum 272 kg) makinenin çekme donanımına binecektir.
Yük taşırken veya römork (ek parça) çekerken makineyi veya römorku aşırı yüklemeyin. Aşırı yükleme yapmak frenlerin, aksın, motorun, transaksın, direksiyonun, süspansiyonun, gövde yapısının veya lastiklerin performansını düşürebilir veya bunlara hasar verebilir.
Important: Aktarma organlarının hasar görmemesi için, kısa bir mesafe boyunca çekin.
Beşinci tekerlek ek parçalarını çekerken (çim havalandırıcılar gibi), çekilen ek parçaların hareketinin aniden bozulması durumunda ön tekerleklerin yerden kalkmasını önlemek için beşinci tekerlek setiyle birlikte verilen tekerlek çubuğunu takın.
Eğitimsiz personelin makineye bakım yapmasına izin vermeyin.
Çalışma konumundan ayrılmadan önce şunları yapın:
Makineyi düz bir zemine park edin.
Vitesi BOş konumuna getirin.
Park frenini etkinleştirin.
Yük kasasını indirin.
Makinenin motorunu kapatın ve anahtarını çıkarın.
Tüm hareketin durmasını bekleyin.
Makineyi ayarlamadan, bakım yapmadan, temizlemeden veya depoya kaldırmadan önce soğumasını bekleyin.
Makinenin altında çalışacağınız zaman makineyi mutlaka krikolarla destekleyin.
Gerekli kasa emniyet desteği takılı değilken, yükseltilmiş bir kasanın altında çalışmayın.
Sisteme basınç uygulamadan önce, tüm hidrolik hattı konnektörlerinin sıkı ve tüm hidrolik hortumları ile hatlarının iyi durumda olduğunu teyit edin.
Hidrolik sistem bağlantısını kesmeden veya sisteme herhangi bir iş yapmadan önce, motoru durdurarak, boşaltma valfini yukarıdan aşağı bir tur indirip kaldırarak ve/veya yük kasası ile ek parçaları indirerek sistemdeki tüm basıncı boşaltın. Uzak hidrolik ünitesi kolunu serbest konumuna getirin. Kasanın yükseltilmiş konumda tutulması gerekiyorsa mutlak bir emniyet desteğiyle sabitleyin.
Enerji depolanmış bileşenlerdeki basıncı dikkatle boşaltın.
Aküleri, makineye servis uygularken şarj etmeyin.
Tüm makinenin iyi durumda olmasını sağlamak için tüm donanımları iyi sıkılmış durumda tutun.
Yangın tehlikesini azaltmak için, makinenin çevresindeki gres, çim ve yaprak kalıntıları ile kir birikmelerini giderin.
Mümkünse, makine çalışıyorken bakım işi yapmayın. Hareketli parçalardan uzak durun.
Bir bakım ayarı yapmak için motoru çalıştırmanız gerekirse, ellerinizi, ayaklarınızı, giysilerinizi ve vücudunuzun tüm kısımlarını hareketli parçalardan uzak tutun. Etraftakileri makineden uzak tutun.
Yağ ve yakıt dökülmelerini silerek giderin.
Park freninin çalışmasını bakım planında tavsiye edildiği gibi kontrol edin, gerekiyorsa ayarlayın veya onarım yapın.
Makinenin tüm parçalarını sorunsuz çalışır ve tüm donanımları iyi sıkılmış durumda tutun. Aşınmış veya hasar görmüş etiketleri yenileriyle değiştirin.
Bir emniyet donanımının işlevsel amacında hiçbir değişiklik yapmayın veya o donanımın sağladığı koruma seviyesini azaltmayın.
Regülatör ayarlarını değiştirerek motora aşırı devir yaptırmayın. Emniyet ve doğruluğu sağlamak için, Yetkili Servise, maksimum motor devrini bir takometreyle kontrol ettirin.
Büyük onarımlar gerekiyorsa veya yardıma ihtiyacınız varsa, yetkili bir Toro Distribütörüne danışın.
Bu makinede herhangi bir şekilde değişiklik yapılması makinenin çalışmasını, performansını veya dayanıklılığını etkileyebilir ya da yaralanma veya ölüme yol açabilir. Bu tür bir işlem, The Toro® Company ürün garantisini de geçersiz hale getirecektir.
| Bakım Servisi Aralıkları | Bakım Prosedürü |
|---|---|
| İlk 2 saatten sonra |
|
| İlk 10 saatten sonra |
|
| İlk 50 saatten sonra |
|
| İlk 100 saatten sonra |
|
| Her kullanımdan önce veya günlük |
|
| Her 25 saatte |
|
| Her 50 saatte |
|
| Her 100 saatte |
|
| Her 200 saatte |
|
| Her 400 saatte |
|
| Her 600 saatte |
|
| Her 800 saatte |
|
| Her 1000 saatte |
|
| Her 2000 saatte |
|
Note: www.Toro.com adresine gidip ana sayfadaki Kılavuzlar bağlantısına tıklayarak elektrik şemasının bir kopyasını indirebilirsiniz.
Important: Bakım prosedürlerini öğrenmek için motorun kullanma kılavuzuna bakın.
Sadece yetkili personel makinede bakım, onarım, ayar veya kontrol yapmalıdır.
Çalışma alanındaki yangın risklerini ortadan kaldırın ve yangınla mücadele donanımı bulundurun. Akışkan seviyelerini veya yakıt, akü elektroliti ya da soğutma suyu sızıntılarını kontrol etmek için açık alev kullanmayın.
Parçaları temizlemek için açık yakıt veya alev alır temizlik sıvısı kapları kullanmayın.
Makineye gerektiği gibi bakılmaması sistemlerinin erken arızalanmasına, bu da sizin veya etraftakilerin zarar görmesine yol açabilir.
Makineye her zaman bu talimatlarda belirtildiği gibi bakım yapın ve sorunsuz çalışır durumda olmasını sağlayın.
Anahtarı anahtar yuvasında bırakırsanız yetkisiz bir kişi motoru çalıştırabilir ve sizi ya da çevredekileri ağır yaralayabilir.
Herhangi bir bakım işi yapmadan önce motoru kapatın ve anahtarı çıkarın.
Important: Makine aşağıdaki koşullara maruz kalıyorsa, bakımları iki kat daha sık yapın:
Çölde çalışma
Soğuk iklimlerde (10°C'nin altında) çalışma
Römork çekme
Tozlu koşullarda sık çalışma
İnşaat işleri
Çamurlu, kumlu, sulu veya kirli koşullarda uzun süre çalıştıktan sonra şunları yapın:
Frenlerinizi en kısa sürede kontrol ettirip temizletin. Bu, aşındırıcı maddelerin yüksek aşınmaya neden olmasını önler.
Makineyi sadece su veya hafif deterjanlı suyla yıkayın.
Important: Makineyi temizlemek için tuzlu veya geri kazanılmış su kullanmayın.
Bu bakım bölümünde bahsedilen işlemlerin büyük bir kısmını yerine getirmek için kasanın yükseltilmesi ve alçaltılması gerekir. Ağır yaralanma veya ölümü engellemek için şu tedbirleri alır:
Makineyi düz bir zemine park edin.
Park frenini etkinleştirin.
Yük kasasını boşaltın ve yükseltin; bkz. Yük Kasasının Yükseltilmesi.
Motoru kapatın ve anahtarı çıkarın.
Bakım yapmadan önce, makinenin soğumasını bekleyin.
Important: Kasa desteğini her zaman kasanın dış kısmından takıp çıkarın.
Kasayı, kaldırma silindirleri tamamen açılana kadar yükseltin.
ROPS panelinin arka kısmındaki depolama braketlerinden kasa desteğini çıkartın (Şekil 21).

Kasa desteğini silindir çubuğunun üzerine itin ve destek ucu tırnaklarının, silindir haznesi ucu ile silindir çubuğu ucuna temas etmesini sağlayın (Şekil 22).

Kasa desteğini silindirden çıkarın ve ROPS panelinin arka kısmındaki braketlerin içine yerleştirin.
Important: Kasa emniyet desteği silindirin üzerindeyken kasayı indirmeye çalışmayın.
Motoru çalıştırın, hidrolik kaldırma kolunu etkinleştirin ve kasayı, silindirler yarıkların içinde gevşeyene kadar indirin.
Kaldırma kolunu serbest bırakın ve motoru kapatın.
Silindir çubuğu çatal pimlerinin dış uçlarındaki sıkıştırma pimlerini çıkartın (Şekil 23).

Silindir çubuğu uçlarını kasa montaj plakalarına sabitleyen çatal pimleri, içeri doğru iterek yerinden çıkartın (Şekil 23).
Kılavuz braketleri çerçeve kanallarına sabitleyen sıkıştırma pimleri ile çatal pimleri sökün (Şekil 23).
Makinenin kasasını yukarı kaldırın.
Tam kasa yaklaşık 148 kg ağırlıkta olduğundan, tek başınıza takıp çıkarmaya çalışmayın.
Asılı bir ceraskal kullanın veya 2-3 kişiden yardım alın.
Silindirleri, depolama klipslerinde depolayın.
Kaldırma silindirlerinin kazayla açılmasını önlemek için makinedeki hidrolik kaldırma kilidi kolunu etkinleştirin.
Note: Kasanın kenarlarını düz kasaya monte ediyorsanız, kasayı makineye takmadan önce bunları monte etmeniz daha kolay olur.
Alt kenarın arka kenara dik olmasını sağlamak için arka kılavuz plakalarının kasa çerçevesine/kanalına cıvatayla sabitlenmesini sağlayın (Şekil 24).

Tam kasa yaklaşık 148 kg ağırlıkta olduğundan, tek başınıza takıp çıkarmaya çalışmayın.
Asılı bir ceraskal kullanın veya 2-3 kişiden yardım alın.
Ara parça braketlerinin ve aşınma bloklarının (Şekil 25), taşıyıcı cıvatanın başları makinenin içine gelecek biçimde takıldığından emin olun.

Kaldırma silindirlerinin tamamen toplanmış olmasını sağlayın.
Arka kasa kılavuz plakası deliklerini arka çerçeve kanalındaki deliklerle hizalayarak kasayı dikkatle makine çerçevesinin üzerine yerleştirin ve 2 çatal pim ile sıkıştırma pimlerini takın (Şekil 25).
Kasa indirilmiş haldeyken her bir silindir çubuğunu bir çatal pim ve sıkıştırma pimiyle kasa montaj plakalarındaki ilgili yarıklara sabitleyin.
Çatal pimi, sıkıştırma pimi dışarı doğru bakacak biçimde kasanın dış kısmından takın (Şekil 25).
Note: Arka yarıklar komple kasa montajı, ön yarıklar ise ⅔ komple kasa montajı içindir.
Note: Deliklerle hizalamak amacıyla silindirleri toplamak için motoru çalıştırmanız gerekebilir.
Note: Montaj hatalarını önlemek için, kullanılmayan yarığı bir cıvata ve somunla kapatabilirsiniz.
Kasayı yükseltmek için motoru çalıştırın ve hidrolik kaldırma kolunu etkinleştirin.
Kaldırma kolunu serbest bırakın ve motoru kapatın.
Kasanın yanlışlıkla indirilmesini önlemek için kasa emniyeti desteğini takın; bkz. Kasa Desteğinin Kullanılması.
Sıkıştırma pimlerini, çatal pimlerinin iç uçlarına takın.
Note: Kasaya otomatik bagaj kapağı açma elemanı takılmışsa, çatal pimi takmadan önce, ön boşaltma bağlantısı çubuğunun sol çatal pimin iç kısmına takıldığından emin olun.
Krikoya yerleştirilmiş bir makine dengesini kaybedebilir ve altındaki kişiyi yaralayabilir.
Makine krikonun üzerindeyken makinenin motorunu çalıştırmayın, aksi takdirde motorun yaratacağı titreşim makinenin krikodan düşmesine neden olabilir.
Makineden inmeden önce anahtarı kontaktan mutlaka çıkarın.
Makine bir krikonun üzerindeyken lastiklerin altına takoz yerleştirin.
Makinenin ön kısmını krikoyla kaldıracağınız zaman, kriko ile makine çerçevesinin arasına ahşap bir takoz (veya benzer bir malzeme) koyun.
Makinenin önündeki krikoyla kaldırma noktası, ön orta çerçeve desteğinin altında bulunur (Şekil 26).

Makinenin arkasındaki krikoyla kaldırma noktası, aksın altında bulunur (Şekil 27).

Kaportayı far açıklıklarından elinizle tutarken yukarı kaldırarak alt montaj tırnaklarını çerçeve oyuklarından çıkarın (Şekil 28).

Kaportanın alt kısmını, üst montaj tırnaklarını çerçeve yarıklarından çekebilene kadar yukarı kaldırın (Şekil 28).
Kaportanın üst kısmını ileri doğru çevirin ve kablo konnektörlerini farlardan çıkarın (Şekil 28).
Kaportayı çıkarın.
| Bakım Servisi Aralıkları | Bakım Prosedürü |
|---|---|
| Her 100 saatte |
|
Gres Tipi: 2 numara lityum gres
Yatak veya burçlara yabancı madde girmesini önlemek için gresörlüğü temiz bir bezle silin.
Bir gres tabancası kullanarak, makinedeki gresörlüklere gres sürün.
Makinede kalmış olabilecek fazla gresi silerek giderin.
Important: Tahrik mili evrensel mil yatağı çapraz elemanlarını greslerken, her bir çapraz elemandaki 4 kaptan da gres taşana kadar gres pompalayın.
Gresörlük yerleri ve gres miktarları şöyledir:
Bilyalı bağlantılar (4); bkz. Şekil 29
Bağlantı çubukları (2); bkz. Şekil 29
Kılavuz takozlar (2); bkz. Şekil 29
Direksiyon silindiri (2); bkz. Şekil 29

Yaylı amortisör kulesi (2); bkz. Şekil 30

Debriyaj (1); bkz. Şekil 31
Gaz pedalı (1); bkz. Şekil 31
Fren (1); bkz. Şekil 31

U-bağlantısı (18); bkz. Şekil 32
4 tekerlekten çekiş sistemi tahrik mili (3); bkz. Şekil 32

Karterdeki yağı kontrol etmeden veya kartere yağ eklemeden önce motoru kapatın, anahtarı çıkarın ve tüm hareketli parçaların durmasını bekleyin.
Ellerinizi, ayaklarınızı, yüzünüzü, giysilerinizi ve vücudunuzun diğer parçalarını egzoz susturucudan ve diğer sıcak yüzeylerden uzak tutun.
| Bakım Servisi Aralıkları | Bakım Prosedürü |
|---|---|
| Her 25 saatte |
|
| Her 100 saatte |
|
Maksimum motor korumasını ve hizmet ömrünü sağlamak için hava filtresini ve hortumları düzenli olarak kontrol edin. Hava filtresi gövdesini, hava kaçağına yol açabilecek olası hasarlara karşı kontrol edin. Hasarlı bir hava filtresi gövdesini yenisiyle değiştirin.
Hava filtresindeki kilit mandallarını açın ve hava filtresi kapağını hava filtresi gövdesinden çekip çıkarın (Şekil 33).

Toz kapağının yanlarını sıkarak kapağı açın ve hafifçe vurarak tozu boşaltın.
Filtreyi hafifçe kaydırarak hava filtresi gövdesinden çıkarın (Şekil 33).
Note: Filtreyi, gövdenin yan tarafına vurmaktan kaçının.
Note: Filtreyi temizlemeye çalışmayın.
Filtrenin dış kısmına parlak bir ışık tutup filtreyi inceleyerek yeni filtreyi hasara karşı kontrol edin.
Note: Filtredeki delikler parlak birer nokta olarak görünür. Filtre elemanını yırtılmaya, yağ tabakalarına ve kauçuk conta hasarına karşı kontrol edin. Filtre hasarlıysa filtreyi kullanmayın.
Note: Motorun hasar görmesini önlemek için, motoru her zaman hava filtresi ve kapağı takılmış olarak çalıştırın.
Filtreyi dikkatle gövde borusunun üzerine kaydırın (Şekil 33).
Note: Takarken filtrenin dış çerçevesine bastırarak filtrenin yerine tam oturduğundan emin olun.
Hava filtresi kapağını yan tarafı yukarı bakacak biçimde takın ve kilit mandallarını sabitleyin (Şekil 33).
Note: Çalışma koşulları çok tozlu veya kumluysa yağı daha sık değiştirin.
Note: Eski motor yağını ve yağ filtresini, sertifikalı bir geri dönüşüm merkezinde bertaraf edin.
Yağ Tipi: Deterjanlı motor yağı (API SJ veya üzeri)
Karter Kapasitesi: Filtre değiştirilince, 3,2 litre
Viskozite: Aşağıdaki tabloya bakın.

| Bakım Servisi Aralıkları | Bakım Prosedürü |
|---|---|
| Her kullanımdan önce veya günlük |
|
Note: Motor yağı seviyesini kontrol etmek için ideal zaman, motorun soğuk olduğu veya o gün motorun henüz çalıştırılmadığı bir zamandır. Motoru çalıştırdıysanız, motor yağı seviyesini kontrol etmeden önce, yağın kartere geri akması için en az 10 dakika bekleyin. Yağ seviyesi yağ çubuğundaki Ekle (Add) işaretinde veya altındaysa, yağ seviyesi Tam (Full) işaretine gelene kadar yağ ekleyin. Motora aşırı yağ doldurmayın. Yağ seviyesi Ekle ve Tam işaretlerinin arasındaysa yağ eklenmesi gerekmez.
Makineyi düz bir zemine park edin.
Park frenini etkinleştirin.
Motoru kapatın ve anahtarı çıkarın.
Yağ çubuğunu çıkarın ve temiz bir bezle temizleyin (Şekil 35).

Yağ çubuğunu boruya yerleştirin ve tamamen yerine oturduğunu kontrol edin (Şekil 35).
Yağ çubuğunu çıkarın ve yağ seviyesini kontrol edin (Şekil 35).
Yağ seviyesi düşükse, dolum kapağını (Şekil 35) çıkarın ve seviye yağ çubuğundaki Tam işaretine gelene kadar yağ ekleyin.
Note: Yağ eklerken, yağ çubuğunu çıkararak yeterli havalandırma sağlayın. Bu işlem sırasında yağı yavaşça dökün ve seviyeyi sık sık kontrol edin. Motora aşırı yağ doldurmayın.
Important: Motor yağı eklerken veya yağ doldururken, yağ dolum aygıtı ile valf kapağındaki yağ dolum deliği arasında Şekil 36 şeklinde gösterildiği gibi boşluk bırakılmalıdır. Bu boşluk, havalandırma elemanına yağ sızmasını önlemek amacıyla dolum sırasında havalandırma yapılması için gereklidir.

Yağ çubuğunu sağlam bir şekilde yerine takın (Şekil 35).
| Bakım Servisi Aralıkları | Bakım Prosedürü |
|---|---|
| İlk 50 saatten sonra |
|
| Her 200 saatte |
|
Kasayı yükseltin ve yükseltilmiş halde durması için, açılmış haldeki kaldırma silindirine emniyet desteği yerleştirin.
Boşaltma tapasını çıkarın ve boşaltma karterine yağ akmasını sağlayın (Şekil 37).

Yağ akışı durunca boşaltma tapasını takın.
Yağ filtresini çıkarın (Şekil 37).
Yeni filtre contasını vidayla yerine sabitlemeden önce, üzerine ince bir kat yağ sürün.
Filtreyi, conta ile montaj plakası birbirine temas edene kadar vidalayın. Ardından, filtreyi ½ ila ⅔ tur sıkın.
Note: Aşırı sıkmayın.
Kartere, belirtilen tipte yağ ekleyin.
Note: Motor arıza kodu bilgilerine sadece Toro ticari ürünler servis personeliniz erişebilir.
Makineyi düz bir zemine park edin.
Park frenini etkinleştirin.
Motoru kapatın ve anahtarı çıkarın.
Yetkili Servis Merkezine başvurun.
| Bakım Servisi Aralıkları | Bakım Prosedürü |
|---|---|
| Her kullanımdan önce veya günlük |
|
Yakıt filtresinin altına temiz bir kap yerleştirin (Şekil 38).
Filtre kabının tabanındaki boşaltma tapasını gevşetin.

Filtre kabının tabanındaki boşaltma tapasını sıkın.
| Bakım Servisi Aralıkları | Bakım Prosedürü |
|---|---|
| Her 400 saatte |
|
Su ayırıcıdaki suyu boşaltın; bkz. Yakıt filtresi/Su ayırıcıya servis uygulayın.
Filtrenin monte edildiği alanı temizleyin (Şekil 38).
Filtreyi yerinden çıkarın ve montaj yüzeyini temizleyin.
Filtredeki contayı temiz yağla yağlayın.
Filtreyi, conta ile montaj yüzeyi temas edene kadar elinizle takın, ardından ½ tur daha döndürün.
Filtre kabının tabanındaki boşaltma tapasını sıkın.
| Bakım Servisi Aralıkları | Bakım Prosedürü |
|---|---|
| Her 400 saatte |
|
Yakıt hatlarını, bağlantı parçalarını ve kelepçelerini, sızdırma, aşınma, hasar veya gevşek bağlantı izlerine karşı kontrol edin.
Note: Makineyi kullanmadan önce, varsa hasarlı veya sızdıran yakıt sistemi bileşenlerini onarın.
Makineyi onarmadan önce akü bağlantısını ayırın. İlk önce eksi, ardından da artı ucunu ayırın. İlk önce artı, ardından da eksi ucunu bağlayın.
Aküyü, kıvılcım ve alevlerden uzak, iyi havalandırılan, açık bir ortamda şarj edin. Aküyü bağlamadan veya bağlantısını ayırmadan önce şarj cihazının fişini çekin. Koruyucu kıyafet giyin ve yalıtımlı aletler kullanın.
Takviyeyle çalıştırma tehlikeli olabilir. Yaralanmaları veya makinedeki elektrikli parçaların hasar görmesini önlemek için şu uyarılara riayet edin:
Asla 15 V DC'den yüksek bir voltaj kaynağı kullanarak takviyeyle çalıştırmayın, elektrik sistemi hasar görür.
Donmuş bir boş aküye asla takviye yapmaya çalışmayın. Takviyeyle çalıştırma sırasında yarılabilir veya patlayabilir.
Makineyi takviyeyle çalıştırırken tüm akü uyarılarına uyun.
Makinenizin, takviye yapacak makineye temas etmediğinden emin olun.
Kabloların yanlış akü kutup başına bağlanması yaralanmaya ve/veya elektrik sisteminin hasar görmesine yol açabilir.
Akü kapağını sıkarak akü tabanındaki tırnakları açı ve akü kapağını akü tabanından çıkarın (Şekil 41).

2 akünün artı kutup başlarının arasına bir akü takviye kablosu bağlayın (Şekil 42).
Note: Artı kutup başını, akü kapağının en üst kısmındaki bir + işaretiyle tanıyabilirsiniz.
Diğer akü takviye kablosunun 1 ucunu, diğer makinedeki eksi uca bağlayın.
Note: Eksi uç, akü kapağındaki "NEG" ifadesiyle gösterilmiştir.
Note: Akü takviye kablosunun diğer ucunu, boşalmış akünün eksi ucuna bağlayın. Takviye kablosunu motora veya çerçeveye bağlayın. Takviye kablosunu yakıt sistemine bağlamayın.

Takviyeyle çalıştırmayı yapacak makinenin motorunu çalıştırın.
Note: Birkaç dakika çalıştırdıktan sonra kendi makinenizin motorunu çalıştırın.
Önce kendi makinenizin, ardından da diğer makinenin motorundaki eksi kablo ucunu çıkarın.
Akü kapağını akü tabanına takın.
| Bakım Servisi Aralıkları | Bakım Prosedürü |
|---|---|
| Her 50 saatte |
|
Akü elektroliti, tüketilmesi halinde ölümcül olan ve ağır yanıklara yol açabilen sülfürik asit içerir.
Elektroliti asla içmeyin veya cildinize, gözlerinize ya da giysilerinize temas etmesine izin vermeyin. Gözlerinizi korumak için emniyet gözlüğü, ellerinizi korumak içinse kauçuk eldiven takın.
Aküyü, cildi yıkamak için temiz su bulunan bir yerde doldurun.
Aküyü her zaman temiz ve tam dolu tutun.
Akü uçları aşınmışsa, bunları 4 birim su ve 1 birim sodyum bikarbonat içeren bir çözeltiyle temizleyin.
Korozyonu önlemek için, akü uçlarına ince bir kat gres sürün.
Akü elektrik seviyesini koruyun.
Akünün tepe kısmını, amonyak veya sodyum bikarbonata batırılmış bir fırçayla düzenli olarak silerek temiz tutun. Temizledikten sonra üst yüzeyi durulayın. Temizlik sırasında dolum kapağını çıkarmayın.
İyi bir elektriksel temasın sağlanması için, akü kablolarının, bağlantı uçlarına sıkı sabitlendiğini teyit edin.
Akü hücrelerinin elektrolit seviyesini, damıtılmış veya demineralize suyla koruyun. Hücreleri, her bir hücrenin içindeki dolum halkasının dibinden daha yükseğe kadar doldurmayın.
Makine çok sıcak bir yerde depoya kaldırılırsa, daha serin bir yerde depolamaya kıyasla aküsü çok daha hızlı boşalır.
| Bakım Servisi Aralıkları | Bakım Prosedürü |
|---|---|
| Her 100 saatte |
|
Makineyi düz bir zemine park edin.
Park frenini etkinleştirin.
Motoru kapatın ve anahtarı çıkarın.
Diferansiyelin yanındaki dolum/kontrol tapasının etrafını temizleyin (Şekil 43).

Dolum/kontrol tapasını çıkarın ve yağ seviyesini kontrol edin.
Note: Yağ, deliğe kadar ulaşmalıdır.
Yağ seviyesi düşükse, belirtilen tipte yağ ekleyin.
Dolum/kontrol tapasını takın.
| Bakım Servisi Aralıkları | Bakım Prosedürü |
|---|---|
| Her 800 saatte |
|
Diferansiyel yağı özellikleri: Mobil 424 hidrolik sıvısı
Makineyi düz bir zemine park edin.
Park frenini etkinleştirin.
Motoru kapatın ve anahtarı çıkarın.
Diferansiyelin yanındaki boşaltma tapasının etrafını temizleyin (Şekil 43).
Boşaltma tapasının altına bir boşaltma tavası yerleştirin.
Boşaltma tapasını çıkarın ve boşaltma karterine yağ akmasını sağlayın.
Yağ boşalması durunca tapayı takıp sıkın.
Diferansiyelin en alt kısmındaki dolum/kontrol tapasının etrafını temizleyin.
Dolum/kontrol tapasını çıkarın ve yağ seviyesini deliğe ulaşana kadar belirtilen tipte yağ ekleyin.
Dolum/kontrol tapasını takın.
| Bakım Servisi Aralıkları | Bakım Prosedürü |
|---|---|
| Her 200 saatte |
|
Sabit hız körüğünü çatlaklara, deliklere veya gevşemiş kelepçeye karşı kontrol edin. Hasar tespit ederseniz, onarılması için Yetkili Servise başvurun.
| Bakım Servisi Aralıkları | Bakım Prosedürü |
|---|---|
| İlk 10 saatten sonra |
|
| Her 200 saatte |
|
Vites kolunu BOş konumuna getirin.
Vites kablolarını transaks vites kollarına sabitleyen çatal pimleri sökün (Şekil 44).

Çatal pim sıkma somunlarını gevşetin ve her bir çatal pimini, transaks vites kolundaki deliğe göre kablo boşluğu ileri ve geri yönde eşit olacak biçimde ayarlayın (transaks kolu boşluğu aynı yönde hesaplanmış olarak).
Bitince, çatal pimleri takın ve sıkma somunlarını sıkın.
| Bakım Servisi Aralıkları | Bakım Prosedürü |
|---|---|
| Her 200 saatte |
|
Yüksek-düşük vites kablosunu transaksa sabitleyen çatal pimi sökün (Şekil 44).
Çatal pim sıkma somununu gevşetin ve çatal pimini, çatal pimi deliği ile transaks braketindeki delik hizalanacak biçimde ayarlayın.
Bitince, çatal pimi takın ve sıkma somununu sıkın.
| Bakım Servisi Aralıkları | Bakım Prosedürü |
|---|---|
| Her 200 saatte |
|
Diferansiyel kilidi kolunu KAPALı konumuna getirin.
Diferansiyel kilidi kablosunu transakstaki brakete sabitleyen sıkma somunlarını gevşetin (Şekil 45).

Sıkma somunlarını, yay kancası ile transaks vites kolundaki deliğin dış çapı arasında 0,25 ila 1,5 mm boşluk elde edilecek biçimde ayarlayın.
Bitince, sıkma somunlarını sıkın.
| Bakım Servisi Aralıkları | Bakım Prosedürü |
|---|---|
| Her 100 saatte |
|
Ön lastikler için hava basıncı değeri: 2,21 bar
Arka lastikler için hava basıncı değeri: 1,24 bar
Kaldırım kenarlarına çarpmak gibi çalışma kazaları lastiğe veya janta hasar verebileceği gibi tekerlek hizalamasını da bozabilir; bu nedenle, bir kazadan sonra lastiğin durumunu kontrol edin.
Important: Lastiklerin düzgün şişirildiğini düzenli olarak kontrol edin. Lastikler doğru hava basıncıyla şişirilmemişse erken aşınır ve 4 tekerlekten çekiş sisteminin bloke olmasına yol açabilir.
Şekil 46, yetersiz şişirme nedeniyle yaşanan bir lastik aşınmasına örnektir.

Şekil 47, fazla şişirme nedeniyle yaşanan bir lastik aşınmasına örnektir.

| Bakım Servisi Aralıkları | Bakım Prosedürü |
|---|---|
| Her 400 saatte |
|
Ön tekerlek hizalamasını kontrol etmeden önce lastik hava basınçlarının doğru olduğunu teyit edin; bkz. Lastik Hava Basıncının Kontrol Edilmesi.
Operatör koltuğuna bir operatör oturtun veya sürücü koltuğuna aracın ortalama operatör ağırlığına eşit bir ağırlık yerleştirin.
Ön tekerlek hizalama işlemi boyunca ağırlık veya operatör koltukta kalmalıdır.
Düz bir zeminde, makineyi düz bir şekilde geriye doğru 2 ila 3 m ilerletin, ardından da ileri doğru tekrar orijinal konumuna ilerletin.
Bu, makine süspansiyonunun normal çalışma konumuna oturmasını sağlayacaktır.
Lastiklerin tam düz bir şekilde ileri baktığından emin olun.
Ön lastikler arasındaki mesafeyi, aks yüksekliğinde ve lastiklerin hem önü hem de arkasından (Şekil 48) ölçün.
Ön tekerlek içe dönüklük açısı 0 ± 6 mm olmalıdır.
Important: Ölçümleri, lastikteki aynı noktalarda kontrol edin. Makine düz bir zeminde, lastikler ise tam düz bir şekilde ileri bakıyor olmalıdır.

Ön tekerleğin içe dönüklük açısı hatalıysa şu şekilde ayarlayın:
Bağlantı çubuğunun merkezindeki sıkma somununu gevşetin (Şekil 49).

Lastiklerin ön kısmını içeri veya dışarı hareket ettirmek için her iki bağlantı çubuğunu döndürün.
İçe dönüklük açısı ayarı doğru olunca, bağlantı çubuğu sıkma somunlarını sıkın.
Bağlantı çubuğu sıkma somunlarını 62 ila 74 N∙m torkla sıkın.
İçe dönüklük açısı ayarı tamamlandıktan sonra, direksiyonun her iki yönde de sonuna kadar dönebileceği kadar mesafe bulunduğunu teyit edin.
Tekerlekleri kilit noktasından kilit noktasına hareket ettirmeniz sırasında hiçbir makine bileşeni birbirine temas etmemelidir. Gerekiyorsa ayarlayın.
| Bakım Servisi Aralıkları | Bakım Prosedürü |
|---|---|
| İlk 2 saatten sonra |
|
| İlk 10 saatten sonra |
|
| Her 200 saatte |
|
Bijon sıkma değerleri: 109 ila 122 N∙m
Ön ve arka tekerleklerdeki bijon somunlarını, Şekil 50 şeklinde gösterildiği gibi çapraz sırayla ve belirtilen torkla sıkın.

Motor soğutma suyunun yutulması zehirlenmeye yol açabilir, çocuklardan ve evcil hayvanlardan uzak tutun.
Sıcak ve basınçlı soğutma suyu boşalması veya sıcak radyatöre ve çevredeki parçalara dokunulması ağır yanıklara yol açabilir.
Radyatör kapağını çıkarmadan önce motorun en az 15 dakika soğumasını bekleyin.
Radyatör kapağını açarken bir bez kullanın ve kapağı buhar boşalacak biçimde yavaşça açın.
Makineyi, kapaklar takılı değilken çalıştırmayın.
Parmaklarınızı, ellerinizi ve giysilerinizi, dönen fan ve tahrik kayışından uzak tutun.
Bakım işlerinden önce motoru kapatın ve anahtarı çıkarın.
| Bakım Servisi Aralıkları | Bakım Prosedürü |
|---|---|
| Her kullanımdan önce veya günlük |
|
Soğutma sistemi kapasitesi: 3,7 lt
Soğutma suyu tipi: 50/50 su ve kalıcı etilen-glikol antifriz çözeltisi
Motor çalışıyorsa, sıcak ve basınçlı soğutma suyu boşalarak yanmalara yol açabilir.
Radyatörü açmayın veya radyatöre soğutma suyu eklemeyin, aksi takdirde sisteme hava girebilir ve motor hasar görebilir. Hazneye sadece motor soğutma suyu ekleyin.
Motor çalışıyorken radyatör kapağını açmayın.
Radyatör kapağını açarken bir bez kullanın ve kapağı buhar boşalacak biçimde yavaşça açın.
Makineyi düz bir zemine park edin.
Vites kolunu P (PARK) konumuna getirin.
Motoru kapatın ve anahtarı çıkarın.
Yedek deponun içindeki soğutma suyu seviyesini kontrol edin.

Note: Motor soğukken soğutma suyu seviyesi dolum boynunun dibine kadar olmalıdır.
Soğutma suyu seviyesi düşükse, soğutma suyu deposu kapağını çıkarın ve %50 organik katkı teknolojili (OAT) etilen glikol ile %50 saf su antifriz içeren karışımını ekleyin.
Aşırı doldurmayın.
Yedek depo kapağını el ile sıkın.
| Bakım Servisi Aralıkları | Bakım Prosedürü |
|---|---|
| Her kullanımdan önce veya günlük |
|
Makineyi düz bir zemine park edin.
Park frenini etkinleştirin.
Motoru kapatın ve anahtarı çıkarın.
Motor bölgesindeki tüm kirleri iyice giderin.
Radyatör filtresinin kilit mandalını açın ve filtreyi radyatörün ön kısmından çıkarın (Şekil 52).

Varsa, kilit mandallarını döndürün ve yağ soğutucusunu radyatörden uzağa doğru yönlendirin (Şekil 53).

Radyatör, yağ soğutucusu ve filtreyi basınçlı havayla temizleyin.
Note: Radyatördeki birikintileri hava üfleyerek giderin.
Soğutucuyu ve filtreyi radyatöre takın.
| Bakım Servisi Aralıkları | Bakım Prosedürü |
|---|---|
| Her 1000 saatte |
|
Soğutma sistemi kapasitesi: 3,7 lt
Soğutma suyu tipi: 50/50 su ve kalıcı etilen-glikol antifriz çözeltisi
Yetkili Toro distribütörünüze danışın.
| Bakım Servisi Aralıkları | Bakım Prosedürü |
|---|---|
| Her kullanımdan önce veya günlük |
|
| Her 1000 saatte |
|
Fren hidroliği tipi: DOT 3
Makineyi düz bir zemine park edin.
Park frenini etkinleştirin.
Motoru kapatın ve anahtarı çıkarın.
Kaputu kaldırarak ana fren silindirine ve fren hidroliği haznesine ulaşın (Şekil 54).

Hidrolik seviyesinin, haznedeki Tam (Full) çizgisine kadar olduğunu kontrol edin (Şekil 55).

Hidrolik seviyesi düşükse, kapağın etrafını temizleyin, hazne kapağını çıkarın ve hazneyi, belirtilen tipte fren hidroliğiyle uygun seviyeye kadar doldurun (Şekil 55).
Note: Hazneye aşırı fren hidroliği doldurmayın.
| Bakım Servisi Aralıkları | Bakım Prosedürü |
|---|---|
| İlk 10 saatten sonra |
|
| Her 200 saatte |
|
Park freni kolundaki kauçuk elciği çıkarın (Şekil 56).

Düğmeyi park freni koluna sabitleyen ayar vidasını gevşetin (Şekil 57).

Düğmeyi (Şekil 57), kolu etkinleştirmek için 20 ila 22 kg güç gerekecek hale gelene kadar döndürün.
Bitince, ayar vidasını sıkın (Şekil 57).
Note: Artık park freni kolunu ayarlayarak park freni ayarı yapamıyorsanız, tutacağı ayar aralığının ortasına kadar gevşetin, arkadaki kabloyu ayarlayın ve 3 adımını tekrarlayın.
Kauçuk elciği tekrar park freni koluna takın (Şekil 56).
| Bakım Servisi Aralıkları | Bakım Prosedürü |
|---|---|
| Her 200 saatte |
|
Note: Ayar işlemini kolaylaştırmak için ön kaputu çıkarın.
Ana silindir çatalını fren pedalı kılavuzuna sabitleyen kopilyayı ve çatal pimi sökün (Şekil 58).

Fren pedalını (Şekil 59), çerçeveyle temas edene kadar yukarı kaldırın.
Silindir çatalını ana silindir miline sabitleyen sıkma somunlarını gevşetin (Şekil 59).
Silindir çatalını, delikleri fren pedalı kılavuzundaki delikle hizalanana kadar ayarlayın.
Çatal pim ve kopilyayı kullanarak, silindir çatalını pedal kılavuzuna sabitleyin.
Silindir çatalını ana silindir miline sabitleyen sıkma somunlarını sıkın.
Note: Ana fren silindiri, doğru ayarlandığında basınç boşaltmalıdır.

| Bakım Servisi Aralıkları | Bakım Prosedürü |
|---|---|
| İlk 10 saatten sonra |
|
| Her 200 saatte |
|
Kasayı yükseltin ve bu konumda durmasını sağlamak için, açılmış haldeki kaldırma silindirine emniyet desteği yerleştirin.
Krank mili ile alternatör kasnakları arasındaki açıklık ortasına 10 kg kuvvetle bastırarak gergiyi kontrol edin (Şekil 60).
Note: Yeni bir kayış, 8 ila 12 mm yön değiştirmelidir.
Note: Kullanılmış bir kayış, 10 ila 14 mm yön değiştirmelidir. Yön değiştirme bu miktarlarda değilse bir sonraki adıma geçin. Bu miktarlardaysa, işleme devam edin.
Kayış gergisini ayarlamak için şunları yapın:
| Bakım Servisi Aralıkları | Bakım Prosedürü |
|---|---|
| Her 200 saatte |
|
Note: Debriyaj pedalı kablosunu, debriyaj muhafazasında veya debriyaj pedalı kılavuzunda ayarlayabilirsiniz. Pedal kılavuzuna kolay erişmek için ön kaputu çıkarabilirsiniz.
Debriyaj kablosunu debriyaj muhafazasındaki brakete sabitleyen sıkma somunlarını gevşetin (Şekil 61).
Note: Ek ayar yapmanız gerekiyorsa, bilyalı bağlantıyı çıkarıp döndürebilirsiniz.

Geri dönüş yayını debriyaj kolundan ayırın.
Sıkma somunlarını veya bilyalı bağlantıyı, pedala 1,8 kg güç uyguladığınız zaman debriyaj pedalının arka kenarı zemin plakası elmas kalıbının en üst noktasından itibaren 9,2 ila 9,8 cm olacak biçimde ayarlayın (Şekil 62).

Note: Debriyaj ayırma yatağı baskı plakası tırnaklarına hafifçe temas edecek biçimde kuvvet uygulanır.
Doğru ayarı elde ettikten sonra sıkma somunlarını sıkın.
Doğru ayarı teyit etmek için, sıkma somunları sıkıldıktan sonra 9,2 ila 9,8 cm'lik boyutu kontrol edin.
Note: Gerekiyorsa tekrar ayarlayın.
Geri dönüş yayını debriyaj koluna bağlayın.
Important: Kol ucunun bilya üzerine düz bir şekilde yerleştiğini, bükülmediğini ve sıkma somunu sıkıldıktan sonra debriyaj pedalına paralel kaldığını teyit edin (Şekil 63).
Note: Debriyaj boşluğu asla 19 mm'den az olmalıdır.

Makineyi düz bir zemine park edin, park frenini etkinleştirin, motoru kapatın ve anahtarı çıkarın.
Gaz telindeki bilyalı bağlantıyı (Şekil 64), pedalın tam ortasına 11,3 kg güç uyguladığınız zaman gaz pedalı kolu ile elmas kalıplı zemin plakasının en üst noktası (Şekil 65) arasında 2,54 ila 6,35 mm boşluk elde edilecek biçimde ayarlayın.
Note: Motor çalışmıyor ve geri dönüş yayı takılı olmalıdır.
Kilit somununu sıkın (Şekil 64).


Important: Maksimum yüksek rölanti devri 3.650 dev/dak'tır. Yüksek rölanti sınırlayıcıyı ayarlamayın.
Hidrolik sıvısı cildinize nüfuz ederse derhal tıbbi yardım alın. Nüfuz eden hidrolik sıvısı bir doktor tarafından birkaç saat içinde çıkarılmalıdır.
Hidrolik sistem bağlantısını kesmeden veya sistemde herhangi bir iş yapmadan önce, motoru durdurarak, boşaltma valfini yukarıdan aşağı bir tur indirip kaldırarak ve/veya yük kasası ile ek parçaları indirerek sistemdeki tüm basıncı boşaltın. Uzak hidrolik ünitesi kolunu serbest konumuna getirin. Gerekli kasa emniyet desteği takılı değilken, yükseltilmiş bir kasanın altında çalışmayın.
Hidrolik sistemine basınç uygulamadan önce tüm hidrolik sıvısı hortumlarının ve hatlarının iyi durumda, hidrolik bağlantıları ile bağlantı parçalarının ise yeterince sıkı olduğunu kontrol edin.
Vücudunuzu ve ellerinizi, yüksek basınçlı hidrolik sıvısı çıkaran pim deliklerinden veya nozüllerden uzak tutun.
Sızan hidrolik sıvılarını temizlemek için bir karton veya kağıt kullanın.
Transaks sıvısı tipi: Dexron III ATF
| Bakım Servisi Aralıkları | Bakım Prosedürü |
|---|---|
| Her kullanımdan önce veya günlük |
|
Makineyi düz bir zemine park edin.
Park frenini etkinleştirin.
Motoru kapatın ve anahtarı çıkarın.
Yağ çubuğunun çevresini temizleyin (Şekil 66).

Yağ çubuğunu transaksın en üst kısmından çıkarın ve temiz bir bezle temizleyin.
Yağ çubuğunu transaksın içine yerleştirin ve yerine tam oturduğunu kontrol edin.
Yağ çubuğunu çıkarın ve seviyeyi kontrol edin.
Note: Seviye, yağ çubuğunun düz kısmının en üst noktasına kadar olmalıdır.
Seviye düşükse, uygun seviyeye kadar belirtilen tipte sıvı ekleyin; bkz. Transaks/Hidrolik Sıvısı Özellikleri.
| Bakım Servisi Aralıkları | Bakım Prosedürü |
|---|---|
| Her 800 saatte |
|
Hidrolik sıvısı kapasitesi: 7 lt
Makineyi düz bir zemine park edin.
Park frenini etkinleştirin.
Motoru kapatın ve anahtarı çıkarın.
Boşaltma tapasını haznenin yan tarafından çıkarın ve boşaltma kabına hidrolik sıvısı akmasını sağlayın (Şekil 67).

Hidrolik hortumunun ve haznenin yan tarafındaki süzgece bağlanmış 90° bağlantı parçasının yönlerini not edin (Şekil 68).
Hidrolik hortumunu ve 90° bağlantı parçasını çıkarın.
Süzgeci çıkarın ve temiz bir gres sökücüyle tersten yıkayarak temizleyin.
Note: Takmadan önce, havayla kurumaya bırakın.

Süzgeci takın.
Hidrolik hortumunu ve 90° bağlantı parçasını süzgece aynı yönde takın.
Boşaltma tapasını takın ve sıkın.
Hazneye, belirtilen tipte yaklaşık 7 litre hidrolik sıvısı doldurun; bkz. Transaks/Hidrolik Sıvısı Seviyesinin Kontrol Edilmesi.
Motoru çalıştırın ve makineyi çalıştırarak hidrolik sistemini doldurun.
Hidrolik sıvısı seviyesini kontrol edin, gerekiyorsa sıvı ekleyin.
Important: Sadece belirtilen hidrolik sıvısını kullanın. Diğer sıvılar sisteme hasar verebilir.
| Bakım Servisi Aralıkları | Bakım Prosedürü |
|---|---|
| İlk 10 saatten sonra |
|
| Her 800 saatte |
|
Important: Başka bir filtre kullanılması bazı parçaların garantisini geçersiz kılabilir.
Makineyi düz bir zemine park edin.
Park frenini etkinleştirin.
Motoru kapatın ve anahtarı çıkarın.
Filtre montaj alanının çevresini temizleyin.
Filtrenin altına bir boşaltma kabı yerleştirin ve filtreyi çıkarın (Şekil 69).

Yeni filtrenin contasını yağlayın.
Filtre montaj alanının temiz olmasını sağlayın.
Filtreyi, conta ile montaj plakası birbirine temas edene kadar vidalayın ve ½ tur sıkın.
Motoru çalıştırın ve sistemdeki havanın boşaltılması için yaklaşık 2 dakika çalışmasını bekleyin.
Motoru kapatın ve hem hidrolik sıvısı seviyesini hem de olası sızıntıları kontrol edin.
Depo, fabrikada yüksek kaliteli hidrolik sıvısı ile doldurulmuştur. Her gün motoru çalıştırmadan önce ve sonra hidrolik sıvısının seviyesini kontrol edin; bkz. Yüksek Akışlı Hidrolik Sıvısı Seviyesinin Kontrol Edilmesi.
Tavsiye edilen yedek sıvı: Toro PX Uzun Ömürlü Hidrolik Sıvısı; 19 litrelik kova veya 208 litrelik bidon seçenekleri mevcuttur.
Note: Önerilen yedek sıvıyı kullanan makineler daha az sıvı ve filtre değişimi gerektirir.
Alternatif sıvılar: Toro PX Uzun Ömürlü Hidrolik Sıvısı mevcut değilse, aşağıdaki tüm malzeme özellikleri için belirtilen aralıkta yer alan ve endüstri standartlarını karşılayan özelliklere sahip başka bir geleneksel, petrol bazlı hidrolik sıvısı kullanabilirsiniz. Sentetik sıvılar kullanmayın. Uygun ürünü belirlemek için yağlama maddesi distribütörünüze danışın.
Note: Toro, uygun olmayan muadil ürünler kullanılması sonucu ortaya çıkabilecek hasarlarla ilgili hiçbir sorumluluk kabul etmez. Bu nedenle ürünler sadece tavsiyelerinin arkasında durabilecek güvenilir üreticilerin ürünlerini kullanın.
| Malzeme Özellikleri: | ||
| Viskozite, ASTM D445 | 40°C’de 44 ila 48 santistok (cSt) | |
| Viskozite Endeksi ASTM D2270 | 140 veya daha yüksek | |
| Akma Noktası, ASTM D97 | -37°C ila -45°C arası | |
| Endüstri Özellikleri: | Eaton Vickers 694 (I-286-S, M-2950-S/35VQ25 veya M-2952-S) | |
Note: Hidrolik sıvılarının büyük bir kısmı renksiz olduğundan, olası sızıntıları tespit edebilmek zordur. Hidrolik sıvıları için, 20 ml şişeler halinde satılan bir kırmızı boya katkısı vardır. 15 ila 22 litre hidrolik sıvısı için bir şişe yeterli olacaktır. Toro distribütörünüzden 44-2500 parça numarasıyla sipariş edebilirsiniz.
| Bakım Servisi Aralıkları | Bakım Prosedürü |
|---|---|
| Her kullanımdan önce veya günlük |
|
Makineyi düz bir zemine park edin.
Park frenini etkinleştirin.
Motoru kapatın ve anahtarı çıkarın.
Dolum boynunun ve hidrolik deposu kapağının çevresini temizleyin (Şekil 70).
Dolum boynunun kapağını çıkarın.

Yağ çubuğunu (Şekil 70) dolum boynundan çıkarın ve temiz bir bezle temizleyin.
Yağ çubuğunu dolum boynuna sokun, ardından çıkarın ve sıvı seviyesini kontrol edin.
Note: Sıvı seviyesi, seviye ölçüm çubuğundaki 2 işaretin arasında olmalıdır.
Sıvı seviyesi düşükse, üst işarete gelene kadar sıvı ekleyin; bkz. Yüksek Akışlı Hidrolik Sıvısı ve Filtresinin Değiştirilmesi.
Yağ çubuğunu ve kapağı, dolum boynuna takın.
Motoru çalıştırın ve ek parçayı başlatın.
Note: Sistemdeki havanın boşaltılması için yaklaşık 2 dakika çalışmalarını bekleyin.
Important: Yüksek akışlı hidrolik üniteleri çalıştırılmadan önce makine çalışıyor olmalıdır.
Motoru ve ek parçayı kapatın ve sızıntı kontrolü yapın.
| Bakım Servisi Aralıkları | Bakım Prosedürü |
|---|---|
| Her 800 saatte |
|
| Her 1000 saatte |
|
| Her 2000 saatte |
|
Hidrolik sıvısı kapasitesi: yaklaşık 15 lt
Makineyi düz bir zemine park edin.
Park frenini etkinleştirin.
Motoru kapatın ve anahtarı çıkarın.
Yüksek akış filtresi montaj alanının çevresini temizleyin (Şekil 69).
Filtrenin altına bir boşaltma kabı yerleştirin ve filtreyi çıkarın.
Note: Sıvı boşaltılmayacaksa, filtreye giden hidrolik hattının bağlantısını ayırın ve tapayla kapatın.
Yeni filtre contasını yağlayın ve filtreyi, conta filtre kafasıyla temas edene kadar filtre kafasının üzerinde elinizde döndürerek takın. Ardından ¾ tur daha sıkın. Filtre tamamen kapatılmış olacaktır.
Hidrolik deposuna, belirtilen tipte yaklaşık 15 litre hidrolik sıvısı doldurun.
Makineyi çalıştırın ve hem sıvının sistemde dolaşması hem de sistemde sıkışan havanın boşaltılması için yaklaşık 2 dakika çalışmasını bekleyin.
Makineyi durdurun ve sıvı seviyesini kontrol edin.
Sıvı seviyesini kontrol edin.
Sıvıyı düzgün bir şekilde bertaraf edin.
Acil bir durumda, marş motorunu etkinleştirerek veya hidrolik sistemini takviyeyle çalıştırarak, yük kasasını motoru çalıştırmadan yükseltebilirsiniz.
Kaldırma kolunu Yükselt konumunda tutarak marş motorunu etkinleştirin. Marş motorunu 10 saniye çalıştırın ve marş motorunu tekrar etkinleştirmeden önce 60 saniye bekleyin. Motor marş almıyorsa, yükü ve kasayı (ek parça) boşaltıp motora veya transaksa bakım yapmanız gerekir.
Emniyet destek çubuğu yerleştirilmeden yükseltilmiş malzeme dolu bir kasa beklenmedik bir şekilde aşağı inebilir. Desteklenmeyen bir yükseltilmiş kasanın altında çalışmak sizin veya etraftakilerin yaralanmasına yol açabilir.
Makinede bakım veya ayar yapmadan önce, makineyi düz bir zemine park edin, park frenini etkinleştirin, motoru kapatın ve anahtarı çıkarın.
Yükseltilmiş bir kasanın altında çalışmaya başlamadan önce, kasadaki veya diğer ek parçalardaki malzemeyi (varsa) boşaltın ve tamamen açılmış silindir çubuğunun üzerine bir emniyet desteği yerleştirin.
Bu işlemi yapmak için, her birinde makine kaplinlerine geçirilen bir erkek ve bir dişi çabuk açılır kaplin bulunan 2 hidrolik hortumuna ihtiyacınız olacaktır.
Takviye yapacak makineyi, devre dışı kalan makinenin arkasına yerleştirin.
Important: Makinenin hidrolik sisteminde Dexron III ATF kullanılmaktadır. Sistemde kirlenmeyi önlemek için, hidrolik sisteme takviye yapacak makinenin de muadil bir sıvı kullandığından emin olun.
Her iki makinede de, 2 adet çabuk açılır kaplinli hortumu, kaplin braketine sabitlenmiş hortumlardan ayırın (Şekil 71).

Devre dışı kalan makinede, bağlantısı kesilen hortumlara 2 adet takviye kablolu hortum bağlayın (Şekil 72).
Kullanılmayan bağlantı parçalarını kapaklarla kapatın.

Diğer makinede, hâlâ kaplin braketinde bulunan kapline 2 adet hortum bağlayın (en üst hortumu en üst kapline, en alt hortumu en alt kapline bağlayın) (Şekil 73).
Kullanılmayan bağlantı parçalarını kapaklarla kapatın.

Etraftakileri makinelerden uzak tutun.
İkinci makineyi çalıştırın ve kaldırma kolunu Yükseltme konumuna getirin; devre dışı kalan yük kasası yükseltilir.
Hidrolik kaldırma kolunu BOş konumuna getirin ve kaldırma kolu kilidini etkinleştirin.
Kasa desteğini, açılmış durumdaki kaldırma silindirinin üzerine takın; bkz. Kasa Desteğinin Kullanılması.
Note: Makine kapalı durumdayken, kaldırma kolunu ileri geri hareket ettirerek sistem basıncını alın ve çabuk açılır kaplinlerin bağlantısını gevşetin.
İşlem tamamlandıktan sonra takviye kablolu hortumları çıkarın ve hidrolik hortumlarını her iki makineye de bağlayın.
Important: İşleme devam etmeden önce, her iki makinede de hidrolik sıvısı seviyesini kontrol edin.
Gerektiğinde, makineyi sadece su veya hafif deterjanlı suyla yıkayın. Makineyi yıkarken bez kullanabilirsiniz.
Important: Makineyi temizlemek için tuzlu veya geri kazanılmış su kullanmayın.
Important: Makineyi yıkamak için elektrikli yıkama ekipmanı kullanmayın. Elektrikli yıkama ekipmanı makinenin elektrik sistemine zarar verebilir, önemli etiketleri sökebilir veya sürtünme noktalarındaki gerekli gresi koparabilir. Kontrol panelinin, motorun ve akünün yakınında aşırı su kullanmayın.
Important: Motor çalışıyorken makineyi yıkamayın. Motor çalışıyorken makineyi yıkamak iç motor hasarına yol açabilir.
Operatör konumundan ayrılmadan önce, makinenin motorunu kapatın, anahtarı çıkarın ve tüm hareketin durmasını bekleyin. Makineyi ayarlamadan, bakım yapmadan, temizlemeden veya depoya kaldırmadan önce soğumasını bekleyin.
Makineyi veya yakıt kabını asla bir su ısıtıcısı veya diğer cihazlarda bulunan tipte açık alev, kıvılcım veya tutuşturma alevlerinin bulunduğu yerlerde depolamayın.
| Bakım Servisi Aralıkları | Bakım Prosedürü |
|---|---|
| İlk 50 saatten sonra |
|
| Her 200 saatte |
|
| Her 400 saatte |
|
| Her 600 saatte |
|
Makineyi düz bir zemine park edin, park frenini etkinleştirin, motoru kapatın ve anahtarı çıkarın.
Motor silindir kapağı kanatlarının ve fan muhafazasının dış kısmındakiler dahil tüm makinedeki kir ve yabancı maddeleri giderin.
Frenleri kontrol edin; bkz. Fren Hidroliği Seviyesinin Kontrol Edilmesi.
Hava temizleyicisine bakım yapın; bkz. Hava Filtresi Servisi.
Hava filtresi girişini ve egzoz çıkışını, su geçirmez bir bantla kapatın.
Makineyi gresleyin; bkz. Yatak ve Burç Takımlarının Greslenmesi.
Motor yağı ve filtresini değiştirin; bkz. Motor Yağı ve Filtresinin Değiştirilmesi.
Yakıt deposunu temiz dizel yakıtla yıkayın.
Tüm yakıt sistemi bağlantı parçalarını sabitleyin.
Lastik hava basıncını kontrol edin; bkz. Lastik Hava Basıncının Kontrol Edilmesi.
Antifriz korumasını kontrol edin ve bulunduğunuz bölgede beklenebilecek en düşük sıcaklık için gerektiği şekilde 50/50 su ve antifriz çözeltisi ekleyin.
Aküyü şasiden çıkarın, elektrolit seviyesini kontrol edin ve aküyü sonuna kadar şarj edin; bkz. Aküye Servis Uygulanması.
Note: Depolama süresince akü kabloları akü uçlarına bağlanmamalıdır.
Important: 0°C'den düşük sıcaklıklarda donmasını ve hasar görmesini önlemek için akü tam şarjlı durumda olmalıdır. Tam şarjlı bir akü, 4°C'den düşük sıcaklıklarda şarj seviyesini yaklaşık 50 gün boyunca korur. Sıcaklıklar 4°C'yi aşacaksa, aküdeki su seviyesini kontrol edin ve aküyü 30 günde bir şarj edin.
Tüm cıvata, somun ve vidaları kontrol edip sıkın. Hasarlı parçaları onarın veya yenisiyle değiştirin.
Çizilmiş veya çıplak metal tüm yüzeyleri boyayın.
Boyayı, Yetkili Servisten alabilirsiniz.
Makineyi temiz ve kuru bir garajda veya depoda saklayın.
Makineyi korumak ve temiz tutmak için üzerini örtün.
| Problem | Possible Cause | Corrective Action |
|---|---|---|
| Çabuk açılır kaplinlerin konnektörden ayrılması zor oluyor. |
|
|
| Hidrolik direksiyon zor hareket ediyor. |
|
|
| Hidrolik bağlantı parçası sızdırıyor. |
|
|
| Bir ek parça çalışmıyor. |
|
|
| Motor çalışmıyor. |
|
|