Dieses Produkt entspricht allen relevanten europäischen Richtlinien. Weitere Informationen finden Sie in der Einbauerklärung am Ende dieses Dokuments.

Important: Wenn Sie das Universal-Sonnendach auf einer Zugmaschine des Typs Reelmaster 3100 oder Groundsmaster 3500/3505 installieren, muss das Radballast-Kit installiert sein. Wenden Sie sich an Ihren autorisierten Toro-Vertragshändler, um das richtige Radballast-Kit zu erhalten.

Sicherheit

Allgemein

Vor der Inbetriebnahme

  1. Lesen und verstehen Sie den Inhalt der Installationsanweisungen, bevor Sie das Sonnendach installieren.

  2. Halten Sie alle Schutzbleche, Sicherheitseinrichtungen und Aufkleber an den für sie vorgesehenen Stellen intakt. Sollte ein Schutzblech, eine Sicherheitseinrichtung oder ein Aufkleber defekt, unleserlich oder beschädigt sein, reparieren Sie das entsprechende Teil bzw. tauschen Sie es aus, bevor Sie die Maschine einsetzen.

  3. Modifizieren Sie den Überrollbügel auf keine Weise, u. a. durch Schweißarbeiten, Schnitte, Bohrungen sowie Entfernen.

  4. Ziehen Sie alle lockeren Muttern und Schrauben fest, um den sicheren Betriebszustand der Maschine sicherzustellen.

Beim Betrieb

  1. Passen Sie besonders auf, wenn Sie in der Nähe von Zäunen, Gräben oder Hanglagen arbeiten.

  2. Achten Sie sorgfältig auf die lichte Höhe (wie z. B. zu Ästen, Pforten, Stromkabeln), bevor Sie unter irgendeinem Hindernis durchfahren, damit Sie diese nicht berühren.

  3. Vergurten Sie den Sonnendachrahmen, wenn Sie die Maschine transportieren.

  4. Tragen Sie während der Verwendung der Maschine mit einem Sonnendach einen Gehörschutz.

Wartung und Kundendienst

  1. Senken Sie das Anbaugerät ab, stellen den Motor ab, aktivieren die Feststellbremse und ziehen den Schlüssel ab, bevor Sie die Maschine warten oder Einstellungen vornehmen.

  2. Stellen Sie sicher, dass die Maschine in einem einwandfreien Betriebszustand ist, indem Sie Muttern und Schrauben angezogen halten.

  3. Tragen Sie eine Schutzbrille, wenn Sie das Sonnendach installieren.

  4. Wechseln Sie ein beschädigtes Sonnendach aus. Führen Sie keine Reparaturen oder Modifikationen aus.

  5. Verwenden Sie bei der Installation des Sonnendachs oder bei der Durchführung von Wartungsarbeiten die richtigen Stützen, Flaschenzüge und Wagenheber. Wenn das Sonnendach nicht richtig abgestützt ist, kann es sich bewegen oder umfallen und Verletzungen verursachen.

  6. Kaufen Sie nur Toro Originalersatzteile und Zubehör, um die optimale Leistung und Sicherheit zu gewährleisten. Verwenden Sie nie Ersatzteile und Zubehör anderer Hersteller; diese könnten sich eventuell als gefährlich erweisen. Dies kann ggf. die Produktgarantie von The Toro Company ungültig machen.

Sicherheits- und Bedienungsschilder

Graphic

Die Sicherheits- und Bedienungsaufkleber sind für den Bediener gut sichtbar und befinden sich in der Nähe der möglichen Gefahrenbereiche. Tauschen Sie beschädigte oder verloren gegangene Aufkleber aus.

Sicherheits- und Anweisungsaufkleber sind auf das Sonnendach aufgeklebt. Bringen Sie ein Ersatzaufkleber an, wenn ein Aufkleber unleserlich oder beschädigt ist.

decal98-4387

Installation

Vorbereiten der Maschine

  1. Stellen Sie die Maschine auf einer ebenen Fläche ab.

  2. Senken Sie die Schneideinheiten ab und aktivieren Sie die Feststellbremse.

  3. Stellen Sie den Motor ab und ziehen Sie den Zündschlüssel ab.

Note: Für jede Maschine werden nicht dieselben Teile für die Installation des Kits verwendet.

Identifizieren und Installieren der U-Bügel

Dieses Kit hat fünf verschiedene U-Bügel. U-Bügel sind nach Abmessungen (Spannweite x Länge) in der Ersatzteilliste aufgeführt. Ermitteln Sie in Bild 1 die Abmessungen der U-Bügel.

g246183

Führen Sie die folgenden Schritte aus, wenn Sie die U-Bügel an der Halterung des Überrollschutzes anbringen:

  • Ziehen Sie die Muttern, mit denen die U-Bügel an der Halterung befestigt sind, nur mit Handwerkzeugen an.

  • Um eine gleichmäßige Kraftverteilung zu gewährleisten, ziehen Sie die Muttern abwechselnd an, wie in Bild 2dargestellt.

g482777

Montieren des Sonnendachs

Groundsmaster 5900

Für diesen Arbeitsschritt erforderliche Teile:

Schraube (¾" x 4")2
Mutter (¾")2
Scheibe (13/16" x 1½")4
Rahmen 1
Überrollschutz-Befestigungshalterung1
Strebe2
Strebenhalterung2
Verlängerungslenker2
Schraube (½" x 1½")4
Schraube (½" x 2½") 4
Schraube (½" x 2¾")4
Scheibe (groß)10
Bundmutter (½")10
U-Bügel (4½" x 2¾") 2
U-Bügel (3⅛" x 4")2
U-Bügel (3½" x 5")4
U-Bügel (3½" x 2¾")2
U-Bügel (4½" x 4")2
Bundmutter (⅜")8
Sonnendach 1
Bundkopfschraube (5/16" x 1¼")4
Scheibe (klein)4
Tülle4
Klemmmutter4
  1. Befestigen Sie die Befestigungshalterung des Überrollschutzes an der Oberseite des Überrollbügels der Zugmaschine (Bild 3).

    Note: Stellen Sie sicher, dass der Überrollbügel in der Befestigungshalterung zentriert ist.

    g246182
  2. Befestigen Sie den Rahmen an der Befestigungshalterung des Überrollschutzes (Bild 3).

  3. Befestigen Sie die Befestigungshalterung des Überrollschutzes mit zwei U-Bügeln (4½" x 4") und vier Bundmuttern in den in Bild 3 abgebildeten Befestigungslöchern an der Oberseite des Überrollbügels.

  4. Befestigen Sie jede Strebenhalterung lose mit einem U-Bügel (3⅛" x 4") und zwei Bundmuttern in den in Bild 4 abgebildeten Befestigungslöchern an den Streben des Überrollbügels.

    g482768
  5. Befestigen Sie an jeder Seite des Sonnendachrahmens eine Strebe mit einer Schraube (½" x 2¾"), einer Scheibe (½"), und einer Bundmutter (½") lose im zweiten Loch der Strebenbefestigung, wie in Bild 5 abgebildet.

    g267172
  6. Befestigen Sie eine Strebenhalterung mit einer Schraube (½" x 2½"), einer Scheibe (½") und einer Bundmutter (½") an jeder Strebe, wie in Bild 5 abgebildet.

  7. Verschieben Sie die Strebenhalterungen an den vertikalen Überrollbügelstreben nach oben oder unten, bis der Sonnendachrahmen mit dem Boden nivelliert ist.

    Note: Stellen Sie mit einer Wasserwaage sicher, dass der Rahmen mit dem Boden nivelliert ist.

    Note: Verwenden Sie die vorderen oder hinteren Befestigungslöcher in der Strebenhalterung, wenn weitere Einstellungen erforderlich sind.

  8. Ziehen Sie die Bundmuttern an den U-Bügeln an, um die Befestigungshalterungen an den Streben zu befestigen.

  9. Ziehen Sie alle restlichen Bundmuttern wie folgt an:

    • Ziehen Sie die Bundmuttern (⅜") auf ein Drehmoment von 41 bis 55 N∙m an.

    • Ziehen Sie die Bundmuttern (½") auf ein Drehmoment von 113 bis 141 N∙m an.

  10. Positionieren Sie das Sonnendach beim Ausfluchten der Befestigungslöcher am Rahmen wie in Bild 6 abgebildet.

    g245151
  11. Befestigen Sie jede Ecke des Sonnendachs mit einer Bundkopfschraube (5/16" x 1¼"), einer kleinen Scheiben und einer Scheibe lose am Rahmen (Bild 6).

  12. Ziehen Sie die Befestigungsschrauben des Sonnendachs auf ein Drehmoment von 5 bis 6 N∙m an.

    Important: Ziehen Sie die Befestigungsschrauben nicht zu fest an, da das Sonnendach Risse bekommen kann.

Montieren des Sonnendachs

Groundsmaster 3200 oder 3300
  1. Entfernen Sie bei abgesenktem Überrollbügel die geräuschdämpfende Blattfeder (Bild 7) von jeder Seite des Überrollbügels.

    Bewahren Sie die Blattfedern und die Schrauben auf, um sie später wieder zu verwenden, wenn das Sonnendach nicht montiert ist.

    g558139
  2. Klappen Sie den Überrollbügel hoch und entfernen Sie die Splinte und die zwei Stifte (Bild 8).

    g001199
  3. Legen Sie eine Scheibe (13/16" x 1½") auf jede Schraube (¾" x 4"), wie in Bild 9 abgebildet.

    g558140
  4. Setzen Sie die Schrauben und Scheiben in die Löcher ein, aus denen Sie die Stifte entfernt haben (Bild 9).

  5. Legen Sie eine weitere Scheibe auf jede Schraube und befestigen sie mit Muttern (¾"), wie in Bild 9 abgebildet. Ziehen Sie die Muttern auf ein Drehmoment von 323 bis 396 N∙m an.

  6. Setzen Sie eine Schraube (⅜"-16 x 1" oder 1¼") mit einer Klemmmutter (Schrauben und Klemmmuttern nicht im Lieferumfang enthalten) in die Gewindeplatte auf jeder Seite des unteren Teils des Überrollbügels im Scharnierbereich ein (Bild 9). Ziehen Sie die Schraube an, bis sie fest am oberen Überrollbügelrohr anliegt, und ziehen Sie die Klemmmutter fest.

  7. Ziehen Sie die Drehschraube am Überrollschutz (Bild 9) auf ein Anzugsmoment von 91 bis 113 N∙m an, damit der Überrollbügel und das Sonnendach nicht springen.

  8. Befestigen Sie die Befestigungshalterung des Überrollschutzes an der Oberseite des Überrollbügels des Sprühfahrzeugs (Bild 10).

    Note: Stellen Sie sicher, dass der Überrollbügel in der Befestigungshalterung des Überrollschutzes zentriert ist.

    g246185
  9. Befestigen Sie den Rahmen an der Befestigungshalterung des Überrollschutzes (Bild 10).

  10. Befestigen Sie die Befestigungshalterung des Überrollschutzes mit zwei U-Bügeln (4½" x 2¾") und vier Bundmuttern in den in Bild 11 abgebildeten Befestigungslöchern an der Oberseite des Überrollbügels.

  11. Befestigen Sie jede Strebenhalterung lose mit einem U-Bügel (3½" x 2¾") und zwei Bundmuttern in den in Bild 11 abgebildeten Befestigungslöchern an den Streben des Überrollbügels.

    g482769
  12. Befestigen Sie an jeder Seite des Sonnendachrahmens einen Verlängerungslenker mit zwei Schrauben (½" x 2¾"), zwei große Unterlegscheiben und zwei Bundmuttern (½") lose im vierten Loch der Strebenbefestigung, wie in Bild 12 abgebildet.

    g297973
  13. Befestigen Sie auf jeder Seite der Maschine eine Strebenhalterung mit einer Schraube (½" x 2½"), einer Scheibe (½"), drei großen Unterlegscheiben und einer Bundmutter (½") an jeder Strebe, wie in Bild 13 abgebildet.

    g297972
  14. Verschieben Sie die Strebenhalterungen an den vertikalen Überrollbügelstreben nach oben oder unten, bis der Sonnendachrahmen mit dem Boden nivelliert ist. Ziehen Sie dann die Bundmuttern an den U-Bügeln an, um die Befestigungshalterungen an den Streben zu befestigen.

    Note: Stellen Sie mit einer Wasserwaage sicher, dass der Rahmen mit dem Boden nivelliert ist.

  15. Ziehen Sie alle restlichen Bundmuttern wie folgt an:

    • Ziehen Sie die Bundmuttern (⅜") auf ein Drehmoment von 41 bis 55 N∙m an.

    • Ziehen Sie die Bundmuttern (½") auf ein Drehmoment von 113 bis 141 N∙m an.

  16. Positionieren Sie das Sonnendach beim Ausfluchten der Befestigungslöcher am Rahmen wie in Bild 14 abgebildet.

    g245151
  17. Befestigen Sie jede Ecke des Sonnendachs mit einer Bundkopfschraube (5/16" x 1¼"), einer kleinen Scheiben und einer Scheibe lose am Rahmen (Bild 14).

  18. Ziehen Sie die Befestigungsschrauben des Sonnendachs auf ein Drehmoment von 5 bis 6 N∙m an.

    Important: Ziehen Sie die Befestigungsschrauben nicht zu fest an, da das Sonnendach Risse bekommen kann.

Montieren des Sonnendachs

Groundsmaster 3280
  1. Entfernen Sie bei abgesenktem Überrollbügel die geräuschdämpfende Blattfeder (Bild 15) von jeder Seite des Überrollbügels.

    Bewahren Sie die Blattfedern und die Schrauben auf, um sie später wieder zu verwenden, wenn das Sonnendach nicht montiert ist.

    g558139
  2. Klappen Sie den Überrollbügel hoch und entfernen Sie die Splinte und die zwei Stifte (Bild 16).

    g001199
  3. Legen Sie eine Scheibe (13/16" x 1½") auf jede Schraube (¾" x 4"), wie in Bild 17 abgebildet.

    g558140
  4. Setzen Sie die Schrauben und Scheiben in die Löcher ein, aus denen Sie die Stifte entfernt haben (Bild 17).

  5. Legen Sie eine weitere Scheibe auf jede Schraube und befestigen sie mit Muttern (¾"), wie in Bild 17 abgebildet. Ziehen Sie die Muttern auf ein Drehmoment von 323 bis 396 N∙m an.

  6. Setzen Sie eine Schraube (⅜"-16 x 1" oder 1¼") mit einer Klemmmutter (Schrauben und Klemmmuttern nicht im Lieferumfang enthalten) in die Gewindeplatte auf jeder Seite des unteren Teils des Überrollbügels im Scharnierbereich ein (Bild 17). Ziehen Sie die Schraube an, bis sie fest am oberen Überrollbügelrohr anliegt, und ziehen Sie die Klemmmutter fest.

  7. Ziehen Sie die Drehschraube am Überrollschutz (Bild 17) auf ein Anzugsmoment von 91 bis 113 N∙m an, damit der Überrollbügel und das Sonnendach nicht springen.

  8. Befestigen Sie die Befestigungshalterung des Überrollschutzes an der Oberseite des Überrollbügels der Zugmaschine (Bild 18).

    Note: Stellen Sie sicher, dass der Überrollbügel in der Befestigungshalterung des Überrollschutzes zentriert ist.

    g246185
  9. Befestigen Sie den Rahmen an der Befestigungshalterung des Überrollschutzes (Bild 18).

  10. Befestigen Sie die Befestigungshalterung des Überrollschutzes mit zwei U-Bügeln (4½" x 2¾") und vier Bundmuttern in den in Bild 18 abgebildeten Befestigungslöchern an der Oberseite des Überrollbügels.

  11. Befestigen Sie jede Strebenhalterung lose mit einem U-Bügel (3½" x 2¾") und zwei Bundmuttern in den in Bild 19 abgebildeten Befestigungslöchern an den Streben des Überrollbügels.

    g482770
  12. Befestigen Sie an jeder Seite des Sonnendachrahmens einen Verlängerungslenker mit zwei Schrauben (½" x 2¾") und zwei Bundmuttern (½") lose im vierten Loch der Strebenbefestigung, wie in Bild 20 abgebildet.

    g267174
  13. Befestigen Sie eine Strebenhalterung mit einer Schraube (½" x 2½"), einer Scheibe (½") und einer Bundmutter (½") an jeder Strebe, wie in Bild 20 abgebildet.

  14. Verschieben Sie die Strebenhalterungen an den vertikalen Überrollbügelstreben nach oben oder unten, bis der Sonnendachrahmen mit dem Boden nivelliert ist. Ziehen Sie dann die Bundmuttern an den U-Bügeln an, um die Befestigungshalterungen an den Streben zu befestigen.

    Note: Stellen Sie mit einer Wasserwaage sicher, dass der Rahmen mit dem Boden nivelliert ist.

  15. Ziehen Sie alle restlichen Bundmuttern wie folgt an:

    • Ziehen Sie die Bundmuttern (⅜") auf ein Drehmoment von 41 bis 55 N∙m an.

    • Ziehen Sie die Bundmuttern (½") auf ein Drehmoment von 113 bis 141 N∙m an.

  16. Positionieren Sie das Sonnendach beim Ausfluchten der Befestigungslöcher am Rahmen wie in Bild 21 abgebildet.

    g245151
  17. Befestigen Sie jede Ecke des Sonnendachs mit einer Bundkopfschraube (5/16" x 1¼"), einer kleinen Scheiben und einer Scheibe lose am Rahmen (Bild 21).

  18. Ziehen Sie die Befestigungsschrauben des Sonnendachs auf ein Drehmoment von 5 bis 6 N∙m an.

    Important: Ziehen Sie die Befestigungsschrauben nicht zu fest an, da das Sonnendach Risse bekommen kann.

Montieren des Sonnendachs

Groundsmaster 360 oder 7200
  1. Entfernen Sie bei abgesenktem Überrollbügel die geräuschdämpfende Blattfeder (Bild 22) von jeder Seite des Überrollbügels.

    Bewahren Sie die Blattfedern und die Schrauben auf, um sie später wieder zu verwenden, wenn das Sonnendach nicht montiert ist.

    g560315
  2. Klappen Sie den Überrollbügel hoch und entfernen Sie die Splinte und die zwei Stifte (Bild 23).

    g187726
  3. Legen Sie eine Scheibe (13/16" x 1½") auf jede Schraube (¾" x 4"), wie in Bild 24 abgebildet.

    g560317
  4. Setzen Sie die Schrauben und Scheiben in die Löcher ein, aus denen Sie die Stifte entfernt haben (Bild 24).

  5. Legen Sie eine weitere Scheibe auf jede Schraube und befestigen sie mit Muttern (¾"), wie in Bild 24 abgebildet. Ziehen Sie die Muttern auf ein Drehmoment von 323 bis 396 N∙m an.

  6. Setzen Sie eine Schraube (⅜"-16 x 1" oder 1¼") mit einer Klemmmutter (Schrauben und Klemmmuttern nicht im Lieferumfang enthalten) in die Gewindeplatte auf jeder Seite des unteren Teils des Überrollbügels im Scharnierbereich ein (Bild 24). Ziehen Sie die Schraube an, bis sie fest am oberen Überrollbügelrohr anliegt, und ziehen Sie die Klemmmutter fest.

  7. Ziehen Sie die Drehschraube am Überrollschutz (Bild 24) auf ein Anzugsmoment von 91 bis 113 N∙m an, damit der Überrollbügel und das Sonnendach nicht springen.

  8. Befestigen Sie die Befestigungshalterung des Überrollschutzes an der Oberseite des Überrollbügels der Zugmaschine (Bild 25).

    Note: Stellen Sie sicher, dass der Überrollbügel in der Befestigungshalterung des Überrollschutzes zentriert ist.

    g246185
  9. Befestigen Sie jede Halterung mit zwei U-Bügeln (4½" x 2¾") und vier Bundmuttern in den in Bild 25 abgebildeten Befestigungslöchern an der Oberseite des Überrollbügels.

  10. Befestigen Sie jede Strebenhalterung lose mit einem U-Bügel (3½" x 2¾") und zwei Bundmuttern in den in Bild 26 abgebildeten Befestigungslöchern an den Streben des Überrollbügels.

    g482771
  11. Befestigen Sie an jeder Seite des Sonnendachrahmens eine Strebe mit einer Schraube (½" x 2¾"), einer Scheibe (½"), und einer Bundmutter (½") lose im sechsten Loch der Strebenbefestigung, wie in Bild 27 abgebildet.

    g267175
  12. Befestigen Sie eine Strebenhalterung mit einer Schraube (½" x 2½"), einer Scheibe (½") und einer Bundmutter (½") an jeder Strebe, wie in Bild 27 abgebildet.

    Note: Die U-Bügel sind nicht symmetrisch montiert.

  13. Verschieben Sie die Strebenhalterungen an den vertikalen Überrollbügelstreben nach oben oder unten, bis der Sonnendachrahmen mit dem Boden nivelliert ist. Stellen Sie mit einer Wasserwaage sicher, dass der Rahmen mit dem Boden nivelliert ist. Ziehen Sie dann die Bundmuttern an den U-Bügeln an, um die Befestigungshalterungen an den Streben zu befestigen.

    Note: Verwenden Sie die vorderen oder hinteren Befestigungslöcher in der Strebenhalterung, wenn weitere Einstellungen erforderlich sind.

  14. Ziehen Sie alle restlichen Bundmuttern wie folgt an:

    • Ziehen Sie die Bundmuttern (⅜") auf ein Drehmoment von 41 bis 55 N∙m an.

    • Ziehen Sie die Bundmuttern (½") auf ein Drehmoment von 113 bis 141 N∙m an.

  15. Positionieren Sie das Sonnendach beim Ausfluchten der Befestigungslöcher am Rahmen wie in Bild 28 abgebildet.

    g245151
  16. Befestigen Sie jede Ecke des Sonnendachs mit einer Bundkopfschraube (5/16" x 1¼"), einer kleinen Scheiben und einer Scheibe lose am Rahmen (Bild 28).

  17. Ziehen Sie die Befestigungsschrauben des Sonnendachs auf ein Drehmoment von 5 bis 6 N∙m an.

    Important: Ziehen Sie die Befestigungsschrauben nicht zu fest an, da das Sonnendach Risse bekommen kann.

Montieren des Sonnendachs

Zugmaschinen des Typs Groundsmaster 3500, 3505, 4000 und 4100 oder Reelmaster 3100, 3555 und 3575
  1. Wenn Sie das Universal-Sonnendach auf einer Zugmaschine des Typs Reelmaster 3100 oder Groundsmaster 3500/3505 installieren, muss das Radballast-Kit installiert sein.

  2. Für Zugmaschinen des Typs Reelmaster 3555 und 3575, springen Sie zu Schritt 12. An allen anderen Modellen klappen Sie den Überrollbügel hoch und entfernen Sie die Splinte und die zwei Stifte (Bild 29).

    g020023
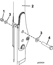
  3. Legen Sie eine Scheibe (13/16" x 1½") auf jede Schraube (¾" x 4"), wie in Bild 30 abgebildet.

    g020024
  4. Setzen Sie die Schrauben und Scheiben in die Löcher ein, aus denen Sie die Stifte entfernt haben (Bild 30).

  5. Legen Sie eine weitere Scheibe auf jede Schraube und befestigen sie mit einer Mutter (¾"), wie in Bild 30 abgebildet. Ziehen Sie die Muttern auf ein Drehmoment von 323 bis 396 N∙m an.

  6. Ziehen Sie die Drehschraube am Überrollschutz (Bild 30) auf ein Drehmoment von 91 bis 113 N∙m an, damit der Überrollbügel und das Sonnendach nicht springen.

  7. Befestigen Sie die Befestigungshalterung des Überrollschutzes an der Oberseite des Überrollbügels der Zugmaschine (Bild 31). Stellen Sie sicher, dass der Überrollbügel in der Befestigungshalterung des Überrollschutzes zentriert ist.

    g246190
  8. Befestigen Sie die Befestigungshalterung des Überrollschutzes mit zwei U-Bügeln (4½" x 2¾") und vier Bundmuttern in den in Bild 31 abgebildeten Befestigungslöchern an der Oberseite des Überrollbügels.

  9. Befestigen Sie jede Strebenhalterung lose mit einem U-Bügel (3⅛" x 5") und zwei Bundmuttern in den in Bild 32 abgebildeten Befestigungslöchern an den Streben des Überrollbügels.

    g482772
  10. Befestigen Sie an jeder Seite des Sonnendachrahmens eine Strebe lose wie folgt an der Strebenhalterung:

    • Modelle 03820, 03821, 30604, 30605, 30608 und 30609: Befestigen Sie eine Strebe an jeder Seite des Sonnendachrahmens mit einer Schraube (½" x 2½"), einer Scheibe (½") und einer Bundmutter (½") lose im hinteren Loch der Strebenhalterung, wie in Bild 33 abgebildet.

    • Modelle 30446, 30446N, 30447 und 30447N: Befestigen Sie eine Strebe an jeder Seite des Sonnendachrahmens mit einer Schraube (½" x 2½"), einer Scheibe (½") und einer Bundmutter (½") lose im zweiten Loch der Strebenhalterung, wie in Bild 34 abgebildet.

    g267177
    g267178
  11. Befestigen Sie eine Strebenhalterung mit einer Schraube (½" x 2½"), einer Scheibe (½") und einer Bundmutter (½") an jeder Strebe, wie in Bild 33 abgebildet.

  12. Verschieben Sie die Strebenhalterung an den vertikalen Überrollbügelstreben nach oben oder unten, bis der Sonnendachrahmen mit dem Boden nivelliert ist.

    Note: Stellen Sie mit einer Wasserwaage sicher, dass der Rahmen mit dem Boden nivelliert ist.

  13. Ziehen Sie die Bundmuttern an den U-Bügeln an, um die Befestigungshalterungen an den Streben zu befestigen.

  14. Ziehen Sie alle restlichen Bundmuttern wie folgt an:

    • Ziehen Sie die Bundmuttern (⅜") auf ein Drehmoment von 41 bis 55 N∙m an.

    • Ziehen Sie die Bundmuttern (½") auf ein Drehmoment von 113 bis 141 N∙m an.

  15. Positionieren Sie das Sonnendach beim Ausfluchten der Befestigungslöcher am Rahmen wie in Bild 35 abgebildet.

    g245151
  16. Befestigen Sie jede Ecke des Sonnendachs mit einer Bundkopfschraube (5/16" x 1¼"), einer kleinen Scheiben und einer Scheibe lose am Rahmen (Bild 35).

  17. Ziehen Sie die Befestigungsschrauben des Sonnendachs auf ein Drehmoment von 5 bis 6 N∙m an.

    Important: Ziehen Sie die Befestigungsschrauben nicht zu fest an, da das Sonnendach Risse bekommen kann.

Montieren des Sonnendachs

Groundsmaster 4500 und 4700 oder Reelmaster 6700 und 7000
  1. Klappen Sie den Überrollbügel hoch und entfernen Sie den Splint und den Stift.

    g215450
  2. Legen Sie eine Scheibe (13/16" x 1½") auf jede Schraube (¾" x 4"), wie in Bild 37 abgebildet.

  3. Setzen Sie die Schrauben und Scheiben in die Löcher ein, aus denen Sie die Stifte entfernt haben (Bild 37).

  4. Legen Sie eine weitere Scheibe auf jede Schraube und befestigen sie mit der Mutter (¾"), wie in Bild 37 abgebildet.

  5. Ziehen Sie die Drehschraube am Überrollschutz auf ein Drehmoment von 91 bis 113 N∙m an, damit der Überrollbügel und das Sonnendach nicht springen.

    g215449
  6. Befestigen Sie die Befestigungshalterung des Überrollschutzes an der Oberseite des Überrollbügels der Zugmaschine (Bild 38). Stellen Sie sicher, dass der Überrollbügel in der Befestigungshalterung des Überrollschutzes zentriert ist.

    g246186
  7. Befestigen Sie die Befestigungshalterung des Überrollschutzes mit zwei U-Bügeln (3½" x 5") und vier Bundmuttern in den in Bild 38 abgebildeten Befestigungslöchern an der Oberseite des Überrollbügels.

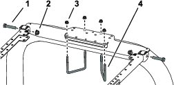
  8. Befestigen Sie jede Strebenhalterung lose mit einem U-Bügel (3½" x 5") und zwei Bundmuttern in den in Bild 39 abgebildeten Befestigungslöchern an den Streben des Überrollbügels.

    g245424
  9. Befestigen Sie an jeder Seite des Sonnendachrahmens einen Verlängerungslenker mit zwei Schrauben (½" x 1½") und zwei Bundmuttern (½") lose in den hinteren und mittleren Löchern der Befestigungshalterung, wie in Bild 40 abgebildet.

  10. Befestigen Sie eine Strebe mit einer Schraube (½" x 2½"), einer Scheibe (½") und einer Bundmutter (½") an der Außenseite jedes Verlängerungslenkers, wie in Bild 40 abgebildet.

    g245195
  11. Befestigen Sie eine Strebenhalterung mit einer Schraube (½" x 2½"), einer Scheibe (½") und einer Bundmutter (½") an jeder Strebe, wie in Bild 40 abgebildet.

  12. Verschieben Sie die Strebenhalterungen an den vertikalen Überrollbügelstreben nach oben oder unten, bis der Sonnendachrahmen mit dem Boden nivelliert ist.

    Note: Stellen Sie mit einer Wasserwaage sicher, dass der Rahmen mit dem Boden nivelliert ist.

  13. Ziehen Sie die Bundmuttern an den U-Bügeln an, um die Befestigungshalterungen an den Streben zu befestigen.

  14. Ziehen Sie alle restlichen Bundmuttern wie folgt an:

    • Ziehen Sie die Bundmuttern (⅜") auf ein Drehmoment von 41 bis 55 N∙m an.

    • Ziehen Sie die Bundmuttern (½") auf ein Drehmoment von 113 bis 141 N∙m an.

  15. Positionieren Sie das Sonnendach beim Ausfluchten der Befestigungslöcher am Rahmen wie in Bild 41 abgebildet.

    g245151
  16. Befestigen Sie jede Ecke des Sonnendachs mit einer Bundkopfschraube (5/16" x 1¼"), einer kleinen Scheiben und einer Scheibe lose am Rahmen (Bild 41).

  17. Ziehen Sie die Befestigungsschrauben des Sonnendachs auf ein Drehmoment von 5 bis 6 N∙m an.

    Important: Ziehen Sie die Befestigungsschrauben nicht zu fest an, da das Sonnendach Risse bekommen kann.

Montieren des Sonnendachs

Reelmaster 5010 oder Groundsmaster 4300
  1. Befestigen Sie die Befestigungshalterungen des Überrollschutzes an der Oberseite des Überrollbügels der Zugmaschine (Bild 42). Stellen Sie sicher, dass der Überrollbügel in der Befestigungshalterung des Überrollschutzes zentriert ist.

    g246190
  2. Befestigen Sie die Befestigungshalterung des Überrollschutzes mit zwei U-Bügeln (4½" x 2¾") und vier Bundmuttern in den in Bild 42 abgebildeten Befestigungslöchern an der Oberseite des Überrollbügels.

  3. Befestigen Sie jede Strebenhalterung lose mit einem U-Bügel (3⅛" x 5") und zwei Bundmuttern in den in Bild 43 abgebildeten Befestigungslöchern an den Streben des Überrollbügels.

    g482773
  4. Befestigen Sie an jeder Seite des Sonnendachrahmens eine Strebe mit einer Schraube (½" x 2¾"), zwei Scheiben (½"), und einer Bundmutter (½") lose im hinteren Loch der Strebenbefestigung, wie in Bild 44 abgebildet.

    g267177
  5. Befestigen Sie eine Strebenhalterung mit einer Schraube (½" x 2½"), zwei Scheiben (½") und einer Bundmutter (½") an jeder Strebe, wie in Bild 44 abgebildet.

  6. Verschieben Sie die Strebenhalterungen an den vertikalen Überrollbügelstreben nach oben oder unten, bis der Sonnendachrahmen mit dem Boden nivelliert ist.

    Note: Stellen Sie mit einer Wasserwaage sicher, dass der Rahmen mit dem Boden nivelliert ist.

  7. Ziehen Sie die Bundmuttern an den U-Bügeln an, um die Befestigungshalterungen an den Streben zu befestigen.

  8. Ziehen Sie alle restlichen Bundmuttern wie folgt an:

    • Ziehen Sie die Bundmuttern (⅜") auf ein Drehmoment von 41 bis 55 N∙m an.

    • Ziehen Sie die Bundmuttern (½") auf ein Drehmoment von 113 bis 141 N∙m an.

  9. Positionieren Sie das Sonnendach beim Ausfluchten der Befestigungslöcher am Rahmen wie in Bild 45 abgebildet.

    g245151
  10. Befestigen Sie jede Ecke des Sonnendachs mit einer Bundkopfschraube (5/16" x 1¼"), einer kleinen Scheiben und einer Scheibe lose am Rahmen (Bild 45).

  11. Ziehen Sie die Befestigungsschrauben des Sonnendachs auf ein Drehmoment von 5 bis 6 N∙m an.

    Important: Ziehen Sie die Befestigungsschrauben nicht zu fest an, da das Sonnendach Risse bekommen kann.

Montieren des Sonnendachs

Multi Pro 1750
  1. Befestigen Sie die Befestigungshalterung des Überrollschutzes an der Oberseite des Überrollbügels des Sprühfahrzeugs (Bild 46).

    Note: Stellen Sie sicher, dass der Überrollbügel in der Befestigungshalterung des Überrollschutzes zentriert ist.

    g246185
  2. Befestigen Sie den Rahmen an der Befestigungshalterung des Überrollschutzes (Bild 46).

  3. Befestigen Sie die Befestigungshalterung des Überrollschutzes mit zwei U-Bügeln (4½" x 2¾") und vier Bundmuttern in den in Bild 46 abgebildeten Befestigungslöchern an der Oberseite des Überrollbügels.

  4. Befestigen Sie jede Strebenhalterung lose mit einem U-Bügel (3½" x 2¾") und zwei Bundmuttern in den in Bild 47 abgebildeten Befestigungslöchern an den Streben des Überrollbügels.

    g482774
  5. Befestigen Sie an jeder Seite des Sonnendachrahmens einen Verlängerungslenker mit zwei Schrauben (½" x 2¾") und zwei Bundmuttern (½") lose im vierten Loch der Strebenbefestigung, wie in Bild 48 abgebildet.

    g267174
  6. Befestigen Sie eine Strebenhalterung mit einer Schraube (½" x 2½"), einer Scheibe (½") und einer Bundmutter (½") an jeder Strebe, wie in Bild 48 abgebildet.

  7. Verschieben Sie die Strebenhalterungen an den vertikalen Überrollbügelstreben nach oben oder unten, bis der Sonnendachrahmen mit dem Boden nivelliert ist. Ziehen Sie dann die Bundmuttern an den U-Bügeln an, um die Befestigungshalterungen an den Streben zu befestigen.

    Note: Stellen Sie mit einer Wasserwaage sicher, dass der Rahmen mit dem Boden nivelliert ist.

  8. Ziehen Sie alle restlichen Bundmuttern wie folgt an:

    • Ziehen Sie die Bundmuttern (⅜") auf ein Drehmoment von 41 bis 55 N∙m an.

    • Ziehen Sie die Bundmuttern (½") auf ein Drehmoment von 113 bis 141 N∙m an.

  9. Positionieren Sie das Sonnendach beim Ausfluchten der Befestigungslöcher am Rahmen wie in Bild 49 abgebildet.

    g245151
  10. Befestigen Sie jede Ecke des Sonnendachs mit einer Bundkopfschraube (5/16" x 1¼"), einer kleinen Scheiben und einer Scheibe lose am Rahmen (Bild 49).

  11. Ziehen Sie die Befestigungsschrauben des Sonnendachs auf ein Drehmoment von 5 bis 6 N∙m an.

    Important: Ziehen Sie die Befestigungsschrauben nicht zu fest an, da das Sonnendach Risse bekommen kann.

Betrieb

Transportieren der Maschine

Vergurten Sie das Sonnendach beim Transportieren der Maschine in den zwei Löchern vorne am Sonnendachrahmen (unter dem Sonnendach) an einer sicheren Stelle an der Maschine, damit es nicht vom Wind angehoben wird (Bild 50).

g018101

Wartung

Prüfen und Anziehen der Befestigungen

Prüfen Sie die Befestigungen nach acht Betriebsstunden und ziehen sie an. Prüfen Sie die Befestigungen in regelmäßigen Abständen und ziehen sie an.

Reinigen des Sonnendachs

Reinigen Sie es mit bloßen Händen, einem weichen Tuch oder Schwamm und verwenden Sie eine milde Seifenlauge, um festgetrockneten Schmutz oder andere Rückstände zu entfernen oder zu lösen.

Note: Verwenden Sie keine Reinigungsmittel oder Tücher, die die Oberfläche des Sonnendachs verkratzen und beschädigen können. Testen Sie das Reinigungsmittel oder Tuch an einer unauffälligen Stelle.