Данное изделие отвечает требованиям всех соответствующих европейских директив. Дополнительные сведения см. в «Декларации о соответствии компонентов (DOI)» в конце данной публикации.

Important: Если вы установите универсальный солнцезащитный навес на тяговый блок Reelmaster 3100 или тяговый блок Groundsmaster 3500/3505, установите комплект колесного груза. Свяжитесь с официальным дистрибьютором компании Toro для получения надлежащего комплекта колесного груза.

Техника безопасности

Общие сведения

Подготовка к эксплуатации

  1. Прежде чем устанавливать солнцезащитный навес, прочтите и изучите инструкции по монтажу.

  2. Все щитки, защитные устройства и таблички должны находиться на своих местах. Перед эксплуатацией машины отремонтируйте или замените щитки, защитные устройства или таблички, имеющие дефекты или повреждения, а также таблички с нечитаемыми надписями.

  3. Запрещается производить сварку, резку, сверление, изменение или удаление защитной дуги каким-либо способом.

  4. Затяните все ослабленные гайки, болты и винты, чтобы обеспечить безопасное рабочее состояние машины.

Во время работы

  1. Соблюдайте предельную осторожность при работе рядом с заборами, канавами или на склонах холмов.

  2. Тщательно проверяйте верхний габарит перед проездом под нависающими объектами (например, ветками деревьев, дверными проемами, электрическими проводами), чтобы не задеть их.

  3. Привязывайте раму солнцезащитного навеса при транспортировке машины.

  4. Во время работы на машине с солнцезащитным навесом используйте средства защиты органов слуха.

Техническое обслуживание и ремонт

  1. Перед обслуживанием или выполнением регулировок опустите навесное орудие, заглушите двигатель, включите стояночный тормоз и извлеките ключ.

  2. Затяните все гайки, болты и винты, чтобы обеспечить безопасное рабочее состояние машины.

  3. При установке солнцезащитного навеса используйте средства защиты органов зрения.

  4. Замените поврежденный солнцезащитный навес. Ремонт или переделка не допускаются.

  5. При установке или техобслуживании солнцезащитного навеса используйте надлежащие опоры, подъемные устройства или домкраты. При отсутствии надежной опоры солнцезащитный навес может сместиться или опрокинуться, что может стать причиной травмы.

  6. Для обеспечения оптимальных рабочих характеристик и безопасности всегда приобретайте только оригинальные запасные части и принадлежности компании Toro. Использование запасных частей и принадлежностей, изготовленных другими производителями, может оказаться опасным. Такое использование может привести к аннулированию гарантии компании Toro.

Наклейки с правилами техники безопасности и инструкциями

Graphic

Предупреждающие наклейки и инструкции по технике безопасности должны быть хорошо видны оператору и установлены во всех местах потенциальной опасности. При отсутствии или повреждении наклейки следует установить новую наклейку.

Наклейки с правилами по технике безопасности или инструкциями прикреплены к солнцезащитному навесу. Если какая-либо из наклеек повреждена или ее надпись неразборчива, то такая наклейка подлежит замене.

decal98-4387

Монтаж

Подготовка машины

  1. Установите машину на ровной поверхности.

  2. Опустите режущие блоки и включите стояночный тормоз.

  3. Выключите двигатель и извлеките ключ из замка зажигания.

Note: Для монтажа комплекта в разных машинах могут использоваться разные детали.

Определение и установка U-образных болтов

В составе данного комплекта имеется 5 разных U-образных болтов. U-образные болты в списке частей указаны по размерам (расстояние между ножками и длина) Для определения размеров U-образных болтов см. рис. Рисунок 1.

g246183

При установке U-образных болтов на монтажный кронштейн ROPS выполните следующие действия:

  • Используйте только ручной инструмент, чтобы затянуть гайки для закрепления U-образных болтов на монтажном кронштейне.

  • Чтобы обеспечить равномерное распределение, затягивайте гайки поочередно, как показано на Рисунок 2.

g482777

Установка солнцезащитного навеса

Машина Groundsmaster 5900

Детали, требуемые для этой процедуры:

Болт (¾ x 4 дюйма)2
Гайка (¾ дюйма)2
Шайба (13/16 x 1½ дюйма)4
Рама в сборе 1
Монтажный кронштейн ROPS1
Подпорка2
Кронштейн подпорки2
Удлинительное звено2
Болт (½ x 1½ дюйма)4
Болт (½ x 2½ дюйма) 4
Болт (½ x 2¾ дюйма)4
Большая шайба10
Фланцевая гайка (½ дюйма)10
U-образный болт (4½ x 2¾ дюймов) 2
U-образный болт (3⅛ x 4 дюймов)2
U-образный болт (3½ x 5 дюймов)4
U-образный болт (3½ x 2¾ дюймов)2
U-образный болт (4½ x 4 дюйма)2
Фланцевая гайка (⅜ дюйма)8
Солнцезащитный навес 1
Болт с фланцевой головкой (5/16 x 1¼ дюйма)4
Малая шайба4
Уплотнительная втулка4
Гайка с зажимом4
  1. Установите монтажный кронштейн ROPS на верхнюю часть защитной дуги тягового блока (Рисунок 3).

    Note: Убедитесь в том, что защитная дуга находится в центральном положении в монтажном кронштейне.

    g246182
  2. Установите раму в сборе на монтажный кронштейн ROPS (Рисунок 3)

  3. Используя монтажные отверстия, показанные на Рисунок 3, прикрепите каждый монтажный кронштейн ROPS к верхней части защитной дуги с помощью 2 U-образных болтов (4½ x 4 дюйма) и 4 фланцевых гаек.

  4. Используя монтажные отверстия, показанные на рис. Рисунок 4, прикрепите, не затягивая, все кронштейны подпорок к стойкам защитной дуги с помощью U-образного болта (3⅛ x 4 дюймов) и 2 фланцевых гаек.

    g482768
  5. С каждой стороны рамы солнцезащитного навеса прикрепите, не затягивая, подпорку ко второму отверстию кронштейна подпорки с помощью болта (½ x 2¾ дюйма), шайбы (½ дюйма) и фланцевой гайки (½ дюйма), как показано на рис. Рисунок 5.

    g267172
  6. Прикрепите, не затягивая, кронштейн подпорки к каждой подпорке с помощью болта (½ x 2½ дюйма), шайбы (½ дюйма) и фланцевой гайки (½ дюйма), как показано на Рисунок 5.

  7. Переместите кронштейны подпорки вверх или вниз по вертикальным стойкам защитной дуги так, чтобы рама солнцезащитного навеса была расположена горизонтально над полом.

    Note: С помощью уровня убедитесь, что рама установлена параллельно земле.

    Note: Используйте передние или задние монтажные отверстия в кронштейне подпорки, если потребуется дополнительная возможность регулирования.

  8. Затяните фланцевые гайки U-образных болтов, которые крепят монтажные кронштейны к стойкам.

  9. Затяните остальные фланцевые гайки следующим образом:

    • Затяните фланцевые гайки (⅜ дюйма) с моментом от 41 до 55 Н∙м.

    • Затяните фланцевые гайки (½ дюйма) с моментом от 113 до 141 Н∙м.

  10. Выравнивая монтажные отверстия, расположите солнцезащитный навес на раме, как показано на Рисунок 6.

    g245151
  11. Установите каждый угол солнцезащитного навеса на раму с помощью болта с фланцевой головкой (5/16 x 1¼ дюйма), малой шайбы и уплотнительной втулки, не затягивая их (Рисунок 6).

  12. Затяните монтажные болты солнцезащитного навеса с моментом 5–6 Н∙м.

    Important: Чтобы избежать образования трещин в солнцезащитном навесе, не перетягивайте монтажные болты.

Установка солнцезащитного навеса

Машина Groundsmaster 3200 или 3300
  1. Передвинув защитную дугу в нижнее положение, снимите пластинчатую пружину фиксации (Рисунок 7) с каждой стороны защитной дуги.

    Сохраняйте пластинчатые пружины и болты для использования, когда навес не установлен.

    g558139
  2. Установите защитную дугу в поднятое положение, а затем удалите игольчатые шплинты и два штифта (Рисунок 8).

    g001199
  3. Установите шайбу (13/16 x 1½ дюйма) на каждый болт (¾ x 4 дюйма), как показано на Рисунок 9.

    g558140
  4. В отверстия, из которых были извлечены штифты, установите болты с шайбами (Рисунок 9).

  5. Установите еще по одной шайбе на каждый болт и закрепите с помощью гаек (¾ дюйма), как показано на Рисунок 9. Затяните гайки с моментом от 323 до 396 Н∙м.

  6. Установите болт (3/8- 16 x 1 дюйм или 1 - 1/4 дюйма) с зажимной гайкой (болты и зажимные гайки в комплект не входят) в пластину с резьбой на каждой стороне нижней части защитной дуги в области петель (Рисунок 9). Затяните болт до упора в верхнюю трубку защитной дуги и затяните зажимную гайку.

  7. Затяните шарнирный болт конструкции ROPS (Рисунок 9) с моментом 91 – 113 Н∙м, чтобы предотвратить любые вибрации защитной дуги и солнцезащитного навеса.

  8. Установите монтажный кронштейн ROPS на верхнюю часть защитной дуги опрыскивателя травяного покрова (Рисунок 10).

    Note: Убедитесь в том, что защитная дуга находится в центральном положении в монтажных кронштейнах ROPS.

    g246185
  9. Установите раму в сборе на монтажный кронштейн ROPS (Рисунок 10)

  10. Используя монтажные отверстия, показанные на Рисунок 11, прикрепите каждый монтажный кронштейн ROPS к верхней части защитной дуги с помощью 2 U-образных болтов (4½ x 2¾ дюйма) и 4 фланцевых гаек.

  11. Используя монтажные отверстия, показанные на Рисунок 11, прикрепите, не затягивая, каждый кронштейн подпорки к стойкам защитной дуги с помощью U-образного болта (3½ x 2¾ дюйма) и 2 фланцевых гаек.

    g482769
  12. С каждой стороны рамы солнцезащитного навеса прикрепите, не затягивая, удлинительное звено к четвертому отверстию крепления подпорки с помощью 2 болтов (½ x 2¾ дюйма), 2 больших шайб и 2 фланцевых гаек (½ дюйма), как показано на Рисунок 12.

    g297973
  13. С каждой стороны машины прикрепите, не затягивая, кронштейн подпорки к каждой подпорке с помощью болта (½ x 2¾ дюйма), 3 больших шайб и фланцевой гайки (½ дюйма), как показано на Рисунок 13

    g297972
  14. Переместите кронштейны подпорки вверх или вниз по вертикальным стойкам защитной дуги так, чтобы рама солнцезащитного навеса была расположена горизонтально над землей, затем затяните фланцевые гайки U-образных болтов для крепления монтажных кронштейнов к стойкам.

    Note: С помощью уровня убедитесь, что рама установлена параллельно земле.

  15. Затяните остальные фланцевые гайки следующим образом:

    • Затяните фланцевые гайки (⅜ дюйма) с моментом от 41 до 55 Н∙м.

    • Затяните фланцевые гайки (½ дюйма) с моментом от 113 до 141 Н∙м.

  16. Выравнивая монтажные отверстия, расположите солнцезащитный навес на раме, как показано на Рисунок 14.

    g245151
  17. Установите каждый угол солнцезащитного навеса на раму с помощью болта с фланцевой головкой (5/16 x 1¼ дюйма), малой шайбы и уплотнительной втулки, не затягивая их (Рисунок 14).

  18. Затяните монтажные болты солнцезащитного навеса с моментом 5–6 Н∙м.

    Important: Чтобы избежать образования трещин в солнцезащитном навесе, не перетягивайте монтажные болты.

Установка солнцезащитного навеса

Машина Groundsmaster 3280
  1. Передвинув защитную дугу в нижнее положение, снимите пластинчатую пружину фиксации (Рисунок 15) с каждой стороны защитной дуги.

    Сохраняйте пластинчатые пружины и болты для использования, когда навес не установлен.

    g558139
  2. Установите защитную дугу в поднятое положение, а затем удалите игольчатые шплинты и два штифта (Рисунок 16).

    g001199
  3. Установите шайбу (13/16 x 1½ дюйма) на каждый болт (¾ x 4 дюйма), как показано на Рисунок 17.

    g558140
  4. В отверстия, из которых были извлечены штифты, установите болты с шайбами (Рисунок 17).

  5. Установите еще по одной шайбе на каждый болт и закрепите с помощью гаек (¾ дюйма), как показано на Рисунок 17. Затяните гайки с моментом от 323 до 396 Н∙м.

  6. Установите болт (3/8- 16 x 1 дюйм или 1 - 1/4 дюйма) с зажимной гайкой (болты и зажимные гайки в комплект не входят) в пластину с резьбой на каждой стороне нижней части защитной дуги в области петель (Рисунок 17). Затяните болт до упора в верхнюю трубку защитной дуги и затяните зажимную гайку.

  7. Затяните шарнирный болт конструкции ROPS (Рисунок 17) с моментом 91 – 113 Н∙м, чтобы предотвратить любые вибрации защитной дуги и солнцезащитного навеса.

  8. Установите монтажный кронштейн ROPS на верхнюю часть защитной дуги тягового блока (Рисунок 18).

    Note: Убедитесь в том, что защитная дуга находится в центральном положении в монтажных кронштейнах ROPS.

    g246185
  9. Установите раму в сборе на монтажный кронштейн ROPS (Рисунок 18)

  10. Используя монтажные отверстия, показанные на Рисунок 18, прикрепите каждый монтажный кронштейн ROPS к верхней части защитной дуги с помощью 2 U-образных болтов (4½ x 2¾ дюйма) и 4 фланцевых гаек.

  11. Используя монтажные отверстия, показанные на Рисунок 19, прикрепите, не затягивая, каждый кронштейн подпорки к стойкам защитной дуги с помощью U-образного болта (3½ x 2¾ дюйма) и 2 фланцевых гаек.

    g482770
  12. С каждой стороны рамы солнцезащитного навеса прикрепите, не затягивая, удлинительное звено к четвертому отверстию кронштейна подпорки с помощью 2 болтов (½ x 2¾ дюйма) и 2 фланцевых гаек (½ дюйма), как показано на рис. Рисунок 20.

    g267174
  13. Прикрепите, не затягивая, кронштейн подпорки к каждой подпорке с помощью болта (½ x 2½ дюйма), шайбы (½ дюйма) и фланцевой гайки (½ дюйма), как показано на Рисунок 20.

  14. Переместите кронштейны подпорки вверх или вниз по вертикальным стойкам защитной дуги так, чтобы рама солнцезащитного навеса была расположена горизонтально над землей, затем затяните фланцевые гайки U-образных болтов для крепления монтажных кронштейнов к стойкам.

    Note: С помощью уровня убедитесь, что рама установлена параллельно земле.

  15. Затяните остальные фланцевые гайки следующим образом:

    • Затяните фланцевые гайки (⅜ дюйма) с моментом от 41 до 55 Н∙м.

    • Затяните фланцевые гайки (½ дюйма) с моментом от 113 до 141 Н∙м.

  16. Выравнивая монтажные отверстия, расположите солнцезащитный навес на раме, как показано на Рисунок 21.

    g245151
  17. Установите каждый угол солнцезащитного навеса на раму с помощью болта с фланцевой головкой (5/16 x 1¼ дюйма), малой шайбы и уплотнительной втулки, не затягивая их (Рисунок 21).

  18. Затяните монтажные болты солнцезащитного навеса с моментом 5–6 Н∙м.

    Important: Чтобы избежать образования трещин в солнцезащитном навесе, не перетягивайте монтажные болты.

Установка солнцезащитного навеса

Машины Groundsmaster 360 или 7200
  1. Передвинув защитную дугу в нижнее положение, снимите пластинчатую пружину фиксации (Рисунок 22) с каждой стороны защитной дуги.

    Сохраняйте пластинчатые пружины и болты для использования, когда навес не установлен.

    g560315
  2. Установите защитную дугу в поднятое положение, а затем снимите игольчатые шплинты и извлеките два штифта (Рисунок 23).

    g187726
  3. Установите шайбу (13/16 x 1½ дюйма) на каждый болт (¾ x 4 дюйма), как показано на Рисунок 24.

    g560317
  4. В отверстия, из которых были извлечены штифты, установите болты с шайбами (Рисунок 24).

  5. Установите еще по одной шайбе на каждый болт и закрепите с помощью гаек (¾ дюйма), как показано на Рисунок 24. Затяните гайки с моментом от 323 до 396 Н∙м.

  6. Установите болт (3/8- 16 x 1 дюйм или 1 - 1/4 дюйма) с зажимной гайкой (болты и зажимные гайки в комплект не входят) в пластину с резьбой на каждой стороне нижней части защитной дуги в области петель (Рисунок 24). Затяните болт до упора в верхнюю трубку защитной дуги и затяните зажимную гайку.

  7. Затяните шарнирный болт конструкции ROPS (Рисунок 24) с моментом 91 – 113 Н∙м, чтобы предотвратить любые вибрации защитной дуги и солнцезащитного навеса.

  8. Установите монтажный кронштейн ROPS на верхнюю часть защитной дуги тягового блока (Рисунок 25).

    Note: Убедитесь в том, что защитная дуга находится в центральном положении в монтажных кронштейнах ROPS.

    g246185
  9. Используя монтажные отверстия, показанные на Рисунок 25, прикрепите монтажный кронштейн к верхней части защитной дуги с помощью 2 U-образных болтов (4½ x 2¾ дюйма) и 4 фланцевых гаек.

  10. Используя монтажные отверстия, показанные на Рисунок 26, прикрепите, не затягивая, каждый кронштейн подпорки к стойкам защитной дуги с помощью U-образного болта (3½ x 2¾ дюйма) и 2 фланцевых гаек.

    g482771
  11. С каждой стороны рамы солнцезащитного навеса прикрепите, не затягивая, подпорку к шестому отверстию монтажного кронштейна с помощью болта (½ x 2¾ дюйма), шайбы (½ дюйма) и фланцевой гайки (½ дюйма), как показано на рис. Рисунок 27.

    g267175
  12. Прикрепите, не затягивая, кронштейн подпорки к каждой подпорке с помощью болта (½ x 2½ дюйма), шайбы (½ дюйма) и фланцевой гайки (½ дюйма), как показано на Рисунок 27.

    Note: U-образные болты не устанавливаются симметрично.

  13. Переместите кронштейны подпорки вверх или вниз по вертикальным стойкам защитной дуги так, чтобы рама солнцезащитного навеса была расположена горизонтально над полом. С помощью уровня убедитесь, что рама установлена параллельно земле. Затем затяните фланцевые гайки U-образных болтов, которые крепят кронштейны подпорок к стойкам.

    Note: Если потребуется дополнительная возможность регулировки, используйте передние или задние монтажные отверстия в кронштейне подпорки.

  14. Затяните остальные фланцевые гайки следующим образом:

    • Затяните фланцевые гайки (⅜ дюйма) с моментом от 41 до 55 Н∙м.

    • Затяните фланцевые гайки (½ дюйма) с моментом от 113 до 141 Н∙м.

  15. Выравнивая монтажные отверстия, расположите солнцезащитный навес на раме, как показано на Рисунок 28.

    g245151
  16. Установите каждый угол солнцезащитного навеса на раму с помощью болта с фланцевой головкой (5/16 x 1¼ дюйма), малых шайб и уплотнительной резиновой втулки, не затягивая их (Рисунок 28).

  17. Затяните монтажные болты солнцезащитного навеса с моментом 5–6 Н∙м.

    Important: Чтобы избежать образования трещин в солнцезащитном навесе, не перетягивайте монтажные болты.

Установка солнцезащитного навеса

Машины Groundsmaster 3500, 3505, 4000 и 4100 или машины Reelmaster 3100, 3555 и 3575
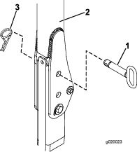
  1. Если вы установите универсальный солнцезащитный навес на тяговый блок Reelmaster 3100 или Groundsmaster 3500/3505, установите комплект колесного груза.

  2. Для тяговых блоков Reelmaster 3555 и 3575: перейдите к пункту 12. На всех остальных моделях установите защитную дугу в поднятое положение, удалите игольчатые шплинты и два штифта (Рисунок 29).

    g020023
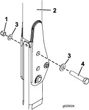
  3. Установите шайбу (13/16 x 1½ дюйма) на каждый болт (¾ x 4 дюйма), как показано на Рисунок 30.

    g020024
  4. В отверстия, из которых были извлечены штифты, установите болты с шайбами (Рисунок 30).

  5. Установите еще по одной шайбе на каждый болт и закрепите с помощью гаек (¾ дюйма), как показано на Рисунок 30. Затяните гайки с моментом от 323 до 396 Н∙м.

  6. Затяните болт оси поворота конструкции ROPS (Рисунок 30) с моментом 91 – 113 Н∙м, чтобы предотвратить любые вибрации защитной дуги и солнцезащитного навеса.

  7. Установите монтажный кронштейн ROPS на верхнюю часть защитной дуги тягового блока (Рисунок 31). Убедитесь в том, что защитная дуга находится в центральном положении в монтажных кронштейнах ROPS.

    g246190
  8. Используя монтажные отверстия, показанные на Рисунок 31, прикрепите каждый монтажный кронштейн ROPS к верхней части защитной дуги с помощью 2 U-образных болтов (4½ x 2¾ дюйма) и 4 фланцевых гаек.

  9. Используя монтажные отверстия, показанные на Рисунок 32, прикрепите, не затягивая, все кронштейны подпорок к стойкам защитной дуги с помощью U-образного болта (3⅛ x 5 дюймов) и 2 фланцевых гаек.

    g482772
  10. С каждой стороны рамы солнцезащитного навеса прикрепите, не затягивая, подпорку к кронштейну подпорки следующим образом:

    • На моделях 03820, 03821, 30604, 30605, 30608 и 30609 с каждой стороны рамы солнцезащитного навеса прикрепите, не затягивая, подпорку к заднему отверстию кронштейна подпорки с помощью болта (½ x 2½ дюйма), шайбы (½ дюйма) и фланцевой гайки (½ дюйма), как показано на Рисунок 33.

    • На моделях 30446, 30446N, 30447 и 30447N с каждой стороны рамы солнцезащитного навеса прикрепите, не затягивая, подпорку ко второму отверстию кронштейна подпорки с помощью болта (½ x 2½ дюйма), шайбы (½ дюйма) и фланцевой гайки (½ дюйма), как показано на Рисунок 34.

    g267177
    g267178
  11. Прикрепите, не затягивая, кронштейн подпорки к каждой подпорке с помощью болта (½ x 2½ дюйма), шайбы (½ дюйма) и фланцевой гайки (½ дюйма), как показано на Рисунок 33.

  12. Переместите кронштейн подпорки вверх или вниз по вертикальным стойкам защитной дуги так, чтобы рама солнцезащитного навеса была расположена горизонтально над полом.

    Note: С помощью уровня убедитесь, что рама установлена параллельно земле.

  13. Затяните фланцевые гайки U-образных болтов, которые крепят монтажные кронштейны к стойкам.

  14. Затяните остальные фланцевые гайки следующим образом:

    • Затяните фланцевые гайки (⅜ дюйма) с моментом от 41 до 55 Н∙м.

    • Затяните фланцевые гайки (½ дюйма) с моментом от 113 до 141 Н∙м.

  15. Выравнивая монтажные отверстия, расположите солнцезащитный навес на раме, как показано на Рисунок 35.

    g245151
  16. Установите каждый угол солнцезащитного навеса на раму с помощью болта с фланцевой головкой (5/16 x 1¼ дюйма), малой шайбы и уплотнительной втулки, не затягивая их (Рисунок 35).

  17. Затяните монтажные болты солнцезащитного навеса с моментом 5–6 Н∙м.

    Important: Чтобы избежать образования трещин в солнцезащитном навесе, не перетягивайте монтажные болты.

Установка солнцезащитного навеса

Машины Groundsmaster 4500 и 4700 или машины Reelmaster 6700 и 7000
  1. Установив защитную дугу в поднятое положение, снимите шплинт и штифт..

    g215450
  2. Установите шайбу (13/16 x 1½ дюйма) на каждый болт (¾ x 4 дюйма), как показано на Рисунок 37.

  3. В отверстия, из которых были извлечены штифты, установите болты с шайбами (Рисунок 37).

  4. Установите еще по одной шайбе на каждый болт и закрепите с помощью гаек (¾ дюйма), как показано на Рисунок 37.

  5. Затяните болт оси поворота конструкции ROPS с моментом 91 – 113 Н∙м, чтобы предотвратить любые вибрации защитной дуги и солнцезащитного навеса.

    g215449
  6. Установите монтажный кронштейн ROPS на верхнюю часть защитной дуги тягового блока (Рисунок 38). Убедитесь в том, что защитная дуга находится в центральном положении монтажного кронштейна ROPS.

    g246186
  7. Используя монтажные отверстия, показанные на Рисунок 38, прикрепите каждый монтажный кронштейн ROPS к верхней части защитной дуги с помощью 2 U-образных болтов (3½ x 5 дюйма) и 4 фланцевых гаек.

  8. Используя монтажные отверстия, показанные на Рисунок 39, прикрепите, не затягивая, все кронштейны подпорок к стойкам защитной дуги с помощью U-образного болта (3½ x 5 дюймов) и 2 фланцевых гаек.

    g245424
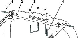
  9. С каждой стороны рамы солнцезащитного навеса прикрепите, не затягивая, удлинительное звено к заднему и центральному отверстиям монтажного кронштейна с помощью 2 болтов (½ x 1½ дюйма) и 2 фланцевых гаек (½ дюйма), как показано на рис. Рисунок 40.

  10. Прикрепите подпорку снаружи каждого удлинительного звена с помощью болта (½ x 2½ дюйма), шайбы (½ дюйма) и фланцевой гайки (½ дюйма), как показано на рис. Рисунок 40.

    g245195
  11. Прикрепите, не затягивая, кронштейн подпорки к каждой подпорке с помощью болта (½ x 2½ дюйма), шайбы (½ дюйма) и фланцевой гайки (½ дюйма), как показано на Рисунок 40.

  12. Переместите кронштейны подпорки вверх или вниз по вертикальным стойкам защитной дуги так, чтобы рама солнцезащитного навеса была расположена горизонтально над полом.

    Note: С помощью уровня убедитесь, что рама установлена параллельно земле.

  13. Затяните фланцевые гайки U-образных болтов, которые крепят монтажные кронштейны к стойкам.

  14. Затяните остальные фланцевые гайки следующим образом:

    • Затяните фланцевые гайки (⅜ дюйма) с моментом от 41 до 55 Н∙м.

    • Затяните фланцевые гайки (½ дюйма) с моментом от 113 до 141 Н∙м.

  15. Выравнивая монтажные отверстия, расположите солнцезащитный навес на раме, как показано на Рисунок 41.

    g245151
  16. Установите каждый угол солнцезащитного навеса на раму с помощью болта с фланцевой головкой (5/16 x 1¼ дюйма), малой шайбы и уплотнительной втулки, не затягивая их (Рисунок 41).

  17. Затяните монтажные болты солнцезащитного навеса с моментом 5–6 Н∙м.

    Important: Чтобы избежать образования трещин в солнцезащитном навесе, не перетягивайте монтажные болты.

Установка солнцезащитного навеса

Машина Reelmaster 5010 или машина Groundsmaster 4300
  1. Установите монтажные кронштейны ROPS на верхнюю часть защитной дуги тягового блока (Рисунок 42). Убедитесь в том, что защитная дуга находится в центральном положении в монтажных кронштейнах ROPS.

    g246190
  2. Используя монтажные отверстия, показанные на Рисунок 42, прикрепите каждый монтажный кронштейн ROPS к верхней части защитной дуги с помощью 2 U-образных болтов (4½ x 2¾ дюйма) и 4 фланцевых гаек.

  3. Используя монтажные отверстия, показанные на Рисунок 43, прикрепите, не затягивая, все кронштейны подпорок к стойкам защитной дуги с помощью U-образного болта (3⅛ x 5 дюймов) и 2 фланцевых гаек.

    g482773
  4. С каждой стороны рамы солнцезащитного навеса прикрепите, не затягивая, подпорку к заднему отверстию кронштейна подпорки с помощью болта (½ x 2¾ дюйма), 2 шайб (½ дюйма) и фланцевой гайки (½ дюйма), как показано на рис. Рисунок 44.

    g267177
  5. Прикрепите, не затягивая, кронштейн подпорки к каждой подпорке с помощью болта (½ x 2½ дюйма), 2 шайб (½ дюйма) и фланцевой гайки (½ дюйма), как показано на рис. Рисунок 44.

  6. Переместите кронштейны подпорки вверх или вниз по вертикальным стойкам защитной дуги так, чтобы рама солнцезащитного навеса была расположена горизонтально над полом.

    Note: Используйте уровень, чтобы установить раму горизонтально относительно земли.

  7. Затяните фланцевые гайки U-образных болтов, которые крепят монтажные кронштейны к стойкам.

  8. Затяните остальные фланцевые гайки следующим образом:

    • Затяните фланцевые гайки (⅜ дюйма) с моментом от 41 до 55 Н∙м.

    • Затяните фланцевые гайки (½ дюйма) с моментом от 113 до 141 Н∙м.

  9. Выравнивая монтажные отверстия, расположите солнцезащитный навес на раме, как показано на Рисунок 45.

    g245151
  10. Установите каждый угол солнцезащитного навеса на раму с помощью болта с фланцевой головкой (5/16 x 1¼ дюйма), малой шайбы и уплотнительной втулки, не затягивая их (Рисунок 45).

  11. Затяните монтажные болты солнцезащитного навеса с моментом 5–6 Н∙м.

    Important: Чтобы избежать образования трещин в солнцезащитном навесе, не перетягивайте монтажные болты.

Установка солнцезащитного навеса

Машина Multi Pro 1750
  1. Установите монтажный кронштейн ROPS на верхнюю часть защитной дуги опрыскивателя травяного покрова (Рисунок 46).

    Note: Убедитесь в том, что защитная дуга находится в центральном положении в монтажных кронштейнах ROPS.

    g246185
  2. Установите раму в сборе на монтажный кронштейн ROPS (Рисунок 46)

  3. Используя монтажные отверстия, показанные на Рисунок 46, прикрепите каждый монтажный кронштейн ROPS к верхней части защитной дуги с помощью 2 U-образных болтов (4½ x 2¾ дюйма) и 4 фланцевых гаек.

  4. Используя монтажные отверстия, показанные на Рисунок 47, прикрепите, не затягивая, каждый кронштейн подпорки к стойкам защитной дуги с помощью U-образного болта (3½ x 2¾ дюйма) и 2 фланцевых гаек.

    g482774
  5. С каждой стороны рамы солнцезащитного навеса прикрепите, не затягивая, удлинительное звено к четвертому отверстию кронштейна подпорки с помощью 2 болтов (½ x 2¾ дюйма) и 2 фланцевых гаек (½ дюйма), как показано на рис. Рисунок 48.

    g267174
  6. Прикрепите, не затягивая, кронштейн подпорки к каждой подпорке с помощью болта (½ x 2½ дюйма), шайбы (½ дюйма) и фланцевой гайки (½ дюйма), как показано на Рисунок 48.

  7. Переместите кронштейны подпорки вверх или вниз по вертикальным стойкам защитной дуги так, чтобы рама солнцезащитного навеса была расположена горизонтально над землей, затем затяните фланцевые гайки U-образных болтов для крепления монтажных кронштейнов к стойкам.

    Note: С помощью уровня убедитесь, что рама установлена параллельно земле.

  8. Затяните остальные фланцевые гайки следующим образом:

    • Затяните фланцевые гайки (⅜ дюйма) с моментом от 41 до 55 Н∙м.

    • Затяните фланцевые гайки (½ дюйма) с моментом от 113 до 141 Н∙м.

  9. Выравнивая монтажные отверстия, расположите солнцезащитный навес на раме, как показано на Рисунок 49.

    g245151
  10. Установите каждый угол солнцезащитного навеса на раму с помощью болта с фланцевой головкой (5/16 x 1¼ дюйма), малой шайбы и уплотнительной втулки, не затягивая их (Рисунок 49).

  11. Затяните монтажные болты солнцезащитного навеса с моментом 5–6 Н∙м.

    Important: Чтобы избежать образования трещин в солнцезащитном навесе, не перетягивайте монтажные болты.

Эксплуатация

Транспортировка машины

При транспортировке машины привяжите солнцезащитный навес, используя два отверстия в передней части его рамы (под навесом), чтобы надежно прикрепить навес к машине и предотвратить его поднятие под действием ветра (Рисунок 50).

g018101

Техническое обслуживание

Проверка и затяжка крепежных деталей

Проверьте и затяните крепежные детали через 8 часов работы. Периодически проверяйте и затягивайте крепежные детали.

Очистка солнцезащитного навеса

Используя мягкий мыльный раствор или моющее средство, удалите вручную мягкой тканью или губкой прилипшую грязь и другие посторонние частицы.

Note: Использование каких-либо очистителей и салфеток может привести к царапинам и ухудшению внешнего вида поверхности солнцезащитного навеса. Протестируйте результат использования очистителя и салфетки в незаметном месте.