유지보수
기계 부품 점검 및 조이기
8시간 작동 후에 고정 부품을 점검하고 조입니다. 정기적으로 기계 부품을 점검하고 조입니다.
차양 닦기
맨 손, 부드러운 천, 스펀지에 순한 비누 또는 세제를 써서 묻은 흙이나 이물질을 제거합니다.
Note: 어떤 클리너 또는 천을 사용하면 차양 표면이 긁히거나 손상받을 수 있습니다. 눈에 잘 안 띄는 부위에서 세제 또는 천을 시험 사용해 봅니다.
이 제품은 모든 관련 유럽 지침을 준수합니다. 자세한 내용은 이 간행물의 뒷면에 나오는 적합성 선언서(Declaration of Incorporation, DOI)를 참조하십시오.
Important: Reelmaster 3100 트랙션 유닛 또는 Groundsmaster 3500/3505 트랙션 유닛에 범용 차양을 설치할 경우, 휠 웨이트 키트를 설치하십시오. 적합한 휠 웨이트 키트는 공식 Toro 대리점에 문의하십시오.
차양을 설치하기 전에 설치 안내서를 읽고 이해하십시오.
모든 보호대, 안전 장치, 전사지를 제자리에 장착하십시오. 보호대, 안전 장치 또는 전사지가 불량이거나 손상되었거나 읽기 어려울 경우에는 기계 작동 전에 수리하거나 교체하십시오.
롤 바를 어떤 식으로든 용접, 절단, 천공, 개조 또는 제거하지 마십시오.
안전하게 장비를 작동할 수 있도록 헐거운 너트, 볼트 및 나사는 모두 조이십시오.
담장, 도랑, 비탈에서 운전할 때에는 매우 주의하십시오.
물체 아래를 지나가기 전에 머리 위 공간(예: 나뭇가지, 문, 전선)을 세심하게 확인하여 닿지 않게 하십시오.
장비를 운반하기 전에는 차양 프레임을 묶어서 고정합니다.
차양이 있는 장비를 작동할 때에는 항상 청력 보호구를 착용하십시오.
정비나 조정을 수행하기 전에 기기를 내리고 엔진을 멈추고 주차 브레이크를 걸고 키를 뽑으십시오.
장비를 안전하게 작동할 수 있도록 모든 너트, 볼트 및 나사가 단단히 조여져 있는지 확인하십시오.
차양 설치 시 보안경을 착용하십시오.
손상된 차양은 교체하십시오. 수리 또는 개조하지 마십시오.
차양 설치 또는 정비 시에는 올바른 지지대, 승강 장치, 잭을 사용하십시오. 차양이 올바르게 지지되지 않으면 움직이거나 떨어져서 부상을 입을 수 있습니다.
최고의 성능과 안전을 위해 순정 Toro 교체용 부품 및 액세서리만 구매하십시오. 다른 제조업체에서 만든 부품이나 액세서리는 절대 사용하지 마십시오. 이러한 사용 때문에 The Toro Company의 보증이 무효가 될 수 있습니다.
![]() |
안전 문구 데칼과 지침은 작업자의 눈에 쉽게 보이며 잠재적인 위험이 있는 모든 부분에 부착되어 있습니다. 손상되거나 유실된 데칼은 교체하십시오. |
안전 지침 전사지는 차양에 붙어 있습니다. 전사지를 읽을 수 없거나 손상이 있으면 새로운 전사지를 부착합니다.

장비를 평지에 주차합니다.
커팅 유닛을 아래로 내리고 주차 브레이크를 거십시오.
엔진을 끄고 키를 뺍니다.
Note: 모든 장비가 동일한 부품을 사용하여 키트를 설치하는 것은 아닙니다.
이 절차를 수행하는 데 필요한 부품:
| 볼트(¾ x 4 인치) | 2 |
| 너트(¾ 인치) | 2 |
| 와셔(13/16 x 1½ 인치) | 4 |
| 프레임 조립 | 1 |
| ROPS 고정 브래킷 | 1 |
| 브레이스 | 2 |
| 브레이스 브래킷 | 2 |
| 확장 링크 | 2 |
| 볼트(½ x 1½ 인치) | 4 |
| 볼트(½ x 2½ 인치) | 4 |
| 볼트(½ x 2¾ 인치) | 4 |
| 대형 와셔 | 10 |
| 플랜지 너트(½ 인치) | 10 |
| U-볼트 (4½ x 2¾ 인치) | 2 |
| U-볼트(3⅛ x 4 인치) | 2 |
| U-볼트(3½ x 5 인치) | 4 |
| U-볼트 (3½ x 2¾ 인치) | 2 |
| U-볼트(4½ x 4 인치) | 2 |
| 플랜지 너트(9.5 mm) | 8 |
| 차양 | 1 |
| 플랜지 헤드 볼트(5/16 x 1¼ 인치) | 4 |
| 소형 와셔 | 4 |
| 그로밋 | 4 |
| 클립 너트 | 4 |
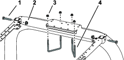
트랙션 유닛 롤바 위에 ROPS 고정 브래킷을 배치합니다(그림 3).
Note: 롤바가 고정 브래킷의 가운데에 놓이는지 확인합니다.

ROPS 고정 브래킷에 프레임 어셈블리를 설치합니다(그림 3).
그림 3에 표시된 장착용 구멍을 통해, 2개의 U-볼트(4½ x 4 인치) 및 4개의 플랜지 너트를 사용하여 롤바의 상단에 ROPS 고정 브래킷을 고정합니다.
그림 4에 표시된 장착용 구멍을 통해, U-볼트(3⅛ x 4 인치) 및 2개의 플랜지 너트를 사용하여 각 브레이스 브래킷을 롤 바 포스트에 헐겁게 고정합니다.

차양 프레임의 양쪽 측면에서 그림 5에 나오는 것처럼 볼트(½ x 2¾ 인치), 와셔(½ 인치) 및 플랜지 너트(½ 인치)를 사용하여 브레이스 브래킷의 두 번째 구멍에 브레이스를 헐겁게 장착합니다.

그림 5에 나오는 것처럼 볼트(½ x 2½ 인치), 와셔(½ 인치) 및 플랜지 너트(½ 인치)를 사용하여 프레임 플레이트를 각 브레이스에 헐겁게 설치합니다.
차양 프레임이 바닥과 수평이 될 때까지 브레이스 브래킷을 수직 롤 바 포스트에서 위 아래로 움직입니다.
Note: 수준기를 이용하여 프레임이 지면과 수평을 이루는지 확인합니다.
Note: 더 조정이 필요하면 브레이스 브래킷의 앞쪽 또는 뒤쪽 장착용 구멍을 사용합니다.
U-볼트 플랜지 너트를 조여서 고정 브래킷을 포스트에 고정합니다.
다음과 같이 나머지 플랜지 너트를 모두 조입니다:
플랜지 너트(⅜ 인치)를 41~55N∙m의 토크로 조입니다.
플랜지 너트(½ 인치)를 113~141N∙m의 토크로 조입니다.
장착용 구멍을 정렬할 때 차양을 그림 6에 표시된 대로 프레임에 위치시킵니다.

플랜지 헤드 볼트(5/16 x 1¼ 인치), 소형 와셔 및 그로밋을 사용하여 차양의 각 코너를 프레임에 헐겁게 장착합니다(그림 6).
차양 고정 볼트를 5~6N∙m의 토크로 조입니다.
Important: 차양이 갈라질 수 있으므로 고정 볼트를 너무 심하게 조이지 않습니다.
롤바를 내림 위치에 둔 상태에서 롤바의 각 측면에 있는 소음 방지 리프 스프링(그림 7)을 제거합니다.
캐노피를 설치하지 않을 때 사용하기 위해 리프 스프링과 볼트를 보관하십시오.

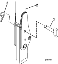
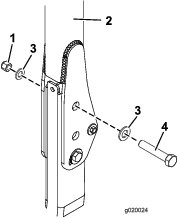
롤 바를 올린 위치에서 헤어핀 코터와 2개 핀을 뺍니다(그림 8).

그림 9에 나오는 것처럼 와셔(13/16 x 1½ 인치)를 각 볼트(¾ x 4 인치)에 끼웁니다.

핀을 제거한 구멍에 볼트와 와셔를 설치합니다(그림 9).
그림 9에 나오는 것처럼 각 볼트에 와셔를 하나 더 설치하고 너트(¾ 인치)로 고정합니다. 너트를 323~396N∙m의 토크로 조입니다.
힌지 부위에서 하강 위치에 있는 롤바의 각 측면의 나사산 플레이트에 잼 너트(볼트와 잼 너트를 공급되지 않음)와 함께 볼트(3/8-16 x 1 인치 또는 1-1/4 인치)를 설치합니다(그림 9). 상단 롤바 튜브에 대해 고정될 때까지 볼트를 조인 다음 잼너트를 조입니다.
롤 바와 차양이 흔들리지 않도록 ROPS 피벗 볼트(그림 9)를 91~113 N∙m의 토크로 조입니다.
잔디 스프레이어 롤바 위에 ROPS 고정 브래킷을 배치합니다(그림 10).
Note: 롤바가 ROPS 고정 브래킷의 가운데에 놓이는지 확인합니다.

ROPS 고정 브래킷에 프레임 어셈블리를 설치합니다(그림 10).
그림 11에 표시된 장착용 구멍을 통해, 2개의 U-볼트(4-1/2 x 2¾ 인치) 및 4개의 플랜지 너트를 사용하여 롤바의 상단에 ROPS 고정 브래킷을 고정합니다.
그림 11에 표시된 장착용 구멍을 통해, U-볼트(3½ x 2¾ 인치) 및 2개의 플랜지 너트를 사용하여 각 브레이스 브래킷을 롤 바 포스트에 헐겁게 고정합니다.

차양 프레임의 양쪽 측면에서 그림 12에 나오는 것처럼 2개의 볼트(½ x 2¾ 인치), 2개의 대형 와셔, 2개의 플랜지 너트(½ 인치)를 사용하여 브레이스 마운트의 네 번째 구멍에 확장 링크를 헐겁게 고정합니다.

그림 13에 나오는 것처럼 장비의 각 측면에서 볼트(½ x 2¾ 인치), 3개의 대형 와셔, 플랜지 너트(½ 인치)를 사용하여 프레임 플레이트를 각 브레이스에 헐겁게 설치합니다.

차양 프레임이 바닥과 수평이 될 때까지 브레이스 브래킷을 수직 롤 바 포스트에서 위 아래로 움직인 다음, U-볼트 플랜지 너트를 조여 고정 브래킷을 포스트에 고정합니다.
Note: 수준기를 이용하여 프레임이 지면과 수평을 이루는지 확인합니다.
다음과 같이 나머지 플랜지 너트를 모두 조입니다:
플랜지 너트(⅜ 인치)를 41~55N∙m의 토크로 조입니다.
플랜지 너트(½ 인치)를 113~141N∙m의 토크로 조입니다.
장착용 구멍을 정렬할 때 차양을 그림 14에 표시된 대로 프레임에 위치시킵니다.

플랜지 헤드 볼트(5/16 x 1¼ 인치), 소형 와셔 및 그로밋을 사용하여 차양의 각 코너를 프레임에 헐겁게 장착합니다(그림 14).
차양 고정 볼트를 5~6N∙m의 토크로 조입니다.
Important: 차양이 갈라질 수 있으므로 고정 볼트를 너무 심하게 조이지 않습니다.
롤바를 내림 위치에 둔 상태에서 롤바의 각 측면에 있는 소음 방지 리프 스프링(그림 15)을 제거합니다.
캐노피를 설치하지 않을 때 사용하기 위해 리프 스프링과 볼트를 보관하십시오.

롤 바를 올린 위치에서 헤어핀 코터와 2개 핀을 뺍니다(그림 16).

그림 17에 나오는 것처럼 와셔(13/16 x 1½ 인치)를 각 볼트(¾ x 4 인치)에 끼웁니다.

핀을 제거한 구멍에 볼트와 와셔를 설치합니다(그림 17).
그림 17에 나오는 것처럼 각 볼트에 와셔를 하나 더 설치하고 너트(¾ 인치)로 고정합니다. 너트를 323~396N∙m의 토크로 조입니다.
힌지 부위에서 하강 위치에 있는 롤바의 각 측면의 나사산 플레이트에 잼 너트(볼트와 잼 너트를 공급되지 않음)와 함께 볼트(3/8-16 x 1 인치 또는 1-1/4 인치)를 설치합니다(그림 17). 상단 롤바 튜브에 대해 고정될 때까지 볼트를 조인 다음 잼너트를 조입니다.
롤 바와 차양이 흔들리지 않도록 ROPS 피벗 볼트(그림 17)를 91~113 N∙m의 토크로 조입니다.
트랙션 유닛 롤바 위에 ROPS 고정 브래킷을 배치합니다(그림 18).
Note: 롤바가 ROPS 고정 브래킷의 가운데에 놓이는지 확인합니다.

ROPS 고정 브래킷에 프레임 어셈블리를 설치합니다(그림 18).
그림 18에 표시된 장착용 구멍을 통해, 2개의 U-볼트(4-1/2 x 2¾ 인치) 및 4개의 플랜지 너트를 사용하여 롤바의 상단에 ROPS 고정 브래킷을 고정합니다.
그림 19에 표시된 장착용 구멍을 통해, U-볼트(3½ x 2¾ 인치) 및 2개의 플랜지 너트를 사용하여 각 브레이스 브래킷을 롤 바 포스트에 헐겁게 고정합니다.

차양 프레임의 양쪽 측면에서 그림 20에 나오는 것처럼 2개의 볼트(½ x 2¾ 인치)와 2개의 플랜지 너트(½ 인치)를 사용하여 브레이스 마운트의 네 번째 구멍에 확장 링크를 헐겁게 고정합니다.

그림 20에 나오는 것처럼 볼트(½ x 2½ 인치), 와셔(½ 인치) 및 플랜지 너트(½ 인치)를 사용하여 프레임 플레이트를 각 브레이스에 헐겁게 설치합니다.
차양 프레임이 바닥과 수평이 될 때까지 브레이스 브래킷을 수직 롤 바 포스트에서 위 아래로 움직인 다음, U-볼트 플랜지 너트를 조여 고정 브래킷을 포스트에 고정합니다.
Note: 수준기를 이용하여 프레임이 지면과 수평을 이루는지 확인합니다.
다음과 같이 나머지 플랜지 너트를 모두 조입니다:
플랜지 너트(⅜ 인치)를 41~55N∙m의 토크로 조입니다.
플랜지 너트(½ 인치)를 113~141N∙m의 토크로 조입니다.
장착용 구멍을 정렬할 때 차양을 그림 21에 표시된 대로 프레임에 위치시킵니다.

플랜지 헤드 볼트(5/16 x 1¼ 인치), 소형 와셔 및 그로밋을 사용하여 차양의 각 코너를 프레임에 헐겁게 장착합니다(그림 21).
차양 고정 볼트를 5~6N∙m의 토크로 조입니다.
Important: 차양이 갈라질 수 있으므로 고정 볼트를 너무 심하게 조이지 않습니다.
롤바를 내림 위치에 둔 상태에서 롤바의 각 측면에 있는 소음 방지 리프 스프링(그림 22)을 제거합니다.
캐노피를 설치하지 않을 때 사용하기 위해 리프 스프링과 볼트를 보관하십시오.

롤 바를 올린 위치에서 헤어핀 코터와 2개 핀을 뺍니다(그림 23).

그림 24에 나오는 것처럼 와셔(13/16 x 1½ 인치)를 각 볼트(¾ x 4 인치)에 끼웁니다.

핀을 제거한 구멍에 볼트와 와셔를 설치합니다(그림 24).
그림 24에 나오는 것처럼 각 볼트에 와셔를 하나 더 설치하고 너트(¾ 인치)로 고정합니다. 너트를 323~396N∙m의 토크로 조입니다.
힌지 부위에서 하강 위치에 있는 롤바의 각 측면의 나사산 플레이트에 잼 너트(볼트와 잼 너트를 공급되지 않음)와 함께 볼트(3/8-16 x 1 인치 또는 1-1/4 인치)를 설치합니다(그림 24). 상단 롤바 튜브에 대해 고정될 때까지 볼트를 조인 다음 잼너트를 조입니다.
롤바와 차양이 흔들리지 않도록 ROPS 피벗 볼트(그림 24)를 91~113 N∙m의 토크로 조입니다.
트랙션 유닛 롤바 위에 ROPS 고정 브래킷을 배치합니다(그림 25).
Note: 롤바가 ROPS 고정 브래킷의 가운데에 놓이는지 확인합니다.

그림 25에 표시된 장착용 구멍을 통해, 2개의 U-볼트(4½ x 2¾ 인치) 및 4개의 플랜지 너트를 사용하여 롤바의 상단에 브래킷을 고정합니다.
그림 26에 표시된 장착용 구멍을 통해, U-볼트(3½ x 2¾ 인치) 및 2개의 플랜지 너트를 사용하여 각 브레이스 브래킷을 롤 바 포스트에 헐겁게 고정합니다.

차양 프레임의 양쪽 측면에서 그림 27에 나오는 것처럼 볼트(½ x 2¾ 인치), 와셔(½ 인치) 및 플랜지 너트(½ 인치)를 사용하여 브래킷 마운트의 여섯 번째 구멍에 브레이스를 헐겁게 장착합니다.

그림 27에 나오는 것처럼 볼트(½ x 2½ 인치), 와셔(½ 인치) 및 플랜지 너트(½ 인치)를 사용하여 프레임 플레이트를 각 브레이스에 헐겁게 설치합니다.
Note: U-볼트가 대칭으로 설치되지 않았습니다.
차양 프레임이 바닥과 수평이 될 때까지 브레이스 브래킷을 수직 롤 바 포스트에서 위 아래로 움직입니다. 수준기를 이용하여 프레임이 지면과 수평을 이루는지 확인합니다. U-볼트 플랜지 너트를 조여서 브레이스 브래킷을 포스트에 고정합니다.
Note: 더 조정이 필요하면 브레이스 브래킷의 앞쪽 또는 뒤쪽 장착용 구멍을 사용합니다.
다음과 같이 나머지 플랜지 너트를 모두 조입니다:
플랜지 너트(⅜ 인치)를 41~55N∙m의 토크로 조입니다.
플랜지 너트(½ 인치)를 113~141N∙m의 토크로 조입니다.
장착용 구멍을 정렬할 때 차양을 그림 28에 표시된 대로 프레임에 위치시킵니다.

플랜지 헤드 볼트(5/16 x 1¼ 인치), 소형 와셔 및 그로밋을 사용하여 차양의 각 코너를 프레임에 헐겁게 장착합니다(그림 28).
차양 고정 볼트를 5~6N∙m의 토크로 조입니다.
Important: 차양이 갈라질 수 있으므로 고정 볼트를 너무 심하게 조이지 않습니다.
Reelmaster 3100 트랙션 유닛 또는 Groundsmaster 3500/3505 트랙션 유닛에 범용 차양을 설치할 경우, 휠 웨이트 키트를 설치하십시오.
Reelmaster 3555 및3575 트랙션 키트의 경우, 12 단계를 건너뛰십시오. 그 외의 모델의 경우, 롤 바를 올린 위치에서 헤어핀 코터와 2개 핀을 뺍니다(그림 29).

그림 30에 나오는 것처럼 와셔(13/16 x 1½ 인치)를 각 볼트(¾ x 4 인치)에 끼웁니다.

핀을 제거한 구멍에 볼트와 와셔를 설치합니다(그림 30).
(그림 30)에 나오는 것처럼 각 볼트에 와셔를 하나 더 설치하고 너트(¾ 인치)로 고정합니다. 너트를 323~396N∙m의 토크로 조입니다.
롤바와 차양이 흔들리지 않도록 ROPS 피벗 볼트(그림 30)를 91~113 N∙m의 토크로 조입니다.
트랙션 유닛 롤바 위에 ROPS 고정 브래킷을 배치합니다(그림 31). 롤바가 ROPS 고정 브래킷의 가운데에 놓이는지 확인합니다.

그림 31에 표시된 장착용 구멍을 통해, 2개의 U-볼트(4½ x 2¾ 인치) 및 4개의 플랜지 너트를 사용하여 롤바의 상단에 ROPS 고정 브래킷을 고정합니다.
그림 32에 표시된 장착용 구멍을 통해, U-볼트(3-1/8 x 5 인치) 및 2개의 플랜지 너트를 사용하여 각 브레이스 브래킷을 롤 바 포스트에 헐겁게 고정합니다.

차양 프레임 양쪽 측면에서 다음과 같이 브레이스 브래킷에 브레이스를 헐겁게 고정합니다.
03820, 03821, 30604, 30605, 30608 및 30609 모델의 경우, 차양 프레임의 양쪽 측면에서, 그림 33에 나오는 것처럼 볼트(½ x 2½ 인치), 와셔(½ 인치) 및 플랜지 너트(½ 인치)를 사용하여 프레임 플레이트의 뒤쪽 구멍에 브레이스를 헐겁게 고정합니다.
30446, 30446N, 30447 및 30447N 모델의 경우, 차양 프레임의 양쪽 측면에서, 그림 34에 나오는 것처럼 볼트(½ x 2½ 인치), 와셔(½ 인치) 및 플랜지 너트(½ 인치)를 사용하여 프레임 플레이트의 두 번째 구멍에 브레이스를 헐겁게 고정합니다.


그림 33에 나오는 것처럼 볼트(½ x 2½ 인치), 와셔(½ 인치) 및 플랜지 너트(½ 인치)를 사용하여 프레임 플레이트를 각 브레이스에 헐겁게 설치합니다.
차양 프레임이 바닥과 수평이 될 때까지 브레이스 브래킷을 수직 롤 바 포스트에서 위 아래로 움직입니다.
Note: 수준기를 이용하여 프레임이 지면과 수평을 이루는지 확인합니다.
U-볼트 플랜지 너트를 조여서 고정 브래킷을 포스트에 고정합니다.
다음과 같이 나머지 플랜지 너트를 모두 조입니다:
플랜지 너트(⅜ 인치)를 41~55N∙m의 토크로 조입니다.
플랜지 너트(½ 인치)를 113~141N∙m의 토크로 조입니다.
장착용 구멍을 정렬할 때 차양을 그림 35에 표시된 대로 프레임에 위치시킵니다.

플랜지 헤드 볼트(5/16 x 1¼ 인치), 소형 와셔 및 그로밋을 사용하여 차양의 각 코너를 프레임에 헐겁게 장착합니다(그림 35).
차양 고정 볼트를 5~6N∙m의 토크로 조입니다.
Important: 차양이 갈라질 수 있으므로 고정 볼트를 너무 심하게 조이지 않습니다.
롤 바를 올린 위치에서 헤어핀 코터와 핀을 뺍니다.

그림 37에 나오는 것처럼 와셔(13/16 x 1½ 인치)를 각 볼트(¾ x 4 인치)에 끼웁니다.
핀을 제거한 구멍에 볼트와 와셔를 설치합니다(그림 37).
그림 37에 나오는 것처럼 각 볼트에 와셔를 하나 더 설치하고 너트(¾ 인치)로 고정합니다.
롤 바와 차양이 흔들리지 않도록 ROPS 피벗 볼트를 91~113N∙m의 토크로 조입니다.

트랙션 유닛 롤바 위에 ROPS 고정 브래킷을 배치합니다(그림 38). 롤바가 ROPS 마운팅 브래킷의 가운데에 놓이는지 확인합니다.

그림 38에 표시된 장착용 구멍을 통해, 2개의 U-볼트(3½ x 4 인치) 및 4개의 플랜지 너트를 사용하여 롤바의 상단에 ROPS 고정 브래킷을 고정합니다.
그림 39에 표시된 장착용 구멍을 통해, U-볼트(3-1/2 x 5 인치) 및 2개의 플랜지 너트를 사용하여 각 브레이스 브래킷을 롤 바 포스트에 헐겁게 고정합니다.

차양 프레임의 양쪽 측면에서 그림 40에 나오는 것처럼 2개의 볼트(½ x 1½ 인치)와 2개의 플랜지 너트(½ 인치)를 사용하여 고정 브래킷의 후방 구멍과 가운데 구멍에 확장 링크를 헐겁게 고정합니다.
그림 40에 나오는 것처럼 볼트(½ x 2½ 인치), 와셔(½ 인치) 및 플랜지 너트(½ 인치)를 사용하여 브레이스를 각 확장 링크의 바깥쪽에 부착합니다.

그림 40에 나오는 것처럼 볼트(½ x 2½ 인치), 와셔(½ 인치) 및 플랜지 너트(½ 인치)를 사용하여 프레임 플레이트를 각 브레이스에 헐겁게 설치합니다.
차양 프레임이 바닥과 수평이 될 때까지 브레이스 브래킷을 수직 롤 바 포스트에서 위 아래로 움직입니다.
Note: 수준기를 이용하여 프레임이 지면과 수평을 이루는지 확인합니다.
U-볼트 플랜지 너트를 조여서 고정 브래킷을 포스트에 고정합니다.
다음과 같이 나머지 플랜지 너트를 모두 조입니다:
플랜지 너트(⅜ 인치)를 41~55N∙m의 토크로 조입니다.
플랜지 너트(½ 인치)를 113~141N∙m의 토크로 조입니다.
장착용 구멍을 정렬할 때 차양을 그림 41에 표시된 대로 프레임에 위치시킵니다.

플랜지 헤드 볼트(5/16 x 1¼ 인치), 소형 와셔 및 그로밋을 사용하여 차양의 각 코너를 프레임에 헐겁게 장착합니다(그림 41).
차양 고정 볼트를 5~6N∙m의 토크로 조입니다.
Important: 차양이 갈라질 수 있으므로 고정 볼트를 너무 심하게 조이지 않습니다.
트랙션 유닛 롤바 위에 ROPS 고정 브래킷을 배치합니다(그림 42). 롤바가 ROPS 고정 브래킷의 가운데에 놓이는지 확인합니다.

그림 42에 표시된 장착용 구멍을 통해, 2개의 U-볼트(4-1/2 x 2¾ 인치) 및 4개의 플랜지 너트를 사용하여 롤바의 상단에 ROPS 고정 브래킷을 고정합니다.
그림 43에 표시된 장착용 구멍을 통해, U-볼트(3-1/8 x 5 인치) 및 2개의 플랜지 너트를 사용하여 각 브레이스 브래킷을 롤 바 포스트에 헐겁게 고정합니다.

차양 프레임의 양쪽 측면에서 그림 44에 나오는 것처럼 볼트(½ x 2¾ 인치), 2개의 와셔(½ 인치) 및 플랜지 너트(½ 인치)를 사용하여 브레이스 마운트의 후방 구멍에 브레이스를 헐겁게 장착합니다.

그림 44에 나오는 것처럼 볼트(½ x 2½ 인치), 2개의 와셔(½ 인치) 및 플랜지 너트(½ 인치)를 사용하여 브레이스 브래킷을 각 브레이스에 헐겁게 설치합니다.
차양 프레임이 바닥과 수평이 될 때까지 브레이스 브래킷을 수직 롤 바 포스트에서 위 아래로 움직입니다.
Note: 수준기를 이용하여 프레임이 지면과 수평을 이루는지 확인합니다.
U-볼트 플랜지 너트를 조여서 고정 브래킷을 포스트에 고정합니다.
다음과 같이 나머지 플랜지 너트를 모두 조입니다:
플랜지 너트(⅜ 인치)를 41~55N∙m의 토크로 조입니다.
플랜지 너트(½ 인치)를 113~141N∙m의 토크로 조입니다.
장착용 구멍을 정렬할 때 차양을 그림 45에 표시된 대로 프레임에 위치시킵니다.

플랜지 헤드 볼트(5/16 x 1¼ 인치), 소형 와셔 및 그로밋을 사용하여 차양의 각 코너를 프레임에 헐겁게 장착합니다(그림 45).
차양 고정 볼트를 5~6N∙m의 토크로 조입니다.
Important: 차양이 갈라질 수 있으므로 고정 볼트를 너무 심하게 조이지 않습니다.
잔디 스프레이어 롤바 위에 ROPS 고정 브래킷을 배치합니다(그림 46).
Note: 롤바가 ROPS 고정 브래킷의 가운데에 놓이는지 확인합니다.

ROPS 고정 브래킷에 프레임 어셈블리를 설치합니다(그림 46).
그림 46에 표시된 장착용 구멍을 통해, 2개의 U-볼트(4-1/2 x 2¾ 인치) 및 4개의 플랜지 너트를 사용하여 롤바의 상단에 ROPS 고정 브래킷을 고정합니다.
그림 47에 표시된 장착용 구멍을 통해, U-볼트(3½ x 2¾ 인치) 및 2개의 플랜지 너트를 사용하여 각 브레이스 브래킷을 롤 바 포스트에 헐겁게 고정합니다.

차양 프레임의 양쪽 측면에서 그림 48에 나오는 것처럼 2개의 볼트(½ x 2¾ 인치)와 2개의 플랜지 너트(½ 인치)를 사용하여 브레이스 마운트의 네 번째 구멍에 확장 링크를 헐겁게 고정합니다.

그림 48에 나오는 것처럼 볼트(½ x 2½ 인치), 와셔(½ 인치) 및 플랜지 너트(½ 인치)를 사용하여 프레임 플레이트를 각 브레이스에 헐겁게 설치합니다.
차양 프레임이 바닥과 수평이 될 때까지 브레이스 브래킷을 수직 롤 바 포스트에서 위 아래로 움직인 다음, U-볼트 플랜지 너트를 조여 고정 브래킷을 포스트에 고정합니다.
Note: 수준기를 이용하여 프레임이 지면과 수평을 이루는지 확인합니다.
다음과 같이 나머지 플랜지 너트를 모두 조입니다:
플랜지 너트(⅜ 인치)를 41~55N∙m의 토크로 조입니다.
플랜지 너트(½ 인치)를 113~141N∙m의 토크로 조입니다.
장착용 구멍을 정렬할 때 차양을 그림 49에 표시된 대로 프레임에 위치시킵니다.

플랜지 헤드 볼트(5/16 x 1¼ 인치), 소형 와셔 및 그로밋을 사용하여 차양의 각 코너를 프레임에 헐겁게 장착합니다(그림 49).
차양 고정 볼트를 5~6N∙m의 토크로 조입니다.
Important: 차양이 갈라질 수 있으므로 고정 볼트를 너무 심하게 조이지 않습니다.
장비를 운반할 때는(차양 밑에 있는) 차양 프레임 앞의 2개의 구멍을 이용하여 차양을 장비의 고정된 위치에 잡아 매어 바람이 불 때 차양이 날리지 않게 합니다(그림 50).

8시간 작동 후에 고정 부품을 점검하고 조입니다. 정기적으로 기계 부품을 점검하고 조입니다.
맨 손, 부드러운 천, 스펀지에 순한 비누 또는 세제를 써서 묻은 흙이나 이물질을 제거합니다.
Note: 어떤 클리너 또는 천을 사용하면 차양 표면이 긁히거나 손상받을 수 있습니다. 눈에 잘 안 띄는 부위에서 세제 또는 천을 시험 사용해 봅니다.