Tämä tuote on soveltuvien eurooppalaisten direktiivien mukainen. Lisätietoja on tämän julkaisun lopussa olevassa liittämisvakuutuksessa.

Important: Jos yleiskäyttöinen häikäisysuoja asennetaan Reelmaster 3100 -ajoyksikköön tai Groundsmaster 3500/3505 -ajoyksikköön, asenna pyöräpainosarja. Sopiva pyöräpainosarja on saatavilla valtuutetulta Toro-jälleenmyyjältä.

Turvaohjeet

Yleistä

Ennen käyttöä

  1. Tutustu asennusohjeisiin perusteellisesti ennen häikäisysuojan asentamista.

  2. Älä poista suojuksia, turvalaitteita tai tarroja. Jos jokin suojus, turvalaite tai tarra on virheellinen, vahingoittunut tai epäselvä, korjaa tai vaihda se ennen koneen käyttämistä.

  3. Turvakaarta ei missään olosuhteissa saa hitsata, leikata, porata tai irrottaa eikä siihen saa tehdä muutoksia.

  4. Varmista kiristämällä löysät mutterit, pultit ja ruuvit, että konetta on turvallista käyttää.

Käytön aikana

  1. Ole erittäin varovainen työskennellessäsi aitojen tai ojien läheisyydessä tai rinteissä.

  2. Tarkista vapaa alikulkukorkeus (esim. puiden oksat, porttikäytävät, sähkölinjat) ennen kuin ajat mahdollisen esteen alitse. Varo osumasta esteeseen.

  3. Kiinnitä häikäisysuojan runko alas konetta kuljetettaessa.

  4. Käytä kuulosuojaimia käyttäessäsi konetta, jossa on häikäisysuoja.

Kunnossapito ja huolto

  1. Ennen kuin huollat tai säädät konetta, laske lisälaite, sammuta moottori, kytke seisontajarru ja irrota virta-avain.

  2. Koneen turvallinen käyttö on varmistettava tarkistamalla, että mutterit, pultit ja ruuvit on kiristetty kunnolla.

  3. Häikäisysuojaa asennettaessa on käytettävä silmäsuojaimia.

  4. Vaihda vaurioitunut häikäisysuoja uuteen. Älä korjaa tai muuta sitä.

  5. Häikäisysuojaa asennettaessa ja huollettaessa on käytettävä asianmukaisia tukia, nostolaitteita ja tunkkeja. Jos häikäisysuojaa ei tueta kunnolla, se saattaa liikkua tai kaatua, mistä voi olla seurauksena henkilövahinko.

  6. Käytä aina alkuperäisiä Toro-varaosia ja -lisävarusteita parhaan mahdollisen suorituskyvyn ja turvallisuuden takaamiseksi. Muiden valmistajien varaosat ja lisävarusteet voivat osoittautua vaarallisiksi. Seurauksena voi olla myös The Toro Companyn ajoneuvolle myöntämän takuun raukeaminen.

Turva- ja ohjetarrat

Graphic

Turva- ja ohjetarrat on sijoitettu hyvin näkyville paikoille mahdollisten vaara-alueiden lähettyville. Korvaa vioittuneet tai kadonneet tarrat uusilla.

Häikäisysuojaan on kiinnitetty turva- ja ohjetarroja. Jos tarra on vaurioitunut tai lukukelvoton, vaihda se.

decal98-4387

Asennus

Koneen valmistelu

  1. Pysäköi kone tasaiselle alustalle.

  2. Laske leikkuuyksiköt ja kytke seisontajarru.

  3. Sammuta moottori ja irrota virta-avain.

Note: Sarjan asentamiseen käytettävät osat eivät ole samat kaikissa koneissa.

U-pulttien tunnistus ja asennus

Sarja sisältää viisi erilaista U-pulttia. U-pultit on luetteloitu osaluettelossa mittojen (väli × pituus) perusteella. Määritä U-pulttien mitat kuvan avulla (Kuva 1).

g246183

Asenna U-pultit kaatumissuojausjärjestelmän asennuskannattimeen seuraavien ohjeiden mukaisesti:

  • Kiristä vain käsityökaluilla mutterit, joilla U-pultit on kiinnitetty asennuskannattimeen.

  • Jotta kireys jakautuu tasaisesti, kiristä mutterit vuorotellen kuvan mukaisesti (Kuva 2).

g482777

Häikäisysuojan asennus

Groundsmaster 5900 -kone

Vaiheeseen tarvittavat osat:

Pultti (¾ × 4 tuumaa)2
Mutteri (¾ tuumaa)2
Aluslaatta (13/16 × 1-½ tuumaa)4
Runkokokoonpano 1
Kaatumissuojausjärjestelmän asennuskannatin1
Kannatin2
Kannattimen kiinnike2
Jatkokappale2
Pultti (½ × 1½ tuumaa)4
Pultti (½ × 2-½ tuumaa) 4
Pultti (½ × 2-¾ tuumaa)4
Iso aluslaatta10
Laippamutteri (½ tuumaa)10
U-pultti (4-½ × 2-¾ tuumaa) 2
U-pultti (3⅛ × 4 tuumaa)2
U-pultti (3-½ × 5 tuumaa)4
U-pultti (3-½ × 2-¾ tuumaa)2
U-pultti (4-½ × 4 tuumaa)2
Laippamutteri (⅜ tuumaa)8
Häikäisysuoja 1
Laippakantapultti (5/16 × 1-¼ tuumaa)4
Pieni aluslaatta4
Läpivientisuojus4
Levymutteri4
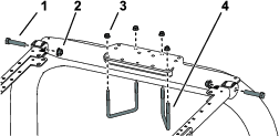
  1. Sijoita kaatumissuojausjärjestelmän asennuskannatin ajoyksikön turvakaaren päälle (Kuva 3).

    Note: Varmista, että turvakaari on keskellä kaatumissuojausjärjestelmän asennuskannatinta.

    g246182
  2. Asenna runkokokoonpano kaatumissuojausjärjestelmän asennuskannattimeen (Kuva 3).

  3. Asenna kaatumissuojausjärjestelmän asennuskannatin turvakaaren päälle kuvassa näkyviin kiinnitysaukkoihin (Kuva 3) kahdella U-pultilla (4½ × 4 tuumaa) ja neljällä laippamutterilla.

  4. Asenna kannattimien kiinnikkeet löyhästi turvakaaren pylväisiin kuvassa näkyviin kiinnitysaukkoihin (Kuva 4) U-pultilla (3⅛ × 4 tuumaa) ja kahdella laippamutterilla.

    g482768
  5. Asenna kannatin löyhästi kannattimien kiinnikkeiden toisiin aukkoihin häikäisysuojan rungon kummallekin puolelle pultilla (½ × 2-¾ tuumaa), aluslaatalla (½ tuumaa) ja laippamutterilla (½ tuumaa) kuvan mukaisesti (Kuva 5).

    g267172
  6. Asenna kannattimen kiinnike löyhästi kuhunkin kannattimeen pultilla (½ × 2-½ tuumaa), aluslaatalla (½ tuumaa) ja laippamutterilla (½ tuumaa) kuvan mukaisesti (Kuva 5).

  7. Siirrä kannattimen kiinnikkeitä turvakaaren pylväitä pitkin ylös tai alas, kunnes häikäisysuojan runko on alustan suuntainen.

    Note: Varmista vesivaa’alla, että runko on vaakasuorassa maahan nähden.

    Note: Jos säätövaraa tarvitaan lisää, käytä kannattimen kiinnikkeen etu- tai taka-asennusaukkoja.

  8. Kiristä U-pulttien laippamutterit, joilla asennuskannattimet on kiinnitetty pylväisiin.

  9. Kiristä kaikki muut laippamutterit seuraavasti:

    • Kiristä laippamutterit (⅜ tuumaa) momenttiin 41–55 N·m.

    • Kiristä laippamutterit (½ tuumaa) momenttiin 113–141 N·m.

  10. Kohdista asennusaukot ja aseta häikäisysuoja runkoon kuvan mukaisesti (Kuva 6).

    g245151
  11. Asenna häikäisysuojan kulmat löyhästi runkoon laippakantapultilla (5/16 × 1-¼ tuumaa), pienellä aluslaatalla ja välikappaleella (Kuva 6).

  12. Kiristä häikäisysuojan kiinnityspultit momenttiin 5–6 N·m.

    Important: Älä kiristä kiinnityspultteja liikaa, ettei häikäisysuojaan tule halkeamia.

Häikäisysuojan asennus

Groundsmaster 3200- tai 3300 -kone
  1. Kun turvakaari on ala-asennossa, irrota kolinaa ehkäisevä lehtijousi (Kuva 7) turvakaaren molemmilta puolilta.

    Säilytä lehtijouset ja pultit käyttöä varten silloin, kun suojaa ei ole asennettu.

    g558139
  2. Kun turvakaari on yläasennossa, irrota sokat ja kaksi tappia (Kuva 8).

    g001199
  3. Aseta aluslaatta (13/16 × 1-½ tuumaa) kunkin pultin (¾ × 4 tuumaa) päälle kuvan mukaisesti (Kuva 9).

    g558140
  4. Asenna pultit aluslaattoineen aukkoihin, joista tapit irrotettiin (Kuva 9).

  5. Asenna kuhunkin pulttiin toinen aluslaatta ja kiinnitä muttereilla (¾ tuumaa) kuvan mukaisesti (Kuva 9). Kiristä mutterit momenttiin 323–396 N·m.

  6. Asenna pultti (⅜-16 × 1 tuumaa tai 1¼ tuumaa) ja vastamutteri (pultit ja vastamutterit eivät kuulu toimitukseen) kierteillä varustettuun levyyn turvakaaren alaosan molemmilla puolilla saranan kohdalla (Kuva 9). Kiristä pulttia, kunnes se on tiukasti turvakaaren ylempää putkea vasten, ja kiristä vastamutteri.

  7. Kiristä kaatumissuojausjärjestelmän saranapultti (Kuva 9) momenttiin 91–113 N·m, jotta turvakaari ja häikäisysuoja eivät heilu.

  8. Sijoita kaatumissuojausjärjestelmän asennuskannatin ruiskutuslaitteen turvakaaren päälle (Kuva 10).

    Note: Varmista, että turvakaari on keskellä kaatumissuojausjärjestelmän asennuskannatinta.

    g246185
  9. Asenna runkokokoonpano kaatumissuojausjärjestelmän asennuskannattimeen (Kuva 10).

  10. Asenna kaatumissuojausjärjestelmän asennuskannatin turvakaaren päälle kuvassa näkyviin kiinnitysaukkoihin (Kuva 11) kahdella U-pultilla (4½ × 2¾ tuumaa) ja neljällä laippamutterilla.

  11. Asenna kannattimien kiinnikkeet löyhästi turvakaaren pylväisiin kuvassa näkyviin kiinnitysaukkoihin (Kuva 11) U-pultilla (3½ × 2¾ tuumaa) ja kahdella laippamutterilla.

    g482769
  12. Asenna jatkokappale löyhästi kannattimien kiinnikkeiden neljänsiin aukkoihin häikäisysuojan rungon kummallekin puolelle kahdella pultilla (½ × 2-¾ tuumaa), kahdella isolla aluslaatalla ja kahdella laippamutterilla (½ tuumaa) kuvan mukaisesti (Kuva 12).

    g297973
  13. Asenna kannattimen kiinnike löyhästi kuhunkin kannattimeen koneen kummallekin puolelle pultilla (½ × 2-¾ tuumaa), kolmella isolla aluslaatalla ja laippamutterilla (½ tuumaa) kuvan mukaisesti (Kuva 13).

    g297972
  14. Siirrä kannattimien kiinnikkeitä turvakaaren pylväitä pitkin ylös tai alas, kunnes häikäisysuojan runko on vaakasuorassa maahan nähden. Kiristä sitten U-pulttien laippamutterit, joilla asennuskannattimet on kiinnitetty pylväisiin.

    Note: Varmista vesivaa’alla, että runko on vaakasuorassa maahan nähden.

  15. Kiristä kaikki muut laippamutterit seuraavasti:

    • Kiristä laippamutterit (⅜ tuumaa) momenttiin 41–55 N·m.

    • Kiristä laippamutterit (½ tuumaa) momenttiin 113–141 N·m.

  16. Kohdista asennusaukot ja aseta häikäisysuoja runkoon kuvan mukaisesti (Kuva 14).

    g245151
  17. Asenna häikäisysuojan kulmat löyhästi runkoon laippakantapultilla (5/16 × 1-¼ tuumaa), pienellä aluslaatalla ja välikappaleella (Kuva 14).

  18. Kiristä häikäisysuojan kiinnityspultit momenttiin 5–6 N·m.

    Important: Älä kiristä kiinnityspultteja liikaa, ettei häikäisysuojaan tule halkeamia.

Häikäisysuojan asennus

Groundsmaster 3280 -kone
  1. Kun turvakaari on ala-asennossa, irrota kolinaa ehkäisevä lehtijousi (Kuva 15) turvakaaren molemmilta puolilta.

    Säilytä lehtijouset ja pultit käyttöä varten silloin, kun suojaa ei ole asennettu.

    g558139
  2. Kun turvakaari on yläasennossa, irrota sokat ja kaksi tappia (Kuva 16).

    g001199
  3. Aseta aluslaatta (13/16 × 1-½ tuumaa) kunkin pultin (¾ × 4 tuumaa) päälle kuvan mukaisesti (Kuva 17).

    g558140
  4. Asenna pultit aluslaattoineen aukkoihin, joista tapit irrotettiin (Kuva 17).

  5. Asenna kuhunkin pulttiin toinen aluslaatta ja kiinnitä muttereilla (¾ tuumaa) kuvan mukaisesti (Kuva 17). Kiristä mutterit momenttiin 323–396 N·m.

  6. Asenna pultti (⅜-16 × 1 tuumaa tai 1¼ tuumaa) ja vastamutteri (pultit ja vastamutterit eivät kuulu toimitukseen) kierteillä varustettuun levyyn turvakaaren alaosan molemmilla puolilla saranan kohdalla (Kuva 17). Kiristä pulttia, kunnes se on tiukasti turvakaaren ylempää putkea vasten, ja kiristä vastamutteri.

  7. Kiristä kaatumissuojausjärjestelmän saranapultti (Kuva 17) momenttiin 91–113 N·m, jotta turvakaari ja häikäisysuoja eivät heilu.

  8. Sijoita kaatumissuojausjärjestelmän asennuskannatin ajoyksikön turvakaaren päälle (Kuva 18).

    Note: Varmista, että turvakaari on keskellä kaatumissuojausjärjestelmän asennuskannatinta.

    g246185
  9. Asenna runkokokoonpano kaatumissuojausjärjestelmän asennuskannattimeen (Kuva 18).

  10. Asenna kaatumissuojausjärjestelmän asennuskannatin turvakaaren päälle kuvassa näkyviin kiinnitysaukkoihin (Kuva 18) kahdella U-pultilla (4½ × 2¾ tuumaa) ja neljällä laippamutterilla.

  11. Asenna kannattimien kiinnikkeet löyhästi turvakaaren pylväisiin kuvassa näkyviin kiinnitysaukkoihin (Kuva 19) U-pultilla (3½ × 2¾ tuumaa) ja kahdella laippamutterilla.

    g482770
  12. Asenna jatkokappale löyhästi kannattimien kiinnikkeiden neljänsiin aukkoihin häikäisysuojan rungon kummallekin puolelle kahdella pultilla (½ × 2-¾ tuumaa) ja kahdella laippamutterilla (½ tuumaa) kuvan mukaisesti (Kuva 20).

    g267174
  13. Asenna kannattimen kiinnike löyhästi kuhunkin kannattimeen pultilla (½ × 2-½ tuumaa), aluslaatalla (½ tuumaa) ja laippamutterilla (½ tuumaa) kuvan mukaisesti (Kuva 20).

  14. Siirrä kannattimien kiinnikkeitä turvakaaren pylväitä pitkin ylös tai alas, kunnes häikäisysuojan runko on vaakasuorassa maahan nähden. Kiristä sitten U-pulttien laippamutterit, joilla asennuskannattimet on kiinnitetty pylväisiin.

    Note: Varmista vesivaa’alla, että runko on vaakasuorassa maahan nähden.

  15. Kiristä kaikki muut laippamutterit seuraavasti:

    • Kiristä laippamutterit (⅜ tuumaa) momenttiin 41–55 N·m.

    • Kiristä laippamutterit (½ tuumaa) momenttiin 113–141 N·m.

  16. Kohdista asennusaukot ja aseta häikäisysuoja runkoon kuvan mukaisesti (Kuva 21).

    g245151
  17. Asenna häikäisysuojan kulmat löyhästi runkoon laippakantapultilla (5/16 × 1-¼ tuumaa), pienellä aluslaatalla ja välikappaleella (Kuva 21).

  18. Kiristä häikäisysuojan kiinnityspultit momenttiin 5–6 N·m.

    Important: Älä kiristä kiinnityspultteja liikaa, ettei häikäisysuojaan tule halkeamia.

Häikäisysuojan asennus

Groundsmaster 360- tai 7200 -koneet
  1. Kun turvakaari on ala-asennossa, irrota kolinaa ehkäisevä lehtijousi (Kuva 22) turvakaaren molemmilta puolilta.

    Säilytä lehtijouset ja pultit käyttöä varten silloin, kun suojaa ei ole asennettu.

    g560315
  2. Kun turvakaari on yläasennossa, irrota sokat ja kaksi tappia (Kuva 23).

    g187726
  3. Aseta aluslaatta (13/16 × 1-½ tuumaa) kunkin pultin (¾ × 4 tuumaa) päälle kuvan mukaisesti (Kuva 24).

    g560317
  4. Asenna pultit aluslaattoineen aukkoihin, joista tapit irrotettiin (Kuva 24).

  5. Asenna kuhunkin pulttiin toinen aluslaatta ja kiinnitä muttereilla (¾ tuumaa) kuvan mukaisesti (Kuva 24). Kiristä mutterit momenttiin 323–396 N·m.

  6. Asenna pultti (⅜-16 × 1 tuumaa tai 1¼ tuumaa) ja vastamutteri (pultit ja vastamutterit eivät kuulu toimitukseen) kierteillä varustettuun levyyn turvakaaren alaosan molemmilla puolilla saranan kohdalla (Kuva 24). Kiristä pulttia, kunnes se on tiukasti turvakaaren ylempää putkea vasten, ja kiristä vastamutteri.

  7. Kiristä kaatumissuojausjärjestelmän saranapultti (Kuva 24) momenttiin 91–113 N·m, jotta turvakaari ja häikäisysuoja eivät heilu.

  8. Sijoita kaatumissuojausjärjestelmän asennuskannatin ajoyksikön turvakaaren päälle (Kuva 25).

    Note: Varmista, että turvakaari on keskellä kaatumissuojausjärjestelmän asennuskannatinta.

    g246185
  9. Asenna asennuskannatin turvakaaren päälle kuvassa näkyviin kiinnitysaukkoihin (Kuva 25) kahdella U-pultilla (4½ x 2¾ tuumaa) ja neljällä laippamutterilla.

  10. Asenna kannattimien kiinnikkeet löyhästi turvakaaren pylväisiin kuvassa näkyviin kiinnitysaukkoihin (Kuva 26) U-pultilla (3½ × 2¾ tuumaa) ja kahdella laippamutterilla.

    g482771
  11. Asenna kannatin löyhästi kannattimien kiinnikkeiden kuudensiin aukkoihin häikäisysuojan rungon kummallekin puolelle pultilla (½ × 2-¾ tuumaa), aluslaatalla (½ tuumaa) ja laippamutterilla (½ tuumaa) kuvan mukaisesti (Kuva 27).

    g267175
  12. Asenna kannattimen kiinnike löyhästi kuhunkin kannattimeen pultilla (½ × 2-½ tuumaa), aluslaatalla (½ tuumaa) ja laippamutterilla (½ tuumaa) kuvan mukaisesti (Kuva 27).

    Note: U-pultteja ei asenneta symmetrisesti.

  13. Siirrä kannattimen kiinnikkeitä turvakaaren pylväitä pitkin ylös tai alas, kunnes häikäisysuojan runko on alustan suuntainen. Varmista vesivaa’alla, että runko on vaakasuorassa maahan nähden. Kiristä sitten U-pulttien laippamutterit, joilla kannattimien kiinnikkeet on kiinnitetty pylväisiin.

    Note: Jos säätövaraa tarvitaan lisää, käytä kannattimen kiinnikkeen etu- tai taka-asennusaukkoja.

  14. Kiristä kaikki muut laippamutterit seuraavasti:

    • Kiristä laippamutterit (⅜ tuumaa) momenttiin 41–55 N·m.

    • Kiristä laippamutterit (½ tuumaa) momenttiin 113–141 N·m.

  15. Kohdista asennusaukot ja aseta häikäisysuoja runkoon kuvan mukaisesti (Kuva 28).

    g245151
  16. Asenna häikäisysuojan kulmat löyhästi runkoon laippakantapultilla (5/16 × 1-¼ tuumaa), pienellä aluslaatalla ja välikappaleella (Kuva 28).

  17. Kiristä häikäisysuojan kiinnityspultit momenttiin 5–6 N·m.

    Important: Älä kiristä kiinnityspultteja liikaa, ettei häikäisysuojaan tule halkeamia.

Häikäisysuojan asennus

Groundsmaster 3500-, 3505-, 4000- ja 4100 -koneet tai Reelmaster 3100-, 3555- ja 3575 -koneet
  1. Jos yleiskäyttöinen häikäisysuoja asennetaan Reelmaster 3100 -ajoyksikköön tai Groundsmaster 3500/3505 -ajoyksikköön, asenna pyöräpainosarja.

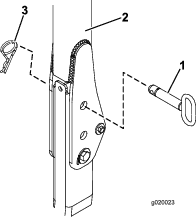
  2. Reelmaster 3555- ja 3575 -ajoyksiköt: siirry vaiheeseen 12. Kaikki muut mallit: kun turvakaari on yläasennossa, irrota sokat ja kaksi tappia (Kuva 29).

    g020023
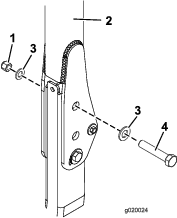
  3. Aseta aluslaatta (13/16 × 1-½ tuumaa) kunkin pultin (¾ × 4 tuumaa) päälle kuvan mukaisesti (Kuva 30).

    g020024
  4. Asenna pultit aluslaattoineen aukkoihin, joista tapit irrotettiin (Kuva 30).

  5. Asenna kuhunkin pulttiin toinen aluslaatta ja kiinnitä mutterilla (¾ tuumaa) kuvan mukaisesti (Kuva 30). Kiristä mutterit momenttiin 323–396 N·m.

  6. Kiristä kaatumissuojausjärjestelmän saranapultti (Kuva 30) momenttiin 91–113 N·m, etteivät turvakaari ja häikäisysuoja pomppisi.

  7. Sijoita kaatumissuojausjärjestelmän asennuskannatin ajoyksikön turvakaaren päälle (Kuva 31). Varmista, että turvakaari on keskellä kaatumissuojausjärjestelmän asennuskannatinta.

    g246190
  8. Asenna kaatumissuojausjärjestelmän asennuskannatin turvakaaren päälle kuvassa näkyviin kiinnitysaukkoihin (Kuva 31) kahdella U-pultilla (4½ × 2¾ tuumaa) ja neljällä laippamutterilla.

  9. Asenna kannattimien kiinnikkeet löyhästi turvakaaren pylväisiin kuvassa näkyviin kiinnitysaukkoihin (Kuva 32) U-pultilla (3⅛ × 5 tuumaa) ja kahdella laippamutterilla.

    g482772
  10. Asenna kannatin löyhästi häikäisysuojan kummankin puolen kannattimien kiinnikkeisiin seuraavalla tavalla:

    • Mallit 03820, 03821, 30604, 30605, 30608 ja 30609: asenna kannatin löyhästi kannattimien kiinnikkeiden taka-aukkoihin häikäisysuojan rungon kummallekin puolelle pultilla (½ × 2-½ tuumaa), aluslaatalla (½ tuumaa) ja laippamutterilla (½ tuumaa) kuvan mukaisesti (Kuva 33).

    • Mallit 30446, 30446N, 30447 ja 30447N: asenna kannatin löyhästi kannattimien kiinnikkeiden toisiin aukkoihin häikäisysuojan rungon kummallekin puolelle pultilla (½ × 2-½ tuumaa), aluslaatalla (½ tuumaa) ja laippamutterilla (½ tuumaa) kuvan mukaisesti (Kuva 34).

    g267177
    g267178
  11. Asenna kannattimen kiinnike löyhästi kuhunkin kannattimeen pultilla (½ × 2-½ tuumaa), aluslaatalla (½ tuumaa) ja laippamutterilla (½ tuumaa) kuvan mukaisesti (Kuva 33).

  12. Siirrä kannattimen kiinnikettä turvakaaren pylväitä pitkin ylös tai alas, kunnes häikäisysuojan runko on alustan suuntainen.

    Note: Varmista vesivaa’alla, että runko on vaakasuorassa maahan nähden.

  13. Kiristä U-pulttien laippamutterit, joilla asennuskannattimet on kiinnitetty pylväisiin.

  14. Kiristä kaikki muut laippamutterit seuraavasti:

    • Kiristä laippamutterit (⅜ tuumaa) momenttiin 41–55 N·m.

    • Kiristä laippamutterit (½ tuumaa) momenttiin 113–141 N·m.

  15. Kohdista asennusaukot ja aseta häikäisysuoja runkoon kuvan mukaisesti (Kuva 35).

    g245151
  16. Asenna häikäisysuojan kulmat löyhästi runkoon laippakantapultilla (5/16 × 1-¼ tuumaa), pienellä aluslaatalla ja välikappaleella (Kuva 35).

  17. Kiristä häikäisysuojan kiinnityspultit momenttiin 5–6 N·m.

    Important: Älä kiristä kiinnityspultteja liikaa, ettei häikäisysuojaan tule halkeamia.

Häikäisysuojan asennus

Groundsmaster 4500/4700 -koneet tai Reelmaster 6700/7000 -koneet
  1. Kun turvakaari on yläasennossa, irrota sokka ja tappi..

    g215450
  2. Aseta aluslaatta (13/16 × 1-½ tuumaa) kunkin pultin (¾ × 4 tuumaa) päälle kuvan mukaisesti (Kuva 37).

  3. Asenna pultit aluslaattoineen aukkoihin, joista tapit irrotettiin (Kuva 37).

  4. Asenna kuhunkin pulttiin toinen aluslaatta ja kiinnitä mutterilla (¾ tuumaa) kuvan mukaisesti (Kuva 37).

  5. Kiristä kaatumissuojausjärjestelmän saranapultti momenttiin 91–113 N·m, etteivät turvakaari ja häikäisysuoja pomppisi.

    g215449
  6. Sijoita kaatumissuojausjärjestelmän asennuskannatin ajoyksikön turvakaaren päälle (Kuva 38). Varmista, että turvakaari on keskellä kaatumissuojausjärjestelmän asennuskannatinta.

    g246186
  7. Asenna kaatumissuojausjärjestelmän asennuskannatin turvakaaren päälle kuvassa näkyviin kiinnitysaukkoihin (Kuva 38) kahdella U-pultilla (3½ × 5 tuumaa) ja neljällä laippamutterilla.

  8. Asenna kannattimien kiinnikkeet löyhästi turvakaaren pylväisiin kuvassa näkyviin kiinnitysaukkoihin (Kuva 39) U-pultilla (3½ × 5 tuumaa) ja kahdella laippamutterilla.

    g245424
  9. Asenna jatkokappale löyhästi kannattimien kiinnikkeiden takimmaisiin ja keskimmäisiin aukkoihin häikäisysuojan rungon kummallekin puolelle kahdella pultilla (½ × 1-½ tuumaa) ja kahdella laippamutterilla (½ tuumaa) kuvan mukaisesti (Kuva 40).

  10. Asenna kannatin kunkin jatkokappaleen ulkosivulle pultilla (½ × 2-½ tuumaa), aluslaatalla (½ tuumaa) ja laippamutterilla (½ tuumaa) kuvan mukaisesti (Kuva 40).

    g245195
  11. Asenna kannattimen kiinnike löyhästi kuhunkin kannattimeen pultilla (½ × 2-½ tuumaa), aluslaatalla (½ tuumaa) ja laippamutterilla (½ tuumaa) kuvan mukaisesti (Kuva 40).

  12. Siirrä kannattimen kiinnikkeitä turvakaaren pylväitä pitkin ylös tai alas, kunnes häikäisysuojan runko on alustan suuntainen.

    Note: Varmista vesivaa’alla, että runko on vaakasuorassa maahan nähden.

  13. Kiristä U-pulttien laippamutterit, joilla asennuskannattimet on kiinnitetty pylväisiin.

  14. Kiristä kaikki muut laippamutterit seuraavasti:

    • Kiristä laippamutterit (⅜ tuumaa) momenttiin 41–55 N·m.

    • Kiristä laippamutterit (½ tuumaa) momenttiin 113–141 N·m.

  15. Kohdista asennusaukot ja aseta häikäisysuoja runkoon kuvan mukaisesti (Kuva 41).

    g245151
  16. Asenna häikäisysuojan kulmat löyhästi runkoon laippakantapultilla (5/16 × 1-¼ tuumaa), pienellä aluslaatalla ja välikappaleella (Kuva 41).

  17. Kiristä häikäisysuojan kiinnityspultit momenttiin 5–6 N·m.

    Important: Älä kiristä kiinnityspultteja liikaa, ettei häikäisysuojaan tule halkeamia.

Häikäisysuojan asennus

Reelmaster 5010 -kone tai Groundsmaster 4300 -kone
  1. Sijoita kaatumissuojausjärjestelmän asennuskannatin ajoyksikön turvakaaren päälle (Kuva 42). Varmista, että turvakaari on keskellä kaatumissuojausjärjestelmän asennuskannatinta.

    g246190
  2. Asenna kaatumissuojausjärjestelmän asennuskannatin turvakaaren päälle kuvassa näkyviin kiinnitysaukkoihin (Kuva 42) kahdella U-pultilla (4½ × 2¾ tuumaa) ja neljällä laippamutterilla.

  3. Asenna kannattimien kiinnikkeet löyhästi turvakaaren pylväisiin kuvassa näkyviin kiinnitysaukkoihin (Kuva 43) U-pultilla (3⅛ × 5 tuumaa) ja kahdella laippamutterilla.

    g482773
  4. Asenna kannatin löyhästi kannattimien kiinnikkeiden takimmaisiin aukkoihin häikäisysuojan rungon kummallekin puolelle yhdellä pultilla (½ × 2-¾ tuumaa), kahdella aluslaatalla (½ tuumaa) ja yhdellä laippamutterilla (½ tuumaa) kuvan mukaisesti (Kuva 44).

    g267177
  5. Asenna kannattimen kiinnike löyhästi kuhunkin kannattimeen yhdellä pultilla (½ × 2-½ tuumaa), kahdella aluslaatalla (½ tuumaa) ja yhdellä laippamutterilla (½ tuumaa) kuvan mukaisesti (Kuva 44).

  6. Siirrä kannattimen kiinnikkeitä turvakaaren pylväitä pitkin ylös tai alas, kunnes häikäisysuojan runko on alustan suuntainen.

    Note: Varmista vesivaa’alla, että runko on vaakasuorassa maahan nähden.

  7. Kiristä U-pulttien laippamutterit, joilla asennuskannattimet on kiinnitetty pylväisiin.

  8. Kiristä kaikki muut laippamutterit seuraavasti:

    • Kiristä laippamutterit (⅜ tuumaa) momenttiin 41–55 N·m.

    • Kiristä laippamutterit (½ tuumaa) momenttiin 113–141 N·m.

  9. Kohdista asennusaukot ja aseta häikäisysuoja runkoon kuvan mukaisesti (Kuva 45).

    g245151
  10. Asenna häikäisysuojan kulmat löyhästi runkoon laippakantapultilla (5/16 × 1-¼ tuumaa), pienellä aluslaatalla ja välikappaleella (Kuva 45).

  11. Kiristä häikäisysuojan kiinnityspultit momenttiin 5–6 N·m.

    Important: Älä kiristä kiinnityspultteja liikaa, ettei häikäisysuojaan tule halkeamia.

Häikäisysuojan asennus

Multi Pro 1750 -kone
  1. Sijoita kaatumissuojausjärjestelmän asennuskannatin ruiskutuslaitteen turvakaaren päälle (Kuva 46).

    Note: Varmista, että turvakaari on keskellä kaatumissuojausjärjestelmän asennuskannatinta.

    g246185
  2. Asenna runkokokoonpano kaatumissuojausjärjestelmän asennuskannattimeen (Kuva 46).

  3. Asenna kaatumissuojausjärjestelmän asennuskannatin turvakaaren päälle kuvassa näkyviin kiinnitysaukkoihin (Kuva 46) kahdella U-pultilla (4½ × 2¾ tuumaa) ja neljällä laippamutterilla.

  4. Asenna kannattimien kiinnikkeet löyhästi turvakaaren pylväisiin kuvassa näkyviin kiinnitysaukkoihin (Kuva 47) U-pultilla (3½ × 2¾ tuumaa) ja kahdella laippamutterilla.

    g482774
  5. Asenna jatkokappale löyhästi kannattimien kiinnikkeiden neljänsiin aukkoihin häikäisysuojan rungon kummallekin puolelle kahdella pultilla (½ × 2-¾ tuumaa) ja kahdella laippamutterilla (½ tuumaa) kuvan mukaisesti (Kuva 48).

    g267174
  6. Asenna kannattimen kiinnike löyhästi kuhunkin kannattimeen pultilla (½ × 2-½ tuumaa), aluslaatalla (½ tuumaa) ja laippamutterilla (½ tuumaa) kuvan mukaisesti (Kuva 48).

  7. Siirrä kannattimien kiinnikkeitä turvakaaren pylväitä pitkin ylös tai alas, kunnes häikäisysuojan runko on vaakasuorassa maahan nähden. Kiristä sitten U-pulttien laippamutterit, joilla asennuskannattimet on kiinnitetty pylväisiin.

    Note: Varmista vesivaa’alla, että runko on vaakasuorassa maahan nähden.

  8. Kiristä kaikki muut laippamutterit seuraavasti:

    • Kiristä laippamutterit (⅜ tuumaa) momenttiin 41–55 N·m.

    • Kiristä laippamutterit (½ tuumaa) momenttiin 113–141 N·m.

  9. Kohdista asennusaukot ja aseta häikäisysuoja runkoon kuvan mukaisesti (Kuva 49).

    g245151
  10. Asenna häikäisysuojan kulmat löyhästi runkoon laippakantapultilla (5/16 × 1-¼ tuumaa), pienellä aluslaatalla ja välikappaleella (Kuva 49).

  11. Kiristä häikäisysuojan kiinnityspultit momenttiin 5–6 N·m.

    Important: Älä kiristä kiinnityspultteja liikaa, ettei häikäisysuojaan tule halkeamia.

Käyttö

Koneen kuljetus

Kun konetta kuljetetaan, häikäisysuoja on sidottava turvalliseen kohtaan koneeseen häikäisysuojan rungon etupuolella (häikäisysuojan alla) olevista kahdesta aukosta, ettei se nouse ilmavirrassa (Kuva 50).

g018101

Kunnossapito

Kiinnitystarvikkeiden tarkistus ja kiristys

Tarkista ja kiristä kiinnitystarvikkeet kahdeksan käyttötunnin jälkeen. Tarkasta ja kiristä kiinnitystarvikkeet ajoittain.

Häikäisysuojan puhdistus

Puhdista miedolla saippualla tai pesuaineella. Irrota kiinni jäänyt lika tai muut roskat paljain käsin, pehmeällä liinalla tai sienellä.

Note: Jotkin puhdistusaineet tai liinat voivat naarmuttaa tai vahingoittaa häikäisysuojan pintaa. Kokeile puhdistusainetta tai liinaa ensin huomaamattomalla alueella.