Ce produit est conforme à toutes les directives européennes pertinentes. Pour plus de renseignements, reportez-vous à la Déclaration d'incorporation (DOI) à la fin de ce document.

Important: Si vous installez le pare-soleil universel sur un Reelmaster 3100 ou un Groundsmaster 3500/3505, installez également le kit masses de roues. Pour vous procurer le kit masses de roues correct, contactez votre distributeur Toro agréé.

Sécurité

Généralités

Avant l'utilisation

  1. Vous devez lire et comprendre les instructions d'installation avant de monter le pare-soleil.

  2. Maintenez toujours tous les capots, dispositifs de protection et autocollants en place. Si un capot, un dispositif de sécurité ou un autocollant manque, est endommagé ou illisible, réparez ou remplacez-le avant d'utiliser la machine.

  3. Vous ne devez en aucun cas souder, couper, percer, modifier ou déposer l'arceau de sécurité.

  4. Serrez les écrous, boulons et vis qui en ont besoin pour maintenir la machine en bon état de marche.

Pendant l'utilisation

  1. Faites preuve d'une extrême prudence lorsque vous travaillez près de clôtures, de fossés ou sur des pentes.

  2. Vérifiez précisément la hauteur libre avant de passer sous un obstacle (par ex. branches, portes, câbles électriques, etc.) et évitez de le toucher.

  3. Attachez le cadre du pare-soleil lorsque vous transportez la machine.

  4. Portez des protecteurs d'oreilles quand vous utilisez une machine équipée d'un pare-soleil.

Maintenance et entretien

  1. Avant tout entretien ou réglage de la machine, abaissez l'accessoire, coupez le moteur, serrez le frein de stationnement et enlevez la clé de contact.

  2. Pour maintenir la machine en bon état de marche, resserrez régulièrement tous les écrous, boulons et vis.

  3. Portez une protection oculaire pour installer le pare-soleil.

  4. Remplacez le pare-soleil s'il est endommagé. Ne le réparez pas et ne le révisez pas.

  5. Pendant le montage ou l'entretien du pare-soleil, utilisez des supports, élévateurs et chandelles adéquats. Si le pare-soleil n'est pas soutenu correctement, il risque de retomber ou de bouger et de causer des blessures.

  6. Pour préserver le bon fonctionnement et la sécurité de la machine, n'utilisez que des pièces de rechange et des accessoires d'origine Toro. Les pièces de rechange et accessoires d'autres constructeurs peuvent être dangereux. Une telle utilisation pourrait aussi annuler la garantie produit offerte par The Toro Company.

Autocollants de sécurité et d'instruction

Graphic

Des autocollants de sécurité et des instructions bien visibles par l'utilisateur sont placés près de tous les endroits potentiellement dangereux. Remplacez tout autocollant endommagé ou manquant.

Des autocollants de sécurité et d'instruction sont apposés sur le pare-soleil. Remplacez les autocollants illisibles ou endommagés.

decal98-4387

Montage

Préparation de la machine

  1. Garez la machine sur une surface plane et horizontale.

  2. Abaissez les plateaux de coupe au sol et serrez le frein de stationnement.

  3. Coupez le moteur et retirez la clé.

Note: Toutes les machines n'utilisent pas les mêmes pièces pour monter le kit.

Identification et installation des étriers filetés

Ce kit comprend 5 étriers filetés différents. Les étriers filetés sont énumérés selon leurs dimensions (écartement x longueur) dans la liste de pièces. Reportez-vous à la Figure 1 pour déterminer les dimensions des étriers filetés.

g246183

Procédez comme suit lorsque vous installez les étriers filetés sur le support de montage du ROPS :

  • Utilisez uniquement des outils manuels pour serrer les écrous qui fixent les étriers filetés sur le support de montage².

  • Pour assurer une répartition uniforme, serrez les écrous alternativement, comme indiqué à la Figure 2.

g482777

Montage du pare-soleil

Groundsmaster 5900

Pièces nécessaires pour cette opération:

Boulon (¾" x 4")2
Écrou (¾")2
Rondelle (13/16" x 1½")4
Cadre 1
Support de montage du ROPS1
Renfort2
Support de renfort2
Extension2
Boulon (½" x 1½")4
Boulon (½" x 2½") 4
Boulon (½" x 2¾")4
Grande rondelle10
Écrou à embase (½")10
Étrier fileté (4½" x 2¾") 2
Étrier fileté (3⅛" x 4")2
Étrier fileté (3½" x 5")4
Étrier fileté (3½" x 2¾")2
Étrier fileté (4½" x 4")2
Écrou à embase (⅜")8
Pare-soleil 1
Boulon à embase (5/16" x 1¼")4
Petite rondelle4
Bague4
Écrou à clip4
  1. Placez le support du ROPS au sommet de l'arceau de sécurité du groupe de déplacement (Figure 3).

    Note: Centrez bien l'arceau de sécurité dans le support.

    g246182
  2. Montez le cadre sur le support du ROPS (Figure 3).

  3. Utilisez les trous indiqués à la Figure 3 pour fixer le support du ROPS au sommet de l'arceau de sécurité à l'aide de 2 étriers filetés (4½" x 4") et de 4 écrous à embase.

  4. Utilisez les trous indiqués à la Figure 4, pour fixer légèrement chacun des supports de renfort aux montants de l'arceau de sécurité à l'aide d'un étrier fileté (3⅛" x 4") et de 2 écrous à embase.

    g482768
  5. De chaque côté du cadre du pare-soleil, fixez légèrement un renfort dans le deuxième trou du support de renfort à l'aide d'un boulon (½" x 2¾"), d'une rondelle (½"), et d'un écrou à embase (½"), comme montré à la Figure 5.

    g267172
  6. Fixez légèrement un support à chaque renfort à l'aide d'un boulon (½" x 2½"), d'une rondelle (½") et d'un écrou à embase (½"), comme montré à la Figure 5.

  7. Montez ou descendez les supports sur les montants verticaux de l'arceau de sécurité jusqu'à ce que le cadre du pare-soleil soit de niveau avec le sol.

    Note: Utilisez niveau pour vérifier que le cadre est bien de niveau avec le sol.

    Note: Utilisez les trous de montage avant ou arrière dans le support de renfort si vous avez besoin d'un réglage supplémentaire.

  8. Serrez les écrous à embase de l'étrier fileté qui fixe les supports de montage aux montants

  9. Serrez tous les autres écrous à embase comme suit :

    • Serrez les écrous à embase (⅜") à un couple de 41 à 55 N·m.

    • Serrez les écrous à embase (½") à un couple de 113 à 141 N·m.

  10. Lors de l'alignement des trous de fixation, positionnez le pare-soleil sur le cadre comme montré à la Figure 6.

    g245151
  11. Fixez légèrement chaque coin du pare-soleil au cadre avec un boulon à embase (5/16" x 1¼"), une petite rondelle et une bague (Figure 6).

  12. Serrez les boulons de fixation du pare-soleil à un couple de 5 à 6 N·m.

    Important: Ne serrez pas excessivement les boulons de fixation car le pare-soleil pourrait se fissurer.

Montage du pare-soleil

Groundsmaster 3200 ou 3300
  1. L'arceau de sécurité étant abaissé, déposez le ressort à lames anti-vibrations (Figure 7) de chaque côté de l'arceau de sécurité.

    Conservez les ressorts à lames et les boulons, ils serviront lorsque le pavillon n'est pas installé.

    g558139
  2. Relevez l'arceau de sécurité et retirez les goupilles fendues ainsi que les 2 axes (Figure 8).

    g001199
  3. Placez une rondelle (13/16" x 1½") sur chaque boulon (¾" x 4"), comme montré à la Figure 9.

    g558140
  4. Placez les boulons et rondelles dans les trous occupés précédemment par les axes (Figure 9).

  5. Placez une autre rondelle sur chaque boulon et fixez le tout avec des écrous (¾"), comme montré à la Figure 9. Serrez les écrous à un couple de 323 à 396 N·m.

  6. Insérez un boulon (⅜"-16 x 1" ou 1¼") assorti d'un écrou de blocage (les boulons et les écrous de blocage ne sont pas fournis) dans la plaque filetée de chaque côté de la partie inférieure de l'arceau de sécurité, au niveau de la charnière (Figure 9). Serrez le boulon jusqu'à ce qu'il soit contre le tube supérieur de l'arceau de sécurité, puis serrez l'écrou de blocage.

  7. Serrez le boulon de pivot du ROPS (Figure 9) à un couple de 91 à 113 N·m pour empêcher l'arceau de sécurité et le pare-soleil de rebondir.

  8. Placez le support du ROPS au sommet de l'arceau de sécurité du pulvérisateur (Figure 10).

    Note: Centrez bien l'arceau de sécurité dans le support du ROPS.

    g246185
  9. Montez le cadre sur le support du ROPS (Figure 10).

  10. Utilisez les trous indiqués à la Figure 11 pour fixer le support du ROPS au sommet de l'arceau de sécurité à l'aide de 2 étriers filetés (4½" x 2¾") et de 4 écrous à embase.

  11. Utilisez les trous indiqués à la Figure 11 pour fixer légèrement chacun des supports de renfort aux montants de l'arceau de sécurité à l'aide d'un étrier fileté (3½" x 2¾") et de 2 écrous à embase.

    g482769
  12. De chaque côté du cadre du pare-soleil, fixez légèrement une extension dans le quatrième trou du support du renfort à l'aide de 2 boulons (½" x 2¾"), 2 grandes rondelles et 2 écrous à embase (½"), comme montré à la Figure 12.

    g297973
  13. De chaque côté de la machine, fixez légèrement un support à chaque renfort à l'aide d'un boulon (½" x 2¾"), de 3 grandes rondelles et d'un écrou à embase (½"), comme montré à la Figure 13.

    g297972
  14. Montez ou descendez les supports de renfort sur les montants verticaux de l'arceau de sécurité jusqu'à ce que le cadre du pare-soleil soit de niveau avec le sol. Serrez ensuite les écrous à embase des étriers filetés qui fixent les supports aux montants.

    Note: Utilisez niveau pour vérifier que le cadre est bien de niveau avec le sol.

  15. Serrez tous les autres écrous à embase comme suit :

    • Serrez les écrous à embase (⅜") à un couple de 41 à 55 N·m.

    • Serrez les écrous à embase (½") à un couple de 113 à 141 N·m.

  16. Lors de l'alignement des trous de fixation, positionnez le pare-soleil sur le cadre comme montré à la Figure 14.

    g245151
  17. Fixez légèrement chaque coin du pare-soleil au cadre avec un boulon à embase (5/16" x 1¼"), une petite rondelle et une bague (Figure 14).

  18. Serrez les boulons de fixation du pare-soleil à un couple de 5 à 6 N·m.

    Important: Ne serrez pas excessivement les boulons de fixation car le pare-soleil pourrait se fissurer.

Montage du pare-soleil

Groundsmaster 3280
  1. L'arceau de sécurité étant abaissé, déposez le ressort à lames anti-vibrations (Figure 15) de chaque côté de l'arceau de sécurité.

    Conservez les ressorts à lames et les boulons, ils serviront lorsque le pavillon n'est pas installé.

    g558139
  2. Relevez l'arceau de sécurité et retirez les goupilles fendues ainsi que les 2 axes (Figure 16).

    g001199
  3. Placez une rondelle (13/16" x 1½") sur chaque boulon (¾" x 4"), comme montré à la Figure 17.

    g558140
  4. Placez les boulons et rondelles dans les trous occupés précédemment par les axes (Figure 17).

  5. Placez une autre rondelle sur chaque boulon et fixez le tout avec des écrous (¾"), comme montré à la Figure 17. Serrez les écrous à un couple de 323 à 396 N·m.

  6. Insérez un boulon (⅜"-16 x 1" ou 1¼") assorti d'un écrou de blocage (les boulons et les écrous de blocage ne sont pas fournis) dans la plaque filetée de chaque côté de la partie inférieure de l'arceau de sécurité, au niveau de la charnière (Figure 17). Serrez le boulon jusqu'à ce qu'il soit contre le tube supérieur de l'arceau de sécurité, puis serrez l'écrou de blocage.

  7. Serrez le boulon de pivot du ROPS (Figure 17) à un couple de 91 à 113 N·m pour empêcher l'arceau de sécurité et le pare-soleil de rebondir.

  8. Placez le support du ROPS au sommet de l'arceau de sécurité du groupe de déplacement (Figure 18).

    Note: Centrez bien l'arceau de sécurité dans le support du ROPS.

    g246185
  9. Montez le cadre sur le support du ROPS (Figure 18).

  10. Utilisez les trous indiqués à la Figure 18 pour fixer le support du ROPS au sommet de l'arceau de sécurité à l'aide de 2 étriers filetés (4½" x 2¾") et de 4 écrous à embase.

  11. Utilisez les trous indiqués à la Figure 19 pour fixer légèrement chacun des supports de renfort aux montants de l'arceau de sécurité à l'aide d'un étrier fileté (3½" x 2¾") et de 2 écrous à embase.

    g482770
  12. De chaque côté du cadre du pare-soleil, fixez légèrement une extension dans le quatrième trou du support du renfort à l'aide de 2 boulons (½" x 2¾") et 2 écrous à embase (½"), comme montré à la Figure 20.

    g267174
  13. Fixez légèrement un support à chaque renfort à l'aide d'un boulon (½" x 2½"), d'une rondelle (½") et d'un écrou à embase (½"), comme montré à la Figure 20.

  14. Montez ou descendez les supports de renfort sur les montants verticaux de l'arceau de sécurité jusqu'à ce que le cadre du pare-soleil soit de niveau avec le sol. Serrez ensuite les écrous à embase des étriers filetés qui fixent les supports aux montants.

    Note: Utilisez niveau pour vérifier que le cadre est bien de niveau avec le sol.

  15. Serrez tous les autres écrous à embase comme suit :

    • Serrez les écrous à embase (⅜") à un couple de 41 à 55 N·m.

    • Serrez les écrous à embase (½") à un couple de 113 à 141 N·m.

  16. Lors de l'alignement des trous de fixation, positionnez le pare-soleil sur le cadre comme montré à la Figure 21.

    g245151
  17. Fixez légèrement chaque coin du pare-soleil au cadre avec un boulon à embase (5/16" x 1¼"), une petite rondelle et une bague (Figure 21).

  18. Serrez les boulons de fixation du pare-soleil à un couple de 5 à 6 N·m.

    Important: Ne serrez pas excessivement les boulons de fixation car le pare-soleil pourrait se fissurer.

Montage du pare-soleil

Groundsmaster 360 ou 7200
  1. L'arceau de sécurité étant abaissé, déposez le ressort à lames anti-vibrations (Figure 22) de chaque côté de l'arceau de sécurité.

    Conservez les ressorts à lames et les boulons, ils serviront lorsque le pavillon n'est pas installé.

    g560315
  2. Relevez l'arceau de sécurité et retirez les goupilles fendues ainsi que les 2 axes (Figure 23).

    g187726
  3. Placez une rondelle (13/16" x 1½") sur chaque boulon (¾" x 4"), comme montré à la Figure 24.

    g560317
  4. Placez les boulons et rondelles dans les trous occupés précédemment par les axes (Figure 24).

  5. Placez une autre rondelle sur chaque boulon et fixez le tout avec des écrous (¾"), comme montré à la Figure 24. Serrez les écrous à un couple de 323 à 396 N·m.

  6. Insérez un boulon (⅜"-16 x 1" ou 1¼") assorti d'un écrou de blocage (les boulons et les écrous de blocage ne sont pas fournis) dans la plaque filetée de chaque côté de la partie inférieure de l'arceau de sécurité, au niveau de la charnière (Figure 24). Serrez le boulon jusqu'à ce qu'il soit contre le tube supérieur de l'arceau de sécurité, puis serrez l'écrou de blocage.

  7. Serrez le boulon de pivot du ROPS (Figure 24) à un couple de 91 à 113 N·m pour empêcher l'arceau de sécurité et le pare-soleil de rebondir.

  8. Placez le support du ROPS au sommet de l'arceau de sécurité du groupe de déplacement (Figure 25).

    Note: Centrez bien l'arceau de sécurité dans le support du ROPS.

    g246185
  9. Utilisez les trous indiqués à la Figure 25 pour fixer le support au sommet de l'arceau de sécurité à l'aide de 2 étriers filetés (4½" x 2¾") et de 4 écrous à embase.

  10. Utilisez les trous indiqués à la Figure 26 pour fixer légèrement chacun des supports de renfort aux montants de l'arceau de sécurité à l'aide d'un étrier fileté (3½" x 2¾") et de 2 écrous à embase.

    g482771
  11. De chaque côté du cadre du pare-soleil, fixez légèrement un renfort dans le sixième trou du support à l'aide d'un boulon (½" x 2¾"), d'une rondelle (½"), et d'un écrou à embase (½"), comme montré à la Figure 27.

    g267175
  12. Fixez légèrement un support à chaque renfort à l'aide d'un boulon (½" x 2½"), d'une rondelle (½") et d'un écrou à embase (½"), comme montré à la Figure 27.

    Note: Les étriers filetés ne sont pas disposés symétriquement.

  13. Montez ou descendez les supports sur les montants verticaux de l'arceau de sécurité jusqu'à ce que le cadre du pare-soleil soit de niveau avec le sol. Utilisez niveau pour vérifier que le cadre est bien de niveau avec le sol. Serrez ensuite les écrous à embase des étriers filetés qui fixent les supports aux montants.

    Note: Utilisez les trous de montage avant ou arrière dans le support de renfort si un réglage supplémentaire est requis.

  14. Serrez tous les autres écrous à embase comme suit :

    • Serrez les écrous à embase (⅜") à un couple de 41 à 55 N·m.

    • Serrez les écrous à embase (½") à un couple de 113 à 141 N·m.

  15. Lors de l'alignement des trous de fixation, positionnez le pare-soleil sur le cadre comme montré à la Figure 28.

    g245151
  16. Fixez légèrement chaque coin du pare-soleil au cadre avec un boulon à embase (5/16" x 1¼"), une petite rondelle et une entretoise (Figure 28).

  17. Serrez les boulons de fixation du pare-soleil à un couple de 5 à 6 N·m.

    Important: Ne serrez pas excessivement les boulons de fixation car le pare-soleil pourrait se fissurer.

Montage du pare-soleil

Groundsmaster 3500, 3505, 4000 et 4100 ou Reelmaster 3100, 3555 et 3575
  1. Quand vous installez le pare-soleil universel sur un Reelmaster 3100 ou un Groundsmaster 3500/3505, installez également le kit masses de roues.

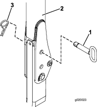
  2. Pour les Reelmaster 3555 et 3575, passez à l'opération 12. Pour tous les autres modèles, relevez l'arceau de sécurité et retirez les goupilles fendues ainsi que les 2 axes (Figure 29).

    g020023
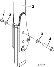
  3. Placez une rondelle (13/16" x 1½") sur chaque boulon (¾" x 4"), comme montré à la Figure 30.

    g020024
  4. Placez les boulons et rondelles dans les trous occupés précédemment par les axes (Figure 30).

  5. Placez une autre rondelle sur chaque boulon et fixez le tout avec un écrou (¾"), comme montré à la Figure 30. Serrez les écrous à un couple de 323 à 396 N·m.

  6. Serrez le boulon de pivot du ROPS (Figure 30) à un couple de 91 à 113 N·m pour empêcher l'arceau de sécurité et le pare-soleil de rebondir.

  7. Placez le support du ROPS au sommet de l'arceau de sécurité du groupe de déplacement (Figure 31). Centrez bien l'arceau de sécurité dans le support du ROPS.

    g246190
  8. Utilisez les trous indiqués à la Figure 31 pour fixer le support du ROPS au sommet de l'arceau de sécurité à l'aide de 2 étriers filetés (4½" x 2¾") et de 4 écrous à embase.

  9. Utilisez les trous indiqués à la Figure 32 pour fixer légèrement chacun des supports de renfort aux montants de l'arceau de sécurité à l'aide d'un étrier fileté (3⅛" x 5") et de 2 écrous à embase.

    g482772
  10. De chaque côté du cadre du pare-soleil, fixez légèrement un renfort au support, comme suit :

    • Pour les modèles 03820, 03821, 30604, 30605, 30608 et 30609, fixez légèrement un raidisseur de chaque côté du cadre du pare-soleil dans le trou arrière du support de raidisseur à l'aide d'un boulon (½" x 2½"), d'une rondelle (½") et d'un écrou à embase (½"), comme montré à la Figure 33.

    • Pour les modèles 30446, 30446N, 30447 et 30447N, fixez légèrement un renfort de chaque côté du cadre du pare-soleil dans le deuxième trou du support de renfort à l'aide d'un boulon (½" x 2½"), d'une rondelle (½") et d'un écrou à embase (½"), comme montré à la Figure 34.

    g267177
    g267178
  11. Fixez légèrement un support à chaque renfort à l'aide d'un boulon (½" x 2½"), d'une rondelle (½") et d'un écrou à embase (½"), comme montré à la Figure 33.

  12. Montez ou descendez le support sur les montants verticaux de l'arceau de sécurité jusqu'à ce que le cadre du pare-soleil soit de niveau avec le sol.

    Note: Utilisez niveau pour vérifier que le cadre est bien de niveau avec le sol.

  13. Serrez les écrous à embase de l'étrier fileté qui fixe les supports de montage aux montants

  14. Serrez tous les autres écrous à embase comme suit :

    • Serrez les écrous à embase (⅜") à un couple de 41 à 55 N·m.

    • Serrez les écrous à embase (½") à un couple de 113 à 141 N·m.

  15. Lors de l'alignement des trous de fixation, positionnez le pare-soleil sur le cadre comme montré à la Figure 35.

    g245151
  16. Fixez légèrement chaque coin du pare-soleil au cadre avec un boulon à embase (5/16" x 1¼"), une petite rondelle et une bague (Figure 35).

  17. Serrez les boulons de fixation du pare-soleil à un couple de 5 à 6 N·m.

    Important: Ne serrez pas excessivement les boulons de fixation car le pare-soleil pourrait se fissurer.

Montage du pare-soleil

Groundsmaster 4500 et 4700 ou Reelmaster 6700 et 7000
  1. Relevez l'arceau de sécurité et retirez la goupille fendue ainsi que l'axe.

    g215450
  2. Placez une rondelle (13/16" x 1½") sur chaque boulon (¾" x 4"), comme montré à la Figure 37.

  3. Placez les boulons et rondelles dans les trous occupés précédemment par les axes (Figure 37).

  4. Placez une autre rondelle sur chaque boulon et fixez le tout avec des écrous (¾"), comme montré à la Figure 37.

  5. Serrez le boulon de pivot du ROPS à un couple de 91 à 113 N·m pour empêcher l'arceau de sécurité et le pare-soleil de rebondir.

    g215449
  6. Placez le support du ROPS au sommet de l'arceau de sécurité du groupe de déplacement (Figure 38). Centrez bien l'arceau de sécurité dans le support du ROPS.

    g246186
  7. Utilisez les trous indiqués à la Figure 38 pour fixer le support du ROPS au sommet de l'arceau de sécurité à l'aide de 2 étriers filetés (3½" x 5") et de 4 écrous à embase.

  8. Utilisez les trous indiqués à la Figure 39 pour fixer légèrement chacun des supports de renfort aux montants de l'arceau de sécurité à l'aide d'un étrier fileté (3½" x 5") et de 2 écrous à embase.

    g245424
  9. De chaque côté du cadre du pare-soleil, fixez légèrement une extension dans les trous arrière et central du support à l'aide de 2 boulons (½" x 1½") et de 2 écrous à embase (½"), comme montré à la Figure 40.

  10. Fixez un renfort à l'extérieur de chaque extension à l'aide d'un boulon (½" x 2½"), d'une rondelle (½") et d'un écrou à embase (½"), comme montré à la Figure 40.

    g245195
  11. Fixez légèrement un support à chaque renfort à l'aide d'un boulon (½" x 2½"), d'une rondelle (½") et d'un écrou à embase (½"), comme montré à la Figure 40.

  12. Montez ou descendez les supports sur les montants verticaux de l'arceau de sécurité jusqu'à ce que le cadre du pare-soleil soit de niveau avec le sol.

    Note: Utilisez niveau pour vérifier que le cadre est bien de niveau avec le sol.

  13. Serrez les écrous à embase des étriers filetés qui fixent les supports aux montants

  14. Serrez tous les autres écrous à embase comme suit :

    • Serrez les écrous à embase (⅜") à un couple de 41 à 55 N·m.

    • Serrez les écrous à embase (½") à un couple de 113 à 141 N·m.

  15. Lors de l'alignement des trous de fixation, positionnez le pare-soleil sur le cadre comme montré à la Figure 41.

    g245151
  16. Fixez légèrement chaque coin du pare-soleil au cadre avec un boulon à embase (5/16" x 1¼"), une petite rondelle et une bague (Figure 41).

  17. Serrez les boulons de fixation du pare-soleil à un couple de 5 à 6 N·m.

    Important: Ne serrez pas excessivement les boulons de fixation car le pare-soleil pourrait se fissurer.

Montage du pare-soleil

Reelmaster 5010 ou Groundsmaster 4300
  1. Placez les supports du ROPS au sommet de l'arceau de sécurité du groupe de déplacement (Figure 42). Centrez bien l'arceau de sécurité dans le support du ROPS.

    g246190
  2. Utilisez les trous indiqués à la Figure 42 pour fixer le support du ROPS au sommet de l'arceau de sécurité à l'aide de 2 étriers filetés (4½" x 2¾") et de 4 écrous à embase.

  3. Utilisez les trous indiqués à la Figure 43 pour fixer légèrement chacun des supports de renfort aux montants de l'arceau de sécurité à l'aide d'un étrier fileté (3½" x 5") et de 2 écrous à embase.

    g482773
  4. De chaque côté du cadre du pare-soleil, fixez légèrement un raidisseur dans le trou arrière du support de renfort à l'aide d'un boulon (½" x 2¾"), de 2 rondelles (½"), et d'un écrou à embase (½"), comme montré à la Figure 44.

    g267177
  5. Fixez légèrement un support à chaque raidisseur à l'aide d'un boulon (½" x 2½"), de 2 rondelles (½") et d'un écrou à embase (½"), comme montré à la Figure 44.

  6. Montez ou descendez les supports sur les montants verticaux de l'arceau de sécurité jusqu'à ce que le cadre du pare-soleil soit de niveau avec le sol.

    Note: Utilisez niveau pour vérifier que le cadre est bien de niveau avec le sol.

  7. Serrez les écrous à embase de l'étrier fileté qui fixe les supports de montage aux montants

  8. Serrez tous les autres écrous à embase comme suit :

    • Serrez les écrous à embase (⅜") à un couple de 41 à 55 N·m.

    • Serrez les écrous à embase (½") à un couple de 113 à 141 N·m.

  9. Lors de l'alignement des trous de fixation, positionnez le pare-soleil sur le cadre comme montré à la Figure 45.

    g245151
  10. Fixez légèrement chaque coin du pare-soleil au cadre avec un boulon à embase (5/16" x 1¼"), une petite rondelle et une bague (Figure 45).

  11. Serrez les boulons de fixation du pare-soleil à un couple de 5 à 6 N·m.

    Important: Ne serrez pas excessivement les boulons de fixation car le pare-soleil pourrait se fissurer.

Montage du pare-soleil

Multi Pro 1750
  1. Placez le support du ROPS au sommet de l'arceau de sécurité du pulvérisateur (Figure 46).

    Note: Centrez bien l'arceau de sécurité dans le support du ROPS.

    g246185
  2. Montez le cadre sur le support du ROPS (Figure 46).

  3. Utilisez les trous indiqués à la Figure 46 pour fixer le support du ROPS au sommet de l'arceau de sécurité à l'aide de 2 étriers filetés (4½" x 2¾") et de 4 écrous à embase.

  4. Utilisez les trous indiqués à la Figure 47 pour fixer légèrement chacun des supports de renfort aux montants de l'arceau de sécurité à l'aide d'un étrier fileté (3½" x 2¾") et de 2 écrous à embase.

    g482774
  5. De chaque côté du cadre du pare-soleil, fixez légèrement une extension dans le quatrième trou du support du renfort à l'aide de 2 boulons (½" x 2¾") et 2 écrous à embase (½"), comme montré à la Figure 48.

    g267174
  6. Fixez légèrement un support à chaque renfort à l'aide d'un boulon (½" x 2½"), d'une rondelle (½") et d'un écrou à embase (½"), comme montré à la Figure 48.

  7. Montez ou descendez les supports de renfort sur les montants verticaux de l'arceau de sécurité jusqu'à ce que le cadre du pare-soleil soit de niveau avec le sol. Serrez ensuite les écrous à embase des étriers filetés qui fixent les supports aux montants.

    Note: Utilisez niveau pour vérifier que le cadre est bien de niveau avec le sol.

  8. Serrez tous les autres écrous à embase comme suit :

    • Serrez les écrous à embase (⅜") à un couple de 41 à 55 N·m.

    • Serrez les écrous à embase (½") à un couple de 113 à 141 N·m.

  9. Lors de l'alignement des trous de fixation, positionnez le pare-soleil sur le cadre comme montré à la Figure 49.

    g245151
  10. Fixez légèrement chaque coin du pare-soleil au cadre avec un boulon à embase (5/16" x 1¼"), une petite rondelle et une bague (Figure 49).

  11. Serrez les boulons de fixation du pare-soleil à un couple de 5 à 6 N·m.

    Important: Ne serrez pas excessivement les boulons de fixation car le pare-soleil pourrait se fissurer.

Utilisation

Transport de la machine

Lorsque vous transportez la machine, utilisez les 2 trous à l'avant du cadre du pare-soleil (sous le pare-soleil) pour attacher solidement le pare-soleil sur la machine et l'empêcher d'être soulevé par le vent (Figure 50).

g018101

Entretien

Contrôle et resserrage des fixations

Contrôlez et resserrez les fixations après 8 heures de fonctionnement. Examinez et resserrez les fixations périodiquement.

Nettoyage du pare-soleil

Lavez avec un savon ou un détergent doux à mains nues, avec un chiffon doux ou une éponge pour supprimer la saleté ou les corps étrangers collés à la surface.

Note: L'utilisation de certains produits ou chiffons de nettoyage peut rayer ou détériorer la surface du pare-soleil. Faites un essai avec le produit ou le chiffon de nettoyage dans un endroit discret.