この製品は、関連する全ての欧州指令に適合しています。詳細についてはこの冊子の末尾にあるDOI(適合宣誓書)をご覧ください。

Important: このユニバーサルサンシェードをリールマスター 3100 のトラクションユニットまたはグランドマスター 3500/3505 のトラクションユニットに取り付ける場合にはホイールウェイトキットが必要となります。ホイールウェイトキットの選択については、代理店にご相談ください。

安全について

概要

運転の前に

  1. このサンシェードを取り付ける前に、取り付け要領書の説明を十分に理解してください。

  2. ガードなどの安全装置やステッカー類は必ず所定の場所に取り付けて使用してください。安全カバーが破損したり、ステッカーの字が読めなくなったりした場合には、機械を使用する前に修理し、ステッカーは新しいものに貼り換えてください。

  3. 絶対にROPSを外さないでください。また、溶接、切断、穴あけなども一切しないでください。

  4. 常に機械全体の安全を心掛け、ボルト、ナット、ねじ類が十分に締まっているかを確認してください。

運転中に

  1. フェンス、溝や小川、法面などでの作業には十分な注意を払ってください。

  2. 頭上の安全(木の枝、門、電線など)に注意し、これらに機械や頭をぶつけないように注意すること。

  3. マシンを輸送する場合は、サンシェードのフレームをロープなどで固定してください。

  4. サンシェードを取り付けて運転する時は、必ず聴覚保護具を使用してください。

保守と整備

  1. 整備・調整作業の前には必ずインプレメントを降下させ、エンジンを停止し、駐車ブレーキを掛け、キーを抜いておくこと。

  2. ボルト、ナット、ねじ類は十分に締めつけ、常に機械全体の安全を心掛けてください。

  3. サンシェードの取り付けに際しては、保護めがねを着用してください。

  4. 破れや穴ができたサンシェードは交換してください。修理や裏返しての使用はしないでください。

  5. サンシェードの取り付けに際して機体を浮かせる必要があるときには、適切な支持台、ホイスト、ジャッキなどを使用してください。サンシェードがしっかり保持されていないと、動いたり落下したりする危険があり、重大な人身事故の原因となります。

  6. いつも最高の性能を維持するために、必ずトロの純正部品をご使用ください。他社の部品やアクセサリを使用すると危険な場合があります。このような使い方をするとトロ社の製品保証が適用されなくなります。

安全ラベルと指示ラベル

Graphic

危険な部分の近くには、見やすい位置に安全ラベルや指示ラベルを貼付しています。破損したりはがれたりした場合は新しいラベルを貼付してください。

サンシェードには、安全・支持ステッカーが貼り付けてあります。これらが読めなくなった場合には、貼り替えてください。

decal98-4387

取り付け

マシンの準備を行う

  1. 平らな場所に駐車する。

  2. カッティングユニットを下降させ、駐車ブレーキを掛ける。

  3. エンジンを止め、キーを抜き取る。

Note: キットに付属している部品は全部使用するとは限りません。

Uボルトの識別と取り付け

キットには全部で 5 種類のUボルトが入っています。パーツリストでは、寸法順(間隔と長さ)にUボルトを掲載しています。図 1 でUボルトの寸法を確認してください。

g246183

ROPSマウントブラケットにUボルトを取り付けるときは、次の手順を実行します。

  • マウントブラケットにUボルトを固定するナットを締めるには、手動工具のみを使ってくださ

  • 均一な配分を確保するには、 図 2に示すように交互のパターンでナットを締めます。

g482777

サンシェードを取り付ける

グランドマスター 5900 シリーズの場合

この作業に必要なパーツ

ボルト(¾ x 4")2
ナット(¾")2
ワッシャ(13/16 x 1½")4
フレームアセンブリ 1
ROPS 取り付けブラケット1
ブレース2
ブレースブラケット2
延長リンク2
ボルト(½" x 1½")4
ボルト(½ x 2½") 4
ボルト(½ x 2¾")4
ワッシャ(大)10
フランジナット(½")10
Uボルト(4½ x 2¾") 2
Uボルト(3⅛ x 4")2
Uボルト(½ x 5")4
Uボルト(3½ x 2¾")2
Uボルト(4½ x 4")2
フランジナット(⅜")8
サンシェード 1
フランジヘッドボルト (5/16 x 1¼")4
ワッシャ(小)4
ハトメ4
クリップナット4
  1. ROPS 取り付けブラケットを、トラクションユニット ROPS の上部にセットする(図 3)。

    Note: ROPS がブラケットの中央にあることを確認してください。

    g246182
  2. ROPS 取り付けブラケットにフレームアセンブリを取り付ける(図 3)。

  3. 3 に示されている取り付け穴を利用して、ROPS 取り付けブラケットを ROPS 上部に取り付ける;Uボルト(4½ x 4")2 本とフランジナット 4 個を使用する。

  4. 4 に示されている取り付け穴を利用して、各ブレースブラケットを ROPS の柱材に取り付ける;Uボルト(3⅛ x 4")とフランジナット 2 個を使用する。

    g482768
  5. サンシェードのフレームの左右それぞれの側で、ブレース取り付け部の 2 番目の穴にブレースを仮止めする;ボルト(½ x 2¾")、ワッシャ(½")、フランジナット(½")を使用して図 5のように取り付ける。

    g267172
  6. 各ブレースに、ブレースブラケットを仮止めする;ボルト(½ x 2½")、ワッシャ(½")、フランジナット(1/2")を使用し、図 5のように取り付ける。

  7. ROPSの柱に沿ってブレースブラケットを上下させて、サンシェードを床面に対して平行にする。

    Note: 水準器を使って、フレームが水平であることを確認する。

    Note: さらに調整が必要な場合には、ブレースブラケットの前後についている取り付け穴を利用してください。

  8. Uボルトのフランジナットを締め付けて、取り付けブラケットを柱に完全に固定する。

  9. 以下の順序で、残りのフランジナット全部を本締めする:

    • フランジナット(⅜")を41-55 N·m(4.7-5.7 kg∙m = 30-41 ft-lb)にトルク締めする。

    • フランジナット(½")を113-141 N·m(12-14 kg∙m = 84-104 ft-lb)にトルク締めする。

  10. 6 に示すようにサンシェードをフレームに載せて、取り付け穴を整列させる。

    g245151
  11. サンシェードの各コーナー部をフレームに仮止めする;フランジヘッドボルト(5/16 x ¼")1本、小さいワッシャ1枚、ハトメ 1 個を使用する(図 6)。

  12. サンシェード取り付けボルトを 5-6 N·m(0.52-0.63 kg.m = 45-55 in-lb)にトルク締めする。

    Important: 締め付け過ぎるをサンシェードが割れるので十分に注意すること。

サンシェードを取り付ける

グランドマスター 3200 および 3300 の場合
  1. ロールバーを下げた状態で、ロールバーの両側からガタつき防止用のリーフスプリング (図 7) を取り外す。

    キャノピーが取り付けられていないときに使うために、リーフスプリングとボルトを保管しておくこと。

    g558139
  2. ROPSを立てた状態で、ヘアピンコッターと2本のピンを抜き取る(図 8)。

    g001199
  3. 9に示すように、ワッシャ(13/16 x 1½")を各ボルト(¾ x 4")に組み付ける。

    g558140
  4. ピンを抜いた穴に、ボルトとワッシャを取りつける(図 9)。

  5. 9のように各ボルトにもう1枚のワッシャを入れ、ナット(¾")で固定する。各ナットを 323-396 N·m(33-40 kg.m = 238-292 ft-lb)にトルク締めする。

  6. ヒンジエリアのロールバーの下部の両側にあるねじ付きプレートに、ボルト (3/8-16 x 1”または 1-1/4 ”) とジャムナット (ボルトとジャム ナットは未同梱) を取り付ける (図 9) 。ボルトを上部のロールバーチューブにしっかりと固定されるまで締め付け、ジャムナットを締め付ける。

  7. ロールバーとサンシェードが跳ね上がるのを防ぐために、ROPSピボットボルト (図 9) を 91~113 N∙m (9.8~12.2 kgm) のトルクで締め付ける。

  8. ROPS 取り付けブラケットを、スプレーヤの ROPS の上部にセットする(図 10)。

    Note: ROPS が ROPS 取り付けブラケットの中央にあることを確認してください。

    g246185
  9. ROPS 取り付けブラケットにフレームアセンブリを取り付ける(図 10)。

  10. 11 に示されている取り付け穴を利用して、ROPS 取り付けブラケットを ROPS 上部に取り付ける;Uボルト(4-1/2 x 2-3/4")2 本とフランジナット 4 個を使用する。

  11. 11 に示されている取り付け穴を利用して、各ブレースブラケットを ROPS の柱材に取り付ける;Uボルト(3½ x 2¾")とフランジナット 2 個を使用する。

    g482769
  12. サンシェードのフレームの左右それぞれの側で、ブレース取り付け部の 4 番目の穴に延長リンクを仮止めする;ボルト(½ x 2¾")2 本、大きいワッシャ(2枚)、フランジナット(½")2 個を使用して図 12のように取り付ける。

    g297973
  13. 車両の左右それぞれで、各ブレースに、ブレースブラケットを仮止めする;ボルト(½ x 2¾")、大きいワッシャ(3枚)、フランジナット(½")を使用し、図 13のように取り付ける。

    g297972
  14. ROPSの柱に沿ってブレースブラケットを上下させて、サンシェードを地面に対して平行にし、次に U ボルトのフランジナットを締め付けて取り付けブラケットを固定する。

    Note: 水準器を使って、フレームが水平であることを確認する。

  15. 以下の順序で、残りのフランジナット全部を本締めする:

    • フランジナット(⅜")を41-55 N·m(4.7-5.7 kg∙m = 30-41 ft-lb)にトルク締めする。

    • フランジナット(½")を113-141 N·m(12-14 kg∙m = 84-104 ft-lb)にトルク締めする。

  16. 14 に示すようにサンシェードをフレームに載せて、取り付け穴を整列させる。

    g245151
  17. サンシェードの各コーナー部をフレームに仮止めする;フランジヘッドボルト(5/16 x ¼")1本、小さいワッシャ1枚、ハトメ 1 個を使用する(図 14)。

  18. サンシェード取り付けボルトを 5-6 N·m(0.52-0.63 kg.m = 45-55 in-lb)にトルク締めする。

    Important: 締め付け過ぎるをサンシェードが割れるので十分に注意すること。

サンシェードを取り付ける

グランドマスター 3280 シリーズの場合
  1. ロールバーを下げた状態で、ロールバーの両側からガタつき防止用のリーフスプリング (図 15) を取り外す。

    キャノピーが取り付けられていないときに使うために、リーフスプリングとボルトを保管しておくこと。

    g558139
  2. ROPSを立てた状態で、ヘアピンコッターと2本のピンを抜き取る(図 16)。

    g001199
  3. 17に示すように、ワッシャ(13/16 x 1½")を各ボルト(¾ x 4")に組み付ける。

    g558140
  4. ピンを抜いた穴に、ボルトとワッシャを取りつける(図 17)。

  5. 17のように各ボルトにもう1枚のワッシャを入れ、ナット(¾")で固定する。各ナットを 323-396 N·m(33-40 kg.m = 238-292 ft-lb)にトルク締めする。

  6. ヒンジエリアのロールバーの下部の両側にあるねじ付きプレートに、ボルト (3/8-16 x 1”または 1-1/4 ”) とジャムナット (ボルトとジャム ナットは未同梱) を取り付ける (図 17) 。ボルトを上部のロールバーチューブにしっかりと固定されるまで締め付け、ジャムナットを締め付ける。

  7. ロールバーとサンシェードが跳ね上がるのを防ぐために、ROPSピボットボルト (図 17) を 91~113 N∙m (9.8~12.2 kgm) のトルクで締め付ける。

  8. ROPS 取り付けブラケットを、トラクションユニット ROPS の上部にセットする(図 18)。

    Note: ROPS が ROPS 取り付けブラケットの中央にあることを確認してください。

    g246185
  9. ROPS 取り付けブラケットにフレームアセンブリを取り付ける(図 18)。

  10. 18 に示されている取り付け穴を利用して、ROPS 取り付けブラケットを ROPS 上部に取り付ける;Uボルト(4-1/2 x 2-3/4")2 本とフランジナット 4 個を使用する。

  11. 19 に示されている取り付け穴を利用して、各ブレースブラケットを ROPS の柱材に取り付ける;Uボルト(3½ x 2¾")とフランジナット 2 個を使用する。

    g482770
  12. サンシェードのフレームの左右それぞれの側で、ブレース取り付け部の 4 番目の穴に延長リンクを仮止めする;ボルト(½ x 2¾")2 本、フランジナット(½")2 個を使用して図 20のように取り付ける。

    g267174
  13. 各ブレースに、ブレースブラケットを仮止めする;ボルト(½ x 2½")、ワッシャ(½")、フランジナット(½")を使用し、図 20のように取り付ける。

  14. ROPSの柱に沿ってブレースブラケットを上下させて、サンシェードを地面に対して平行にし、次に U ボルトのフランジナットを締め付けて取り付けブラケットを固定する。

    Note: 水準器を使って、フレームが水平であることを確認する。

  15. 以下の順序で、残りのフランジナット全部を本締めする:

    • フランジナット(⅜")を41-55 N·m(4.7-5.7 kg∙m = 30-41 ft-lb)にトルク締めする。

    • フランジナット(½")を113-141 N·m(12-14 kg∙m = 84-104 ft-lb)にトルク締めする。

  16. 21 に示すようにサンシェードをフレームに載せて、取り付け穴を整列させる。

    g245151
  17. サンシェードの各コーナー部をフレームに仮止めする;フランジヘッドボルト(5/16 x ¼")1本、小さいワッシャ1枚、ハトメ 1 個を使用する(図 21)。

  18. サンシェード取り付けボルトを 5-6 N·m(0.52-0.63 kg.m = 45-55 in-lb)にトルク締めする。

    Important: 締め付け過ぎるをサンシェードが割れるので十分に注意すること。

サンシェードを取り付ける

グランドマスター 360 および 7200 の場合
  1. ロールバーを下げた状態で、ロールバーの両側からガタつき防止用のリーフスプリング (図 22) を取り外す。

    キャノピーが取り付けられていないときに使うために、リーフスプリングとボルトを保管しておくこと。

    g560315
  2. ROPSを立てた状態で、ヘアピンコッターと2本のピンを抜き取る(図 23)。

    g187726
  3. 24に示すように、ワッシャ(13/16 x 1½")を各ボルト(¾ x 4")に組み付ける。

    g560317
  4. ピンを抜いた穴に、ボルトとワッシャを取りつける(図 24)。

  5. 24のように各ボルトにもう1枚のワッシャを入れ、ナット(¾")で固定する。各ナットを 323-396 N·m(33-40 kg.m = 238-292 ft-lb)にトルク締めする。

  6. ヒンジエリアのロールバーの下部の両側にあるねじ付きプレートに、ボルト (3/8-16 x 1”または 1-1/4 ”) とジャムナット (ボルトとジャム ナットは未同梱) を取り付ける (図 24) 。ボルトを上部のロールバーチューブにしっかりと固定されるまで締め付け、ジャムナットを締め付ける。

  7. ロールバーとサンシェードが跳ね上がるのを防ぐために、ROPSピボットボルト (図 24) を 91~113 N∙m (9.8~12.2 kgm) のトルクで締め付ける。

  8. ROPS 取り付けブラケットを、トラクションユニット ROPS の上部にセットする(図 25)。

    Note: ROPS が ROPS 取り付けブラケットの中央にあることを確認してください。

    g246185
  9. 25 に示されている取り付け穴を利用して、ブラケットをROPS上部に取り付ける;Uボルト(4½" x 2¾")2本とフランジナット4個を使用する。

  10. 26 に示されている取り付け穴を利用して、各ブレースブラケットを ROPS の柱材に取り付ける;Uボルト(3½ x 2¾")とフランジナット 2 個を使用する。

    g482771
  11. サンシェードのフレームの左右それぞれの側で、ブラケット取り付け部の 6 番目の穴にブレースを仮止めする;ボルト(½ x 2¾")、ワッシャ(½")、フランジナット(½")を使用して図 27のように取り付ける。

    g267175
  12. 各ブレースに、ブレースブラケットを仮止めする;ボルト(½ x 2½")、ワッシャ(½")、フランジナット(½")を使用し、図 27のように取り付ける。

    Note: Uボルトは対称形にはなりません。

  13. ROPSの柱に沿ってブレースブラケットを上下させて、サンシェードを床面に対して平行にする。水準器を使って、フレームが水平であることを確認する。確認できたら、Uボルトのフランジナットを締め付けて、ブレースブラケットを柱に完全に固定する。

    Note: さらに調整が必要な場合には、ブレースブラケットの前後についている取り付け穴を利用してください。

  14. 以下の順序で、残りのフランジナット全部を本締めする:

    • フランジナット(⅜")を41-55 N·m(4.7-5.7 kg∙m = 30-41 ft-lb)にトルク締めする。

    • フランジナット(½")を113-141 N·m(12-14 kg∙m = 84-104 ft-lb)にトルク締めする。

  15. 28 に示すようにサンシェードをフレームに載せて、取り付け穴を整列させる。

    g245151
  16. サンシェードの各コーナー部をフレームに仮止めする;フランジヘッドボルト(5/16 x 1¼")1本、小さいワッシャ1枚、ハトメ 1 個を使用する(図 28)。

  17. サンシェード取り付けボルトを 5-6 N·m(0.52-0.63 kg.m = 45-55 in-lb)にトルク締めする。

    Important: 締め付け過ぎるをサンシェードが割れるので十分に注意すること。

サンシェードを取り付ける

グランドマスター 3500, 3505, 4000, 4100 またはリールマスター 3100, 3555, 3575 の場合
  1. このユニバーサルサンシェードをリールマスター 3100 のトラクションユニットまたはグランドマスター 3500/3505 のトラクションユニットに取り付ける場合にはホイールウェイトキットが必要となります。

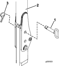
  2. リールマスター 3555 および 3575 のトラクションユニットの場合は、ステップ12へ飛んでください。それ以外のモデルでは、ROPSを立てた状態で、ヘアピンコッターと2本のピンを抜き取る(図 29)。

    g020023
  3. 30に示すように、ワッシャ(13/16 x 1½")を各ボルト(¾ x 4")に組み付ける。

    g020024
  4. ピンを抜いた穴に、ボルトとワッシャを取りつける(図 30)。

  5. 30のように各ボルトにもう1枚のワッシャを入れ、ナット(¾")で固定する。各ナットを 323-396 N·m(33-40 kg.m = 238-292 ft-lb)にトルク締めする。

  6. ROPSのピボットボルト(図 30)をトルク締めする;91-113 N∙m(9.3-11.5 kg.m = 67-83 ft-lb)。これはサンシェードの重みでROPSが揺れるのを防止するためである。

  7. ROPS 取り付けブラケットを、トラクションユニット ROPS の上部にセットする(図 31)。ROPS が ROPS 取り付けブラケットの中央にあることを確認してください。

    g246190
  8. 31 に示されている取り付け穴を利用して、ROPS 取り付けブラケットを ROPS 上部に固定する;Uボルト(4½ x 2¾")2 本とフランジナット 4 個を使用する。

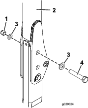
  9. 32 に示されている取り付け穴を利用して、各ブレースブラケットを ROPS の柱材に取り付ける;Uボルト(3-1/8 x 5")とフランジナット 2 個を使用する。

    g482772
  10. サンシェードのフレームの左右それぞれの側で、以下の要領でブレースブラケットにブレースを仮止めする:

    • モデル 03820、03821、30604、30605、30608 および 30609 の場合は、サンシェードのフレームの左右それぞれの側で、ブレースブラケットの後ろの穴にブレースを仮止めする;ボルト(½ x 2½")、ワッシャ(½")、フランジナット(½")を使用して図 33のように取り付ける。

    • モデル 30446、30446N、30447 および 30447N の場合は、サンシェードのフレームの左右それぞれの側で、ブレースブラケットのふたつ目の穴にブレースを仮止めする;ボルト(½ x 2½")、ワッシャ(½")、フランジナット(½")を使用して図 34のように取り付ける。

    g267177
    g267178
  11. 各ブレースに、ブレースブラケットを仮止めする;ボルト(½ x 2½")、ワッシャ(½")、フランジナット(½")を使用し、図 33のように取り付ける。

  12. ROPSの柱に沿ってブレースブラケットを上下させて、サンシェードを床面に対して平行にする。

    Note: 水準器を使って、フレームが水平であることを確認する。

  13. Uボルトのフランジナットを締め付けて、取り付けブラケットを柱に完全に固定する。

  14. 以下の順序で、残りのフランジナット全部を本締めする:

    • フランジナット(⅜")を41-55 N·m(4.7-5.7 kg∙m = 30-41 ft-lb)にトルク締めする。

    • フランジナット(½")を113-141 N·m(12-14 kg∙m = 84-104 ft-lb)にトルク締めする。

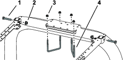
  15. 35 に示すようにサンシェードをフレームに載せて、取り付け穴を整列させる。

    g245151
  16. サンシェードの各コーナー部をフレームに仮止めする;フランジヘッドボルト(5/16 x ¼")1本、小さいワッシャ1枚、ハトメ 1 個を使用する(図 35)。

  17. サンシェード取り付けボルトを 5-6 N∙m(0.52-0.63 kg∙m = 45-55 in-lb)にトルク締めする。

    Important: 締め付け過ぎるをサンシェードが割れるので十分に注意すること。

サンシェードを取り付ける

グランドマスター 4500、4700、リールマスター 6700、7000 の場合
  1. ROPSを立てた状態で、ヘアピンコッターとピンを抜き取る。.

    g215450
  2. 37に示すように、ワッシャ(13/16 x 1½")を各ボルト(¾ x 4")に組み付ける。

  3. ピンを抜いた穴に、ボルトとワッシャを取りつける(図 37)。

  4. 37のように各ボルトにもう1枚のワッシャを入れ、ナット(¾")で固定する。

  5. ROPSのピボットボルトをトルク締めする;91-113 N∙m(9.3-11.5 kg.m = 67-83 ft-lb)。これはサンシェードの重みでROPSが揺れるのを防止するためである。

    g215449
  6. ROPS 取り付けブラケットを、トラクションユニット ROPS の上部にセットする(図 38)。ROPS が ROPS 取り付けブラケットの中央にあることを確認してください。

    g246186
  7. 38 に示されている取り付け穴を利用して、ROPS 取り付けブラケットを ROPS 上部に取り付ける;Uボルト(3½ x 5")2 本とフランジナット 4 個を使用する。

  8. 39 に示されている取り付け穴を利用して、各ブレースブラケットを ROPS の柱材に取り付ける;Uボルト(3-1/2 x 5")とフランジナット 2 個を使用する。

    g245424
  9. サンシェードのフレームの左右それぞれの側で、取り付けブラケットの後ろと中央の穴とに延長リンクを仮止めする;ボルト(½ x 1½")2 本、フランジナット(½")2 個を使用して図 40のように取り付ける。

  10. 各延長リンクの外側にブレースを取り付ける;ボルト(½ x 2½")、ワッシャ(½")、フランジナット(½")を使用し、図 40のように取り付ける。

    g245195
  11. 各ブレースに、ブレースブラケットを仮止めする;ボルト(½ x 2½")、ワッシャ(½")、フランジナット(½")を使用し、図 40のように取り付ける。

  12. ROPSの柱に沿ってブレースブラケットを上下させて、サンシェードを床面に対して平行にする。

    Note: 水準器を使って、フレームが水平であることを確認する。

  13. Uボルトのフランジナットを締め付けて、取り付けブラケットを柱に完全に固定する。

  14. 以下の順序で、残りのフランジナット全部を本締めする:

    • フランジナット(⅜")を41-55 N·m(4.7-5.7 kg∙m = 30-41 ft-lb)にトルク締めする。

    • フランジナット(½")を113-141 N·m(12-14 kg∙m = 84-104 ft-lb)にトルク締めする。

  15. 41 に示すようにサンシェードをフレームに載せて、取り付け穴を整列させる。

    g245151
  16. サンシェードの各コーナー部をフレームに仮止めする;フランジヘッドボルト(5/16 x ¼")1本、小さいワッシャ1枚、ハトメ 1 個を使用する(図 41)。

  17. サンシェード取り付けボルトを 5-6 N∙m(0.52-0.63 kg∙m = 45-55 in-lb)にトルク締めする。

    Important: 締め付け過ぎるをサンシェードが割れるので十分に注意すること。

サンシェードを取り付ける

リールマスター 5010 およびグランドマスター 4300 の場合
  1. ROPS 取り付けブラケットを、トラクションユニット ROPS の上部にセットする(図 42)。ROPS が ROPS 取り付けブラケットの中央にあることを確認してください。

    g246190
  2. 42 に示されている取り付け穴を利用して、ROPS 取り付けブラケットを ROPS 上部に取り付ける;Uボルト(4-1/2 x 2-3/4")2 本とフランジナット 4 個を使用する。

  3. 43 に示されている取り付け穴を利用して、各ブレースブラケットを ROPS の柱材に取り付ける;Uボルト(3-1/8 x 5")とフランジナット 2 個を使用する。

    g482773
  4. サンシェードのフレームの左右それぞれの側で、ブレース取り付け部の後ろの穴にブレースを仮止めする;ボルト(½ x 4½")、ワッシャ(½")2 枚、フランジナット(½")3 個を使用して図 44のように取り付ける。

    g267177
  5. 各ブレースに、ブレースブラケットを仮止めする;ボルト(½ x 2½")、ワッシャ(½")2 枚、フランジナット(½")1 個を使用し、図 44のように取り付ける。

  6. ROPSの柱に沿ってブレースブラケットを上下させて、サンシェードを床面に対して平行にする。

    Note: 水準器を使って、フレームが水平であることを確認する。

  7. Uボルトのフランジナットを締め付けて、取り付けブラケットを柱に完全に固定する。

  8. 以下の順序で、残りのフランジナット全部を本締めする:

    • フランジナット(⅜")を41-55 N·m(4.7-5.7 kg∙m = 30-41 ft-lb)にトルク締めする。

    • フランジナット(½")を113-141 N·m(12-14 kg∙m = 84-104 ft-lb)にトルク締めする。

  9. 45 に示すようにサンシェードをフレームに載せて、取り付け穴を整列させる。

    g245151
  10. サンシェードの各コーナー部をフレームに仮止めする;フランジヘッドボルト(5/16 x ¼")1本、小さいワッシャ1枚、ハトメ 1 個を使用する(図 45)。

  11. サンシェード取り付けボルトを 5-6 N∙m(0.52-0.63 kg∙m = 45-55 in-lb)にトルク締めする。

    Important: 締め付け過ぎるをサンシェードが割れるので十分に注意すること。

サンシェードを取り付ける

マルチプロ 1750
  1. ROPS 取り付けブラケットを、スプレーヤの ROPS の上部にセットする(図 46)。

    Note: ROPS が ROPS 取り付けブラケットの中央にあることを確認してください。

    g246185
  2. ROPS 取り付けブラケットにフレームアセンブリを取り付ける(図 46)。

  3. 46 に示されている取り付け穴を利用して、ROPS 取り付けブラケットを ROPS 上部に取り付ける;Uボルト(4-1/2 x 2-3/4")2 本とフランジナット 4 個を使用する。

  4. 47 に示されている取り付け穴を利用して、各ブレースブラケットを ROPS の柱材に取り付ける;Uボルト(3½ x 2¾")とフランジナット 2 個を使用する。

    g482774
  5. サンシェードのフレームの左右それぞれの側で、ブレース取り付け部の 4 番目の穴に延長リンクを仮止めする;ボルト(½ x 2¾")2 本、フランジナット(½")2 個を使用して図 48のように取り付ける。

    g267174
  6. 各ブレースに、ブレースブラケットを仮止めする;ボルト(½ x 2½")、ワッシャ(½")、フランジナット(½")を使用し、図 48のように取り付ける。

  7. ROPSの柱に沿ってブレースブラケットを上下させて、サンシェードを地面に対して平行にし、次に U ボルトのフランジナットを締め付けて取り付けブラケットを固定する。

    Note: 水準器を使って、フレームが水平であることを確認する。

  8. 以下の順序で、残りのフランジナット全部を本締めする:

    • フランジナット(⅜")を41-55 N·m(4.7-5.7 kg∙m = 30-41 ft-lb)にトルク締めする。

    • フランジナット(½")を113-141 N·m(12-14 kg∙m = 84-104 ft-lb)にトルク締めする。

  9. 49 に示すようにサンシェードをフレームに載せて、取り付け穴を整列させる。

    g245151
  10. サンシェードの各コーナー部をフレームに仮止めする;フランジヘッドボルト(5/16 x ¼")1本、小さいワッシャ1枚、ハトメ 1 個を使用する(図 49)。

  11. サンシェード取り付けボルトを 5-6 N·m(0.52-0.63 kg.m = 45-55 in-lb)にトルク締めする。

    Important: 締め付け過ぎるをサンシェードが割れるので十分に注意すること。

運転操作

移動走行を行うとき

マシンを輸送する場合には、輸送中にサンシェードが強風などでめくれ上がらないように、サンシェードフレームの前部(シェードの下)についている2つの穴を利用して、ロープなどでサンシェードをマシン本体の安全な部位にしっかりと固定してください(図 50)。

g018101

保守

各締結部の点検と再締め付け

8運転時間後に各締結部の点検および締め付けを行ってください。定期的に点検を行い、ゆるんでいる部分があれば締め付けてください。

サンシェードの清掃

マイルドな石鹸または洗剤を使って、素手、柔らかい布、スポンジなどで、こびりついているごみやほこりを落としてください。

Note: クリーナーや清掃布の種類によっては、サンシェードの表面が荒れたり、傷が付いたりする場合がありますからご注意ください。初めて使用する洗剤や布は、目立たない場所でテストを行ってから本使用するようにしてください。