Vedlikehold
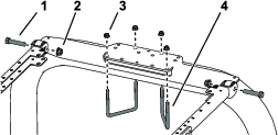
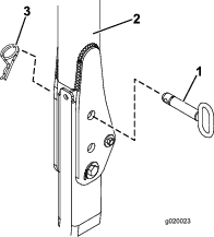
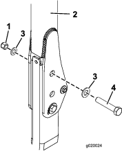
Kontrollere og stramme deler
Kontroller og stram monteringsdelene etter åtte timers bruk. Undersøk og stram monteringsdelene periodevis.
Rengjøre solskjermen
Vask med en mild såpe eller rengjøringsmiddel med hendene, og bruk en myk klut eller svamp til å frigjøre eller fjerne materiale som sitter fast eller andre fremmedlegemer.
Note: Bruk av noen rengjøringsmidler eller kluter kan ripe eller slipe overflaten til solskjermen. Test rengjøringsmiddelet på et område som er lite synlig.



































