Dette produkt overholder alle relevante EU-direktiver. Få yderligere oplysninger i inkorporeringserklæringen bagest i denne udgivelse.

Important: Hvis du monterer den universelle solskærm på en Reelmaster 3100-traktionsenhed eller en Groundsmaster 3500-/3505-traktionsenhed, skal du montere hjulvægtsættet. Kontakt din autoriserede Toro-forhandler for at få det korrekte hjulvægtsæt.

Sikkerhed

Generelt

Før betjening

  1. Læs og forstå indholdet i monteringsvejledningen, før solskærmen monteres.

  2. Sørg for, at alle afskærmninger, sikkerhedsanordninger og mærkater er i orden og sidder korrekt. Hvis en afskærmning, sikkerhedsanordning eller mærkat er defekt, ulæselig eller beskadiget, skal den repareres eller udskiftes, før maskinen sættes i drift.

  3. Styrtbøjlen må på ingen måde svejses, beskæres, bores, ændres eller fjernes.

  4. Tilspænd løse møtrikker, bolte eller skruer for at sikre, at maskinen er i sikker driftsmæssig stand.

Under drift

  1. Vær yderst forsigtig, når du arbejder tæt på hegn, grøfter eller på bakkeskråninger.

  2. Kontroller omhyggeligt, om der er fri højde over dit hoved, dvs. om der er fri for grene, døråbninger, elektriske ledninger, før du kører under nogen genstand, og kom ikke i berøring med sådanne.

  3. Bind solskærmens ramme fast, når du transporterer maskinen.

  4. Brug høreværn, når du betjener en maskine med en solskærm.

Vedligeholdelse og service

  1. Før du servicerer eller udfører justeringer, skal du sænke redskabet, slukke for motoren, aktivere parkeringsbremsen og tage nøglen ud.

  2. Sørg for, at maskinen er i sikker driftsmæssig stand ved at holde alle møtrikker, bolte og skruer fast tilspændte.

  3. Husk at benytte beskyttelsesbriller under monteringen af solskærmen.

  4. Udskift en beskadiget solskærm. Foretag ikke reparation.

  5. Under monteringen af solskærmen, eller når der udføres service, skal du benytte de korrekte støtter, hejseanordninger og donkrafte. Hvis solskærmen ikke er korrekt understøttet, kan den flytte sig eller vælte, hvilket kan føre til personskade.

  6. Køb altid originale Toro-reservedele og originalt tilbehør for at sikre optimal ydeevne og sikkerhed. Reservedele og tilbehør fremstillet af andre producenter kan være farlige. En sådan brug kan ugyldiggøre produktgarantien fra The Toro Company.

Sikkerheds- og instruktionsmærkater

Graphic

Sikkerheds- og instruktionsmærkaterne kan nemt ses af operatøren og er placeret tæt på potentielle risikoområder. Beskadigede eller bortkomne mærkater skal udskiftes.

Sikkerheds- og instruktionsmærkater er klæbet på solskærmen. Påklæb en ny mærkat, hvis en mærkat bliver ulæselig eller beskadiget.

decal98-4387

Montering

Klargøring af maskinen

  1. Parker maskinen på en plan overflade.

  2. Sænk klippeenhederne, og aktiver parkeringsbremsen.

  3. Sluk motoren, og tag nøglen ud.

Note: Hvilke dele der skal bruges til montering af sættet, afhænger af maskinen.

Identificering og montering af bøjleskruerne

Der følger 5 forskellige bøjleskruer med i dette sæt. Bøjleskruer angives efter mål (spændvidde x længde) i reservedelslisten. Se Figur 1 for at bestemme målene på bøjleskruerne.

g246183

Udfør følgende trin, når du monterer bøjleskruerne på styrtbøjlens monteringsbeslag:

  • Brug kun håndværktøj til at spænde de møtrikker, der fastgør bøjleskruerne til monteringsbeslaget.

  • For at sikre en jævn fordeling skal møtrikkerne tilspændes skiftevis som vist i Figur 2.

g482777

Fastgørelse af solskærmen

Groundsmaster 5900-maskine

Dele, der skal bruges til dette trin:

Bolt (¾" x 4")2
Møtrik (3/4 tomme)2
Spændeskive (13/16 x 1-1/2 tommer)4
Rammeenhed 1
Styrtbøjlens monteringsbeslag1
Afstiver2
Afstiverbeslag2
Forlængerled2
Bolt (½" x 1½")4
Bolt (½" x 2½") 4
Bolt (½" x 2¾")4
Stor spændeskive10
Flangemøtrik (½")10
Bøjleskrue (4½" x 2¾") 2
Bøjleskrue (3⅛" x 4")2
Bøjleskrue (3½" x 5")4
Bøjleskrue (3½" x 2¾")2
Bøjleskrue (4½" x 4")2
Flangemøtrik (3/8 tomme)8
Solskærm 1
Flangehovedbolt (5/16 x 1-1/4 tommer)4
Lille spændeskive4
Krans4
Klemmemøtrik4
  1. Anbring styrtbøjlens monteringsbeslag øverst på traktionsenhedens styrtbøjle (Figur 3).

    Note: Sørg for, at styrtbøjlen er placeret i midten af styrtbøjlens monteringsbeslag.

    g246182
  2. Monter rammeenheden på styrtbøjlens monteringsbeslag (Figur 3).

  3. Brug de monteringshuller, der er vist i Figur 3, og monter styrtbøjlens monteringsbeslag øverst på styrtbøjlen med 2 bøjleskruer (4½" x 4") og 4 flangemøtrikker.

  4. Brug de monteringshuller, der er vist i Figur 4, og fastgør løst hvert af afstiverbeslagene til styrtbøjlestiverne med en bøjleskrue (3⅞" x 4") og 2 flangemøtrikker.

    g482768
  5. På hver side af solskærmens ramme skal du løst montere en afstiver i det andet hul i afstiverbeslaget med en bolt (½" x 2¾"), en spændeskive (½") og en flangemøtrik (½") som vist i Figur 5.

    g267172
  6. Fastgør løst et afstiversbeslag på hver afstiver med en bolt (½" x 2½"), en spændeskive (½") og en flangemøtrik (½") som vist i Figur 5.

  7. Flyt afstiverbeslagene op eller ned på de lodrette styrtbøjlestivere, indtil solskærmens ramme er på niveau med gulvet.

    Note: Brug et vaterpas for at sikre, at rammen er på niveau med jorden.

    Note: Brug de forreste eller bageste monteringshuller i afstiverbeslaget, hvis der er behov for yderligere justering.

  8. Tilspænd derefter bøjleskruens flangemøtrikker, så monteringsbeslagene fastgøres til stiverne.

  9. Tilspænd alle resterende flangemøtrikker som følger:

    • Tilspænd flangemøtrikkerne (⅜") med et moment på 41-55 Nm.

    • Tilspænd flangemøtrikkerne (½") med et moment på 113-141 Nm.

  10. Når du justerer monteringshullerne, skal du anbringe solskærmen på rammen som vist i Figur 6.

    g245151
  11. Monter hvert hjørne af solskærmen løst på rammen med en flangehovedbolt (5/16" x 1¼"), en lille spændeskive og en krans (Figur 6).

  12. Tilspænd solskærmens monteringsbolte med et moment på 5 til 6 N·m.

    Important: Overspænd ikke monteringsboltene, da solskærmen kan slå revner.

Fastgørelse af solskærmen

Groundsmaster 3200- eller 3300-maskine
  1. Med styrtbøjlen i sænket position skal du fjerne den skramledæmpende bladfjeder (Figur 7) fra hver side af styrtbøjlen.

    Behold bladfjedrene og boltene til brug, når kalechen ikke er monteret.

    g558139
  2. Fjern låseclipsene og de to pinde, når styrtbøjlen er i den hævede position (Figur 8).

    g001199
  3. Sæt en spændeskive (13/16 x 1-1/2 tommer) på hver bolt (3/4 x 4 tommer) som vist i Figur 9.

    g558140
  4. Fatgør boltene og spændeskiverne i de huller, hvor tapperne blev fjernet (Figur 9).

  5. Fastgør en anden spændeskive på hver bolt, og fastgør med møtrikker (3/4 tomme) som vist i Figur 9. Tilspænd møtrikkerne med et moment på 323 til 396 N∙m.

  6. Monter en bolt (⅜-16 x 1" eller 1¼") med en kontramøtrik (bolte og kontramøtrikker medfølger ikke) i pladen med gevind på hver side af den nedre del af styrtbøjlen i området omkring hængslet (Figur 9). Spænd bolten, indtil den sidder stramt mod det øvre styrtbøjlerør, og spænd kontramøtrikken.

  7. Tilspænd styrtbøjlens drejebolt (Figur 9) med et moment på 91 til 113 Nm for at undgå, at styrtbøjlen og solskærmen hopper.

  8. Anbring styrtbøjlens monteringsbeslag øverst på plænesprøjtens styrtbøjle (Figur 10).

    Note: Sørg for, at styrtbøjlen er placeret i midten af styrtbøjlens monteringsbeslag.

    g246185
  9. Monter rammeenheden på styrtbøjlens monteringsbeslag (Figur 10).

  10. Brug de monteringshuller, der er vist i Figur 11, og monter styrtbøjlens monteringsbeslag øverst på styrtbøjlen med 2 bøjleskruer (4-1/2" x 2¾") og 4 flangemøtrikker.

  11. Brug de monteringshuller, der er vist i Figur 11, og fastgør løst hvert af afstiverbeslagene til styrtbøjlestiverne med en bøjleskrue (3½" x 2¾") og 2 flangemøtrikker.

    g482769
  12. På hver side af solskærmens ramme skal du løst montere et forlængerled i det fjerde hul i afstiverbeslaget med 2 bolte (½" x 2¾"), 2 store spændeskiver og 2 flangemøtrikker (½") som vist i Figur 12.

    g297973
  13. På hver side af maskinen skal du løst montere et afstiverbeslag på hver afstiver med en bolt (½" x 2¾"), 3 store spændeskiver og 1 flangemøtrik (½") som vist i Figur 13.

    g297972
  14. Flyt afstiverbeslagene op eller ned på de lodrette styrtbøjlestivere, indtil solskærmens ramme er på niveau med jorden, og tilspænd derefter bøjleskruens flangemøtrikker, så monteringsbeslagene fastgøres til stiverne.

    Note: Brug et vaterpas for at sikre, at rammen er på niveau med jorden.

  15. Tilspænd alle resterende flangemøtrikker som følger:

    • Tilspænd flangemøtrikkerne (⅜") med et moment på 41-55 Nm.

    • Tilspænd flangemøtrikkerne (½") med et moment på 113-141 Nm.

  16. Når du justerer monteringshullerne, skal du anbringe solskærmen på rammen som vist i Figur 14.

    g245151
  17. Monter hvert hjørne af solskærmen løst på rammen med en flangehovedbolt (5/16" x 1¼"), en lille spændeskive og en krans (Figur 14).

  18. Tilspænd solskærmens monteringsbolte med et moment på 5 til 6 N·m.

    Important: Overspænd ikke monteringsboltene, da solskærmen kan slå revner.

Fastgørelse af solskærmen

Groundsmaster 3280-maskine
  1. Med styrtbøjlen i sænket position skal du fjerne den skramledæmpende bladfjeder (Figur 15) fra hver side af styrtbøjlen.

    Behold bladfjedrene og boltene til brug, når kalechen ikke er monteret.

    g558139
  2. Fjern låseclipsene og de to pinde, når styrtbøjlen er i den hævede position (Figur 16).

    g001199
  3. Sæt en spændeskive (13/16 x 1-1/2 tommer) på hver bolt (3/4 x 4 tommer) som vist i Figur 17.

    g558140
  4. Fatgør boltene og spændeskiverne i de huller, hvor tapperne blev fjernet (Figur 17).

  5. Fastgør en anden spændeskive på hver bolt, og fastgør med møtrikker (3/4 tomme) som vist i Figur 17. Tilspænd møtrikkerne med et moment på 323 til 396 N∙m.

  6. Monter en bolt (⅜-16 x 1" eller 1¼") med en kontramøtrik (bolte og kontramøtrikker medfølger ikke) i pladen med gevind på hver side af den nedre del af styrtbøjlen i området omkring hængslet (Figur 17). Spænd bolten, indtil den sidder stramt mod det øvre styrtbøjlerør, og spænd kontramøtrikken.

  7. Tilspænd styrtbøjlens drejebolt (Figur 17) med et moment på 91 til 113 Nm for at undgå, at styrtbøjlen og solskærmen hopper.

  8. Anbring styrtbøjlens monteringsbeslag øverst på traktionsenhedens styrtbøjle (Figur 18).

    Note: Sørg for, at styrtbøjlen er placeret i midten af styrtbøjlens monteringsbeslag.

    g246185
  9. Monter rammeenheden på styrtbøjlens monteringsbeslag (Figur 18).

  10. Brug de monteringshuller, der er vist i Figur 18, og monter styrtbøjlens monteringsbeslag øverst på styrtbøjlen med 2 bøjleskruer (4-1/2" x 2¾") og 4 flangemøtrikker.

  11. Brug de monteringshuller, der er vist i Figur 19, og fastgør løst hvert af afstiverbeslagene til styrtbøjlestiverne med en bøjleskrue (3½" x 2¾") og 2 flangemøtrikker.

    g482770
  12. På hver side af solskærmens ramme skal du løst montere et forlængerled i det fjerde hul i afstiverbeslaget med 2 bolte (½" x 2¾") og 2 flangemøtrikker (½") som vist i Figur 20.

    g267174
  13. Fastgør løst et afstiversbeslag på hver afstiver med en bolt (½" x 2½"), en spændeskive (½") og en flangemøtrik (½") som vist i Figur 20.

  14. Flyt afstiverbeslagene op eller ned på de lodrette styrtbøjlestivere, indtil solskærmens ramme er på niveau med jorden, og tilspænd derefter bøjleskruens flangemøtrikker, så monteringsbeslagene fastgøres til stiverne.

    Note: Brug et vaterpas for at sikre, at rammen er på niveau med jorden.

  15. Tilspænd alle resterende flangemøtrikker som følger:

    • Tilspænd flangemøtrikkerne (⅜") med et moment på 41-55 Nm.

    • Tilspænd flangemøtrikkerne (½") med et moment på 113-141 Nm.

  16. Når du justerer monteringshullerne, skal du anbringe solskærmen på rammen som vist i Figur 21.

    g245151
  17. Monter hvert hjørne af solskærmen løst på rammen med en flangehovedbolt (5/16" x 1¼"), en lille spændeskive og en krans (Figur 21).

  18. Tilspænd solskærmens monteringsbolte med et moment på 5 til 6 N·m.

    Important: Overspænd ikke monteringsboltene, da solskærmen kan slå revner.

Fastgørelse af solskærmen

Groundsmaster 360- eller 7200-maskiner
  1. Med styrtbøjlen i sænket position skal du fjerne den skramledæmpende bladfjeder (Figur 22) fra hver side af styrtbøjlen.

    Behold bladfjedrene og boltene til brug, når kalechen ikke er monteret.

    g560315
  2. Fjern låseclipsene og de to pinde, når styrtbøjlen er i den hævede position (Figur 23).

    g187726
  3. Sæt en spændeskive (13/16 x 1-1/2 tommer) på hver bolt (3/4 x 4 tommer) som vist i Figur 24.

    g560317
  4. Fatgør boltene og spændeskiverne i de huller, hvor tapperne blev fjernet (Figur 24).

  5. Fastgør en anden spændeskive på hver bolt, og fastgør med møtrikker (3/4 tomme) som vist i Figur 24. Tilspænd møtrikkerne med et moment på 323 til 396 N∙m.

  6. Monter en bolt (⅜-16 x 1" eller 1¼") med en kontramøtrik (bolte og kontramøtrikker medfølger ikke) i pladen med gevind på hver side af den nedre del af styrtbøjlen i området omkring hængslet (Figur 24). Spænd bolten, indtil den sidder stramt mod det øvre styrtbøjlerør, og spænd kontramøtrikken.

  7. Tilspænd styrtbøjlens drejebolt (Figur 24) med et moment på 91 til 113 Nm for at undgå, at styrtbøjlen og solskærmen hopper.

  8. Anbring styrtbøjlens monteringsbeslag øverst på traktionsenhedens styrtbøjle (Figur 25).

    Note: Sørg for, at styrtbøjlen er placeret i midten af styrtbøjlens monteringsbeslag.

    g246185
  9. Brug de monteringshuller, der er vist i Figur 25, og monter beslaget øverst på styrtbøjlen med 2 bøjleskruer (4½" x 2¾") og 4 flangemøtrikker.

  10. Brug de monteringshuller, der er vist i Figur 26, og fastgør løst hvert af afstiverbeslagene til styrtbøjlestiverne med en bøjleskrue (3½" x 2-¾") og 2 flangemøtrikker.

    g482771
  11. På hver side af solskærmens ramme skal du løst montere en afstiver i det sjette hul i monteringsbeslaget med en bolt (½" x 2¾"), en spændeskive (½") og en flangemøtrik (½") som vist i Figur 27.

    g267175
  12. Fastgør løst et afstiversbeslag på hver afstiver med en bolt (½" x 2½"), en spændeskive (½") og en flangemøtrik (½") som vist i Figur 27.

    Note: Bøjleskruerne monteres ikke symmetrisk.

  13. Flyt afstiverbeslagene op eller ned på de lodrette styrtbøjlestivere, indtil solskærmens ramme er på niveau med gulvet. Brug et vaterpas for at sikre, at rammen er på niveau med jorden. Tilspænd derefter bøjleskruens flangemøtrikker, så afstiverbeslagene fastgøres til stiverne.

    Note: Brug de forreste eller bageste monteringshuller i afstiversbeslaget, hvis der er behov for yderligere justerbarhed.

  14. Tilspænd alle resterende flangemøtrikker som følger:

    • Tilspænd flangemøtrikkerne (⅜") med et moment på 41-55 Nm.

    • Tilspænd flangemøtrikkerne (½") med et moment på 113-141 Nm.

  15. Når du justerer monteringshullerne, skal du anbringe solskærmen på rammen som vist i Figur 28.

    g245151
  16. Monter hvert hjørne af solskærmen løst på rammen med en flangehovedbolt (5/16" x 1¼"), en lille spændeskive og en krans (Figur 28).

  17. Tilspænd solskærmens monteringsbolte med et moment på 5 til 6 N·m.

    Important: Overspænd ikke monteringsboltene, da solskærmen kan slå revner.

Fastgørelse af solskærmen

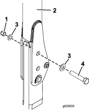
Groundsmaster 3500-, 3505-, 4000- og 4100-maskiner eller Reelmaster 3100-, 3555- og 3575-maskiner
  1. Når du monterer den universelle solskærm på en Reelmaster 3100-traktionsenhed eller en Groundsmaster 3500-/3505-traktionsenhed, skal du montere hjulvægtsættet.

  2. For Reelmaster 3555- og 3575-traktionsenheder skal du gå til trin12. For alle andre modeller skal du fjerne låseclipsene og de to pinde, når styrtbøjlen er i den hævede position (Figur 29).

    g020023
  3. Sæt en spændeskive (13/16 x 1-1/2 tommer) på hver bolt (3/4 x 4 tommer) som vist i Figur 30.

    g020024
  4. Fastgør boltene og spændeskiverne i de huller, hvor tapperne blev fjernet (Figur 30).

  5. Fastgør en anden spændeskive på hver bolt, og fastgør med en møtrik (3/4 tomme) som vist i Figur 30. Tilspænd møtrikkerne med et moment på 323 til 396 N∙m.

  6. Tilspænd styrtbøjlens drejebolt (Figur 30) med et moment på 91 til 113 N·m for at undgå, at styrtbøjlen og solskærmen hopper.

  7. Anbring styrtbøjlens monteringsbeslag øverst på traktionsenhedens styrtbøjle (Figur 31). Sørg for, at styrtbøjlen er placeret i midten af styrtbøjlens monteringsbeslag.

    g246190
  8. Brug de monteringshuller, der er vist i Figur 31, og fastgør styrtbøjlens monteringsbeslag øverst på styrtbøjlen med 2 bøjleskruer (4½" x 2¾") og 4 flangemøtrikker.

  9. Brug de monteringshuller, der er vist i Figur 32, og fastgør løst hvert af afstiverbeslagene til styrtbøjlestiverne med en bøjleskrue (3-1/8" x 5") og 2 flangemøtrikker.

    g482772
  10. På hver side af solskærmens ramme skal der løst fastgøres en afstiver på afstiversbeslaget på følgende måde:

    • På modellerne 03820, 03821, 30604, 30605, 30608 og 30609 skal du på hver side af solskærmens ramme løst fastgøre en afstiver i det bageste hul i afstiversbeslaget med en bolt (1/2 x 2-1/2 tommer), en spændeskive (1/2 tomme) og en flangemøtrik (1/2 tomme) som vist i Figur 33.

    • På modellerne 30446, 30446N, 30447 og 30447N skal du på hver side af solskærmens ramme løst fastgøre en afstiver i det andet hul i afstiversbeslaget med en bolt (1/2 x 2-1/2 tommer), en spændeskive (1/2 tomme) og en flangemøtrik (1/2 tomme) som vist i Figur 34.

    g267177
    g267178
  11. Fastgør løst et afstiversbeslag på hver afstiver med en bolt (1/2 x 2-1/2 tommer), en spændeskive (1/2 tomme) og en flangemøtrik (1/2 tomme) som vist i Figur 33.

  12. Flyt afstiverbeslaget op eller ned på de lodrette styrtbøjlestivere, indtil solskærmens ramme er på niveau med gulvet.

    Note: Brug et vaterpas for at sikre, at rammen er på niveau med jorden.

  13. Tilspænd derefter bøjleskruens flangemøtrikker, så monteringsbeslagene fastgøres til stiverne.

  14. Tilspænd alle resterende flangemøtrikker som følger:

    • Tilspænd flangemøtrikkerne (⅜") med et moment på 41-55 Nm.

    • Tilspænd flangemøtrikkerne (½") med et moment på 113-141 Nm.

  15. Når du justerer monteringshullerne, skal du anbringe solskærmen på rammen som vist i Figur 35.

    g245151
  16. Monter hvert hjørne af solskærmen løst på rammen med en flangehovedbolt (5/16" x 1¼"), en lille spændeskive og en krans (Figur 35).

  17. Tilspænd solskærmens monteringsbolte med et moment på 5 til 6 N·m.

    Important: Overspænd ikke monteringsboltene, da solskærmen kan slå revner.

Fastgørelse af solskærmen

Groundsmaster 4500- og 4700-maskiner eller Reelmaster 6700- og 7000-maskiner
  1. Fjern låseclipsen og pinden, når styrtbøjlen er i den hævede position..

    g215450
  2. Sæt en spændeskive (13/16 x 1-1/2 tommer) på hver bolt (3/4 x 4 tommer) som vist i Figur 37.

  3. Monter boltene og spændeskiverne i de huller, hvor pindene blev fjernet (Figur 37).

  4. Fastgør endnu en spændeskive på hver bolt, og fastgør den med en møtrik (3/4 tomme) som vist i Figur 37.

  5. Tilspænd styrtbøjlens drejebolt med et moment på 91 til 113 N·m for at undgå, at styrtbøjlen og solskærmen hopper.

    g215449
  6. Anbring styrtbøjlens monteringsbeslag øverst på traktionsenhedens styrtbøjle (Figur 38). Sørg for, at styrtbøjlen er placeret i midten af styrtbøjlens monteringsbeslag.

    g246186
  7. Brug de monteringshuller, der er vist i Figur 38, og monter styrtbøjlens monteringsbeslag øverst på styrtbøjlen med 2 bøjleskruer (3½" x 4") og 4 flangemøtrikker.

  8. Brug de monteringshuller, der er vist i Figur 39, og fastgør løst hvert af afstiverbeslagene til styrtbøjlestiverne med en bøjleskrue (3-1/2" x 5") og 2 flangemøtrikker.

    g245424
  9. På hver side af solskærmens ramme, skal du løst montere et forlængerled i de bageste og midterste huller i monteringsbeslaget med 2 bolte (½" x 1½") og 2 flangemøtrikker (½") som vist i Figur 40.

  10. Monter en afstiver på ydersiden af hvert forlængerled med en bolt (½" x 2½"), en spændeskive (½") og en flangemøtrik (½") som vist i Figur 40.

    g245195
  11. Fastgør løst et afstiversbeslag på hver afstiver med en bolt (½" x 2½"), en spændeskive (½") og en flangemøtrik (½") som vist i Figur 40.

  12. Flyt afstiverbeslagene op eller ned på de lodrette styrtbøjlestivere, indtil solskærmens ramme er på niveau med gulvet.

    Note: Brug et vaterpas for at sikre, at rammen er på niveau med jorden.

  13. Tilspænd derefter bøjleskruens flangemøtrikker, så monteringsbeslagene fastgøres til stiverne.

  14. Tilspænd alle resterende flangemøtrikker som følger:

    • Tilspænd flangemøtrikkerne (⅜") med et moment på 41-55 Nm.

    • Tilspænd flangemøtrikkerne (½") med et moment på 113-141 Nm.

  15. Når du justerer monteringshullerne, skal du anbringe solskærmen på rammen som vist i Figur 41.

    g245151
  16. Monter hvert hjørne af solskærmen løst på rammen med en flangehovedbolt (5/16" x 1¼"), en lille spændeskive og en krans (Figur 41).

  17. Tilspænd solskærmens monteringsbolte med et moment på 5 til 6 N·m.

    Important: Overspænd ikke monteringsboltene, da solskærmen kan slå revner.

Fastgørelse af solskærmen

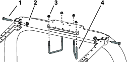
Reelmaster 5010- eller Groundsmaster 4300-maskine
  1. Anbring styrtbøjlens monteringsbeslag øverst på traktionsenhedens styrtbøjle (Figur 42). Sørg for, at styrtbøjlen er placeret i midten af styrtbøjlens monteringsbeslag.

    g246190
  2. Brug de monteringshuller, der er vist i Figur 42, og monter styrtbøjlens monteringsbeslag øverst på styrtbøjlen med 2 bøjleskruer (4-1/2" x 2¾") og 4 flangemøtrikker.

  3. Brug de monteringshuller, der er vist i Figur 43, og fastgør løst hvert af afstiverbeslagene til styrtbøjlestiverne med en bøjleskrue (3-1/8" x 5") og 2 flangemøtrikker.

    g482773
  4. På hver side af solskærmens ramme skal du løst montere en afstiver i det bageste hul i afstiverbeslaget med en bolt (½" x 2¾"), 2 spændeskiver (½") og en flangemøtrik (½") som vist i Figur 44.

    g267177
  5. Monter løst et afstiverbeslag på hver afstiver med en bolt (½" x 2½"), 2 spændeskiver (½") og en flangemøtrik (½") som vist i Figur 44.

  6. Flyt afstiverbeslagene op eller ned på de lodrette styrtbøjlestivere, indtil solskærmens ramme er på niveau med gulvet.

    Note: Brug et vaterpas for at sikre, at rammen er på niveau med jorden.

  7. Tilspænd derefter bøjleskruens flangemøtrikker, så monteringsbeslagene fastgøres til stiverne.

  8. Tilspænd alle resterende flangemøtrikker som følger:

    • Tilspænd flangemøtrikkerne (⅜") med et moment på 41-55 Nm.

    • Tilspænd flangemøtrikkerne (½") med et moment på 113-141 Nm.

  9. Når du justerer monteringshullerne, skal du anbringe solskærmen på rammen som vist i Figur 45.

    g245151
  10. Monter hvert hjørne af solskærmen løst på rammen med en flangehovedbolt (5/16" x 1¼"), en lille spændeskive og en krans (Figur 45).

  11. Tilspænd solskærmens monteringsbolte med et moment på 5 til 6 N·m.

    Important: Overspænd ikke monteringsboltene, da solskærmen kan slå revner.

Fastgørelse af solskærmen

Multi Pro 1750-maskine
  1. Anbring styrtbøjlens monteringsbeslag øverst på plænesprøjtens styrtbøjle (Figur 46).

    Note: Sørg for, at styrtbøjlen er placeret i midten af styrtbøjlens monteringsbeslag.

    g246185
  2. Monter rammeenheden på styrtbøjlens monteringsbeslag (Figur 46).

  3. Brug de monteringshuller, der er vist i Figur 46, og monter styrtbøjlens monteringsbeslag øverst på styrtbøjlen med 2 bøjleskruer (4-1/2" x 2¾") og 4 flangemøtrikker.

  4. Brug de monteringshuller, der er vist i Figur 47, og fastgør løst hvert af afstiverbeslagene til styrtbøjlestiverne med en bøjleskrue (3½" x 2¾") og 2 flangemøtrikker.

    g482774
  5. På hver side af solskærmens ramme skal du løst montere et forlængerled i det fjerde hul i afstiverbeslaget med 2 bolte (½" x 2¾") og 2 flangemøtrikker (½") som vist i Figur 48.

    g267174
  6. Fastgør løst et afstiversbeslag på hver afstiver med en bolt (½" x 2½"), en spændeskive (½") og en flangemøtrik (½") som vist i Figur 48.

  7. Flyt afstiverbeslagene op eller ned på de lodrette styrtbøjlestivere, indtil solskærmens ramme er på niveau med jorden, og tilspænd derefter bøjleskruens flangemøtrikker, så monteringsbeslagene fastgøres til stiverne.

    Note: Brug et vaterpas for at sikre, at rammen er på niveau med jorden.

  8. Tilspænd alle resterende flangemøtrikker som følger:

    • Tilspænd flangemøtrikkerne (⅜") med et moment på 41-55 Nm.

    • Tilspænd flangemøtrikkerne (½") med et moment på 113-141 Nm.

  9. Når du justerer monteringshullerne, skal du anbringe solskærmen på rammen som vist i Figur 49.

    g245151
  10. Monter hvert hjørne af solskærmen løst på rammen med en flangehovedbolt (5/16" x 1¼"), en lille spændeskive og en krans (Figur 49).

  11. Tilspænd solskærmens monteringsbolte med et moment på 5 til 6 N·m.

    Important: Overspænd ikke monteringsboltene, da solskærmen kan slå revner.

Betjening

Transport af maskinen

Når maskinen transporteres, skal du bruge de to huller foran på solskærmens ramme (under solskærmen) til at binde solskærmen til et sikkert sted på maskinen og forhindre den i at blive løftet af vinden (Figur 50).

g018101

Vedligeholdelse

Kontrol og stramning af holdere

Kontroller og stram monteringsholderne efter 8 timers drift. Kontroller og tilspænd holderne med jævne mellemrum.

Rengøring af solskærmen

Vask med en mild sæbe eller et rengøringsmiddel med dine bare hænder, en blød klud eller svamp for at fjerne fasttørret snavs og andre fremmede partikler.

Note: Brug af visse rensemidler eller klude kan ridse eller nedbryde solskærmens overflade. Afprøv rensemidlet eller kluden på et ubetydeligt område.