Este produto cumpre todas as diretivas europeias relevantes. Para mais informações, consulte a Declaração de incorporação (DOI) no verso desta publicação.

Important: Se instalar o toldo universal numa unidade de tração Reelmaster 3100 ou Groundsmaster 3500/3505, instale o kit de pesos das rodas. Contacte o distribuidor Toro autorizado para obter o kit de pesos das rodas correto.

Segurança

Geral

Antes da utilização

  1. Analise e compreenda o conteúdo das instruções de instalação antes de instalar o toldo.

  2. Mantenha todos os resguardos, dispositivos de segurança e autocolantes na sua posição correta. Se um resguardo, dispositivo de segurança ou autocolante apresentar defeito, se encontrar ilegível ou danificado, repare-o ou substitua-o antes de utilizar a máquina.

  3. Não solde, corte, perfure, modifique nem remova a barra de segurança, seja de que forma for.

  4. Proceda também ao aperto de porcas ou parafusos soltos, para assegurar que a máquina se encontra em condições de operação seguras.

Durante a utilização

  1. Tenha extremo cuidado ao trabalhar perto de vedações, valas ou inclinações.

  2. Verifique o espaço superior existente (ou seja, ramos, ombreiras, fios elétricos) antes de conduzir a máquina para debaixo de quaisquer objetos e tente evitar o contacto.

  3. Prenda a estrutura do toldo durante o transporte da máquina.

  4. Deverá utilizar proteções para os ouvidos quando utilizar qualquer máquina com toldo.

Manutenção e assistência

  1. Antes de realizar assistência ou fazer ajustes, desça o acessório, desligue o motor, engate o travão de estacionamento e retire a chave.

  2. Certifique-se de que a máquina se encontra em condições seguras de operação, mantendo todas as porcas e os parafusos apertados.

  3. Ao trabalhar na instalação do toldo, utilize proteção ocular.

  4. Substitua um toldo danificado. Não efetue nenhuma reparação ou revisão.

  5. Ao instalar o toldo ou efetuar assistência, utilize os suportes, guinchos e macacos corretos. Se o toldo não estiver apoiado corretamente, pode mover-se ou cair e ferir alguém.

  6. Para garantir o máximo desempenho e segurança, adquira sempre peças sobressalentes e acessórios genuínos da Toro. A utilização de peças sobressalentes e acessórios produzidos por outros fabricantes pode ser perigosa. Tais alterações podem invalidar a garantia de produto prestada pela The Toro Company.

Autocolantes de segurança e de instruções

Graphic

Os autocolantes de segurança e instruções estão facilmente visíveis para o operador e situam-se próximos das zonas de potencial perigo. Substitua todos os autocolantes danificados ou perdidos.

Estão colados autocolantes de segurança e instruções no toldo. Se algum autocolante ficar ilegível ou danificado, coloque um novo autocolante.

decal98-4387

Instalação

Preparação da máquina

  1. Estacione a máquina numa superfície nivelada.

  2. Desça as unidades de corte e engate o travão de estacionamento.

  3. Desligue o motor e retire a chave.

Note: Nem todas as máquinas utilizam as mesmas peças para instalar o kit.

Identificação e instalação das cavilhas em U

Há cinco cavilhas em U diferentes incluídas neste kit. As cavilhas em U estão indicadas por dimensão (espessura x comprimento) na lista de peças. Consulte a Figura 1 para determinar as dimensões das cavilhas em U.

g246183

Execute os passos seguintes quando instalar as cavilhas em U no suporte de montagem do ROPS:

  • Utilize apenas ferramentas manuais para apertar as porcas que prendem as cavilhas em U no suporte de montagem.

  • Para garantir uma distribuição equilibrada, aperte as porcas num padrão alternado, conforme mostrado naFigura 2.

g482777

Instalação do toldo

Máquina Groundsmaster 5900

Peças necessárias para este passo:

Parafuso (¾ pol. x 4 pol.)2
Porca (¾ pol.)2
Anilha (13/16 pol. x 1½ pol.)4
Conjunto da estrutura 1
Suporte de montagem do ROPS1
Cinta2
Suporte de cinta2
Articulação da extensão2
Parafuso (½ pol. x 1½ pol.)4
Parafuso (½ pol. x 2½ pol.) 4
Parafuso (½ pol. x 2¾ pol.)4
Anilha grande10
Porca flangeada (½ pol.)10
Cavilha em U (4½ pol. x 2¾ pol.) 2
Cavilha em U (3⅛ pol. x 4 pol.)2
Parafuso em U (3½ pol. x 5 pol.)4
Cavilha em U (3½ pol. x 2¾ pol.)2
Parafuso em U (4½ pol. x 4 pol.)2
Porca flangeada (⅜ pol.)8
Toldo 1
Parafuso de cabeça flangeada (5/16 pol. x 1¼ pol.)4
Anilha pequena4
Olhal4
Porca do clipe4
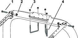
  1. Posicione o suporte de montagem do ROPS na parte superior da barra de segurança da unidade de tração (Figura 3).

    Note: Certifique-se de que a barra de segurança está centrada no suporte de montagem.

    g246182
  2. Instale o conjunto da estrutura no suporte de montagem do ROPS (Figura 3).

  3. Utilizando os furos de montagem mostrados na Figura 3, monte cada suporte de montagem do ROPS na parte superior da barra de segurança com duas cavilhas em U (4½ x 4 pol.) e quatro porcas flangeadas.

  4. Utilizando os furos de montagem mostrados na Figura 4, monte sem apertar completamente cada um dos suportes de cinta às colunas da barra de segurança com uma cavilha em U (3⅛ pol. x 4 pol.) e duas porcas flangeadas.

    g482768
  5. Em cada lado da estrutura do toldo, monte sem apertar completamente uma cinta no segundo furo da montagem da cinta usando um parafuso (½ pol. x 2¾ pol.), anilha (½ pol.) e porca flangeada (½ pol.), como se mostra na Figura 5.

    g267172
  6. Instale sem apertar completamente um suporte de cinta em cada cinta usando um parafuso (½ pol. x 2½ pol.), anilha (½ pol.) e uma porca flangeada (½ pol.), como se mostra na Figura 5.

  7. Mova o suporte de cinta para cima ou para baixo, nas colunas verticais da barra de segurança até que a estrutura do toldo esteja nivelada com o solo.

    Note: Utilize um nível para se certificar de que a estrutura está nivelada com o solo.

    Note: Utilize os furos de montagem frontais ou traseiros no suporte de cinta, se for necessário maior ajuste.

  8. Aperte as porcas flangeadas da cavilha em U, prendendo os suportes de montagem nas colunas.

  9. Aperte todas as porcas flangeadas restantes da seguinte forma:

    • Aperte as porcas flangeadas (⅜ pol.) com uma força de 41 a 55 N∙m.

    • Aperte as porcas flangeadas (½ pol.) com uma força de 113 a 141 N∙m.

  10. Ao alinhar os furos de montagem, posicione o toldo na estrutura como se mostra na Figura 6.

    g245151
  11. Monte, sem apertar completamente, cada canto do toldo na estrutura com um parafuso de cabeça flangeada (5/16 pol. x 1¼ pol.), uma anilha pequena e um olhal (Figura 6).

  12. Aperte os parafusos de montagem do toldo com uma força de 5 a 6 N∙m.

    Important: Não aperte demasiado os parafusos de montagem, uma vez que o toldo pode rachar.

Instalação do toldo

Máquina Groundsmaster 3200 ou 3300
  1. Com a barra de segurança na posição baixada, remova a mola de lâminas anti-vibração (Figura 7) de ambos os lados da barra de segurança.

    Guarde as molas anti-vibração e os parafusos para os utilizar quando o toldo não estiver instalado.

    g558139
  2. Com a barra de segurança na posição elevada, retire os pernos de gancho e os dois pinos (Figura 8).

    g001199
  3. Insira uma anilha (13/16 pol. x 1½ pol.) em cada parafuso (¾ pol. x 4 pol.), como se mostra na Figura 9.

    g558140
  4. Nos furos de onde removeu os pinos, instale os parafusos e as anilhas (Figura 9).

  5. Instale outra anilha em cada parafuso e prenda com porcas (¾ pol.), como se mostra na Figura 9. Aperte as porcas com uma força de 323 a 396 N∙m.

  6. Instale o parafuso (⅜-16 x 1 pol. ou 1¼ pol.) com uma porca de retenção (os parafusos e porcas de renteção não são fornecidos) na placa roscada em ambos os lados da parte inferior da barra de segurança, na área da dobradiça (Figura 9). Aperte os parafusos até estarem apertados contra o tubo da barra de segurança superior e aperte a porca de retenção.

  7. Aperte o parafuso da articulação ROPS (Figura 9) com 91 a 113 N∙m para evitar qualquer oscilação da barra de segurança e toldo.

  8. Posicione o suporte de montagem do ROPS na parte superior da barra de segurança do pulverizador de relva (Figura 10).

    Note: Certifique-se de que a barra de segurança está centrada no suporte de montagem do ROPS.

    g246185
  9. Instale o conjunto da estrutura no suporte de montagem do ROPS (Figura 10).

  10. Utilizando os furos de montagem mostrados na Figura 11, monte cada suporte de montagem do ROPS na parte superior da barra de segurança com duas cavilhas em U (4½ x 2¾ pol.) e quatro porcas flangeadas.

  11. Utilizando os furos de montagem mostrados na Figura 11, monte sem apertar completamente cada um dos suportes de cinta às colunas da barra de segurança com uma cavilha em U (3½ pol. x 2¾ pol.) e duas porcas flangeadas.

    g482769
  12. Em cada lado da estrutura do toldo, monte sem apertar uma articulação da extensão no quarto furo da montagem da cinta usando dois parafusos (½ pol. x 2¾ pol.), duas anilhas grandes e duas porcas flangeadas (½ pol.), como se mostra na Figura 12.

    g297973
  13. Em cada lado da máquina, instale sem apertar um suporte de tirante em cada tirante com um parafuso (½ x 2¾ pol.), 3 anilhas grandes e porca flangeada (½ pol.) como se mostra na Figura 13.

    g297972
  14. Mova os suportes de cinta para cima ou para baixo, nas colunas verticais da barra de segurança até que a estrutura do toldo esteja nivelada com o solo e, em seguida, aperte as porcas flangeadas da cavilha em U, prendendo os suportes de montagem às colunas.

    Note: Utilize um nível para se certificar de que a estrutura está nivelada com o solo.

  15. Aperte todas as porcas flangeadas restantes da seguinte forma:

    • Aperte as porcas flangeadas (⅜ pol.) com uma força de 41 a 55 N∙m.

    • Aperte as porcas flangeadas (½ pol.) com uma força de 113 a 141 N∙m.

  16. Ao alinhar os furos de montagem, posicione o toldo na estrutura como se mostra na Figura 14.

    g245151
  17. Monte, sem apertar completamente, cada canto do toldo na estrutura com um parafuso de cabeça flangeada (5/16 pol. x 1¼ pol.), uma anilha pequena e um olhal (Figura 14).

  18. Aperte os parafusos de montagem do toldo com uma força de 5 a 6 N∙m.

    Important: Não aperte demasiado os parafusos de montagem, uma vez que o toldo pode rachar.

Instalação do toldo

Máquina Groundsmaster 3280
  1. Com a barra de segurança na posição baixada, remova a mola de lâminas anti-vibração (Figura 15) de ambos os lados da barra de segurança.

    Guarde as molas anti-vibração e os parafusos para os utilizar quando o toldo não estiver instalado.

    g558139
  2. Com a barra de segurança na posição elevada, retire os pernos de gancho e os dois pinos (Figura 16).

    g001199
  3. Insira uma anilha (13/16 pol. x 1½ pol.) em cada parafuso (¾ pol. x 4 pol.), como se mostra na Figura 17.

    g558140
  4. Nos furos de onde removeu os pinos, instale os parafusos e as anilhas (Figura 17).

  5. Instale outra anilha em cada parafuso e prenda com porcas (¾ pol.), como se mostra na Figura 17. Aperte as porcas com uma força de 323 a 396 N∙m.

  6. Instale o parafuso (⅜-16 x 1 pol. ou 1¼ pol.) com uma porca de retenção (os parafusos e porcas de renteção não são fornecidos) na placa roscada em ambos os lados da parte inferior da barra de segurança, na área da dobradiça (Figura 17). Aperte os parafusos até estarem apertados contra o tubo da barra de segurança superior e aperte a porca de retenção.

  7. Aperte o parafuso da articulação ROPS (Figura 17) com 91 a 113 N∙m para evitar qualquer oscilação da barra de segurança e toldo.

  8. Posicione o suporte de montagem do ROPS na parte superior da barra de segurança da unidade de tração (Figura 18).

    Note: Certifique-se de que a barra de segurança está centrada no suporte de montagem do ROPS.

    g246185
  9. Instale o conjunto da estrutura no suporte de montagem do ROPS (Figura 18).

  10. Utilizando os furos de montagem mostrados na Figura 18, monte cada suporte de montagem do ROPS na parte superior da barra de segurança com duas cavilhas em U (4½ x 2¾ pol.) e quatro porcas flangeadas.

  11. Utilizando os furos de montagem mostrados na Figura 19, monte sem apertar completamente cada um dos suportes de cinta às colunas da barra de segurança com uma cavilha em U (3½ pol. x 2¾ pol.) e duas porcas flangeadas.

    g482770
  12. Em cada lado da estrutura do toldo, monte sem apertar uma articulação da extensão no quarto furo da montagem da cinta usando dois parafusos (½ pol. x 2¾ pol.) e duas porcas flangeadas (½ pol.), como se mostra na Figura 20.

    g267174
  13. Instale sem apertar completamente um suporte de cinta em cada cinta usando um parafuso (½ pol. x 2½ pol.), anilha (½ pol.) e uma porca flangeada (½ pol.), como se mostra na Figura 20.

  14. Mova os suportes de cinta para cima ou para baixo, nas colunas verticais da barra de segurança até que a estrutura do toldo esteja nivelada com o solo e, em seguida, aperte as porcas flangeadas da cavilha em U, prendendo os suportes de montagem às colunas.

    Note: Utilize um nível para se certificar de que a estrutura está nivelada com o solo.

  15. Aperte todas as porcas flangeadas restantes da seguinte forma:

    • Aperte as porcas flangeadas (⅜ pol.) com uma força de 41 a 55 N∙m.

    • Aperte as porcas flangeadas (½ pol.) com uma força de 113 a 141 N∙m.

  16. Ao alinhar os furos de montagem, posicione o toldo na estrutura como se mostra na Figura 21.

    g245151
  17. Monte, sem apertar completamente, cada canto do toldo na estrutura com um parafuso de cabeça flangeada (5/16 pol. x 1¼ pol.), uma anilha pequena e um olhal (Figura 21).

  18. Aperte os parafusos de montagem do toldo com uma força de 5 a 6 N∙m.

    Important: Não aperte demasiado os parafusos de montagem, uma vez que o toldo pode rachar.

Instalação do toldo

Máquinas Groundsmaster 360 ou 7200
  1. Com a barra de segurança na posição baixada, remova a mola de lâminas anti-vibração (Figura 22) de ambos os lados da barra de segurança.

    Guarde as molas anti-vibração e os parafusos para os utilizar quando o toldo não estiver instalado.

    g560315
  2. Com a barra de segurança na posição elevada, retire os pernos de gancho e os dois pinos (Figura 23).

    g187726
  3. Insira uma anilha (13/16 pol. x 1½ pol.) em cada parafuso (¾ pol. x 4 pol.) como se mostra na Figura 24.

    g560317
  4. Nos furos de onde removeu os pinos, instale os parafusos e as anilhas (Figura 24).

  5. Instale outra anilha em cada parafuso e prenda com porcas (¾ pol.), como se mostra na Figura 24. Aperte as porcas com uma força de 323 a 396 N∙m.

  6. Instale o parafuso (⅜-16 x 1 pol. ou 1¼ pol.) com uma porca de retenção (os parafusos e porcas de renteção não são fornecidos) na placa roscada em ambos os lados da parte inferior da barra de segurança, na área da dobradiça (Figura 24). Aperte os parafusos até estarem apertados contra o tubo da barra de segurança superior e aperte a porca de retenção.

  7. Aperte o parafuso da articulação ROPS (Figura 24) com 91 a 113 N∙m para evitar qualquer oscilação da barra de segurança e toldo.

  8. Posicione o suporte de montagem do ROPS na parte superior da barra de segurança da unidade de tração (Figura 25).

    Note: Certifique-se de que a barra de segurança está centrada no suporte de montagem do ROPS.

    g246185
  9. Utilizando os furos de montagem mostrados na Figura 25, monte o suporte na parte superior da barra de segurança com duas cavilhas em U (4½ pol. x 2¾ pol.) e quatro porcas flangeadas.

  10. Utilizando os furos de montagem mostrados na Figura 26, monte sem apertar completamente cada um dos suportes de cinta às colunas da barra de segurança com uma cavilha em U (3½ pol. x 2¾ pol.) e duas porcas flangeadas.

    g482771
  11. Em cada lado da estrutura do toldo, monte sem apertar completamente uma cinta no sexto furo da montagem do suporte usando um parafuso (½ pol. x 2¾ pol.), anilha (½ pol.) e porca flangeada (½ pol.), como se mostra na Figura 27.

    g267175
  12. Instale sem apertar completamente um suporte de cinta em cada cinta usando um parafuso (½ pol. x 2½ pol.), anilha (½ pol.) e uma porca flangeada (½ pol.), como se mostra na Figura 27.

    Note: As cavilhas em U não estão instaladas simetricamente.

  13. Mova o suporte de cinta para cima ou para baixo, nas colunas verticais da barra de segurança até que a estrutura do toldo esteja nivelada com o solo. Utilize um nível para se certificar de que a estrutura está nivelada com o solo. Em seguida, aperte as porcas flangeadas da cavilha em U, prendendo os suportes da cinta nas colunas.

    Note: Utilize os furos de montagem frontais ou traseiros, no suporte de cinta, se for necessário maior ajuste.

  14. Aperte todas as porcas flangeadas restantes da seguinte forma:

    • Aperte as porcas flangeadas (⅜ pol.) com uma força de 41 a 55 N∙m.

    • Aperte as porcas flangeadas (½ pol.) com uma força de 113 a 141 N∙m.

  15. Ao alinhar os furos de montagem, posicione o toldo na estrutura como se mostra na Figura 28.

    g245151
  16. Monte, sem apertar completamente, cada canto do toldo na estrutura com um parafuso de cabeça flangeada (5/16 pol. x 1¼ pol.), uma anilha pequena e um olhal (Figura 28).

  17. Aperte os parafusos de montagem do toldo com uma força de 5 a 6 N∙m.

    Important: Não aperte demasiado os parafusos de montagem, uma vez que o toldo pode rachar.

Instalação do toldo

Máquinas Groundsmaster 3500, 3505, 4000 e 4100 ou máquinas Reelmaster 3100, 3555 e 3575
  1. Quando instalar o toldo universal numa unidade de tração Reelmaster 3100 ou Groundsmaster 3500/3505, instale o kit de pesos das rodas.

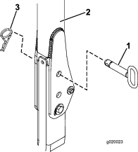
  2. Para unidades de tração Reelmaster 3555 e 3575, passe para o passo 12. Para todos os outros modelos, com a barra de segurança na posição elevada, retire os pernos de gancho e os dois pinos (Figura 29).

    g020023
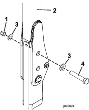
  3. Insira uma anilha (13/16 pol. x 1½ pol.) em cada parafuso (¾ pol. x 4 pol.), como se mostra na Figura 30.

    g020024
  4. Nos furos de onde removeu os pinos, instale os parafusos e as anilhas (Figura 30).

  5. Instale outra anilha em cada parafuso e prenda com porcas de ¾ pol. como se mostra na (Figura 30). Aperte as porcas com uma força de 323 a 396 N∙m.

  6. Aperte o parafuso da articulação ROPS (Figura 30) com 91 a 113 N∙m para evitar qualquer oscilação da barra de segurança e toldo.

  7. Posicione o suporte de montagem do ROPS na parte superior da barra de segurança da unidade de tração (Figura 31). Certifique-se de que a barra de segurança está centrada no suporte de montagem do ROPS.

    g246190
  8. Utilizando os furos de montagem mostrados na Figura 31, prenda cada suporte de montagem do ROPS na parte superior da barra de segurança com duas cavilhas em U (4½ pol. x 2¾ pol.) e quatro porcas flangeadas.

  9. Utilizando os furos de montagem mostrados na Figura 32, monte sem apertar completamente cada um dos suportes de cinta às colunas da barra de segurança com uma cavilha em U (3⅛ pol. x 5 pol.) e duas porcas flangeadas.

    g482772
  10. Em cada lado da estrutura do toldo, monte, sem apertar completamente, uma cinta no suporte de cinta, da seguinte forma:

    • Para os Modelos 03820, 03821, 30604, 30605, 30608 e 30609 em cada lado da estrutura do toldo, monte sem apertar completamente uma cinta no furo traseiro do suporte de cinta com um parafuso (½ pol. x 2½ pol.), anilha (½ pol.) e porca flangeada (½ pol.), como se mostra na Figura 33.

    • Para os modelos 30446, 30446N, 30447 e 30447N em cada lado da estrutura do toldo, monte sem apertar completamente uma cinta no segundo furo do suporte de cinta com um parafuso (½ pol. x 2½ pol.), anilha (½ pol.) e porca flangeada (½ pol.), como se mostra na Figura 34.

    g267177
    g267178
  11. Instale sem apertar completamente um suporte de cinta em cada cinta usando um parafuso (½ pol. x 2½ pol.), anilha (½ pol.) e uma porca flangeada (½ pol.), como se mostra na Figura 33.

  12. Mova o suporte de cinta para cima ou para baixo, nas colunas verticais da barra de segurança até que a estrutura do toldo esteja nivelada com o solo.

    Note: Utilize um nível para se certificar de que a estrutura está nivelada com o solo.

  13. Aperte as porcas flangeadas da cavilha em U, prendendo os suportes de montagem nas colunas.

  14. Aperte todas as porcas flangeadas restantes da seguinte forma:

    • Aperte as porcas flangeadas (⅜ pol.) com uma força de 41 a 55 N∙m.

    • Aperte as porcas flangeadas (½ pol.) com uma força de 113 a 141 N∙m.

  15. Ao alinhar os furos de montagem, posicione o toldo na estrutura como se mostra na Figura 35.

    g245151
  16. Monte, sem apertar completamente, cada canto do toldo na estrutura com um parafuso de cabeça flangeada (5/16 pol. x 1¼ pol.), uma anilha pequena e um olhal (Figura 35).

  17. Aperte os parafusos de montagem do toldo com uma força de 5 a 6 N∙m.

    Important: Não aperte demasiado os parafusos de montagem, uma vez que o toldo pode rachar.

Instalação do toldo

Máquinas Groundsmaster 4500 e 4700 ou máquinas Reelmaster 6700 e 7000
  1. Com a barra de segurança na posição elevada, retire os pernos de gancho e o pino.

    g215450
  2. Insira uma anilha (13/16 pol. x 1½ pol.) em cada parafuso (¾ pol. x 4 pol.), como se mostra na Figura 37.

  3. Nos furos de onde removeu os pinos, instale os parafusos e as anilhas (Figura 37).

  4. Instale outra anilha em cada parafuso e prenda com porcas de ¾ pol. como se mostra na Figura 37.

  5. Aperte o parafuso da articulação ROPS com 91 a 113 N∙m para evitar qualquer oscilação da barra de segurança e toldo.

    g215449
  6. Posicione o suporte de montagem do ROPS na parte superior da barra de segurança da unidade de tração (Figura 38). Certifique-se de que a barra de segurança está centrada no suporte de montagem do ROPS.

    g246186
  7. Utilizando os furos de montagem mostrados na Figura 38, monte cada suporte de montagem do ROPS na parte superior da barra de segurança com duas cavilhas em U (3½ x 5 pol.) e quatro porcas flangeadas.

  8. Utilizando os furos de montagem mostrados na Figura 39, monte sem apertar completamente cada um dos suportes de cinta às colunas da barra de segurança com uma cavilha em U (3½ pol. x 5 pol.) e duas porcas flangeadas.

    g245424
  9. Em cada lado da estrutura do toldo, monte sem apertar uma articulação nos furos traseiro e central do suporte de montagem usando dois parafusos (½ pol. x 1½ pol.) e duas porcas flangeadas (½ pol.), como se mostra na Figura 40.

  10. Instale uma cinta ao exterior de cada articulação da extensão utilizando um parafuso (½ pol. x 2½ pol.), anilha (½ pol.) e uma porca flangeada (½ pol.), como se mostra na Figura 40.

    g245195
  11. Instale sem apertar completamente um suporte de cinta em cada cinta usando um parafuso (½ pol. x 2½ pol.), anilha (½ pol.) e uma porca flangeada (½ pol.), como se mostra na Figura 40.

  12. Mova o suporte de cinta para cima ou para baixo, nas colunas verticais da barra de segurança até que a estrutura do toldo esteja nivelada com o solo.

    Note: Utilize um nível para se certificar de que a estrutura está nivelada com o solo.

  13. Aperte as porcas flangeadas da cavilha em U, prendendo os suportes de montagem nas colunas.

  14. Aperte todas as porcas flangeadas restantes da seguinte forma:

    • Aperte as porcas flangeadas (⅜ pol.) com uma força de 41 a 55 N∙m.

    • Aperte as porcas flangeadas (½ pol.) com uma força de 113 a 141 N∙m.

  15. Ao alinhar os furos de montagem, posicione o toldo na estrutura como se mostra na Figura 41.

    g245151
  16. Monte, sem apertar completamente, cada canto do toldo na estrutura com um parafuso de cabeça flangeada (5/16 pol. x 1¼ pol.), uma anilha pequena e um olhal (Figura 41).

  17. Aperte os parafusos de montagem do toldo com uma força de 5 a 6 N∙m.

    Important: Não aperte demasiado os parafusos de montagem, uma vez que o toldo pode rachar.

Instalação do toldo

Máquina Reelmaster 5010 ou Groundsmaster 4300
  1. Posicione os suportes de montagem do ROPS na parte superior da barra de segurança da unidade de tração (Figura 42). Certifique-se de que a barra de segurança está centrada no suporte de montagem do ROPS.

    g246190
  2. Utilizando os furos de montagem mostrados na Figura 42, monte cada suporte de montagem do ROPS na parte superior da barra de segurança com duas cavilhas em U (4½ pol. x 2¾ pol.) e quatro porcas flangeadas.

  3. Utilizando os furos de montagem mostrados na Figura 43, monte sem apertar completamente cada um dos suportes de cinta às colunas da barra de segurança com uma cavilha em U (3⅛ pol. x 5 pol.) e duas porcas flangeadas.

    g482773
  4. Em cada lado da estrutura do toldo, monte sem apertar completamente uma cinta no furo traseiro da montagem da cinta usando um parafuso (½ pol. x 2¾ pol.), duas anilhas (½ pol.) e uma porca flangeada (½ pol.), como se mostra na Figura 44.

    g267177
  5. Instale sem apertar completamente um suporte de cinta em cada cinta usando um parafuso (½ pol. x 2½ pol.), duas anilhas (½ pol.) e uma porca flangeada (½ pol.), como se mostra na Figura 44.

  6. Mova o suporte de cinta para cima ou para baixo, nas colunas verticais da barra de segurança até que a estrutura do toldo esteja nivelada com o solo.

    Note: Utilize um nível para se certificar de que a estrutura está nivelada com o solo.

  7. Aperte as porcas flangeadas da cavilha em U, prendendo os suportes de montagem nas colunas.

  8. Aperte todas as porcas flangeadas restantes da seguinte forma:

    • Aperte as porcas flangeadas (⅜ pol.) com uma força de 41 a 55 N∙m.

    • Aperte as porcas flangeadas (½ pol.) com uma força de 113 a 141 N∙m.

  9. Ao alinhar os furos de montagem, posicione o toldo na estrutura como se mostra na Figura 45.

    g245151
  10. Monte, sem apertar completamente, cada canto do toldo na estrutura com um parafuso de cabeça flangeada (5/16 pol. x 1¼ pol.), uma anilha pequena e um olhal (Figura 45).

  11. Aperte os parafusos de montagem do toldo com uma força de 5 a 6 N∙m.

    Important: Não aperte demasiado os parafusos de montagem, uma vez que o toldo pode rachar.

Instalação do toldo

Máquina Multi Pro 1750
  1. Posicione o suporte de montagem do ROPS na parte superior da barra de segurança do pulverizador de relva (Figura 46).

    Note: Certifique-se de que a barra de segurança está centrada no suporte de montagem do ROPS.

    g246185
  2. Instale o conjunto da estrutura no suporte de montagem do ROPS (Figura 46).

  3. Utilizando os furos de montagem mostrados na Figura 46, monte cada suporte de montagem do ROPS na parte superior da barra de segurança com duas cavilhas em U (4½ x 2¾ pol.) e quatro porcas flangeadas.

  4. Utilizando os furos de montagem mostrados na Figura 47, monte sem apertar completamente cada um dos suportes de cinta às colunas da barra de segurança com uma cavilha em U (3½ pol. x 2¾ pol.) e duas porcas flangeadas.

    g482774
  5. Em cada lado da estrutura do toldo, monte sem apertar uma articulação da extensão no quarto furo da montagem da cinta usando dois parafusos (½ pol. x 2¾ pol.) e duas porcas flangeadas (½ pol.), como se mostra na Figura 48.

    g267174
  6. Instale sem apertar completamente um suporte de cinta em cada cinta usando um parafuso (½ pol. x 2½ pol.), anilha (½ pol.) e uma porca flangeada (½ pol.), como se mostra na Figura 48.

  7. Mova os suportes de cinta para cima ou para baixo, nas colunas verticais da barra de segurança até que a estrutura do toldo esteja nivelada com o solo e, em seguida, aperte as porcas flangeadas da cavilha em U, prendendo os suportes de montagem às colunas.

    Note: Utilize um nível para se certificar de que a estrutura está nivelada com o solo.

  8. Aperte todas as porcas flangeadas restantes da seguinte forma:

    • Aperte as porcas flangeadas (⅜ pol.) com uma força de 41 a 55 N∙m.

    • Aperte as porcas flangeadas (½ pol.) com uma força de 113 a 141 N∙m.

  9. Ao alinhar os furos de montagem, posicione o toldo na estrutura como se mostra na Figura 49.

    g245151
  10. Monte, sem apertar completamente, cada canto do toldo na estrutura com um parafuso de cabeça flangeada (5/16 pol. x 1¼ pol.), uma anilha pequena e um olhal (Figura 49).

  11. Aperte os parafusos de montagem do toldo com uma força de 5 a 6 N∙m.

    Important: Não aperte demasiado os parafusos de montagem, uma vez que o toldo pode rachar.

Funcionamento

Transporte da máquina

Ao transportar a máquina, utilize os dois furos na frente da estrutura do toldo (debaixo do toldo), para fixar o toldo num local seguro na máquina e evitar que suba com o vento (Figura 50).

g018101

Manutenção

Verificação e apertura das ferragens

Verifique e aperte as ferragens de montagem após 8 horas de funcionamento. Inspecione e aperte as ferragens periodicamente.

Limpeza do toldo

Lave com detergente suave utilizando as mãos, pano macio ou esponja para libertar ou eliminar qualquer detrito agarrado ou outras partículas estranhas.

Note: A utilização de alguns produtos de limpeza ou panos pode riscar ou degradar a superfície do toldo. Teste o produto de limpeza ou pano numa área oculta.