Este producto cumple todas las directivas europeas aplicables. Para obtener más detalles, consulte la Declaración de Incorporación (DOI) al final de esta publicación.

Important: Si instala el toldo universal en una unidad de tracción Reelmaster 3100 o una unidad de tracción Groundsmaster 3500/3505, instale el kit de pesos para ruedas. Póngase en contacto con su distribuidor Toro autorizado para obtener el kit de pesos para ruedas correcto.

Seguridad

General

Antes del uso

  1. Repase y comprenda el contenido de las Instrucciones de instalación antes de instalar el toldo.

  2. Mantenga colocados todos los protectores, dispositivos de seguridad y pegatinas. Si un protector, dispositivo de seguridad o pegatina está defectuoso, es ilegible o está dañado, repárelo o cámbielo antes de operar la máquina.

  3. No suelde, corte, taladre, modifique, ni retire en modo alguno la barra antivuelco.

  4. Apriete todos los tornillos, pernos y tuercas para asegurarse de que la máquina está en perfectas condiciones de funcionamiento.

Durante el uso

  1. Extreme las precauciones al trabajar cerca de vallas, zanjas o en laderas.

  2. Compruebe cuidadosamente que hay espacio suficiente antes de conducir por debajo de cualquier objeto en alto (por ejemplo, ramas, portales, cables eléctricos) y no entre en contacto con ellos.

  3. Amarre el bastidor del toldo al transportar la máquina.

  4. Lleve protección auditiva mientras opera alguna máquina con un toldo.

Mantenimiento

  1. Antes de realizar cualquier tarea de mantenimiento o ajuste, baje el implemento, apague el motor, ponga el freno de estacionamiento y retire la llave.

  2. Asegúrese de que la máquina está en condiciones seguras de funcionamiento manteniendo apretados todos los pernos, tuercas y tornillos.

  3. Lleve protección ocular mientras instala el toldo.

  4. Cambie el toldo si está dañado. No lo repare ni lo revise.

  5. Al instalar el toldo o realizar operaciones de mantenimiento, utilice soportes, polipastos y gatos apropiados. Si el toldo no está bien apoyado, podría caer o desplazarse y causar lesiones personales.

  6. Para asegurar el máximo rendimiento y seguridad, compre siempre piezas y accesorios genuinos de Toro. Las piezas de repuesto y los accesorios de otros fabricantes podrían ser peligrosos. Dicho uso podría invalidar la garantía de The Toro Company.

Pegatinas de seguridad e instrucciones

Graphic

Las pegatinas e instrucciones de seguridad están a la vista del operador y están ubicadas cerca de cualquier zona de peligro potencial. Sustituya cualquier pegatina que esté dañada o que falte.

Existen pegatinas de seguridad e instrucciones adheridas al toldo. Si cualquier pegatina llega a ser ilegible o dañada, coloque una pegatina nueva.

decal98-4387

Instalación

Preparación de la máquina

  1. Aparque la máquina en una superficie nivelada.

  2. Baje las unidades de corte y ponga el freno de estacionamiento.

  3. Apague el motor y retire la llave.

Note: No todas las máquinas utilizan las mismas piezas para instalar el kit.

Identificación e instalación de los pernos en U

En este kit se incluye 5 pernos en U diferentes. Los pernos en U se enumeran en la lista de piezas por dimensión (tramo x longitud). Consulte la Figura 1 para determinar las dimensiones de los pernos en U.

g246183

Realice los pasos siguientes al instalar los pernos en U en el soporte de montaje del ROPS:

  • Utilice únicamente herramientas manuales para apretar las tuercas que sujetan los pernos en U al soporte de montaje.

  • Para asegurar una distribución uniforme, apriete las tuercas en un patrón alternativo, como se muestra en la Figura 2.

g482777

Instalación del toldo

Máquina Groundsmaster 5900

Piezas necesarias en este paso:

Perno (¾" x 4")2
Tuerca (¾")2
Arandela (13/16" x 1½")4
Bastidor 1
Soporte de montaje del ROPS1
Tirante2
Soporte del tirante2
Acoplamiento de extensión2
Perno (½" x 1½")4
Perno (½" x 2½") 4
Perno (½" x 2¾")4
Arandela grande10
Tuerca con arandela prensada (½")10
Perno en U (4½" x 2¾") 2
Perno en U (3⅛" x 4")2
Abrazadera (3½" x 5")4
Perno en U (3½" x 2¾")2
Abrazadera (4½" x 4")2
Tuerca con arandela prensada (3/8 pulgada)8
Toldo 1
Perno con arandela prensada (5/16" x 1¼")4
Arandela pequeña4
Anillo de goma4
Tuerca rápida4
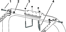
  1. Coloque el soporte de montaje del ROPS encima de la barra antivuelco de la unidad de tracción (Figura 3).

    Note: Asegúrese de que la barra antivuelco está centrada en el soporte de montaje.

    g246182
  2. Instale el conjunto del chasis en el soporte de montaje del ROPS (Figura 3).

  3. Usando los taladros de montaje indicados en la Figura 3, monte el soporte de montaje del ROPS en la parte superior de la barra antivuelco con 2 pernos en U (4½" x 4") y 4 tuercas con arandela prensada.

  4. Usando los taladros de montaje indicados en la Figura 4, sujete provisionalmente cada uno de los soportes de los tirantes a los postes de la barra antivuelco con un perno en U (3⅛" x 4") y 2 tuercas con arandela prensada.

    g482768
  5. En cada lado del bastidor del toldo, monte provisionalmente un tirante en el segundo taladro del soporte del tirante con un perno (½" x 2¾"), una arandela (½") y una tuerca con arandela prensada (½"), tal y como se muestra en la Figura 5.

    g267172
  6. Sujete provisionalmente un soporte de tirante a cada tirante con un perno (½" x 2½"), una arandela (½") y una tuerca con arandela prensada (½"), según se muestra en Figura 5.

  7. Mueva los soportes de los tirantes hacia arriba o hacia abajo en los postes verticales de la barra antivuelco hasta que el bastidor del toldo esté paralelo al suelo.

    Note: Utilice un nivel para asegurarse de que el bastidor está paralelo al suelo.

    Note: Utilice los taladros de montaje delanteros o traseros del soporte del tirante, si necesita más ajuste.

  8. Apriete las tuercas con arandela prensada de las abrazaderas para sujetar los soportes de montaje a los postes.

  9. Apriete todas las tuercas con arandela prensada restantes como se indica a continuación:

    • Apriete las tuercas con arandela prensada (⅜") a 41-55 N·m.

    • Apriete las tuercas con arandela prensada (½") a 113-141 N·m.

  10. Alinee los taladros de montaje y posicione el toldo sobre el bastidor, según se muestra en Figura 6.

    g245151
  11. Sujete provisionalmente cada esquina del toldo al bastidor con un perno con arandela prensada (5/16" x 1¼"), una arandela pequeña y un anillo de goma (Figura 6).

  12. Apriete los pernos de montaje del toldo a 5–6 N·m.

    Important: No apriete demasiado los pernos de montaje porque el toldo podría agrietarse.

Instalación del toldo

Máquina Groundsmaster 3200 o 3300
  1. Con la barra antivuelco bajada, retire el muelle de lámina antitraqueteo (Figura 7) de cada lado de la barra antivuelco.

    Guarde los muelles de lámina y los pernos para usarlos cuando la capota no esté instalada.

    g558139
  2. Con la barra antivuelco en la posición elevada, retire las chavetas y los 2 pasadores (Figura 8).

    g001199
  3. Coloque una arandela (13/16" x 1½") en cada perno (¾" x 4"), según se muestra en Figura 9.

    g558140
  4. En los taladros de donde se retiraron los pasadores, instale los pernos y las arandelas (Figura 9).

  5. Coloque otra arandela sobre cada perno y sujételas con tuercas (¾"), según se muestra en Figura 9. Apriete las tuercas a 323–396 N·m.

  6. Instale un perno (⅜"-16 × 1" o 1¼") con una contratuerca (los pernos y las contratuercas no están incluidos) en la placa roscada en cada lado de la parte inferior de la barra antivuelco, en la zona de la bisagra (Figura 9). Apriete el perno hasta que esté apretado contra el tubo superior de la barra antivuelco y apriete la contratuerca.

  7. Apriete el perno de pivote del ROPS (Figura 9) a 91-113 N·m para evitar que reboten la barra antivuelco y el toldo.

  8. Coloque el soporte de montaje del ROPS encima de la barra antivuelco del fumigador de césped (Figura 10).

    Note: Asegúrese de que la barra antivuelco está centrada en el soporte de montaje del ROPS.

    g246185
  9. Instale el conjunto del chasis en el soporte de montaje del ROPS (Figura 10).

  10. Usando los taladros de montaje indicados en la Figura 11, monte el soporte de montaje del ROPS en la parte superior de la barra antivuelco con 2 pernos en U (4-1/2" x 2-3/4") y 4 tuercas con arandela prensada.

  11. Usando los taladros de montaje indicados en la Figura 11, sujete provisionalmente cada uno de los soportes de los tirantes a los postes de la barra antivuelco con un perno en U (3½" x 2¾") y 2 tuercas con arandela prensada.

    g482769
  12. En cada lado del bastidor del toldo, monte provisionalmente un acoplamiento de extensión en el cuarto taladro del soporte del tirante con 2 pernos (½" x 2¾"), 2 arandelas grandes y 2 tuercas con arandela prensada (½"), tal y como se muestra en la Figura 12.

    g297973
  13. A cada lado de la máquina, instale provisionalmente un soporte de tirante en cada tirante con un perno (½" x 2¾"), 3 arandelas grandes y una tuerca con arandela prensada (½"), tal y como se muestra en la Figura 13.

    g297972
  14. Mueva los soportes de tirantes hacia arriba o hacia abajo en los postes verticales de la barra antivuelco hasta que el bastidor del toldo esté paralelo al suelo y, a continuación, apriete las tuercas con arandela prensada de los pernos en U para sujetar los soportes de montaje a los postes.

    Note: Utilice un nivel para asegurarse de que el bastidor está paralelo al suelo.

  15. Apriete todas las tuercas con arandela prensada restantes como se indica a continuación:

    • Apriete las tuercas con arandela prensada (⅜") a 41-55 N·m.

    • Apriete las tuercas con arandela prensada (½") a 113-141 N·m.

  16. Alinee los taladros de montaje y posicione el toldo sobre el bastidor, según se muestra en Figura 14.

    g245151
  17. Sujete provisionalmente cada esquina del toldo al bastidor con un perno con arandela prensada (5/16" x 1¼"), una arandela pequeña y un anillo de goma (Figura 14).

  18. Apriete los pernos de montaje del toldo a 5–6 N·m.

    Important: No apriete demasiado los pernos de montaje porque el toldo podría agrietarse.

Instalación del toldo

Máquina Groundsmaster 3280
  1. Con la barra antivuelco bajada, retire el muelle de lámina antitraqueteo (Figura 15) de cada lado de la barra antivuelco.

    Guarde los muelles de lámina y los pernos para usarlos cuando la capota no esté instalada.

    g558139
  2. Con la barra antivuelco en la posición elevada, retire las chavetas y los 2 pasadores (Figura 16).

    g001199
  3. Coloque una arandela (13/16" x 1½") en cada perno (¾" x 4"), según se muestra en Figura 17.

    g558140
  4. En los taladros de donde se retiraron los pasadores, instale los pernos y las arandelas (Figura 17).

  5. Coloque otra arandela sobre cada perno y sujételas con tuercas (¾"), según se muestra en Figura 17. Apriete las tuercas a 323–396 N·m.

  6. Instale un perno (⅜"-16 × 1" o 1¼") con una contratuerca (los pernos y las contratuercas no están incluidos) en la placa roscada en cada lado de la parte inferior de la barra antivuelco, en la zona de la bisagra (Figura 17). Apriete el perno hasta que esté apretado contra el tubo superior de la barra antivuelco y apriete la contratuerca.

  7. Apriete el perno de pivote del ROPS (Figura 17) a 91-113 N·m para evitar que reboten la barra antivuelco y el toldo.

  8. Coloque el soporte de montaje del ROPS encima de la barra antivuelco de la unidad de tracción (Figura 18).

    Note: Asegúrese de que la barra antivuelco está centrada en el soporte de montaje del ROPS.

    g246185
  9. Instale el conjunto del chasis en el soporte de montaje del ROPS (Figura 18).

  10. Usando los taladros de montaje indicados en la Figura 18, monte el soporte de montaje del ROPS en la parte superior de la barra antivuelco con 2 pernos en U (4-1/2" x 2-3/4") y 4 tuercas con arandela prensada.

  11. Usando los taladros de montaje indicados en la Figura 19, sujete provisionalmente cada uno de los soportes de los tirantes a los postes de la barra antivuelco con un perno en U (3½" x 2¾") y 2 tuercas con arandela prensada.

    g482770
  12. En cada lado del bastidor del toldo, monte provisionalmente un acoplamiento de extensión en el cuarto taladro del soporte del tirante con 2 pernos (½" x 2¾") y 2 tuercas con arandela prensada (½"), tal y como se muestra en la Figura 20.

    g267174
  13. Sujete provisionalmente un soporte de tirante a cada tirante con un perno (½" x 2½"), una arandela (½") y una tuerca con arandela prensada (½"), según se muestra en Figura 20.

  14. Mueva los soportes de tirantes hacia arriba o hacia abajo en los postes verticales de la barra antivuelco hasta que el bastidor del toldo esté paralelo al suelo y, a continuación, apriete las tuercas con arandela prensada de los pernos en U para sujetar los soportes de montaje a los postes.

    Note: Utilice un nivel para asegurarse de que el bastidor está paralelo al suelo.

  15. Apriete todas las tuercas con arandela prensada restantes como se indica a continuación:

    • Apriete las tuercas con arandela prensada (⅜") a 41-55 N·m.

    • Apriete las tuercas con arandela prensada (½") a 113-141 N·m.

  16. Alinee los taladros de montaje y posicione el toldo sobre el bastidor, según se muestra en Figura 21.

    g245151
  17. Sujete provisionalmente cada esquina del toldo al bastidor con un perno con arandela prensada (5/16" x 1¼"), una arandela pequeña y un anillo de goma (Figura 21).

  18. Apriete los pernos de montaje del toldo a 5–6 N·m.

    Important: No apriete demasiado los pernos de montaje porque el toldo podría agrietarse.

Instalación del toldo

Máquinas Groundsmaster 360 o 7200
  1. Con la barra antivuelco bajada, retire el muelle de lámina antitraqueteo (Figura 22) de cada lado de la barra antivuelco.

    Guarde los muelles de lámina y los pernos para usarlos cuando la capota no esté instalada.

    g560315
  2. Con la barra antivuelco en la posición elevada, retire las chavetas y los 2 pasadores (Figura 23).

    g187726
  3. Coloque una arandela (13/16" x 1½") en cada perno (¾" x 4"), como se muestra en la Figura 24.

    g560317
  4. En los taladros de donde se retiraron los pasadores, instale los pernos y las arandelas (Figura 24).

  5. Coloque otra arandela sobre cada perno y sujételas con tuercas (¾"), según se muestra en Figura 24. Apriete las tuercas a 323–396 N·m.

  6. Instale un perno (⅜"-16 × 1" o 1¼") con una contratuerca (los pernos y las contratuercas no están incluidos) en la placa roscada en cada lado de la parte inferior de la barra antivuelco, en la zona de la bisagra (Figura 24). Apriete el perno hasta que esté apretado contra el tubo superior de la barra antivuelco y apriete la contratuerca.

  7. Apriete el perno de pivote del ROPS (Figura 24) a 91-113 N·m para evitar que reboten la barra antivuelco y el toldo.

  8. Coloque el soporte de montaje del ROPS encima de la barra antivuelco de la unidad de tracción (Figura 25).

    Note: Asegúrese de que la barra antivuelco está centrada en el soporte de montaje del ROPS.

    g246185
  9. Usando los taladros de montaje indicados en la Figura 25, monte el soporte en la parte superior de la barra antivuelco con 2 pernos en U (4½" x 2¾") y 4 tuercas con arandela prensada.

  10. Usando los taladros de montaje indicados en la Figura 26, sujete provisionalmente cada uno de los soportes de los tirantes a los postes de la barra antivuelco con un perno en U (3½" x 2¾") y 2 tuercas con arandela prensada.

    g482771
  11. En cada lado del bastidor del toldo, monte provisionalmente un tirante en el sexto taladro del soporte con un perno (½" x 2¾"), una arandela (½") y una tuerca con arandela prensada (½"), tal y como se muestra en la Figura 27.

    g267175
  12. Sujete provisionalmente un soporte de tirante a cada tirante con un perno (½" x 2½"), una arandela (½") y una tuerca con arandela prensada (½"), según se muestra en Figura 27.

    Note: Los pernos en U no se instalan simétricamente.

  13. Mueva los soportes de los tirantes hacia arriba o hacia abajo en los postes verticales de la barra antivuelco hasta que el bastidor del toldo esté paralelo al suelo. Utilice un nivel para asegurarse de que el bastidor está paralelo al suelo. A continuación, apriete las tuercas con arandela prensada de los pernos en U para sujetar los soportes de tirantes a los postes.

    Note: Utilice los taladros de montaje delanteros o traseros del soporte del tirante, si se requiere un ajuste mayor.

  14. Apriete todas las tuercas con arandela prensada restantes como se indica a continuación:

    • Apriete las tuercas con arandela prensada (⅜") a 41-55 N·m.

    • Apriete las tuercas con arandela prensada (½") a 113-141 N·m.

  15. Alinee los taladros de montaje y posicione el toldo sobre el bastidor, según se muestra en Figura 28.

    g245151
  16. Sujete provisionalmente cada esquina del toldo al bastidor con un perno con arandela prensada (5/16" x 1¼"), una arandela pequeña y un anillo de goma (Figura 28).

  17. Apriete los pernos de montaje del toldo a 5–6 N·m.

    Important: No apriete demasiado los pernos de montaje porque el toldo podría agrietarse.

Instalación del toldo

Máquinas Groundsmaster 3500, 3505, 4000 y 4100 o máquinas Reelmaster 3100, 3555 y 3575
  1. Al instalar el toldo universal en una unidad de tracción Reelmaster 3100 o una unidad de tracción Groundsmaster 3500/3505, instale el kit de pesos para ruedas.

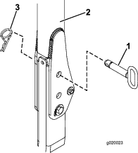
  2. En el caso de las unidades de tracción Reelmaster 3555 y 3575, vaya al paso 12. Para todos los demás modelos, con la barra antivuelco en la posición elevada, retire las chavetas y los 2 pasadores (Figura 29).

    g020023
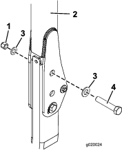
  3. Coloque una arandela (13/16" x 1½") en cada perno (¾" x 4"), según se muestra en Figura 30.

    g020024
  4. En los taladros de donde se retiraron los pasadores, instale los pernos y las arandelas (Figura 30).

  5. Coloque otra arandela sobre cada perno y sujételas con una tuerca (¾"), según se muestra en Figura 30. Apriete las tuercas a 323–396 N·m.

  6. Apriete el perno de pivote del ROPS (Figura 30) a 91–113 N·m para evitar que reboten la barra antivuelco y el toldo.

  7. Coloque el soporte de montaje del ROPS encima de la barra antivuelco de la unidad de tracción (Figura 31). Asegúrese de que la barra antivuelco está centrada en el soporte de montaje del ROPS.

    g246190
  8. Usando los taladros de montaje indicados en la Figura 31, monte el soporte de montaje del ROPS en la parte superior de la barra antivuelco con 2 pernos en U (4½" x 2¾") y 4 tuercas con arandela prensada.

  9. Usando los taladros de montaje indicados en la Figura 32, sujete provisionalmente cada uno de los soportes de los tirantes a los postes de la barra antivuelco con un perno en U (3-1/8" x 5") y 2 tuercas con arandela prensada.

    g482772
  10. En cada lado del bastidor del toldo, monte provisionalmente un tirante en el soporte del tirante según se explica a continuación:

    • En los modelos 03820, 03821, 30604 , 30605, 30608 y 30609, en cada lado del bastidor del toldo, monte provisionalmente un tirante en el taladro trasero del soporte del tirante con un perno (½" x 2½") una arandela (½") y una tuerca con arandela prensada (½"), según se muestra en Figura 33.

    • En los modelos 30446, 30446N, 30447 y 30447N, en cada lado del bastidor del toldo, monte provisionalmente un tirante en el segundo taladro del soporte del tirante con un perno (½" x 2½"), una arandela (½") y una tuerca con arandela prensada (½"), según se muestra en Figura 34.

    g267177
    g267178
  11. Sujete provisionalmente un soporte de tirante a cada tirante con un perno (½" x 2½"), una arandela (½") y una tuerca con arandela prensada (½"), según se muestra en Figura 33.

  12. Mueva el soporte del tirante hacia arriba o hacia abajo en los postes verticales de la barra antivuelco hasta que el bastidor del toldo esté paralelo al suelo.

    Note: Utilice un nivel para asegurarse de que el bastidor está paralelo al suelo.

  13. Apriete las tuercas con arandela prensada de las abrazaderas para sujetar los soportes de montaje a los postes.

  14. Apriete todas las tuercas con arandela prensada restantes como se indica a continuación:

    • Apriete las tuercas con arandela prensada (⅜") a 41-55 N·m.

    • Apriete las tuercas con arandela prensada (½") a 113-141 N·m.

  15. Alinee los taladros de montaje y posicione el toldo sobre el bastidor, según se muestra en Figura 35.

    g245151
  16. Sujete provisionalmente cada esquina del toldo al bastidor con un perno con arandela prensada (5/16" x 1¼"), una arandela pequeña y un anillo de goma (Figura 35).

  17. Apriete los pernos de montaje del toldo a 5–6 N·m.

    Important: No apriete demasiado los pernos de montaje porque el toldo podría agrietarse.

Instalación del toldo

Máquinas Groundsmaster 4500 y 4700 o Reelmaster 6700 y 7000
  1. Con la barra antivuelco en la posición elevada, retire la chaveta y el pasador.

    g215450
  2. Coloque una arandela (13/16" x 1½") en cada perno (¾" x 4"), según se muestra en Figura 37.

  3. En los taladros de donde se retiraron los pasadores, instale los pernos y las arandelas (Figura 37).

  4. Coloque otra arandela sobre cada perno y sujételas con una tuerca (¾"), según se muestra en Figura 37.

  5. Apriete el perno de pivote del ROPS a 91–113 N·m para evitar que reboten la barra antivuelco y el toldo.

    g215449
  6. Coloque el soporte de montaje del ROPS encima de la barra antivuelco de la unidad de tracción (Figura 38). Asegúrese de que la barra antivuelco está centrada en el soporte de montaje del ROPS.

    g246186
  7. Usando los taladros de montaje indicados en la Figura 38, monte el soporte de montaje del ROPS en la parte superior de la barra antivuelco con 2 pernos en U (3½" x 4") y 4 tuercas con arandela prensada.

  8. Usando los taladros de montaje indicados en la Figura 39, sujete provisionalmente cada uno de los soportes de los tirantes a los postes de la barra antivuelco con un perno en U (3-1/2" x 5") y 2 tuercas con arandela prensada.

    g245424
  9. En cada lado del bastidor del toldo, monte provisionalmente un acoplamiento de extensión en los orificios trasero y central del soporte de montaje con 2 pernos (½" x 1½") y 2 tuercas con arandela prensada (½"), tal y como se muestra en la Figura 40.

  10. Instale provisionalmente un tirante en el exterior de cada acoplamiento de extensión con un perno (½" x 2½"), una arandela (½") y una tuerca con arandela prensada (½") Figura 40.

    g245195
  11. Sujete provisionalmente un soporte de tirante a cada tirante con un perno (½" x 2½"), una arandela (½") y una tuerca con arandela prensada (½"), según se muestra en Figura 40.

  12. Mueva los soportes de los tirantes hacia arriba o hacia abajo en los postes verticales de la barra antivuelco hasta que el bastidor del toldo esté paralelo al suelo.

    Note: Utilice un nivel para asegurarse de que el bastidor está paralelo al suelo.

  13. Apriete las tuercas con arandela prensada de los pernos en U para sujetar los soportes de montaje a los postes.

  14. Apriete todas las tuercas con arandela prensada restantes como se indica a continuación:

    • Apriete las tuercas con arandela prensada (⅜") a 41-55 N·m.

    • Apriete las tuercas con arandela prensada (½") a 113-141 N·m.

  15. Alinee los taladros de montaje y posicione el toldo sobre el bastidor, según se muestra en Figura 41.

    g245151
  16. Sujete provisionalmente cada esquina del toldo al bastidor con un perno con arandela prensada (5/16" x 1¼"), una arandela pequeña y un anillo de goma (Figura 41).

  17. Apriete los pernos de montaje del toldo a 5–6 N·m.

    Important: No apriete demasiado los pernos de montaje porque el toldo podría agrietarse.

Instalación del toldo

Máquina Reelmaster 5010 o Groundsmaster 4300
  1. Coloque los soportes de montaje del ROPS encima de la barra antivuelco de la unidad de tracción (Figura 42). Asegúrese de que la barra antivuelco está centrada en el soporte de montaje del ROPS.

    g246190
  2. Usando los taladros de montaje indicados en la Figura 42, monte el soporte de montaje del ROPS en la parte superior de la barra antivuelco con 2 pernos en U (4-1/2" x 2-3/4") y 4 tuercas con arandela prensada.

  3. Usando los taladros de montaje indicados en la Figura 43, sujete provisionalmente cada uno de los soportes de los tirantes a los postes de la barra antivuelco con un perno en U (3-1/8" x 5") y 2 tuercas con arandela prensada.

    g482773
  4. En cada lado del bastidor del toldo, monte provisionalmente un tirante en el taladro trasero del soporte del tirante con un perno (½" x 2¾"), 2 arandelas (½") y una tuerca con arandela prensada (½"), según se muestra en la Figura 44.

    g267177
  5. Sujete provisionalmente un soporte de tirante a cada tirante con un perno (½" x 2½"), 2 arandelas (½") y una tuerca con arandela prensada (½"), según se muestra en la Figura 44.

  6. Mueva los soportes de los tirantes hacia arriba o hacia abajo en los postes verticales de la barra antivuelco hasta que el bastidor del toldo esté paralelo al suelo.

    Note: Utilice un nivel para asegurarse de que el bastidor está paralelo al suelo.

  7. Apriete las tuercas con arandela prensada de las abrazaderas para sujetar los soportes de montaje a los postes.

  8. Apriete todas las tuercas con arandela prensada restantes como se indica a continuación:

    • Apriete las tuercas con arandela prensada (⅜") a 41-55 N·m.

    • Apriete las tuercas con arandela prensada (½") a 113-141 N·m.

  9. Alinee los taladros de montaje y posicione el toldo sobre el bastidor, según se muestra en Figura 45.

    g245151
  10. Sujete provisionalmente cada esquina del toldo al bastidor con un perno con arandela prensada (5/16" x 1¼"), una arandela pequeña y un anillo de goma (Figura 45).

  11. Apriete los pernos de montaje del toldo a 5–6 N·m.

    Important: No apriete demasiado los pernos de montaje porque el toldo podría agrietarse.

Instalación del toldo

Máquina Multi Pro 1750
  1. Coloque el soporte de montaje del ROPS encima de la barra antivuelco del fumigador de césped (Figura 46).

    Note: Asegúrese de que la barra antivuelco está centrada en el soporte de montaje del ROPS.

    g246185
  2. Instale el conjunto del chasis en el soporte de montaje del ROPS (Figura 46).

  3. Usando los taladros de montaje indicados en la Figura 46, monte el soporte de montaje del ROPS en la parte superior de la barra antivuelco con 2 pernos en U (4-1/2" x 2-3/4") y 4 tuercas con arandela prensada.

  4. Usando los taladros de montaje indicados en la Figura 47, sujete provisionalmente cada uno de los soportes de los tirantes a los postes de la barra antivuelco con un perno en U (3½" x 2¾") y 2 tuercas con arandela prensada.

    g482774
  5. En cada lado del bastidor del toldo, monte provisionalmente un acoplamiento de extensión en el cuarto taladro del soporte del tirante con 2 pernos (½" x 2¾") y 2 tuercas con arandela prensada (½"), tal y como se muestra en la Figura 48.

    g267174
  6. Sujete provisionalmente un soporte de tirante a cada tirante con un perno (½" x 2½"), una arandela (½") y una tuerca con arandela prensada (½"), según se muestra en Figura 48.

  7. Mueva los soportes de tirantes hacia arriba o hacia abajo en los postes verticales de la barra antivuelco hasta que el bastidor del toldo esté paralelo al suelo y, a continuación, apriete las tuercas con arandela prensada de los pernos en U para sujetar los soportes de montaje a los postes.

    Note: Utilice un nivel para asegurarse de que el bastidor está paralelo al suelo.

  8. Apriete todas las tuercas con arandela prensada restantes como se indica a continuación:

    • Apriete las tuercas con arandela prensada (⅜") a 41-55 N·m.

    • Apriete las tuercas con arandela prensada (½") a 113-141 N·m.

  9. Alinee los taladros de montaje y posicione el toldo sobre el bastidor, según se muestra en Figura 49.

    g245151
  10. Sujete provisionalmente cada esquina del toldo al bastidor con un perno con arandela prensada (5/16" x 1¼"), una arandela pequeña y un anillo de goma (Figura 49).

  11. Apriete los pernos de montaje del toldo a 5–6 N·m.

    Important: No apriete demasiado los pernos de montaje porque el toldo podría agrietarse.

Operación

Transporte de la máquina

Al transportar la máquina, utilice los 2 taladros de la parte delantera del bastidor del toldo (debajo del toldo) para amarrar el toldo a un punto firme de la máquina y evitar que el viento lo levante (Figura 50).

g018101

Mantenimiento

Comprobación y apriete de las fijaciones

Compruebe y apriete las fijaciones de montaje después de 8 horas de uso. Inspeccione y apriete las fijaciones periódicamente.

Limpieza del toldo

Lavar con un jabón o detergente suave, usando las manos desnudas, un paño suave, o una esponja para liberar o despegar cualquier acumulación de suciedad o partículas.

Note: El uso de ciertos productos de limpieza o paños puede rayar o degradar la superficie del toldo. Pruebe el producto de limpieza o el paño en una zona poco visible.