Elektrikli Hortum Makarası Seti, püskürtme aracı için özel bir ek parçadır ve özel olarak görevlendirilmiş profesyoneller tarafından ticari uygulamalarda kullanılmak üzere tasarlanmıştır. Öncelikle parklar, golf sahaları, spor sahaları ve ticari alanlardaki iyi bakımlı çimlere püskürtme yapmak için tasarlanmıştır.
Ürünü kullanmayı ve bakımlarını yapmayı öğrenmek ve olası yaralanmalar ile maddi hasarları önlemek için bu bilgileri dikkatle okuyun. Ürünü doğru ve emniyetli bir şekilde kullanmak sizin sorumluluğunuzdur.
Emniyet ipuçları gibi detaylı bilgilere, eğitim materyallerine ve aksesuar bilgilerine erişmek, bayi bulmak veya ürününüzü kaydettirmek için www.Toro.com adresine gidin.
Servise, orijinal Toro parçalarına veya ek bilgiye ihtiyaç duyduğunuz takdirde bir Yetkili Servis Merkeziyle ya da Toro Müşteri Hizmetleriyle iletişim kurun ve ürünün model ve seri numaralarını hazır bulundurun. Şekil 1, model ve seri numaralarının ürün üzerindeki yerini belirtir. Bu numaraları, ilgili alana yazın.
Important: Garanti, yedek parça ve diğer ürün bilgilerine erişmek için, seri numarası etiketindeki (varsa) QR kodunu mobil aygıtınızla taratabilirsiniz.

Note: Bu ürün, ilgili tüm Avrupa direktiflerine uygundur. Ayrıntılar için lütfen bu yayının arkasındaki Üretici Beyanı’na (DOI) bakın.Makinenin sağ ve sol taraflarını, normal çalışma konumuna göre belirleyin.
Important: Bu setin takılması için Teflon bant gereklidir. Bu bant, montajdan önce bağlantı parçalarının dişlerini sarmak için kullanılır. Su geçirmez bir sızdırmazlık elde edilebilmesi için dişler taban kısımlarından başlayıp bağlantı parçasının ucuna kadar sarılmalıdır.
Important: Bu setin takılması için, petrol bazlı olmayan bir yağlayıcı gereklidir (bitkisel yağ gibi).
Operatörün veya ekipman sahibinin ekipmanı
hatalı kullanması veya hatalı bakım yapması
yaralanmayla sonuçlanabilir. Yaralanma risklerini azaltmak
amacıyla bu emniyet talimatlarına her zaman uyun ve
Dikkat, Uyarı veya Tehlike anlamına gelen emniyet uyarısı
sembolüne
çok dikkat edin. Bu talimata uyulmaması yaralanma
veya ölüme yol açabilir.
Ayrıca, aracın Kullanma Kılavuzunda bulunan emniyet ve işletim talimatlarını da okuyun.
Püskürtme makinesini insanlara veya hayvanlara doğrultmayın. Yüksek basınç altındaki sıvılar cilde nüfuz edebilir ve ağır yaralanmaya, uzuv kaybına ve hatta ölüme yol açabilir. Sıcak sıvı ve kimyasallar da yanıklara veya yaralanmaya neden olabilir. Vücudunuzun herhangi bir kısmı püsküren buharla temas ederse derhal cilde nüfuz eden sıvı yaralanmaları konusunda uzman bir hekime başvurun.
Elinizi veya vücudunuzun başka bir kısmını püskürtme nozulunun önüne yerleştirmeyin.
Yanında olmadığınız zamanlarda ekipmanı basınçlı halde bırakmayın.
Hortum, tetik kilidi, nozul veya başka bir parça hasarlı ya da eksikse manuel püskürtme ünitesini kullanmayın.
Hortumlarda, bağlantı parçalarında veya diğer bileşenlerde sızıntı varsa manuel püskürtme ünitesini kullanmayın.
Elektrik hatlarının yakınında püskürtme yapmayın.
Manuel püskürtme ünitesiyle püskürtme yaparken makineyi sürmeyin.
Manuel püskürtme ünitesiyle kimyasal püskürtürken kimyasal elbisesi, koruyucu gözlük, solunum aparatı, kauçuk ayakkabı ve koruyucu eldivenler giyin.
Makineyi yalnızca iyi görüş koşullarında ve uygun hava şartları altında çalıştırın. Yıldırım düşme riski olan zamanlarda makineyi kullanmayın.
Kimyasallar tehlikelidir ve yaralanmaya yol açabilirler.
Kimyasalları elleçlemeden önce kimyasal etiketlerindeki bilgileri okuyun ve üreticinin tüm tavsiye ve talimatlarını uygulayın.
Kimyasalları cildinizden uzak tutun. Kimyasallara temas ederseniz, etkilenen bölgeyi sabun ve temiz suyla iyice yıkayın.
Emniyet gözlüğü ve kimyasal üreticisinin tavsiye ettiği diğer kişisel koruyucu donanımları takın.
Püskürtme makinesinin deposunu boşaltın.
Püskürtme makinesinin deposunu temizleyin ve durulayın; makinenize ait Kullanma Kılavuzuna bakın.
Makineyi düz bir zemine park edin, park frenini etkinleştirin, pompayı durdurun, motoru kapatın, anahtarı çıkarın ve tüm hareketli parçaların durmasını bekleyin.
Akü eksi kablosunun bağlantısını ayırın.
Akü artı kablosunun bağlantısını ayırın.
Bu prosedür için gerekli parçalar:
| Kablo demeti | 1 |
| Anahtar | 1 |
| Su geçirmez kapak ve somun | 1 |
| Küçük R-kelepçe | 1 |
| Flanşlı somun (3/8 inç) | 1 |
| Taşıyıcı cıvata | 1 |
| Eriyebilir bağlantılı kablo demeti (108-9455) | 1 |
| Röle (99-7435) | 1 |
| Bastırarak takılan sabitleme elemanı | 1 |
Deponun en üst kısmındaki ön depo kayışlarını sabitleyen sabitleme elemanlarını sökün.
Note: Tüm parçaları saklayın.
Sağ depo kayışının üzerindeki alt iç deliğe bir adet taşıyıcı cıvata takın.
Daha önce söktüğünüz depo kayışı sabitleme elemanlarını kullanarak kayışları depoya sabitleyin.
Note: Kayışın depoya sıkıca sabitlendiğini kontrol edin. Aşırı sıkmayın.
Şekil 2 ile gösterildiği gibi, flanşlı bir somun (3/8 inç) kullanarak taşıyıcı cıvataya küçük bir R-kelepçe sabitleyin.
Kablo demetinin hortum makarası ucunu Şekil 2 ile gösterildiği gibi R-kelepçeye doğru yönlendirin.

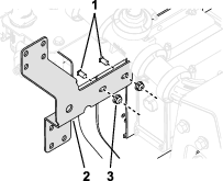
Kontrol paneli kapağını konsola sabitleyen 4 adet altıgen başlı vidayı sökün ve paneli hafifçe yukarı kaldırın.
Note: Gerekiyorsa, diferansiyel kilidi çubuğunun topuzunu sökün.

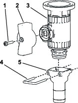
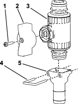
Kontrol paneli kapağındaki yuvarlak tapayı çıkarın (Şekil 4).

Anahtarı sıkıştırma somunuyla kontrol paneli kapağına takın ve somunu elinizle sıkın (Şekil 5).

Düğme kapağını anahtarın üzerine takın (Şekil 6).

Kablo demetindeki 2 konnektörü anahtarın üzerindeki 2 kanatlı konnektöre bağlayın (Şekil 7).
Kontrol paneli kapağını, daha önce söktüğünüz cıvataları kullanarak konsol koluna sabitleyin.
Note: Daha önce söktüyseniz, topuzu tekrar diferansiyel kilidi çubuğuna takın.
Yakındaki konnektörü, kontrol kolunun ön kısmının altında bulunan, ana kablo demetinin üzerindeki hortum makarası tapasının içine bağlayın.
Sonraki konnektörü rölenin içine takın (Şekil 7) ve röleyi mevcut rölelerin yakınındaki şasi dış deliğine monte edin.
Eriyebilir bağlantıyı, akü artı (+) ucuna sabitlenmiş kırmızı tele bağlayın (Şekil 7).
Kablo demetindeki eksi (-) bağlantıyı, eksi (-) akü ucuna bağlayın.
Kablo demetinin en ucunu sigorta bloku toprağına bağlayın (Şekil 7).

Bu prosedür için gerekli parçalar:
| Hortum makarası çerçevesi | 1 |
| Cıvata(5/16) | 10 |
| Flanşlı somun (5/16 inç) | 10 |
| Döner levha | 1 |
| Hortum makarası | 1 |
| Büyük taşıyıcı cıvata | 4 |
| Flanşlı somun (3/8 inç) | 4 |
| Kol | 1 |
| Çamurluk | 1 |
| Yaylı klips | 1 |
| Kilit somunu | 2 |
| Küçük taşıyıcı cıvata | 2 |
| Büyük R-kelepçe | 2 |
| Püskürtme tabancası braketi | 1 |
| Ara parçası | 2 |
| Sac vidaları | 2 |
| Baskı pulu | 1 |
| Tespit halkası | 1 |
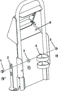
Hortum makarası çerçevesini, Şekil 8 ile gösterildiği gibi 4 cıvatayı (5/16 inç) ve 4 flanşlı somunu (5/16 inç) kullanarak makinenin yan kısmına monte edin.

Döner levhayı, 4 taşıyıcı cıvata ile 4 flanşlı somunu (3/8 inç) kullanarak hortum makarasının tabanına sabitleyin (Şekil 9).

Döner levhayı hortum makarası çerçevesindeki deliğin içine yerleştirin (Şekil 9).
Note: Takma işlemini kolaylaştırmak için döner kilidi sola hareket ettirin.
Hortum makarası çerçevesinin alt kısmında, baskı pulunu ve tespit halkasını döner levhanın direğine sabitleyin (Şekil 10).

4 cıvatayı (5/16 inç) kullanarak kolu döner levhaya gevşek bir şekilde monte edin (Şekil 11).

5. adımda taktığınız cıvataları ve 4 flanşlı somunu (5/16 inç) kullanarak çamurluğu ve kolu döner levhaya sabitleyin (Şekil 11).
Çamurluğun en üst kısmını, 2 sac vidasını kullanarak kola sabitleyin (Şekil 12).

Püskürtme tabancası yuvasını, Şekil 12 ile gösterildiği gibi çamurluğa sabitleyin.
Kablo demetini hortum makarasına bağlayın.
Note: Aksi belirtilmediği takdirde, çıkarılan tüm parçaları daha sonra takmak üzere saklayın.
Aktüatörü bölüm valfinin veya karıştırma valfinin manifold valfine sabitleyen tespit elemanını sökün (Şekil 13).
Note: Tespit elemanını aşağı doğru bastırarak elemanın 2 ayağını sıkın.
Note: Aktüatörü ve tespit elemanını bir kenara koyun.

Aktüatörü manifold valfinden çıkarın.
Boom baypas valfi grubunu, uç kapağı, bağlantı parçasını ve hortum grubunu sabitleyen tespit elemanlarını Şekil 14 ile gösterildiği gibi sökün.
Important: Makinenizde GeoLink kuruluysa, bu işlemi her iki taraftaki valf grupları için uygulayın.
Note: Erkek kapağı kullanmayacaksınız, fakat kapağın üzerindeki O-halkayı saklayın.

Sol ve sağ topuz ayarlarını not alın ve kayıtlı tutun.
Important: Makinenizde GeoLink kuruluysa, tüm topuz ayarlarını kaydedin.
Boom baypas valfi grubunu Şekil 15 ile gösterildiği gibi 180° döndürün.

Sol ve sağ topuzu önceki ayarlarına ayarlayın.
Important: Makinenizde GeoLink kuruluysa, tüm topuzları önceki ayarlarına getirin.
Şekil 16 ile gösterildiği gibi, daha önce söktüğünüz tespit elemanlarını kullanarak boom valf grubunu takın.

Bu prosedür için gerekli parçalar:
| Flanşlı kontrol valfi | 1 |
| Kanat kolu | 2 |
| Kol vidası (6-32 x 5/8 inç) | 2 |
| Valf montaj yuvası | 2 |
| 90° dirsek | 1 |
| Flanşlı kelepçe | 1 |
| Conta | 1 |
| Bağlantı parçası kapağı (½") | 2 |
| Düz bağlantı parçası | 1 |
| Tespit elemanı | 3 |
| Düz kontrol valfi | 2 |
| Kontrol valfi braketi (seri numarası 415399999 ve öncesi) | 1 |
| Flanşlı cıvata (1/4 x 5/8 inç) | 2 |
| Kilit somunu (1/4 inç) | |
| Kontrol valfi braketi (seri numarası 415400000 ve sonrası) | 1 |
| Kontrol valfi braketi (seri numarası 415400000 ve sonrası, GeoLink özelliği olan) | 1 |
| T-manifold | 1 |
| Taşıyıcı cıvata (1/4 x 5/8 inç) | 2 |
| Cıvata (M6 x 12 mm) | 8 |
| Hortum makarası besleme hortumu | 1 |
| Hortum kelepçesi | 1 |
Note: Aksi belirtilmediği takdirde, çıkarılan tüm parçaları daha sonra takmak üzere saklayın.
Şekil 17 ile gösterildiği gibi, 2 flanş başlı cıvatayı (1/4 x 5/8 inç) kullanarak kontrol valfi braketini valf montaj çerçevesine takın.

Kırmızı kanat kolunu Şekil 18 ile gösterildiği gibi kontrol valfine monte edin.

Valf montaj yuvasını Şekil 19, A kısmında gösterildiği gibi kontrol valfinin üzerine takın.

Valf montaj yuvasını flanş başlı vidayla (no. 6) kontrol valfine sabitleyin ve vidayı elinizle sıkın (Şekil 19, B).
Kontrol valfi grubunu Şekil 20 ile gösterildiği gibi 4 cıvata (M6) kullanarak kontrol valfi braketine takın.

Kontrol valfi grubunu daha önce çıkarılmış olan O-halka ve tespit elemanı (Şekil 21) ile boom valfine sabitleyin.
Şekil 21 ile gösterildiği gibi, kapağı (½"), O-halkaları, bağlantı parçasını ve hortum grubunu, daha önce söktüğünüz tespit elemanlarını kullanarak kontrol valfine takın.

Şekil 13‘te çıkarılan aktüatörleri, daha önce çıkarılan tespit elemanlarını kullanarak manifold valfine takın.
Basınç algılama hortumunu kaplinden ayırın.
Yeşil kanat kolunu ve düz bağlantı parçasını Şekil 22 ile gösterildiği gibi tespit elemanını kullanarak flanşlı kontrol valfine monte edin.

Kapağı ve kaplini, basınç göstergesi portundan ayırın (Şekil 23).

Kontrol valfi grubunu, Şekil 23 ile gösterildiği gibi dikey olarak takın.
Kaplini, 90° bağlantı parçasındaki açık porta takın (Şekil 23).
Note: Kapak atılabilir.
Basınç algılama hortumunu kapline bağlayın.
Depo besleme hortumunu bir hortum kelepçesi kullanarak yatay kontrol valfine bağlayın.
Hortum makarası besleme hortumunun açık ucunu bir hortum kelepçesi ile düz bağlantı parçasına sabitleyin.
Hortum makarası besleme hortumunu Şekil 24 ile gösterildiği gibi döşeyin ve bir hortum kelepçesiyle hortum makarasına sabitleyin.
Note: Depo Yıkama ve Durulama Seti takılmışsa, hortumu durulama pompasının arkasından döşeyin.

Şekil 13‘te çıkarılan aktüatörleri, daha önce çıkarılan tespit elemanlarını kullanarak manifold valfine takın.
Kontrol valfi braketini Şekil 25 ile gösterildiği gibi 2 flanş başlı cıvata (1/4 x 5/8 inç) ve kilit somunları (1/4 inç) kullanarak valf montaj çerçevesine takın.

Kırmızı kanat kolunu bir düz kontrol valfine monte edin.

Valf montaj yuvasını Şekil 27 A ila gösterildiği gibi bir düz kontrol valfine monte edin.
Valf montaj yuvasını flanş başlı vidayla (no. 6) kontrol valfine sabitleyin ve vidayı elinizle sıkın (Şekil 27, B).

Kontrol valfi grubunu Şekil 28 ile gösterildiği gibi 4 vida (M6) kullanarak kontrol valfi braketinin üstüne takın.

Kontrol valfi grubunu Şekil 29 ile gösterildiği gibi daha önce çıkarılmış olan O-halka ve tespit elemanı ile boom valfine sabitleyin.
Şekil 29 ile gösterildiği gibi, kapağı (½"), O-halkaları, bağlantı parçasını ve hortum grubunu, daha önce söktüğünüz tespit elemanlarını kullanarak kontrol valfine takın.

Bağlantı kapağını ve kaplini sabitleyen tespit elemanını valf bölümünün ucundan çıkarın (Şekil 30).
Birlikte verilen T-manifoldu, 9adımında kullanılan tespit elemanını kullanarak valf bölümünün ucuna takın.
Bağlantı parçası kapağını 9 adımında takılan T-manifoldun yan tarafına takın.

Düz bağlantı parçasını Şekil 31 ile gösterildiği gibi tespit elemanını kullanarak diğer düz kontrol valfine monte edin.

Hortum makarası besleme hortumunu düz bağlantı parçasının altına bağlayın.
Düz bağlantı parçasıyla birlikte verilen tespit elemanını (Şekil 32) kullanarak, kontrol valfi tertibatını T-manifoldun altına bağlayın.
Kontrol valfi grubunu Şekil 32 ile gösterildiği gibi 4 cıvata (M6) kullanarak kontrol valfi braketinin altına takın.

Depo besleme hortumunu bir hortum kelepçesi kullanarak yatay kontrol valfine bağlayın.
Hortum makarası besleme hortumunun açık ucunu bir hortum kelepçesi ile düz bağlantı parçasına sabitleyin.
Hortum makarası besleme hortumunu Şekil 33 ile gösterildiği gibi döşeyin ve bir hortum kelepçesiyle hortum makarasına sabitleyin.
Note: Depo Yıkama ve Durulama Seti takılmışsa, hortumu durulama pompasının arkasından döşeyin.

Şekil 13‘te çıkarılan aktüatörleri, daha önce çıkarılan tespit elemanlarını kullanarak manifold valfine takın.
Kontrol valfi braketini, aşağıda gösterildiği gibi 2 taşıma cıvatası (1/4-20 x 5/8 inç) ve 2 kilit somunu (1/4-20 inç) kullanarak valf montaj çerçevesine takın

Bağlantı kapağını ve kaplini sabitleyen tespit elemanını valf bölümünün ucundan çıkarın (Şekil 35).
Kit ile gelen T-manifoldu, 3 adımında kullanılan tespit elemanını kullanarak valf bölümünün ucuna takın.

Yeşil kanat kolunu bir düz kontrol valfine Şekil 36 monte edin.

Valf montaj yuvasını Şekil 37 A ila gösterildiği gibi bir düz kontrol valfine monte edin.
Valf montaj yuvasını flanş başlı vidayla (no. 6) kontrol valfine sabitleyin ve vidayı elinizle sıkın (Şekil 37, B).

Hortum makarası besleme hortumunu bir hortum kelepçesi ile düz bağlantı parçasına sabitleyin.
Kontrol valfi tertibatını Şekil 38 ile gösterildiği gibi bir tespit elemanı ile T bağlantı parçasına sabitleyin.

Valf yuvasını 4 flanş başlı cıvata (M6 x 12 mm) ile kontrol valfi braketine monte edin; cıvataları 10 ila 12 N∙m torkla sıkın.

Valf montaj yuvasını, A ile gösterildiği gibi kontrol valfinin üzerine takın.
Valf montaj yuvasını flanş başlı vidayla (no. 6) kontrol valfine sabitleyin ve B ile gösterildiği gibi vidayı elinizle sıkın.

Kontrol valfi grubunu Şekil 41 ile gösterildiği gibi valf grubuna takın.

Kontrol valfi grubunu Şekil 42 ile gösterildiği gibi 4 vida (M6) kullanarak kontrol valfi braketinin üstüne takın.

Kapakları (½"), O-halkaları, bağlantı parçalarını ve hortum gruplarını daha önce çıkarılan tespit elemanlarını kullanarak kontrol valflerine takın.
Hortumu manifoldun ucuna sabitleyen tespit elemanını çıkarın.

Kısma valfini hortuma ve makineye takın. Tespit elemanlarıyla sabitleyin.

Depo besleme hortumlarını bir hortum kelepçesi kullanarak yatay kontrol valfine bağlayın.
Hortum makarası besleme hortumunu gösterildiği gibi döşeyin ve bir hortum kelepçesiyle hortum makarasına sabitleyin.

Note: Depo Yıkama ve Durulama Seti takılmışsa, hortumu durulama pompasının arkasından döşeyin.
Bu prosedür için gerekli parçalar:
| Bağlantı parçalı uzun hortum | 1 |
| Püskürtme tabancası | 1 |
| Plastik hortum kelepçesi | 1 |
2 kablo bağını kullanarak, kablo demetini besleme hortumuna bağlayın.
Teflon® bandı uzun hortumdaki hortum bağlantı parçasının dişlerinin etrafına sarın ve bağlantı parçasını makaradaki bağlantı borusunun içine takın (Şekil 46).

Uzun hortumun boştaki ucunu püskürtme tabancasındaki bağlantı parçasına bağlayın (Şekil 47).

Hortumun ucunu plastik bir hortum kelepçesiyle sabitleyin.
Akünün artı ucunu aküye bağlayın.
Akünün eksi ucunu aküye bağlayın.
Hortum sarma düğmesine basın ve düzgün bir şekilde yayılması için hortumu kenardan kenara hareket ettirerek dikkatle makaraya sardırın.
Hortumun sarılması sırasında eller, bol giysiler, uzun saçlar ve takılar hortuma ve makaraya takılabilir ve bu da yaralanmaya yol açabilir.
Hortumun sarılması sırasında ellerinizi makara ve hortumdan uzak tutun.
Bol kıyafet giymeyin, bol takı takmayın ve saçınız uzunsa bağlayın.
Basınç altındaki sıvı cilde nüfuz edebilir ve yaralanmaya yol açabilir.
Vücudunuzu ve ellerinizi, yüksek basınçlı sıvı çıkaran nozullardan uzak tutun.
Püskürtme ünitesini insanlara veya hayvanlara doğrultmayın.
Sisteme basınç uygulamadan önce tüm hidrolik hortumlarının ve hatlarının iyi durumda, hidrolik bağlantıları ile bağlantı parçalarının ise yeterince sıkı olduğunu kontrol edin.
Sızan sıvıları bulmak için bir karton veya kağıt kullanın.
Sistemde herhangi bir iş yapmaya başlamadan önce sistemdeki tüm basıncı emniyetli bir şekilde boşaltın.
Sıvı cildinize nüfuz ederse derhal tıbbi yardım alın.
Sıcak sıvılar ve kimyasallar yanıklara veya başka hasarlara yol açabilir.
Important: Her kullanımdan hemen sonra püskürtme makinesini boşaltıp temizleyin. Aksi takdirde hatlarda kalan kimyasallar koyulaşabilir veya kuruyabilir, bu da pompanın ve diğer bileşenlerin tıkanmasına yol açabilir.
Her püskürtme işinden sonra püskürtme sistemini temizleyin. Püskürtme sistemini iyice temizlemek için:
3 ayrı durulama gerçekleştirin.
Her durulamada en az 50 galon su kullanın.
Kimyasal madde üreticilerinin önerdiği temizleyicileri ve nötrleştiricileri kullanın.
Son durulama için arıtılmış temiz su (temizleyici veya nötrleştirici içermeyen) kullanın.
Makineyi durdurun, boom'ları kapatın ve park frenini etkinleştirin.
Manuel püskürtme ünitesinin makine sürülürken kullanılması kontrol kaybına yol açarak yaralanma veya ölüme neden olabilir. Sürüş sırasında manuel püskürtme ünitesini çalıştırmayın.
Makinenin arka kısmında, püskürtme tabancasının tetik kilidinin kilitli olduğunu kontrol edin.
Kontrol valfindeki yeşil kolu 90° döndürün.
Çalışma konumunda, pompayı çalıştırın.
Ana boom anahtarını AçıK konumuna getirin.
Motoru istediğiniz devire ayarlayın, ardından da boş motor devri kilidini etkinleştirin.
Important: Manuel püskürtme ünitesini 1034 kPa (150 psi) değerinden yüksek bir basınç ayarıyla kullanmayın.
Hortumu makaradan istediğiniz kadar dışarı çekin.
Important: Hortumu püskürtme tabancasından tutup çekmeyin. Her zaman doğrudan hortumu tutup çekin. Hortumu tabancadan çekmeniz tabancadaki bağlantı parçasının kırılmasına veya hortumun hasar görmesine yol açabilir.
Tetik kilidini bırakın.
Püskürtme tabancası nozulunu püskürtme yapılacak alana yönlendirip tetiği çekin.
İşiniz bitince tetiği bırakın ve tetik kilidini ayarlayın.
Hortum makarasındaki sarma düğmesine, hortumun bir metreden az bir kısmı makaradan çıkana kadar basın.
Note: Hortum makarası sarma düğmesi sadece püskürtme makinesi konsolundaki süpervizör anahtarı Kilit Açık konumundayken kullanılabilir.
Hortumun sarılması sırasında eller, bol giysiler, uzun saçlar ve takılar hortuma ve makaraya takılabilir ve bu da yaralanmaya yol açabilir.
Hortumun sarılması sırasında ellerinizi makara ve hortumdan uzak tutun.
Bol kıyafet giymeyin, bol takı takmayın ve saçınız uzunsa bağlayın.
Kontrol valfindeki yeşil kolu 90° döndürün.
Püskürtme tabancasının nozulunu püskürtme yapmanın güvenli olacağı bir noktaya yönlendirin, tetik kilidini bırakın, kalan tüm sıvı hortumdan dışarı boşaltılana kadar tetiği çekin, ardından da tetik kilidini tekrar etkinleştirin.
Püskürtme tabancasını tekrar makaranın arkasındaki yuvaya takın.
Motoru rölanti devrine getirin.
Pompayı durdurun.
Important: Günlük temizlik rutini sırasında püskürtme tabancasının bolca temiz suyla yıkandığından emin olun (püskürtme makinesinin Kullanma Kılavuzuna bakın). Püskürtme tabancasının düzgünce temizlenmemesi hortum makarası setinin ve püskürtme tabancasının performans ve güvenilirliğini zayıflatabilir.
İstediğiniz kPa (psi) değerini ayarlamak için miktar anahtarını kullanın.