| Intervalo de mantenimiento y servicio | Procedimiento de mantenimiento |
|---|---|
| Cada vez que se utilice o diariamente |
|
Esta máquina la controla un operador que va caminando y está indicada para que la utilicen operadores profesionales contratados en aplicaciones comerciales. La máquina está diseñada principalmente para airear zonas extensas de césped bien mantenido en parques, campos de golf, campos deportivos y zonas verdes comerciales. El uso de este producto para otros propósitos que los previstos podría ser peligroso para usted y para otras personas.
Lea este manual detenidamente para aprender a utilizar y mantener correctamente su producto, y para evitar lesiones y daños al producto. Usted es responsable de utilizar el producto de forma correcta y segura.
Visite www.Toro.com para buscar materiales de formación y seguridad o información sobre accesorios, para localizar un distribuidor o para registrar su producto.
Cuando necesite asistencia técnica, piezas genuinas Toro o información adicional, póngase en contacto con un distribuidor autorizado Toro y tenga a mano los números de modelo y serie de su producto. Figura 1 identifica la ubicación de los números de modelo y serie en el producto. Escriba los números en el espacio provisto.

El símbolo de alerta de seguridad (Figura 2) que aparece en este manual y en la máquina identifica mensajes de seguridad importantes que usted debe observar para evitar accidentes.

El símbolo de alerta de seguridad aparece encima de información que le alerta ante acciones o situaciones inseguras, y va seguido de la palabra PELIGRO, ADVERTENCIA, o CUIDADO.
PELIGRO: Indica una situación peligrosa inminente, que si no se evita, causará la muerte o lesiones graves.
ADVERTENCIA: indica una situación potencialmente peligrosa que si no se evita, podría causar la muerte o lesiones graves.
CUIDADO: Indica una situación potencialmente peligrosa que si no se evita, podría causar lesiones menores o moderadas.
Este manual utiliza dos palabras más para resaltar información. Importante llama la atención sobre información mecánica especial, y Nota resalta información general que merece una atención especial.
Este producto cumple todas las directivas europeas aplicables; si desea más detalles, consulte la Declaración de Conformidad (Declaration of Conformity – DOC) de cada producto.
Puesto que en algunas zonas existen normas locales, estatales o federales que requieren el uso de un parachispas en el motor de esta máquina, está disponible un parachispas como opción. Si necesita un parachispas, póngase en contacto con su distribuidor Toro autorizado. Los parachispas Toro genuinos están homologados por el USDA Forestry Service (Servicio forestal del Departamento de Agricultura de EE. UU.).
El manual del propietario del motor (adjunto) ofrece información sobre las normas de la US Environmental Protection Agency (EPA) y de la California Emission Control Regulation sobre sistemas de emisiones, mantenimiento y garantía. Puede solicitarse un manual nuevo al fabricante del motor.
Si esta máquina está equipada con un dispositivo telemático, consulte a su distribuidor Toro autorizado para obtener instrucciones sobre cómo activar el dispositivo.
CALIFORNIA
Advertencia de la Propuesta 65
Los gases de escape de este producto contienen productos químicos que el Estado de California sabe que causan cáncer, defectos congénitos u otros peligros para la reproducción.
Los bornes, terminales y otros accesorios de la batería contienen plomo y compuestos de plomo, productos químicos reconocidos por el Estado de California como causantes de cáncer y daños reproductivos. Lávese las manos después de manejar el material.
El uso de este producto puede provocar la exposición a sustancias químicas que el Estado de California considera causantes de cáncer, defectos congénitos u otros trastornos del sistema reproductor.
Este producto puede producir lesiones personales. Siga siempre todas las instrucciones de seguridad con el fin de evitar lesiones personales graves.
Lea y comprenda el contenido de este Manual del operador antes de arrancar el motor.
Dedique toda su atención al manejo de la máquina. No realice ninguna actividad que pudiera distraerle; de lo contrario, podrían producirse lesiones o daños materiales.
No ponga las manos o los pies cerca de los componentes móviles de la máquina.
No haga funcionar la máquina si no están colocados y funcionando todos los protectores y dispositivos de seguridad.
Mantenga la máquina alejada de otras personas mientras está en movimiento.
Mantenga despejadas las aberturas alrededor de los taladros. Mantenga alejados a otras personas y a los animales domésticos de la máquina.
Mantenga a los niños alejados de la zona de trabajo. Nunca permita que la máquina sea utilizada por niños.
Aparque la máquina en una superficie nivelada, eleve totalmente y enganche el manillar para accionar el freno de estacionamiento, pare el motor, retire la llave y espere a que se detengan todas las piezas en movimiento antes de realizar tareas de mantenimiento, repostar o eliminar atascos en la máquina.
El uso o mantenimiento incorrecto de esta máquina puede
causar lesiones. Para reducir el peligro de lesiones, cumpla estas
instrucciones de seguridad y preste atención siempre al símbolo
de alerta de seguridad
, que significa: Cuidado, Advertencia o Peligro
– instrucción relativa a la seguridad personal. El incumplimiento
de estas instrucciones puede dar lugar a lesiones personales o la
muerte.
![]() |
Las pegatinas de seguridad e instrucciones están a la vista del operador y están ubicadas cerca de cualquier zona de peligro potencial. Sustituya cualquier calcomanía que esté dañada o que falte. |
















Note: La parte delantera de la máquina está situada en el manillar del operador y es la posición normal del operador. La derecha y la izquierda se encuentran en relación a la dirección de avance a medida que camina con la máquina siguiéndole.
Note: Para elevar el cabezal de perforación tras sacar la máquina de la caja, libere la barra de aireación y arranque el motor; consulte Arranque del motor y Elevación del cabezal de perforación para obtener más información.
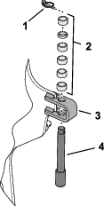
Piezas necesarias en este paso:
| Conjunto de rueda | 2 |
Note: Si se encuentra disponible, utilice un polipasto para elevar parte trasera de la máquina. Utilice los ojales en las carcasas del cojinete del cabezal de perforación como puntos de acoplamiento del polipasto (Figura 3).

En la parte trasera de la máquina, retire las 4 tuercas de rueda que fijan la parte trasera de la máquina a los soportes del palé de envío.
Monte un conjunto de rueda en cada cubo de rueda trasero con 4 tuercas de rueda (Figura 4).

Apriete las tuercas de las ruedas a 61 – 75 N·m.
Repita los pasos 1 a 3 en el otro lado de la máquina.
Desinfle todos los neumáticos a 83 kPa.
Piezas necesarias en este paso:
| Asa | 1 |
| Contratuerca (½") | 3 |
Inserte los espárragos del extremo del manillar en los taladros del brazo de dirección (Figura 5).
Note: Pida a otra persona que le ayude a sostener el manillar.

Enrosque una contratuerca con arandela prensada (½") en cada uno de los 3 espárragos.
Apriete las contratuercas con arandela prensada a entre 91 y 113 N∙m.
Gire el manillar hacia arriba y fíjelo con el pasador de cierre del manillar (Figura 6).

Enrute el acoplamiento del cable del freno debajo de la parte inferior del canal del manillar (Figura 7).

Monte el acoplamiento del cable del freno en el pasador y fije el acoplamiento al pasador con la arandela y la chaveta.
Enrute el conector de 6 pines y el conector de 12 pines del arnés de cables de la máquina a través del pasacables en el canal del manillar (Figura 8).

Enchufe el conector de 12 pines del arnés de la máquina en el conector hembra de 12 vías del arnés de cables del manillar (Figura 9).

Enchufe el conector de 6 pines del arnés de la máquina en el conector hembra de 6 vías del arnés del manillar.
Inserte el anclaje a presión del arnés de la máquina en el taladro del canal del manillar (Figura 10).

Inserte el anclaje a presión del arnés de la máquina en el taladro del soporte de guía.
Fije el arnés de la máquina en el canal del manillar con una brida a través de las ranuras en el canal (Figura 11)

Fije el arnés de la máquina al soporte de guía con una brida a través de las ranuras en el soporte.
Alinee la muesca pequeña en la cubierta del manillar con la muesca hacia arriba (Figura 12)

Alinee los taladros en la cubierta con los taladros en el canal del manillar.
Fije la cubierta al manillar con los 6 tornillos autorroscantes (¼").
Piezas necesarias en este paso:
| Perno (¼" x 1") | 2 |
| Tuerca con arandela prensada (5/16") | 2 |
El electrolito de la batería contiene ácido sulfúrico, que es un veneno mortal y causa quemaduras graves.
Evite el contacto con la piel, los ojos y la ropa. Lleve gafas de seguridad para proteger sus ojos, y guantes de goma para proteger sus manos.
Retire, cargue e instale la batería en un lugar que tenga disponible agua limpia para enjuagar la piel.
El proceso de carga de la batería produce gases que pueden explotar.
No fume nunca cerca de la batería, y mantenga alejados de la batería chispas y llamas.
Los bornes de la batería o una herramienta metálica podrían hacer cortocircuito si entran en contacto con los componentes metálicos de la máquina, causando chispas. Las chispas podrían hacer explotar los gases de la batería, causando lesiones personales.
Al retirar o colocar la batería, no deje que los bornes toquen ninguna parte metálica de la máquina.
No deje que las herramientas metálicas hagan cortocircuito entre los bornes de la batería y las partes metálicas de la máquina.
Un enrutado incorrecto de los cables de la batería podría dañar la máquina y los cables, causando chispas. Las chispas podrían hacer explotar los gases de la batería, causando lesiones personales.
Desconecte siempre el cable negativo (negro) de la batería antes de desconectar el cable positivo (rojo).
Conecte siempre el cable positivo (rojo) de la batería antes de conectar el cable negativo (negro).
Desenganche y abra la puerta del compartimiento de la batería (Figura 13).

Retire la batería de su compartimiento.
Utilice un cargador de batería con una capacidad de carga de 3 a 4 A para cargar la batería.
Cuando la batería esté cargada, desconecte el cargador de la toma de electricidad, luego de los bornes de la batería.
Monte la batería en la bandeja en el compartimiento de la batería (Figura 14). Coloque la batería de modo que los terminales estén alineados hacia fuera.

Fije la batería a la base del compartimento con una varilla de sujeción, 2 varillas en forma de J, 2 arandelas planas y 2 tuercas de orejeta.
Fije el cable positivo (rojo) al terminal positivo (+) de la batería con un perno de cuello cuadrado y una tuerca.
Deslice la cubierta de goma sobre el borne positivo.
Fije el cable negativo (negro) al terminal negativo (–) de la batería con un perno de cuello cuadrado y una tuerca.
Cierre y enganche la puerta del compartimiento de la batería.
Piezas necesarias en este paso:
| Seguro del cierre | 2 |
| Perno de rosca completa | 2 |
| Arandela con dentado interno | 2 |
Si está configurando esta máquina para su uso en la Unión Europea (CE), instale el seguro del cierre en el capó trasero, tal y como se indica a continuación, para cumplir las normativas CE.
Retire el capó trasero.
Instale un seguro de cierre sobre el cierre del capó (Figura 15) con un perno de rosca completa (2 en total).

Utilice un alicate o una llave para enroscar una arandela de freno con dientes internos sobre cada perno (1 a 2 roscas) para sujetar los pernos al capó.
Repita los pasos 2 a 3 en el otro lado del capó.
Instale el capó trasero.
Piezas necesarias en este paso:
| Trabilla | 1 |
| Remache ciego | 1 |
| Perno (¼" x 1") | 1 |
| Contratuerca (¼") | 1 |
Si está montando esta máquina para que cumpla las normas CE, instale el cierre de la cubierta de la correa como se indica a continuación.
Localice el taladro en la cubierta de la correa junto a la ranura para la palanca del cierre (Figura 16 y Figura 17).

Fije el conjunto de la trabilla al taladro en la cubierta de la correa con un remache ciego (Figura 17).

Enrosque el perno en la palanca de enganche (Figura 18).

Piezas necesarias en este paso:
| Calcomanía CE | 1 |
| Calcomanía del año de producción | 1 |
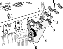
Se encuentra disponible una amplia selección de portataladros, protectores de césped y taladros para la máquina. Consulte Instalación de los protectores de césped, de los portataladros y los taladros.


Utilice el cierre del manillar (Figura 21) para fijar el manillar en posición hacia arriba y accionar el freno de estacionamiento.
Important: Fije el manillar en la posición arriba siempre que deje el puesto del operador.
La barra de presencia del operador (Figura 21) ayuda a asegurarse de que esté en la posición del operador mientras conduce la máquina o está en marcha el cabezal de perforación.
Note: Al soltar la barra de presencia del operador no se apaga el motor.
Utilice el InfoCenter (Figura 21) para ajustar cómo funcionan los controles del cabezal de perforación.
Si activa el interruptor de parada de emergencia (Figura 21), la máquina realiza las siguientes acciones:
La máquina deja de avanzar hacia delante.
El cabezal de perforación se eleva y deja de funcionar.
Note: Al activar el interruptor de parada de emergencia, no se apaga el motor. Puede conducir la máquina marcha atrás, pero debe restablecer el interruptor de parada de emergencia para conducir hacia delante.

Utilice el interruptor de transporte/aireación (Figura 22) para controlar la velocidad máxima a la que puede conducir la máquina mientras se realiza la aireación, o bien al transportar la máquina.
Con la posición de AIREACIóN se puede airear y se limita la velocidad sobre el terreno a 4 km/h o menos.
Con la posición de TRANSPORTE puede conducir la máquina a la velocidad máxima sobre el terreno o más lentamente entre lugares de trabajo.
Note: No se puede airear con el interruptor de transporte/aireación en la posición de TRANSPORTE.
Utilice el control de tracción izquierdo o derecho (Figura 22) para conducir la máquina hacia delante o hacia atrás.
Utilice el interruptor de bloqueo de velocidad (Figura 22) para mantener la velocidad sobre el terreno a la que conduce la máquina; es similar al control de velocidad de crucero de un automóvil.
La posición de ENGRANAR bloquea la velocidad sobre el terreno a la que se está conduciendo la máquina en ese momento.
La posición de ENCENDIDO activa el bloqueo de velocidad sobre el terreno.
La posición de APAGADO desactiva el bloqueo de velocidad sobre el terreno.
Utilice el interruptor de bloqueo de velocidad (Figura 22) para mantener la velocidad sobre el terreno a la velocidad de espaciado de las perforaciones de aireación.
La posición de ENCENDIDO activa y acciona el bloqueo de velocidad sobre el terreno para mantener dicha velocidad a la velocidad de espaciado de las perforaciones de aireación cuando suelta la barra de aireación al final de la pasada de aireación.
La posición de APAGADO apaga el bloqueo de velocidad sobre el terreno: la máquina deja de avanzar hacia delante al soltar la barra de aireación.

Utilice la barra de aireación (Figura 23) para bajar y elevar el cabezal de perforación.
Utilice el interruptor de control de descenso (Figura 23) para cambiar cómo baja el cabezal de perforación al airear; puede seleccionar los siguientes modos:
Descenso inmediato
Descenso retardado

Utilice la palanca del acelerador (Figura 24) para controlar la velocidad del motor:
Al mover la palanca del acelerador hacia delante aumenta la velocidad del motor – hacia la posición RáPIDA.
Al mover la palanca del acelerador hacia atrás se reduce la velocidad del motor – hacia la posición LENTA.
Note: La velocidad del motor regula la velocidad del cabezal de perforación.
El interruptor de encendido (Figura 24) se utiliza para arrancar y parar el motor. El interruptor tiene 3 posiciones:
ARRANQUE – gire la llave en sentido horario a la posición de ARRANQUE para accionar el motor de arranque.
MARCHA – cuando el motor arranca, libere la llave y esta se mueve automáticamente a la posición de CONECTADO.
DESCONECTADO – gire la llave en sentido antihorario a la posición de DESCONECTADO para apagar el motor.
Utilice un taquímetro para determinar la velocidad del motor (Figura 24).
Utilice la válvula de cierre de combustible para controlar el combustible del depósito (Figura 25).

La pantalla del InfoCenter (Figura 26) muestra información sobre la máquina, como por ejemplo el estado operativo, diferentes diagnósticos y otra información sobre la máquina.

Note: El propósito de cada botón puede variar dependiendo de lo que se necesite en cada momento. El icono de cada botón indica su función en cada momento.
Utilice los botones de navegación para desplazarse entre varias pantallas y elementos de menú:
Pantalla de inicio: muestra la información actual de la máquina durante unos segundos después de mover la llave a la posición de ACTIVADO.
Menú principal: consulte Uso de los menús.
|
SERVICE DUE (Mantenimiento previsto) |
Indica cuándo debe realizarse el mantenimiento programado. |
|
|
Modo de transporte |
|
|
Profundidad de las perforaciones |
|
|
Espaciado de las perforaciones |
|
|
Diámetro de los taladros |
|
|
Taladros por portataladros |
|
|
Batería |
|
|
Horímetro |
|
|
Activo/Correcto |
|
|
Inactivo |
|
|
Siguiente |
|
|
Pantalla anterior |
|
|
Menú |
|
|
Aumentar/reducir valor |
|
|
Desplazamiento hacia arriba/hacia abajo |
|
|
Desplazamiento hacia la izquierda/hacia la derecha |
|
|
Salir al menú |
|
|
|
Para acceder al menú principal, pulse el botón atrás/salir mientras esté en cualquiera de las pantallas de información.
Consulte las tablas siguientes para obtener una descripción de las opciones disponibles en cada menú.
|
Elemento del menú |
Descripción |
|---|---|
|
FAULT (Fallo) |
Contiene una lista de los fallos recientes de la máquina. Consulte el Manual de mantenimiento o a su distribuidor autorizado Toro para obtener más información sobre el menú Faults (Fallos). |
|
SERVICE (Mantenimiento) |
Contiene información sobre la máquina como, por ejemplo, contadores de horas de uso y otros datos similares. |
|
DIAGNOSTICS (Diagnóstico) |
Enumera los distintos estados en los que se encuentra la máquina; puede utilizar esta información para identificar y resolver algunos problemas, puesto que indica rápidamente qué controles de la máquina están activos y cuáles están apagados. |
|
SETTINGS (Ajustes) |
Permite introducir el PIN o personalizar la pantalla del InfoCenter. |
|
MACHINE SETTINGS (Ajustes de la máquina) |
Permite modificar las características de funcionamiento y la configuración de la máquina. |
|
ABOUT (Acerca de) |
Indica el número de modelo, el número de serie y la versión de software de su máquina. |
|
Elemento del menú |
Descripción |
|---|---|
|
STATISTICS (Estadísticas) |
Enumera los contadores de datos de funcionamiento de la máquina y datos de operaciones, como tiempo de funcionamiento del motor, área/volumen/taladro de aireación y distancia de recorrido de aireación. |
|
HOURS (Horas) |
Muestra el número total de horas de funcionamiento de la máquina, el motor y la TDF, así como el número de horas de transporte y el mantenimiento previsto. |
|
COUNTS (Recuentos) |
Muestra diversos recuentos de la máquina. |
|
SERVICE LIFT (Elevación de mantenimiento) |
Active o desactive la elevación de mantenimiento. |
|
SERVICE LOWER (Bajada de mantenimiento) |
Active o desactive la bajada de mantenimiento. |
|
3WD (Tracción a 3 ruedas) |
Active la tracción a las tres ruedas o la activación permanente a las tres ruedas. |
|
GROUND HEIGHT (Altura con
respecto al suelo) |
Indica si son válidas las calibraciones del sensor, inicia el proceso de calibración y enumera el valor eléctrico del sensor. |
|
TRACTION PUMP (Bomba de tracción) |
Indica si son válidas las calibraciones del sensor, inicia el proceso de calibración y enumera el valor eléctrico del sensor. |
|
TRACTION INPUT (Entrada de
tracción) |
Indica si son válidas las calibraciones del sensor, inicia el proceso de calibración y enumera el valor eléctrico del sensor. |
|
HEIGHT SENSOR (Sensor de altura) |
Indica si son válidas las calibraciones del sensor, inicia el proceso de calibración y enumera el valor eléctrico del sensor. |
|
|
|
|
Elemento del menú |
Descripción |
|---|---|
|
ENTER PIN (Introducir PIN) |
Permite que una persona autorizada pueda acceder a los menús protegidos con el código PIN. |
|
BACKLIGHT (Retroiluminación) |
Controla el brillo de la pantalla LCD |
|
LANGUAGE (Idioma) |
Controla el idioma utilizado en el InfoCenter |
|
UNITS (Unidades) |
Controla las unidades utilizadas en el InfoCenter (inglés o métrico) |
|
EDIT PIN (Editar PIN) |
Permite que una persona autorizada introduzca el código PIN para cambiarlo. |
|
PROTECT SETTINGS (Proteger
ajustes) |
Activa o desactiva el requisito de introducir el código PIN para acceder a los ajustes protegidos |
|
RESET DEFAULTS (Restablecer
ajustes predeterminados) |
Se restablecen todos los ajustes a los valores predeterminados |
|
|
|
|
Elemento del menú |
Descripción |
|
MAX TRANSPORT (Velocidad máxima de transporte) |
Le permite cambiar la velocidad máxima de avance sobre el terreno; valor predeterminado = 6,4 km/h |
|
MANUAL AERATION (Aireación manual) |
Activa o desactiva la aireación manual |
|
|
|
|
Elemento del menú |
Descripción |
|---|---|
|
Model (Modelo) |
Muestra el número de modelo de la máquina |
|
SN (Número de serie) |
Muestra el número de serie de la máquina |
|
S/W Revision (Versión de software) |
Indica la versión del software del controlador maestro |
|
CAN Statistics (Estadísticas CAN) |
Indica el estado del bus de comunicación de la máquina |
|
InfoCenter Revisión (Versión del InfoCenter) |
Indica la versión de software de la pantalla del InfoCenter |
|
|
|
|
Elemento del menú |
Descripción |
|---|---|
|
Traction (Tracción) |
Consulte el Manual de mantenimiento o a su distribuidor autorizado Toro para obtener más información sobre los elementos del menú Diagnostics (Diagnóstico). |
|
Aeration (Aireación) |
|
|
Engine (Motor) |
Los menús protegidos no se muestran de forma predeterminada. Estos ajustes se desbloquean introduciendo el código PIN.
Note: El código PIN predeterminado de fábrica de la máquina es 0000 o 1234; en el momento de la entrega, el distribuidor puede haber cambiado el código PIN.Si ha cambiado el código PIN y lo ha olvidado, póngase en contacto con su distribuidor Toro autorizado para obtener ayuda.
En el MENú PRINCIPAL, vaya al menú SETTINGS (Ajustes) y pulse el botón de selección (Figura 27).

En el menú SETTINGS (Ajustes), vaya a ENTER PIN (Introducir PIN) y pulse el botón de selección (Figura 28A).

Para introducir el código PIN, pulse los botones de navegación arriba/abajo hasta que aparezca el primer dígito correcto y, a continuación, pulse el botón derecho para desplazarse al dígito siguiente (Figura 28B y Figura 28C). Repita este paso hasta que se introduzca el último dígito.
Pulse el botón de selección (Figura 28D).
Note: Si la pantalla acepta el código PIN y se desbloquean
los menús protegidos, aparece
en la esquina superior
derecha de la pantalla.
Para ocultar los menús protegidos, gire el interruptor de encendido a la posición DESCONECTADO y luego a la posición CONECTADO.
Una vez que se haya introducido el código PIN, acceda al menú SETTINGS (Ajustes) y desplácese hasta PROTECT SETTINGS (Proteger ajustes).
Para poder ver los menús protegidos sin introducir
un código PIN, utilice el botón de selección
para cambiar PROTECT SETTINGS (Proteger
ajustes) a
(Desactivado).
Para requerir el uso del código PIN para ver
los menús protegidos, utilice el botón de selección
para cambiar PROTECT SETTINGS (Proteger
ajustes) a
(Activado), ajuste el código PIN, gire la llave del interruptor
de encendido a la posición de DESCONECTADO y, a continuación, a la posición de ACTIVADO.

Rojo intermitente – fallo activo
Rojo fijo – advertencia activa
Azul fijo – calibración/mensajes de diálogo
Verde fijo – funcionamiento normal
Note: Las especificaciones y el diseño están sujetos a modificación sin previo aviso.
| Anchura | 127 cm |
| Distancia entre ejes | 113 cm |
| Distancia entre ruedas | 97 cm |
| Anchura de aireación | 122 cm |
| Longitud | 298 cm |
| Altura del cabezal (elevado) | 114 cm |
| Altura del cabezal (bajado) | 93 cm |
| Altura, manillar | 154,2 cm |
| Separación del suelo | 12 cm |
| Velocidad hacia adelante | 0 a 7,2 km/h |
| Velocidad en marcha atrás | 0 a 4 km/h |
| Peso neto | 745 kg |
Está disponible una selección de implementos y accesorios homologados por Toro que pueden utilizarse con la máquina a fin de potenciar y aumentar sus prestaciones. Póngase en contacto con su Servicio Técnico Autorizado o con su distribuidor Toro autorizado, o bien visite www.Toro.com para obtener una lista de todos los implementos y accesorios homologados.
Para garantizar un rendimiento óptimo, utilice únicamente piezas de repuesto y accesorios genuinos de Toro. Las piezas de repuesto y accesorios de otros fabricantes podrían ser peligrosos, y su uso podría invalidar la garantía del producto.
Consulte la siguiente tabla de configuración de los taladros para obtener información sobre el cabezal de taladros, el protector de césped y los taladros.
| Descripción del cabezal de taladros | Espaciado del cabezal de taladros | Dimensión del vástago: | Cantidad de taladros | Tipo de protector de césped (cantidad) |
|---|---|---|---|---|
| 2x5 Cabezal de taladros mini | 41 mm | 9,5 mm | 60 | 5 Taladro – corto (2) |
| 5 Taladro – largo (1) | ||||
| 1x6 Cabezal de taladros mini | 32 mm | 9,5 mm | 36 | 6 Taladro – corto (2) |
| 6 Taladro – largo (1) | ||||
| 3 Cabezal de taladros (⅞") | 66 mm | 22,2 mm | 18 | 3 Taladro – corto (2) |
| 3 Taladro – largo (1) | ||||
| 3 Cabezal de taladros (¾") | 66 mm | 19,5 mm | 18 | 3 Taladro – corto (2) |
| 3 Taladro – largo (1) | ||||
| 4 Cabezal de taladros (¾") | 51 mm | 19,5 mm | 24 | 4 Taladro – corto (2) |
| 4 Taladro – largo (1) | ||||
| 5 Cabezal de taladros de aguja | 41 mm | — | 30 | 5 Taladro – corto (2) |
| 5 Taladro – largo (1) |
Note: Los lados derecho e izquierdo de la máquina se determinan desde la posición normal del operador.
No deje nunca que la máquina la utilicen o mantengan niños o personas que no hayan recibido la formación adecuada. La normativa local puede imponer límites sobre la edad del operador. El propietario es responsable de proporcionar formación a todos los operarios y mecánicos.
Familiarícese con la operación segura del equipo, los controles del operador y las señales de seguridad.
Sepa cómo parar rápidamente la máquina y apagar el motor.
Antes de utilizar la máquina, inspecciónela siempre para asegurarse de que los taladros se encuentran en buenas condiciones de funcionamiento. Cambie los taladros dañados o desgastados.
Inspeccione la zona en la que tiene pensado utilizar la máquina y retire cualquier objeto que pudiera chocar con la máquina.
Localice y marque todas las líneas de comunicación o eléctricas, los componentes de riego y otras obstrucciones en el área que se va a airear. Elimine los peligros si es posible, o bien planifique cómo evitarlos.
Aparque la máquina en una superficie nivelada, eleve totalmente y enganche el manillar para accionar el freno de estacionamiento, pare el motor, retire la llave y espere a que se detengan todas las piezas en movimiento.
Compruebe que los controles de presencia del operador, los interruptores de seguridad y los protectores de seguridad están colocados y que funcionan correctamente. No utilice la máquina si no funcionan correctamente.
Extreme las precauciones al manejar combustible. Es inflamable y sus vapores son explosivos.
Apague cualquier cigarrillo, cigarro, pipa u otra fuente de ignición.
Utilice solamente un recipiente de combustible homologado.
No retire el tapón de combustible ni rellene de combustible el depósito mientras el motor está en marcha o está caliente.
No añada ni drene combustible en un lugar cerrado.
No guarde la máquina o un recipiente de combustible en un lugar donde pudiera haber una llama desnuda, chispas o una llama piloto, por ejemplo en un calentador de agua u otro electrodoméstico.
Si se derrama combustible, no intente arrancar el motor; evite crear fuentes de ignición hasta que los vapores del combustible se hayan disipado.
| Tipo | Gasolina sin plomo |
| Octanaje mínimo | 87 (US) o 91 (RON; fuera de los Estados Unidos) |
| Etanol | No más del 10 % por volumen |
| Metanol | Ninguno |
| MTBE (éter metil tert-butílico) | Menos del 15 % por volumen |
| Aceite | No añadir al combustible |
Utilice solamente combustible limpio y fresco (no más de 30 días de antigüedad) de origen acreditado.
Important: Para reducir los problemas de arranque, añada estabilizador/acondicionador al combustible fresco, siguiendo las indicaciones del fabricante del estabilizador/acondicionador de combustible.
Capacidad del depósito de combustible: 26,5 L
Aparque la máquina en una superficie nivelada, eleve totalmente y enganche el manillar para accionar el freno de estacionamiento, pare el motor, retire la llave y espere a que se detengan todas las piezas en movimiento.
Limpie la zona alrededor del tapón del depósito de combustible y retire el tapón (Figura 30).

Añada combustible al depósito de combustible hasta que el nivel alcance de 6 mm a 13 mm por debajo de la parte inferior del cuello de llenado.
Important: Este espacio vacío en el depósito permite la dilatación del combustible. No llene completamente el depósito de combustible.
Instale firmemente el tapón del depósito de combustible.
Limpie cualquier combustible derramado.
Antes de arrancar la máquina cada día, realice los procedimientos diarios indicados en .
| Intervalo de mantenimiento y servicio | Procedimiento de mantenimiento |
|---|---|
| Cada vez que se utilice o diariamente |
|
Si el sistema de interruptores de seguridad se desconecta o está dañado, la máquina podría ponerse en marcha inesperadamente y producir lesiones personales.
No manipule los interruptores de seguridad.
Compruebe el funcionamiento del sistema de interruptores de seguridad cada día y sustituya cualquier pieza dañada de los interruptores antes de utilizar la máquina.
El sistema de interruptores de seguridad impide que el motor arranque, a menos que el control de tracción esté en la posición de PUNTO MUERTO.
El sistema de interruptores de seguridad evita que el motor arranque, a menos que se suelte por completo la barra de presencia del operador.
El sistema de interruptores de seguridad evita que el motor arranque, a menos que se suelte por completo la barra del cabezal de perforación.
El sistema de interruptores de seguridad eleva el cabezal de perforación y lo apaga si conduce la máquina hacia atrás mientras airea o se activa el interruptor de parada de emergencia.
Important: Si el sistema de interruptores de seguridad no funciona de la forma que se describe, acuda a un distribuidor Toro autorizado para que repare inmediatamente el sistema de interruptores de seguridad.
Si el cabezal de perforación está bajado, realice estos pasos. Si el cabezal de perforación está elevado, continúe con Prueba del sistema de enclavamiento del motor de arranque.
Arranque el motor y ajuste la velocidad del motor en la posición de LENTO; consulte Arranque del motor.
Baje el manillar (Figura 31).

Pulse cualquiera de los botones del InfoCenter.
Note: Se eleva el cabezal de perforación.
Pare el motor; consulte Apagado del motor.
Si el motor está en marcha, apáguelo.
Mantenga la barra de presencia del operador contra el manillar y gire el control de tracción (Figura 32) hacia delante o gírelo hacia atrás y arranque el motor.
Important: El motor no debe arrancar.

Suelte la barra de presencia del operador, mueva el control de tracción a la posición de PUNTO MUERTO y arranque el motor.
Sostenga la barra de presencia del operador contra el manillar y gire la parte superior del control de tracción hacia delante (Figura 33).
Note: La máquina avanza hacia delante.

Mientras sostiene el control de tracción, suelte la barra de presencia del operador (Figura 34).
Important: La máquina debe dejar de avanzar hacia delante.

Sostenga la barra de presencia del operador contra el manillar y gire la parte superior del control de tracción hacia delante (Figura 35).
Note: La máquina avanza hacia delante.

Mientras sostiene la barra de presencia del operador y el control de tracción, active el interruptor de parada de emergencia (Figura 36).
Important: La máquina debe dejar de avanzar hacia delante.
Note: El motor se mantiene en funcionamiento.

Restablezca el interruptor de parada de emergencia; consulte Restablecimiento del interruptor de parada de emergencia.
Realice una de las siguientes acciones:
Desplace la máquina a una zona de césped donde pueda airear sin dañar los taladros o la zona.
Retire los taladros.
Sostenga la barra de presencia del operador contra el manillar, gire la parte superior del control de tracción hacia delante y cierre la barra de aireación (Figura 37).
Note: La máquina avanza hacia delante, el cabezal de perforación se pone en marcha y se baja.

Mientras sostiene la barra de presencia del operador y la barra de aireación, gire la parte superior del control de tracción hacia atrás (Figura 38).
Important: El cabezal de perforación debe elevarse y dejar de funcionar.
Note: El motor se mantiene en funcionamiento.

Mueva el control de tracción a la posición de PUNTO MUERTO.
Si ha retirado los taladros, instálelos y calibre la altura de los taladros con respecto al suelo; consulte Instalación de los protectores de césped, de los portataladros y los taladros y Calibración de la altura de los taladros con respecto al suelo.
Important: Debe calibrar la altura de los taladros con respecto al suelo cada vez que cambie de taladros más largos a otros más cortos, o de taladros cortos a otros más largos.
Se encuentra disponible una amplia selección de portataladros, protectores de césped y taladros para la máquina. Seleccione los componentes necesarios usando el cuadro de accesorios de la sección Accesorios.
Eleve el cabezal de perforación y bloquéelo en su posición con el cierre de mantenimiento; consulte Soporte del cabezal de perforación con el cierre de mantenimiento
Aparque la máquina en una superficie nivelada, eleve totalmente y enganche el manillar para accionar el freno de estacionamiento, pare el motor, retire la llave y espere a que se detengan todas las piezas en movimiento.
Note: La fábrica entrega abrazaderas de protectores del césped, arandelas y tuercas con arandela prensada instaladas en los soportes de los protectores de césped (Figura 39).
Monte provisionalmente los protectores de césped en los soportes de los protectores de césped con 4 abrazaderas de protectores de césped, 12 contratuercas con arandela prensada (⅜") y 12 arandelas (7/16" x 13/16")
Note: No apriete las contratuerca con arandela prensada.

Instale provisionalmente la abrazadera de taladros al portataladros (Figura 40) con 4 pernos (⅜" x 1½"). No apriete los pernos.
Note: Los pernos son piezas en los kits de portataladros.

Monte los taladros en el portataladros y en la abrazadera de taladros (Figura 41).

Apriete los pernos (⅜" x 1½") que fijan las abrazaderas de taladros y los taladros a 40,6 N∙m.
Repita los pasos 1 a 3 para las otras abrazadera de taladros, portataladros y taladros.
Monte provisionalmente el portataladros y los taladros al brazo de taladros n.º 2 (Figura 42 y Figura 43) con 3 pernos (½" x 1¼").


Apriete los pernos (½" x 1¼") a 102 N∙m.
Repita los pasos 1 y 2 para el brazo de taladros n.º 5.
Compruebe la alineación de las ranuras de los protectores de césped a los taladros para asegurarse de que estén centrados (Figura 44).
Note: Ajuste los protectores de césped cuanto sea necesario.

Apriete las contratuercas con arandela prensada (⅜") que fijan las 3 abrazaderas de protectores de césped y los 3 protectores de césped a los 3 soportes de protectores.
Instale el portataladros restante y los taladros en los portataladros n.º 1, n.º 3, n.º 4 y n.º 6 con 12 pernos (½" x 1¼").
Apriete los pernos (½" x 1¼") a 102 N∙m.
Calibre la máquina para la ajustar altura de los taladros con respecto al suelo; consulte Ejecución de la aplicación Teach Ground Height.
Gire la llave de encendido a la posición de MARCHA.
Si las flechas no se muestran en la pantalla del modo TRANSPORT (Transporte) o la pantalla del modo AERATE (Airear), introduzca el código PIN para acceder a los menús protegidos; consulte Acceso a los menús protegidos.
Note: Aparece la pantalla de modo de TRANSPORT (Transporte) o la pantalla del modo de AERATE (Aireación) (Figura 45).

Pulse el botón derecho dos veces para mostrar la pantalla Calibrating the Tine Ground Height (Calibración de la altura de los taladros con respecto al suelo) (Figura 46).
Note: Pulse el botón izquierdo para mostrar la pantalla de modo TRANSPORT (Transporte) o AERATE (Airear).

Pulse el botón derecho para mostrar la pantalla Setting the Hole Depth (Ajuste de la profundidad de las perforaciones) (Figura 47).
Note: Pulse el botón izquierdo para mostrar la pantalla Teach Ground Height (Enseñar altura con respecto al suelo).

Pulse el botón derecho para mostrar la pantalla Setting the Hole Spacing (Ajuste del espaciado de las perforaciones) (Figura 48).
Note: Pulse el botón izquierdo para mostrar la pantalla Setting the Hole Depth (Ajuste de la profundidad de las perforaciones).

Pulse el botón derecho para mostrar la pantalla Setting the Tine Diameter (Ajuste del diámetro de los taladros) (Figura 48).
Note: Pulse el botón izquierdo para mostrar la pantalla Setting the Hole Spacing (Ajuste de la profundidad de las perforaciones).

Pulse el botón derecho para mostrar la pantalla Setting the Tine Quantity (Ajuste de la cantidad de taladros) (Figura 50).
Note: Pulse el botón izquierdo para mostrar la pantalla Setting the Tine Diameter (Ajuste del diámetro de los taladros).

Asegúrese de que el cabezal de perforación esté elevado, consulte Elevación del cabezal de perforación.
Gire la llave de encendido a la posición de MARCHA.

Pulse el botón derecho hasta que se muestre la pantalla Setting the Hole Depth (Ajuste de la profundidad de las perforaciones) (Figura 51 y Figura 52).
Ajuste la profundidad de los taladros con los botones arriba y abajo (Figura 52) del siguiente modo:
Pulse el botón abajo para reducir la profundidad de las perforaciones.
Pulse el botón arriba para aumentar la profundidad de las perforaciones.

Pulse el botón izquierdo o derecho para guardar los ajustes y salir de la pantalla de ajuste de la profundidad.
Gire la llave de encendido a la posición de APAGADO.
Note: Si se airea a la profundidad máxima permitida (con cualquier longitud de taladro) tras realizar la calibración de la altura de los taladros con respecto al suelo y los pernos de los protectores de césped arrastran o entran en contacto con el césped, reduzca la profundidad un paso (0,653 cm / ¼").
Note: Al seleccionar una velocidad de espaciado de las perforaciones objetivo, la máquina controla la velocidad sobre el terreno para mantener la distancia de espaciado de las perforaciones.
Asegúrese de que el cabezal de perforación esté elevado, consulte Elevación del cabezal de perforación.
Gire la llave de encendido a la posición de MARCHA.

Pulse el botón derecho hasta que se muestre la pantalla Setting the Hole Spacing (Ajuste del espaciado de las perforaciones) (Figura 53 y Figura 54).
Ajuste el espaciado de las perforaciones (Figura 54) del siguiente modo:
Pulse el botón abajo para reducir el espaciado de las perforaciones.
Pulse el botón arriba para aumentar el espaciado de las perforaciones.

Pulse el botón izquierdo o derecho para guardar los ajustes y salir de la pantalla de ajuste del espaciado.
Gire la llave de encendido a la posición de APAGADO.
Asegúrese de que el cabezal de perforación esté elevado, consulte Elevación del cabezal de perforación.
Gire la llave de encendido a la posición de MARCHA.

Pulse el botón derecho hasta que se muestre la pantalla Setting the Tine Diameter (Ajuste del diámetro de los taladros) (Figura 55 y Figura 56).
Ajuste el diámetro de los taladros con los botones arriba y abajo (Figura 56) del siguiente modo:
Pulse el botón arriba para aumentar el diámetro de los taladros.
Pulse el botón abajo para reducir el diámetro de los taladros.

Pulse el botón izquierdo o derecho para guardar los ajustes y salir de la pantalla de ajuste del diámetro.
Gire la llave de encendido a la posición de APAGADO.
Asegúrese de que el cabezal de perforación esté elevado, consulte Elevación del cabezal de perforación.
Gire la llave de encendido a la posición de MARCHA.

Pulse el botón derecho hasta que se muestre la pantalla Setting the Tine Quantity (Ajuste de la cantidad de taladros) (Figura 58).
Ajuste la cantidad de los taladros con los botones arriba y abajo (Figura 58) del siguiente modo:
Important: La cantidad de taladros es el número de taladros de 1 portataladros.
Pulse el botón arriba para aumentar la cantidad de taladros.
Pulse el botón abajo para reducir la cantidad de taladros.

Pulse el botón izquierdo o derecho para guardar los ajustes y salir de la pantalla de ajuste de cantidad.
Gire la llave de encendido a la posición de APAGADO.
| Intervalo de mantenimiento y servicio | Procedimiento de mantenimiento |
|---|---|
| Cada vez que se utilice o diariamente |
|
Important: Calibre la altura de los taladros con respecto al suelo cada vez que cambie de taladros o sustituya los desgastados.
Asegúrese de que el cabezal de perforación esté elevado.
Aparque la máquina en una superficie nivelada, eleve totalmente y enganche el manillar para accionar el freno de estacionamiento, pare el motor, retire la llave y espere a que se detengan todas las piezas en movimiento.
Retire la cubierta del cabezal de perforación; consulte Retirada de la cubierta del cabezal de perforación.
Gire la polea del cabezal de perforación (Figura 59) hasta que los taladros más exteriores estén alineados lo más cerca del suelo (Figura 60).
Important: Mantenga los dedos alejados de la zona en la que la correa se une a la polea y sale de ella, para no aprisionarse los dedos.


Instale la cubierta del cabezal de perforación; consulte Instalación de la cubierta del cabezal de perforación.
Gire la llave de encendido a la posición de MARCHA.
Note: Aparece la pantalla de modo de TRANSPORT (Transporte) o la pantalla del modo de AERATE (Aireación) (Figura 61).

Mueva el manillar, de forma que pueda ver los taladros más exteriores que colocó en Preparación de la máquina.
Pulse el botón derecho del hasta que se muestre el asistente de TEACH GROUND HEIGHT (Enseñar altura con respecto al suelo).
En la pantalla Teach Ground Height (Enseñar altura con respecto al suelo) (Figura 62), pulse el botón central.

En la pantalla PRESS OK TO START TEACH (Pulse Ok para iniciar la enseñanza) (Figura 63), pulse el botón de seleccionar.

Note: Se muestra el mensaje CALIBRATION ENGAGED (Calibración engranada) y se baja lentamente el cabezal de perforación.
Important: Mantenga la mano junto al InfoCenter.
Note: El cabezal de perforación se baja más lentamente si el fluido hidráulico está frío.
Cuando cualquier taladro toca el suelo, pulse el botón de selección en la pantalla Lowering Head (Bajada de cabezal) (Figura 64).
Note: Los taladros solo deben tocar el suelo y no elevarse ni descargar el peso de los neumáticos.Si el cabezal de perforación eleva la máquina, esta calibra incorrectamente la altura con respecto al suelo, lo que produce una profundidad incorrecta de la perforación y se crean crestas con la entrada de los taladros en las perforaciones de aireación.

Note: Aparece el mensaje CALIBRATION COMPLETE (Calibración finalizada) y el cabezal se eleva totalmente.
Pulse el botón atrás para salir de la aplicación Teach Ground Height (Enseñar altura con respecto al suelo).
El propietario/operador puede prevenir, y es responsable de, cualquier accidente que pueda causar lesiones personales o daños materiales.
Lleve ropa adecuada, incluida protección ocular, pantalón largo, calzado resistente y antideslizante y protección auditiva. Si tiene el pelo largo, recójaselo, asegure las prendas sueltas y no lleve joyas.
No utilice la máquina si está cansado, enfermo o bajo los efectos del alcohol o de drogas.
Mantenga a otras personas, a niños y a las mascotas alejadas del área de operación. No permita que esta máquina la utilicen niños. Solo permita que manejen la máquina personas responsables, formadas, familiarizadas con las instrucciones y físicamente capaces de utilizar la máquina.
No transporte nunca a pasajeros en la máquina.
Utilice la máquina solamente en condiciones óptimas de visibilidad y evite baches u otros peligros ocultos.
Mantenga las manos y los pies alejados de los taladros.
Mire hacia atrás y hacia abajo antes de poner marcha atrás para asegurarse de que el camino está despejado.
Detenga la máquina, pare el motor, retire llave, espere a que todas las piezas móviles se detengan e inspeccione los taladros después de golpear un objeto o si se produce una vibración anormal. Realice todas las reparaciones necesarias antes de volver a utilizar la máquina.
Mantenga siempre la presión correcta de los neumáticos del
Reduzca la velocidad de tracción en caminos y superficies irregulares.
Las pendientes son una de las principales causas de accidentes por pérdida de control y vuelcos, que pueden causar lesiones graves o la muerte. Usted es responsable de la seguridad cuando trabaja en pendientes. El uso de la máquina en cualquier pendiente exige un cuidado especial.
Evalúe las condiciones del lugar para determinar si la pendiente es segura para utilizar la máquina, incluida la supervisión del sitio. Utilice siempre el sentido común y el buen juicio al realizar este estudio.
Consulte las instrucciones sobre el uso de la máquina en pendientes indicadas a continuación y revise las condiciones para determinar si puede utilizar la máquina con las condiciones del día y del lugar concretos. Los cambios en el terreno pueden producir un cambio en el funcionamiento de la máquina en pendientes.
Evite arrancar, parar o girar la máquina en pendientes. Evite realizar cambios bruscos de velocidad o de dirección. Realice giros de forma lenta y gradual.
No utilice la máquina en condiciones en las que no esté asegurada la tracción, la dirección o la estabilidad.
Retire o señale obstrucciones como terraplenes, baches, surcos, montículos, rocas u otros peligros ocultos. La hierba alta puede ocultar obstrucciones. Un terreno irregular puede hacer que la máquina vuelque.
Tenga en cuenta que el uso de la máquina en hierba húmeda, a través de pendientes o en pendientes descendentes puede hacer que la máquina pierda tracción. La transferencia de peso a las ruedas delanteras puede hacer que patinen las ruedas, con pérdida de frenado y de control de dirección.
Extreme las precauciones cuando utilice la máquina cerca de terraplenes, fosas, taludes, obstáculos de agua u otros obstáculos. La máquina podría volcar repentinamente si una rueda pasa por el borde de un terraplén o fosa, o si se socava un talud. Establezca un área de seguridad entre la máquina y cualquier peligro.
Eleve totalmente el manillar para accionar el freno de estacionamiento (Figura 65).

Asegúrese de que el pasador del cierre del manillar pase por el orificio de la placa de trinquete (Figura 66).
Si el freno de estacionamiento no se engrana, la máquina puede moverse y lesionarle a usted o a otras personas.
Asegúrese de que el manillar esté totalmente elevado y de que se enganche con seguridad a la placa de trinquete.

Eleve totalmente y enganche el manillar para accionar el freno de estacionamiento; consulte Accionamiento del freno de estacionamiento.
Si el motor está frío, mueva la palanca del acelerador a la posición de RáPIDO antes de arrancarlo.

Gire la llave de contacto a la posición de ARRANQUE. Cuando el motor arranque, suelte la llave.
Important: No active el motor de arranque durante más de 10 segundos cada vez. Si el motor no arranca, deje que se enfríe durante 30 segundos entre intentos. Si no se siguen estas instrucciones, puede quemarse el motor de arranque.
Una vez que se enciende el motor, mueva la palanca del acelerador hasta la velocidad del motor que desee.
Los niños u otras personas podrían resultar lesionados si mueven o intentan operar la máquina mientras está desatendida.
Eleve siempre totalmente y enganche el manillar para accionar el freno de estacionamiento, apague el motor y retire la llave antes de dejar la máquina desatendida, aunque solo sea por unos minutos.
Eleve totalmente y enganche el manillar para accionar el freno de estacionamiento; consulte Accionamiento del freno de estacionamiento.
Mueva la palanca del acelerador (Figura 71) a la posición de LENTO.

Deje funcionar el motor en ralentí durante 60 segundos.
Gire la llave de contacto a la posición de DESCONECTADO y retire la llave.
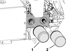
Si va a transportar o a almacenar la máquina, cierre la válvula de cierre del combustible (Figura 72).
Important: Cierre la válvula de cierre de combustible antes de transportar la máquina en un remolque o antes de almacenarla. Eleve totalmente y enganche el manillar para accionar el freno de estacionamiento antes de transportar la máquina. Retire la llave del interruptor de encendido para evitar que la bomba de combustible funcione y haga que se descargue la batería.

Important: Camine delante de la máquina y mire hacia delante al usarla, no camine marcha atrás ni mire hacia atrás al utilizar la máquina.

Al usar el bloqueo de velocidad, puede conducir la máquina sin tener que sostener el control de tracción.
Note: No se puede usar el bloqueo de velocidad mientras conduce la máquina hacia atrás.
Al usar el bloqueo de velocidad mientras airea, puede seguir conduciendo la máquina a la velocidad seleccionada de espaciado de las perforaciones al final de una pasada de aireación, girar la máquina y comenzar la siguiente pasada de aireación sin cambiar la posición del control de tracción.
Note: La función de bloqueo de velocidad en el modo de aireación está activa cuando el cabezal de perforación está ajustado para el modo de descenso retardado; la función de bloqueo de velocidad está bloqueada en el modo de descenso inmediato.
El bloqueo de velocidad sobre el terreno funciona como el control de crucero en un automóvil.
Pulse el interruptor de transporte/aireación hasta la posición de TRANSPORTE (Figura 74).

Pulse el interruptor de bloqueo de velocidad hasta la posición de ENCENDIDO.
Conduzca la máquina hacia delante a la velocidad sobre el terreno que desee.
Pulse el interruptor de bloqueo de velocidad hasta la posición de ENGRANAR.
Note: El bloqueo de la velocidad sobre el terreno mantiene la velocidad actual a la que se está conduciendo la máquina. Puede soltar el control de tracción.
Para desengranar el bloqueo de velocidad, realice una de las siguientes acciones:
Pulse el interruptor de bloqueo de velocidad hasta la posición de APAGADO.
Gire la parte superior del control de tracción hacia atrás para conducir la máquina hacia atrás.
Suelte la barra de presencia del operador.
Pulse el interruptor de parada de emergencia.
Note: El bloqueo de velocidad sobre el terreno no está disponible al airear en el modo de descenso inmediato.
Pulse el interruptor de transporte/aireación hasta la posición de AIREAR (Figura 75).

Pulse el interruptor de bloqueo de velocidad hasta la posición de ENCENDIDO.
Conduzca la máquina hacia delante y cierre la barra de aireación.
Note: El bloqueo de velocidad sobre el terreno se engrana y se baja el cabezal de perforación.
Al final de la pasada de aireación, suelte la barra de aireación.
Note: El cabezal de perforación se eleva, pero la máquina mantiene la velocidad sobre el terreno a la velocidad de espaciado de las perforaciones de aireación.
Para desengranar el bloqueo de velocidad, realice una de las siguientes acciones:
Pulse el interruptor de bloqueo de velocidad hasta la posición de APAGADO.
Gire la parte superior del control de tracción hacia atrás para conducir la máquina hacia atrás.
Suelte la barra de presencia del operador.
Pulse el interruptor de parada de emergencia.
Note: Utilice el modo de transporte al desplazar la máquina entre lugares de trabajo.
Note: La máquina funciona a una velocidad variable reducida cada vez que el interruptor de transporte/aireación se encuentra en la posición de AIREACIóN.
Arranque el motor y mueva la palanca del acelerador a la posición de RáPIDO; consulte Arranque del motor.
Baje el manillar para quitar el freno de estacionamiento; consulte Liberación del freno de estacionamiento.
Pulse el lado izquierdo del interruptor de transporte/aireación a la posición de TRANSPORTE (Figura 76).

Note: El InfoCenter muestra el icono de TRANSPORTE (Figura 77).

Mire en la dirección que tenga pensado avanzar y asegúrese de que no haya ningún obstáculo.
Agarre el manillar izquierdo o derecho y la barra de presencia del operador (Figura 76) y apriete la barra hacia el manillar.
Con el dedo pulgar, gire el control de tracción derecho o izquierdo para conducir la máquina del siguiente modo:
Gire la parte superior del control de tracción hacia delante para conducir la máquina hacia delante.
Gire la parte superior del control de tracción hacia atrás para conducir la máquina hacia atrás.
Note: Al girar más el control de tracción aumenta la velocidad sobre el terreno de la máquina.
Important: Para detener inmediatamente la máquina, pulse el interruptor de parada de emergencia (Figura 78).

Si está realizando tareas de aireación, suelte la barra de aireación (Figura 79) para elevar el cabezal de perforación; consulte Elevación del cabezal de perforación.

Suelte el control de tracción y deje que se mueva hasta la posición de PUNTO MUERTO.
Suelte la barra de presencia del operador.
Eleve totalmente y enganche el manillar para accionar el freno de estacionamiento; consulte Accionamiento del freno de estacionamiento.
Note: La máquina avanza a una velocidad variable reducida cada vez que se eleva el cabezal de perforación.
Arranque el motor y mueva la palanca del acelerador a la posición de RáPIDO; consulte Arranque del motor.
Baje el manillar para quitar el freno de estacionamiento; consulte Liberación del freno de estacionamiento.
Pulse el lado derecho del interruptor de transporte/aireación hasta la posición de AIREACIóN (Figura 80).

El InfoCenter muestra la profundidad actual de las perforaciones y el espaciado de las perforaciones (Figura 81).

Mire en la dirección que tenga pensado avanzar y asegúrese de que no haya ningún obstáculo.
Agarre el manillar izquierdo o derecho y la barra de presencia del operador (Figura 80) y apriete la barra hacia el manillar.
Con el dedo pulgar, gire la parte superior del control de tracción derecho o izquierdo para conducir la máquina del siguiente hacia delante.
Note: Durante la aireación, la máquina avanza a una velocidad que se ajusta al espaciado de las perforaciones objetivo que seleccionó anteriormente.
Al usar el bloqueo de velocidad sobre el terreno, si se suelta la barra de aireación sin cambiar la posición del de control de tracción, la máquina mantiene la velocidad sobre el terreno, como el control de crucero en un automóvil.
Al conducir la máquina marcha atrás, se desengrana el efecto de control de crucero y hace que la máquina avance a la velocidad sobre el terreno variable.
Al elevar el cabezal para girar la máquina y realizar otra pasada, puede aumentar la velocidad sobre el terreno moviendo el control más hacia delante. Al hacer que el control de tracción vuelva a la posición de PUNTO MUERTO, la máquina se ralentiza hasta la velocidad sobre el terreno necesaria para el espaciado de las perforaciones de aireación.
Utilice el neumático delantero para avistar el punto de descenso al airear en el modo de descenso retardado.
Pulse la parte superior del interruptor de control de descenso (Figura 82) hasta la posición de DESCENSO RETARDADO.

Conduzca la máquina hacia delante; consulte Conducción de la máquina en el modo de aireación.
A medida que el neumático delantero pase sobre el perímetro del área de aireación, cierre la izquierda o la derecha de la barra de aireación (Figura 83)
Note: El cabezal de perforación se pone en marcha y se baja a medida que la máquina se mueve hacia delante cruzando el área de aireación objetivo.

Utilice el neumático delantero (Figura 84) para avistar el punto de elevación en el modo de descenso retardado.

Para elevar el cabezal de perforación, realice una de las siguientes acciones:
A medida que el neumático delantero pase sobre el perímetro del área de aireación, suelte la barra de aireación (Figura 85)
Note: La máquina retrasa la elevación del cabezal de perforación hasta que el cabezal llega al punto objetivo que ha identificado con el neumático delantero y se suelta la barra de aireación.

Conduzca la máquina marcha atrás; consulte Conducción de la máquina marcha atrás.
Pulse la parte inferior del interruptor de control de descenso (Figura 86) hasta la posición de DESCENSO INMEDIATO.
Note: Se ilumina la luz en el interruptor.

Conduzca la máquina hacia delante; consulte Conducción de la máquina en el modo de aireación.
Cierre la izquierda o la derecha de la barra de aireación (Figura 87).
Note: El cabezal de perforación baja inmediatamente y comienza la aireación.

Para elevar el cabezal de perforación, realice una de las siguientes acciones:
Suelte la barra de aireación (Figura 88).
Note: La máquina eleva de inmediato el cabezal de perforación.

Conduzca la máquina marcha atrás; consulte Conducción de la máquina marcha atrás.
Si ha bajado el cabezal de perforación, suelte la barra de aireación (Figura 89).

Suelte el control de tracción y deje que se mueva hasta la posición de PUNTO MUERTO.
Mientras sostiene la barra de presencia del operador contra el manillar, gire lentamente la parte superior del control de tracción hacia atrás (Figura 90).

Suelte el control de tracción, deje que se mueva hasta la posición de PUNTO MUERTO y suelte la barra de presencia del operador (Figura 91).

Aléjelo del interruptor de parada de emergencia (Figura 92)
Note: Un muelle en el interruptor de parada de emergencia restablece el interruptor.

Agarre el manillar izquierdo o derecho y la barra de presencia del operador (Figura 93) y apriete la barra hacia el manillar.

Conduzca la máquina, consulte Conducción de la máquina en el modo de transporte o Conducción de la máquina en el modo de aireación.
Utilice el trazador para alinear las pasadas de aireación (Figura 94).

La máquina usa 2 contadores para registrar el área aireada y el volumen de terrón desplazado. Utilice la información de estos contadores para calcular la cantidad de recebado para aplicar a la zona o las zonas de césped aireado.
El contador de Área 1 no está protegido con código PIN y está indicado para que lo restablezca el operador de la máquina.
Note: Si el operador registra el contador de Área 1 para cada lugar de aireación, puede calcular la cantidad de mantillo y los requisitos de aplicación de cada lugar.
El contador de Área 2 está protegido con código PIN y está indicado para que lo restablezca el supervisor o su delegado.
El área aireada se muestra en m2 (sistema métrico) o en pies2 (sistema inglés).
El volumen de terrón desplazado se muestra en m3 (sistema métrico) o en yardas3 (inglés).
Al ver los contadores de volumen de terrón desplazado, la máquina calcula el volumen con el diámetro del taladro y la cantidad de taladros que ha introducido en el InfoCenter.
Important: Si el valor o los valores del diámetro de los taladros y/o de la cantidad de taladros son incorrectos antes de airear el lugar, el InfoCenter calculará y mostrará valores incorrectos de volumen de terrón para el Área 1 y Área 2. Si los valores de diámetro y/o la cantidad se cambian tras airear, el InfoCenter cambiará los valores de volumen mostrados.
Aparque la máquina en una superficie nivelada.
Asegúrese de que el motor esté funcionando y de la llave de contacto esté en la posición de MARCHA.
En el InfoCenter, desplácese hasta el MENú PRINCIPAL.
Pulse el botón abajo hasta que se seleccione la opción SERVICE (Mantenimiento) y pulse el botón de selección (Figura 95).

En la pantalla SERVICE (Mantenimiento), pulse el botón abajo hasta que se seleccione la opción STATISTICS (Estadísticas) y, a continuación, pulse el botón de selección (Figura 96).

Note: Se muestra un contador de AREA (Área) en la pantalla STATISTICS (Estadísticas).

En la pantalla STATISTICS (Estadísticas), pulse el botón abajo hasta que se seleccione la opción AREA 1 (Área 1) (Figura 98).

Registre el área de aireación y el volumen de terrón en una hoja de trabajo; consulte el ejemplo que se muestra a continuación.
|
Fecha |
Campo (si hay varios) |
Ubicación |
Área de aireación |
Volumen de terrón |
Pulse el botón de selección para mostrar la pantalla de restablecimiento de área y volumen.
En la pantalla RESET AREA AND VOLUME (Restablecer área y volumen), pulse el botón de selección.
Note: El InfoCenter muestra la pantalla de estadísticas y los contadores de área y volumen se restablecen a 0.
Note: Si no restablece el contador de Área 1, los contadores de área y volumen siguen acumulando datos.

Repita los pasos 1 a 4 cuanto sea necesario.
Pulse el botón atrás para regresar al menú principal.
Note: Al restablecer los contadores de AREA 2 (Área 2), no se restablecen los contadores de AREA 1 (Área 1).
Introduzca el PIN para acceder a los menús protegidos; consulte Acceso a los menús protegidos.
En la pantalla STATISTICS (Estadísticas), pulse el botón abajo hasta que se seleccione la opción AREA 2 (Área 2) (Figura 100).

Si fuera necesario, registre los datos del área de aireación y del volumen de terrón.
Pulse el botón de selección para mostrar la pantalla de restablecimiento de área y volumen.
En la pantalla RESET AREA AND VOLUME (Restablecer área y volumen), pulse el botón de selección (Figura 101).
Note: El InfoCenter muestra la pantalla de estadísticas y los contadores de área y volumen se restablecen a 0.
Note: Si no restablece el contador de Área 2, los contadores de área y volumen siguen acumulando datos.

Pulse el botón atrás para regresar al menú principal.
Instale el cierre de mantenimiento antes de realizar el mantenimiento en el cabezal de perforación o antes de almacenar la máquina durante más de un par de días.
Si el cabezal de perforación está elevado pero no se asegura con el cerrojo, puede bajarse de forma inesperada y causarle lesiones a usted y a otras personas.
Cuando realice tareas de mantenimiento en el cabezal de perforación, incluido el cambio de taladros o de protectores de césped, utilice el cerrojo de mantenimiento para fijar el cabezal de perforación en la posición elevada.
Eleve el cabezal de perforación
Aparque la máquina en una superficie nivelada, eleve totalmente y enganche el manillar para accionar el freno de estacionamiento, pare el motor, retire la llave y espere a que se detengan todas las piezas en movimiento.
Retire la cubierta del cabezal de perforación; consulte Retirada de la cubierta del cabezal de perforación.
Retire el pasador de seguridad que fija el cierre de mantenimiento a la placa lateral (Figura 102).

Gire el cierre de mantenimiento hacia atrás y alinéelo sobre el pasador de soporte del cabezal de perforación.
Fije el cierre en el pasador de soporte con el pasador de seguridad.
Si fuera necesario, instale la cubierta del cabezal de perforación; consulte Instalación de la cubierta del cabezal de perforación.
Aparque la máquina en una superficie nivelada, eleve totalmente y enganche el manillar para accionar el freno de estacionamiento, pare el motor, retire la llave y espere a que se detengan todas las piezas en movimiento.
Si está instalada la cubierta del cabezal de perforación, retírela; consulte Retirada de la cubierta del cabezal de perforación.
Retire el pasador de seguridad que fija el cierre de mantenimiento al pasador de soporte del cabezal de perforación (Figura 103).

Gire el cierre de mantenimiento hacia abajo y alinéelo sobre el pasador de soporte de la placa lateral.
Fije el cierre en el pasador de soporte con el pasador de seguridad.
Instale la cubierta del cabezal de perforación; consulte Instalación de la cubierta del cabezal de perforación.
Important: Sustituya un taladro dañado con otro de la misma longitud. Las longitudes de taladros distintas afectan de forma negativa al aspecto de la perforación.
Las longitudes de taladros distintas afectan al aspecto de la perforación.
Consulte las ilustraciones de la sección Instalación de los protectores de césped, de los portataladros y los taladros.
Eleve el cabezal de perforación y bloquéelo en esa posición con el cerrojo de mantenimiento.
Aparque la máquina en una superficie nivelada, eleve totalmente y enganche el manillar para accionar el freno de estacionamiento, pare el motor, retire la llave y espere a que se detengan todas las piezas en movimiento.
Afloje los pernos del portataladros y retire el taladro o los taladros antiguos.
Inserte el taladro o los taladros nuevos en el portataladros.
Apriete los pernos del portataladros a 40,6 N∙m.
Si fuera necesario, repita este procedimiento en los brazos restantes.
Utilice la aplicación Recall Ground Height (Recordar altura con respecto al suelo) para comprobar rápidamente la altura actual de los taladros con respecto al suelo.
La aplicación mueve el cabezal hacia bajo, hasta la posición calibrada anteriormente; una vez que el cabezal está en la posición, puede inspeccionar la distancia de las puntas de los taladros con respecto al suelo.
Asegúrese de que el cabezal de perforación esté elevado.
Aparque la máquina en una superficie nivelada, eleve totalmente y enganche el manillar para accionar el freno de estacionamiento, pare el motor, retire la llave y espere a que se detengan todas las piezas en movimiento.
Retire la cubierta del cabezal de perforación; consulte Retirada de la cubierta del cabezal de perforación.
Gire la polea del cabezal de perforación (Figura 104) hasta que los taladros más exteriores estén alineados lo más cerca del suelo.
Important: Mantenga los dedos alejados de la zona en la que la correa se une a la polea y sale de ella, para no aprisionarse los dedos.


Instale la cubierta del cabezal de perforación; consulte Instalación de la cubierta del cabezal de perforación.
Introduzca el PIN para acceder a los menús protegidos; consulte Acceso a los menús protegidos.
En el InfoCenter, desplácese hasta el MENú PRINCIPAL.
Pulse el botón abajo hasta que se seleccione la opción SERVICE (Mantenimiento) y pulse el botón de selección (Figura 105).

Pulse el botón abajo en el InfoCenter para desplazarse hasta la opción GROUND HEIGHT (Altura con respecto al suelo) y, a continuación, pulse el botón de selección.
Pulse el botón abajo en el InfoCenter para desplazarse hasta la opción RECALL CALIBRATION (Recordar calibración) y, a continuación, pulse el botón de selección.
En la pantalla Recall Ground Height (Recordar altura con respecto al suelo) (Figura 106), pulse el botón de selección.

En la pantalla Head Will Lower (El cabezal se bajará) (Figura 107), pulse el botón de selección.

Note: Se muestra el mensaje Lowering Head (Bajando cabezal) y se baja el cabezal de perforación.
Observe los taladros más exteriores para las siguientes condiciones fuera de calibración.
Si los taladros comienzan a penetrar el suelo – pulse el botón de selección (Figura 108) y ejecute la aplicación TEACH GROUND HEIGHT (Enseñar altura con respecto al suelo); consulte Ejecución de la aplicación Teach Ground Height.
Si los taladros están por encima del suelo – pulse el botón de selección y ejecute la aplicación TEACH GROUND HEIGHT (Enseñar altura con respecto al suelo); consulte Ejecución de la aplicación Teach Ground Height.

Si los taladros más externos tocan ligeramente el suelo, pulse el botón de selección para elevar el cabezal de perforación.
La máquina transfiere el peso desde la unidad de tracción al cabezal de perforación, para ayudar a mantener la profundidad de las perforaciones en diferentes estructuras de suelo. Sin embargo, si la estructura del suelo es lo suficientemente firme como para no permitir una profundidad de aireación completa, el cabezal de perforación puede que necesite más transferencia de peso. La máquina se ajusta de fábrica para una transferencia de peso normal. Para aumentar la presión descendente de los muelles de transferencia de peso, utilice el procedimiento siguiente:
La liberación repentina de los soportes de los muelles podría causar lesiones.
Solicite la ayuda de otra persona para ajustar el muelle de transferencia de peso.
Aparque la máquina en una superficie nivelada, eleve totalmente y enganche el manillar para accionar el freno de estacionamiento, pare el motor, retire la llave y espere a que se detengan todas las piezas en movimiento.
Afloje la contratuerca con arandela prensada delantera y el perno de cuello cuadrado que fijan la placa de tensión del muelle al soporte de sujeción del cabezal de perforación (Figura 109).
Note: No retire la contratuerca ni el perno de cuello cuadrado.

Retire la contratuerca con arandela prensada trasera que fija los soportes de los muelles al soporte de sujeción.
Note: No retire el perno de cuello cuadrado.
Inserte una llave de carraca de ½" o una llave de extensión en el orificio cuadrado de la placa de tensión del muelle (Figura 110).

Gire la llave de carraca o la llave de extensión para liberar la tensión en el perno de cuello cuadrado trasero y retirarlo del orificio superior.
Note: El orificio superior es la posición de transferencia de peso normal.
Gire la placa de tensión del muelle hasta que quede alineada con el orificio inferior del soporte de sujeción, inserte el perno de cuello cuadrado a través de los orificios en la placa y el soporte.
Note: El orificio inferior es la posición de transferencia de peso superior. Al girar los soportes del muelle hacia arriba aumenta la transferencia de peso.
Fije el perno de cuello cuadrado al soporte de sujeción y la placa de tensión del muelle con la contratuerca con arandela prensada.
Apriete las contratuercas a entre 37 y 45 N∙m.
Para lograr una calidad óptima de las perforaciones y un buen rendimiento de la máquina, airee con el sistema de seguimiento automático del terreno.
Utilice el seguimiento manual del terreno únicamente si el sensor de posición de los taladros está dañado.
Aparque la máquina en una superficie nivelada, eleve totalmente y enganche el manillar para accionar el freno de estacionamiento, pare el motor, retire la llave y espere a que se detengan todas las piezas en movimiento.
Retire la cubierta del cabezal de perforación; consulte Retirada de la cubierta del cabezal de perforación.
Retire el pasador de seguridad que fija el pasador de tope de profundidad y los espaciadores en el soporte de tope (Figura 111 y Figura 112).


Coloque los espaciadores por encima o por debajo del soporte de tope para ajustar la profundidad de perforación.
Con todos los espaciadores en la parte superior del soporte de tope, el ajuste de profundidad es de 10,7 cm.
Los espaciadores gruesos equivalen a un incremento de 19 mm.
Los espaciadores finos equivalen a incrementos de 9,5 mm.
Note: Debe instalar todos los espaciadores, independientemente de su posición.
Monte el pasador de tope de profundidad y los espaciadores en el soporte de tope con el pasador de seguridad.
Repita los pasos 3 a 5 en el otro lado de la máquina.
Important: Asegúrese de que sea idéntica la ubicación de los espaciadores por encima y debajo de los soportes de tope izquierdo y derecho.
Instale la cubierta del cabezal de perforación; consulte Instalación de la cubierta del cabezal de perforación.
Note: Si airea con el modo manual, debe ajustar el InfoCenter para el modo manual de seguimiento del terreno cada vez que arranque el motor.
Gire la llave de contacto a la posición de MARCHA.
Note: No arranque el motor.
Introduzca el PIN para acceder a los menús protegidos; consulte Acceso a los menús protegidos.
En el InfoCenter, desplácese hasta el MENú PRINCIPAL.
Pulse el botón abajo hasta que se seleccione la opción MACHINE SETTINGS (Ajustes de la máquina) y, a continuación, pulse el botón de selección.
Pulse el botón abajo hasta que se seleccione la opción MANUAL AERATION (Aireación manual) y, a continuación, pulse el botón de selección (Figura 113) para ajustar la aireación manual en ON (Activada).

Arranque el motor.
Realice la aireación siguiendo Aireación con el modo de descenso retardado o Aireación con el modo de descenso inmediato.
Note: Al apagar el motor y arrancarlo, la máquina vuelve de forma predeterminada al modo de seguimiento automático del terreno.
Aparque la máquina en una superficie nivelada, eleve totalmente y enganche el manillar para accionar el freno de estacionamiento, pare el motor, retire la llave y espere a que se detengan todas las piezas en movimiento.
Retire la cubierta del cabezal de perforación; consulte Retirada de la cubierta del cabezal de perforación.
Retire el pasador de seguridad que fija el pasador de tope de profundidad y los espaciadores en el soporte de tope (Figura 114).


Coloque todos los espaciadores encima del soporte de tope.
Monte el pasador de tope de profundidad y los espaciadores en el soporte de tope con el pasador de seguridad.
Note: Debe guardar todos los espaciadores
Repita los pasos 3 a 5 en el otro lado de la máquina.
Instale la cubierta del cabezal de perforación; consulte Instalación de la cubierta del cabezal de perforación.
Con la transferencia de peso ajustada, al airear el césped en un terreno duro la máquina puede elevar del suelo los neumáticos traseros. El resultado puede ser un espaciado irregular de las perforaciones.
Si se produce esta elevación, puede añadir placas de contrapeso opcionales al tubo del eje del bastidor trasero. Cada placa de contrapeso añade 28,5 kg a la máquina. Puede añadir hasta 2 placas. Consulte el Catálogo de piezas de la máquina para obtener los números de pieza de los contrapesos y los herrajes.
Herramientas necesarias: herramienta tubular de 15 mm y llave dinamométrica
Important: No haga funcionar el motor con la válvula de desvío abierta durante más de 10 – 15 segundos.
Si es posible, aparque la máquina en una superficie nivelada.
Eleve totalmente y enganche el manillar para accionar el freno de estacionamiento, pare el motor, retire la llave y espere a que se detengan todas las piezas en movimiento.
Retire los 2 pernos con arandela prensada que fijan el contenedor de almacenamiento al soporte del contenedor (Figura 115).

Localice la cubierta del tornillo de la válvula de desvío entre el motor y la bomba hidráulica, tal y como se muestra en la Figura 116.

Utilice una herramienta tubular de 15 mm y una llave dinamométrica para girar la válvula de desvío en sentido antihorario una vuelta y media.
Important: No gire la válvula de desvío más de una vuelta y media.
Si va a remolcar la máquina, tire de ella con el anclaje de amarre delantero (Figura 117).
Important: No empuje ni arrastre la máquina más de 30,5 metros o a una velocidad superior a 0,6 km/h porque puede dañarse el componente hidráulico.

Baje el manillar para quitar el freno de estacionamiento antes de arrastrar o empujar la máquina.
Important: Debe bajar el manillar para quitar el freno de estacionamiento antes desplazar la máquina.
Important: Debe cerrar la válvula de desvío para conducir la máquina. No intente hacer funcionar el sistema de tracción con la válvula de desvío abierta.
Localice el tornillo de la válvula de desvío entre el motor y la bomba hidráulica.
Note: La ubicación de la cubierta del tornillo de la válvula de desvío se muestra en la Figura 118.

Utilice una herramienta tubular de 15 mm y una llave dinamométrica para girar la válvula de desvío en sentido horario una vuelta y media.
Note: No apriete en exceso el tornillo de la válvula de desvío.
Utilice una llave dinamométrica de 15 mm para instalar la cubierta del tornillo de la válvula de desvío en la bomba hidráulica.
Instale el contenedor de almacenamiento en el soporte del contenedor con los 2 pernos con arandela prensada.
Si el motor deja de funcionar mientras el cabezal de perforación está bajado y los taladros engranados en el suelo y no puede arrancar el motor, siga los pasos indicados en Elevación del cabezal de perforación con el motor de arranque o en Retirada de los portataladros de los brazos de taladros.
Mueva la llave a la posición de MARCHA.
En el InfoCenter, desplácese hasta el MENú PRINCIPAL.
Pulse el botón abajo hasta que se seleccione la opción SERVICE (Mantenimiento) y pulse el botón de selección (Figura 119).

Pulse el botón abajo hasta que se seleccione la opción SERVICE LIFT (Elevación de mantenimiento) y, a continuación, pulse el botón de selección (Figura 120).
Note: La opción de elevación de mantenimiento cambia a ON (Activada).

Coloque la llave en posición de ARRANQUE y accione el motor de arranque durante 10 segundos.
Important: No active el motor de arranque durante más de 10 segundos cada vez. Si los taladros no han salido de la tierra, deje que transcurran 30 segundos entre intentos para que el motor de arranque se enfríe. Si no se siguen estas instrucciones, puede quemarse el motor de arranque.
Note: El cabezal de perforación eleva los taladros de la tierra.
Important: Los taladros salen totalmente de la tierra antes de mover la máquina.
Abra la válvula de desvío; consulte Derivación de la bomba hidráulica y traslado de la máquina.
Arrastre/empuje la máquina a un lugar cercano para continuar el mantenimiento o para cargarla en un remolque.
Important: No empuje ni arrastre la máquina más de 30 metros o a una velocidad superior a 1,6 km/h, porque el sistema hidráulico puede resultar dañado.
Retire los portataladros de los brazos.
Abra la válvula de desvío; consulte Derivación de la bomba hidráulica y traslado de la máquina.
Arrastre/empuje la máquina a un lugar cercano para continuar el mantenimiento o para cargarla en un remolque.
Important: No empuje ni arrastre la máquina más de 30 metros o a una velocidad superior a 1,6 km/h, porque el sistema hidráulico puede resultar dañado.
Haga giros muy suaves durante la aireación. No haga nunca giros cerrados o rápidos cuando el cabezal de perforación está engranado. Planifique el recorrido de aireación antes de bajar el aireador.
Debe saber en todo momento lo que hay delante de usted en el sentido de la marcha. Evite airear junto a edificios, vallas y otros equipos.
Mire hacia atrás con frecuencia para asegurarse de que la máquina está funcionado perfectamente y de que mantiene la alineación con las pasadas anteriores.
Siempre limpie la zona, recogiendo cualquier pieza dañada de la máquina, por ejemplo taladros rotos, etc., para evitar que sean recogidas por cortacéspedes u otros equipos de mantenimiento del césped.
Sustituya cualquier taladro roto, inspeccione los que siguen siendo utilizables y corrija cualquier daño. Repare cualquier daño a la máquina antes de comenzar la operación.
Si desea airear con una anchura menor que la de la máquina, puede retirar taladros, pero los cabezales de los taladros deben permanecer instalados en los brazos para mantener el equilibrio correcto y asegurar el correcto funcionamiento de la máquina.
Esta máquina airea a mayor profundidad que la mayoría de aireadores de greens. En greens y tees elevados, tanto nativos como modificados, debido a la mayor profundidad, los taladros huecos más largos pueden tener dificultades para extraer el terrón completo. Esto es debido a que el suelo nativo es más duro y se agarra al extremo del taladro. Los taladros de salida lateral para greens y tees del fabricante se mantienen más limpios y reducirán el tiempo necesario para limpiar los taladros. Con el tiempo se eliminará esta situación con programas continuos de aireación y recebado.
Esta máquina está diseñada para proporcionar la mayor profundidad posible; no obstante, en ciertas condiciones de césped los protectores de césped y/o los pernos de los protectores de césped podrían causar daños si se airea con el ajuste de profundidad máxima. Si se airea a la profundidad máxima permitida (con cualquier longitud de taladro) tras realizar la calibración de la altura de los taladros con respecto al suelo y los pernos de los protectores de césped arrastran o entran en contacto con el césped, reduzca la profundidad un paso (0,653 cm / ¼").
La calidad de las perforaciones de entrada se deteriora cuando la perforación se alarga (se estira hacia delante).
Si la calidad de las perforaciones de entrada se deteriora, compruebe la calibración de la altura de los taladros con respecto al suelo; consulte Comprobación de la calibración de la altura de los taladros con respecto al suelo.
Debido al diseño de fila doble, el cabezal de perforaciones de taladros mini requiere que el espaciado de las perforaciones se ajuste a 6,3 cm. La velocidad de avance es de vital importancia para mantener el aspecto de un espaciado de perforaciones de 3,2 cm. Consulte Ajuste del espaciado de las perforaciones si se requiere un pequeño cambio en el espaciado de las perforaciones.
Si se utiliza el cabezal de taladros mini o taladros macizos más grandes, la estructura de las raíces del césped es importante para evitar desgarrar la zona de las raíces. Si los dos brazos centrales empiezan a levantar el césped o se producen excesivos daños en la zona de las raíces, proceda de la siguiente manera:
Aumente el espaciado de las perforaciones
Reduzca el tamaño de los taladros
Reduzca la profundidad de los taladros
Retire algunos de los taladros
La acción de elevación que crea un taladro macizo cuando se extrae del césped puede causar daños en el césped. Esto puede desgarrar la zona de las raíces si la densidad o el diámetro de los taladros es demasiado elevado.
Cuando se airea con taladros macizos más largos (por ejemplo, de 1 x 10 cm de longitud) o taladros tipo aguja, la parte delantera puede alargarse o tener aspecto de cresta. Para recuperar una calidad excelente en las perforaciones, pruebe una de las siguientes opciones:
Calibre la altura con respecto al suelo de los taladros; consulte Calibración de la altura de los taladros con respecto al suelo.
Reduzca la velocidad de ralentí alto del motor a entre 2800 y 2900 rpm.
Note: Como las velocidades de tracción y del cabezal de perforaciones se incrementan y reducen con la velocidad del motor, no afecta al espaciado de las perforaciones.
Si al ralentizar la velocidad del motor no mejora la calidad de las perforaciones con taladros macizos más largos o de tipo aguja, ajuste el amortiguador Roto-Link.
Note: En mayoría de condiciones, suelen funcionar mejor los ajustes de fábrica.
Si la parte delantera de las perforaciones se alarga o tiene aspecto de cresta, un ajuste de Roto-Link más rígido ayuda a resistir el empuje y mejora la calidad de las perforaciones.
Si la parte trasera de las perforaciones se alarga o tiene aspecto de cresta, un ajuste de Roto-Link más blando ayuda a mejorar la calidad de las perforaciones.
Note: Debe invertir la posición del amortiguador Roto-Link si cambia a un cilindro de estilo de perforación o a cualquiera de los taladros mini.
Aparque la máquina en una superficie nivelada, eleve totalmente y enganche el manillar para accionar el freno de estacionamiento, pare el motor, retire la llave y espere a que se detengan todas las piezas en movimiento.
Retire la cubierta del cabezal de perforación; consulte Retirada de la cubierta del cabezal de perforación.
Fije el cabezal de perforación con el cerrojo de mantenimiento; consulte Soporte del cabezal de perforación con el cierre de mantenimiento.
Note: De fábrica, se coloca 1 espaciador Roto-Link en el eje del amortiguador Roto-Link y 1 espaciador se encuentra en la posición de guardado para cada brazo de taladros.
Note: Al ajustar los amortiguadores Roto-Link puede utilizar la máquina a la máxima velocidad del motor (3400 rpm), pero puede que necesite airear a velocidades inferiores para mejorar la calidad de las perforaciones.
Retire las 2 contratuercas con arandela prensada que fijan el eje del amortiguador Roto-Link al bastidor trasero de la máquina (Figura 121)

Retire el espaciador (si está guardado) y las arandelas ovaladas endurecidas.
Gire el acoplamiento del amortiguador y el eje del amortiguador hacia abajo (Figura 122).

Coloque el espaciador del Roto-Link para corregir las siguientes condiciones de apilamiento de las perforaciones:
Note: Cada espaciador equivale a 12,7 mm. El espaciador de tope inferior debe mantenerse montado en el eje del amortiguador.
Si la parte delantera de las perforaciones se alarga o tiene aspecto de cresta – coloque los espaciadores por encima del bastidor trasero en la posición de guardado.
Si la parte trasera de las perforaciones se alarga o tiene aspecto de cresta – coloque ambos espaciadores por encima del bastidor trasero, a cada lado del eje del amortiguador Roto-Link.
Gire el acoplamiento del amortiguador y el eje del amortiguador hacia arriba e inserte los espárragos a través de los taladros en el bastidor trasero de la máquina.
Fije el eje del amortiguador y los espaciadores en el bastidor trasero con las arandelas ovaladas endurecidas y las contratuercas (Figura 123).

Apriete las contratuercas con arandela prensada a entre 47 y 61 N∙m.
Repita los pasos 1 a 7 en los 2 brazos de taladros siguientes.
Guarde el cierre de mantenimiento; consulte Guardado del cierre de mantenimiento.
Instale la cubierta del cabezal de perforación; consulte Instalación de la cubierta del cabezal de perforación.
Realice el procedimiento de calibración de la altura de los taladros con respecto al suelo; consulte Calibración de la altura de los taladros con respecto al suelo.
Lleve la máquina a una zona de prueba y airee el césped para comparar la calidad de la perforación.
Si es necesario mejorar la calidad de las perforaciones, repita los pasos en Preparación de la máquina, Ajuste de los amortiguadores Roto-Link y Instalación de la cubierta del cabezal de perforación para ajustar el amortiguador Roto-Link en los otros 3 brazos de taladros.
Aparque la máquina en una superficie nivelada, eleve totalmente y enganche el manillar para accionar el freno de estacionamiento, pare el motor, retire la llave y espere a que se detengan todas las piezas en movimiento.
Baje el cabezal de perforación o fíjelo con el cierre de mantenimiento cuando no esté utilizando la máquina.
Mantenga todas las piezas de la máquina en buenas condiciones de funcionamiento y todas las fijaciones bien apretadas.
Substituya todas las pegatinas desgastadas, deterioradas o que falten.
| Intervalo de mantenimiento y servicio | Procedimiento de mantenimiento |
|---|---|
| Cada vez que se utilice o diariamente |
|
Important: No utilice agua reciclada o salada para limpiar la máquina.
Important: No lave la máquina a presión.
Aparque la máquina en una superficie nivelada, eleve totalmente y enganche el manillar para accionar el freno de estacionamiento, pare el motor, retire la llave y espere a que se detengan todas las piezas en movimiento.
Limpie la máquina a fondo.
Utilice una manguera de jardín sin boquilla para evitar que se introduzca el agua y contamine la grasa de los cojinetes.
Utilice un cepillo para eliminar el material adherido.
Utilice un detergente suave para limpiar las cubiertas.
Tras la limpieza, aplique una capa de cera periódicamente para mantener el acabado brillante de la cubierta.
Inspeccione la máquina en busca de daños, fugas de aceite y desgaste de taladros y otros componentes.
Retire, limpie y engrase los taladros. Pulverice una nube ligera de aceite sobre los cojinetes del cabezal de perforación (acoplamientos de cigüeñal y amortiguación).
Important: Fije el cabezal de perforación con el cerrojo de mantenimiento si va a guardar la máquina durante más de un par de días.
Existen puntos de amarre en las partes delantera y trasera de la máquina (Figura 124, Figura 125 y Figura 126).
Note: Utilice correas con homologación DOT para amarrar la máquina; consulte Especificaciones para conocer el peso de la máquina.



Conducir la máquina en una calle o carretera sin señales de giro, luces, marcas reflectantes o un indicador de vehículo lento es peligroso y puede ser causa de accidentes que pueden provocar lesiones personales.
No conduzca la máquina en una calle o carretera pública.
Important: Utilice rampas de ancho completo para cargar la máquina en un remolque o un camión.
Cargue la máquina en el remolque o el camión (preferentemente, con el cabezal de perforación hacia adelante).
Eleve totalmente y enganche el manillar para accionar el freno de estacionamiento, pare el motor, retire la llave y espere a que se detengan todas las piezas en movimiento.
Fije el cabezal de perforación con el cerrojo de mantenimiento; consulte Soporte del cabezal de perforación con el cierre de mantenimiento.
Cierre la válvula de cierre del combustible; consulte Válvula de cierre de combustible.
En los puntos de amarre, amarre la máquina al remolque o al camión con cables, cadenas o correas; consulte Puntos de amarre.
| Peso | 745 kg o 829 kg con 2 contrapesos opcionales |
| Anchura | Mínima, 130 cm |
| Longitud | Mínima, 267 cm |
| Ángulo de la rampa | 3,5/12 de inclinación (16°) como máximo |
| Orientación de la carga | Cabezal de perforación hacia adelante (de preferencia) |
| Capacidad de remolque del vehículo | Mayor que el peso bruto del remolque (GTW) |
Note: Para descargar una copia gratuita del esquema eléctrico o hidráulico, visite www.toro.com y busque su máquina en el enlace Manuales de la página de inicio.
Note: Consulte los procedimientos adicionales de mantenimiento del manual del propietario del motor.
Note: Los lados derecho e izquierdo de la máquina se determinan desde la posición normal del operador.
Aparque la máquina en una superficie nivelada, eleve totalmente y enganche el manillar para accionar el freno de estacionamiento, pare el motor, retire la llave y espere a que se detengan todas las piezas en movimiento. Deje que se enfríe la máquina antes de hacer trabajos de ajuste, mantenimiento, limpieza o almacenamiento.
Realice solamente las operaciones de mantenimiento descritas en este manual. Si se requieren reparaciones importantes o si necesita ayuda, póngase en contacto con un distribuidor autorizado Toro.
Asegúrese de que la máquina está en condiciones seguras de funcionamiento manteniendo apretados todos los pernos, tuercas, y tornillos.
Si es posible, no realice tareas de mantenimiento con el motor en marcha. Manténgase alejado de las piezas en movimiento.
Alivie con cuidado la tensión de aquellos componentes que tengan energía almacenada.
Compruebe los tornillos de montaje del taladro a diario para asegurarse de que están apretados según las especificaciones.
Asegúrese de que todos los protectores se han instalado y de que el capó está cerrado después de realizar tareas de mantenimiento o ajustes en la máquina.
| Intervalo de mantenimiento y servicio | Procedimiento de mantenimiento |
|---|---|
| Después de las primeras 8 horas |
|
| Después de las primeras 50 horas |
|
| Cada vez que se utilice o diariamente |
|
| Cada 25 horas |
|
| Cada 50 horas |
|
| Cada 100 horas |
|
| Cada 200 horas |
|
| Cada 250 horas |
|
| Cada 400 horas |
|
| Cada 500 horas |
|
| Antes del almacenamiento |
|
| Cada año |
|
Important: Consulte los procedimientos adicionales de mantenimiento del manual del propietario del motor.
Duplique esta página para su uso rutinario.
| Elemento a comprobar | Para la semana de: | ||||||
|---|---|---|---|---|---|---|---|
| Lun. | Mar. | Miér. | Jue. | Vie. | Sáb. | Dom. | |
| Compruebe el funcionamiento de los interruptores de seguridad. | |||||||
| Compruebe el funcionamiento del freno de estacionamiento. | |||||||
| Comprobación del nivel de aceite del motor. | |||||||
| Compruebe el nivel de combustible. | |||||||
| Compruebe el limpiador de aire. | |||||||
| Compruebe que el motor está libre de residuos. | |||||||
| Compruebe que no hay ruidos extraños en el motor. | |||||||
| Compruebe que no hay ruidos extraños durante el uso. | |||||||
| Comprobación del nivel de fluido hidráulico. | |||||||
| Compruebe que las mangueras hidráulicas no están dañadas. | |||||||
| Compruebe que no hay fugas de fluidos. | |||||||
| Compruebe el funcionamiento de los instrumentos. | |||||||
| Compruebe la condición de los taladros. | |||||||
| Retoque la pintura dañada. | |||||||
Important: Consulte los procedimientos adicionales de mantenimiento del manual del propietario del motor.
| Inspección realizada por: | ||
| Elemento | Fecha | Información |
| 1 | ||
| 2 | ||
| 3 | ||
| 4 | ||
| 5 | ||
| 6 | ||
| 7 | ||
| 8 | ||
Si deja la llave en el interruptor de encendido, alguien podría arrancar el motor accidentalmente y causar lesiones graves a usted o a otras personas.
Aparque la máquina en una superficie nivelada, eleve totalmente y enganche el manillar para accionar el freno de estacionamiento, pare el motor, retire la llave y espere a que se detengan todas las piezas en movimiento.
Important: Las fijaciones de las cubiertas de esta máquina están diseñadas para que queden sujetas a la cubierta después de retirarse ésta. Afloje todas las fijaciones de cada cubierta unas cuantas vueltas hasta que la cubierta esté suelta pero aún sujeta y luego vuelva a aflojarlas hasta que la cubierta quede libre. Esto evita la posibilidad de retirar accidentalmente los pernos de los retenedores.
Aparque la máquina en una superficie nivelada.
Eleve totalmente y enganche el manillar para accionar el freno de estacionamiento; consulte Accionamiento del freno de estacionamiento.
Apague el motor, retire la llave y espere a que se detengan todas las piezas en movimiento antes de dejar la máquina; consulte Apagado del motor.
Deje que la máquina se enfríe.
Si la máquina no se apoya correctamente en bloques o caballetes, puede moverse o caerse, lo cual podría causar lesiones personales.
Al cambiar accesorios, neumáticos o realizar otras tareas de mantenimiento, utilice soportes, polipastos y gatos apropiados.
Asegúrese de que la máquina está aparcada sobre una superficie sólida y nivelada, por ejemplo un suelo de hormigón.
Antes de elevar la máquina, retire cualquier accesorio que pueda interferir con la elevación segura y adecuada de la misma.
Siempre calce o bloquee las ruedas. Coloque caballetes o bloques de madera maciza debajo de la máquina como soporte.
Prepare la máquina para el mantenimiento; consulte Preparación de la máquina para el mantenimiento.
Calce las ruedas traseras para evitar que la máquina se mueva.
Important: Para evitar dañar el motor de la rueda, no utilice el motor de la rueda delantera como punto de apoyo.
Coloque el gato firmemente debajo del brazo de soporte de la rueda delantera (Figura 127).

Eleve del suelo la parte delantera de la máquina.
Coloque los caballetes o los bloques de madera dura debajo de la parte delantera del bastidor para soportar el peso de la máquina.
Prepare la máquina para el mantenimiento; consulte Preparación de la máquina para el mantenimiento.
Calce la rueda delantera para evitar que la máquina se mueva.
Important: Para evitar dañar el motor de la rueda, no utilice el motor de la rueda trasera como punto de apoyo.
Coloque el gato firmemente debajo de la placa del bastidor, justo por dentro de la rueda trasera (Figura 128).

Note: Si se encuentra disponible, utilice un polipasto para elevar parte trasera de la máquina. Utilice los ojales en las carcasas del cojinete del cabezal de perforación como puntos de acoplamiento del polipasto (Figura 129).

Eleve (o levante) del suelo la parte trasera de la máquina.
Coloque los caballetes o los bloques de madera dura debajo del bastidor para soportar el peso de la máquina.
Alinee el soporte de montaje de la cubierta de la correa con el soporte de sujeción de la cubierta del bastidor de la máquina (Figura 133).

Baje la cubierta de la correa (Figura 134).

Baje totalmente la manivela del cierre para fijar la cubierta (Figura 135).

Si la máquina tiene la trabilla del cierre de la cubierta de la correa CE, enrosque el perno de la trabilla en el taladro del cierre de la cubierta y apriete el perno (Figura 136).


Si la máquina tiene seguros de cierre CE, afloje el perno de la placa del seguro hasta que la placa salga de la ranura en el lateral de la cubierta del cabezal de perforación (Figura 138).

Gire la placa del seguro para abrir el cierre (Figura 138).
Repita los pasos 1 y 2 en el otro lado de la cubierta.
Desenganche la cubierta del cabezal de perforación en la ubicación del cierre 4 (Figura 137 y Figura 139).

Levante la cubierta del cabezal de perforación de la máquina (Figura 140).

Alinee la cubierta del cabezal de perforación con la máquina, tal y como se muestra en la Figura 141.

Enganche la cubierta del cabezal de perforación en la ubicación del cierre 4 (Figura 142).
Si la máquina tiene seguros de cierre CE, gire la placa del seguro hasta que se alinee con la ranura en el lateral de la cubierta del cabezal de perforación (Figura 143).



Apriete el perno de la placa del seguro (Figura 143).
Repita los pasos 3 y 4 en el otro lado de la cubierta.
| Intervalo de mantenimiento y servicio | Procedimiento de mantenimiento |
|---|---|
| Cada 500 horas |
|
| Cada año |
|
La máquina no tiene puntos de engrase que deban lubricarse.
Important: Los cojinetes no suelen fallar debido a defectos de materiales o mano de obra. La razón más común de los fallos es el paso de humedad y contaminación a través de las juntas protectoras y retenes. Los cojinetes engrasables necesitan un mantenimiento regular para purgar residuos dañinos de la zona de los cojinetes. Los cojinetes sellados dependen de un relleno inicial de grasa especial y una junta integrada robusta para alejar contaminantes y humedad de los elementos rodantes.
Los cojinetes sellados no requieren lubricación ni mantenimiento a corto plazo. De esta manera se minimiza el mantenimiento rutinario necesario, y se reduce la posibilidad de daños al césped debidos a contaminación con grasa. Estos paquetes de cojinetes sellados proporcionan buenas prestaciones y larga vida en condiciones de uso normales, pero deben realizarse inspecciones periódicas del estado de los cojinetes y la integridad de las juntas para evitar averías. Compruebe los cojinetes cada estación y cámbielos si están dañados o desgastados. Los cojinetes deben funcionar perfectamente sin características negativas tales como exceso de calor, ruido, holgura o señales de corrosión.
Debido a las condiciones de uso a las que están sometidos estos paquetes de cojinete/junta (por ejemplo, arena, productos químicos usados en el tratamiento del césped, agua, impactos, etc.) se consideran como componentes sujetos a desgaste normal. Los cojinetes que sufren averías no atribuibles a defectos de materiales o de mano de obra no están cubiertos normalmente por la garantía.
Note: Si se realizan procedimientos de lavado inadecuados, puede afectar a los cojinetes. No lave la máquina mientras está aún caliente y evite dirigir chorros de agua a alta presión o en grandes volúmenes a los cojinetes.
No es raro que un cojinete nuevo expulse un poco de grasa alrededor de las juntas en una máquina nueva. Esta grasa expulsada se vuelve negra debido a la acumulación de suciedad, no a un calor excesivo. Conviene limpiar esta grasa sobrante de las juntas después de las primeras 8 horas. Es posible que la zona alrededor del borde de la junta siempre parezca húmeda. Esto no afecta a la vida útil del cojinete, sino que mantiene lubricado el borde de la junta.
Apague el motor antes de comprobar el aceite o añadir aceite al cárter.
No cambie la velocidad del regulador ni haga funcionar el motor a una velocidad excesiva.
| Intervalo de mantenimiento y servicio | Procedimiento de mantenimiento |
|---|---|
| Cada 25 horas |
|
| Cada 100 horas |
|
Prepare la máquina para el mantenimiento; consulte Preparación de la máquina para el mantenimiento.
Limpie alrededor del limpiador de aire de forma que la suciedad no penetre en el motor y cause daños.
Desenrosque el pomo y retire la tapa del limpiador de aire (Figura 144).

Deslice cuidadosamente el prefiltro de gomaespuma para separarlo del elemento de papel (Figura 144).
Desenrosque la tuerca de la tapa y retire la tapa, el espaciador y el filtro de papel (Figura 144).
Important: Sustituya el elemento de gomaespuma si está roto o desgastado.
Lave el prefiltro de gomaespuma con jabón líquido y agua templada. Cuando esté limpio, enjuáguelo bien.
Seque el prefiltro apretándolo con un paño limpio (sin retorcer).
Ponga de 3 a 6 cl de aceite en el prefiltro (Figura 145).

Apriete el prefiltro para distribuir el aceite.
Inspeccione el elemento de papel por si estuviera roto, tuviera una película aceitosa o la junta de goma estuviera dañada (Figura 146).

Important: No limpie nunca el elemento de papel. Cambie el elemento de papel si está sucio o dañado.
Important: Para evitar dañar el motor, no haga funcionar nunca el motor sin que esté instalado el conjunto completo del limpiador de aire, con elementos de gomaespuma y papel.
Deslice cuidadosamente el prefiltro de gomaespuma sobre el elemento de papel (Figura 147).

Coloque el conjunto de limpiador de aire sobre la base del limpiador de aire.
Monte la cubierta, el espaciador y la tuerca de la cubierta.
Apriete la tuerca a 11 N·m (95 pulgadas-libra).
Instale la cubierta del limpiador de aire y fíjela con el pomo.
Tipo de aceite: aceite de motor detergente de alta calidad (servicio API SJ o superior)
Viscosidad del aceite: consulte la tabla siguiente:

| Intervalo de mantenimiento y servicio | Procedimiento de mantenimiento |
|---|---|
| Cada vez que se utilice o diariamente |
|
El motor se suministra con aceite en el cárter; no obstante, verifique el nivel de aceite antes y después de arrancar el motor por primera vez.
Utilice aceite de motor de alta calidad según se describe en Especificación del aceite del motor.
Important: No llene el cárter con demasiado aceite.No ponga en marcha el motor si el nivel del aceite del motor está por debajo de la marca baja.
Note: El mejor momento para comprobar el aceite del motor es cuando el motor está frío, antes de arrancarlo al principio de la jornada. Si ya se ha arrancado, deje que el aceite se drene al cárter durante al menos 10 minutos antes de comprobar el nivel.
Prepare la máquina para el mantenimiento; consulte Preparación de la máquina para el mantenimiento.
Deje que el motor se enfríe.
Limpie alrededor del tapón de llenado y la varilla (Figura 149).

Retire la varilla, límpiela y vuelva a colocarla hasta que quede bien asentada.
Retire la varilla y compruebe el nivel de aceite.
El nivel del aceite del motor debe encontrarse entre las marcas ‘‘F’’ (lleno) y ‘‘L’’ (bajo) en la varilla.
Si el nivel de aceite está por debajo de la marca ‘‘L’’ (bajo), retire el tapón de llenado y añada el aceite especificado hasta que el nivel llegue a la marca ‘‘F’’ (lleno) de la varilla.
Vuelva a colocar el tapón de llenado de aceite y la varilla.
| Intervalo de mantenimiento y servicio | Procedimiento de mantenimiento |
|---|---|
| Después de las primeras 50 horas |
|
| Cada 100 horas |
|
Capacidad del cárter: 1,9 litros aproximadamente con el filtro.
Arranque el motor y déjelo funcionar durante 5 minutos. De esta forma, el aceite se calentará y será más fácil drenarlo.
Aparque la máquina de manera que el lado de drenaje esté ligeramente más bajo que el lado opuesto para asegurarse de que el aceite se drene completamente, apague el motor, eleve totalmente y enganche el manillar para accionar el freno de estacionamiento y retire la llave.
Coloque un recipiente debajo del tapón de vaciado del aceite y retire el tapón (Figura 150).
Note: Deje que el aceite se vacíe por completo.

Enrosque el tapón de vaciado del aceite y apriete el tapón.
Note: Elimine el aceite usado en un centro de reciclaje homologado.
Coloque un recipiente poco profundo debajo del filtro y retire el filtro (Figura 150).
Note: Elimine el filtro de aceite usado en un centro de reciclaje homologado.
Limpie la superficie del adaptador del filtro.
Llene el nuevo filtro de aceite hasta la parte inferior de las roscas con el aceite especificado.
Deje que el filtro absorba el aceite durante 2 minutos y, a continuación, retire el exceso de aceite.
Aplique una capa fina de aceite nuevo a la junta del filtro.
Enrosque el filtro de aceite en el adaptador del filtro hasta que la junta entre en contacto con el adaptador (Figura 150) y, a continuación, apriete el filtro media vuelta más.

Limpie el área alrededor del tapón de llenado y la varilla (Figura 152).

Retire el tapón de llenado de aceite y vierta lentamente aproximadamente el 80 % de la cantidad especificada de aceite a través de la tapa de la válvula.
Añada lentamente más aceite hasta que el nivel llegue a la marca F (lleno) de la varilla; consulte Especificación del aceite del motor y Comprobación del nivel de aceite del motor.
Important: No llene el cárter con demasiado aceite.
Vuelva a colocar el tapón de llenado de aceite y la varilla.
| Intervalo de mantenimiento y servicio | Procedimiento de mantenimiento |
|---|---|
| Cada 200 horas |
|
Prepare la máquina para el mantenimiento; consulte Preparación de la máquina para el mantenimiento.
Desconecte los cables de las bujías (Figura 153).

Limpie alrededor de las bujías.
Utilice una llave de vaso para bujías para retirar tanto las bujías como las juntas de metal.
Tipo de bujía : Champion RC12YC o equivalente
Hueco entre electrodos: 0,75 mm
Mire la parte central de ambas bujías (Figura 154). Si se observa un color gris o marrón claro en el aislante, el motor está funcionando correctamente. Si el aislante es de color negro, significa que el limpiador de aire está sucio.
Important: No limpie nunca las bujías. Cambie las bujías si tienen un revestimiento negro, electrodos desgastados, una película aceitosa o grietas.

Compruebe la distancia entre los electrodos central y lateral.
Si la distancia no es correcta, doble el electrodo lateral.
Asegúrese de que la distancia entre los electrodos central y lateral es correcta antes de instalar cada bujía. Utilice una llave para bujías para desmontar e instalar las bujías, y una galga de espesores/herramienta de separación de electrodos para comprobar y ajustar la distancia entre los mismos. Instale bujías nuevas si es necesario.
Enrosque las bujías en los orificios de bujías del motor.
Utilice una llave de vaso para bujías y una llave dinamométrica para apretar las bujías a 27 N∙m.
Conecte los cables de bujía en las bujías (Figura 155).

| Intervalo de mantenimiento y servicio | Procedimiento de mantenimiento |
|---|---|
| Cada vez que se utilice o diariamente |
|
Antes de cada uso, compruebe y limpie la rejilla del motor. Retire cualquier acumulación de hierba, suciedad y otros residuos de la rejilla de la entrada de aire del motor.
En ciertas condiciones, el combustible y los vapores del combustible son extremadamente inflamables y explosivos. Un incendio o explosión de combustible puede quemarle a usted y a otras personas y causar daños materiales.
Llene el depósito de combustible en el exterior, en una zona abierta y con el motor apagado y frío. Limpie cualquier combustible derramado.
No llene completamente el depósito de combustible. Añada combustible al depósito de combustible hasta que el nivel esté a 25 mm por debajo del borde superior del depósito, no del cuello de llenado. Este espacio vacío en el depósito permite la dilatación del combustible.
No fume nunca mientras maneja el combustible y aléjese de llamas desnudas o lugares donde los vapores del combustible puedan incendiarse con chispas.
Almacene el combustible en un recipiente limpio homologado y mantenga el tapón colocado.
| Intervalo de mantenimiento y servicio | Procedimiento de mantenimiento |
|---|---|
| Cada 100 horas |
|
Important: No instale nunca un filtro sucio que haya sido desmontado del tubo de combustible.
Prepare la máquina para el mantenimiento; consulte Preparación de la máquina para el mantenimiento.
Cierre la válvula de cierre del combustible (Figura 156).


Apriete los extremos de las abrazaderas y deslícelas alejándolas del filtro.
Desmonte el filtro de los tubos de combustible.
Alinee el filtro de combustible con la flecha apuntando hacia el motor y monte el tubo de combustible sobre los acoplamientos del filtro.
Coloque las abrazaderas cerca del filtro de combustible y apriete las abrazaderas.
Limpie cualquier combustible derramado.
Abra la válvula de cierre del combustible.
En ciertas condiciones, el combustible es extremadamente inflamable y altamente explosivo. Un incendio o una explosión provocados por el combustible puede causarle quemaduras a usted y a otras personas así como daños materiales.
Drene el combustible del depósito cuando el motor esté frío. Realice esta operación en un área abierta. Limpie cualquier combustible derramado.
No fume nunca mientras drena el combustible y manténgase alejado de llamas desnudas o de lugares donde una chispa pudiera inflamar los vapores de combustible.
Prepare la máquina para el mantenimiento; consulte Preparación de la máquina para el mantenimiento.
Cierre la válvula de cierre del combustible (Figura 157).


Afloje la abrazadera en el filtro de combustible y deslícela por el tubo, alejándola del filtro de combustible.
Retire el tubo de combustible del filtro.
Abra la válvula de cierre del combustible y deje fluir el combustible a una lata u otro recipiente.
Note: Éste es el momento más adecuado para instalar un nuevo filtro de combustible, porque el depósito de combustible está vacío.
Monte el tubo de combustible sobre el acoplamiento del filtro.
Coloque la abrazadera cerca del filtro de combustible y apriete la abrazadera.
Desconecte la batería antes de realizar reparaciones en la máquina. Desconecte primero el terminal negativo y luego el positivo. Conecte primero el terminal positivo y luego el negativo.
Cargue la batería en una zona abierta y bien ventilada, lejos de chispas y llamas. Desenchufe el cargador antes de conectar o desconectar la batería.
Lleve ropa protectora y utilice herramientas aisladas.
| Intervalo de mantenimiento y servicio | Procedimiento de mantenimiento |
|---|---|
| Cada año |
|
Mantenga limpia la parte superior de la batería.
Desenganche y abra la puerta del compartimiento de la batería (Figura 158).

Limpie la parte superior de la batería usando una brocha mojada en una solución de amoniaco o bicarbonato sódico.
Important: No retire los tapones de llenado durante la limpieza.
Enjuague a fondo la superficie de la batería y el compartimiento de la batería con agua limpia.
Cierre y enganche la puerta del compartimiento de la batería.
| Intervalo de mantenimiento y servicio | Procedimiento de mantenimiento |
|---|---|
| Cada año |
|
Los terminales de la batería o las herramientas metálicas podrían hacer cortocircuito si entran en contacto con los componentes metálicos del tractor, causando chispas. Las chispas podrían hacer explotar los gases de la batería, causando lesiones personales.
Al retirar o colocar la batería, no deje que los bornes toquen ninguna parte metálica de la máquina.
No deje que las herramientas metálicas hagan cortocircuito entre los bornes de la batería y las partes metálicas de la máquina.
Un enrutado incorrecto de los cables de la batería podría dañar la máquina y los cables, causando chispas. Las chispas podrían hacer explotar los gases de la batería, causando lesiones personales.
Desconecte siempre el cable negativo (negro) de la batería antes de desconectar el cable positivo (rojo).
Conecte siempre el cable positivo (rojo) de la batería antes de conectar el cable negativo (negro).
Desenganche y abra la puerta del compartimiento de la batería (Figura 159).

Compruebe que las abrazaderas de los cables de la batería están fijas.
Apriete los herrajes de las abrazaderas de los cables de la batería que estén sueltos.
Compruebe si presentan signos de corrosión las abrazaderas de los cables y los terminales de la batería.
Si hay corrosión en los terminales, retire el cable negativo de la batería.
Retire el cable positivo de la batería.
Limpie las abrazaderas de los cables y los terminales de la batería.
Conecte el cable positivo de la batería.
Conecte el cable negativo de la batería.
Aplique una capa de grasa Grafo 112X (N.º de Pieza Toro 505-47) a los terminales de los cables y a los bornes de la batería.
Cierre y enganche la puerta del compartimiento de la batería.
El sistema eléctrico está protegido con fusibles. Si un fusible se funde, compruebe el componente y el cableado por si existe un cortocircuito a tierra.
Desenganche y abra la puerta del compartimiento de la batería (Figura 160).

Retire la cubierta del bloque de fusibles (Figura 161).
Note: El fusible del ventilador está situado en línea, detrás de la batería (Figura 162).


Retire el fusible fundido.
Instale un nuevo fusible del amperaje nominal indicado en la pegatina del bloque de fusibles.
Coloque la cubierta en el bloque de fusibles (o en el fusible del ventilador en línea).
Cierre y enganche la puerta del compartimiento de la batería.
| Intervalo de mantenimiento y servicio | Procedimiento de mantenimiento |
|---|---|
| Cada 50 horas |
|
Prepare la máquina para el mantenimiento; consulte Preparación de la máquina para el mantenimiento.
Compruebe que la presión de los neumáticos es de 83 kPa. Las lecturas de presión son más exactas cuando los neumáticos están fríos.
Important: Una presión desigual en los neumáticos puede hacer que la profundidad de perforación sea desigual.

El contrapeso de la rueda, de 33 kg, es muy pesado.
Tenga cuidado al retirarlo del conjunto del neumático.
| Intervalo de mantenimiento y servicio | Procedimiento de mantenimiento |
|---|---|
| Cada año |
|
Las correas de transmisión de la máquina son duraderas. Sin embargo, la exposición normal a la radiación UV, el ozono, o la exposición incidental a sustancias químicas pueden deteriorar el caucho con el tiempo y causar desgaste prematuro o pérdida de material (es decir, la lona de la correa se separa o se pierde).
Retire la cubierta de las correas; consulte Retirada de la cubierta de la correa.
Inspeccione la bomba hidráulica, el eje secundario y las correas del cigüeñal (Figura 164) en busca de daños, desgaste, grietas excesivas en la amortiguación o grandes cantidades de residuos impregnados.
Note: Sustituya las correas cuando sea necesario.

Instale la cubierta de las correas; consulte Instalación de la cubierta de la correa.
| Intervalo de mantenimiento y servicio | Procedimiento de mantenimiento |
|---|---|
| Después de las primeras 8 horas |
|
Prepare la máquina para el mantenimiento; consulte Preparación de la máquina para el mantenimiento.
Retire la cubierta de las correas; consulte Retirada de la cubierta de la correa.
Afloje el tornillo de caperuza con arandela prensada y la contratuerca con arandela prensada que fijan la polea tensora para la correa de la bomba hidráulica, hasta que el perno se introduzca en la ranura del soporte tensor (Figura 165).


Golpee suavemente la parte superior de la polea tensora y deje que el muelle tensor ajuste la tensión de la correa.
Important: No aplique más tensión a la correa de la que aplica el muelle tensor; de lo contrario, pueden producirse daños en el los componentes.
Apriete el tornillo de caperuza con arandela prensada y la contratuerca con arandela prensada a entre 37y 45 N·m.
Instale la cubierta de las correas; consulte Instalación de la cubierta de la correa.
Busque atención médica inmediatamente si el fluido penetra en la piel. Un médico deberá eliminar quirúrgicamente el fluido inyectado en pocas horas.
Asegúrese de que todas las mangueras y líneas de fluido hidráulico están en buenas condiciones de uso, y que todos los acoplamientos y conexiones hidráulicos están apretados, antes de aplicar presión al sistema hidráulico.
Mantenga el cuerpo y las manos alejados de fugas pequeñas o de boquillas que liberan fluido hidráulico a alta presión.
Utilice un cartón o un papel para buscar fugas hidráulicas.
Alivie de manera segura toda la presión del sistema hidráulico antes de realizar trabajo alguno en el sistema hidráulico.
Soporte el cabezal de perforación con el cierre de mantenimiento; consulte Soporte del cabezal de perforación con el cierre de mantenimiento.
Apague el motor.
Gire el interruptor de encendido a la posición de MARCHA.
En el InfoCenter, desplácese hasta el MENú PRINCIPAL.
Pulse el botón abajo hasta que se seleccione la opción SERVICE (Mantenimiento) y pulse el botón de selección (Figura 166).

Note: El cabezal de perforación se baja hasta que está totalmente soportado por el cierre de mantenimiento.
Pulse el botón abajo hasta que se seleccione la opción SERVICE LOWER (Bajada de mantenimiento) y, a continuación, pulse el botón de selección (Figura 167).

Mueva la llave a la posición de PARADA.
Note: Arranque el motor y déjelo en funcionamiento para elevar el cabezal de perforación hidráulicamente para que pueda guardar el cierre de servicio; consulte Guardado del cierre de mantenimiento.
| Intervalo de mantenimiento y servicio | Procedimiento de mantenimiento |
|---|---|
| Cada vez que se utilice o diariamente |
|
Antes de cada uso, compruebe que los tubos y las mangueras hidráulicos no tienen fugas, que no están torcidos, que los soportes no están sueltos y que no haya desgaste, elementos sueltos o deterioro causado por agentes químicos. Sustituya los tubos hidráulicos dañados o desgastados antes de usar la máquina.
Note: Mantenga las zonas alrededor del sistema hidráulico limpias de acumulaciones de residuos.
El depósito se llena en la fábrica con fluido hidráulico de alta calidad. Compruebe el nivel del fluido hidráulico antes de arrancar el motor por primera vez y luego a diario; consulte Comprobación del nivel de aceite del motor.
Fluido hidráulico recomendado: fluido hidráulico Toro PX Extended Life, disponible en recipientes de 19 litros o en bidones de 208 litros.
Note: Una máquina que utilice el fluido de recambio recomendado necesita menos cambios de filtro y de fluido.
Fluidos hidráulicos alternativos: si no se encuentra disponible el fluido hidráulico Toro PX Extended Life, puede utilizar otro fluido hidráulico convencional basado en petróleo cuyas especificaciones referentes a todas las propiedades materiales estén dentro de los intervalos relacionados a continuación y que cumpla las normas industriales. No utilice fluido sintético. Consulte a su distribuidor de lubricantes para identificar un producto satisfactorio.
Note: Toro no asume responsabilidad alguna por daños causados por sustituciones no adecuadas, por lo que debe utilizar solamente productos de fabricantes reputados que respalden sus recomendaciones.
| Propiedades de materiales: | ||
| Viscosidad, ASTM D445 | cSt a 40 °C 44 a 48 | |
| Índice de viscosidad ASTMD2270 | 140 o más | |
| Punto de descongelación, ASTMD97 | -37 °C a -45 °C | |
| Especificaciones industriales: | Eaton Vickers 694 (I-286-S, M-2950-S/35VQ25 o M-2952-S) | |
Note: Muchos fluidos hidráulicos son casi incoloros, por lo que es difícil detectar fugas. Está disponible un aditivo de tinte rojo para el fluido hidráulico, en botellas de 20 ml. Una botella es suficiente para 15-22 litros de fluido hidráulico. Solicite la Pieza 44-2500 a su Distribuidor Autorizado Toro.
Important: El fluido hidráulico biodegradable Toro Premium Synthetic es el único fluido sintético biodegradable homologado por Toro. Este fluido es compatible con los elastómeros usados en los sistemas hidráulicos Toro, y es apropiado para un amplio intervalo de temperaturas. Este fluido es compatible con aceites minerales convencionales, pero para obtener la máxima biodegradabilidad y rendimiento es necesario purgar el sistema hidráulico completamente de fluido convencional. Su distribuidor autorizado Toro dispone de este aceite en recipientes de 19 litros o en bidones de 208 litros.
| Intervalo de mantenimiento y servicio | Procedimiento de mantenimiento |
|---|---|
| Cada vez que se utilice o diariamente |
|
Important: Con el cabezal de perforación en la posición elevada, compruebe el nivel del fluido hidráulico antes de arrancar el motor por primera vez y luego a diario.
El depósito hidráulico se llena en la fábrica con fluido hidráulico de alta calidad.
Prepare la máquina para el mantenimiento; consulte Preparación de la máquina para el mantenimiento.
Retire la cubierta de las correas; consulte Retirada de la cubierta de la correa.
Limpie la zona alrededor del cuello de llenado y el tapón del depósito hidráulico (Figura 168). Retire el tapón del cuello de llenado.

Retire la varilla del cuello de llenado y límpiela con un paño limpio. Inserte la varilla en el cuello de llenado; luego retírela y compruebe el nivel del fluido. El nivel de fluido debe llegar a la marca de la varilla (Figura 169).

Si el nivel es bajo, añada fluido hidráulico del tipo especificado hasta que llegue a la marca de lleno.
Coloque la varilla y el tapón en el cuello de llenado.
Instale la cubierta de las correas; consulte Instalación de la cubierta de la correa.
| Intervalo de mantenimiento y servicio | Procedimiento de mantenimiento |
|---|---|
| Cada 200 horas |
|
| Cada 400 horas |
|
Capacidad del depósito hidráulico: aproximadamente 6,6 litros
Important: No utilice filtros de aceite para automóviles, o puede causar graves daños al sistema hidráulico.
Note: Al retirar el filtro de retorno, se vacía totalmente el depósito de fluido.
Prepare la máquina para el mantenimiento; consulte Preparación de la máquina para el mantenimiento.
Coloque un recipiente bajo los filtros, retire los filtros usados y limpie con un paño la superficie de la junta del adaptador del filtro (Figura 170).

Aplique una capa fina del fluido hidráulico limpio a la junta de los nuevos filtros.
Instale los filtros hidráulicos en los adaptadores del filtro. Gire cada filtro en el sentido horario hasta que la junta entre en contacto con el adaptador del filtro y, a continuación, apriete cada filtro 1/2 vuelta más.
Añada el fluido hidráulico especificado hasta que el nivel de fluido se encuentre en la marca de lleno en la varilla, consulte Especificación del fluido hidráulico y Comprobación del nivel de fluido hidráulico.
Arranque el motor y déjelo en marcha durante 2 minutos para purgar el aire del sistema. Apague el motor, retire la llave y compruebe que no haya fugas de fluido hidráulico.
Compruebe el nivel de fluido hidráulico. Si es necesario, añada el fluido hidráulico especificado para elevar el nivel hasta la marca de LLENO en la varilla.
Note: No llene demasiado el depósito hidráulico.
Instale la cubierta de las correas; consulte Instalación de la cubierta de la correa.
| Intervalo de mantenimiento y servicio | Procedimiento de mantenimiento |
|---|---|
| Después de las primeras 8 horas |
|
| Cada 250 horas |
|
Prepare la máquina para el mantenimiento; consulte Preparación de la máquina para el mantenimiento.
Retire la cubierta del cabezal de perforación; consulte Retirada de la cubierta del cabezal de perforación.
Compruebe los herrajes del cabezal de perforación, los herrajes del manillar y las tuercas de las ruedas para asegurarse de que el par de apriete es correcto. Los requisitos de apriete de las fijaciones se indican en la pegatina de apriete de los pernos situada en el canal de soporte del cabezal de perforación (Figura 171).

Instale la cubierta del cabezal de perforación; consulte Instalación de la cubierta del cabezal de perforación.
Prepare la máquina para el mantenimiento; consulte Preparación de la máquina para el mantenimiento.
Afloje los tornillos de caperuza y las contratuerca con arandela prensada que fijan el protector lateral al bastidor del cabezal de perforación (Figura 172).

Ajuste el protector arriba o abajo hasta que mida de 25 a 38 mm entre el protector y el suelo.
Apriete los tornillos de caperuza y las contratuercas con arandela prensada.
Repita los pasos 2 a 4 en el otro lado de la máquina.
Sustituya los protectores de césped si están rotos, desgastados, o tienen un grosor inferior a 6 mm. Los protectores de césped pueden atrapar y desgarrar el césped y causar daños en el césped.

Las marcas de sincronización de los cabezales de perforación se identifican fácilmente por las marcas realizadas en las 3 carcasas de los cojinetes.

Antes de abandonar el puesto del operador, haga lo siguiente:
Aparque la máquina en una superficie nivelada.
Eleve totalmente y enganche el manillar para accionar el freno de estacionamiento.
Apague el motor y retire la llave (si está equipada).
Espere a que se detenga todo movimiento.
Deje que se enfríe la máquina antes de hacer trabajos de ajuste, mantenimiento, limpieza o almacenamiento.
No guarde la máquina o un recipiente de combustible en un lugar donde pudiera haber una llama desnuda, chispas o una llama piloto, por ejemplo en un calentador de agua u otro electrodoméstico.
El proceso de carga de la batería produce gases que pueden explotar.
No fume nunca cerca de la batería, y mantenga alejados de la batería chispas y llamas.
Prepare la máquina para el mantenimiento; consulte Preparación de la máquina para el mantenimiento.
Desconecte el cable de la bujía.
Retire la hierba, la suciedad y la mugre de las piezas externas de toda la máquina, especialmente el motor y el sistema hidráulico. Limpie la suciedad y la broza de la parte exterior de las aletas de la culata del motor y del alojamiento del soplador.
Revise el limpiador de aire; consulte Mantenimiento del limpiador de aire.
Cambie el aceite del motor; consulte Cambio de aceite de motor y del filtro.
Cambie los filtros hidráulicos y el fluido; consulte Cambio del fluido hidráulico y los filtros.
Compruebe la presión de los neumáticos; consulte Comprobación de la presión de los neumáticos.
Compruebe la condición de los taladros.
Si va a almacenar la máquina al final de la temporada, realice todos los pasos en Almacenamiento de la máquina durante menos de 30 días y las siguientes secciones:
Revise y apriete todos los pernos, tuercas y tornillos. Repare o sustituya las piezas defectuosas o dañadas.
Lave y seque la máquina entera. Retire los taladros, límpielos y aplique aceite. Pulverice una nube ligera de aceite sobre los cojinetes del cabezal de perforación (acoplamientos de cigüeñal y amortiguación).
Important: La máquina puede lavarse con un detergente suave y agua. No lave la máquina a presión. Evite el uso excesivo de agua, especialmente cerca del panel de control, el motor, las bombas hidráulicas y los motores eléctricos.
Note: Haga funcionar la máquina con el motor en ralentí alto durante 2 a 5 minutos después del lavado.
Pinte las superficies que estén arañadas o donde esté visible el metal. Puede adquirir pintura en su Distribuidor Autorizado Toro.
Fije el cerrojo de mantenimiento si la máquina se va a almacenar durante más de un par de días.
Guarde la máquina en un garaje o almacén seco y limpio. Retire la llave de contacto y guárdela fuera del alcance de niños u otros usuarios no autorizados.
Cubra la máquina para protegerla y para conservarla limpia.
Agregue un estabilizador/acondicionador a base de petróleo al combustible del depósito. Siga las instrucciones de mezcla del fabricante del estabilizador. No use un estabilizador a base de alcohol (etanol o metanol).
Note: Un estabilizador/acondicionador de combustible es más eficaz cuando se mezcla con combustible fresco y se utiliza en todo momento.
Important: No almacene combustible que contenga estabilizador/acondicionador durante más tiempo del recomendado por el fabricante del estabilizador de combustible.
Haga funcionar el motor para distribuir el combustible con acondicionador por todo el sistema de combustible durante 5 minutos.
Apague el motor, deje que se enfríe, y drene el depósito de combustible; consulte Drenaje del depósito de combustible.
Arranque el motor y hágalo funcionar hasta que se apague.
Arranque el motor y déjelo en marcha hasta que no vuelva a arrancar.
Retire las bujías y compruebe su condición; consulte Mantenimiento de las bujías. Con las bujías retiradas del motor, vierta dos cucharadas soperas de aceite de motor en el orificio de la bujía. Ahora, utilice el motor de arranque para hacer girar el motor y distribuir el aceite dentro de los cilindros. Instale las bujías. No instale los cables en las bujías.
Note: Elimine correctamente el combustible; recíclelo observando la normativa local.
Retire los terminales de los bornes de la batería y retire la batería de la máquina.
Limpie la batería, los terminales y los bornes con un cepillo de alambre y una solución de bicarbonato.
Aplique una capa de grasa Grafo 112X (No. de Pieza Toro 505-47) o de vaselina a los terminales de los cables y a los bornes de la batería para evitar la corrosión.
Recargue la batería lentamente durante 24 horas cada 60 días para evitar el sulfatado de plomo de la batería. Para evitar que la batería se congele, asegúrese de que está totalmente cargada. La gravedad específica de una batería totalmente cargada es de 1,265 a 1,299.
Guarde la batería en una estantería o en la máquina. Deje desconectados los cables si la guarda en la máquina. Guarde la batería en un ambiente fresco para evitar el rápido deterioro de la carga.
| Problem | Possible Cause | Corrective Action |
|---|---|---|
| El motor de arranque no se engrana. |
|
|
| El motor no arranca, arranca con dificultad, o no sigue funcionando. |
|
|
| El motor pierde potencia. |
|
|
| El motor se sobrecalienta. |
|
|
| Hay una vibración anormal. |
|
|
| No es posible conducir la máquina. |
|
|
| El cabezal de perforación no funciona. |
|
|
| El cabezal bota durante la aireación. |
|
|
| Se crea una cresta en el césped/el césped se desgarra al entrar los taladros. |
|
|
| Hay deformación de las perforaciones con taladros de salida lateral. |
|
|
| El césped se levanta o se rompe durante la aireación. |
|
|
| El borde delantero de la perforación está distorsionado. |
|
|