Mantenimiento
Note: Los lados derecho e izquierdo de la máquina se determinan desde la posición normal del operador.
Calendario recomendado de mantenimiento
| Intervalo de mantenimiento y servicio | Procedimiento de mantenimiento |
|---|---|
| Después de las primeras 8 horas |
|
| Después de las primeras 10 horas |
|
| Cada vez que se utilice o diariamente |
|
| Cada 25 horas |
|
| Cada 50 horas |
|
| Cada 100 horas |
|
| Antes del almacenamiento |
|
Advertencia
Si deja la llave en el interruptor de encendido, alguien podría arrancar el motor accidentalmente y causar lesiones graves a usted o a otras personas.
Retire la llave del interruptor de encendido y desconecte el cable de la bujía antes de realizar cualquier operación de mantenimiento. Aparte el cable para evitar su contacto accidental con la bujía.
Advertencia
Los motores pueden calentarse mientras están en marcha. El contacto con superficies calientes puede causar quemaduras.
Deje que los motores, sobre todo el silenciador, se enfríen antes de tocarlos.
Advertencia
Los residuos como hojas, hierba y maleza pueden incendiarse. Un incendio en la zona del motor puede causar lesiones personales y daños materiales.
-
Mantenga la zona del motor y el silenciador libres de residuos.
-
Tenga cuidado al abrir la tapa del ensacador que no caigan residuos sobre la zona del motor y el silenciador.
-
Deje que se enfríe la máquina antes de almacenarla.
Limpieza de la rejilla de la tapa
| Intervalo de mantenimiento y servicio | Procedimiento de mantenimiento |
|---|---|
| Cada vez que se utilice o diariamente |
|
Es necesario limpiar las rejillas antes de cada uso.
-
Aparque la máquina en una superficie nivelada.
-
Desengrane el mando de control de las cuchillas, accione el freno de estacionamiento y mueva las palancas de control de movimiento hacia fuera, a la posición de BLOQUEO/PUNTO MUERTO.
-
Apague el motor y retire la llave.
-
Abra la tapa del ensacador.
-
Limpie la rejilla de residuos.
-
Cierre la tapa del ensacador.
Inspección del ensacador
| Intervalo de mantenimiento y servicio | Procedimiento de mantenimiento |
|---|---|
| Después de las primeras 10 horas |
|
| Antes del almacenamiento |
|
Inspeccione el ensacador después de las 10 primeras horas de operación y luego cada mes.
-
Compruebe el conducto, el tubo de descarga, y la tapa del ensacador. Cambie estos componentes si están agrietados o rotos.
-
Apriete todos los pernos, tuercas y tornillos.
-
Inspeccione todos los herrajes y cierres; cambie los que estén dañados o que falten.
-
Compruebe que las bolsas de recortes no están deterioradas.
Advertencia
Si las bolsas de recortes están rotas, desgastadas o deterioradas, podrían dejar pasar y lanzar al aire residuos y otros objetos, lesionando gravemente a usted y a otras personas.
-
Compruebe las bolsas de recortes y asegúrese de que no tienen agujeros, roturas u otros deterioros.
-
Si las bolsas están deterioradas, instale bolsas de recogida nuevas suministradas por el fabricante de este accesorio ensacador.
-
Limpieza del ensacador y de las bolsas
| Intervalo de mantenimiento y servicio | Procedimiento de mantenimiento |
|---|---|
| Cada vez que se utilice o diariamente |
|
El ensacador debe ser limpiado diariamente.
-
Lave el interior y el exterior de la tapa del ensacador, las bolsas, el tubo y los bajos de la carcasa de corte. Utilice un detergente suave para automóviles para eliminar la suciedad.
-
Asegúrese de eliminar la hierba apelmazada de todas las piezas.
-
Después de lavar todas las piezas, deje que se sequen del todo.
Note: Con todas las piezas instaladas, arranque el motor y deje funcionar la máquina durante un minuto aproximadamente para facilitar el secado.
Inspección de la correa de soplador
| Intervalo de mantenimiento y servicio | Procedimiento de mantenimiento |
|---|---|
| Después de las primeras 8 horas |
|
| Cada 25 horas |
|
Compruebe que las correas no tienen grietas, bordes deshilachados, marcas de quemaduras u otros daños. Cambie cualquier correa que esté dañada.
Sustitución de la correa del soplador
-
Desengrane la TDF, mueva las palancas de control de movimiento a la posición de BLOQUEO/PUNTO MUERTO y ponga el freno de estacionamiento.
-
Apague el motor, retire la llave y espere a que se detengan todas las piezas en movimiento antes de abandonar el puesto del operador.
-
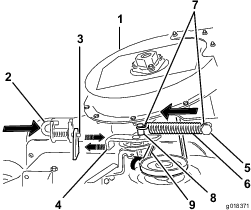
Afloje o retire la guía de la correa (Figura 40).
-
Tire hacia atrás de la polea tensora tensada con muelle para aliviar la tensión de la correa (Figura 40).

-
Retire la correa existente del soplador.
-
Instale la correa nueva alrededor de la polea del soplador (Figura 40).
-
Apriete o instale la guía de la correa (Figura 40).
-
Instale el muelle según se muestra en Figura 41.

-
Coloque la correa sobre la polea tensora tensada con muelle (Figura 41).
Engrase del brazo de la polea tensora
| Intervalo de mantenimiento y servicio | Procedimiento de mantenimiento |
|---|---|
| Cada 50 horas |
|
Engrase el brazo de la polea tensora del ensacador (Figura 42) cada 50 horas.

Inspección del ensacador
| Intervalo de mantenimiento y servicio | Procedimiento de mantenimiento |
|---|---|
| Después de las primeras 8 horas |
|
| Cada 100 horas |
|
-
Desengrane la TDF, mueva las palancas de control de movimiento a la posición de BLOQUEO/PUNTO MUERTO y accione el freno de estacionamiento.
-
Pare el motor, retire la llave y espere a que se detengan todas las piezas en movimiento antes de abandonar el puesto del operador.
-
Compruebe el tubo superior, el tubo inferior, la tapa del ensacador y el conjunto del soplador. Cambie estos componentes si están agrietados o rotos.
-
Compruebe las bolsas, el bastidor del ensacador y la rejilla. Cambie cualquier pieza agrietada o rota.
-
Apriete todos los pernos, tuercas y tornillos.
Inspección de las cuchillas de la segadora
-
Inspeccione las cuchillas de la segadora regularmente, y siempre que una cuchilla haya golpeado algún objeto extraño.
-
Si las cuchillas están muy desgastadas o dañadas, instale cuchillas nuevas. Consulte en el Manual del operador de la máquina los procedimientos completos de mantenimiento de las cuchillas.
Selección de cuchillas de corte
En la mayoría de las condiciones de siega, las cuchillas de alta elevación de serie proporcionan el mejor rendimiento de ensacado.
Se recomienda el uso de la cuchilla Toro Atomic para el ensacado de hojas en condiciones secas. En condiciones secas con mucho polvo, las cuchillas de baja o media elevación reducen la expulsión de polvo y tierra, sin dejar de proporcionar un caudal de aire eficaz para el ensacado.
Póngase en contacto con un Servicio Técnico Autorizado, que dispone de las cuchillas correctas para diferentes condiciones de siega.
Consulte el Manual del operador de las máquinas si necesita más información sobre la instalación de las cuchillas.
Cambio del deflector de hierba
Advertencia
Si el hueco de descarga se deja destapado, la segadora podría arrojar objetos hacia usted o hacia otras personas y causar lesiones graves. También podría producirse un contacto con la cuchilla.
-
No utilice nunca la máquina sin tener instalado un deflector de hierba, una placa de mulching o un sistema de ensacador.
-
Compruebe que el deflector de hierba está bajado.
-
Coloque un extremo del muelle detrás del reborde de la plataforma y el otro extremo en el deflector de hierba (Figura 43).

-
Utilice el perno y la tuerca para sujetar el deflector a la carcasa de corte (Figura 43).
-
Coloque el extremo en J del muelle alrededor del deflector de hierba (Figura 43).
Important: El deflector de hierba debe poder bajar a su posición. Levante el deflector para verificar que puede bajar del todo.











































