Entretien
Note: Les côtés gauche et droit de la machine sont déterminés d'après la position d'utilisation normale.
Programme d'entretien recommandé
| Périodicité d'entretien | Procédure d'entretien |
|---|---|
| Après les 8 premières heures de fonctionnement |
|
| Après les 10 premières heures de fonctionnement |
|
| À chaque utilisation ou une fois par jour |
|
| Toutes les 25 heures |
|
| Toutes les 50 heures |
|
| Toutes les 100 heures |
|
| Avant le remisage |
|
Attention
Si vous laissez la clé dans le commutateur d'allumage, quelqu'un pourrait mettre le moteur en marche accidentellement et vous blesser gravement, ainsi que toute personne à proximité.
Avant tout entretien, enlevez la clé de contact et débranchez le fil de la bougie. Écartez le fil pour éviter tout contact accidentel avec la bougie.
Attention
Les moteurs peuvent devenir très chauds quand ils sont en marche. Vous pouvez vous brûler gravement au contact des surfaces chaudes.
Laissez refroidir les moteurs, en particulier le silencieux, avant de vous approcher.
Attention
Des débris (feuilles, herbe ou broussailles) peuvent prendre feu. Un feu dans le compartiment moteur peut causer des brûlures et des dommages matériels.
-
Débarrassez le moteur et le silencieux des débris qui y sont déposés.
-
Lors de l'ouverture du couvercle du système de ramassage, veillez à ne pas faire tomber de débris sur le moteur et le silencieux.
-
Laissez refroidir la machine avant de la remiser.
Nettoyage de la grille du capot
| Périodicité d'entretien | Procédure d'entretien |
|---|---|
| À chaque utilisation ou une fois par jour |
|
Les grilles doivent être nettoyées avant chaque utilisation.
-
Garez la machine sur une surface plane et horizontale.
-
Désengagez la commande des lames, serrez le frein de stationnement et écartez les leviers de commande de déplacement vers l'extérieur en position de BLOCAGE DU POINT MORT.
-
Coupez le moteur et retirez la clé.
-
Ouvrez le capot du système de ramassage.
-
Nettoyez les débris éventuellement accumulés sur la grille.
-
Fermez le capot du système de ramassage.
Contrôle du système de ramassage
| Périodicité d'entretien | Procédure d'entretien |
|---|---|
| Après les 10 premières heures de fonctionnement |
|
| Avant le remisage |
|
Examinez le système de ramassage après les 10 premières heures de fonctionnement, puis une fois par mois.
-
Vérifiez l'état de la goulotte, du tube d'éjection et du couvercle du système de ramassage. Remplacez-les s'ils sont fendus ou cassés.
-
Serrez tous les écrous, boulons et vis.
-
Examinez toutes les fixations et tous les verrous ; remplacez-les s'ils sont absents ou endommagés.
-
Vérifiez l'état des bacs à herbe.
Attention
Des débris peuvent être projetés à travers les bacs à herbe s'ils sont déchirés, usés ou endommagés et blesser gravement les personnes à proximité et vous-même.
-
Vérifiez que les bacs à herbe ne sont pas troués, déchirés, usés ou autrement endommagés.
-
Remplacez-les s'ils sont endommagés ; vous pouvez vous procurer des bacs de rechange auprès du fabricant du système de ramassage.
-
Nettoyage du système de ramassage et des bacs
| Périodicité d'entretien | Procédure d'entretien |
|---|---|
| À chaque utilisation ou une fois par jour |
|
Le système de ramassage doit être nettoyé chaque jour.
-
Lavez l'intérieur et l'extérieur du capot du système de ramassage, des bacs et du tube, ainsi que le dessous du plateau de coupe. Utilisez un détergent automobile doux pour éliminer les saletés.
-
Veillez à bien débarrasser toutes les pièces de l'herbe agglomérée.
-
Après avoir lavé toutes les pièces, laissez-les complètement sécher.
Note: Une fois toutes les pièces remises en place, démarrez le moteur et laissez-le tourner pendant environ 1 minute pour aider au séchage.
Contrôle de la courroie du ventilateur
| Périodicité d'entretien | Procédure d'entretien |
|---|---|
| Après les 8 premières heures de fonctionnement |
|
| Toutes les 25 heures |
|
Vérifiez si les courroies sont fissurées, présentent des bords effilochés, des traces de brûlures ou d'autres dommages. Remplacez les courroies endommagées.
Remplacement de la courroie du ventilateur
-
Désengagez la PDF, amenez les leviers de commande de déplacement en position de BLOCAGE DU POINT MORT et serrez le frein de stationnement.
-
Avant de quitter la position d'utilisation, coupez le moteur, retirez la clé de contact et attendez l'arrêt complet de toutes les pièces mobiles.
-
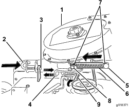
Desserrez ou déposez le guide-courroie (Figure 40).
-
Tirez sur la poulie de tension rappelée par ressort pour détendre la courroie (Figure 40).

-
Retirez la courroie de ventilateur existante.
-
Faites passer la courroie neuve autour de la poulie de ventilateur (Figure 40).
-
Serrez ou reposez le guide de courroie (Figure 40).
-
Montez le ressort comme montré à la Figure 41.

-
Placez la courroie sur la poulie de tension rappelée par ressort (Figure 41).
Graissage du bras de tension
| Périodicité d'entretien | Procédure d'entretien |
|---|---|
| Toutes les 50 heures |
|
Graissez le bras de tension de la courroie du système de ramassage (Figure 42) toutes les 50 heures.

Contrôle du système de ramassage
| Périodicité d'entretien | Procédure d'entretien |
|---|---|
| Après les 8 premières heures de fonctionnement |
|
| Toutes les 100 heures |
|
-
Désengagez la PDF, amenez les leviers de commande de déplacement en position de BLOCAGE DU POINT MORT et serrez le frein de stationnement.
-
Avant de quitter la position d'utilisation, coupez le moteur, retirez la clé de contact et attendez l'arrêt complet de toutes les pièces mobiles.
-
Contrôlez le tube supérieur, le tube inférieur, le capot du système de ramassage et le ventilateur. Remplacez-les s'ils sont fendus ou cassés.
-
Contrôlez les bacs, le cadre du système de ramassage et la grille. Remplacez les pièces fissurées ou cassées.
-
Serrez tous les écrous, boulons et vis.
Contrôle des lames de coupe
-
Examinez les lames régulièrement, ainsi qu'après avoir heurté un obstacle.
-
Remplacez les lames si elles sont très usées ou endommagées. Pour la procédure complète d'entretien des lames, reportez-vous au Manuel de l'utilisateur de la machine.
Choix des lames du plateau de coupe
Dans la plupart des conditions de tonte, les lames standard « haute levée » assurent les meilleures performances de ramassage.
La lame Toro Atomic est recommandée pour le ramassage des feuilles sèches. Dans des conditions sèches et poussiéreuses, les lames « moyenne levée » ou « basse levée » produisent moins de poussière et de saleté tout en assurant un débit d'air suffisant pour un ramassage efficace.
Renseignez-vous auprès d'un concessionnaire-réparateur agréé pour connaître les lames qui conviennent aux différentes conditions de tonte.
Pour plus de renseignements sur le montage des lames, reportez-vous au Manuel de l'utilisateur de la machine.
Remplacement du déflecteur d'herbe
Attention
Si l'ouverture d'éjection n'est pas fermée, la machine peut projeter des objets dans votre direction ou celles de personnes à proximité et causer des blessures graves. Un contact avec la lame est également possible.
-
N'utilisez jamais la machine sans un déflecteur d'herbe, une plaque de mulching ou un système de ramassage.
-
Vérifiez que le déflecteur d’herbe est abaissé.
-
Placez une extrémité du ressort derrière le bord du plateau et l'autre extrémité sur le déflecteur d'herbe (Figure 43).

-
Utilisez le boulon et l'écrou pour fixer le déflecteur d'herbe au plateau de coupe (Figure 43).
-
Accrochez l'extrémité en J du ressort au déflecteur d'herbe (Figure 43).
Important: Le déflecteur d'herbe doit pouvoir s'abaisser en position. Soulevez le déflecteur pour vérifier qu'il s'abaisse complètement.











































