Wartung
Note: Bestimmen Sie die linke und rechte Seite der Maschine anhand der üblichen Einsatzposition.
Empfohlener Wartungsplan
| Wartungsintervall | Wartungsmaßnahmen |
|---|---|
| Nach acht Betriebsstunden |
|
| Nach 10 Betriebsstunden |
|
| Bei jeder Verwendung oder täglich |
|
| Alle 25 Betriebsstunden |
|
| Alle 50 Betriebsstunden |
|
| Alle 100 Betriebsstunden |
|
| Vor der Einlagerung |
|
Warnung:
Wenn Sie den Zündschlüssel im Zündschloss stecken lassen, könnte eine andere Person den Motor versehentlich anlassen und Sie und Unbeteiligte schwer verletzen.
Ziehen Sie vor dem Beginn von Wartungsarbeiten den Zündschlüssel und den Kerzenstecker ab. Schieben Sie außerdem den Kerzenstecker zur Seite, damit er nicht versehentlich die Zündkerze berührt.
Warnung:
Motoren werden beim Betrieb heiß. Direkter Kontakt zu heißen Oberflächen kann zu schweren Verbrennungen führen.
Fassen Sie Motoren, besonders Auspuffe, erst nach dem Abkühlen an.
Warnung:
Rückstände, wie Laub, Gras oder Grünabfälle können Feuer fangen. Ein Brand im Motorraum kann schwere Verletzungen und Sachschäden verursachen.
-
Halten Sie den Motor und Auspuff von Rückständen frei.
-
Passen Sie beim Öffnen der Abdeckung des Heckfangsystems auf, dass keine Rückstände in den Motor- und Auspuffbereich fallen.
-
Lassen Sie die Maschine abkühlen, bevor Sie sie einlagern.
Reinigen des Abdeckungsgitters
| Wartungsintervall | Wartungsmaßnahmen |
|---|---|
| Bei jeder Verwendung oder täglich |
|
Die Gitter muss vor jeder Verwendung gereinigt werden.
-
Parken Sie die Maschine auf einer ebenen Fläche.
-
Kuppeln Sie den Zapfwellenantriebsschalter aus, aktivieren die Feststellbremse und stellen Sie die Fahrantriebshebel nach außen in die ARRETIERTE NEUTRAL-Stellung.
-
Stellen Sie den Motor ab und ziehen Sie den Zündschlüssel ab.
-
Öffnen Sie die Abdeckung des Heckfangsystems.
-
Entfernen Sie den Schmutz vom Gitter.
-
Schließen Sie die Abdeckung des Heckfangsystems.
Prüfen des Heckfangsystems
| Wartungsintervall | Wartungsmaßnahmen |
|---|---|
| Nach 10 Betriebsstunden |
|
| Vor der Einlagerung |
|
Prüfen Sie das Heckfangsystem nach den ersten 10 Betriebsstunden und dann jeweils monatlich.
-
Prüfen Sie den Auswurfkanal, das Auswurfrohr und die Abdeckung des Heckfangsystems. Tauschen Sie diese Teile aus, wenn sie Risse aufweisen oder kaputt sind.
-
Ziehen Sie alle Schrauben und Muttern an.
-
Prüfen Sie alle Befestigungen und Zungen und wechseln Sie fehlende oder beschädigte aus.
-
Prüfen Sie die Grasfangkörbe auf Verschleiß.
Warnung:
Sie oder Unbeteiligte können durch herausgeschleuderte oder ausgeworfene Gegenstände, die durch zerrissene, abgenutzte oder verschlissene Grasfangkörbe austreten, schwer verletzt werden.
-
Prüfen Sie die Grasfangkörbe auf Löcher, Risse, Abnutzung oder Verschleiß.
-
Wenn der Grasfangkorb verschleißt ist, bauen Sie neue Grasfangkörbe ein, die Sie vom Hersteller dieses Heckfangsystems erhalten.
-
Reinigen des Heckfangsystems und der Grasfangkörbe
| Wartungsintervall | Wartungsmaßnahmen |
|---|---|
| Bei jeder Verwendung oder täglich |
|
Das Heckfangsystem muss täglich gereinigt werden.
-
Reinigen Sie die Abdeckung des Heckfangsystems, das Rohr, und die Unterseite des Mähwerks innen und außen. Festsitzenden Schmutz können Sie mit einem milden Autoshampoo entfernen.
-
Sie sollten auf jeden Fall alle Teile von festgeklebtem Gras befreien.
-
Lassen Sie alle Teile nach dem Reinigen gut austrocknen.
Note: Montieren Sie alle Teile und starten Sie dann den Motor. Lassen Sie ihn für eine Minute laufen, um das Trocknen zu beschleunigen.
Prüfen des Gebläseriemens
| Wartungsintervall | Wartungsmaßnahmen |
|---|---|
| Nach acht Betriebsstunden |
|
| Alle 25 Betriebsstunden |
|
Prüfen Sie die Riemen auf Risse, zerfranste Ränder, Versengungsanzeichen und irgendwelche anderen Defekte. Wechseln Sie abgenutzte oder beschädigte Riemen aus.
Austauschen des Gebläseriemens
-
Kuppeln Sie die Zapfwelle aus, stellen Sie die Fahrantriebshebel in die ARRETIERTE NEUTRAL-Stellung und aktivieren die Feststellbremse.
-
Stellen Sie vor dem Verlassen der Bedienungsposition den Motor ab, ziehen den Schlüssel ab und warten, bis alle beweglichen Teile zum Stillstand gekommen sind.
-
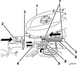
Lösen oder Entfernen Sie die Riemenführung (Bild 40).
-
Ziehen Sie an der gefederten Spannscheibe, um die Riemenspannung zu lösen (Bild 40).

-
Nehmen Sie den Gebläseriemen ab.
-
Legen Sie den neuen Riemen um die Riemenscheibe am Gebläse (Bild 40).
-
Ziehen Sie die Riemenführung fest oder setzen Sie diese ein (Bild 40).
-
Setzen Sie die Feder ein, siehe Bild 41.

-
Verlegen Sie den Riemen auf die gefederte Spannscheibe (Bild 41).
Einfetten des Spannscheibenarms
| Wartungsintervall | Wartungsmaßnahmen |
|---|---|
| Alle 50 Betriebsstunden |
|
Fetten Sie den Spannscheibenarm des Heckfangsystems (Bild 42) alle 50 Stunden ein.

Prüfen des Heckfangsystems
| Wartungsintervall | Wartungsmaßnahmen |
|---|---|
| Nach acht Betriebsstunden |
|
| Alle 100 Betriebsstunden |
|
-
Kuppeln Sie die Zapfwelle aus, stellen die Fahrantriebshebel in die ARRETIERTE NEUTRAL-Stellung und aktivieren die Feststellbremse.
-
Stellen Sie vor dem Verlassen der Bedienungsposition den Motor ab, ziehen den Schlüssel ab und warten, bis alle beweglichen Teile zum Stillstand gekommen sind.
-
Prüfen Sie das obere und untere Rohr, die Abdeckung des Heckfangsystems und das Gebläse. Tauschen Sie diese Teile aus, wenn sie Risse aufweisen oder kaputt sind.
-
Prüfen Sie die Grasfangkörbe, den Rahmen des Heckfangsystems und das Gitter. Ersetzen Sie beschädigte oder kaputte Teile.
-
Ziehen Sie alle Schrauben und Muttern an.
Prüfen der Schnittmesser
-
Prüfen Sie die Schnittmesser regelmäßig, besonders wenn ein Messer einen Fremdkörper berührt.
-
Montieren Sie neue Messer, wenn die Messer sehr abgenutzt oder beschädigt sind. Komplette Anweisungen zur Schnittmesserwartung finden Sie in der Bedienungsanleitung der Maschine.
Auswählen der Mähwerkmesser
Für die meisten Mähbedingungen ergeben die normalen High-Lift-Messer die beste Leistung beim Heckfangsystem.
Das Toro Atomic-Messer wird beim Aufnehmen von Blättern mit dem Heckfangsystem in trockenen Situationen empfohlen. Bei trockenen und staubigen Bedingungen verringern die Medium-Lift- oder Low-Lift-Messer die Menge des ausgestoßenen Staubs und Schmutzes und geben ausreichenden Luftstrom im Heckfangsystem.
Wenden Sie sich an einen offiziellen Vertragshändler hinsichtlich der richtigen Messer für verschiedene Mähkonditionen.
Weitere Informationen zum Einbauen der Messer finden Sie in der Bedienungsanleitung der Maschine.
Austauschen des Ablenkblechs
Warnung:
Eine nicht abgedeckte Auswurföffnung kann zum Ausschleudern von Gegenständen auf den Bediener oder Unbeteiligte führen. Das kann schwere Verletzungen zur Folge haben. Außerdem könnte es auch zum Kontakt mit dem Messer kommen.
-
Setzen Sie den Maschine nie ohne ein montiertes Ablenkblech, eine Mulchplatte oder ein montiertes Heckfangsystem ein.
-
Stellen Sie sicher, dass das Ablenkblech nach unten abgesenkt ist.
-
Haken Sie eine Ende der Feder hinter die Kante des Mähwerks und die das andere Ende am Ablenkblech (Bild 43).

-
Befestigen Sie das Ablenkblech mit der Schraube und Mutter am Mähwerk (Bild 43).
-
Führen Sie das J-förmige Hakenende der Feder um das Ablenkblech (Bild 43).
Important: Das Ablenkblech muss sich in Position absenken lassen. Heben Sie das Ablenkblech an, um zu testen, ob es ganz abgesenkt werden kann.











































