Onderhoud
Note: Bepaal vanuit de normale bedieningspositie de linker- en rechterzijde van de machine.
Aanbevolen onderhoudsschema
| Onderhoudsinterval | Onderhoudsprocedure |
|---|---|
| Na de eerste 8 bedrijfsuren |
|
| Na de eerste 10 bedrijfsuren |
|
| Bij elk gebruik of dagelijks |
|
| Om de 25 bedrijfsuren |
|
| Om de 50 bedrijfsuren |
|
| Om de 100 bedrijfsuren |
|
| Vóór de stalling |
|
Waarschuwing
Als u het sleuteltje in het contact laat, bestaat de kans dat iemand de motor per ongeluk start waardoor u en andere omstanders ernstig letsel kunnen oplopen.
Haal het sleuteltje uit het contact en maak de bougiekabel los voordat u onderhoudswerkzaamheden uitvoert aan de machine. Druk de kabel opzij, zodat deze niet onbedoeld contact kan maken met de bougie.
Waarschuwing
Motoren kunnen tijdens het gebruik heet worden. Aanraking met hete oppervlakken kan brandwonden veroorzaken.
Laat motoren en vooral de geluiddemper afkoelen voordat u ze aanraakt.
Waarschuwing
Afval zoals bladeren, gras of struiken kunnen vlam vatten. Brand in het motorgedeelte kan letsel en materiële schade veroorzaken.
-
Zorg ervoor dat er zich geen vuil rond de motor en de geluiddemper verzamelt.
-
Pas op dat er bij het openen van de klep van de grasvanger geen afval op de motor en de geluiddemper valt.
-
Laat de motor afkoelen voordat u de machine stalt.
Het scherm van de kap reinigen.
| Onderhoudsinterval | Onderhoudsprocedure |
|---|---|
| Bij elk gebruik of dagelijks |
|
De schermen moeten voor elk gebruik worden gereinigd.
-
Parkeer de machine op een horizontaal oppervlak.
-
Zet de messchakelaar uit, stel de parkeerrem in werking en zet de rijhendels naar buiten in de VERGRENDELDE NEUTRAALSTAND.
-
Zet de motor af en haal het sleuteltje uit het contact.
-
Open de kap van de grasvanger.
-
Verwijder het vuil van het scherm.
-
Sluit de kap van de grasvanger.
De grasvanger controleren
| Onderhoudsinterval | Onderhoudsprocedure |
|---|---|
| Na de eerste 10 bedrijfsuren |
|
| Vóór de stalling |
|
Controleer de grasvanger na de eerste 10 bedrijfsuren en daarna elke maand.
-
Inspecteer het uitwerpkanaal, de afvoerbuis en het bovenstuk van de grasvanger. Vervang deze onderdelen als zij gebarsten of gebroken zijn.
-
Draai alle moeren, bouten en schroeven goed aan.
-
Controleer alle bevestigingen en vergrendelingen; vervang deze als zij ontbreken of beschadigd zijn.
-
Controleer de graszakken op slijtage.
Waarschuwing
De bestuurder of omstanders kunnen ernstig letsel oplopen als gevolg van rondvliegende brokstukken of uitgeworpen voorwerpen uit gescheurde, beschadigde of versleten graszakken.
-
Controleer de graszakken op gaten, scheuren, slijtage en andere beschadigingen.
-
Als de zak is versleten, moet u een nieuwe graszak plaatsen die verkrijgbaar is bij de fabrikant van deze grasvanger.
-
Grasvanger en graszakken reinigen
| Onderhoudsinterval | Onderhoudsprocedure |
|---|---|
| Bij elk gebruik of dagelijks |
|
De grasvanger moet dagelijks worden gereinigd.
-
Reinig de binnenzijde en buitenzijde van de kap van de grasvanger, de zakken, de buis en de onderzijde van het maaidek. Gebruik een mild reinigingsmiddel voor auto's om vuil te verwijderen.
-
Let erop dat u aangekoekt gras van alle onderdelen verwijdert.
-
Laat alle onderdelen na het reinigen goed drogen.
Note: Nadat alle onderdelen gemonteerd zijn, kunt u de machine starten en ongeveer 1 minuut laten lopen om de machine sneller te laten drogen.
De riem van de blazer inspecteren
| Onderhoudsinterval | Onderhoudsprocedure |
|---|---|
| Na de eerste 8 bedrijfsuren |
|
| Om de 25 bedrijfsuren |
|
Controleer de riemen op scheuren, gerafelde randen, schroeiplekken of andere schade. Vervang beschadigde riemen.
Riem van blazer vervangen
-
Schakel de aftakas uit, zet de rijhendels in de VERGRENDELDE NEUTRAALSTAND en stel de parkeerrem in werking.
-
Zet de motor af, verwijder het contactsleuteltje en wacht totdat alle bewegende onderdelen tot stilstand zijn gekomen voordat u de bestuurderspositie verlaat.
-
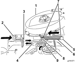
Verwijder de riemgeleider of maak deze los (Figuur 40).
-
Trek aan de veerbelaste spanpoelie om de riemspanning te verminderen (Figuur 40).

-
Verwijder de bestaande blazerriem.
-
Leg de nieuwe riem rond de poelie van de blazer (Figuur 40).
-
Plaats de riemgeleider of maak deze vast (Figuur 40).
-
Bevestig de veer zoals wordt getoond in Figuur 41.

-
Monteer de riem op de veerbelaste spanpoelie (Figuur 41).
De arm van de spanpoelie smeren
| Onderhoudsinterval | Onderhoudsprocedure |
|---|---|
| Om de 50 bedrijfsuren |
|
Smeer de arm van de spanpoelie (Figuur 42) om de 50 bedrijfsuren.

De grasvanger controleren.
| Onderhoudsinterval | Onderhoudsprocedure |
|---|---|
| Na de eerste 8 bedrijfsuren |
|
| Om de 100 bedrijfsuren |
|
-
Schakel de aftakas uit, zet de rijhendels in de VERGRENDELDE NEUTRAALSTAND en stel de parkeerrem in werking.
-
Zet de motor af, verwijder het contactsleuteltje en wacht totdat alle bewegende onderdelen tot stilstand zijn gekomen voordat u de bestuurderspositie verlaat.
-
Controleer de bovenste buis, onderste buis, de kap van de grasvanger en de blazer. Vervang deze onderdelen als zij gebarsten of gebroken zijn.
-
Controleer de graszakken, het frame van de grasvanger en het scherm. Vervang onderdelen die gebarsten of gebroken zijn.
-
Draai alle moeren, bouten en schroeven goed aan.
De maaimessen controleren
-
Controleer de maaimessen regelmatig, en altijd als het mes een vreemd voorwerp heeft geraakt.
-
Als de messen sterk zijn versleten of beschadigd, moet u nieuwe messen monteren. Raadpleeg de Gebruikershandleiding van de maaimachine voor het volledige onderhoud van de messen.
Maaimessen kiezen
Bij de meeste maaiomstandigheden zorgen de normale High Lift maaimessen voor de beste prestaties van de grasvanger.
Het Toro Atomic-mes wordt aanbevolen voor het opvangen van bladeren in droge omstandigheden. Als het droog en stoffig is, verminderen Medium Lift of Low Lift maaimessen de hoeveelheid stof en aarde die wordt rondgeblazen, terwijl de luchtstroom voldoende blijft voor de goede werking van de grasvanger.
Neem contact op met een erkende servicedealer voor informatie over de juiste messen in verschillende maaiomstandigheden.
Raadpleeg de Gebruikershandleiding van de machine voor meer informatie over het monteren van de messen.
Grasgeleider vervangen
Waarschuwing
Als de uitworpopening niet afgedekt is, kan de machine voorwerpen uitwerpen naar u of naar omstanders; dit kan ernstig letsel veroorzaken. Daarnaast kunt u ook in contact komen met het mes.
-
Gebruik de de machine nooit zonder dat de grasgeleider, een mulchplaat of een grasopvangsysteem is gemonteerd.
-
Controleer of de grasgeleider omlaag staat.
-
Plaats één uiteinde van de veer achter de rand van het maaidek en het andere uiteinde op de grasgeleider (Figuur 43).

-
Verwijder de bout en de moer om de grasgeleider aan het maaidek te bevestigen (Figuur 43).
-
Plaats het J-vormige haakuiteinde van de veer om de grasgeleider (Figuur 43).
Important: De grasgeleider moet volledig omlaag kunnen klappen. Til de grasgeleider omhoog om te controleren of deze volledig omlaag klapt.











































