保守
注意
始動スイッチにキーをつけたままにしておくと、誰でもいつでもエンジンを始動させることができ、危険である。
整備作業の前には必ずキーを抜いておくこと。
推奨される定期整備作業
| 整備間隔 | 整備手順 |
|---|---|
| 使用開始後最初の 8 時間 |
|
| 使用後毎回 |
|
| 25運転時間ごと |
|
| 100運転時間ごと |
|
バガーとバッグの清掃
| 整備間隔 | 整備手順 |
|---|---|
| 使用後毎回 |
|
Note: バガーの清掃を行わないと、刈りかすが内部にこびりついてブロアハウジングやチューブが詰まります。
-
バガーフード、バッグ、チューブの内側と外側、および集草インジケータのインペラと機体の底部を洗浄する。洗浄には自動車用の刺激性の少ない洗剤を使用する。
-
硬くこびりついている刈かすを十分に除去すること。
-
洗浄が終わったら各部を十分に乾かす。
Note: 全部の部品を元通りに取り付けたら、マシンを数分間運転して機体を完全に乾燥させます。
バガーベルトの点検
| 整備間隔 | 整備手順 |
|---|---|
| 使用開始後最初の 8 時間 |
|
| 25運転時間ごと |
|
ベルトに割れ、縁のほつれ、焼けなどの損傷がないか点検してください。破損したベルトは新しいものに交換してください。
バガーベルトの交換
-
PTO を解除し、走行コントロールレバーをニュートラルロック位置にセットし、駐車ブレーキを掛ける。
-
エンジンを停止させ、キーを抜き取り、各部が完全に停止したのを確認してから運転位置を離れる。
-
刈り込みデッキを、一番低い設定位置まで降下させる。
-
ベルトカバーのノブをゆるめてカバーを外す。
-
ブロアアセンブリを開けて、ベルトとプーリにアクセスできるようにする。
-
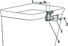
スプリング付きのアイドラプーリを引っ張ってベルトのテンションを弱める(図 28)。

-
ブロアのプーリを手で回しながら、既存のベルトを外す。
-
図 29 のように、ベルトをブロアとアイドラプーリに取り付ける。ベルトをブロアのプーリのV溝に嵌める。ベルトをピンと張りながら、手でゆっくりとプーリを回す。

-
ブロアアセンブリを閉じて、ラッチが掛かったことを確認する。
-
ベルトカバーを取り付ける。
バガーの点検
| 整備間隔 | 整備手順 |
|---|---|
| 使用開始後最初の 8 時間 |
|
| 25運転時間ごと |
|
| 100運転時間ごと |
|
-
PTO を解除し、走行コントロールレバーをニュートラルロック位置にセットし、駐車ブレーキを掛ける。
-
エンジンを停止させ、キーを抜き取り、各部が完全に停止したのを確認してから運転位置を離れる。
-
上チューブ、下チューブ、バガーフード、ブロアアセンブリを点検する。これらが破れていたり破損していたりしたら交換してください。
-
バッグ、バガーフレーム、スクリーンを点検する。これらが破れていたり破損していたりしたら交換してください。
-
機体各部のゆるみを点検し、必要な締め付けや交換、修理を行う。
刈り込みブレードの点検
-
刈り込みブレードは定期的に点検し、また、異物に当たった場合には直ちに点検する。
-
ブレードがひどく磨耗していたり破損している場合には新しいものに交換する。ブレードの整備の詳細については、マシンのオペレーターズマニュアル を参照。
刈り込みブレードの取り付け
ほとんどの場合には、標準のハイリフトブレードが集草に最も相応しいブレードです。
乾いた状態での集草には、トロのアトミックブレードをお使いください。乾燥してほこりっぽい条件の場合には、ミディアムリフトまたはローリフトのブレードを使うとほこりの舞い上がりを抑制しながらうまく集草することができます。
どのブレードを使うのが最も適切かについては、弊社代理店にご相談ください。
ブレードの取り付けの詳細は、刈り込み機械のオペレーターズマニュアル を参照。































