Manutenção
Cuidado
Se deixar a chave na ignição, alguém pode ligar acidentalmente o motor e feri-lo a si ou às pessoas que se encontrarem próximo da máquina.
Retire a chave da ignição antes de fazer qualquer revisão.
Plano de manutenção recomendado
| Intervalo de assistência | Procedimento de manutenção |
|---|---|
| Após as pimeiras 8 horas |
|
| Após cada utilização |
|
| A cada 25 horas |
|
| A cada 100 horas |
|
Limpeza do depósito de recolha e os sacos
| Intervalo de assistência | Procedimento de manutenção |
|---|---|
| Após cada utilização |
|
Note: Se não limpar o depósito de recolha, a relva seca pode acumular e entupir a estrutura e tubo do soprador.
-
Lave o interior e o exterior do capot do depósito de recolha, os sacos, o tubo, hélice do indicador de cheio e a parte inferior da máquina. Utilize um detergente automóvel suave para remover a sujidade.
-
Certifique-se de que remove relva comprimida de todas as peças.
-
Depois de lavar todas as peças, deixe-as secar completamente.
Note: Com todas as peças instaladas, ligue e deixe funcionar a máquina durante um minuto para ajudar à secagem.
Inspeção da correia do depósito
| Intervalo de assistência | Procedimento de manutenção |
|---|---|
| Após as pimeiras 8 horas |
|
| A cada 25 horas |
|
Verifique se existem fissuras, extremidades desfiadas, marcas de queimaduras e outros danos nas correias. Substitua as correias danificadas.
Substituição da correia do depósito
-
Desengate a tomada de força, desloque as alavancas de controlo do movimento para a posição de BLOQUEADAS EM PONTO MORTO e engate o travão de estacionamento.
-
Desligue o motor, retire a chave e espere até todas as partes em movimento pararem antes de sair da posição de funcionamento.
-
Desça a plataforma do cortador até à posição da altura de corte mais baixa.
-
Desaperte o manípulo na cobertura da correia e retire a cobertura.
-
Abra o conjunto do soprador para aceder à correia e à polia.
-
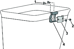
Empurre a polia intermédia da mola para trás para aliviar a tensão da correia (Figura 28).

-
Remova a correia existente no depósito da plataforma e conjunto do soprador rodando a polia do soprador à medida que empurra a correia para fora.
-
Instale a correia em torno do soprador e das polias intermédias, como se mostra na Figura 29. Coloque a correia na ranhura em V da polia do soprador. Mantenha a correia esticada e rode lentamente a polia à mão.

-
Feche o conjunto do soprador de forma a que a pega bloqueie.
-
Colocar a cobertura da correia.
Inspeção do depósito de recolha
| Intervalo de assistência | Procedimento de manutenção |
|---|---|
| Após as pimeiras 8 horas |
|
| A cada 25 horas |
|
| A cada 100 horas |
|
-
Desengate a tomada de força, desloque as alavancas de controlo do movimento para a posição de BLOQUEADAS EM PONTO MORTO e engate o travão de estacionamento.
-
Desligue o motor, retire a chave e espere até todas as partes em movimento pararem antes de sair da posição de funcionamento.
-
Verifique o tubo superior, o tubo inferior, o capot do depósito de recolha e o conjunto do soprador. Substitua estas peças, se estiverem rachadas ou partidas.
-
Verifique os sacos, a estrutura do depósito de recolha e o filtro. Substitua quaisquer peças que estejam rachadas ou partidas.
-
Aperte todas as porcas e parafusos.
Inspeção das lâminas do cortador
-
Inspecione as lâminas do cortador regularmente e sempre que uma lâmina bater num objeto estranho.
-
Se as lâminas estiverem gastas ou danificadas, instale as novas lâminas. Consulte o Manual do utilizador da máquina para mais informações sobre a manutenção completa das lâminas.
Instalação das lâminas do cortador
Na maioria das condições de corte, as lâminas de grande elevação normais oferecem o melhor desempenho de recolha.
Utilize uma lâmina atómica Toro para recolher folhas em condições secas. Em condições secas e poeirentas, as lâminas de elevação média ou baixa reduzem a poeira e sujidade projetadas oferecendo um fluxo de ar de recolha eficaz.
Contacte um representante de assistência autorizado para obter as lâminas adequadas para as diferentes condições de corte.
Consulte o Manual do utilizador da máquina para obter informações adicionais sobre como instalar as lâminas.































