| Underhållsintervall | Underhållsförfarande |
|---|---|
| Varje användning eller dagligen |
|
Maskinen styrs av en gående maskinskötare och är avsedd att användas av yrkesförare som har anlitats för kommersiellt arbete. Maskinen är främst avsedd för att lufta stora ytor på väl underhållna gräsmattor i parker, på golfbanor och idrottsplatser samt kommersiella anläggningar. Det kan medföra fara för dig och kringstående om maskinen används i andra syften än vad som avsetts.
Läs den här informationen noga så att du lär dig att använda och underhålla produkten på rätt sätt, och för att undvika person- och produktskador. Du är ansvarig för att produkten används på ett korrekt och säkert sätt.
Besök www.Toro.com om du behöver utbildningsmaterial för säkerhet och drift, information om tillbehör, hjälp med att hitta en återförsäljare eller om du vill registrera din produkt.
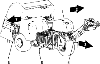
Kontakta en auktoriserad Toro-återförsäljare och ha produktens modell- och serienummer till hands när du behöver service, Toro-originaldelar eller ytterligare information. Figur 1 visar var du finner produktens modell- och serienummer. Skriv in numren i det tomma utrymmet.

Varningssymbolen (Figur 2) som visas i den här bruksanvisningen och på maskinen markerar viktiga säkerhetsmeddelanden som du måste följa för att förhindra olyckor.

Varningssymbolen visas ovanför information som varnar dig för farliga handlingar eller situationer och följs av orden FARA, VARNING eller VAR FÖRSIKTIG.
FARA indikerar en överhängande fara som, om den inte undviks, kommer att leda till dödsfall eller allvarliga personskador.
VARNING indikerar en potentiellt farlig situation som, om den inte undviks, kan leda till dödsfall eller allvarliga personskador.
VAR FÖRSIKTIG indikerar en potentiellt farlig situation som, om den inte undviks, kan leda till mindre eller måttliga personskador.
Två andra beteckningar används för att markera information i denna bruksanvisning. Viktigt anger speciell teknisk information och Observera anger allmän information värd att notera.
Produkten uppfyller alla relevanta europeiska direktiv. Mer information finns i produktens separata försäkran om överensstämmelse.
I vissa regioner måste maskinens motor vara utrustad med en gnistsläckare på grund av lokala eller nationella bestämmelser. Därför finns det gnistsläckare som tillbehör. Kontakta en auktoriserad Toro-återförsäljare om du behöver en gnistsläckare. Toros originalgnistsläckare har godkänts av USDA Forestry Service.
Den bifogade bruksanvisningen till motorn tillhandahålls för information om den amerikanska miljömyndigheten EPA:s (US Environmental Protection Agency) och Kaliforniens lagstiftning om utsläppskontroll för utsläppssystem, underhåll och garanti. Extra bruksanvisningar kan beställas från motortillverkaren.
Om maskinen är utrustad med en telematikenhet kontaktar du en auktoriserad Toro-återförsäljare för anvisningar om hur du aktiverar enheten.
|
Certifiering för elektromagnetisk kompatibilitet |
|
Hushåll: Den här enheten uppfyller kraven i enlighet med del 15 i FCC-reglerna. Följande två villkor ställs för driften: (1) Den här enheten får inte orsaka störningar och (2) enheten måste tåla alla eventuella störningar som den kan utsättas för, inklusive störningar som kan orsaka oavsiktlig användning. |
|
FCC ID: APV-3640LB IC: 5843C-3640LB |
|
Utrustningen har testats och befunnits överensstämma med gränserna för en digital enhet av klass B, i enlighet med del 15 i FCC-reglerna. Dessa begränsningar är avsedda att utgöra ett skäligt skydd mot skadliga störningar av installationer inom bostadsområden. Utrustningen genererar, använder och kan utsända radiofrekvensenergi och kan, om den inte monteras och används i enlighet med instruktionerna, orsaka skadlig störning av radiokommunikation. Det ges dock ingen garanti för att vissa installationer inte kommer att medföra störningar. Du kan prova om den här utrustningen stör radio- eller tv-mottagningen genom att starta och stänga av utrustningen. Om den orsakar störningar kan du försöka att avhjälpa problemet genom att vidta någon eller några av följande åtgärder:
|
|
Argentina |
![]() |
|
Australien |
![]() |
|
Marocko |
|
|---|---|
|
AGREE PAR L’ANRT MAROC |
|
|
Numéro d’agrément: |
MR00004789ANRT20024 |
|
Date d’agrément: |
11/4/2024 |
|
Nya Zeeland |
|
|
|
Sydkorea |
![]() |
KALIFORNIEN
Proposition 65 Varning
Motoravgaserna från denna produkt innehåller kemikalier som av den amerikanska delstaten Kalifornien anses orsaka cancer, fosterskador eller andra fortplantningsskador.
Batteripoler och kabelanslutningar med tillbehör innehåller bly och blyföreningar, kemikalier som den amerikanska delstaten Kalifornien anser kan orsaka cancer och fortplantningsskador. Tvätta händerna efter hantering.
Användning av produkten kan orsaka kemikalieexponering som av den amerikanska delstaten Kalifornien anses orsaka cancer, fosterskador och andra fortplantningsskador.
Den här produkten kan orsaka personskador. Följ alltid alla säkerhetsanvisningar för att undvika allvarliga personskador.
Läs och förstå innehållet i denna bruksanvisning innan du startar motorn.
Håll koncentrationen helt på maskinen när du använder den. Ägna dig inte åt aktiviteter som kan distrahera dig, eftersom personskador eller skador på egendom då kan uppstå.
Håll händer och fötter på avstånd från maskinens rörliga komponenter.
Kör endast maskinen om skydd och andra säkerhetsanordningar sitter på plats och fungerar.
Håll kringstående på avstånd från maskinen när den är i rörelse.
Håll avstånd till öppningen runt luftarpinnarna. Håll kringstående och husdjur borta från maskinen.
Håll barn på säkert avstånd från arbetsområdet. Låt aldrig barn köra maskinen.
Parkera maskinen på ett jämnt underlag, lyft upp styret helt och spärra det för att koppla in parkeringsbromsen, stäng av motorn, ta ut nyckeln och vänta tills alla rörliga delar har stannat innan du utför service på, tankar eller rensar maskinen.
Felaktigt bruk eller underhåll av maskinen kan leda till
personskador. För att minska risken för skador ska du alltid
följa säkerhetsanvisningarna och uppmärksamma varningssymbolen
. Symbolen betyder Var försiktig,
Varning eller Fara – anvisning om personsäkerhet. Underlåtenhet
att följa anvisningarna kan leda till personskador och innebära
livsfara.
![]() |
Säkerhetsdekalerna och säkerhetsinstruktionerna är fullt synliga för föraren och finns nära alla potentiella farozoner. Ersätt dekaler som har skadats eller saknas. |
















Note: Maskinens främre del sitter vid förarhandtaget och är den normala förarplatsen. Vänster och höger befinner sig i förhållande till körriktningen när du går med maskinen bakom dig.
Note: Höj upp luftarhuvudet efter att du har packat upp maskinen genom att släppa upp luftningsreglaget och starta motorn. Se Starta motorn och Höja luftarhuvudet för mer information.
Delar som behövs till detta steg:
| Hjul | 2 |
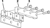
Note: Använd om möjligt en lyftanordning för att lyfta maskinens bakre del. Använd öglorna på luftarhuvudets lagerhus för att fästa upphissningsanordningen (Figur 3).

Ta bort de fyra hjulmuttrarna på maskinens baksida som fäster maskinens baksida på lastpallens fästen.
Montera en hjulenhet på varje bakhjulsnav med de fyra hjulmuttrarna (Figur 4).

Dra åt hjulmuttrarna till 61–75 Nm.
Upprepa steg 1 till 3 på den andra sidan av maskinen.
Minska lufttrycket i alla däck till 0,83 bar.
Delar som behövs till detta steg:
| Handtag | 1 |
| Låsmutter (½ tum) | 3 |
Dra bromskabelns koppling under botten av styrkanalen (Figur 7).

Montera bromskabelkopplingen på sprintbulten och fäst kopplingen på bulten med brickan och hårnålssprinten.
Dra kontakten med 6 stift och kontakten med 12 stift för maskinkablaget genom hylsan i styrkanalen (Figur 8).

Anslut maskinkablagets kontakt med 12 stift till styrkablagets kontakt med 12 uttag (Figur 9).

Anslut maskinkablagets kontakt med 6 stift till styrkablagets kontakt med 6 uttag.
För in maskinkablagets tryckfästelement i hålet i styrkanalen (Figur 10).

För in maskinkablagets tryckfästelement i hålet i styrningsfästet.
Fäst maskinkablaget på styrkanalen med ett kabelband genom spåren i kanalen (Figur 11).

Fäst maskinkablaget på styrningsfästet med ett kabelband genom spåren i fästet.
Rikta in den lilla skåran i styrkåpan med den övre skåran (Figur 12).

Rikta in hålen i kåpan med hålen i styrkanalen.
Fäst kåpan på styret med de sex gängformande skruvarna (¼ tum).
Delar som behövs till detta steg:
| Skruv (1/4 x 1 tum) | 2 |
| Flänsmutter (5/16 tum) | 2 |
Batterielektrolyt innehåller svavelsyra som är ett dödligt gift och som orsakar allvarliga brännskador.
Undvik kontakt med hud, ögon och kläder. Använd skyddsglasögon för att skydda ögonen och gummihandskar för att skydda händerna.
Ta bort, ladda och montera batteriet på en plats där du har tillgång till rent vatten och kan skölja av huden.
När batteriet laddas bildas explosiva gaser.
Rök aldrig nära batteriet och håll det på avstånd från gnistor och lågor.
Batteripolerna eller verktyg av metall kan kortslutas mot maskinkomponenter i metall och orsaka gnistor. Gnistorna kan få batterigaserna att explodera, vilket kan leda till personskador.
Låt inte batterianslutningarna komma i kontakt med några av maskinens metalldelar när du monterar eller tar bort batteriet.
Låt inte metalldelar kortsluta mellan batterianslutningarna och maskinens metalldelar.
Felaktig dragning av batterikablarna kan skada maskinen och kablarna samt orsaka gnistor. Gnistorna kan få batterigaserna att explodera, vilket kan leda till personskador.
Lossa alltid batteriets minuskabel (svart) innan pluskabeln (röd) lossas.
Anslut alltid pluskabeln (röd) innan du ansluter minuskabeln (svart).
Lås upp och öppna batteriluckan (Figur 13).

Ta ut batteriet ur batterifacket.
Använd en batteriladdare med 3–4 A laddningskapacitet för att ladda batteriet.
Koppla bort batteriladdaren från eluttaget och batteripolerna när batteriet är laddat.
Placera batteriet på brickan i batterifacket (Figur 14). Placera batteriet på så sätt att polerna är vända utåt.

Fäst batteriet i fackets nederdel med en låsblocksstång, två J-stänger, två planbrickor och två vingmuttrar.
Fäst pluskabeln (röd) på batteriets pluspol (+) med en vagnsskruv och mutter.
Trä gummiskon över den positiva anslutningen.
Fäst minuskabeln (svart) på batteriets minuspol (–) med en vagnsskruv och mutter.
Stäng och lås batteriluckan.
Delar som behövs till detta steg:
| Spärrlås | 2 |
| Skallskruv | 2 |
| Invändig tandlåsbricka | 2 |
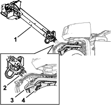
Om du ska använda maskinen inom EU (CE) måste du följa CE-bestämmelserna genom att montera huvspärrlåset på den bakre huven i enlighet med anvisningarna nedan.
Ta bort den bakre huven.
Montera ett spärrlås över motorhuvsspärren (Figur 15) med hjälp av en skallskruv (totalt två).

Skruva på en invändig låsbricka på varje skruv (1–2 gängor) med hjälp av en tång och skiftnyckel så att skruvarna fästs på huven.
Upprepa steg 2–3 på huvens andra sida.
Montera den bakre huven.
Delar som behövs till detta steg:
| Snodd | 1 |
| Popnit | 1 |
| Skruv (¼ x 1 tum) | 1 |
| Låsmutter (¼ tum) | 1 |
Om du ställer in denna maskin i enlighet med CE monterar du remkåpans spärrlänk enligt anvisningarna nedan.
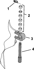
Lokalisera hålet i remkåpan bredvid spåret för låsspärren (Figur 16 och Figur 17).

Fäst snodden i hålet i remkåpan med en popnit (Figur 17).

Skruva i skruven i låsspärren (Figur 18).

Det finns ett stort utbud av luftarpinnshållare, gräsmatteskydd och luftarpinnar tillgängliga för maskinen. Se Montera gräsmatteskydd, luftarpinnshållare och luftarpinnar.


Använd styrspärren (Figur 21) för att fästa styret i uppåtläget och för att koppla in parkeringsbromsen.
Important: Fäst alltid styret i uppåtläget när du lämnar förarplatsen.
Förarnärvaroreglaget (Figur 21) säkerställer att du befinner dig på förarplatsen när du kör maskinen eller kör luftarhuvudet.
Note: Motorn stängs inte av om förarnärvaroreglaget släpps.
Använd InfoCenter (Figur 21) för att justera hur luftarhuvudets reglage fungerar.
Om du aktiverar stötstoppsbrytaren (Figur 21) utför maskinen följande åtgärder:
Maskinen slutar köra framåt.
Luftarhuvudet höjs och slutar att gå.
Note: Aktivering av stötstoppsbrytaren stänger inte av motorn. Du kan backa maskinen, men du måste återställa stötstoppsbrytaren för att köra framåt.

Använd transport-/luftarbrytaren (Figur 22) för att styra den maximala hastigheten som du kan köra maskinen när du luftar eller transporterar maskinen.
LUFTARLäGET tillåter luftning och begränsar markhastigheten till 4,0 km/h eller långsammare.
TRANSPORTLäGET gör att du kan köra maskinen med full markhastighet eller långsammare mellan arbetsplatserna.
Note: Du kan inte lufta med transport-/luftarbrytaren i TRANSPORTLäGET.
Använd vänster eller höger drivreglage (Figur 22) för att köra maskinen framåt eller bakåt.
Använd hastighetslåset (Figur 22) för att bibehålla den markhastighet som maskinen körs i, på samma sätt som farthållaren i en bil.
Det INKOPPLADE LäGET låser den aktuella markhastigheten som maskinen körs i.
PåSLAGET läge aktiverar hastighetslåset.
AVSTäNGT läge inaktiverar hastighetslåset.
Använd hastighetslåset (Figur 22) för att bibehålla markhastigheten vid avståndshastigheten för luftningshål.
PåSLAGET läge – aktiverar och kopplar in markhastighetslåset för att bibehålla markhastigheten vid avståndshastigheten för luftningshål när du släpper upp luftningsreglaget i slutet av en luftningsvända.
AVSTäNGT läge stänger av markhastighetslåset – maskinen slutar röra sig framåt när du släpper luftningsreglaget.

Med gasreglaget (Figur 24) reglerar du motorvarvtalet.
Om du flyttar gasreglaget framåt ökar motorvarvtalet – mot det SNABBA läget.
Om du flyttar gasreglaget bakåt sänks motorvarvtalet – mot det LåNGSAMMA läget.
Note: Motorvarvtalet reglerar hastigheten på luftarhuvudet.
Använd choken för att starta en kall motor (Figur 24).
Tändningslåset (Figur 24) används för att starta och stänga av motorn. Tändningslåset har tre lägen:
STARTLäGE – Vrid nyckeln medurs till STARTLäGET för att aktivera startmotorn.
KöRLäGE – Släpp nyckeln när motorn startar så går nyckeln automatiskt till det PåSLAGNA läget.
AVSTäNGT LäGE – Vrid nyckeln moturs till det AVSTäNGDA läget för att stänga av motorn.
Använd varvräknaren för att fastställa motorvarvtalet (Figur 24).
Använd bränslekranen för att styra bränsle från bränsletanken (Figur 25).

På InfoCenter-skärmen (Figur 26) visas information om maskinen, till exempel driftstatus, diagnostik och övrig information om maskinen.

Note: Knapparnas funktioner kan ändras beroende på omständigheterna. Vid varje knapp visas en ikon som förklarar den aktuella funktionen.
Använd navigeringsknapparna för att navigera mellan flera skärmar och menyalternativ:
Startskärm: visar aktuell maskininformation i några sekunder efter att du har vridit nyckeln till det PåSLAGNA läget.
Huvudmeny: se Använda menyerna.
|
DAGS FÖR SERVICE |
Anger när schemalagd service bör utföras |
|
|
Transportläge |
|
|
Håldjup |
|
|
Hålavstånd |
|
|
Håldiameter |
|
|
Luftarpinnar per hållare |
|
|
Batteri |
|
|
Timmätare |
|
|
Aktiv/OK |
|
|
Inaktiv |
|
|
Nästa |
|
|
Föregående skärm |
|
|
Meny |
|
|
Öka/minska värde |
|
|
Scrolla upp/ner |
|
|
Rulla vänster/höger |
|
|
Återgå till menyn |
|
|
|
Öppna huvudmenyn genom att trycka på tillbaka-/avslutaknappen på någon av informationsskärmarna.
Se följande tabeller för en beskrivning av vilka alternativ som finns tillgängliga från menyerna:
|
Menyobjekt |
Beskrivning |
|---|---|
|
FEL |
Innehåller en lista med de senaste maskinfelen som uppstått. Se servicehandboken eller kontakta en auktoriserad Toro-återförsäljare för mer information om felmenyn. |
|
SERVICE |
Innehåller information om maskinen som t.ex. antal brukstimmar, räknare och andra liknande uppgifter. |
|
DIAGNOSTIK |
Visar maskinens olika aktuella tillstånd. Du kan använda den här menyn för att felsöka vissa problem eftersom du snabbt ser vilka maskinreglage som är aktiva respektive inaktiva. |
|
INSTäLLNINGAR |
Här kan du ange PIN-koden eller anpassa skärmen för InfoCenter. |
|
MASKININSTäLLNINGAR |
Här kan du ändra maskinens driftsegenskaper och konfiguration. |
|
OM |
Ger information om maskinens modellnummer, artikelnummer och programvaruversion. |
|
Menyobjekt |
Beskrivning |
|---|---|
|
STATISTIK |
Visar räknare för maskinkörningsdata och driftdata, t.ex. motorns körtid, luftningsområde/-volym/-tid, luftningsavstånd. |
|
TIMMAR |
Visar det totala antalet timmar som maskinen, motorn och kraftuttaget har varit på samt antalet timmar som maskinen har transporterats och när det är dags för service. |
|
BERäKNINGAR |
Visar många beräkningar som maskinen har gjort. |
|
SERVICE, LYFT |
Aktivera eller inaktivera lyft vid service. |
|
SERVICE, SäNK |
Aktivera eller inaktivera sänkning vid service. |
|
TREHJULSDRIFT |
Aktivera automatisk trehjulsdrift eller att trehjulsdrift alltid är på. |
|
MARKHöJD |
Anger om sensorkalibreringarna är giltiga, startar kalibreringsprocessen och anger sensorns elektriska värde. |
|
HJULDRIVNINGSPUMP |
Anger om sensorkalibreringarna är giltiga, startar kalibreringsprocessen och anger sensorns elektriska värde. |
|
INMATNING TILL HJULDRIVNING |
Anger om sensorkalibreringarna är giltiga, startar kalibreringsprocessen och anger sensorns elektriska värde. |
|
HöJDSENSOR |
Anger om sensorkalibreringarna är giltiga, startar kalibreringsprocessen och anger sensorns elektriska värde. |
|
|
|
|
Menyobjekt |
Beskrivning |
|---|---|
|
ANGE PIN-KOD |
Ger en behörig person som har PIN-koden åtkomst till låsta menyer |
|
BAKGRUNDSBELYSNING |
Styr LCD-skärmens ljusstyrka |
|
SPRåK |
Styr språken som används på InfoCenter |
|
ENHETER |
Styr vilka enheter som används i InfoCenter (brittiska eller metriska) |
|
REDIGERA PIN-KOD |
Ger en behörig person som har PIN-koden tillåtelse att ändra PIN-koden |
|
LåS INSTäLLN. |
Aktiverar eller inaktiverar krav på PIN-kodsinmatning för att komma åt låsta inställningar |
|
ÅTERSTäLL STANDARDINSTäLLNINGAR |
Återställ alla inställningar till standardinställningar |
|
|
|
|
Menyobjekt |
Beskrivning |
|
MAXTRANSPORT |
Gör att du kan ändra den maximala markhastigheten framåt – standard = 6,4 km/h |
|
MANUELL LUFTNING |
Aktiverar eller inaktiverar manuell luftning |
|
|
|
|
Menyobjekt |
Beskrivning |
|---|---|
|
Model |
Visar maskinens modellnummer |
|
SN |
Visar maskinens serienummer |
|
Prog.rev. |
Visar versionsnumret för huvudstyrenheten |
|
CAN-statistik |
Visar status för maskinens kommunikationsbuss |
|
InfoCenter-versionsnummer |
Visar versionsnumret för InfoCenter-skärmen |
|
|
|
|
Menyobjekt |
Beskrivning |
|---|---|
|
Traction |
Se servicehandboken eller kontakta en auktoriserad Toro-återförsäljare för mer information om diagnostikmenyobjekt. |
|
Luftning |
|
|
Motor |
Låsta menyer visas inte som standard. Dessa inställningar låses upp genom att PIN-koden anges.
Note: Den fabriksinställda PIN-koden för din maskin är antingen 0000 eller 1234. Din återförsäljare kan ha ändrat PIN-koden vid leveranstillfället.Om du har ändrat PIN-koden och därefter glömt den nya koden kan du kontakta en auktoriserad Toro-återförsäljare för att få hjälp.
Från HUVUDMENYN bläddrar du ned till INSTäLLNINGSMENYN och trycker på valknappen (Figur 27).

I menyn INSTäLLNINGAR bläddrar du till ANGE PIN och trycker på valknappen (Figur 28A).

Ange PIN-koden genom att trycka på navigeringsknapparna upp/ned tills rätt första siffra visas. Tryck sedan på höger navigeringsknapp för att gå till nästa siffra (Figur 28B och Figur 28C). Upprepa detta steg tills den sista siffran har angetts.
Tryck på valknappen (Figur 28D).
Note: Om PIN-koden accepteras på skärmen och de låsta
menyerna låses upp visas
i skärmens övre högra hörn.
Dölj de låsta menyerna genom att vrida tändningslåset till det AVSTäNGDA läget och sedan till det PåSLAGNA läget.
När PIN-koden har angetts går du till menyn INSTäLLNINGAR och bläddrar ner till LåS INSTäLLN.
Tillåt att de låsta menyerna visas utan
att en PIN-kod anges genom att använda valknappen för att
ändra LåS INSTäLLN. till
(av).
Om du vill att PIN-kod ska krävas för att
visa de låsta menyerna ska du använda valknappen för
att ändra LåS INSTäLLN. till
(på),
ställa in PIN-koden och vrida tändningslåset till
det AVSTäNGDA läget och sedan
till det PåSLAGNA läget.

Blinkar rött – aktivt fel
Fast rött sken – aktivt meddelande
Fast blått sken – kalibrerings-/dialogmeddelanden
Fast grönt sken – normal drift
Note: Specifikationer och design kan komma att ändras utan föregående meddelande.
| Bredd | 127 cm |
| Hjulbas | 113 cm |
| Bandbredd | 97 cm |
| Luftarbredd | 122 cm |
| Längd | 295 cm |
| Huvudhöjd (höjt) | 114 cm |
| Huvudhöjd (sänkt) | 93 cm |
| Höjd, handtag | 154,2 cm |
| Markfrigång | 12 cm |
| Hastighet framåt | 0–7,2 km/h |
| Backningshastighet | 0–4 km/h |
| Nettovikt | 745 kg |
Det finns ett urval av godkända Toro-redskap och -tillbehör som du kan använda för att förbättra och utöka maskinens kapacitet. Kontakta en auktoriserad återförsäljare eller auktoriserad Toro-distributör, eller gå till www.Toro.com för att se en lista över alla godkända redskap och tillbehör.
Använd endast Toros originalreservdelar och tillbehör för att säkerställa optimal prestanda. Det kan vara farligt att använda reservdelar och tillbehör från andra tillverkare och det kan göra produktgarantin ogiltig.
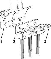
Se luftarpinnarnas konfigurationstabell nedan för information om luftningshuvudet, gräsmatteskyddet och luftarpinnarna:
| Luftarhuvudsbeskrivning | Luftningshuvudsavstånd | Skaftstorlek | Luftarpinnesantal | Gräsmatteskyddstyp (antal) |
|---|---|---|---|---|
| 2x5 miniluftningshuvud | 41 mm | 9,5 mm | 60 | 5 luftarpinnar – kort (2) |
| 5 luftarpinnar – lång (1) | ||||
| 1x6 miniluftningshuvud | 32 mm | 9,5 mm | 36 | 6 luftarpinnar – kort (2) |
| 6 luftarpinnar – lång (1) | ||||
| Luftningshuvud 3 luftarpinnar (â…ž tum) | 66 mm | 22,2 mm | 18 | 3 luftarpinnar – kort (2) |
| 3 luftarpinnar – lång (1) | ||||
| Luftningshuvud 3 luftarpinnar (¾ tum) | 66 mm | 19,5 mm | 18 | 3 luftarpinnar – kort (2) |
| 3 luftarpinnar – lång (1) | ||||
| Luftningshuvud 4 luftarpinnar (¾ tum) | 51 mm | 19,5 mm | 24 | 4 luftarpinnar – kort (2) |
| 4 luftarpinnar – lång (1) | ||||
| Luftningshuvud 5 nålpinnar | 41 mm | – | 30 | 5 luftarpinnar – kort (2) |
| 5 luftarpinnar – lång (1) |
Note: Vänster och höger sida på maskinen är lika med förarens vänstra respektive högra sida vid normal körning.
Låt aldrig barn eller någon som inte har fått utbildning använda eller utföra underhåll på maskinen. Lokala bestämmelser kan begränsa användarens ålder. Det är ägaren som ansvarar för att utbilda alla förare och mekaniker.
Lär dig hur man använder utrustningen på ett säkert sätt och bekanta dig med manöverreglage och säkerhetsskyltar.
Lär dig att stanna maskinen och stänga av motorn snabbt.
Kontrollera att pinnarna är i gott bruksskick innan du använder maskinen. Byt ut slitna eller skadade luftarpinnar.
Inspektera området där du planerar att använda maskinen och ta bort föremål som maskinen kan gå på.
Leta reda på och märk ut alla el- eller kommunikationsledningar, bevattningskomponenter och andra hinder i området som ska luftas. Ta bort hindren om möjligt eller planera hur de ska kunna undvikas.
Parkera maskinen på ett jämnt underlag, lyft upp styret helt och spärra det för att koppla in parkeringsbromsen, stäng av motorn, ta ut nyckeln och vänta tills alla rörliga delar har stannat.
Kontrollera att förarnärvaroreglage, säkerhetsbrytare och skydd sitter fast och fungerar som de ska. Kör inte maskinen om dessa inte fungerar som de ska.
Var ytterst försiktig när du hanterar bränsle. Det är brandfarligt och dess ångor är explosiva.
Släck alla cigaretter, cigarrer, pipor och övriga antändningskällor.
Använd endast en godkänd bränslebehållare.
Ta inte bort tanklocket och fyll inte på bränsle i bränsletanken medan motorn är igång eller fortfarande är varm.
Fyll inte på eller tappa ut bränsle från maskinen i ett slutet utrymme.
Förvara inte maskinen eller bränslebehållaren i närheten av en öppen låga, gnista eller tändlåga, t.ex. nära en varmvattenberedare eller någon annan utrustning.
Om du spiller ut bränsle ska du inte försöka att starta motorn. Undvik att skapa några gnistor tills bränsleångorna har skingrats.
| Typ | Blyfri bensin |
| Lägsta oktantal | 87 (USA) eller 91 (researchoktan; utanför USA) |
| Etanol | Högst 10 volymprocent |
| Metanol | Ingen |
| MTBE (metyl-tert-butyleter) | Mindre än 15 volymprocent |
| Olja | Får ej tillsättas i bränslet |
Använd endast rent, färskt (inte mer än 30 dagar gammalt) bränsle från en ansedd källa.
Important: För att minska risken för startproblem tillsätter du bränslestabiliserare/-konditionerare till färskt bränsle enligt tillverkarens anvisningar.
Bränsletankens kapacitet: 26,5 liter
Parkera maskinen på ett jämnt underlag, lyft upp styret helt och spärra det för att koppla in parkeringsbromsen, stäng av motorn, ta ut nyckeln och vänta tills alla rörliga delar har stannat.
Gör rent runt tanklocket och ta bort det (Figur 30).

Fyll bränsletanken med bränsle tills nivån ligger mellan 6 och 13 mm under påfyllningsrörets nedersta del.
Important: Det tomma utrymmet behövs för bensinens expansion. Fyll inte bränsletanken helt full.
Skruva på tanklocket ordentligt.
Torka upp eventuellt utspillt bränsle.
Varje dag innan maskinen startas ska de procedurer som ska genomföras dagligen och innan varje användning, vilka anges i , utföras.
| Underhållsintervall | Underhållsförfarande |
|---|---|
| Varje användning eller dagligen |
|
Om säkerhetssystemet är frånkopplat eller skadat kan maskinen plötsligt aktiveras, vilket i sin tur kan leda till personskador.
Gör inga otillåtna ändringar på säkerhetsbrytarna.
Kontrollera säkerhetssystemets funktion dagligen och byt ut eventuella skadade säkerhetsdelar innan maskinen körs.
Säkerhetssystemet gör så att motorn inte kan startas om inte rörelsereglaget befinner sig i NEUTRALLäGET:
Säkerhetssystemet är konstruerat så att motorn inte kan startas om inte förarnärvaroreglaget är helt frisläppt.
Säkerhetssystemet är konstruerat så att motorn inte kan startas om inte luftarhuvudreglaget är helt frisläppt.
Säkerhetssystemet höjer luftarhuvudet och stänger av det om du kör maskinen bakåt medan du luftar eller kommer åt stötstoppsbrytaren.
Important: Låt en auktoriserad Toro-distributör reparera säkerhetssystemet omedelbart om det inte fungerar enligt beskrivningen.
Utför följande steg om luftarhuvudet är nedsänkt. Om luftarhuvudet är upphöjt ska du gå till Testa förregling av startmotorn.
Starta motorn och ställ in motorvarvtalet på LåNGSAMT läge. Se Starta motorn.
Sänk ned styret (Figur 31).

Tryck på någon av knapparna i InfoCenter.
Note: Luftarhuvudet höjs.
Stäng av motorn. Se Stänga av motorn.
Stäng av motorn om den är igång.
Håll något av förarnärvaroreglagen mot styret och vrid drivreglaget (Figur 32) framåt eller vrid det bakåt och starta motorn.
Important: Motorn ska inte starta.

Släpp förarnärvaroreglaget, för drivreglaget till NEUTRALLäGET och starta motorn.
Håll något av förarnärvaroreglagen mot styret och vrid drivreglagets övre del framåt (Figur 33).
Note: Maskinen kör framåt.

Håll i drivreglaget och släpp förarnärvaroreglaget (Figur 34).
Important: Maskinen ska sluta köra framåt.

Håll något av förarnärvaroreglagen mot styret och vrid drivreglagets övre del framåt (Figur 35).
Note: Maskinen kör framåt.

Håll i förarnärvaroreglaget och drivreglaget och aktivera stötstoppsbrytaren (Figur 36).
Important: Maskinen måste sluta köra framåt.
Note: Motorn fortsätter att köra.

Återställ stötstoppsbrytaren. Se Återställa stötstoppsbrytaren.
Gör något av följande:
Flytta maskinen till ett gräsområde där du kan lufta utan att skada luftarpinnarna eller området.
Ta bort luftarpinnarna.
Håll något av förarnärvaroreglagen mot styret, vrid drivreglagets övre del framåt och stäng luftningsreglaget (Figur 37).
Note: Maskinen kör framåt, luftarhuvudet går och sänks ned.

Håll in förarnärvaroreglaget och luftningsreglaget och vrid drivreglagets övre del bakåt (Figur 38).
Important: Luftarhuvudet ska höjas och sluta gå.
Note: Motorn fortsätter att köra.

Flytta drivreglaget till NEUTRALLäGET.
Om du har tagit bort luftarpinnarna ska du montera dem och kalibrera luftarpinnarnas markhöjd. Se Montera luftarpinnarna på luftarhuvudet och Kalibrera luftarpinnarnas markhöjd.
Important: Du måste kalibrera luftarpinnarnas markhöjd varje gång du byter från längre till kortare luftarpinnar eller tvärtom.
Det finns ett stort utbud av luftarpinnshållare, gräsmatteskydd och luftarpinnar tillgängliga för maskinen. Välj de erforderliga komponenterna från tillbehörstabellen i avsnittet Redskap och tillbehör.
Höj upp luftarhuvudet och lås det i rätt läge med servicespärren. Se Stötta upp luftarhuvudet med servicespärren.
Parkera maskinen på ett jämnt underlag, lyft upp styret helt och spärra det för att koppla in parkeringsbromsen, stäng av motorn, ta ut nyckeln och vänta tills alla rörliga delar har stannat.
Note: Klämmorna, brickorna och flänslåsmuttrarna till gräsmatteskyddet sitter monterade på gräsmatteskyddsfästena vid leveransen (Figur 39).
Montera gräsmatteskydden löst på gräsmatteskyddsfästena med fyra gräsmatteskyddsklämmor, tolv flänslåsmuttrar (â…œ tum) och tolv brickor (7/16 x 13/16 tum).
Note: Dra inte åt flänsmuttrarna.

Montera en luftarpinnsklämma löst på luftarpinnshållaren (Figur 40) med fyra skruvar (â…œ x 1 ½ tum). Dra inte åt skruvarna.
Note: Skruvarna medföljer luftarpinnshållarna.

Montera luftarpinnarna i luftarpinnshållaren och luftarpinnsklämman (Figur 41).

Dra åt skruvarna (â…œ x 1 ½ tum) som håller fast luftarpinnsklämmorna och luftarpinnarna till 40,6 Nm.
Upprepa steg 1 till 3 för de andra luftarpinnsklämmorna, luftarpinnshållarna och luftarpinnarna.
Montera luftarpinnshållaren och luftarpinnarna löst på luftarpinnsarm nr 2 (Figur 42 och Figur 43) med tre skruvar (½ x 1 ¼ tum).


Dra åt skruvarna (½ x 1 ¼ tum) till 102 N·m.
Upprepa steg 1 och 2 för luftarpinnsarm nr 5.
Kontrollera att gräsmatteskyddets skåror är i linje med luftarpinnarna för att säkerställa att de är centrerade (Figur 44).
Note: Justera gräsmatteskydden efter behov.

Dra åt flänslåsmuttrarna (â…œ tum) som fäster de tre gräsmatteskyddsklämmorna och de tre gräsmatteskydden på de tre gräsmatteskyddsfästena.
Montera den återstående luftarpinnshållaren och luftarpinnarna på luftarpinnshållarna nr 1, 3, 4 och 6 med tolv skruvar (½ x 1 ¼ tum).
Dra åt skruvarna (½ x 1 ¼ tum) till 102 N·m.
Kalibrera maskinen för luftarpinnarnas markhöjd. Se Köra programmet för inlärning av markhöjd.
Vrid tändningsnyckeln till KöRLäGET.
Om pilarna inte visas på skärmen för TRANSPORTLäGE eller skärmen för LUFTARLäGE anger du PIN-koden för att komma åt låsta menyer. Se Åtkomst till låsta menyer.
Note: Skärmen för TRANSPORTLäGE eller skärmen för LUFTARLäGE visas (Figur 45).

Tryck på den högra knappen två gånger för att visa skärmen för kalibrering av luftarpinnarnas markhöjd (Figur 46).
Note: Tryck på den vänstra knappen för att visa skärmen för TRANSPORTLäGE eller skärmen för LUFTNINGSLäGE.

Tryck på den högra knappen för att visa skärmen för inställning av håldjup (Figur 47).
Note: Tryck på den vänstra knappen för att visa skärmen för inlärning av markhöjd.

Tryck på den högra knappen för att visa skärmen för inställning av hålavstånd (Figur 48).
Note: Tryck på den vänstra knappen för att visa skärmen för inställning av håldjup.

Tryck på den högra knappen för att visa skärmen för inställning av luftarpinnsdiameter (Figur 48).
Note: Tryck på den vänstra knappen för att visa skärmen för inställning av hålavstånd.

Tryck på den högra knappen för att visa skärmen för inställning av luftarpinnsantal (Figur 50).
Note: Tryck på den vänstra knappen för att visa skärmen för inställning av luftarpinnsdiameter.

Se till att luftarhuvudet är upphöjt. Se Höja luftarhuvudet.
Vrid tändningsnyckeln till KöRLäGET.

Tryck på den högra knappen tills skärmen för inställning av håldjup visas (Figur 51 och Figur 52).
Ställ in luftarpinnsdjupet med upp- och nedknapparna (Figur 52) enligt följande:
Tryck på nedknappen för att minska håldjupet.
Tryck på uppknappen för att öka håldjupet.

Tryck på den vänstra eller högra knappen för att spara inställningarna och stänga skärmen för djup.
Vrid tändningsnyckeln till det AVSTäNGDA läget.
Note: Om gräsmatteskyddens skruvar släpar längs med eller vidrör gräset vid luftning med det djupaste tillåtna djupet (med valfri längd på luftarpinnarna) efter att kalibreringen av luftarpinnarnas markhöjd gjorts, ska du reducera djupet med ett steg (0,6 cm).
Note: När du väljer ett målhålsavstånd kontrollerar maskinen markhastigheten för att hålla hålavståndet.
Se till att luftarhuvudet är upphöjt; se Höja luftarhuvudet.
Vrid tändningsnyckeln till KöRLäGET.

Tryck på den högra knappen tills skärmen för inställning av hålavstånd visas (Figur 53 och Figur 54).
Justera hålavståndet (Figur 54) på följande sätt:
Tryck på nedknappen för att minska hålavståndet.
Tryck på uppknappen för att öka hålavståndet.

Tryck på den vänstra eller högra knappen för att spara inställningarna och stänga skärmen för avstånd.
Vrid tändningsnyckeln till läget AV.
Se till att luftarhuvudet är upphöjt; se Höja luftarhuvudet.
Vrid tändningsnyckeln till KöRLäGET.

Tryck på den högra knappen tills skärmen för inställning av luftarpinnsdiameter visas (Figur 55 och Figur 56)
Ställ in luftarpinnsdiameter med upp- och nedknapparna (Figur 56) enligt följande:
Tryck på uppknappen för att öka luftarpinnsdiametern.
Tryck på nedknappen för att minska luftarpinnsdiametern.

Tryck på den vänstra eller högra knappen för att spara inställningarna och stänga skärmen för diameter.
Vrid tändningsnyckeln till läget AV.
Se till att luftarhuvudet är upphöjt; se Höja luftarhuvudet.
Vrid tändningsnyckeln till KöRLäGET.

Tryck på den högra knappen tills skärmen för inställning av luftarpinnsantal (Figur 58) visas.
Ställ in luftarpinnsantalet med upp- och nedknapparna (Figur 58) enligt följande:
Important: Luftarpinnsantalet är antalet luftarpinnar på en hållare.
Tryck på uppknappen för att öka luftarpinnsantalet.
Tryck på nedknappen för att minska luftarpinnsantalet.

Tryck på den vänstra eller högra knappen för att spara inställningen och stänga skärmen för luftarpinnsantal.
Vrid tändningsnyckeln till läget AV.
| Underhållsintervall | Underhållsförfarande |
|---|---|
| Varje användning eller dagligen |
|
Important: Kalibrera luftarpinnarnas markhöjd varje gång du byter luftarpinnar eller ersätter utslitna luftarpinnar.
Se till att koringhuvudet är upphöjt.
Parkera maskinen på ett jämnt underlag, lyft upp styret helt och spärra det för att koppla in parkeringsbromsen, stäng av motorn, ta ut nyckeln och vänta tills alla rörliga delar har stannat.
Ta bort luftarhuvudskåpan. Se Ta bort luftarhuvudskåpan.
Vrid luftarhuvudets remskiva (Figur 59) tills de yttersta luftarpinnarna är i linje närmast marken (Figur 60).
Important: Håll fingrarna borta från området där remmen går upp på och lämnar remskivan så att du inte klämmer fingrarna.


Montera luftarhuvudskåpan. Se Montera kåpan för luftarhuvudet.
Vrid tändningsnyckeln till KöRLäGET.
Note: Skärmen för TRANSPORTLäGE eller skärmen för LUFTARLäGE visas (Figur 61).

Flytta styret så att du kan se de yttersta luftarpinnarna som du positionerade i Förbereda maskinen.
Tryck på den högra knappen tills guiden INLäRNING AV MARKHöJD visas.
På skärmen Inlärning av markhöjd (Figur 62) trycker du sedan på någon av de mittersta knapparna.

TRYCK På OK FöR ATT STARTA SKäRMEN FöR INLäRNING (Figur 63) och tryck på valknappen.

Note: Meddelandet KALIBRERING AKTIVERAD visas och luftarhuvudet sänks långsamt.
Important: Håll handen nära InfoCenter.
Note: Luftarhuvudet sänks långsammare om hydraulvätskan är kall.
Tryck på valknappen på skärmen Sänk huvud (Figur 64) när en luftarpinne kommer i kontakt med marken.
Note: Luftarpinnar får endast vidröra marken och inte lyfta eller avlasta vikt från däcken.Om luftarhuvudet lyfter maskinen kalibrerar maskinen markhöjden felaktigt, vilket resulterar i inkorrekt håldjup och att luftningshålets öppning tovas.

Note: Meddelandet KALIBRERING KLAR visas och huvudet höjs helt.
Tryck på bakåtknappen för att lämna skärmen för programmet för inlärning av markhöjd.
Ägaren/föraren kan förebygga och ansvarar för olyckor som kan ge upphov till personskador eller skador på egendom.
Använd lämpliga kläder, inklusive ögonskydd, långbyxor, rejäla och halkfria skor samt hörselskydd. Sätt upp långt hår, knyt fast löst sittande klädesplagg och använd inte lösa smycken.
Kör inte maskinen om du är trött, sjuk eller påverkad av alkohol, läkemedel eller andra droger.
Håll kringstående, barn och husdjur på säkert avstånd från arbetsområdet. Låt inte barn använda maskinen. Maskinen ska endast användas av personer som är ansvariga, utbildade, införstådda med anvisningarna och fysiskt kapabla att använda maskinen.
Kör aldrig passagerare på maskinen.
Använd endast maskinen om du har god sikt, så att du kan undvika gropar och dolda faror.
Håll händer och fötter på avstånd från luftarpinnarna.
Titta bakåt och nedåt innan du backar för att se till att vägen är fri.
Stanna maskinen, stäng av motorn, ta ur nyckeln, vänta tills alla rörliga delar har stannat och undersök luftarpinnarna om du kör på ett föremål eller om maskinen vibrerar på ett onormalt sätt. Reparera alla skador innan du börjar köra maskinen igen.
Se till att alltid ha korrekt däcktryck.
Sänk hjuldrivningshastigheten på ojämna vägar och underlag.
Sluttningar är en betydande faktor vid olyckor som orsakas av att föraren förlorat kontrollen eller att maskinen välter, vilket kan innebära livsfara eller leda till allvarliga personskador. Du ansvarar för säker drift i sluttningar. Om du kör maskinen i en sluttning måste du vara extra försiktig.
Utvärdera förhållandena på platsen för att bedöma om sluttningen är säker för körning av maskinen, bland annat genom att undersöka hela arbetsplatsen. Använd alltid sunt förnuft och gott omdöme när du utför kontrollen.
Gå igenom instruktionerna för körning av maskinen i sluttningar nedan och beakta förhållandena för att fastställa om maskinen kan användas under de förhållanden som råder på den platsen och den dagen. Förändringar i terrängen kan leda till att maskinens manövrering i sluttningar förändras.
Undvik att starta, stänga av eller svänga med maskinen i sluttningar. Undvik att göra plötsliga ändringar i hastighet eller riktning. Sväng långsamt och successivt.
Använd inte maskinen under förhållanden där det råder tvekan om dragkraft, styrning eller stabilitet.
Avlägsna eller märk ut hinder såsom diken, hål, fåror, gupp, stenar och andra dolda faror. Det kan finnas dolda hinder i högt gräs. Ojämn terräng kan göra att maskinen välter.
Observera att om du kör maskinen på vått gräs, tvärs över sluttningar eller nedför en sluttning kan maskinen förlora dragkraft. Om drivhjulen tappar dragkraft kan detta leda till att maskinen slirar och att du förlorar kontrollen över bromsning och styrning.
Var mycket försiktig när du använder maskinen nära stup, diken, flodbäddar, vattendrag eller andra faror. Maskinen kan välta plötsligt om ett hjul kör över en kant eller kanten ger med sig. Håll ett säkert avstånd mellan maskinen och riskfyllda områden.
Höj styret helt för att koppla in parkeringsbromsen (Figur 65).

Se till att styrlåssprinten sträcker sig genom hålet i spärrplattan (Figur 66).
Om parkeringsbromsen inte kopplas in kan maskinen röra sig och skada dig eller kringstående.
Se till att styret är helt upphöjt och låses säkert mot spärrplattan.

Höj och spärra styret helt och koppla in parkeringsbromsen. Se Koppla in parkeringsbromsen.
Använd choken (Figur 70) på följande sätt:
Innan du startar en kall motor ska du föra chokereglaget till läget På.
När du ska starta en varm eller het motor behöver du kanske inte använda choken.

För gasreglaget till det SNABBA läget innan du startar en kall motor.
Vrid tändningsnyckeln till START-läget. Släpp nyckeln när motorn startar.
Important: Låt inte startmotorn gå i mer än 10 sekunder åt gången. Om motorn inte startar ska du låta den svalna under 30 sekunder mellan startförsöken. Om man inte följer dessa anvisningar kan startmotorn överhettas.
När motorn har startats för du choken till det AVSTäNGDA läget. För tillbaka chokereglaget till det PåSLAGNA läget i några sekunder om motorn börjar hacka eller om den stannar. För sedan gasreglaget till önskat motorvarvtal.
Note: Upprepa steget vid behov.
Barn eller kringstående kan skadas om de flyttar eller försöker köra en maskin som har lämnats utan uppsikt.
Höj alltid styret helt och spärra det för att koppla in parkeringsbromsen. Stäng av motorn och ta ut nyckeln när du lämnar maskinen utan uppsikt, även om det bara är i några minuter.
Höj och spärra styret helt för att koppla in parkeringsbromsen. Se Koppla in parkeringsbromsen.
För gasreglaget (Figur 71) till det LåNGSAMMA läget.

Låt motorn gå på tomgång i 60 sekunder.
Vrid tändningsnyckeln till läget AV och ta ut nyckeln.
Stäng bränslekranen om du transporterar eller förvarar maskinen (Figur 72).
Important: Stäng bränslekranen innan maskinen ska transporteras på ett släp eller innan du ställer maskinen i förvar. Höj och spärra styret helt för att koppla in parkeringsbromsen innan du transporterar maskinen. Ta ut nyckeln ur tändningslåset för att förhindra att bränslepumpen går och gör att batteriet laddas ur.

Important: Gå framför maskinen när du använder den. Titta inte bakåt medan du går och använder maskinen.

Med hastighetslåset kan du köra maskinen utan att behöva hålla i drivreglaget.
Note: Du kan inte använda hastighetslåsfunktionen när du kör maskinen bakåt.
Med hjälp av hastighetslåset vid luftning kan du fortsätta att köra maskinen med den valda hålavståndshastigheten i slutet av en luftningsvända, vända maskinen och påbörja nästa luftningsvända utan att ändra drivreglageläget.
Note: Hastighetslåsfunktionen i luftarläget är aktiv när luftarhuvudet är inställt i fördröjt sänkningsläge. Hastighetslåsfunktionen är inte tillgänglig i omedelbart sänkningsläge.
Markhastighetslåset fungerar som en farthållare för fordon.
För transport-/luftarbrytaren till TRANSPORTLäGET (Figur 74).

För hastighetslåset till På-läget.
Kör maskinen framåt med önskad markhastighet.
För hastighetslåset till det PåSLAGNA läget.
Note: Hastighetslåset gör att den aktuella markhastigheten som maskinen körs i bibehålls. Du kan släppa drivreglaget.
Gör något av följande för att inaktivera hastighetslåset:
För hastighetslåset till det AVSTäNGDA läget.
Vrid drivreglagets ovansidan bakåt för att köra maskinen bakåt.
Släpp förarnärvaron.
Tryck på stötstoppsbrytaren.
Note: Markhastighetslåset är inte tillgängligt vid luftning i omedelbart sänkningsläge.
För transport-/luftarbrytaren till LUFTARLäGET (Figur 75).

För hastighetslåset till det PåSLAGNA läget.
Kör maskinen framåt och stäng luftningsreglaget.
Note: Hastighetslåset aktiveras och luftarhuvudet sänks.
Frisläpp luftningsreglaget vid slutet av luftningsvändan.
Note: Luftarhuvudet höjs, men maskinen bibehåller markhastigheten vid avståndshastigheten för luftningshål.
Avaktivering av hastighetslåsåtgärden genom att utföra något av följande:
För hastighetslåset till det AVSTäNGDA läget.
Vrid drivreglagets ovansidan bakåt för att köra maskinen bakåt.
Släpp förarnärvaron.
Tryck på stötstoppsbrytaren.
Note: Använd transportläget när du flyttar maskinen mellan arbetsplatserna.
Note: Maskinen körs med reducerad variabel hastighet när transport-/luftarbrytaren är i LUFTARLäGET.
Starta motorn och flytta gasreglaget till det SNABBA läget. Se Starta motorn.
Sänk ned styret för att koppla ur parkeringsbromsen. SeFrigöra parkeringsbromsen.
Tryck den vänstra sidan av transport-/luftarbrytaren till TRANSPORTLäGET (Figur 76).

Note: I InfoCenter visas TRANSPORTSYMBOLEN (Figur 77).

Titta i den riktning som du har tänkt åka för att försäkra dig om att det är fritt fram.
Ta tag i det vänstra eller högra styret och förarnärvaroreglaget (Figur 76) och tryck reglaget mot handtaget.
Vrid vänster eller höger drivreglage med tummen för att köra maskinen enligt följande:
Vrid drivreglagets övre del framåt för att köra maskinen framåt.
Vrid drivreglagets ovansidan bakåt för att köra maskinen bakåt.
Note: Om drivreglaget vrids ytterligare ökar maskinens markhastighet.
Important: Tryck på stötstoppsbrytaren (Figur 78) för att omedelbart stoppa maskinen.

Om du luftar släpper du luftningsreglaget (Figur 79) för att höja luftarhuvudet. Se Höja luftarhuvudet.

Släpp drivreglaget och låt det röra sig till NEUTRALLäGET.
Släpp förarnärvaroreglaget.
Höj och spärra styret helt för att koppla in parkeringsbromsen; se Koppla in parkeringsbromsen.
Note: Maskinen kör med reducerad variabel hastighet när luftarhuvudet är höjt.
Starta motorn och flytta gasreglaget till de SNABBA läget; se Starta motorn.
Sänk ned styret för att lossa parkeringsbromsen; seFrigöra parkeringsbromsen.
Tryck den högra sidan av transport-/luftarbrytaren till LUFTARLäGET (Figur 80).

InfoCenter visar aktuellt håldjup och hålavstånd (Figur 81).

Titta i den riktning som du har tänkt åka för att försäkra dig om att det är fritt fram.
Ta tag i det vänstra eller högra styret och förarnärvaroreglaget (Figur 80) och tryck reglaget mot handtaget.
Vrid den övre delen av vänster eller höger drivreglage med tummen för att köra maskinen framåt.
Note: Under luftning körs maskinen med den hastighet som du har valt för målhålsavstånd.
När du använder markhastighetslåset och släpper luftningsreglaget utan att ändra drivreglageläget bibehåller maskinen markhastigheten, som farthållaren på en bil.
Om du kör maskinen i omvänd riktning inaktiveras farthållarens effekt och maskinen kör med variabel markhastighet.
När du höjer huvudet och svänger maskinen för en andra vända kan du öka markhastigheten genom att flytta drivreglaget längre framåt. När du för drivreglaget tillbaka till NEUTRALLäGET saktar maskinen ner till önskad markhastighet för luftarhålsavstånd.
Använd framdäcket för att utse sänkningspunkten när du luftar i fördröjt sänkningsläge.
Tryck den övre delen av sänkningsbrytaren (Figur 82) till FöRDRöJT SäNKNINGSLäGE.

Kör maskinen framåt. Se Köra maskinen i luftningsläget.
När framdäcket rullar över gränsen för luftningsområdet stänger du antingen vänster eller höger luftningsreglage (Figur 83).
Note: Luftarhuvudet körs och sänks när maskinen rör sig framåt över målområdet för luftning.

Använd framdäcket (Figur 84) för att utse upphöjningspunkten när du luftar i fördröjt sänkningsläge.

Gör något av följande för att höja upp luftarhuvudet:
När framdäcket rullar över gränsen för luftningsområdet släpper du luftningsreglaget (Figur 85).
Note: Maskinen fördröjer höjningen av luftarhuvudet tills luftarhuvudet når den punkt du identifierade med hjälp av framdäcket och frisläpper luftningsreglaget.

Kör maskinen bakåt. Se Köra maskinen i omvänd riktning.
Tryck den nedre delen av sänkningsbrytaren (Figur 86) till OMEDELBART SäNKNINGSLäGE.
Note: Lampan på brytaren tänds.

Kör maskinen framåt; se Köra maskinen i luftningsläget.
Stäng antingen vänster eller höger luftningsbrytare (Figur 87).
Note: Luftarhuvudet sänks omedelbart ned och börjar lufta.

Höj kärnhuvudet genom att utföra 1 av följande:
Släpp luftningsreglaget (Figur 88).
Note: Maskinen lyfter omedelbart upp luftarhuvudet.

Kör maskinen bakåt; se Köra maskinen i omvänd riktning.
Släpp drivreglaget och låt det röra sig till NEUTRALLäGET och släpp sedan förarnärvaroreglaget (Figur 91).

Flytta dig bort från stötstoppsbrytaren (Figur 92).
Note: En fjäder i stötstoppsbrytaren återställer brytaren.

Ta tag i det vänstra eller högra styret och förarnärvaroreglaget (Figur 93) och tryck reglaget mot handtaget.

Kör maskinen, se Köra maskinen i transportläget eller Köra maskinen i luftningsläget.
Använd linjemarkeraren för att få raka luftningsrader (Figur 94).

Maskinen använder två räknare för att registrera området som har luftats och den förskjutna jordkärnsvolymen. Använd informationen från dessa räknare för att uppskatta hur mycket toppdressning som ska appliceras på den luftade gräsytan.
Område 1-räknaren är inte PIN-kodsskyddad och är avsedd att återställas av maskinoperatören.
Note: Om operatören registrerar Område 1-räknaren för varje luftningsplats kan du uppskatta mängden matjord och leveranskraven för varje plats.
Område 2-räknaren är PIN-kodsskyddad och är avsedd att återställas av arbetsledaren eller deras utsedda person.
Det luftade området visas i måttenheterna m2 (SI) eller ft2 (engelska).
Den förskjutna luftningsvolymen visas som måttenheterna m3 (SI) eller yd3 (engelska).
När du visar räknarna för förskjuten luftningsvolym beräknar maskinen volymen med hjälp av den luftarpinnsdiameter och luftarpinnsantalet som du angav i InfoCenter.
Important: Om värdet för luftarpinnsdiametern och/eller luftarpinnsantalet är felaktigt innan du luftar platsen kommer InfoCenter att beräkna och visa felaktiga kärnvolymvärden för Område 1 och Område 2. Om diameter- och/eller kvantitetsvärdena ändras efter luftningen kommer InfoCenter att ändra de visade volymvärdena.
Parkera maskinen på en plan yta.
Kontrollera att motorn är igång eller att tändningsnyckeln är i KöRLäGET.
Gå till HUVUDMENYN i InfoCenter.
Tryck på nedknappen tills alternativet SERVICE är valt och tryck sedan på valknappen (Figur 95).

På skärmen SERVICE trycker du på nedknappen tills alternativet STATISTIK väljs, och sedan trycker du på valknappen (Figur 96).

Note: En OMRåDESRäKNARE visas på skärmen STATISTIK.

På skärmen STATISTIK trycker du på nedknappen tills alternativet OMRåDE 1 är valt (Figur 98).

Registrera luftningsområdet och jordkärnvolymen i ett arbetsblad. Se följande exempel.
|
Datum |
Bana (om flera) |
Plats |
Luftningsområde |
Kärnvolym |
Tryck på valknappen för att visa skärmen Återställ område och volym.
På SKäRMEN ÅTERSTäLL OMRåDE OCH VOLYM trycker du på valknappen.
Note: I InfoCenter visas statistikskärmen och områdes- och volymräknarna återställs till 0.
Note: Om du inte återställer Område 1-räknaren kommer områdes- och volymräknarna att fortsätta att ackumulera data.

Upprepa steg 1 till 4 efter behov.
Tryck på bakåtknappen för att återvända till huvudmenyn.
Note: Återställning av OMRåDE 2-räknarna återställer inte OMRåDE 1-räknarna.
Ange PIN-koden för att få åtkomst till låsta menyer. Se Åtkomst till låsta menyer.
På skärmen STATISTIK trycker du på nedknappen tills alternativet OMRåDE 2 är valt (Figur 100).

Registrera vid behov luftningsområdet och volymdata för jordkärnan.
Tryck på valknappen för att visa skärmen Återställ område och volym.
På skärmen ÅTERSTäLL OMRåDE OCH VOLYM trycker du på valknappen (Figur 101).
Note: I InfoCenter visas statistikskärmen och områdes- och volymräknare återställs till 0.
Note: Om du inte återställer Område 2-räknaren kommer områdes- och volymräknarna att fortsätta att ackumulera data.

Tryck på bakåtknappen för att återvända till huvudmenyn.
Montera servicespärren innan du utför underhåll på luftarhuvudet eller när du förvarar maskinen i mer än ett par dagar.
Om luftarhuvudet är upplyft och inte spärrat kan det falla ner utan förvarning och skada dig eller kringstående.
Varje gång du servar luftarhuvudet, inklusive vid byte av luftarpinnar eller gräsmatteskydd, ska du använda servicespärren för att säkra luftarhuvudet i upphöjt läge.
Höj luftarhuvudet.
Parkera maskinen på ett jämnt underlag, lyft upp styret helt och spärra det för att koppla in parkeringsbromsen, stäng av motorn, ta ut nyckeln och vänta tills alla rörliga delar har stannat.
Ta bort luftarhuvudskåpan. Se Ta bort luftarhuvudskåpan.
Ta bort hjulsprinten som fäster servicespärren på sidoplåten (Figur 102).

Vrid servicespärren bakåt och rikta in den över stödstiftet på luftarhuvudet.
Fäst spärren på stödstiftet med hjulsprinten.
Montera kåpan för luftarhuvudet vid behov. Se Montera kåpan för luftarhuvudet.
Parkera maskinen på ett jämnt underlag, lyft upp styret helt och spärra det för att koppla in parkeringsbromsen, stäng av motorn, ta ut nyckeln och vänta tills alla rörliga delar har stannat.
Ta bort luftarhuvudets kåpa om sådan finns monterad. Se Ta bort luftarhuvudskåpan.
Ta bort hjulsprinten som fäster servicespärren på stödstiftet på luftarhuvudet (Figur 103).

Vrid servicespärren nedåt och rikta in den över stödstiftet på sidoplåten.
Fäst spärren på stödstiftet med hjulsprinten.
Montera luftarhuvudskåpan; se Montera kåpan för luftarhuvudet.
Important: Byta ut en skadad luftarpinne mot en som är lika lång. Luftarpinnar med olika längder har en negativ inverkan på hålets utseende.
Luftarpinnar med olika längder har en inverkan på hålets utseende.
Bildanvisningar finns i Montera gräsmatteskydd, luftarpinnshållare och luftarpinnar.
Höj upp luftarhuvudet och lås det i rätt läge med servicespärren.
Parkera maskinen på ett jämnt underlag, lyft upp styret helt och spärra det för att koppla in parkeringsbromsen, stäng av motorn, ta ut nyckeln och vänta tills alla rörliga delar har stannat.
Lossa på luftarpinnshållarens skruvar och ta bort de gamla luftarpinnarna.
Sätt i de nya luftarpinnarna i luftarpinnshållaren.
Dra åt alla skruvar på luftarpinnshållaren till 40,6 N·m.
Upprepa proceduren på de återstående armarna vid behov.
Använd återkallelseprogrammet för markhöjd för att snabbt kontrollera den aktuella markhöjden för luftarpinnarna.
Programmet flyttar huvudet ner till den tidigare kalibrerade positionen. När huvudet är på plats kan du inspektera avståndet mellan luftarpinnarnas spetsar och marken.
Se till att koringhuvudet är upphöjt.
Parkera maskinen på ett jämnt underlag, lyft upp styret helt och spärra det för att koppla in parkeringsbromsen, stäng av motorn, ta ut nyckeln och vänta tills alla rörliga delar har stannat.
Ta bort luftarhuvudskåpan; se Ta bort luftarhuvudskåpan.
Vrid luftarhuvudets remskiva (Figur 104) tills de yttersta luftarpinnarna är i linje närmast marken.
Important: Håll fingrarna borta från området där remmen går ihop och lämnar remskivan så att du inte klämmer ihop fingrarna.


Montera luftarhuvudskåpan; se Montera kåpan för luftarhuvudet.
Ange PIN-koden för att få åtkomst till låsta menyer. Se Åtkomst till låsta menyer.
Gå till HUVUDMENYN i InfoCenter.
Tryck på nedknappen tills alternativet SERVICE är valt och tryck sedan på valknappen (Figur 105).

Tryck på nedknappen i InfoCenter för att gå till alternativet MARKHöJD och tryck sedan på valknappen.
Tryck på nedknappen i InfoCenter för att gå till alternativet ÅTERKALLA KALIBRERING och tryck sedan på valknappen.
På skärmen Återkalla markhöjd (Figur 106) trycker du på valknappen.

På skärmen Huvud sänks ned (Figur 107) trycker du på valknappen.

Note: Meddelandet Sänker huvud visas och luftarhuvudet sänks.
Kontrollera de yttersta luftarpinnarna för att se om de uppvisar följande tecken på misslyckad kalibrering.
Om luftarpinnarna börjar tränga ner i marken – tryck på valknappen (Figur 108) och kör programmet INLäRNING AV MARKHöJD. Se Köra programmet för inlärning av markhöjd.
Om luftarpinnarna är ovanför marken – tryck på valknappen och kör programmet INLäRNING AV MARKHöJD. Se Köra programmet för inlärning av markhöjd.

Om de yttersta luftarpinnarna lätt vidrör marken trycker du på valknappen för att höja luftarhuvudet.
Maskinen överför vikt från traktorenheten till luftarhuvudet, för att hjälpa till att bevara håldjupet i olika jordstrukturer. Om jorden är så fast att fullständigt luftningsdjup inte kan uppnås, kan luftarhuvudet behöva ytterligare viktöverföring. Maskinen är fabriksinställd på normal viktöverföring. Gör på följande sätt för att öka det nedåtgående trycket på viktöverföringsfjädrarna:
Plötslig frigöring av fjäderplattorna kan orsaka personskador.
Ta hjälp av en annan person när du ska justera viktöverföringsfjädern.
Parkera maskinen på ett jämnt underlag, lyft upp styret helt och spärra det för att koppla in parkeringsbromsen, stäng av motorn, ta ut nyckeln och vänta tills alla rörliga delar har stannat.
Lossa den främre flänslåsmuttern och vagnsskruven som fäster fjäderspänningsplattan på stödfästet på luftarhuvudet (Figur 109).
Note: Ta inte bort låsmuttern och vagnsskruven.

Ta bort den bakre flänslåsmuttern som fäster fjäderfästena på stödfästet.
Note: Ta inte bort vagnsskruven.
För in ett spärrskaft på ½ tum i det fyrkantiga hålet i fjäderspänningsplattan (Figur 110).

Vrid spärrskaftet för att minska spänningen på den bakre vagnsskruven och ta bort den från det övre hålet.
Note: Det övre hålet är det normala viktöverföringsläget.
Vrid fjäderspänningsplattan tills den är i linje med det nedre hålet i stödfästet. För in vagnsskruven genom hålen i plattan och fästet.
Note: Det nedre hålet är det högre viktöverföringsläget. Om du roterar fjäderplattorna uppåt, ökar viktöverföringen.
Fäst vagnsskruven på stödfästet och fjäderspänningsplattan med flänslåsmuttern.
Dra åt låsmuttrarna till 37–45 Nm.
För optimal hålkvalitet och maskinprestanda ska du lufta med hjälp av det automatiska markföljningssystemet.
Använd endast manuell markföljning om sensorn för luftarpinnsläget är skadad.
Parkera maskinen på ett jämnt underlag, lyft upp styret helt och spärra det för att koppla in parkeringsbromsen, stäng av motorn, ta ut nyckeln och vänta tills alla rörliga delar har stannat.
Ta bort luftarhuvudskåpan; se Ta bort luftarhuvudskåpan.
Ta bort hjulsprinten som fäster djupstoppssprinten och distansbrickorna på stoppfästet (Figur 111 och Figur 112).


Placera distansbrickorna ovanför eller nedanför stoppfästet för att justera luftningsdjupet.
Med alla distansbrickor på ovansidan av stoppfästet blir djupinställningen 10,7 cm.
Tjocka distansbrickor ger steg om 19 mm.
Tunna distansbrickor ger steg om 9,5 mm.
Note: Du måste montera alla distansbrickor, oavsett läge.
Montera djupstoppssprinten och distansbrickorna på stoppfästet med hjulsprinten.
Upprepa steg 3–5 på maskinens andra sida.
Important: Kontrollera att distansbrickornas placering ovanför och under de vänstra och högra stoppfästena är identiska.
Montera luftarhuvudskåpan; se Montera kåpan för luftarhuvudet.
Note: Om du luftar i manuellt läge måste du ställa in InfoCenter för manuellt markföljningsläge varje gång du startar motorn.
Vrid tändningsnyckeln till KöRLäGET.
Note: Starta inte motorn.
Ange PIN-koden för att få åtkomst till låsta menyer. Se Åtkomst till låsta menyer.
Gå till HUVUDMENYN i InfoCenter.
Tryck på nedknappen tills alternativet MASKININSTäLLNINGAR är valt och tryck sedan på valknappen.
Tryck på nedknappen tills alternativet MANUELL LUFTNING är valt och tryck sedan på valknappen (Figur 113) för att ställa in manuell luftning som På.

Starta motorn.
Lufta med Lufta med fördröjt sänkningsläge eller Lufta med omedelbart sänkningsläge.
Note: När du stänger av motorn och startar den kommer maskinen som standard att använda det automatiska markföljningsläget.
Parkera maskinen på ett jämnt underlag, lyft upp styret helt och spärra det för att koppla in parkeringsbromsen, stäng av motorn, ta ut nyckeln och vänta tills alla rörliga delar har stannat.
Ta bort luftarhuvudskåpan; se Ta bort luftarhuvudskåpan.
Ta bort hjulsprinten som fäster djupstoppssprinten och distansbrickorna på stoppfästet (Figur 114).


Placera alla distansbrickor ovanför stoppfästet.
Montera djupstoppssprinten och distanserna på stoppfästet med lynchstiftet.
Note: Du måste fälla upp alla distansbrickor.
Upprepa steg 3–5 på maskinens andra sida.
Montera luftarhuvudskåpan; se Montera kåpan för luftarhuvudet.
Med viktöverföringen justerad går det att lufta gräsmattor som är tillräckligt hårda för att maskinens bakdäck ska lyfta från marken. Detta kan leda till oregelbundna hålavstånd.
Om bakdäcken lyfter kan du placera en extra motviktsplatta på den bakre ramens axelrör. Varje motviktsplatta lägger till 28,5 kg på maskinen. Du kan lägga till upp till två plattor. Se maskinens reservdelskatalog för motvikts- och fästelementsartikelnummer.
Nödvändiga verktyg: 15 mm skift- eller hylsnyckel
Important: Kör inte motorn med överströmningsventilen öppen i mer än 10–15 sekunder.
Parkera maskinen på en plan yta om möjligt.
Lyft upp styret helt och spärra det för att koppla in parkeringsbromsen, stäng av motorn, ta ut nyckeln och vänta tills alla rörliga delar har stannat.
Ta bort de två flänsskruvarna som fäster förvaringsbehållarna på behållarfästet (Figur 115).

Leta reda på kåpan för överströmningsventilskruven mellan motorn och hydraulpumpen enligt Figur 116).

Använd en 15 mm skift- eller hylsnyckel för att vrida överströmningsventilen moturs 1 ½ varv.
Important: Vrid inte överströmningsventilen mer än 1 ½ varv.
Om du bogserar i maskinen ska du dra i den främre fästöglan (Figur 117).
Important: Skjut/dra inte maskinen längre än 30,5 m eller fortare än 1,6 km/h eftersom hydrauliken kan skadas.

Sänk ned styret för att koppla ur parkeringsbromsen innan du skjuter/drar maskinen.
Important: Du måste sänka ned styret för att koppla ur parkeringsbromsen innan du flyttar maskinen.
Important: Du måste stänga överströmningsventilen för att köra maskinen. Använd inte drivsystemet när överströmningsventilen är öppen.
Hitta överströmningsventilskruven mellan motorn och hydraulpumpen.
Note: Placeringen för överströmningsventilskruvens kåpa visas i Figur 118.

Använd en 15 mm skift- eller hylsnyckel för att vrida överströmningsventilen medurs 1 ½ varv.
Note: Dra inte åt överströmningsskruven för hårt.
Använd en 15 mm skiftnyckel för att montera överströmningsskruvens kåpa på hydraulpumpen.
Montera förvaringsbehållaren på behållarfästet med de två flänsskruvarna.
Om motorn stannar medan luftarhuvudet är nedsänkt och luftarpinnarna är i jorden och du inte kan starta motorn ska du utföra Lyfta luftarhuvudet med startmotorn eller Ta bort luftarpinnshållarna från stamparmarna.
Vrid nyckeln till KöRLäGET.
Gå till HUVUDMENYN i InfoCenter.
Tryck på nedknappen tills alternativet SERVICE är valt och tryck sedan på valknappen (Figur 119).

Tryck på nedknappen tills alternativet SERVICE, LYFT är valt och tryck sedan på valknappen (Figur 120).
Note: Servicelyftsalternativet ändras till På.

Vrid nyckeln till STARTLäGET och dra runt startmotorn i 10 sekunder.
Important: Låt inte startmotorn gå i mer än 10 sekunder åt gången. Om luftarpinnarna inte har lämnat marken ska en 30 sekunder lång nedkylningsperiod tillåtas mellan försöken. Om man inte följer dessa anvisningar kan startmotorn överhettas.
Note: Luftarhuvudet lyfter upp luftarpinnarna ur marken.
Important: Luftarpinnarna måste lämna marken helt innan du flyttar maskinen.
Öppna överströmningsventilen. Se Förbikoppla hydraulpumpen och flytta maskinen.
Skjut/dra maskinen till en närliggande plats för att fortsätta servicen eller för att lasta den på en släpvagn.
Important: Skjut/dra inte maskinen längre än 30,5 m eller fortare än 1,6 km/h eftersom hydrauliken kan skadas.
Avlägsna luftarpinnshållarna från stamparmarna.
Öppna överströmningsventilen, se Förbikoppla hydraulpumpen och flytta maskinen.
Skjut/dra maskinen till en närliggande plats för att fortsätta servicen eller för att lasta den på en släpvagn.
Important: Skjut/dra inte maskinen längre än 30,5 m eller fortare än 1,6 km/h eftersom hydrauliken kan skadas.
Sväng försiktigt och gradvis när du använder luftaren. Gör aldrig tvära eller snabba svängar när du använder luftarhuvudet. Planera var du ska använda luftaren innan du sänker ned luftarhuvudet.
Var alltid medveten om vad som finns i färdriktningen. Undvik att lufta bredvid byggnader, staket och annan utrustning.
Titta bakåt för att försäkra dig om att maskinen fungerar som den ska och att du är i linje med föregående bana.
Ta alltid bort skadade maskindelar från området, som t.ex. avbrutna luftarpinnar etc. för att förhindra att de plockas upp av gräsklippare eller annan gräsmattsutrustning.
Byt ut avbrutna luftarpinnar och inspektera och rätta till skador på dem som fortfarande går att använda. Reparera alla andra maskinskador innan du återupptar arbetet.
Om du inte använder maskinens fulla bredd vid luftning kan du ta bort vissa luftarpinnar, men låt pinnhuvudena sitta kvar på stamparmarna så att maskinen har rätt balans och fungerar som den ska.
Maskinen luftar djupare än de flesta andra greenluftare. På upphöjda greener och teer av jord eller annat material, kan det större djupet och de längre ihåliga luftarpinnarna få problem med att driva ut hela hålpipan. Detta beror på att vanlig jord är hård och fastnar i änden på luftarpinnen. Sidoutdrivande green-/teeluftarpinnar från tillverkaren håller sig renare och minskar den tid som går åt till att rengöra luftarpinnarna. Detta tillstånd försvinner med regelbunden luftning och ytlagersprogram.
Den här maskinen är utformad för att ge så mycket djup som möjligt, men under vissa gräsförhållanden kan gräsmatteskydden och/eller gräsmatteskyddens skruvar ge upphov till skador vid maximal djupinställning. Om gräsmatteskyddens skruvar släpar längs med eller vidrör gräset vid luftning med det djupaste tillåtna djupet (med valfri längd på luftarpinnarna) efter att kalibreringen av luftarpinnarnas markhöjd gjorts, ska du reducera djupet med ett steg (0,6 cm).
Om marken är för fast för att önskat luftningsdjup ska kunna uppnås, kan det hända att luftarhuvudet börjar ”dunka” rytmiskt. Detta beror på den hårda ytan som luftarpinnarna försöker tränga igenom. Korrigera detta tillstånd genom att prova följande:
Lufta inte om marken är för hård eller torr. Bäst resultat av luftning får du efter regn eller dagen efter att gräset har vattnats.
Om du försöker med ett huvud med fyra luftarpinnar, kan du byta till ett med tre luftarpinnar, eller minska antalet luftarpinnar på varje stamparm. Försök bibehålla en symmetrisk luftarpinnskonfiguration, så att stamparmarna laddas jämnt.
Om marken är hårt packad ska du minska luftarens genomträngning (djupinställning), rengöra hålpluggarna, vattna gräsmattan och lufta igen med en djupare genomträngning.
Luftning av jordtyper som har lagts ovanpå hårda underjordar (t.ex. jord eller sand som har placerats över stenig jord) kan ge en oönskad hålkvalitet. Detta inträffar när luftningsdjupet är större än det pålagda jordlagret, och när jorden under är för hård att tränga igenom. När luftarpinnarna får kontakt med den hårdare jorden undertill kan luftaren lyfta, vilket gör att hålens övre del blir utdragna. Minska luftningsdjupet så att du undviker genomträngning till den hårdare underjorden.
Kvaliteten på ingångshålet försämras om hålet är avlångt (dragning framåt).
Om hålets ingångskvalitet försämras ska du kontrollera kalibreringen av luftarpinnarnas markhöjd, se Kontrollera luftarpinnarnas markhöjdskalibrering.
På grund av den dubbla radutformningen måste hålavståndet vara 6,3 cm för luftarhuvudet med miniluftarpinnar. Hastigheten är mycket viktig för att bibehålla utseendet med ett hålavstånd på 3,2 cm. Om du behöver ändra hålavståndet, se Ställa in hålavståndet.
Med miniluftarhuvudet, eller vid användning av större solida luftarpinnar, är gräsmattans rotstruktur viktig för att undvika skador på gräsmattan till följd av att rotsystemet har slitits upp. Om de två mittarmarna börjar lyfta upp gräsmattan eller om stora skador på rotområdet uppstår ska du göra följande:
Öka hålavståndet.
Minska luftarpinnsstorleken.
Minska luftarpinnsdjupet
Ta bort några av luftarpinnarna.
Lyftrörelsen när en solid luftarpinne dras upp ur gräsmattan kan skada gräsmattan. Detta lyft kan riva sönder rotområdet om luftarpinnarnas densitet eller diameter är för stor.
Vid luftning med längre, solida luftarpinnar (dvs. â…œ x 4 tum) eller luftarpinnar av nåltyp, kan det hända att hålens främre del förses med öppningar eller spår. Prova följande för att återfå perfekt hålkvalitet för konfigurationen.
Kalibrera luftarpinnarnas markhöjd. Se Kalibrera luftarpinnarnas markhöjd.
Sänk motorns höga tomgångsvarvtal till 2 800–2 900 varv/min.
Note: Hålavståndet påverkas inte, eftersom drivningen och luftarhuvudets hastighet ökar och minskar tillsammans med motorns varvtal.
Justera Roto-Link-motvikten om ett sänkt motorvarvtal förbättrar hålkvaliteten för de längre solida luftarpinnarna eller luftarpinnarna av nåltyp.
Note: Fabriksinställningen fungerar bäst under de flesta förhållanden.
Om hålens framsida är avlångt eller tovigt hjälper en styvare Roto-Link-inställning till att motverka hålförskjutning och förbättra hålkvaliteten.
Om hålens baksida är avlångt eller tovigt bidrar en mjukare Roto-Link-inställning till att förbättra hålets kvalitet.
Note: Du måste ändra Roto-Link-motviktsanordningens placering om du ändrar tillbaka till en hålpluggsluftarpinne eller till någon av miniluftarpinnarna.
Parkera maskinen på ett jämnt underlag, lyft upp styret helt och spärra det för att koppla in parkeringsbromsen, stäng av motorn, ta ut nyckeln och vänta tills alla rörliga delar har stannat.
Ta bort luftarhuvudskåpan; se Ta bort luftarhuvudskåpan.
Fäst luftarhuvudet med servicespärren. Se Stötta upp luftarhuvudet med servicespärren.
Note: Fabriken placerar en Roto-Link-distansbricka på Roto-Link-motviktsaxeln och en distansbricka är i uppfällt läge för varje stampararm.
Note: Genom att justera Roto-Link-motvikten kan du köra maskinen med fullt motorvarvtal (3 400 varv/min), men du kan behöva lufta med långsammare motorvarvtal för att förbättra hålets kvalitet.
Ta bort de två flänsmuttrarna som fäster Roto-Link-motviktsaxeln på maskinens bakre ram (Figur 121).

Ta bort distansbrickan (om den är uppfälld) och de härdade ovala brickorna.
Vrid motviktslänken och motviktsaxeln nedåt (Figur 122).

Positionera Roto-Link-distansbrickan för att korrigera följande hålutbuktningsförhållanden:
Note: Varje distansbricka motsvarar 12,7 mm. Den nedre stötfångardistansbrickan måste sitta kvar på motviktsaxeln.
Om hålens framsidor är avlånga eller toviga – placera distansbrickorna ovanför den bakre ramen i det uppfällda läget.
Om hålens baksidor är avlånga eller toviga – placera båda distansbrickorna ovanför den bakre ramen på vardera sidan av Roto-Link-motviktsaxeln.
Vrid motviktslänken och motviktsaxeln uppåt och för in tapparna genom hålen i maskinens bakre ram.
Fäst motviktsaxeln och distansbrickorna på den bakre ramen med de härdade ovala brickorna och låsmuttrarna (Figur 123).

Dra åt flänslåsmuttrarna till 47–61 N·m.
Upprepa steg 1 till 7 för de nästa två stampararmarna.
Fäll upp servicespärren. Se Förvara servicespärren.
Montera luftarhuvudskåpan; se Montera kåpan för luftarhuvudet.
Utför kalibreringen av luftarpinnarnas markhöjd. Se Kalibrera luftarpinnarnas markhöjd.
Kör maskinen på ett testområde och lufta gräsmattan för att jämföra hålkvaliteten.
Om hålkvaliteten förbättras upprepar du stegen i Förbereda maskinen, Justera Roto-Link-motvikterna och Montera kåpan för luftarhuvudet för att justera Roto-Link-motvikten på de andra tre stampararmarna.
Parkera maskinen på ett jämnt underlag, lyft upp styret helt och spärra det för att koppla in parkeringsbromsen, stäng av motorn, ta ut nyckeln och vänta tills alla rörliga delar har stannat.
Sänk ned luftarhuvudet eller fäst det med servicespärren när du inte kör maskinen.
Håll alla maskindelar i gott bruksskick och samtliga beslag åtdragna.
Byt ut slitna och skadade dekaler, eller ersätt de som saknas.
| Underhållsintervall | Underhållsförfarande |
|---|---|
| Varje användning eller dagligen |
|
Important: Använd inte bräckt eller återvunnet vatten vid rengöring av maskinen.
Important: Högtryckstvätta inte maskinen.
Parkera maskinen på ett jämnt underlag, lyft upp styret helt och spärra det för att koppla in parkeringsbromsen, stäng av motorn, ta ut nyckeln och vänta tills alla rörliga delar har stannat.
Tvätta maskinen noga.
Använd en trädgårdsslang utan munstycke för att inte tvinga vatten förbi tätningarna och kontaminera lagersmörjfettet.
Använd en borste för att ta bort material som har bildat beläggningar.
Använd ett milt rengöringsmedel för att rengöra panelerna.
Panelernas blanka finish bibehålls om man applicerar ett lager bilvax med jämna mellanrum efter att maskinen rengjorts.
Leta efter maskinskador, oljeläckage och slitage på komponenter och luftarpinnar.
Ta bort luftarpinnarna, rengör dem och olja in dem. Spreja ett tunt lager olja på luftarhuvudets lager (vev- och motviktslänkar).
Important: Fäst luftarhuvudet med servicespärren om maskinen ska stå i förvar längre än ett par dagar.
Det finns fästöglor fram och bak på maskinen (Figur 124, Figur 125 och Figur 126).
Note: Använd DOT-godkända spännband med korrekt märkvärde när maskinen ska fästas. Se maskinens vikt i Specifikationer.



Det är farligt att köra maskinen på gator eller vägar utan blinkers, strålkastare och reflexer eller utan en skylt med ”långsamgående fordon”, och det kan orsaka olyckor med personskador som följd.
Kör aldrig maskinen på allmän väg.
Important: Använd ramper i fullbredd när du lastar maskinen på en släpvagn eller lastbil.
Lasta maskinen på släpvagnen eller lastbilen (luftarhuvudet framåt – föredraget).
Lyft upp styret helt och spärra det för att koppla in parkeringsbromsen, stäng av motorn, ta ut nyckeln och vänta tills alla rörliga delar har stannat.
Fäst luftarhuvudet med servicespärren. Se Stötta upp luftarhuvudet med servicespärren.
Stäng bränslekranen. Se (Bränslekran).
Fäst maskinen vid fästpunkterna på släpvagnen eller lastbilen med kablar, kedjor eller remmar. Se Fästpunkter.
| Vikt | 745 kg eller 829 kg med två tillvalsvikter |
| Bredd | Minst 130 cm |
| Längd | Minst 267 cm |
| Rampens lutningsvinkel | 3,5/12 lutning (16°) max |
| Lastningsriktning | Luftarhuvudet framåt (rekommenderas) |
| Fordonsbogserkapacitet | Större än släpvagnens totalvikt |
Note: Hämta en kostnadsfri kopia av elschemat eller hydraulschemat genom att gå till www.Toro.com där du klickar på länken Manuals och söker efter din maskin.
Note: Mer information om underhållsrutiner finns i bruksanvisningen till motorn.
Note: Vänster och höger sida på maskinen är lika med förarens vänstra respektive högra sida vid normal körning.
Parkera maskinen på ett jämnt underlag, lyft upp styret helt och spärra det för att koppla in parkeringsbromsen, stäng av motorn, ta ut nyckeln och vänta tills alla rörliga delar har stannat. Låt maskinen svalna innan du justerar, rengör, förvarar eller utför underhåll på den.
Utför endast det underhåll som beskrivs i den här bruksanvisningen. Vid större reparationer eller om du skulle behöva assistans kontaktar du en auktoriserad Toro-återförsäljare.
Se till att maskinen är säker att använda genom att dra åt alla muttrar, bultar och skruvar.
Utför om möjligt inget underhåll på maskinen medan motorn är igång. Håll dig på avstånd från rörliga delar.
Lätta försiktigt på trycket i komponenter som lagrar energi.
Kontrollera luftarpinnarnas monteringsskruvar dagligen för att se till att de är åtdragna enligt specifikationerna.
Se till att alla skydd monteras och att motorhuven stängs och säkras efter underhåll eller justering av maskinen.
| Underhållsintervall | Underhållsförfarande |
|---|---|
| Efter de första 8 timmarna |
|
| Efter de första 50 timmarna |
|
| Varje användning eller dagligen |
|
| Var 25:e timme |
|
| Var 50:e timme |
|
| Var 100:e timme |
|
| Var 200:e timme |
|
| Var 250:e timme |
|
| Var 400:e timme |
|
| Var 500:e timme |
|
| Före förvaring |
|
| Årligen |
|
Important: Mer information om underhållsrutiner finns i bruksanvisningen till motorn.
Kopiera sidan och använd den regelbundet.
| Kontrollpunkt | Vecka: | ||||||
|---|---|---|---|---|---|---|---|
| Mån. | Tis. | Ons. | Tors. | Fre. | Lör. | Sön. | |
| Kontrollera säkerhetsbrytarnas funktion. | |||||||
| Kontrollera parkeringsbromsens funktion. | |||||||
| Kontrollera oljenivån i motorn. | |||||||
| Kontrollera bränslenivån. | |||||||
| Kontrollera luftrenaren. | |||||||
| Kontrollera om det finns skräp i motorn. | |||||||
| Kontrollera ovanliga motorljud. | |||||||
| Kontrollera ovanliga driftljud. | |||||||
| Kontrollera hydraulvätskenivån. | |||||||
| Kontrollera att det inte finns skador på hydraulslangarna. | |||||||
| Undersök om systemet har oljeläckor. | |||||||
| Kontrollera instrumentens funktion. | |||||||
| Kontrollera luftarpinnarnas skick. | |||||||
| Bättra på skadad lack. | |||||||
Important: Mer information om underhållsrutiner finns i motorns bruksanvisning.
| Kontrollen utförd av: | ||
| Artikel | Datum | Information |
| 1 | ||
| 2 | ||
| 3 | ||
| 4 | ||
| 5 | ||
| 6 | ||
| 7 | ||
| 8 | ||
Om du lämnar nyckeln i tändningslåset kan någon råka starta motorn av misstag och skada dig eller någon annan person allvarligt.
Parkera maskinen på ett jämnt underlag, lyft upp styret helt och spärra det för att koppla in parkeringsbromsen, stäng av motorn, ta ut nyckeln och vänta tills alla rörliga delar har stannat.
Important: Fästelementen på maskinens skyddsplåtar är konstruerade så att de ska sitta kvar på plåten efter att de har lossats. Lossa alla fästdon på varje plåt något så att plåten sitter löst, men inte är helt loss. Gå sedan tillbaka och lossa dem helt så att plåten kan tas bort. Då lossar du inte skruvarna från hållarna av misstag.
Parkera maskinen på en plan yta.
Höj och spärra styret helt för att koppla in parkeringsbromsen; se Koppla in parkeringsbromsen.
Stäng av motorn, ta ut nyckeln och vänta tills alla rörliga delar har stannat innan du lämnar maskinen. Se Stänga av motorn.
Låt maskinen svalna.
Om maskinen inte är korrekt understödd av block eller pallbockar, kan maskinen flytta sig eller falla, vilket kan leda till personskador.
Använd rätt sorts block, hissverksanordningar och domkrafter när du ska byta redskap, däck eller utföra annan service.
Se till att maskinen är parkerad på ett stadigt och plant underlag, som t.ex. ett betonggolv.
Ta bort redskap som kan påverka att maskinen lyfts på ett säkert och korrekt sätt, innan du börjar höja upp maskinen.
Blockera alltid hjulen. Använd pallbockar eller solida träblock för att stödja den upplyfta maskinen.
Förbered maskinen för underhåll. Se Förbereda maskinen för underhåll.
Blockera bakhjulen för att förhindra att maskinen kommer i rörelse.
Important: För att undvika hjulmotorskador ska du inte använda framhjulsmotorn som domkraftspunkt.
Placera domkraften på ett säkert sätt under den främre hjulstödsarmen (Figur 127).

Höj upp den främre delen av maskinen från marken.
Placera domkrafterna eller träblocken under ramens framdel, för att stödja maskinen.
Förbered maskinen för underhåll. Se Förbereda maskinen för underhåll.
Blockera framhjulet, för att förhindra att maskinen kommer i rörelse.
Important: För att undvika hjulmotorskador ska du inte använda bakhjulsmotorn som domkraftspunkt.
Placera domkraften på ett säkert sätt under ramplattan, precis innanför bakhjulet (Figur 128).

Note: Använd om möjligt en lyftanordning för att lyfta maskinens bakre del. Använd öglorna på luftarhuvudets lagerhus för att fästa upphissningsanordningen (Figur 129).

Höj (eller lyft) upp den bakre delen av maskinen från marken.
Placera domkrafterna eller träblocken under ramen, för att stödja maskinen.
Rikta in remkåpans monteringsfäste med maskinramens stödfäste för kåpan (Figur 133).

Sänk ner remkåpan (Figur 134).

Sänk ner spärrhandtaget helt för att fästa kåpan (Figur 135).

Om maskinen har en spärrsnodd för CE-remkåpan ska du föra in snoddskruven i hålet på kåpspärren och dra åt skruven (Figur 136).


Om maskinen har CE-spärrlås lossar du skruven för fästplattan tills fästplattan passerar spåret på sidan av luftarhuvudskåpan (Figur 138).

Vrid låsplattan förbi spärren (Figur 138).
Upprepa 1 och 2 på den andra sidan av kåpan.
Lossa luftarhuvudskåpan på de fyra spärrplatserna (Figur 137 och Figur 139).

Lyft av luftarhuvudskåpan från maskinen (Figur 140).

Rikta in luftarhuvudskåpan mot maskinen enligt Figur 141.

Spärra luftarhuvudskåpan på de fyra spärrplatserna (Figur 142).
Om maskinen har CE-spärrlås vrider du fästplattan tills den är i linje med spåret på sidan av luftarhuvudskåpan (Figur 143).



Dra åt skruven för fästplattan (Figur 143).
Upprepa steg 3 och 4 på den andra sidan av kåpan.
| Underhållsintervall | Underhållsförfarande |
|---|---|
| Var 500:e timme |
|
| Årligen |
|
Maskinen har inga smörjnipplar som måste smörjas.
Important: Lager går sällan sönder till följd av defekter vad gäller material eller tillverkning. Den vanligaste anledningen till att de går sönder är att fukt och kontaminering tar sig in genom de skyddande tätningarna. Lager som är smörjda behöver underhållas regelbundet för att lagerområdet ska rensas från skadligt skräp. Tätade lager ska inledningsvis fyllas på med ett specialfett och ha en robust integrerad tätning som gör att kontaminering och fukt inte kan tränga in i de rörliga delarna.
De tätade lagren behöver inte smörjas och kräver inget korttidsunderhåll. Detta minimerar den rutinservice som krävs, och minskar risken för gräsmatteskador till följd av fettkontaminering. Dessa tätade lagerenheter har god prestanda och lång livslängd vid normal användning, men periodiska inspektioner av lagerskicket och tätningsintegriteten bör utföras för att undvika driftsstopp. Kontrollera lagren varje säsong och byt ut dem om de är skadade eller slitna. Lagren ska fungera jämnt, och inte uppvisa några avvikande tecken som hög värme, oljud, löshet eller rostavfällningar.
På grund av de driftförhållanden som dessa lager-/tätningsenheter är utsatta för (d.v.s. sand, gräskemikalier, vatten, stötar etc.) anses de vara slitdelar. Lager som går sönder av andra orsaker än defekter relaterade till material eller tillverkning, täcks normalt inte av garantin.
Note: Lagren kan påverkas negativt vid användning av olämpliga tvättprocedurer. Tvätta inte maskinen när den fortfarande är varm, och undvik att rikta högtrycks- eller högvolymsstrålar mot lagren.
Det är vanligt att fett sipprar ut ur lagertätningarna på nya maskiner. Detta fett svartnar på grund av smutsansamling och inte på grund av alltför höga temperaturer. Det är en god vana att torka bort det överflödiga fettet från tätningarna efter de första åtta arbetstimmarna. Det kan se ut som om området kring tätningens inre kanter alltid är fuktigt. Detta har ingen negativ inverkan på lagrets livslängd och håller dess inre kanter smorda.
Stäng av motorn innan du kontrollerar oljenivån eller fyller på olja i vevhuset.
Ändra inte varvtalshållarens inställning och övervarva inte motorn.
| Underhållsintervall | Underhållsförfarande |
|---|---|
| Var 25:e timme |
|
| Var 100:e timme |
|
Förbered maskinen för underhåll. Se Förbereda maskinen för underhåll.
Gör rent omkring luftrenaren så att inte smuts faller ned i motorn och orsakar skador.
Öppna ratten och ta bort luftrenarkåpan (Figur 144).

Skjut försiktigt bort skumförfiltret från pappersinsatsen (Figur 144).
Skruva bort kåpans mutter och ta bort kåpan, distansbrickan och pappersfiltret (Figur 144).
Important: Byt ut skumplastinsatsen om den är trasig eller sliten.
Tvätta skumförfiltret med flytande tvål och varmt vatten. Skölj filtret noga när du har gjort rent det.
Torka förfiltret genom att krama det i en ren trasa (vrid inte).
Stryk på 3–6 cl olja på förfiltret (Figur 145).

Krama förfiltret så att oljan fördelas.
Inspektera pappersinsatsen och kontrollera om det finns några sprickor, en oljebeläggning eller skador på gummitätningen (Figur 146).

Important: Rengör aldrig pappersinsatsen. Byt ut pappersinsatsen om den är smutsig eller skadad.
Important: Kör alltid motorn med både skumplast- och pappersinsatserna monterade för att undvika motorskador.
Skjut försiktigt dit skumförfiltret på pappersfiltret (Figur 147).

Placera luftrenaren på luftrenarbasen.
Montera kåpan, distansbrickan och täckmuttern.
Dra åt muttern till 11 Nm.
Sätt tillbaka luftrenarkåpan och dra åt den med ratten.
Oljetyp: Högkvalitativ, renande motorolja (API-klassificering SJ eller högre)
Oljeviskositet: Se tabellen som följer nedan:

| Underhållsintervall | Underhållsförfarande |
|---|---|
| Varje användning eller dagligen |
|
Motorn levereras från fabriken med olja i vevhuset. Oljenivån måste dock kontrolleras innan och efter att motorn startas för första gången.
Använd motorolja av hög kvalitet i enlighet med anvisningarna i Motoroljespecifikationer.
Important: Fyll inte på med för mycket olja i vevhuset.Kör inte motorn med motoroljenivån under den låga markeringen.
Note: Det är bäst att kontrollera motoroljan när motorn är kall, innan den har startats för dagen. Låt oljan rinna tillbaka ned till sumpen i minst 10 minuter innan du kontrollerar den, om motorn redan har varit igång.
Förbered maskinen för underhåll. Se Förbereda maskinen för underhåll.
Låt motorn svalna.
Rengör runt oljepåfyllningslocket och oljestickan (Figur 149).

Ta ur oljestickan, torka av den och sätt tillbaka den igen.
Ta ur oljestickan och kontrollera oljenivån.
Motoroljenivån ska vara mellan märkena ”F” (full) och ”L” (låg) på oljestickan.
Ta bort oljepåfyllningslocket och fyll på angiven olja tills nivån når upp till markeringen ”F” (full) på oljestickan om oljenivån inte når upp till markeringen ”L” (låg).
Sätt tillbaka oljepåfyllningslocket och oljestickan.
| Underhållsintervall | Underhållsförfarande |
|---|---|
| Efter de första 50 timmarna |
|
| Var 100:e timme |
|
Vevhusvolym: cirka 1,9 liter med filter.
Starta motorn och låt den gå i fem minuter. Då värms oljan upp så att den lättare rinner ut.
Parkera maskinen så att tömningssidan är något lägre än den motsatta sidan, så att tanken töms helt. Stäng av motorn, höj upp styret helt och spärra det för att koppla in parkeringsbromsen och ta ut nyckeln.
Placera ett kärl under oljeavtappningspluggen och ta bort pluggen (Figur 150).
Note: Låt oljan rinna ut helt.

Skruva fast oljeavtappningspluggen på motorn och dra åt pluggen.
Note: Kassera spilloljan på en godkänd återvinningsstation.
Ställ ett grunt kärl under oljefiltret och ta bort filtret (Figur 150).
Note: Kassera det använda oljefiltret på en godkänd återvinningsstation.
Torka ren filteradapterns yta.
Fyll det nya oljefiltret till längst ner på gängorna med angiven olja.
Låt filtret absorbera oljan i två minuter och häll sedan ut överflödig olja.
Stryk på ett tunt lager ny olja på filtrets packning.
Skruva fast oljefiltret på filteradaptern tills packningen vidrör filteradaptern (Figur 150) och dra sedan åt filtret ytterligare ½ varv.

Gör rent området kring oljepåfyllningslocket och oljestickan (Figur 152).

Ta loss oljepåfyllningslocket och fyll långsamt på med cirka 80 % av den angivna oljemängden genom ventilkåpan.
Tillsätt långsamt ytterligare olja så att nivån når upp till F-markeringen (fullt) på oljestickan. Se Motoroljespecifikationer och Kontrollera oljenivån i motorn.
Important: Fyll inte på med för mycket olja i vevhuset.
Sätt tillbaka oljepåfyllningslocket och oljestickan.
| Underhållsintervall | Underhållsförfarande |
|---|---|
| Var 200:e timme |
|
Förbered maskinen för underhåll. Se Förbereda maskinen för underhåll.
Dra av kablarna från tändstiften (Figur 153).

Rengör runt tändstiften.
Använd ett tändstiftsuttag för att ta bort både tändstift och metallpackningar.
Tändstiftstyp: Champion RC12YC eller motsvarande
Luftgap: 0,75 mm
Titta mitt på båda tändstiften (Figur 154). Om isolatorn är ljust brun eller grå fungerar motorn korrekt. En svart beläggning på isolatorn betyder vanligen att luftrenaren är smutsig.
Important: Rengör aldrig tändstiften. Byt alltid ut tändstiften om de har en svart beläggning, utslitna elektroder, en oljebeläggning eller sprickor.

Kontrollera avståndet mellan mitt- och sidoelektroderna.
Böj sidoelektroden om avståndet är felaktigt.
Se till att det är rätt luftgap mellan mitt- och sidoelektroderna innan du monterar tändstiften. Använd en tändstiftsnyckel vid demontering och montering av tändstiften och ett bladmått för kontroll och justering av luftgapet. Montera nya tändstift vid behov.
Gänga i tändstiften i tändstiftshålen på motorn.
Använd ett tändstiftsuttag och en momentnyckel för att dra åt tändstiften till 27 N·m.
Fäst tändkablarna på tändstiften (Figur 155).

| Underhållsintervall | Underhållsförfarande |
|---|---|
| Varje användning eller dagligen |
|
Kontrollera och rengör motorfiltret före varje användningstillfälle. Ta bort alla rester av gräs, smuts eller annat skräp från motorns luftintagsfilter.
Under vissa omständigheter är bränsle och bränsleångor mycket brandfarliga och explosiva. En bränslebrand eller explosion kan skada dig själv och andra samt orsaka materiella skador.
Fyll på bränsletanken på en öppen plats utomhus när motorn är avstängd och kall. Torka upp utspillt bränsle.
Fyll inte tanken helt full. Fyll bränsletanken med bränsle tills nivån ligger 25 mm under tankens kant, inte påfyllningsrörets kant. Det tomma utrymmet behövs för bränslets expansion.
Rök aldrig när du hanterar bränsle och håll dig borta från öppen eld eller platser där bränsleångorna kan antändas av gnistor.
Förvara bränsle i en ren, säkerhetsgodkänd behållare och se till att locket sitter på.
| Underhållsintervall | Underhållsförfarande |
|---|---|
| Var 100:e timme |
|
Important: Sätt aldrig tillbaka ett smutsigt filter om det har tagits bort från bränsleslangen.
Förbered maskinen för underhåll. Se Förbereda maskinen för underhåll.
Stäng bränslekranen (Figur 156).


Kläm ihop ändarna på slangklämmorna och skjut bort dem från filtret.
Ta bort filtret från bränsleslangarna.
Rikta in bränslefiltret med pilen som pekar mot motorn och montera bränsleslangen över filterkopplingarna.
Placera slangklämmorna nära bränslefiltret och dra åt klämman.
Torka upp eventuellt utspillt bränsle.
Öppna bränslekranen.
Under vissa förhållanden är bränsle extremt brandfarligt och mycket explosivt. Brand eller explosion i bränsle kan orsaka brännskador och materiella skador.
Töm bränsletanken på bränsle när motorn är kall. Gör det utomhus på en öppen plats. Torka upp utspillt bränsle.
Rök aldrig när du tömmer ut bränsle och håll dig borta från öppen eld eller platser där bränsleångorna kan antändas av gnistor.
Förbered maskinen för underhåll. Se Förbereda maskinen för underhåll.
Stäng bränslekranen (Figur 157).


Lossa slangklämman vid bränslefiltret och skjut den uppåt längs bränsleslangen, bort från filtret.
Dra av bränsleslangen från bränslefiltret.
Öppna avstängningsventilen och låt bränslet rinna ner i en dunk eller ett kärl.
Note: Nu är det ett bra tillfälle att montera ett nytt bränslefilter eftersom tanken är tom.
Montera bränsleslangen över filterkopplingen.
Placera slangklämman nära bränslefiltret och dra åt klämman.
Koppla bort batteriet innan reparation utförs på maskinen. Lossa minusanslutningen först och plusanslutningen sist. Anslut först plusanslutningen och sedan minusanslutningen.
Ladda batteriet i ett öppet och välventilerat utrymme, på avstånd från gnistor och öppna lågor. Koppla ur laddaren innan batteriet ansluts eller kopplas bort.
Använd skyddskläder och isolerade verktyg.
| Underhållsintervall | Underhållsförfarande |
|---|---|
| Årligen |
|
Håll batteriets ovansida ren.
Lås upp och öppna batteriluckan (Figur 158).

Rengör batteriets ovansida med en borste som doppats i ammoniak eller en bikarbonatlösning.
Important: Ta inte bort påfyllningslocken under rengöring.
Spola noggrant batteriets och batterifackets yta med rent vatten.
Stäng och spärra batteriluckan.
| Underhållsintervall | Underhållsförfarande |
|---|---|
| Årligen |
|
Batteripolerna eller verktyg av metall kan orsaka kortslutning mot metallkomponenter i traktorn och skapa gnistor. Gnistorna kan få batterigaserna att explodera, vilket kan leda till personskador.
Låt inte batterianslutningarna komma i kontakt med några av maskinens metalldelar när du monterar eller tar bort batteriet.
Låt inte metallverktyg orsaka kortslutning mellan batterianslutningarna och maskinens metalldelar.
Felaktig dragning av batterikablarna kan skada maskinen och kablarna samt orsaka gnistor. Gnistorna kan få batterigaserna att explodera, vilket kan leda till personskador.
Lossa alltid batteriets minuskabel (svart) innan pluskabeln (röd) lossas.
Anslut alltid pluskabeln (röd) innan du ansluter minuskabeln (svart).
Lås upp och öppna batteriluckan (Figur 159).

Kontrollera att batterikabelns klämmor sitter säkert.
Dra åt eventuellt lösa fästelement på batterikabelns klämmor.
Kontrollera att batterikabelns klämmor och batteripolerna inte har rostat.
Om polerna är korroderade kopplar du bort batteriets minuskabel.
Ta bort batteriets pluskabel.
Rengör kabelklämmorna och batteripolerna.
Anslut batteriets pluskabel.
Anslut batteriets minuskabel.
Ytbelägg kabelanslutningarna och batteriposterna med smörjfett av typen Grafo 112X (skin-over) (Toro-artikelnr 505-47).
Stäng och spärra batteriluckan.
Elsystemet skyddas av säkringar. Om en säkring löser ut ska du kontrollera komponenten och ledningsdragningen för att se om det finns en kortslutning till jord.
Lås upp och öppna batteriluckan (Figur 160).

Ta bort kåpan från säkringsblocket (Figur 161).
Note: Fläktsäkringen sitter inbyggd bakom batteriet (Figur 162).


Ta bort den utlösta säkringen.
Montera en ny säkring för den strömstyrka som anges på säkringsblockets dekal.
Montera kåpan på säkringsblocket (eller på den inbyggda fläktsäkringen).
Stäng och lås batteriluckan.
| Underhållsintervall | Underhållsförfarande |
|---|---|
| Var 50:e timme |
|
Förbered maskinen för underhåll. Se Förbereda maskinen för underhåll.
Kontrollera att lufttrycket i alla däck är 0,83 bar. Mät trycket när däcken är kalla för att få en så exakt avläsning som möjligt.
Important: Ojämnt lufttryck i däcken kan orsaka ojämnt luftardjup.

Hjulet är mycket tungt, 33 kg.
Var försiktig när du tar bort det från däckanordningen.
| Underhållsintervall | Underhållsförfarande |
|---|---|
| Årligen |
|
Maskinens drivremmar är hållbara. Normal exponering för UV-strålning och ozon eller oavsiktlig exponering för kemikalier kan dock försämra gummisammansättningen med tiden och leda till slitage i förtid eller materialförlust (t.ex. remskikt som delat sig eller saknas).
Ta bort remkåpan. Se Ta bort remkåpan.
Kontrollera remmarna för hydraulpumpen, mellanaxeln och vevaxeln (Figur 164) för skador, slitage, överdrivna kuddsprickor eller stort inbäddat skräp.
Note: Byt ut remmen vid behov.

Montera remkåpan. Se Montera remkåpan.
| Underhållsintervall | Underhållsförfarande |
|---|---|
| Efter de första 8 timmarna |
|
Förbered maskinen för underhåll. Se Förbereda maskinen för underhåll.
Ta bort remkåpan. Se Ta bort remkåpan.
Lossa flänshuvudskruven och flänslåsmuttern som fäster mellanremskivan för hydraulpumpsremmen tills skruven rör sig i spåret på mellanremskivans stöd (Figur 165).


Slå lätt på mellanremskivan, och låt spänningsfjädern justera remspänningen.
Important: Använd inte mer remspänning än vad spänningsfjädern medger, annars kan komponentskador uppstå.
Dra åt flänshuvudskruven och flänslåsmuttern till 37–45 Nm.
Montera remkåpan. Se Montera remkåpan.
Uppsök läkare omedelbart om du blir träffad av en hydrauloljestråle och hydrauloljan tränger in i huden. Vätska som trängt in i huden måste opereras bort inom några få timmar av en läkare.
Se till att alla hydrauloljeslangar och -ledningar är i gott skick och att alla hydraulanslutningar och -kopplingar är ordentligt åtdragna innan hydraulsystemet trycksätts.
Håll kropp och händer borta från småläckor eller munstycken som sprutar ut hydraulvätska under högt tryck.
Använd en kartong- eller pappersbit för att hitta hydraulläckor.
Lätta på allt tryck i hydraulsystemet på ett säkert sätt innan något arbete utförs i hydraulsystemet.
Stötta upp luftarhuvudet med servicespärren. Se Stötta upp luftarhuvudet med servicespärren.
Stäng av motorn.
Vrid tändningslåset till STARTLäGET.
Gå till HUVUDMENYN i InfoCenter.
Tryck på nedknappen tills alternativet SERVICE är valt och tryck sedan på valknappen (Figur 166).

Note: Luftarhuvudet sänks tills det stöttas upp helt av servicespärren.
Tryck på nedknappen tills alternativet SERVICE, SäNK är valt och tryck sedan på valknappen (Figur 167).

Vrid nyckeln till STOPPLäGET.
Note: Starta motorn och kör den för att höja luftarhuvudet hydrauliskt så att du kan fälla upp servicespärren. Se Förvara servicespärren.
| Underhållsintervall | Underhållsförfarande |
|---|---|
| Varje användning eller dagligen |
|
Före varje användningstillfälle ska hydraulrör och slangar kontrolleras avseende läckage, lösa kopplingar, vridna slangar, lösa fästdon, slitage, väderpåverkan och kemisk nedbrytning. Byt ut slitna eller skadade hydraulledningar innan du använder maskinen.
Note: Håll områdena runt hydraulsystemet rena från skräpansamlingar.
Tanken fylls med hydraulvätska av hög kvalitet på fabriken. Kontrollera hydraulvätskenivån innan motorn startas för första gången och därefter dagligen. Se Kontrollera oljenivån i motorn.
Rekommenderad hydraulvätska: hydraulvätskan Toro PX Extended Life. Finns i spannar om 19 liter eller fat om 208 liter.
Note: En maskin som används med den rekommenderade utbytesvätskan kräver inte vätske- och filterbyten lika ofta.
Alternativa hydraulvätskor: Om hydraulvätskan Toro PX Extended Life inte finns att tillgå kan en annan vanlig oljebaserad hydraulvätska användas under förutsättning att specifikationerna för den faller inom ramen för alla nedanstående materialegenskaper samt uppfyller branschstandarder. Använd inte syntetisk vätska. Hör om din smörjmedelsdistributör kan rekommendera en lämplig produkt.
Note: Toro ansvarar inte för skador som uppstått till följd av att felaktiga vätskor använts. Använd därför endast produkter från ansedda tillverkare som ansvarar för sina rekommendationer.
| Materialegenskaper: | ||
| Viskositet, ASTM D445 | cSt vid 40 °C: 44 till 48 | |
| Viskositetsindex, ASTM D2270 | 140 eller högre | |
| Flytpunkt, ASTM D97 | -37 °C till -45 °C | |
| Branschspecifikationer: | Eaton Vickers 694 (I-286-S, M-2950-S/35VQ25 eller M-2952-S) | |
Note: Många hydraulvätskor är nästintill färglösa, vilket gör det svårt att upptäcka läckor. En rödfärgstillsats till hydraulvätskan finns tillgänglig i flaskor om 20 ml. En flaska räcker till 15–22 liter hydraulvätska. Beställ artikelnr 44-2500 från en auktoriserad Toro-återförsäljare.
Important: Toro Premium Synthetic Biodegradable Hydraulic Fluid är den enda syntetiska, biologiskt nedbrytbara vätskan som har godkänts av Toro. Vätskan kan blandas med de elastomerer som används i Toros hydraulsystem och kan användas i många olika temperaturer. Vätskan kan blandas med traditionella mineraloljor, men för största möjliga biologiska nedbrytbarhet och prestanda bör hydraulsystemet sköljas noga så att inga traditionella oljor finns kvar. Oljan finns tillgänglig i dunkar om 19 liter eller fat om 208 liter hos auktoriserade Toro-återförsäljare.
| Underhållsintervall | Underhållsförfarande |
|---|---|
| Varje användning eller dagligen |
|
Important: Med luftarhuvudet i upphöjt läge, kontrollera hydraulvätskenivån innan motorn startas för första gången och därefter dagligen.
Hydraultanken fylls med hydraulvätska av hög kvalitet på fabriken.
Förbered maskinen för underhåll. Se Förbereda maskinen för underhåll.
Ta bort remkåpan. Se Ta bort remkåpan.
Gör rent omkring påfyllningsröret och hydraultanklocket (Figur 168). Skruva av tanklocket på påfyllningsröret.

Ta ut oljestickan ur påfyllningsröret och torka av den med en ren trasa. För in oljestickan i påfyllningsröret; ta ut den igen och kontrollera oljenivån. Oljenivån ska nå upp till markeringen på oljestickan (Figur 169).

Om nivån är låg fyller du på med angiven hydraulvätska så att den når upp till markeringen Full.
Sätt tillbaka oljestickan och locket på påfyllningsröret.
Montera remkåpan. Se Montera remkåpan.
| Underhållsintervall | Underhållsförfarande |
|---|---|
| Var 200:e timme |
|
| Var 400:e timme |
|
Hydraultankens kapacitet: ca 6,6 liter
Important: Använd inte oljefilter ämnade för bilar som hydrauloljefilter eftersom det kan orsaka allvarliga skador på hydraulsystemet.
Note: Om returfiltret tas bort töms vätsketanken helt och hållet.
Förbered maskinen för underhåll. Se Förbereda maskinen för underhåll.
Sätt ett avtappningskärl under filtren, ta bort de gamla filtren och torka filteradapterns packningsyta ren (Figur 170).

Stryk på ett tunt lager ren hydraulvätska på de nya filtrens packning.
Montera hydraulfiltren i filteradaptrarna. Vrid varje filter medsols tills packningen kommer i kontakt med filteradaptern. Dra sedan åt filtret ytterligare ½ varv.
Tillsätt angiven hydraulvätska tills vätskenivån når markeringen Full på oljestickan. Se Specifikationer för hydraulvätskan och Kontrollera hydraulvätskenivån.
Starta motorn och låt den gå i två minuter för att lufta systemet. Stäng av motorn, ta ut nyckeln och kontrollera att det inte finns några hydraulvätskeläckor.
Kontrollera hydraulvätskenivån. Fyll vid behov på med angiven hydraulvätska så att nivån når upp till markeringen FULL på oljestickan.
Note: Fyll inte på för mycket vätska i hydraultanken.
Montera remkåpan. Se Montera remkåpan.
| Underhållsintervall | Underhållsförfarande |
|---|---|
| Efter de första 8 timmarna |
|
| Var 250:e timme |
|
Förbered maskinen för underhåll. Se Förbereda maskinen för underhåll.
Ta bort luftarhuvudskåpan; se Ta bort luftarhuvudskåpan.
Kontrollera att luftarhuvudets och jordfräsens fästelement och hjulmuttrarna är korrekt åtdragna. Kraven för åtdragning av fästelement finns i en lista på dekalen för skruvvridmoment på luftarhuvudets stödkanal (Figur 171).

Montera luftarhuvudskåpan; se Montera kåpan för luftarhuvudet.
Förbered maskinen för underhåll. Se Förbereda maskinen för underhåll.
Lossa på huvudskruvarna och flänslåsmuttrarna som fäster sidoskyddet på luftarhuvudets ram (Figur 172).

Justera skyddet uppåt eller nedåt tills du har ett avstånd på 25–38 mm mellan skyddet och marken.
Dra åt huvudskruvarna och flänslåsmuttrarna.
Upprepa steg 2–4 på maskinens andra sida.
Byt ut gräsmatteskydden om de går sönder eller om de slits ned och blir tunnare än 6 mm. Trasiga gräsmatteskydd kan haka i och slita sönder gräsmattan.

Luftarhuvudsmärkena på balanshjulet hittas enkelt med hjälp av de gjutna märkena på de tre lagerhusen.

Gör följande innan du kliver ur förarsätet:
Parkera maskinen på ett plant underlag.
Höj styret helt och spärra det för att koppla in parkeringsbromsen.
Stäng av motorn och ta ut nyckeln (i förekommande fall).
Vänta tills alla rörliga delar har stannat.
Låt maskinen svalna innan du justerar, rengör, förvarar eller utför underhåll på den.
Förvara inte maskinen eller bränslebehållaren i närheten av en öppen låga, gnista eller tändlåga, t.ex. nära en varmvattenberedare eller någon annan utrustning.
När batteriet laddas bildas explosiva gaser.
Rök aldrig nära batteriet och håll det på avstånd från gnistor och lågor.
Förbered maskinen för underhåll. Se Förbereda maskinen för underhåll.
Lossa tändkabeln.
Avlägsna gräs, smuts och lort från maskinens utvändiga delar, särskilt från motorn och hydraulsystemet. Rensa bort smuts och skräp från utsidan av motorns kylflänsar och fläkthus.
Serva luftrenaren, se Serva luftrenaren.
Byt motoroljan. Se Byta motoroljan och oljefiltret.
Byt ut hydraulfiltren och hydraulvätskan, se Byta hydraulvätskan och hydraulfiltren.
Kontrollera lufttrycket i däcken, se Kontrollera däcktrycket.
Kontrollera luftarpinnarnas skick.
Om du ställer undan maskinen för säsongen utför du alla steg i Ställa undan maskinen i mindre än 30 dagar och följande:
Kontrollera och dra åt alla bultar, muttrar och skruvar. Reparera eller byt ut skadade eller slitna delar.
Tvätta och torka hela maskinen. Ta bort luftarpinnarna och rengör och olja in dem. Spraya ett tunt lager olja på luftarhuvudets lager (vev- och motviktslänkar).
Important: Tvätta maskinen med ett milt rengöringsmedel och vatten. Högtryckstvätta inte maskinen. Undvik att använda alltför mycket vatten, särskilt nära kontrollpanelen, motorn, hydraulpumparna och motorerna.
Note: Kör maskinen på hög tomgång under 2 till 5 minuter efter tvätt.
Måla i lackskador och bara metallytor. Färg finns att köpa hos auktoriserade Toro-återförsäljare.
Fäst servicespärren om maskinen ska förvaras längre än ett par dagar.
Förvara maskinen i ett rent och torrt garage eller lagerutrymme. Ta ur nyckeln ur tändningslåset och förvara den utom räckhåll för barn och andra obehöriga.
Täck över maskinen för att skydda den och hålla den ren.
Tillsätt en oljebaserad stabiliserare/konditionerare till bränslet i tanken. Följ blandningsanvisningarna från tillverkaren. Använd inte en alkoholbaserad stabiliserare (etanol eller metanol).
Note: Bränslestabiliserare/-konditionerare fungerar som mest effektivt när de blandas med färskt bränsle och alltid används.
Important: Förvara inte bränsle som innehåller stabiliserare/konditionerare längre än den tid som rekommenderas av bränslestabiliserarens tillverkare.
Kör motorn så att det stabiliserade bränslet fördelas i bränslesystemet (5 minuter).
Stäng av motorn, låt den svalna och töm bränsletanken. Se Tömma bränsletanken.
Starta motorn och kör den tills den stängs av.
Choka motorn. Starta och kör motorn tills den inte längre går.
Lossa tändstiften och kontrollera dess skick, se Serva tändstiften. Häll i två matskedar motorolja i varje tändstiftshål när stiften är borttagna från motorn. Kör sedan runt motorn med startmotorn så att oljan fördelas inuti cylindrarna. Montera tändstiften. Sätt inte på tändkablarna på tändstiften.
Note: Kassera bränslet på en återvinningsstation enligt lokala föreskrifter.
Ta bort batteriets kabelanslutningar från batteripolerna och ta ur batteriet ur maskinen.
Rengör batteriet, kabelanslutningarna och polerna med en stålborste och natriumbikarbonatlösning.
Fetta in kabelanslutningarna och batteriposterna med smörjfett av typen Grafo 112X (skin-over) (Toro-artikelnr 505-47) eller vaselin för att förhindra korrosion.
Ladda långsamt upp batteriet i 24 timmar var 60:e dag för att förhindra att det blysulfateras. Håll batteriet helt uppladdat för att förhindra att det fryser. Ett fullständigt laddat batteri har en specifik vikt på 1,265 till 1,299.
Förvara batteriet antingen på en hylla eller på maskinen. Låt kablarna vara urkopplade om det förvaras på maskinen. Förvara batteriet svalt för att undvika att det laddas ur snabbt.
| Problem | Possible Cause | Corrective Action |
|---|---|---|
| Startmotorn startar inte. |
|
|
| Motorn startar inte, är trögstartad eller stannar efter en stund. |
|
|
| Motorn tappar kraft. |
|
|
| Motorn överhettas. |
|
|
| Maskinen vibrerar onormalt. |
|
|
| Maskinen driver inte. |
|
|
| Luftarhuvudet fungerar inte. |
|
|
| Huvudet dunkar vid luftning. |
|
|
| Gräset tovas/slits av vid ingång. |
|
|
| Hålen blir toviga när pinne med sidoutmatning används. |
|
|
| Gräsmattan lyfts/slits av vid luftning. |
|
|
| Främre delen av hålet är pressförsänkt eller intryckt. |
|
|