![]() |
| 캘리포니아 |
| 법령 65 |
| 본 제품의 엔진 배기가스에는 암, 선천성 기형, 기타 생식 기능 장애를 일으키는 것으로 캘리포니아 주에 알려진 화학 물질이 함유되어 있습니다. |
| 배터리 포스트, 단자, 관련 액세서리에는 암 및 생식 기능 장애를 유발하는 것으로 캘리포니아 주에 알려진 납, 납 화합물, 화학물질이 함유되어 있습니다. 취급 후 손을 씻어야 합니다. |
| 본 제품을 사용하면 암, 선천성 기형, 기타 생식 기능 장애를 일으키는 것으로 캘리포니아 주에 알려진 화학 물질에 노출될 수 있습니다. |

의 일련번호판에
적혀 있습니다. 이들 번호를
다음 칸에 적어 두십시오.| 중요 |
| 모델 번호:
|
일련 번호 |

![]() |
위험 | |
![]() |
경고 | |
![]() |
주의 | |























| 77501 모델
|
77502 및 77515TA 모델
|
77520TA 모델
|
|
|---|---|---|---|
| 작업폭 |
127cm
|
127cm
|
134 cm
|
| 디플렉터를
내린 상태의 폭
|
156 cm
|
156 cm
|
166cm
|
| 디플렉터를
올린 상태의 폭
|
130 cm
|
130 cm
|
140cm
|
| 길이
|
203 cm
|
203 cm
|
203 cm
|
| 높이
|
116 cm
|
119 cm
|
116 cm
|
| 중량
|
292 kg
|
310 kg
|
310 kg
|
![]() |
경고 | |
| 용량
|
19 L |
| 유형
|
무연 휘발유 |
| 최소 옥탄가 |
87(미국) 또는 91(연구 옥탄가, 미국 외부)
|
| 에탄올 |
부피당 10% 이하
|
| 메탄올 |
없음
|
| MTBE(메틸 제3급 부틸 에테르)
|
부피당 15% 미만
|
| 오일
|
연료에 첨가하지
마십시오.
|
| 중요 |
| 중요 |

![]() |
경고 | |








를 풉니다.
.
노브를 조입니다
.
| 중요 |


![]() |
주의 | |
![]() |
주의 | |


![]() |
위험 | |
![]() |
위험 | |


![]() |
위험 | |

을 발로 밀어
모어 데크를 올립니다.
을 제거합니다.
에 해당하는
구멍에 핀을 끼웁니다.
| 중요 |
![]() |
경고 | |
![]() |
경고 | |

![]() |
경고 | |



![]() |
경고 | |
| 유지보수 정비 주기 |
유지보수
절차 |
|---|---|
| 첫 8시간 후 |
엔진
오일을 교환합니다.
|
| 첫 50시간 후 |
러그
너트의 토크를 점검합니다.
|
| 각 사용 이전
또는 매일
|
안전
인터록 시스템을 점검합니다.
|
| 에어
클리너에 더럽거나, 느슨해졌거나, 손상된 부품이
있는지 점검합니다.
|
|
| 엔진
오일 레벨을 점검합니다.
|
|
| 흡기
스크린을 청소합니다.
|
|
| 블레이드를
점검합니다.
|
|
| 잔디
디플렉터의 손상 여부를
점검합니다.
|
|
| 각 사용 후 |
장비에서
잔디와 이물질을 청소합니다.
|
| 모어
데크 하우징을 청소합니다.
|
|
| 25시간마다 |
캐스터
휠 베어링에 그리스를
칠합니다(모래가 많은
토양 환경에서는 더
자주). |
| 타이어
공기압 점검.
|
|
| 벨트의
마모 상태 또는 균열
여부를 점검하십시오.
|
|
| 100시간마다 |
엔진
오일을 교환합니다.(이물질이나
먼지가 많은 환경에서는
좀 더 자주).
|
| 점화
플러그를 교환 또는
청소하고 간극을 조정합니다.
|
|
| 인라인
연료 필터를 교환합니다.
|
|
| 100시간마다
또는 매년(선도래 기준) |
종이
에어 클리너 엘리먼트를
교환합니다(이물질이나
먼지가 많은 환경에서는
좀 더 자주).
|
| 200시간마다 |
엔진
오일 필터를 교환합니다(이물질이나
먼지가 많은 환경에서는
좀 더 자주).
|
| 300시간마다 |
밸브
간격을 점검하고 조정합니다. 지정 서비스점에
문의합니다.
|
| 매년
|
러그
너트의 토크를 점검합니다.
|
| 보관 전 |
배터리를
충전하고 배터리 케이블을
분리합니다.
|
| 보관하기
전에 상기에 설명된
모든 유지관리 절차를
수행하십시오.
|
|
| 얼룩진 표면에
페인트를 칠합니다.
|
|
| 중요 |
를 찾습니다.
.![]() |
경고 | |
![]() |
경고 | |
| 중요 |
.![]() |
경고 | |



주변을 청소하여
먼지가 엔진에 침투하여
손상을 일으키지 않도록
합니다.
를 풀고
종이 엘리먼트
를 분리합니다.| 중요 |

를 장착합니다.
를 장착하고
호스 클램프
를 조입니다.| 오일 타입 |
세제 오일(API 서비스 SF, SG, SH, SJ, 또는 SL 등급)
|
| 크랭크실
용량
|
1.8 L(필터 제외); 2.1 L(필터 포함)
|
| 점도 |
하기 테이블을
참조하십시오
|
![]() |
|

| 중요 |





| 중요 |


![]() |
위험 | |
| 중요 |

![]() |
경고 | |
![]() |
경고 | |

![]() |
경고 | |
| 중요 |
| 중요 |


![]() |
경고 | |
![]() |
위험 | |
![]() |
주의 | |
![]() |
경고 | |




를 분리하고
커버의 탭
을 밀어서
풀리 커버를 제거합니다.

![]() |
경고 | |







를 유지해야
합니다.
에 놓아
블레이드
균형을 점검합니다.![]() |
경고 | |


의 커팅 엣지까지
위치
및
측정을 수행합니다.
의 커팅 엣지까지
위치
및
측정을 수행합니다.
2개를 놓습니다.| 중요 |
2개를 놓습니다.

에서 헤어핀
코터를 제거하고 데크
브래킷
에서 지지대를
분리합니다.
를 데크
브래킷
에 부착합니다.![]() |
위험 | |

| 중요 |
| 중요 |

에 호스
를 연결한
다음 호스 커플링을
모어 세척액 피팅
의 끝에 연결하고
물을 고압으로 켭니다.
에 바세린을
발라서 커플링이 쉽게
미끄러지게 하고 O-링을 보호합니다.![]() |
경고 | |
| 중요 |
| 중요 |
| 가능한
원인 |
시정 조치 |
|---|---|
| 에어 클리너
종이 엘리먼트가 막혔습니다.
|
|
| 가능한
원인 |
시정 조치 |
|---|---|
| 엔진에
과부하가 걸렸습니다.
|
|
| 크랭크케이스의
오일 레벨에 문제가
있습니다.
|
|
| 엔진 블로워
하부의 냉각 핀과 공기
통로가 막혔습니다.
|
|
| 에어 클리너가
오염되었습니다.
|
|
| 연료 계통에
먼지, 물 또는
오래된 연료가 존재합니다.
|
|
| 가능한
원인 |
시정 조치 |
|---|---|
| 블레이드
제어 스위치가 체결되었습니다.
|
|
| 모션 제어
레버가 Park(주차) 위치에 있지
않습니다.
|
|
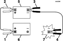
| 배터리가
방전되었습니다.
|
|
| 전기 연결부가
부식되거나 헐겁습니다.
|
|
| 퓨즈가
끊어졌습니다.
|
|
| 릴레이
또는 스위치가 손상되었습니다.
|
|
| 가능한
원인 |
시정 조치 |
|---|---|
| 연료 탱크가
비었습니다.
|
|
| 초크(해당하는
경우)가 켜지지
않았습니다.
|
|
| 에어 클리너가
오염되었습니다.
|
|
| 점화 플러그
와이어가 느슨하거나
연결되지 않았습니다.
|
|
| 점화 플러그가
패였거나 고정났거나
간격이 올바르지 않습니다.
|
|
| 연료 필터가
오염되었습니다.
|
|
| 연료 계통에
먼지, 물 또는
오래된 연료가 존재합니다.
|
|
| 연료 탱크의
연료가 적절하지 않습니다.
|
|
| 크랭크케이스의
오일 레벨에 문제가
있습니다.
|
|
| 가능한
원인 |
시정 조치 |
|---|---|
| 엔진에
과부하가 걸렸습니다.
|
|
| 에어 클리너가
오염되었습니다.
|
|
| 크랭크케이스의
오일 레벨에 문제가
있습니다.
|
|
| 엔진 블로워
하부의 냉각 핀과 공기
통로가 막혔습니다.
|
|
| 점화 플러그가
패였거나 고정났거나
간격이 올바르지 않습니다.
|
|
| 연료 탱크
환기구가 막혔습니다.
|
|
| 연료 필터가
오염되었었습니다.
|
|
| 연료 계통에
먼지, 물 또는
오래된 연료가 존재합니다.
|
|
| 연료 탱크의
연료가 적절하지 않습니다.
|
|
| 가능한
원인 |
시정 조치 |
|---|---|
| 바이패스
밸브가 열렸습니다.
|
|
| 트랙션
벨트가 부식되거나
헐거워졌거나, 손상되었습니다.
|
|
| 트랙션
벨트가 풀리를 벗어났습니다.
|
|
| 변속기가
고장났습니다.
|
|
| 가능한
원인 |
시정 조치 |
|---|---|
| 커팅 블레이드가
굽었거나 균형이 맞지
않습니다.
|
|
| 블레이드
장착 볼트가 느슨합니다.
|
|
| 엔진 장착
볼트가 느슨합니다.
|
|
| 엔진 풀리, 아이들러
풀리, 또는 블레이드
풀리가 느슨합니다.
|
|
| 엔진 풀리가
손상되었습니다.
|
|
| 블레이드
스핀들이 굽었습니다.
|
|
| 모터 마운트가
헐거워졌거나, 마모되었습니다.
|
|
| 가능한
원인 |
시정 조치 |
|---|---|
| 블레이드가
무딥니다.
|
|
| 커팅 블레이드가
굽었습니다.
|
|
| 모어가
수평하지 않습니다.
|
|
| 스캘핑
방지 롤러(해당하는
경우)가 정확하게
설치되지 않았습니다.
|
|
| 모어 데크의
밑면이 오염되었습니다.
|
|
| 타이어
공기압이 부정확합니다.
|
|
| 블레이드
스핀들이 굽었습니다.
|
|
| 가능한
원인 |
시정 조치 |
|---|---|
| 구동 벨트가
부식되거나 헐거워졌거나, 손상되었습니다.
|
|
| 구동 벨트가
풀리를 벗어났습니다.
|
|
| 동력 인출
장치(PTO) 스위치
또는 PTO 클러치가
고장났습니다.
|
|
| 모어 벨트가
부식되거나 헐거워졌거나, 손상되었습니다.
|
|
