El símbolo de alerta de seguridad (Figura 1) que aparece en este manual y en la máquina identifica mensajes de seguridad importantes que usted debe observar para evitar accidentes.

El símbolo de alerta de seguridad aparece encima de información que le alerta ante acciones o situaciones inseguras, y va seguido de la palabra PELIGRO, ADVERTENCIA, o CUIDADO.
PELIGRO: Indica una situación peligrosa inminente, que si no se evita, causará la muerte o lesiones graves.
ADVERTENCIA indica una situación potencialmente peligrosa que si no se evita, podría causar la muerte o lesiones graves.
CUIDADO: Indica una situación potencialmente peligrosa que si no se evita, podría causar lesiones menores o moderadas.
Este manual utiliza dos palabras más para resaltar información. Importante llama la atención sobre información mecánica especial, y Nota resalta información general que merece una atención especial.
![]() |
Las pegatinas de seguridad e instrucciones están a la vista del operador y están ubicadas cerca de cualquier zona de peligro potencial. Sustituya cualquier calcomanía que esté dañada o que falte. |

Note: Los lados derecho e izquierdo de la máquina se determinan desde la posición normal del operador.
Aparque la máquina en una superficie nivelada.
Desengrane el mando de control de las cuchillas.
Ponga las palancas de control de movimiento en posición de BLOQUEO/PUNTO MUERTO.
Ponga el freno de estacionamiento.
Apague la máquina y retire la llave.
Espere a que se detengan todas las piezas en movimiento.
Piezas necesarias en este paso:
| Conjunto del receptor | 1 |
| Conjunto de la pata | 1 |
| Cartela de refuerzo | 2 |
| Pasador de acoplamiento | 1 |
| Pasador de enganche | 1 |
| Chaveta | 1 |
| Chaveta (13 mm (½")) | 1 |
| Perno (½" × 3½") | 4 |
| Arandela | 4 |
| Tuerca | 4 |
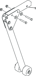
Instale las 2 cartelas de refuerzo en el conjunto de la pata instalando provisionalmente los pernos (½" × 3½"), las arandelas y las tuercas.

Instale el receptor provisionalmente en las cartelas de refuerzo con los pernos, las arandelas y las tuercas.

Apriete las fijaciones a 91-112.5 N·m (67–83 pies-libra).
Introduzca el pasador de enganche por las cartelas de refuerzo y sujételo con una chaveta (13 mm (½")).

Instale el pasador de acoplamiento en el conjunto del receptor y sujételo con una chaveta.

Levante el bastidor en A e inserte el soporte de mantenimiento en el bastidor. Sujete el kit con el pasador de acoplamiento y la chaveta.

La máquina podría caerse encima de alguien y causar graves lesiones o la muerte.
No deje la máquina elevada sobre el soporte de mantenimiento durante periodos extendidos de tiempo.
Utilice siempre el soporte de mantenimiento en una superficie nivelada.
Asegúrese de que el soporte de mantenimiento está correctamente sujeto al montaje con los pasadores.
No confíe únicamente en el soporte de mantenimiento para sujetar la máquina. Utilice caballetes u otro medio de sustentación equivalente.
No monte o desmonte el cortacésped con el soporte de mantenimiento elevado.
Antes de cada uso, asegúrese de que el soporte de mantenimiento funciona correctamente y que no hay señales de daños.
La elevación de la máquina podría causar una fuga de combustible. El combustible es extremadamente inflamable y altamente explosivo.
Compruebe si hay fugas de combustible antes de realizar cualquier operación de mantenimiento.
Si observa una fuga de combustible, baje la máquina inmediatamente, drene el combustible y limpie el derrame.
Aparque la máquina en una superficie nivelada, desengrane el mando de control de las cuchillas, mueva la plataforma del operador a la posición de almacenamiento y ponga el freno de estacionamiento.
Eleve la carcasa de corte a la posición de TRANSPORTE.
Sujete el soporte de mantenimiento al bastidor en A usando el pasador de acoplamiento y la chaveta.

Baje el bastidor en A hasta que la máquina esté elevada. Introduzca el pasador de enganche en el cierre del bastidor y a través del soporte de mantenimiento para fijar el soporte. Instale la chaveta (13 mm (½")) en el pasador de enganche.

Apague el motor, retire la llave y espere a que se detengan todas las piezas en movimiento.
Apoye la máquina sobre caballetes; consulte la posición de los caballetes en el Manual del operador de la máquina.
Cuando termine, eleve el bastidor en A y retire el soporte de mantenimiento.
Note: No haga funcionar la máquina con el soporte de mantenimiento acoplado, salvo para elevar o bajar el bastidor en A.