Le symbole de sécurité (Figure 1) utilisé dans ce manuel et sur la machine identifie d'importants messages de sécurité dont vous devez tenir compte pour éviter des accidents.

Le symbole de sécurité apparaît au-dessus de toute information signalant des actions ou des situations dangereuses. Il est suivi de la mention DANGER, ATTENTION ou PRUDENCE.
DANGER signale un danger immédiat qui, s'il n'est pas évité, entraînera obligatoirement des blessures graves ou mortelles.
ATTENTION signale un danger potentiel qui, s'il n'est pas évité, risque d'entraîner des blessures graves ou mortelles.
PRUDENCE signale un danger potentiel qui, s'il n'est pas évité, peut éventuellement entraîner des blessures légères ou modérées.
Ce manuel utilise également deux autres termes pour faire passer des renseignements essentiels. Important pour attirer l'attention sur une information d'ordre mécanique spécifique, et Remarque pour souligner une information d'ordre général méritant une attention particulière.
![]() |
Des autocollants de sécurité et des instructions bien visibles par l'opérateur sont placés près de tous les endroits potentiellement dangereux. Remplacez tout autocollant endommagé ou manquant. |

Note: Les côtés gauche et droit de la machine sont déterminés d'après la position d'utilisation normale.
Garez la machine sur une surface plane et horizontale.
Désengagez la commande des lames.
Amenez les leviers de commande de déplacement en position de VERROUILLAGE AU POINT MORT.
Serrez le frein de stationnement.
Coupez le moteur de la machine et enlevez la clé.
Attendez l'arrêt complet de toutes les pièces mobiles.
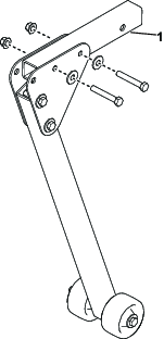
Pièces nécessaires pour cette opération:
| Récepteur | 1 |
| Pied | 1 |
| Gousset | 2 |
| Goupille de fixation | 1 |
| Goupille d'attelage | 1 |
| Goupille fendue | 1 |
| Goupille fendue(tige de ½ po) | 1 |
| Boulon (½ x 3½ po) | 4 |
| Rondelle | 4 |
| Écrou | 4 |
Fixez les 2 goussets au pied du support en serrant légèrement les boulons (½ x 3½ po), les rondelles et les écrous.

Fixez le récepteur aux goussets en serrant légèrement les boulons, les rondelles et les écrous.

Serrez les fixations à un couple de 91 à 112,5 N∙m (67 à 83 pi-lb).
Insérez la goupilles d'attelage dans les goussets et fixez-la en place avec une goupille fendue (tige de ½ po).

Insérez la goupille de fixation dans le récepteur et fixez-la en place avec une goupille fendue.

Levez le triangle d’attelage et insérez le support d’entretien dedans. Fixez le kit à l’aide de la goupille de fixation et de la goupilles fendue.

La machine pourrait tomber sur une personne et la blesser gravement ou mortellement.
Ne laissez pas la machine soulevée et soutenue par le support d’entretien pendant une durée prolongée.
Utilisez toujours le support d’entretien sur une surface plane.
Assurez-vous que le support d’entretien est bien fixé au support par les goupilles.
Ne vous fiez pas uniquement au support d’entretien comme soutien. Utilisez des chandelles adéquates ou un support équivalent.
Ne montez pas sur la tondeuse et n'en descendez pas lorsqu'elle est soulevée sur le support d’entretien.
Avant chaque utilisation, vérifiez le bon fonctionnement du support d’entretien et assurez-vous qu'il est en bon état.
Le levage de la machine peut causer une fuite de carburant. Le carburant est extrêmement inflammable et hautement explosif.
Assurez-vous de l’absence de fuites de carburant avant d'effectuer un entretien.
Si vous observez une fuite de carburant, abaissez immédiatement la machine, vidangez le réservoir de carburant et essuyez le carburant répandu.
Garez la machine sur une surface plane, désengagez la commande des lames, placez la plate-forme de l'utilisateur en position de rangement et serrez le frein de stationnement.
Levez le tablier de coupe en position TRANSPORT.
Fixez le support d’entretien au triangle d’attelage à l’aide de la goupille de fixation et de la goupille fendue.

Abaissez le triangle d’attelage jusqu’à ce que la machine soit élevée. Insérez la goupille d'attelage dans le système de blocage du triangle et dans le support d’entretien pour bloquer le support en place. Insérez la goupille fendue (tige de ½ po) dans la goupille d'attelage.

Coupez le moteur, enlevez la clé de contact et attendez l'arrêt complet de toutes les pièces mobiles.
Soutenez la machine avec des chandelles; voir le Manuel de l’utilisateur de la machine pour savoir où placer les chandelles.
Une fois l’opération terminée, élevez le triangle d’attelage et retirez le support d’entretien.
Note: Ne faites pas fonctionner la machine lorsque support d’entretien est en place, sauf pour élever ou abaisser le triangle d’attelage.