Vedligeholdelse
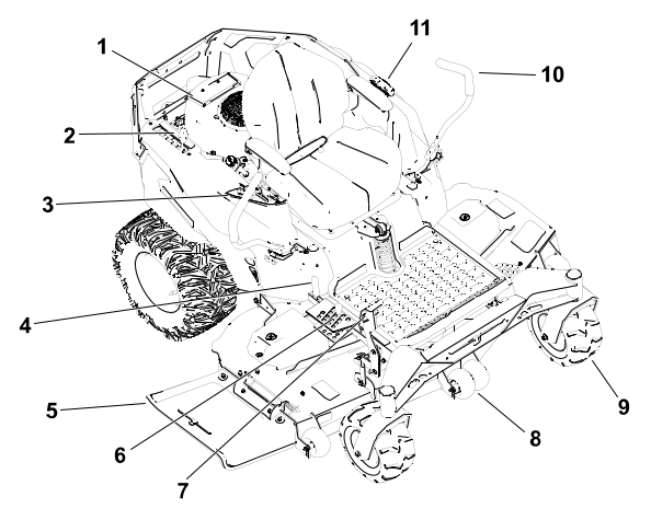
Sikkerhed ved vedligeholdelse
- Hvis du lader nøglen sidde
i kontakten, kan andre personer utilsigtet komme til at starte motoren
og forårsage alvorlig personskade
på dig eller andre omkringstående. Tag nøglen ud af
tændingen, før vedligeholdelsesarbejde påbegyndes.
- Før du forlader førersædet,
skal du gøre følgende:
- Parker maskinen på en plan
overflade.
- Udkobl drevene.
- Aktiver parkeringsbremsen.
- Sluk motoren, og tag nøglen
ud.
- Vent på, at maskinen er kølet
af, før der udføres vedligeholdelsesarbejde.
- Lad ikke personer, som ikke er
uddannet dertil, udføre service på maskinen.
- Hold hænder og fødder
væk fra bevægelige dele og varme overflader. Undgå
om muligt at foretage justeringer, mens motoren kører.
- Hold alle værn, afskærmninger,
kontakter og alle sikkerhedsanordninger på plads, og sørg
for, at de fungerer korrekt. Kontroller
hyppigt, om der er slidte eller forringede komponenter, og udskift
dem med originale dele fra Toro, når det er nødvendigt.
- Tag forsigtigt trykket af komponenter,
hvori der er oplagret energi.
 |
Advarsel |
|
Afmontering eller ændring
af originalt udstyr, dele og/eller tilbehør kan ændre maskinens
garanti, kontrollerbarhed og sikkerhed.
Uautoriserede ændringer af originalt udstyr eller manglende
brug af originale dele fraToro kan føre til alvorlig personskade
eller død.
- Kontroller parkeringsbremsens
funktion hyppigt. Juster og efterse den efter behov.
- Pil aldrig ved sikkerhedsanordningerne.
Efterse regelmæssigt, at de fungerer korrekt.
- Fjern græs, blade, snavs,
olie og andre rester fra klippeenheden, lydpotten, drevene, græsopsamleren
og motorrummet for at forhindre brand.
- Tør spildt olie eller brændstof,
og fjern snavs vædet med brændstof.
- Brug ikke udelukkende mekaniske
eller hydrauliske donkrafte til at holde maskinen oppe. Brug passende
donkrafte.
- Sørg for, at alle dele fungerer,
og at alle dele er spændt fast – ikke mindst skæreknivsbeslag.
- Brug kun originale reservedele
og tilbehør fra Toro for at sikre optimal ydelse.
Reserve- og tilbehørsdele fremstillet af andre producenter kan
være farlige.
Skema over anbefalet vedligeholdelse
| Efter de første 8 driftstimer |
Skift motorolien. |
| Efter de første 50 driftstimer |
Kontroller låsemøtrikkernes tilspænding. |
| Før hver anvendelse eller
dagligt |
Kontroller sikkerhedslåsesystemet.
|
| Kontroller luftfilteret for snavsede, løse eller beskadigede
dele. |
| Kontroller motoroliestanden.
|
| Rengør luftindtagsskærmen.
|
| Eftersyn af skæreknivene.
|
| Efterse græsdeflektoren for skade.
|
| Efter hver anvendelse |
Fjern græs og snavs fra maskinen.
|
| Rengør plæneklipperskjoldets hus.
|
| Hver 25. driftstime |
Smør styrehjulslejerne (hyppigere under forhold med sandet jord). |
| Kontrol af dæktrykket.
|
| Kontrol af remmene for slid eller revner.
|
| Hver 100. driftstime |
Udskift motorolien (hyppigere under støvede og snavsede forhold). |
| Udskift eller rengør tændrøret, og juster gabet. |
| Udskiftning af det indbyggede brændstoffilter. |
| Hver 100. driftstime eller
årligt, alt efter hvad
der indtræffer først
|
Udskift luftfilterets papirindsats (oftere under støvede eller
snavsede forhold). |
| Hver 200. driftstime
|
Udskift motoroliefilteret (hyppigere under snavsede eller støvede
forhold). |
| Hver 300. driftstime
|
Kontroller og juster ventilafstanden. Kontakt en autoriseret serviceforhandler. |
| En gang om året
|
Kontroller låsemøtrikkernes tilspænding. |
| Før opbevaring |
Oplad batteriet, og frakobl batterikablerne.
|
| Udførelse af alle ovennævnte vedligeholdelsesprocedurer
før opbevaring |
| Maling af beskadigede overflader. |
| |
Se betjeningsvejledningen til
motoren for at få yderligere oplysninger om procedurer for vedligeholdelse.
Procedurer inden vedligeholdelse
Flytning af en defekt maskine
-
Parker maskinen
på en plan flade, udkobl kontakten til regulering af skæreknive,
og flyt bevægelseshåndtagene udad til positionen
Park (parker).
-
Sluk for
motoren, og vent til alle bevægelige dele er standset, før
du forlader betjeningspositionen.
-
Find omløbshåndtagene
på stellet på begge
sider af motoren.
-
Flyt begge
omløbshåndtag fremad gennem det rillede hul og over for
at låse dem fast
.
 |
Advarsel |
|
Kontakt
med varme overflader kan forårsage personskade.
Hold
hænder og fødder, dit ansigt og tøj samt andre kropsdele
væk fra motoren, lydpotten og andre varme overflader.
 |
Advarsel |
|
Maskinen
kan bevæge sig utilsigtet, mens omløbshåndtagene låses
fremad i åbningen, og forårsage personskade på dig
eller andre omkringstående personer.
Lås omløbshåndtagene
bagud, når maskinen er blevet flyttet.
-
Frakobl parkeringsbremsen
ved at flytte begge bevægelseshåndtagene ned til den midterste,
ulåste position.
Bemærk: Start ikke maskinen.
-
Flyt maskinen
efter behov.
Skub
altid maskinen manuelt. Bugser ikke maskinen, da bugsering kan beskadige
den.
-
Flyt bevægelseshåndtagene
udad til positionen Park (parker).
-
Flyt begge
omløbshåndtag bagud og over gennem det rillede hul for at
låse dem fast
.
Frigivelse af plæneklipperskjoldets
gardin
-
Løsn
gardinets 2 nederste bolte for at blotlægge den øverste
del af plæneklipperskjoldet.
Spænd
altid boltene for at montere gardinet efter vedligeholdelse.
G453430
Motorvedligeholdelse
Motorsikkerhed
- Hold hænder og fødder,
ansigt og tøj samt andre kropsdele væk fra lydpotten og
andre varme overflader. Vent på, at motoren
er kølet af, før du udfører vedligeholdelse.
- Skift ikke motorens regulatorhastighed,
og kør ikke motoren ved for høj hastighed.
Eftersyn af luftfilteret
Afmontering af luftfilterindsatsen
-
Parker maskinen
på en plan flade, udkobl kontakten til regulering af skæreknive,
og flyt bevægelseshåndtagene udad til positionen
Park (parker).
-
Sluk for
motoren, og vent til alle bevægelige dele er standset, før
du forlader betjeningspositionen.
-
Rengør
området omkring luftfilterdækslet
for at forhindre snavs i at trænge
ind i motoren og forårsage skader.
-
Løsn
slangeklemmen
, og fjern papirindsatsen
.
Eftersyn af papirluftfilterindsatsen
-
Rens papirindsatsen
ved forsigtigt at banke på den for at fjerne støv.
Bemærk: Hvis papirindsatsen er meget snavset,
skal den udskiftes med en ny.
-
Undersøg
indsatsen for revner, oliefilm eller beskadigelse af gummipakningen.
-
Udskift papirindsatsen,
hvis den er beskadiget.
Rengør
ikke papirfilteret.
Motoroliekontrol
Motoroliespecifikationer
| Olietype
|
Selvrensende olie (API-service
SF, SG, SH, SJ eller SL)
|
| Krumtaphusets kapacitet |
1,8 l uden
filteret; 2,1 l med filteret
|
| Viskositet |
Se nedenstående tabel |
| |
Kontrol af motoroliestanden
-
Parker maskinen
på en plan flade, udkobl kontakten til regulering af skæreknive,
og flyt bevægelseshåndtagene udad til positionen
Park (parker).
-
Sluk for
motoren, tag nøglen ud, og vent, til alle bevægelige dele
er standset, før du forlader betjeningspositionen.
-
Vent, til
motoren er afkølet, så olien har haft tid til at løbe
ned i sumpen.
-
Før
du tager målepinden ud, skal du rengøre området omkring
oliepåfyldningsdækslet og målepinden for at undgå,
at der kommer snavs, afklippet græs
osv. i motoren.
-
Kontroller
motoroliestanden som vist.
Hvis
du fylder for meget eller for lidt olie på motorens krumtaphus
og starter motoren, risikerer du, at motoren beskadiges.
Skift af motorolien
-
Parker maskinen,
så dræningssiden er lidt lavere end den modsatte side. På
denne måde sikres det, at al olien aftappes.
-
Udkobl kontakten
til regulering af skæreknive (kraftudtag), og flyt bevægelseshåndtagene
udad til positionen Park (parker).
-
Sluk motoren,
tag nøglen ud, og vent, til alle bevægelige dele er standset,
før du forlader betjeningspositionen.
-
Dræn
olien fra motoren.
-
Hæld
langsomt ca. 80 % af den angivne olie i påfyldningsrøret,
og påfyld langsomt ekstra olie, så oliestanden når
op til mærket Full (fuld).
-
Olien og
filteret skal bortskaffes på forsvarlig vis i henhold til lokale
forskrifter.
Skift af motoroliefilteret
-
Dræn
olien fra motoren.
-
Skift motoroliefilteret
som vist.
Bemærk: Sørg for, at oliefilterpakningen
berører motoren, og drej derefter oliefilteret en ekstra ¾
omgang.
-
Påfyld
langsomt den angivne olie i påfyldningsrøret, indtil oliestanden
når op til mærket Full (fuld).
Serviceeftersyn af tændrøret
Sørg for,
at gnistgabet mellem midter- og sideelektroden er korrekt, før
tændrøret monteres. Brug en tændrørsnøgle
til at afmontere og montere tændrøret
og en søgelære til at kontrollere og justere gnistgabet.
Monter om nødvendigt et nyt tændrør.
Type: NGK® BPR4ES
Gnistgab: 0,76 mm
Afmontering af tændrøret
-
Parker maskinen
på en plan flade, udkobl kontakten til regulering af skæreknive,
og flyt bevægelseshåndtagene udad til positionen
Park (parker).
-
Sluk for
motoren, tag nøglen ud, og vent, til alle bevægelige dele
er standset, før du forlader betjeningspositionen.
-
Rengør
området omkring bunden af tændrøret for at forhindre,
at der slipper snavs og materiale ind i motoren.
-
Fjern tændrøret.
Kontrol af tændrøret
Rengør ikke tændrøret/tændrørene.
Udskift altid tændrøret/tændrørene, når det/de
har: en sort belægning, slidte elektroder,
oliefilm eller revner.
Hvis der kan
ses en lys brun eller grå farve på isolatoren, fungerer
motoren korrekt. En sort belægning på isoleringen betyder
normalt, at luftfilteret er snavset.
-
Indstil gnistgabet
til 0,76 mm.
Rensning af kølesystemet
-
Parker maskinen
på en plan flade, udkobl kontakten til regulering af skæreknive,
og flyt bevægelseshåndtagene udad til positionen
Park (parker).
-
Sluk for
motoren, tag nøglen ud, og vent, til alle bevægelige dele
er standset, før du forlader betjeningspositionen.
-
Fjern luftfilteret
fra motoren.
-
Fjern motorskærmen.
-
Sæt
luftfilteret i filterbasen for at forhindre, at der trænger snavs
ind i luftindtaget.
-
Fjern snavs
og græs fra delene.
-
Fjern luftfilteret,
og monter motorskærmen.
-
Isæt
luftfilteret.
Brændstofvedligeholdelse
 |
Fare |
|
Under visse forhold er brændstof
meget brandfarligt og yderst eksplosivt. En brand eller eksplosion
forårsaget af brændstof kan give
dig eller andre forbrændinger samt medføre tingsskade.
Udskiftning af brændstoffiltrene
-
Parker maskinen
på en plan flade, udkobl kontakten til regulering af skæreknive,
og flyt bevægelseshåndtagene udad til positionen
Park (parker).
-
Sluk for
motoren, tag nøglen ud, og vent, til alle bevægelige dele
er standset, før du forlader betjeningspositionen.
-
Klem brændstofledningerne
på begge sider af brændstoffilteret.
-
Udskift filteret.
Bemærk: Sørg for, at pilen, som angiver
gennemstrømningsretningen på erstatningsfilteret, peger
mod motoren.
Monter
aldrig et snavset filter efter at have fjernet det fra brændstofledningen.
-
Fjern de
klemmer, der blokerer brændstoftilførslen.
Vedligeholdelse af elektrisk system
Elektrisk system – Sikkerhed
- Kobl kablet fra batteriets minuspol,
før du reparerer maskinen.
- Oplad batterier på et åbent
sted med god ventilation, væk fra gnister og åben ild. Træk
stikket til opladeren ud af stikkontakten,
før du slutter den til eller kobler den fra batteriet.
Brug beskyttelsesdragt og isoleret værktøj.
Eftersyn af batteri
Afmontering af batteriet
 |
Advarsel |
|
Batteripoler eller metalværktøj
kan kortslutte mod maskinens metaldele og forårsage gnister.
Gnister kan få batterigasserne
til at eksplodere og medføre personskade.
- Når batteriet skal fjernes
eller monteres, må batteriets poler ikke berøre nogen metaldele
på maskinen.
- Metalværktøj må
ikke kortslutte mellem batteripolerne og maskinens metaldele.
-
Parker maskinen
på en plan flade, udkobl kontakten til regulering af skæreknive,
og flyt bevægelseshåndtagene udad til positionen
Park (parker).
-
Sluk for
motoren, tag nøglen ud, og vent, til alle bevægelige dele
er standset, før du forlader betjeningspositionen.
-
Tag det sorte
minusjordkabel af batteriets pol.
Bemærk: Gem alle fastgørelsesanordningerne.
 |
Advarsel |
|
Ukorrekt
afmontering af kablerne fra batteriet kan danne gnister og beskadige
maskinen og kablerne. Gnister kan få batterigasserne
til at eksplodere og medføre personskade.
- Frakobl altid batteriets (sorte)
minuskabel, før du frakobler det røde pluskabel.
- Tilslut altid batteriets røde
pluskabel, før du tilslutter det sorte minuskabel.
-
Skyd gummikappen
af det positive (røde) kabel.
-
Kobl det
røde positive kabel fra batteriets pol (+).
Bemærk: Gem alle fastgørelsesanordningerne.
-
Fjern batteriholderen,
og løft batteriet op fra batteribakken.
G440221
-
Batteri
-
Klemme
-
Batteriets minuspol
-
Fløjmøtrik, spændeskive
og bolt
-
Batteritilholder
-
Bolt, spændeskive og møtrik
-
Batteriets pluspol
Opladning af batteriet
 |
Advarsel |
|
Opladning af batteriet producerer
gasser, der kan eksplodere.
Der må aldrig ryges i nærheden
af batteriet, og gnister og åben ild skal holdes væk fra
batteriet.
Batteriet skal altid være
fuldt opladet. Dette er særlig vigtigt for at forhindre, at batteriet
bliver beskadiget, når temperaturen
er under 0 °C.
-
Fjern batteriet
fra maskinen.
-
Oplad batteriet
i henhold til anvisningerne fra batteriopladerproducenten.
Batteriet
må ikke overoplades. Ellers kan det blive beskadiget.
G003792S
- Batteriets
pluspol
- Batteriets
minuspol
- Rødt
(+) opladningskabel
- Sort
(-) opladningskabel
-
Når
batteriet er fuldt opladet, skal du tage opladeren ud af stikkontakten
(hvis den er tilsluttet) og dernæst koble opladningskablerne
fra batteriets poler.
Rengøring af batteriet
Bemærk: Polerne og hele batterikassen
skal holdes rene, da et snavset batteri aflades langsomt.
-
Parker maskinen
på en plan flade, udkobl kontakten til regulering af skæreknive,
og flyt bevægelseshåndtagene udad til positionen
Park (parker).
-
Sluk for
motoren, og vent til alle bevægelige dele er standset, før
du forlader betjeningspositionen.
-
Fjern batteriet
fra maskinen.
-
Vask hele
kassen med en opløsning af tvekulsurt natron og vand.
-
Skyl batteriet
med rent vand.
-
På grund
af risikoen for korrosion skal batteriets poler og kabelforbindelserne
smøres med Grafo 112X-fedt eller vaseline.
-
Montering
af batteriet.
Montering af batteriet
-
Placer batteriet
i bakken.
-
Sæt
det positive batterikabel (rødt) i den positive batteripol vha.
de fastgørelsesanordninger, som du fjernede tidligere.
-
Sæt
det negative batterikabel i den negative batteripol vha. de fastgørelsesanordninger,
som du fjernede tidligere.
-
Før
den røde klemme over på den positive (røde) batteripol.
-
Fastgør
batteriet med holderen.
G440221
-
Batteri
-
Klemme
-
Batteriets minuspol
-
Fløjmøtrik, spændeskive
og bolt
-
Batteritilholder
-
Bolt, spændeskive og møtrik
-
Batteriets pluspol
Chokstart af maskinen
 |
Advarsel |
|
Chokstart af batteriet kan producere
eksplosive luftarter.
Der må aldrig ryges i nærheden
af batteriet, og gnister og åben ild skal holdes væk fra
batteriet.
 |
Fare |
|
Forsøg på at chokstarte
et svagt batteri, der er revnet eller frosset, eller som har en lav
elektrolytstand eller en åben/afkortet
battericelle, kan medføre en eksplosion med alvorlige personskader
til følge.
Chokstart ikke et svagt batteri,
hvis disse forhold er til stede.
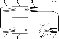
-
Kontrollér
batteripolerne for rust, og fjern rust efter behov før start
med startkabler. Sørg for, at tilslutningerne er tilspændte.
 |
Forsigtig |
|
Rust
eller løse forbindelser kan medføre uønskede elektriske
spændingsspidser når som helst under chokstartproceduren.
Forsøg ikke at starte maskinen
med startkabler, hvis batteripolerne er løse eller rustne. Dette
kan føre til maskinskade.
-
Sørg
for, at startbatteriet er et fuldt opladet syrebatteri af god kvalitet
på mindst 12,6 volt.
Bemærk: Brug korrekt dimensionerede startkabler
med korte længder for at reducere spændingsfaldet mellem
systemerne. Sørg for, at kablerne
er farvekodet eller mærket med den korrekte polaritet.
 |
Advarsel |
|
Batterier
indeholder syre og genererer eksplosive gasser.
- Beskyt altid dine øjne og
dit ansigt mod batterierne.
- Læn dig ikke ind over batterierne.
Bemærk: Sørg for, at ventilationshætterne
er stramme og plane. Placer en fugtig klud, hvis en sådan forefindes,
over evt. ventilationshætter
på begge batterier. Kontroller desuden, at maskinerne ikke er
i berøring med hinanden, og at begge elektriske systemer er
slukket og har samme nominelle systemspænding.
Disse anvisninger gælder kun negativt jordede systemer.
-
Slut pluskablet
(+) til pluspolen (+) på det afladede batteri, der er forbundet
med startmotoren eller magnetventilen som
vist:
g012785
- Pluskablet
(+) på afladet batteri
- Pluskablet
(+) på startbatteri
- Minuskablet
(–) på startbatteri
- Minuskabel
(–) på motorblokken
- Startbatteri
- Afladet
batteri
- Motorblok
-
Slut det
positive (+) startkabels anden ende til batteriets positive terminal
på den anden maskine.
-
Slut den
ene ende af det negative (-) startkabel til batteriets negative pol
på den anden maskine.
-
Slut den
anden ende af det negative (-) startkabel til et jordpunkt, f.eks.
en umalet bolt eller en del af chassiset, der
ikke er lakeret.
-
Start den
anden maskines motor. Lad den køre et par minutter, og start
din motor.
-
Fjern kablerne
i den omvendte tilslutningsrækkefølge.
-
Fastgør
dækslet på startspolen.
Serviceeftersyn af sikringerne
Det elektriske system er beskyttet
af sikringer. Det behøver ingen vedligeholdelse, men hvis en
sikring springer, skal du dog kontrollere
komponenten og kredsløbet for fejl eller kortslutning.
-
Parker maskinen
på en plan flade, udkobl kontakten til regulering af skæreknive,
og flyt bevægelseshåndtagene udad til positionen
Park (parker).
-
Sluk for
motoren, tag nøglen ud, og vent, til alle bevægelige dele
er standset, før du forlader betjeningspositionen.
-
Udskift den
kortsluttede sikring med en ny sikring.
G440132
- Ladekredsløb
(15 A)
- Hovedsikring
(25 A)
Vedligeholdelse af drivsystem
Kontrol af dæktrykket
Oprethold lufttrykket i for- og
baghjulene som angivet. Ujævnt dæktryk kan forårsage
ujævn klipning. Kontrollér trykket ved
ventilspindlen, når dækkene er kolde, så du
får den mest nøjagtige trykaflæsning.
-
Pump de forreste
styrehjuls dæk op til 103 kPa (15 psi) eller det tryk,
der er angivet på dæksiden, alt efter hvilket tal
der er lavere.
-
Pump de bageste
drivhjuls dæk op til 90 kPa (13 psi).
Kontrol af hjullåsemøtrikkerne
-
Kontroller
og tilspænd hjullåsemøtrikkerne med et moment på 129 Nm.
Justering af sporingen
Når du
kører maskinen fremad ved fuld hastighed over en flad, plan overflade,
skal du justere sporingen, hvis maskinen trækker
til siden.
Hvis maskinen trækker til
venstre, skal du justere det højre bevægelseshåndtag.
Hvis maskinen trækker til højre, skal du justere
det venstre bevægelseshåndtag.
Bemærk: Du kan kun justere sporingen for
fremadrettet kørsel.
-
Parker maskinen
på en plan flade, udkobl kontakten til regulering af skæreknive,
og flyt bevægelseshåndtagene udad til positionen
Park (parker).
-
Sluk for
motoren, tag nøglen ud, og vent, til alle bevægelige dele
er standset, før du forlader betjeningspositionen.
-
Find bolten
til sporingsjustering i nærheden af bevægelseshåndtaget
på den side, der skal justeres.
-
Drej bolten
for at reducere hastigheden for det pågældende hjul.
Bemærk: Drej bolten en anelse for at foretage
mindre justeringer.
-
Start maskinen,
og kør frem på en flad, plan overflade med bevægelseshåndtagene
helt fremme for at kontrollere, om maskinen
sporer lige. Gentag denne procedure efter behov.
Vedligeholdelse af remme
Eftersyn af remmene
-
Parker maskinen
på en plan flade, udkobl kontakten til regulering af skæreknive,
og flyt bevægelseshåndtagene udad til positionen
Park (parker).
-
Sluk for
motoren, og vent til alle bevægelige dele er standset, før
du forlader betjeningspositionen.
-
Indstil klippehøjden
til den laveste position.
-
Efterse remmen
for slid. Udskift remmen, hvis den er slidt.
Tegnene på
en slidt rem omfatter en hvinende lyd, når remmen roterer, glidende
skæreknive under plæneklipning og flossede
kanter, brændemærker og revner på
remmen.
Udskiftning af plæneklipperremmen
Tegnene på en slidt rem omfatter
en hvinende lyd, når remmen roterer, glidende skæreknive
under plæneklipning og flossede kanter,
brændemærker og revner på remmen. Udskift remmen, hvis
nogen af disse forhold opstår.
-
Parker maskinen
på en plan flade, udkobl kontakten til regulering af skæreknive,
og flyt bevægelseshåndtagene udad til positionen
Park (parker).
-
Sluk for
motoren, tag nøglen ud, og vent, til alle bevægelige dele
er standset, før du forlader betjeningspositionen.
-
Indstil klippehøjden
til den laveste position.
-
Frigiv plæneklipperskjoldets
gardin.
-
Fjern remskivens
dæksler.
-
Løsn
den møtrik, der fastgør trådformen til styreremskiven.
-
Brug et fjederværktøj
(Toro-delnr. 92-5771) til at fjerne styrefjederen fra skjoldets
krog for at tage spændingen af styreremskiven.
 |
Advarsel |
|
Fjederen
er spændt, når den monteres, og kan forårsage personskade.
Vær forsigtig, når du
fjerner remmen.
G453682
- Skjoldremskive
- Plæneklipperrem
- Motorremskive
- Styreremskive
- Fjeder
- Fjederværktøj
-
Rul remmen
af remskiverne.
-
Før
den nye rem rundt om motorremskiven og plæneklipperremskiverne.
-
Brug fjederværktøjet
til at montere styrefjederen over skjoldets krog og tilspænde
styreremskiven og plæneklipperremmen.
-
Placer trådformen
mod styrearmen som vist, og spænd møtrikken.
-
Monter remskivens
dæksler.
-
Stram bolten
på plæneklipperskjoldets gardin.
Vedligeholdelse af plæneklipperskjoldet
Skæreknivssikkerhed
- Efterse jævnligt skæreknivene
for slid og skader.
- Vær forsigtig, når du
efterser knivene. Pak skæreknivene ind, eller bær handsker,
og vær forsigtig når du servicerer den/dem.
Beskadigede skæreknive skal udskiftes: Du må
aldrig rette dem ud eller svejse dem.
- På maskiner med flere skæreknive
skal du udvise forsigtighed, da én skæreknivs rotation kan
få andre skæreknive til at rotere.
- Udskift slidte eller beskadigede
skæreknive og bolte sætvis for at bevare afbalanceringen.
Eftersyn af skæreknive
For at sikre
en god klippekvalitet skal skæreknivene holdes skarpe. Det kan
være praktisk at have en eller flere ekstra skæreknive
ved hånden i forbindelse med slibning
og udskiftning.
Udskift skæreknivene, hvis
de rammer et solidt objekt, eller hvis skærekniven er ude af
balance eller bøjet.
Før besigtigelse eller eftersyn af skæreknivene
-
Parker maskinen
på en plan flade, udkobl kontakten til regulering af skæreknive,
og flyt bevægelseshåndtagene udad til positionen
Park (parker).
-
Sluk for
motoren, tag nøglen ud, og vent, til alle bevægelige dele
er standset, før du forlader betjeningspositionen.
-
Kobl tændrørskablerne
fra tændrørene.
Kontrol for bøjede skæreknive
Maskinen skal
stå på en plan overflade, når denne procedure udføres.
-
Hæv
plæneklipperskjoldet til den højeste klippehøjde.
-
Bær
tykt polstrede handsker eller anden tilstrækkelig håndbeskyttelse,
drej langsomt skærekniven til en position, der gør
det muligt for dig at måle afstanden
mellem skærekanten og den plane flade.
-
Mål
fra spidsen af skærekniven til den plane overflade.
G451422
- Skærekniv
(i måleposition)
- Plan
overflade
- Målt
afstand mellem skærekniven og overfladen (A)
-
Drej samme
skærekniv 180 grader, så den modsatte skæreknivs
kant nu befinder sig i samme position.
G451423
- Tidligere
målt skæreknivskant
- Modsat
skæreknivskant
-
Mål
fra spidsen af skærekniven til den plane overflade.
G451422
- Skærekniv
(i måleposition)
- Plan
overflade
- Målt
afstand mellem skærekniv og overfladen (B)
-
Hvis forskellen
mellem A og B er større end 3 mm, skal skærekniven
udskiftes.
Bemærk: Hvis du udskifter skærekniven,
og forskellen stadig er støre end 3 mm, kan skæreknivsspindlen
være bøjet. Kontakt en autoriseret
serviceforhandler med henblik på eftersyn.
-
Gentag proceduren
på hver skærekniv.
Afmontering af skæreknivene
-
Hold i skæreknivens
ende med en klud eller en tyk handske.
-
Fjern skærekniven
som vist.
Slibning af skæreknivene
-
Brug en fil
til at slibe begge ender af skærekniven. Sørg for at bevare
den oprindelige vinkel
.
Bemærk: Fjern den samme mængde materiale
fra begge skær, så skærekniven bevarer sin balance.
-
Kontroller
skæreknivens balance
ved at placere den på
en afbalanceringsenhed
.
Bemærk: Hvis skærekniven forbliver
i en vandret position, er kniven afbalanceret og kan benyttes.
Hvis skærekniven
ikke er afbalanceret, skal der slibes lidt mere metal af sejlområdet.
-
Gentag denne
procedure, indtil skærekniven er afbalanceret.
Montering af skæreknivene
 |
Advarsel |
|
Betjening af en maskine efter
forkert montering af skæreknivsenheden og/eller uden brug af
originale skæreknive og skæreknivsbeslag
fra Toro kan medføre, at en skærekniv
eller et skæreknivskomponent kan blive slynget ud under skjoldet,
hvilket kan medføre alvorlig personskade
eller død.
Monter altid originale skæreknive
og skæreknivsbeslag fra Toro ifølge anvisningerne.
-
Monter skærekniven
som vist.
Bemærk: Den buede del af skærekniven
skal pege opad mod indersiden af plæneklipperen for at sikre
en god klipning.
-
Tilspænd
skæreknivsbolten til et moment på 136 til 149 Nm.
Nivellering af plæneklipperskjoldet
Sørg for,
at plæneklipperskjoldet er plant, hver gang du monterer plæneklipperen,
eller når du ser en ujævn klipning på plænen.
Forberedelse til nivellering af plæneklipperskjoldet
-
Parker maskinen
på en plan flade, udkobl kontakten til regulering af skæreknive,
og flyt bevægelseshåndtagene udad til positionen
Park (parker).
-
Sluk for
motoren, tag nøglen ud, og vent, til alle bevægelige dele
er standset, før du forlader betjeningspositionen.
-
Sørg
for, at dækkene er pumpet op i overensstemmelse med de korrekte
specifikationer, og at hjulene vender lige fremad.
-
Kontroller
plæneklipperskjoldet for bøjede skæreknive. Fjern og
udskift bøjede skæreknive.
-
Hæv
plæneklipperskjoldet til en klippehøjdeindstilling på
76 mm.
Kontrol af klippeskjoldniveauet
-
Placer skæreknivene
side om side.
-
Mål
ved punkt
og
fra et plant underlag til skærekanten
på skæreknivspidserne
.
Forskellen mellem målingerne
må højst være 5 mm. Hvis målingen er større,
skal du justere den tværgående nivellering.
-
Placer 1
skærekniv på langs.
-
Mål
ved punkt
og
fra et plant underlag til skærekanten
på skæreknivspidserne
.
Den forreste skæreknivs spids
skal være 1,6-7,9 mm lavere end den bageste skæreknivs
spids. Hvis målingen ikke er korrekt,
skal den langsgående nivellering justeres.
Nivellering af plæneklipperskjoldet
-
Sæt
antiskalperingsrullerne i de øverste huller, eller fjern dem
helt, når denne procedure foretages.
-
Flyt klippehøjdehåndtaget
til positionen på 76 mm.
-
Placer 2 blokke
, der hver især har en tykkelse
på 6,6 cm, under hver side af skjoldets forkant.
Placer
ikke blokkene under antiskalperingsrullernes beslag.
-
Placer 2
blokke
, der hver især har en tykkelse
på 7,3 cm, under hver side af skjoldet bagerste kant.
-
Løsn
de nedre fastgørelsesanordninger, der fastgør beslagene
til alle 4 hjørner på plæneklipperskjoldet, og sørg
for, at plæneklipperskjoldet sidder
sikkert på alle 4 blokke.
-
Fjern alt
slæk fra skjoldbeslagene, og sørg for, at skjoldets løftepedal
er skubbet tilbage mod stoppeklodsen.
-
Tilspænd
fastgørelsesanordningerne.
-
Sørg
for, at blokkene passer nøjagtigt ind under skjoldets kant, og
at alle fastgørelsesboltene er spændt til.
-
Kontroller
den tværgående nivellering og den langsgående nivellering.
Gentag denne procedure, indtil målingerne er korrekte.
Afmontering af plæneklipperskjoldet
-
Parker maskinen
på en plan flade, udkobl kontakten til regulering af skæreknive,
og flyt bevægelseshåndtagene udad til positionen
Park (parker).
-
Sluk for
motoren, tag nøglen ud, og vent, til alle bevægelige dele
er standset, før du forlader betjeningspositionen.
-
Sænk
klippehøjdehåndtaget til den laveste position.
-
Frigiv plæneklipperskjoldets
gardin.
-
Fjern låseclipsen
og spændeskiven fra den forreste støttestang
, og fjern stangen fra skjoldbeslaget
.
Bemærk: Gem alle dele til fremtidig montering.
-
Fjern de
øverste fastgørelsesanordninger, der fastgør beslagene
til alle 4 løftearme.
-
Skyd plæneklipperen
tilbage for at fjerne plæneklipperremmen fra motorremskiven.
-
Skyd plæneklipperen
ud fra undersiden af maskinen.
Montering af plæneklipperskjoldet
-
Parker maskinen
på en plan flade, udkobl kontakten til regulering af skæreknive,
og flyt bevægelseshåndtagene udad til positionen
Park (parker).
-
Sluk for
motoren, tag nøglen ud, og vent, til alle bevægelige dele
er standset, før du forlader betjeningspositionen.
-
Skub plæneklipperskjoldet
ind under maskinen.
-
Sænk
klippehøjdehåndtaget til den laveste position.
-
Monter løfteleddene
på skjoldløftearmene ved hjælp af de tidligere fjernede
fastgørelsesanordninger.
-
Fastgør
den forreste støttestang
til skjoldbeslaget
med låseclipsene og spændeskiven.
-
Monter plæneklipperremmen
på motorremskiven.
-
Stram bolten
på plæneklipperskjoldets gardin.
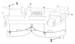
Udskiftning af græsdeflektoren
 |
Fare |
|
En utildækket udblæsningsåbning
kan resultere i, at der udkastes genstande i din eller omkringståendes
retning. Der kan også opstå kontakt
med skærekniven. Kastede genstande eller kontakt med skærekniven
medfører alvorlig personskade eller dødsfald.
Brug aldrig
plæneklipperen med udblæsningsdeflektoren oppe, fjernet
eller ændret, medmindre der er et korrektfungerende græssamlersystem
eller kværnsæt monteret.
-
Parker maskinen
på en plan flade, udkobl kontakten til regulering af skæreknive,
og flyt bevægelseshåndtagene udad til positionen
Park (parker).
-
Sluk for
motoren, tag nøglen ud, og vent, til alle bevægelige dele
er standset, før du forlader betjeningspositionen.
-
Tag fjederen
ud af hakket i deflektorbeslaget, og skub stangen ud af de svejsede
skjoldbeslag, fjederen og udblæsningsdeflektoren.
G456086
- Stang
- Græsdeflektor
- Fjeder
- Skjoldbeslag
- Split
- Fjeder
monteret over stangen
-
Fjern den
beskadigede eller slidte græsdeflektor.
-
Placer den
nye udblæsningsdeflektor med beslagenderne mellem de svejsede
beslag på skjoldet som vist.
G456085
- Stang-
og fjederenhed monteret
- Fjederens
øjeende monteret i hakket på deflektorbeslaget
- Stang,
kort ende, flyttet om bag plæneklipperbeslaget
- Kort
ende, fastholdt af plæneklipperbeslag
- Split
-
Fastgør
stang- og fjederenheden ved at dreje den, så den korte ende af
stangen er bag det forreste beslag, som er svejset
fast på skjoldet.
-
Monter splitten
i stangens ende.
Græsdeflektoren
skal fjederbelastes i den sænkede position. Løft deflektoren
op for at kontrollere, at den låses i den helt
sænkede position.
Rengøring
Bortskaffelse af affald
Motorolie,
batterier, hydraulikvæske og motorkølervæske forurener
miljøet. Bortskaf dem i henhold til den lokale gældende
lovgivning.
Fejlfinding
Brændstoftanken viser tegn
på sammentrykning, eller maskinen viser hyppigt tegn på,
at den løber tør for brændstof.
| Mulig
årsag
|
Afhjælpning |
| Luftfilterets papirindsats
er blokeret. |
-
Rengør
papirindsatsen.
|
Motoren overopheder.
| Mulig
årsag
|
Afhjælpning |
| Motorbelastningen er for
stor. |
-
Sænk
kørehastigheden.
|
| Oliestanden i krumtaphuset
er lav. |
-
Fyld olie
på krumtaphuset.
|
| Køleribberne og luftkanalerne
under motorens blæserhus er tilstoppede.
|
-
Fjern snavs
og lignende fra køleribberne og luftkanalerne.
|
| Luftfilteret er snavset. |
-
Rens eller
udskift luftfilterindsatsen.
|
| Der er snavs, vand eller
gammelt brændstof i brændstofsystemet.
|
-
Kontakt en
autoriseret forhandler.
|
Starteren tørner ikke.
| Mulig
årsag
|
Afhjælpning |
| Kontakten til regulering
af skæreknive er indkoblet.
|
-
Deaktiver
kontakten til regulering af skæreknive.
|
| Bevægelseshåndtagene
er ikke i positionen Park (parker). |
-
Flyt bevægelseshåndtagene
udad til positionen Park (parker).
|
| Batteriet er fladt. |
-
Oplad batteriet.
|
| De elektriske forbindelser
er rustne eller løse. |
-
Kontroller,
om de elektriske tilslutninger har forbindelse.
|
| Der er sprunget en sikring. |
-
Udskift sikringen.
|
| Et relæ eller en kontakt
er beskadiget. |
-
Kontakt en
autoriseret serviceforhandler.
|
Motoren starter ikke, er svær
at starte eller sætter ud.
| Mulig
årsag
|
Afhjælpning |
| Brændstoftanken er
tom. |
-
Fyld brændstoftanken
op.
|
| Chokeren (hvis relevant)
er ikke aktiveret. |
-
Flyt chokerhåndtaget
til positionen On (til).
|
| Luftfilteret er snavset |
-
Rens eller
udskift luftfilterindsatsen.
|
| Tændrørskablet
sidder løst eller er faldet af.
|
-
Monter kablet/-erne
på tændrøret.
|
| Tændrøret/-ene
er ødelagt, snavset/-ede, eller gnistgabet er forkert. |
-
Monter et
nyt/nye tændrør med korrekt gnistgab.
|
| Der er snavs i brændstoffilteret. |
-
Udskiftning
af brændstoffilteret.
|
| Der er snavs, vand eller
gammelt brændstof i brændstofsystemet.
|
-
Kontakt en
autoriseret forhandler.
|
| Der er forkert brændstof
i brændstoftanken. |
-
Tøm
tanken, og udskift brændstoffet med den korrekte type.
|
| Oliestanden i krumtaphuset
er lav. |
-
Fyld olie
på krumtaphuset.
|
Motoren mister kraft.
| Mulig
årsag
|
Afhjælpning |
| Motorbelastningen er for
stor. |
-
Sænk
kørehastigheden.
|
| Luftfilteret er snavset. |
-
Rens luftfilterindsatsen.
|
| Oliestanden i krumtaphuset
er lav. |
-
Fyld olie
på krumtaphuset.
|
| Køleribberne og luftkanalerne
under motorens blæserhus er tilstoppede.
|
-
Fjern snavs
og lignende fra køleribberne og luftkanalerne.
|
| Tændrøret/-ene
er ødelagt, snavset/-ede, eller gnistgabet er forkert. |
-
Monter et
nyt/nye tændrør med korrekt gnistgab.
|
| Brændstoftankens aftræk
er blokeret. |
-
Kontakt en
autoriseret forhandler.
|
| Der er snavs i brændstoffilteret. |
-
Udskift brændstoffilteret.
|
| Der er snavs, vand eller
gammelt brændstof i brændstofsystemet.
|
-
Kontakt en
autoriseret forhandler.
|
| Der er forkert brændstof
i brændstoftanken. |
-
Kontakt en
autoriseret forhandler.
|
Maskinen kører ikke.
| Mulig
årsag
|
Afhjælpning |
| Omløbsventilerne er
åbne. |
-
Luk trækventilerne.
|
| Trækremmene er slidte,
løse eller sprunget. |
-
Kontakt en
autoriseret forhandler.
|
| Trækremmene er gået
af remskiverne. |
-
Kontakt en
autoriseret serviceforhandler.
|
| Transmissionen har svigtet. |
-
Kontakt en
autoriseret serviceforhandler.
|
Maskinen vibrerer unormalt.
| Mulig
årsag
|
Afhjælpning |
| Skærekniven(e) er
bøjede eller ude af balance.
|
-
Monter en
eller flere nye skæreknive.
|
| Skæreknivenes monteringsbolt
er løs. |
-
Tilspænd
skæreknivenes monteringsbolt.
|
| Motorens monteringsbolte
er løse. |
-
Tilspænd
motorens monteringsbolte.
|
| Der er en løs motorremskive,
styreremskive, eller en af skæreknivenes remskiver er løs. |
-
Tilspænd
den løse remskive.
|
| Motorremskiven er beskadiget. |
-
Kontakt en
autoriseret serviceforhandler.
|
| Skæreknivspindlen
er bøjet. |
-
Kontakt en
autoriseret forhandler.
|
| Motorophænget sidder
løst eller er slidt. |
-
Kontakt en
autoriseret serviceforhandler.
|
Klippehøjden er ujævn.
| Mulig
årsag
|
Afhjælpning |
| Skærekniven/-knivene
er ikke skarp(e). |
-
Slib kniven/knivene.
|
| Skærekniven/-knivene
er bøjet/-ede. |
-
Monter en
eller flere nye skæreknive
|
| Plæneklipperen er
ikke nivelleret. |
-
Niveller
plæneklipperen på tværs og på langs.
|
| En antiskalperingsrulle
(hvis relevant) er ikke indstillet korrekt.
|
-
Juster antiskalperingshjulets
højde.
|
| Undersiden af plæneklipperskjoldet
er snavset. |
-
Rengør
undersiden af plæneklipperskjoldet.
|
| Dæktrykket er ikke
korrekt. |
-
Tilpas dæktrykket.
|
| En knivspindel er bøjet. |
-
Kontakt en
autoriseret forhandler.
|
Skæreknivene roterer ikke.
| Mulig
årsag
|
Afhjælpning |
| Drivremmen er slidt, løs
eller sprunget. |
-
Monter en
ny drivrem.
|
| Drivremmen er gået
af remskiven. |
-
Monter drivremmen,
og kontroller, at justeringsakslerne og remstyrene er korrekt placeret.
|
| Kontakten til kraftudtaget
eller kraftudtagskoblingen er defekt.
|
-
Kontakt en
autoriseret forhandler.
|
| Plæneklipperremmen
er slidt, løs eller sprunget.
|
-
Monter en
ny plæneklipperrem.
|