
. Skriv in numren i det tomma
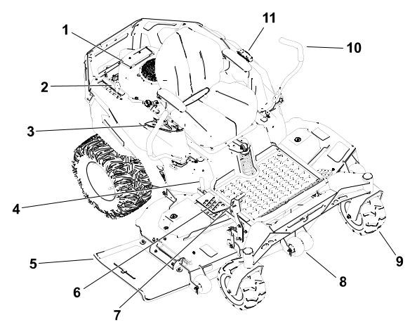
utrymmet.| Viktigt |
| Modellnummer: |
Serienummer: |

![]() |
Fara | |
![]() |
Varning | |
![]() |
Var försiktig | |
























| Modell 03171
|
Modell 76554
|
Modell 76660
|
|
|---|---|---|---|
| Bredd
|
122 cm
|
137 cm
|
152 cm
|
| Längd
|
208 cm
|
208 cm
|
208 cm
|
| Höjd
|
124 cm
|
124 cm
|
124 cm
|
| Vikt
|
358 kg
|
364 kg
|
371 kg
|
![]() |
Varning | |
| Kapacitet
|
19 l |
| Typ
|
Blyfri bensin
|
| Lägsta oktantal |
87 (USA) eller 91 (researchoktan;
utanför USA) |
| Etanol
|
Högst 10 volymprocent |
| Metanol
|
Ingen
|
| MTBE (metyl-tert-butyleter) |
Mindre än 15 volymprocent |
| Olja
|
Tillför inte till bränslet |
| Viktigt |
| Viktigt |

![]() |
Varning | |







.
och dra åt vredet
.![]() |
Varning | |




![]() |
Varning | |





![]() |
Varning | |






| Viktigt |


![]() |
Var försiktig | |
![]() |
Var försiktig | |


![]() |
Fara | |
![]() |
Fara | |


![]() |
Fara | |

med foten för att
höja klippdäcket.
ur klipphöjdsfästet.
.
helt framåt för att
låsa klippdäcket i transportläget.
framåt till läget olåst och sänk sedan långsamt
klippaggregatet till önskad klipphöjd.
| Viktigt |
![]() |
Varning | |
![]() |
Varning | |

![]() |
Varning | |



![]() |
Varning | |
| Underhållsintervall |
Underhållsprocedur |
|---|---|
| Efter de första åtta timmarna |
Byt ut motoroljan. |
| Efter de första 50 timmarna
|
Kontrollera att muttern är åtdragen. |
| Före varje användningstillfälle
eller dagligen |
Kontrollera säkerhetssystemet.
|
| Kontrollera om det finns några smutsiga, lösa eller skadade
delar i luftrenaren. |
|
| Kontrollera oljenivån i motorn.
|
|
| Rengör luftintagsgallret.
|
|
| Kontrollera knivarna.
|
|
| Kontrollera att gräsriktaren inte är skadad. |
|
| Efter varje användning |
Ta bort gräs och skräp från maskinen. |
| Rengör klippdäckskåpan.
|
|
| Var 25:e timme |
Smörj svänghjulslagren (oftare vid förhållanden
med sandig mark). |
| Kontrollera däcktrycket.
|
|
| Kontrollera att remmarna inte är slitna eller spruckna. |
|
| Var 100:e timme |
Byt motoroljan (oftare vid dammiga och smutsiga förhållanden). |
| Byt ut eller rengör tändstiftet och ställ in luftgapet. |
|
| Byt ut det inbyggda bränslefiltret.
|
|
| Var 100:e timme eller årligen
beroende på vilket som
inträffar först
|
Byt ut luftrenarens pappersinsats (oftare vid dammiga eller smutsiga
förhållanden).
|
| Var 200:e timme
|
Byt motoroljefiltret (oftare vid dammiga och smutsiga förhållanden). |
| Var 300:e timme
|
Kontrollera och justera ventilspelet. Kontakta en auktoriserad återförsäljare. |
| En gång per år
|
Kontrollera att muttern är åtdragen. |
| Innan förvaring |
Ladda batteriet och lossa batterikablarna.
|
| Utför alla underhållsprocedurer i listan ovan före
förvaring. |
|
| Måla i eventuella lackskador. |
|
| Viktigt |
på ramen på bägge
sidor av motorn.
.![]() |
Varning | |
![]() |
Varning | |
| Viktigt |
.| Viktigt |


så att inte smuts faller
ned i motorn och orsakar skador.
och ta bort pappersinsatsen
.| Viktigt |

på luftrenarens bas.
och spänn åt slangklämman
.| Oljetyp
|
Renad olja (API service SF, SG,
SH, SJ eller SL) |
| Vevhusvolym |
1,8 liter
utan filter, 2,1 liter med filter
|
| Viskositet |
Se tabellen nedan |
![]() |
|

| Viktigt |





| Viktigt |


![]() |
Fara | |
| Viktigt |

![]() |
Varning | |
![]() |
Varning | |

![]() |
Varning | |
| Viktigt |
| Viktigt |


![]() |
Varning | |
![]() |
Fara | |
![]() |
Var försiktig | |
![]() |
Varning | |






![]() |
Varning | |








.
med hjälp av en knivbalanserare
.![]() |
Varning | |


och
från en plan yta, till knivspetsarnas
egg
.
och
från en plan yta till knivspetsens
skärkant
.
, var och en med en tjocklek på
6,6 cm, under var sida av klippdäckets framkant.| Viktigt |
, var och en med en tjocklek på
7,3 cm, under var sida av klippdäckets bakkant.

och ta bort stången från
däckfästet
.


på klippdäcksfästet
med hårnålssprinten
och brickan.![]() |
Fara | |


| Viktigt |
| Viktigt |
| Viktigt |
| Möjliga orsaker |
Åtgärd |
|---|---|
| Luftrenarens pappersinsats
är igensatt. |
|
| Möjliga orsaker |
Åtgärd |
|---|---|
| Motorn belastas för
hårt. |
|
| Oljenivån i vevhuset
är låg. |
|
| Kylflänsarna och luftkanalerna
under motorns fläkthus är igensatta.
|
|
| Luftrenaren är smutsig. |
|
| Det finns smuts, vatten
eller gammalt bränsle i bränslesystemet.
|
|
| Möjliga orsaker |
Åtgärd |
|---|---|
| Knivreglaget står
i inkopplat läge. |
|
| Rörelsereglagespakarna
är inte i parkeringsläget.
|
|
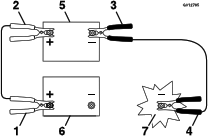
| Batteriet är urladdat. |
|
| De elektriska anslutningarna
har korroderat eller lossnat.
|
|
| En säkring har gått. |
|
| Ett relä eller en
brytare är defekt. |
|
| Möjliga orsaker |
Åtgärd |
|---|---|
| Bränsletanken är
tom. |
|
| Choken (i förekommande
fall) är inte igång.
|
|
| Luftrenaren är smutsig. |
|
| Tändkabeln/-kablarna
är lös(a) eller urkopplad(e).
|
|
| Tändstiftet/-stiften
är anfrätt(a), skadat(skadade) eller avståndet är
felaktigt inställt. |
|
| Det finns smuts i bränslefiltret. |
|
| Det finns smuts, vatten
eller gammalt bränsle i bränslesystemet.
|
|
| Bränslesystemet innehåller
felaktigt bränsle. |
|
| Oljenivån i vevhuset
är låg. |
|
| Möjliga orsaker |
Åtgärd |
|---|---|
| Motorn belastas för
hårt. |
|
| Luftrenaren är smutsig. |
|
| Oljenivån i vevhuset
är låg. |
|
| Kylflänsarna och luftkanalerna
under motorns fläkthus är igensatta.
|
|
| Tändstiftet/-stiften
är anfrätt(a), skadat(skadade) eller avståndet är
felaktigt inställt. |
|
| Bränsletankens ventil
är blockerad. |
|
| Det finns smuts i bränslefiltret. |
|
| Det finns smuts, vatten
eller gammalt bränsle i bränslesystemet.
|
|
| Bränslesystemet innehåller
felaktigt bränsle. |
|
| Möjliga orsaker |
Åtgärd |
|---|---|
| Överströmningsventilerna
är öppna. |
|
| Drivremmarna är slitna,
lösa eller trasiga. |
|
| Drivremmarna har lossnat
från remskivorna. |
|
| Misslyckad transmission. |
|
| Möjliga orsaker |
Åtgärd |
|---|---|
| Kniven/knivarna är
böjd(a) eller obalanserad(e).
|
|
| Knivens fästbult är
lös. |
|
| Motorns fästskruvar
är lösa. |
|
| Det finns en lös motorremskiva,
mellanremskiva eller knivremskiva.
|
|
| Motorremskivan är
skadad. |
|
| En knivspindel är
böjd. |
|
| Motorfästet är
löst eller slitet. |
|
| Möjliga orsaker |
Åtgärd |
|---|---|
| Kniven/knivarna är
inte skarp/skarpa. |
|
| Kniven/knivarna är
böjd(a). |
|
| Klipparen är inte
balanserad. |
|
| En antiskalpvals (i förekommande
fall) är felaktigt inställd.
|
|
| Klippdäckets undersida
är smutsig. |
|
| Däcktrycket är
felaktigt. |
|
| En knivspindel är
böjd. |
|
| Möjliga orsaker |
Åtgärd |
|---|---|
| Drivremmen är sliten,
lös eller skadad. |
|
| Drivremmen har lossnat
från remskivan. |
|
| Kraftuttagsbrytaren eller
kraftuttagskopplingen är trasig.
|
|
| Klipparremmen är sliten,
lös, eller trasig. |
|
