Vedlikehold
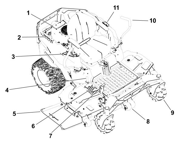
Sikkerhet ved vedlikehold
- Dersom du lar tenningsnøkkelen
stå i bryteren, kan noen starte motoren uten at det er tilsiktet,
noe som kan påføre deg eller
personer i nærheten alvorlige skader. Fjern tenningsnøkkelen
før du begynner med eventuelt vedlikeholdsarbeid.
- Før du forlater førerplassen,
gjør følgende:
- Parker maskinen på en jevn
flate.
- Koble fra drivverket.
- Sett på parkeringsbremsen.
- Slå av motoren og ta ut nøkkelen.
- Vent til maskinen kjøles
ned før du utfører vedlikehold.
- Ikke la personer uten opplæring
vedlikeholde eller reparere maskinen.
- Hold hender og føtter unna
bevegelige deler eller varme overflater. Du må aldri foreta justeringer
mens motoren går hvis du kan unngå
det.
- Hold alle vern, deksler, brytere
og alle sikkerhetsanordninger på plass og i fungerende stand.
Kontroller komponentene regelmessig for
slitasje og skader, og skift dem ut med originale Toro-deler ved behov.
- Vær forsiktig når du
slipper ut trykket i komponenter med lagret energi.
 |
Advarsel |
|
Fjerning eller modifisering av
originalt utstyr, deler og/eller tilbehør kan endre garantien,
kontrollerbarheten og sikkerheten til
maskinen. Utføring av uautoriserte endringer av originalutstyret
eller feilaktig bruk av originale Toro-deler kan føre til alvorlig
personskade eller dødsfall.
- Kontroller regelmessig at parkeringsbremsen
virker. Juster og vedlikehold den etter behov.
- Ikke tukle med sikkerhetsenhetene.
Kontroller regelmessig at de virker tilfredsstillende.
- Fjern gress, løv, for mye
fett og olje samt annet rusk fra klippeenheten, lyddemperen, drivverket,
gressoppsamleren og motorrommet for å
unngå brann.
- Tørk opp olje- eller drivstoffsøl,
og fjern rusk som er tilsølt av drivstoff.
- Bruk ikke bare mekaniske og hydrauliske
jekker for å støtte maskinen. Bruk tilstrekkelige jekkstøtter.
- Hold alle delene i god stand,
og sørg for at monteringstilbehøret er godt festet, spesielt
monteringstilbehøret som fester knivene.
- Bruk utelukkende originale Toro-reservedeler og
tilbehør fra Toro for å få best mulig ytelse. Det kan
være farlig å bruke reservedeler og tilleggsutstyr
som er laget av andre produsenter.
Anbefalt vedlikeholdsplan
| Etter de 8 første timene
|
Skift motoroljen. |
| Etter de 50 første timene
|
Kontroller momentet for hjulenes hakemuttere. |
| For hver bruk eller daglig |
Sjekk sikkerhetssperresystemet.
|
| Sjekk om luftrenseren har skitne, løse eller ødelagte deler. |
| Sjekk motoroljenivået.
|
| Rengjør luftinntaksskjermen.
|
| Inspiser knivene. |
| Kontroller om gressavlederen er skadet.
|
| Etter hver bruk |
Rengjør gress og rusk fra maskinen.
|
| Rengjør klippeenhetsdekselet.
|
| Hver 25. time |
Smør styrehjulenes kulelagre (oftere under arbeidsforhold med
sandet jordsmonn). |
| Kontroller trykket i dekkene.
|
| Kontroller remmene for slitasje/sprekker.
|
| Hver 100. time |
Skift motoroljen (oftere under skitne og støvete arbeidsforhold). |
| Skift eller rengjør og juster tennpluggen. |
| Skift ut drivstoffilteret i tanken.
|
| Hver 100. time eller årlig,
avhengig av hva som kommer
først |
Skift ut luftfilteret på papirelementet (oftere i støvete
eller skitne omgivelser).
|
| Hver 200. time
|
Skift ut motoroljefilteret (oftere under skitne og støvete arbeidsforhold). |
| Hver 300. time
|
Kontroller og juster ventilklaringen. Kontakt et autorisert forhandlerverksted. |
| Årlig |
Kontroller momentet for hjulenes hakemuttere. |
| Før lagring |
Lad opp batteriet og koble fra batterikablene. |
| Utfør alle vedlikeholdsprosedyrene nevnt ovenfor før lagring. |
| Lakker avskallede overflater. |
| |
Se i brukerhåndboken for
flere vedlikeholdsprosedyrer.
Forberedende vedlikeholdsprosedyrer
Flytte en maskin som ikke fungerer
-
Parker maskinen
på en jevn overflate, koble fra knivkontrollbryteren og flytt
bevegelseskontrollspakene utover til parkeringsstillingen.
-
Før
du forlater førersetet, må du stanse motoren og vente til
alle bevegelige deler står stille.
-
Finn omløpsspakene
på rammen på begge
sidene av motoren.
-
Flytt omløpsspakene
forover og over gjennom hullet med spor i for å låse dem
på plass
.
 |
Advarsel |
|
Kontakt
med varme overflater kan føre til personskader.
Hold
hender, føtter, ansiktet, klær og andre kroppsdeler borte
fra motoren, lyddemperen og andre varme overflater.
 |
Advarsel |
|
Maskinen
kan bevege seg utilsiktet mens omløpsspakene låses forover
i sporet, og skade deg eller tilskuere.
Lås omløpsspaken
bakover etter at maskinen er flyttet.
-
Koble fra
parkeringsbremsen ved å flytte begge bevegelseskontrollspakene
ned til midten, fri stilling.
Merk: Ikke start maskinen.
-
Flytt maskinen
etter behov.
Skyv
alltid maskinen for hånd. Maskinen må ikke taues. Det kan
skade den.
-
Flytt bevegelseskontrollspakene
utover til parkeringsstillingen.
-
Flytt begge
omløpsspakene bakover og over gjennom hullet med spor i for å
låse dem på plass
.
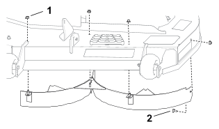
Frigjøre klippeenhetsforhenget
-
Løsne
de to nedre boltene på forhenget for å få tilgang til
toppen på klippeenheten.
Stram til boltene
etter vedlikehold for feste forhenget.
G453430
Motorvedlikehold
Motorsikkerhet
- Hold hender, føtter, ansiktet,
andre kroppsdeler og klær borte fra lyddemperen og andre varme
overflater. Vent til motoren kjøles
ned før du utfører vedlikehold.
- Hastigheten til motorregulatoren
må ikke endres, og motoren må ikke ruses.
Luftrensertjeneste
Fjerne luftrenserelementet
-
Parker maskinen
på en jevn overflate, koble fra knivkontrollbryteren og flytt
bevegelseskontrollspakene utover til parkeringsstillingen.
-
Før
du forlater førersetet, må du stanse motoren og vente til
alle bevegelige deler står stille.
-
Rengjør
rundt luftrenserdekselet
for å unngå
at det kommer smuss i motoren som kan forårsake skade.
-
Løsne
slangeklemmen
og fjern papirelementet
.
Overhale papirluftfilteret
-
Rengjør
papirelementet ved å dunke det forsiktig slik at støvet
faller av.
Merk: Hvis papirelementet er veldig skittent, kan du erstatte det med et
nytt.
-
Undersøk
om elementet har skader, et oljet belegg eller om gummitetningen er
skadet.
-
Papirelementet
må skiftes ut hvis det er skadet.
Ikke
rengjør papirfilteret.
Motoroljeservice
Motoroljespesifikasjoner
| Oljetype
|
Rensende olje (API service SF,
SG, SH, SJ eller SL) |
| Veivhuskapasitet |
1,8 l uten
filter, 2,1 l med filter
|
| Viskositet |
Se tabellen nedenfor |
| |
Kontrollere motoroljenivået
-
Parker maskinen
på en jevn overflate, koble fra knivkontrollbryteren og flytt
bevegelseskontrollspakene utover til parkeringsstillingen.
-
Før
du forlater førerplassen må du slå av motoren, ta ut
nøkkelen og vente til alle bevegelige deler står stille.
-
Vent til
motoren er avkjølt, slik at oljen har hatt tid til å renne
ned i bunnpannen.
-
For å
holde smuss, gress osv. ute av motoren rengjør du området
rundt oljelokket og peilestaven før du fjerner det.
-
Kontroller
motoroljenivået som vist.
Hvis
du fyller på for mye eller for lite olje i veivhuset og kjører
motoren, kan dette føre til skade på motoren.
Skifte motorolje
-
Parker maskinen
slik at siden der du tapper, står litt lavere enn motsatt side
for å være sikker på at all oljen tømmes ut.
-
Koble fra
knivkontrollbryteren, og flytt bevegelseskontrollspakene utover til parkeringsstillingen.
-
Før
du forlater førerplassen må du stanse motoren, ta ut nøkkelen
og vente til alle bevegelige deler står stille.
-
Tapp oljen
fra motoren.
-
Slå
langsomt cirka 80 % av den spesifiserte oljen ned i påfyllingsrøret,
og tilfør sakte resten av oljen til den når Full-merket.
-
Kasser den
brukte oljen og filteret i henhold til lokale forskrifter.
Skifte motoroljefilteret
-
Tapp oljen
fra motoren.
-
Skift motoroljefilteret
som vist.
Merk: Pass på at oljefilterpakningen er i kontakt med motoren, og
drei deretter filteret en ekstra ¾ omdreining.
-
Tilsett den
spesifiserte oljen langsomt i påfyllingsrøret for å
få oljenivået opp til Full-merket.
Overhale tennpluggen
Påse at elektrodeavstanden
(avstanden mellom elektroden på midten og elektroden på
siden) er korrekt før pluggen settes inn.
Tennpluggen monteres/demonteres ved hjelp av en tennpluggnøkkel,
og elektrodeavstanden justeres ved hjelp av et spesialverktøy
eller følerblad. Monter en ny tennplugg
dersom det er nødvendig.
Type: NGK® BPR4ES
Elektrodeavstand: 0,76 mm
Demontere tennpluggen
-
Parker maskinen
på en jevn overflate, koble fra knivkontrollbryteren og flytt
bevegelseskontrollspakene utover til parkeringsstillingen.
-
Før
du forlater førerplassen må du slå av motoren, ta ut
nøkkelen og vente til alle bevegelige deler står stille.
-
Rengjør
området rundt bunnen av tennpluggen for å holde skitt og
rusk ute av motoren.
-
Fjern tennpluggen.
Sjekke tennpluggen
Ikke rens tennpluggen(e). Kontroller
alltid tennpluggen når den har et svart belegg, slitte elektroder,
et oljebelegg eller sprekker.
Hvis
du ser en lysebrun eller grå farge på isolatoren, fungerer
motoren som den skal. Et svart belegg på isolatoren betyr
som regel at luftfilteret er skittent.
-
Still avstanden
til 0,76 mm.
Rengjøre kjølesystemet
-
Parker maskinen
på en jevn overflate, koble fra knivkontrollbryteren og flytt
bevegelseskontrollspakene utover til parkeringsstillingen.
-
Før
du forlater førerplassen må du slå av motoren, ta ut
nøkkelen og vente til alle bevegelige deler står stille.
-
Fjern luftfilteret
fra motoren.
-
Fjern motordekselet.
-
Monter luftfilteret
til filterbasen for å hindre at rusk kommer inn i luftinntaket.
-
Fjern rusk
og gress fra delene.
-
Fjern luftfilteret
og monter motordekselet.
-
Monter luftfilteret.
Drivstofftilknyttet vedlikehold
 |
Fare |
|
Under visse forhold er drivstoff
er meget brannfarlig og svært eksplosivt. Brann eller eksplosjon
forårsaket av drivstoff kan påføre
deg og andre brannskader samt ødelegge eiendom.
Skifte drivstoffilteret
-
Parker maskinen
på en jevn overflate, koble fra knivkontrollbryteren og flytt
bevegelseskontrollspakene utover til parkeringsstillingen.
-
Før
du forlater førerplassen må du slå av motoren, ta ut
nøkkelen og vente til alle bevegelige deler står stille.
-
Klem drivstoffledningene
på begge sider av drivstoffilteret.
-
Skift ut
filteret.
Merk: Sørg for at pilen for gjennomstrømningsretning på
utskiftingsfilteret peker mot motoren.
Et
skittent filter som er tatt av drivstoffslangen, må aldri monteres
på nytt.
-
Fjern klemmene
som blokkerer drivstoffstrømmen.
Vedlikehold av elektrisk system
Sikkerhet for elektrisk system
- Koble kabelen fra den negative
polen til batteriet før du reparerer maskinen.
- Lad opp batteriet på et åpent
sted med god ventilasjon og borte fra gnister eller åpen ild.
Koble laderen fra strømuttaket
før du kobler den til eller fra batteriet. Ha på deg beskyttelsesklær
og bruk verktøy som er isolert.
Batterivedlikehold
Fjerne batteriet
 |
Advarsel |
|
Batteripolene eller metallverktøy
kan kortslutte mot metallkomponenter og forårsake gnister. Gnistene
kan føre til at batterigassene
eksploderer, noe som kan forårsake personskade.
- Når du fjerner eller monterer
batteriet, må du passe på at batteripolene ikke berører
metalldeler på maskinen.
- La ikke metallverktøy kortslutte
mellom batteripolene og metalldeler på maskinen.
-
Parker maskinen
på en jevn overflate, koble fra knivkontrollbryteren og flytt
bevegelseskontrollspakene utover til parkeringsstillingen.
-
Før
du forlater førerplassen må du slå av motoren, ta ut
nøkkelen og vente til alle bevegelige deler står stille.
-
Koble den
negative (svarte) jordingskabelen fra batteripolen.
Merk: Behold alle festene.
 |
Advarsel |
|
Feilaktig
frakobling av batterikabler kan skade maskinen og kablene samt forårsake
gnister. Gnistene kan føre til at batterigassene
eksploderer, noe som kan forårsake personskade.
- Koble alltid fra den negative
(svarte) batterikabelen før du kobler fra den positive (røde)
kabelen.
- Koble alltid til den positive
(røde) batterikabelen før du setter på den negative
(svarte) kabelen.
-
Skyv gummihetten
av den positive (røde) kabelen.
-
Koble den
positive (røde) kabelen fra batteripolen (+).
Merk: Behold alle festene.
-
Fjern batteritilholderen
og løft batteriet ut av batteriholderen.
G440221
-
Batteri
-
Polhette
-
Negativ (-) batteripol
-
Vingemutter, skive og bolt
-
Batteritilholder
-
Bolt, skive og mutter
-
Positiv (+) batteripol
Lade batteriet
 |
Advarsel |
|
Når batteriet lades, utvikles
det gasser som kan eksplodere.
Røyk aldri i nærheten
av batteriet, og hold gnister og åpen ild borte fra batteriet.
Batteriet må alltid holdes
fulladet. Dette er spesielt viktig for å forhindre at batteriet
blir ødelagt når temperaturen er
under 0 °C.
-
Fjern batteriet
fra maskinen.
-
Lad batteriet
i henhold til batteriladerprodusentens instruksjoner.
Ikke
overlad batteriet. Hvis du gjør det, kan det bli skadet.
G003792S
- Positiv
batteripol
- Negativ
batteripol
- Rød
(+) laderledning
- Svart
(–) laderledning
-
Når
batteriet er helt oppladet, kobler du laderen fra strømuttaket
(hvis aktuelt), og deretter laderledningene fra batteripolene.
Rengjøre batteriet
Merk: Hold batteripolene og hele batterikassen ren. Et skittent batteri
lades sakte ut.
-
Parker maskinen
på en jevn overflate, koble fra knivkontrollbryteren og flytt
bevegelseskontrollspakene utover til parkeringsstillingen.
-
Før
du forlater førersetet, må du stanse motoren og vente til
alle bevegelige deler står stille.
-
Fjern batteriet
fra maskinen.
-
Vask hele
kassen med en oppløsning av natron og vann.
-
Skyll batteriet
med rent vann.
-
Smør
batteripolene og kabelskjøtestykkene med Grafo 112X smørefett
eller vaselin for å forhindre korrosjon.
-
Installere
batteriet.
Installere batteriet
-
Sett batteriet
i holderen.
-
Koble den
positive (røde) batterikabelen til den positive (+) batteriterminalen
ved å bruke festene du fjernet tidligere.
-
Koble den
negative batterikabelen til den negative (-) batteriterminalen ved
å bruke festene du fjernet tidligere.
-
Skyv den
røde polhetten over den positive (røde) batteripolen.
-
Fest batteriet
med tilholderen.
G440221
-
Batteri
-
Polhette
-
Negativ (-) batteripol
-
Vingemutter, skive og bolt
-
Batteritilholder
-
Bolt, skive og mutter
-
Positiv (+) batteripol
Kaldstart av maskinen
 |
Advarsel |
|
Kaldstart av batteriet kan produsere
gasser som kan eksplodere.
Ikke røyk i nærheten
av batteriet og hold gnister og åpen ild borte fra batteriet.
 |
Fare |
|
Kaldstart av et svakt batteri
som er sprukket eller frossent, eller som har lavt elektrolyttnivå
eller en åpen/kortsluttet battericelle,
kan fører til en eksplosjon som forårsaker alvorlig personskade.
Ikke
kaldstart et svakt batteri ved slike tilstander.
-
Kontroller
og fjern korrosjon fra batteriklemmene før du foretar en kaldstart.
Sikre at koblingene sitter godt fast.
 |
Forsiktig |
|
Korrosjon
eller løse koblinger kan forårsake uønsket elektrisk
spenningsstøt når som helst ved kaldstartsprosedyren.
Ikke prøv å foreta en
kaldstart av maskinen med løse eller korroderte batteriklemmer
eller dersom motoren er skadet, da dette
kan føre til skade på motoren.
-
Sørg
for at tilleggsbatteriet er et godt og fulladet blybatteri på
minst 12,6 volt eller mer.
Merk: Bruk startkabler av korrekt størrelse med korte lengder for
å redusere spenningsfall mellom systemene. Påse at kablene
er fargekodet eller merket for korrekt
polaritet.
 |
Advarsel |
|
Batterier
inneholder syre og kan produsere eksplosive gasser.
- Beskytt alltid øyne og ansikt
fra batteriene.
- Du må aldri lene deg over
batteriene.
Merk: Påse at utluftingshettene er tette og plane. Legg en fuktig
klut, hvis tilgjengelig, over utluftingshettene på hvert batteri.
Påse også at kjøretøyene
ikke er i kontakt og at begge de elektriske systemene er slått
av og har samme systemspenning. Disse
instruksjonene gjelder kun for systemer med negativ jording.
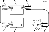
-
Koble den
positive (+) kabelen til den positive (+) polen på det utladede
batteriet som er koblet til startmotoren eller solenoiden
som vist:
g012785
- Positiv
(+) kabel på utladet batteri
- Positiv
(+) kabel på tilleggsbatteri
- Negativ
(-) kabel på tilleggsbatteri
- Negativ
(-) kabel på motorblokk
- Tilleggsbatteri
- Utladet
batteri
- Motorblokk
-
Koble den
andre enden på den positive (+) startkabelen til den positive
polen til batteriet i det andre maskinen.
-
Koble en
ende av den negative (-) startkabelen til den negative polen til batteriet
i den andre maskinen.
-
Koble den
andre enden av den negative (-) startkabelen til et jordingspunkt,
for eksempel en umalt bolt eller chassisdel.
-
Start motoren
i den andre maskinen. La den kjøre noen minutter, og start motoren
din.
-
Fjern kablene
i motsatt rekkefølge av tilkoblingen.
-
Monter dekselet
på batteripolen.
Vedlikeholde sikringene
Det elektriske systemet er beskyttet
av sikringer. Dette er vedlikeholdsfritt. Hvis en sikring går,
kontrollerer du om det er kortslutning i en
av ledningene.
-
Parker maskinen
på en jevn overflate, koble fra knivkontrollbryteren og flytt
bevegelseskontrollspakene utover til parkeringsstillingen.
-
Før
du forlater førerplassen må du slå av motoren, ta ut
nøkkelen og vente til alle bevegelige deler står stille.
-
Skift ut
sikringen som er gått, med en ny sikring.
G440132
- Ladekrets
(15 A)
- Hovedsikring
(25 A)
Vedlikehold av drivsystem
Kontrollere trykket i dekkene
Oppretthold det lufttrykket som
er spesifisert for for- og bakhjulene. Forskjellig trykk i hjulene
kan føre til ujevn klipping. Kontroller
trykket ved ventilstammen når dekkene er kalde for å få
den mest nøyaktige trykkavlesningen.
-
Pump luft
inn dekkene på fremre styrehjul til 1,03 bar eller trykket
som indikeres på sideveggen, avhengig av hva som er lavere.
-
Pump luft
inn i dekkene til de bakre drivhjulene til 0,9 bar (13 psi).
Kontrollere hjulenes hakemuttere
-
Kontroller
og trekk hjulmutterne til 129 Nm.
Justere sporingen
Hvis maskinen
trekker til én side når du kjører maskinen fremover
i full hastighet over en flat, jevn overflate, justerer
du sporingen.
Hvis maskinen trekker til venstre,
justerer du den høyre bevegelseskontrollspaken. Hvis maskinen
trekker til høyre, justerer du den venstre
bevegelseskontrollspaken.
Merk: Du kan justere sporingen kun for å kjøre fremover.
-
Parker maskinen
på en jevn overflate, koble fra knivkontrollbryteren og flytt
bevegelseskontrollspakene utover til parkeringsstillingen.
-
Før
du forlater førerplassen må du slå av motoren, ta ut
nøkkelen og vente til alle bevegelige deler står stille.
-
Finn sporingsjusteringsbolten
i nærheten av bevegelseskontrollspaken på siden som trenger
justering.
-
Roter bolten
for å redusere hastigheten for det bestemte hjulet.
Merk: Roter bolten litt for å foreta mindre justeringer.
-
Start maskinen
og kjør fremover på en flat, jevn overflate med bevegelseskontrollspakene
helt frem for å sjekke om maskinen
kjører rett. Gjenta prosedyren etter behov.
Vedlikehold av remmer
Kontrollere remmene
-
Parker maskinen
på en jevn overflate, koble fra knivkontrollbryteren og flytt
bevegelseskontrollspakene utover til parkeringsstillingen.
-
Før
du forlater førersetet, må du stanse motoren og vente til
alle bevegelige deler står stille.
-
Still klippehøyden
til den laveste klippestillingen.
-
Undersøk
remmen for slitasje. Skift ut remmen hvis den er slitt.
Tegn
på en slitt rem omfatter kvining mens remmen roterer, knivene
sklir ved klipping av gress og slitte kanter, brente merker
og sprekker på/i remmen.
Skifte klipperremmen
Tegn på
en slitt rem omfatter kvining mens remmen roterer, knivene sklir ved
klipping av gress og slitte kanter, brennmerker
og sprekker på remmen. Skift remmen hvis noen av disse
problemene oppstår.
-
Parker maskinen
på en jevn overflate, koble fra knivkontrollbryteren og flytt
bevegelseskontrollspakene utover til parkeringsstillingen.
-
Før
du forlater førerplassen må du slå av motoren, ta ut
nøkkelen og vente til alle bevegelige deler står stille.
-
Still klippehøyden
til den laveste klippestillingen.
-
Frigjør
klippeenhetsforhenget.
-
Fjern lederulldekslene.
-
Løsne
mutteren som fester vaierholderen til lederullen.
-
Bruk et fjærfjerningsverktøy
(Toro-delenr. 92-5771) til å fjerne ledefjæren fra klippeenhetskroken
for å fjerne spenningen på lederullen.
 |
Advarsel |
|
Fjæren
er under spenning når den monteres og den kan forårsake
personskade.
Vær forsiktig når du
fjerner remmen.
G453682
- Remskive
for klippeenhet
- Gressklipperrem
- Motorremskive
- Lederull
- Fjær
- Fjærfjerningsverktøy
-
Rull remmen
av remskivene.
-
Legg den
nye remmen rundt motorremskiven og klipperremskiver.
-
Bruk fjærfjerningsverktøyet
til å montere ledefjæren over klippeenhetskroken, og tilfør
spenning til lederullen og klipperremmen.
-
Plasser vaierholderen
mot lederullarmen som vist, og stram mutteren.
-
Monter lederulldeksler.
-
Stram til
boltene for klippeenhetsforhenget.
Vedlikehold av klippeenhet
Knivsikkerhet
- Inspiser knivene regelmessig for
slitasje eller skade.
- Vær forsiktig når du
kontrollerer knivene. Legg noe rundt kniven(e), eller bruk hansker,
og vær forsiktig når du vedlikeholder
dem. Bare skift ut de skadede knivene. Du må aldri
rette eller sveise dem.
- Vær forsiktig hvis maskinen
har flere knivblader, da resten av knivene kan begynne å rotere
når det ene knivbladet roteres.
- Skadde eller slitte knivblader
og bolter må skiftes ut i sett for å opprettholde balansen.
Knivvedlikehold
Sørg for å få best
mulig klipperesultat ved å holde knivene skarpe. For å kunne
bytte ut knivblader når de ikke lenger er
skarpe nok, bør du ha ekstra knivblader tilgjengelig.
Bytt
ut knivene hvis de treffer en hard gjenstand, eller hvis de er ute
av balanse eller bøyd.
Før du inspiserer eller overhaler knivene
-
Parker maskinen
på en jevn overflate, koble fra knivkontrollbryteren og flytt
bevegelseskontrollspakene utover til parkeringsstillingen.
-
Før
du forlater førerplassen må du slå av motoren, ta ut
nøkkelen og vente til alle bevegelige deler står stille.
-
Koble tennpluggledningene
fra tennpluggene.
Sjekke om en kniv er bøyd
Maskinen må stå på
en plan overflate for denne prosedyren.
-
Hev klippeenheten
til høyeste klippehøydeinnstilling.
-
Bruk tykke
arbeidshansker, eller annen hensiktsmessig håndvern, og roter
sakte kniven som skal måles, til en stilling som
gjør det mulig å måle avstanden mellom
knivveggen og den plane overflaten.
-
Mål
fra knivtuppen til overflaten.
G451422
- Kniv
(i stilling for måling)
- Plan
overflate
- Målt
avstand mellom blad og overflate (A)
-
Roter den
samme kniven 180 grader så den motsatte kniveggen nå
er i samme stilling.
G451423
- Knivegg,
tidligere målt
- Motsatt
knivegg
-
Mål
fra knivtuppen til overflaten.
G451422
- Kniv
(i stilling for måling)
- Plan
overflate
- Målt
avstand mellom kniven og overflaten (B)
-
Skift ut
kniven hvis forskjellen mellom A og B er større enn 3 mm.
Merk: Knivspindelen kan bøyes hvis du skifter ut kniven og forskjellen
fortsatt overskrider 3 mm. Ta kontakt med en autorisert Toro-forhandler
for service.
-
Gjenta prosedyren
for alle knivene.
Fjerne knivene
-
Hold knivenden
med en fille eller en tykk hanske.
-
Fjern kniven
som vist.
Slipe knivene
-
Bruk en fil
til å kvesse eggen ved begge ender av kniven. Sørg for å
opprettholde den opprinnelige vinkelen
.
Merk: Fjern den samme mengden materiale fra begge kniveggene, slik at kniven
beholder balansen.
-
Sjekk knivens
balanse
ved å legge den på
en balanseringsinnretning
.
Merk: Hvis kniven holder seg i horisontal stilling, har den riktig balanse
og kan brukes.
Hvis kniven
ikke er i balanse, fil bort litt av metallet på enden av vingeområdet.
-
Fortsett
med dette helt til kniven er balansert.
Sette på plass knivene
 |
Advarsel |
|
Bruk av en maskin etter feilmontering
av knivenheten og/eller kniv og monteringsdeler som ikke er originale Toro-deler, kan føre
til at en kniv eller en knivkomponent blir kastet ut under klippeenheten
og resultere i alvorlig personskade
eller død.
Installer alltid originale Toro-kniver og -monteringsdeler
i henhold til instruksjonene.
-
Monter kniven
som vist.
Merk: Buen på kniven må vende oppover, mot innsiden av gressklipperen,
for å sikre riktig klipping.
-
Trekk til
knivbolten med et moment på 136 til 149 Nm.
Rette opp klippeenheten
Sjekk at klippeenheten
er i vater hver gang du monterer klippeenheten eller du ser at plenen
blir klippet ujevnt.
Klargjøre for nivellering av klippeenheten
-
Parker maskinen
på en jevn overflate, koble fra knivkontrollbryteren og flytt
bevegelseskontrollspakene utover til parkeringsstillingen.
-
Før
du forlater førerplassen må du slå av motoren, ta ut
nøkkelen og vente til alle bevegelige deler står stille.
-
Påse
at dekkene pumpes opp til de riktige spesifikasjonene og at styrehjulene
vender rett frem.
-
Klippeenheten
må sjekkes for bøyde kniver. Eventuelle bøyde kniver
må fjernes og skiftes ut.
-
Hev klippeenheten
til en klippehøyde på 76 mm.
Kontrollere klippeenhetsnivået
-
Plasser knivene
på tvers.
-
Mål
ved punktene
og
på en jevn flate til knivtuppenes
knivegg
.
Forskjellen mellom målingene
skal ikke være mer enn 5 mm. Hvis målingen er større,
juster nivået på tvers.
-
Plasser én
kniv på langs.
-
Mål
ved punktene
og
på en jevn flate til knivtuppenes
knivegg
.
Den fremre knivtuppen skal være
1,6 til 7,9 mm lavere enn den bakre knivtuppen. Hvis målingen
ikke er riktig, juster nivået
på langs.
Nivellere klippeenheten
-
Still antiskalperingsvalsene
til de øverste hullene eller fjern dem fullstendig for denne
prosedyren.
-
Sett klippehøydespaken
til posisjonen 76 mm.
-
Plasser to
blokker
, med en tykkelse på 6,6 cm
hver, under hver side av kanten foran på klippeenheten.
Ikke
plasser blokkene under brakettene for antiskalperingsvalsen.
-
Plasser to
blokker
, med en tykkelse på 7,3
cm hver, under hver side av kanten bak på klippeenheten.
-
Løsne
de nedre festene som fester brakettene til alle de fire hjørnene
av klippeenheten, og påse at klippeenheten sitter godt
på alle de fire blokkene.
-
Fjern eventuell
slakk i klippeenhetsbrakettene, og påse at fotløftespaken
for klippeenheten er skjøvet tilbake mot stoppen.
-
Stram festene.
-
Påse
at blokkene passer godt under klippeenhetskanten og at alle festeboltene
er stramme.
-
Kontroller
nivået på tvers og på langs igjen. Gjenta denne prosedyren
til målingene er korrekt.
Demontere klippeenheten
-
Parker maskinen
på en jevn overflate, koble fra knivkontrollbryteren og flytt
bevegelseskontrollspakene utover til parkeringsstillingen.
-
Før
du forlater førerplassen må du slå av motoren, ta ut
nøkkelen og vente til alle bevegelige deler står stille.
-
Sett klippehøyden
til den laveste posisjonen.
-
Frigjør
klippeenhetsforhenget.
-
Fjern hårnålssplinten
og skiven fra fremre støttestang
, og fjern stangen fra braketten
på klippeenheten
.
Merk: Ta vare på alle deler for fremtidig montering.
-
Fjern de
øvre festene som fester brakettene til alle de fire løftearmene.
-
Skyv klippeenheten
bakover for å fjerne klipperremmen fra motorremskiven.
-
Dytt klippeenheten
ut under maskinen.
Montere klippeenheten
-
Parker maskinen
på en jevn overflate, koble fra knivkontrollbryteren og flytt
bevegelseskontrollspakene utover til parkeringsstillingen.
-
Før
du forlater førerplassen må du slå av motoren, ta ut
nøkkelen og vente til alle bevegelige deler står stille.
-
Skyv klippeenheten
under maskinen.
-
Sett klippehøyden
til den laveste posisjonen.
-
Monter løftekoblingene
til løftearmene for klippeenheten ved bruk av de tidligere fjernede
festene.
-
Fest den
fremre støttestangen
til klippeenhetsbraketten
med hårnålssplinten
og skiven.
-
Sett klipperremmen
på den nederste motorremskiven.
-
Stram til
boltene for klippeenhetsforhenget.
Skifte gressavlederen
 |
Fare |
|
En utildekket utslippsåpning
gjør at objekter kan kastes mot deg eller andre personer i nærheten.
Det kan også oppstå kontakt med
kniven. Slyngede objekter eller kontakt med kniven vil føre til
alvorlig personskade eller død.
Bruk aldri gressklipperen
med utslippsavlederen hevet, fjernet eller endret, med mindre et gressoppsamlingssystem
eller kvernesett er montert og fungerer
som det skal.
-
Parker maskinen
på en jevn overflate, koble fra knivkontrollbryteren og flytt
bevegelseskontrollspakene utover til parkeringsstillingen.
-
Før
du forlater førerplassen må du slå av motoren, ta ut
nøkkelen og vente til alle bevegelige deler står stille.
-
Koble fjæren
fra hakket i avlederbraketten og før stangen ut av de sveisede
klippeenhetsbrakettene, fjæren og utslippsavlederen
G456086
- Stang
- Gressavleder
- Fjær
- Klippeenhetsbraketter
- Splint
- Fjær
installert over stangen
-
Fjern den
skadede eller slitte gressavlederen.
-
Plasser den
nye utslippsavlederen med brakettendene mellom de sveisede brakettene
på klippeenheten som vist.
G456085
- Stang-
og fjærenheten montert
- Løkkeenden
av fjæren montert i hakket på avlederbraketten
- Stang,
kort ende, flyttet bak klippeenhetsbraketten
- Kort
ende, holdt i klippeenhetsbraketten
- Hårnålssplint
-
Fest stang-
og fjærenheten ved å vri den slik at den korte enden av
stangen plasseres bak den fremre braketten som er sveiset
til klippeenheten.
-
Sett hårnålssplinten
inn i enden av stangen.
Gressavlederen
må være fjærbelastet i den nedre posisjonen. Løft
avlederen for å teste at den fester seg i den nederste stillingen.
Rengjøring
Avhending av avfall
Motorolje, batterier, hydraulikkvæske
og motorkjølemiddel er forurensende for miljøet. Avhend
disse i henhold til nasjonale eller lokale
regelverk.
Feilsøking
Drivstofftanken viser tegn på
sammenbrudd, eller maskinen går stadig tom for drivstoff.
| Mulig årsak |
Tiltak |
| Luftfilterets papirelement
er tilstoppet. |
-
Rengjør
papirelementet.
|
Motoren overopphetes.
| Mulig årsak |
Tiltak |
| For stor motorbelastning. |
-
Reduser bakkehastigheten.
|
| Oljenivået i veivhuset
er lavt. |
-
Tilsett olje
til veivhuset.
|
| Kjøleribbene og luftpassasjene
under motorviftehuset er tilstoppet.
|
-
Fjern hindringen
i kjøleribbene og luftpassasjene.
|
| Luftrenseren er skitten. |
-
Rengjør
eller bytt ut luftrenserelementet.
|
| Det er smuss, vann eller
gammelt drivstoff i drivstoffsystemet.
|
-
Kontakt et
autorisert forhandlerverksted.
|
Startmotoren kjører ikke.
| Mulig årsak |
Tiltak |
| Knivkontrollbryteren er
innkoblet. |
-
Koble fra
knivkontrollbryteren.
|
| Bevegelseskontrollspakene
står ikke i parkeringsstillingen.
|
-
Flytt bevegelseskontrollspakene
utover til parkeringsstillingen.
|
| Batteriet er flatt. |
-
Lad opp batteriet.
|
| De elektriske forbindelsene
er korroderte eller løse.
|
-
Kontroller
at de elektriske forbindelsene har god kontakt.
|
| En sikring har gått. |
-
Bytt ut sikringen.
|
| Et relé eller en bryter
er skadd. |
-
Kontakt et
autorisert forhandlerverksted.
|
Motoren vil ikke starte, er vanskelig
å starte eller går ikke.
| Mulig årsak |
Tiltak |
| Drivstofftanken er tom. |
-
Fyll drivstofftanken.
|
| Choken (hvis aktuelt) er
ikke på. |
-
Flytt chokespaken
til På-stillingen.
|
| Luftrenseren er skitten. |
-
Rengjør
eller bytt ut luftrenserelementet.
|
| Tennpluggkabelen/-kablene
er løs(e) eller frakoblet.
|
-
Fest ledningen(e)
til tennpluggen.
|
| Tennpluggen(e) er ripet(e)
eller sprukket, eller åpningen er feil.
|
-
Monter ny(e)
tennplugg(er) med korrekt åpning.
|
| Det er smuss i drivstoffilteret. |
-
Bytt ut drivstoffilteret.
|
| Det er smuss, vann eller
gammelt drivstoff i drivstoffsystemet.
|
-
Kontakt et
autorisert forhandlerverksted.
|
| Det er feil drivstoff på
drivstofftanken. |
-
Tøm
tanken og fyll på riktig drivstoff.
|
| Oljenivået i veivhuset
er lavt. |
-
Tilsett olje
til veivhuset.
|
Motoren mister kraft.
| Mulig årsak |
Tiltak |
| For stor motorbelastning. |
-
Reduser bakkehastigheten.
|
| Luftrenseren er skitten. |
-
Rengjør
luftrenserelementet.
|
| Oljenivået i veivhuset
er lavt. |
-
Tilsett olje
til veivhuset.
|
| Kjøleribbene og luftpassasjene
under motorviftehuset er tilstoppet.
|
-
Fjern hindringen
i kjøleribbene og luftpassasjene.
|
| Tennpluggen(e) er ripet(e)
eller sprukket, eller åpningen er feil.
|
-
Monter ny(e)
tennplugg(er) med korrekt åpning.
|
| Drivstofftankventilen er
blokkert. |
-
Kontakt et
autorisert forhandlerverksted.
|
| Det er smuss på drivstoffilteret. |
-
Bytt ut drivstoffilteret.
|
| Det er smuss, vann eller
gammelt drivstoff i drivstoffsystemet.
|
-
Kontakt et
autorisert forhandlerverksted.
|
| Det er feil drivstoff på
drivstofftanken. |
-
Kontakt et
autorisert forhandlerverksted.
|
Maskinen kjører ikke.
| Mulig årsak |
Tiltak |
| Omløpsventilene er
åpne. |
-
Lukk taueventilene.
|
| Trekkremmene er slitte,
løse eller ødelagte.
|
-
Kontakt et
autorisert forhandlerverksted.
|
| Trekkremmene er ikke på
lederullene. |
-
Kontakt et
autorisert forhandlerverksted.
|
| Girkassen har sviktet. |
-
Kontakt et
autorisert forhandlerverksted.
|
Maskinen vibrerer unormalt mye.
| Mulig årsak |
Tiltak |
| Gressklipperkniven(e) er
bøyd(e) eller ubalansert(e).
|
-
Monter ny(e)
kniv(er).
|
| Knivmonteringsbolten er
løs. |
-
Stram til
knivmonteringsbolten.
|
| Monteringsboltene i motoren
er løse. |
-
Trekk til
monteringsboltene.
|
| En motorremskive, lederull
eller knivremskive er løs.
|
-
Stram til
den aktuelle skiven.
|
| Motorremskiven er ødelagt. |
-
Kontakt et
autorisert forhandlerverksted.
|
| Knivspindelen er bøyd. |
-
Kontakt et
autorisert forhandlerverksted.
|
| Motormonteringen er løs
eller utslitt. |
-
Kontakt et
autorisert forhandlerverksted.
|
Klippehøyden er ujevn.
| Mulig årsak |
Tiltak |
| Kniven(e) er ikke skarpe. |
-
Slip kniven(e).
|
| Gressklipperkniven(e) er
bøyd(e). |
-
Monter ny(e)
gressklipperkniv(er).
|
| Klippeenheten er ikke rettet
opp. |
-
Rett opp
klippeenheten på tvers og på langs.
|
| En antiskalperingsvalse
(hvis aktuelt) er ikke riktig justert.
|
-
Juster høyden
på antiskalperingshjulet.
|
| Klippeenhetens underside
er skitten. |
-
Rengjør
klippeenhetens underside.
|
| Trykket i dekkene er feil. |
-
Juster trykket
i dekkene.
|
| En knivspindel er bøyd. |
-
Kontakt et
autorisert forhandlerverksted.
|
Knivene roterer ikke.
| Mulig årsak |
Tiltak |
| Knivens drivrem er slitt,
løs eller ødelagt. |
-
Monter en
ny drivrem.
|
| Drivremmen har gått
av lederullen. |
-
Monter ny
drivrem, og kontroller justeringsakslene og remførerne for korrekt
stilling.
|
| Bryteren for kraftuttaket
(PTO) eller kraftuttaksclutchen er defekt.
|
-
Kontakt et
autorisert forhandlerverksted.
|
| Klipperremmen er slitt,
løs eller ødelagt. |
-
Monter en
ny klipperrem.
|