Onderhoud
Veiligheid bij onderhoud
- Als u het sleuteltje in het contact
laat, bestaat de kans dat iemand de motor per ongeluk start waardoor
u en andere omstanders ernstig letsel kunnen
oplopen. Verwijder het sleuteltje uit het contact voordat u onderhoudswerkzaamheden
uitvoert aan de machine.
- Doe het volgende voordat u de
bestuurdersstoel verlaat:
- Parkeer de machine op een horizontaal
oppervlak.
- Schakel de aandrijvingen uit.
- Haal de parkeerrem aan.
- Zet de motor af en verwijder het
sleuteltje.
- Wacht tot de machine is afgekoeld
voordat u met onderhoudswerkzaamheden gaat beginnen.
- Laat personeel dat niet bekend
is met de instructies, nooit onderhoudswerkzaamheden aan de machine
uitvoeren.
- Houd uw handen en voeten uit de
buurt van bewegende onderdelen of hete oppervlakken. Stel indien mogelijk
de machine niet af terwijl de motor loopt.
- Zorg ervoor dat alle afschermingen,
afschermplaten, schakelaars en alle veiligheidsvoorzieningen op hun
plaats zitten en goed werken. Controleer
regelmatig of er onderdelen versleten zijn of hun toestand achteruit
is gegaan en vervang ze zo nodig door originele
onderdelen van Toro.
- Haal voorzichtig de druk van onderdelen
met opgeslagen energie.
 |
Waarschuwing |
|
Door de originele apparatuur,
onderdelen en/of accessoires te verwijderen of aan te passen kunnen
de garantie en de beheersbaarheid en
veiligheid van de machine worden gewijzigd. Door niet-goedgekeurde
wijzigingen aan de originele apparatuur of het gebruik
van onderdelen die niet van Toro zijn, kan ernstig of fataal letsel
worden veroorzaakt.
- Controleer de werking van de parkeerrem
regelmatig. Indien nodig moet u deze afstellen en een onderhoudsbeurt
geven.
- Knoei nooit met de veiligheidsvoorzieningen.
Controleer regelmatig of ze goed werken.
- Verwijder gras, bladeren, overtollig
vet, olie en ander vuil van de maai-eenheid, de geluiddemper, de aandrijvingen,
de grasvanger en de motor om brand te voorkomen.
- Verwijder gemorste olie of brandstof
en met brandstof doortrokken rommel.
- Vertrouw nooit uitsluitend op
een mechanische of hydraulische krik om het maaidek te ondersteunen.
Gebruik geschikte kriksteunen.
- Zorg ervoor dat alle onderdelen
in goede staat verkeren en alle bevestigingselementen stevig vastzitten,
in het bijzonder het bevestigingsmateriaal
van de maaimessen.
- Om veilige en optimale prestaties
te verkrijgen, moet u ter vervanging alleen originele onderdelen en
accessoires van Toro gebruiken. Gebruik ter vervanging
nooit onderdelen en accessoires van andere fabrikanten, omdat dit
gevaarlijk kan zijn.
Aanbevolen onderhoudsschema
| Na de eerste 8 bedrijfsuren
|
Ververs de motorolie.
|
| Na de eerste 50 bedrijfsuren
|
Controleer het koppel van de moer.
|
| Voor elk gebruik of dagelijks |
Controleer het veiligheidssysteem.
|
| Controleer het luchtfilter op vuile, losse of beschadigde onderdelen. |
| Controleer het oliepeil.
|
| Reinig het luchtinlaatrooster.
|
| Controleer de maaimessen.
|
| Controleer de grasgeleider op schade.
|
| Na elk gebruik |
Verwijder al het gras en vuil van de machine. |
| Reinig de maaikast. |
| Om de 25 bedrijfsuren |
Smeer de lagers van de zwenkwielen (vaker bij gebruik in zanderige
bodems). |
| Controleer de bandenspanning.
|
| Controleer de riemen op slijtage en scheurtjes. |
| Om de 100 bedrijfsuren |
Ververs de motorolie (dit moet vaker gebeuren in vuile of stoffige
omstandigheden). |
| De bougie vervangen, reinigen en afstellen.
|
| Vervang het brandstoffilter van de slang.
|
| Om de 100 bedrijfsuren of jaarlijks,
waarbij de kortste periode moet
worden aangehouden
|
Vervang het papierelement van het luchtfilter (vaker in stoffige,
vuile omstandigheden).
|
| Om de 200 bedrijfsuren
|
Vervang het motoroliefilter (dit moet vaker gebeuren in vuile of
stoffige omstandigheden).
|
| Om de 300 bedrijfsuren
|
Klepspeling controleren en afstellen. Neem contact op met een erkende
Service Dealer. |
| Jaarlijks |
Controleer het koppel van de moer.
|
| Voorafgaand aan stalling |
Laad de accu op en ontkoppel de accukabels.
|
| Voorafgaande aan de stalling moeten alle bovengenoemde onderhoudsprocedures
worden uitgevoerd. |
| Werk alle beschadigde oppervlakken
bij. |
| |
Raadpleeg de gebruikershandleiding
van de motor voor verdere onderhoudsprocedures.
Procedures voorafgaand aan het
onderhoud
Een defecte machine verplaatsen
-
Parkeer de
machine op een horizontaal oppervlak, schakel de aftakas uit en zet
de rijhendels naar buiten in de Parkeerstand.
-
Zet de motor
af en wacht totdat alle bewegende onderdelen tot stilstand zijn gekomen
voordat u de bestuurderspositie verlaat.
-
Zoek de omloophendels
op het frame aan weerszijden
van de machine.
-
Zet beide
omloophendels naar voren door de sleufopening en dan zijwaarts om
ze vast te zetten
.
 |
Waarschuwing |
|
Contact
met hete oppervlakken kan lichamelijk letsel veroorzaken.
Houd
uw kleding, gezicht, handen, voeten en andere lichaamsdelen uit de
buurt van de motor, geluiddemper en andere hete oppervlakken.
 |
Waarschuwing |
|
De
machine kan onbedoeld in beweging komen terwijl de omloophendels naar
voren in de sleuf zijn vergrendeld en u of omstanders
verwonden.
Vergrendel de omloophendels
naar achteren na het verplaatsen van de machine.
-
Schakel de
parkeerrem uit door beide rijhendels omlaag te zetten in de middelste,
ontgrendelde stand.
Opmerking: Start de machine niet.
-
Beweeg de
machine indien nodig.
U
moet de machine altijd met de hand duwen. Sleep de machine niet: dit
kan schade veroorzaken.
-
Zet de rijhendels
in de Parkeerstand.
-
Zet beide
omloophendels naar achteren en opzij door de sleufopening om ze op
hun plaats te vergrendelen
.
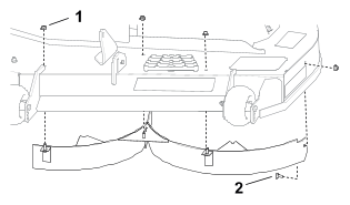
De afdekking van het maaidek losmaken
-
Maak de 2
onderste bouten van de afdekking los om toegang te verkrijgen tot
de bovenkant van het maaidek.
Draai de bouten
altijd vast om de afdekking te bevestigen na onderhoudswerkzaamheden.
G453430
Motor onderhouden
Veiligheid van de motor
- Houd uw handen, voeten, gezicht,
andere lichaamsdelen en kleding uit de buurt van de geluiddemper en
andere hete oppervlakken. Wacht tot
de motor is afgekoeld voordat u met onderhoudswerkzaamheden gaat beginnen.
- Verander de snelheid van de toerenregelaar
niet en laat de motor het maximale toerental niet overschrijden.
Luchtfilter onderhouden
Het luchtfilterelement verwijderen
-
Parkeer de
machine op een horizontaal oppervlak, schakel de aftakas uit en zet
de rijhendels naar buiten in de Parkeerstand.
-
Zet de motor
af en wacht totdat alle bewegende onderdelen tot stilstand zijn gekomen
voordat u de bestuurderspositie verlaat.
-
Maak de omgeving
van het luchtfilterdeksel
schoon om te voorkomen
dat vuil in de motor komt en schade veroorzaakt.
-
Draai de
slangklem
los en verwijder het papierelement
.
Papierelement van het luchtfilter onderhoudsbeurt geven
-
Reinig het
papierelement door er voorzichtig op te kloppen en het stof te verwijderen.
Opmerking: Als het papierelement zeer vuil
is, vervang het dan door een nieuwe papierelement.
-
Controleer
het filter op scheuren, een vettig oppervlak of beschadiging van de
rubberen afdichting.
-
Vervang het
papierelement als het is beschadigd.
U
mag het papierfilter niet reinigen.
Motorolie verversen
Motorolietype
| Type olie
|
Reinigingsolie (API onderhoudsclassificatie
SF, SG, SH, SJ of SL) |
| Carterinhoud |
1,8 liter; zonder
filter; 2,1 liter met filter
|
| Viscositeit |
Zie onderstaande tabel |
| |
Het motoroliepeil controleren
-
Parkeer de
machine op een horizontaal oppervlak, schakel de aftakas uit en zet
de rijhendels naar buiten in de parkeerstand.
-
Zet de motor
af, verwijder het contactsleuteltje en wacht totdat alle bewegende
onderdelen tot stilstand zijn gekomen voordat
u de bestuurderspositie verlaat.
-
Wacht totdat
de motor afgekoeld is, zodat de olie tijd heeft gekregen om in de
opvangbak te stromen.
-
Om te voorkomen
dat er vuil, maaisel, enz. in de motor terechtkomt, moet u de omgeving
van de vuldop/peilstok reinigen voordat
u deze verwijdert.
-
Controleer
het oliepeil, zoals weergegeven.
Als
er te veel of te weinig olie zit in het carter van de motor en u laat
de motor toch draaien, kunt u deze beschadigen.
Motorolie verversen
-
Parkeer de
machine zo dat de aftapkant iets lager staat dan de andere kant zodat
alle olie kan weglopen.
-
Schakel de
aftakasschakelaar uit en zet de rijhendels naar buiten in de Parkeerstand.
-
Zet de motor
af, verwijder het contactsleuteltje en wacht totdat alle bewegende
onderdelen tot stilstand zijn gekomen voordat
u de bestuurderspositie verlaat.
-
Laat de olie
uit de motor lopen.
-
Giet langzaam
ongeveer 80% van de gespecificeerde olie in de vulbuis en voeg langzaam
de rest van de olie toe tot het peil
de markering Vol bereikt.
-
Voer de oude
olie af volgens de plaatselijk geldende voorschriften.
Het motoroliefilter vervangen
-
Laat de olie
uit de motor lopen.
-
Vervang het
oliefilter van de motor zoals wordt getoond.
Opmerking: Controleer of de pakking van het
oliefilter contact maakt met de motor en draai het oliefilter nog
3/4 slag extra vast.
-
Vul langzaam
de aanbevolen olie bij in de vulbuis om het oliepeil bij de Vol-markering te brengen.
Bougie onderhouden
Controleer of de elektrodenafstand
tussen de centrale elektrode- en de massa-elektrode correct is voordat
u de bougie monteert. Gebruik een bougiesleutel
voor het (de)monteren van de bougie en een voelermaat om de elektrodenafstand
te meten en af te stellen. Monteer een nieuwe
bougie indien dit nodig is.
Type: NGK® BPR4ES
Elektrodenafstand: 0,76 mm
Bougie verwijderen
-
Parkeer de
machine op een horizontaal oppervlak, schakel de aftakas uit en zet
de rijhendels naar buiten in de parkeerstand.
-
Zet de motor
af, verwijder het contactsleuteltje en wacht totdat alle bewegende
onderdelen tot stilstand zijn gekomen voordat
u de bestuurderspositie verlaat.
-
Maak de omgeving
van de onderkant van de bougie schoon om te voorkomen dat er vuil
en rommel in de motor terechtkomt.
-
Verwijder
de bougie.
Bougie controleren
Maak de bougie(s) niet schoon.
Verwijder een bougie altijd als deze een zwarte laag heeft, als de
elektroden versleten zijn, als er een
vettige laag op ligt of als de bougie scheuren vertoont.
Als de isolator
lichtbruin of grijs is, werkt de motor naar behoren. Een zwarte laag
op de isolator duidt meestal op een vuil
luchtfilter.
-
Stel de afstand
in op 0,75 mm.
Het koelsysteem reinigen
-
Parkeer de
machine op een horizontaal oppervlak, schakel de aftakas uit en zet
de rijhendels naar buiten in de parkeerstand.
-
Zet de motor
af, verwijder het contactsleuteltje en wacht totdat alle bewegende
onderdelen tot stilstand zijn gekomen voordat
u de bestuurderspositie verlaat.
-
Verwijder
het luchtfilter van de motor.
-
Verwijder
het motorscherm.
-
Om te voorkomen
dat vuil in de luchtinlaat komt, plaats de luchtfilter op de filterbasis.
-
Verwijder
vuil en gras van de onderdelen.
-
Verwijder
de luchtfilter en plaats het motorscherm.
-
De luchtfilter
monteren.
Brandstofonderhoud
 |
Gevaar |
|
In bepaalde omstandigheden is
brandstof uiterst ontvlambaar en zeer explosief. Brand of explosie
van brandstof kan brandwonden bij u of anderen
en materiële schade veroorzaken.
Zie Brandstofveiligheid voor een volledige
lijst van voorzorgsmaatregelen met betrekking tot brandstof.
Het brandstoffilter vervangen
-
Parkeer de
machine op een horizontaal oppervlak, schakel de aftakas uit en zet
de rijhendels naar buiten in de parkeerstand.
-
Zet de motor
af, verwijder het contactsleuteltje en wacht totdat alle bewegende
onderdelen tot stilstand zijn gekomen voordat
u de bestuurderspositie verlaat.
-
Klem de brandstofleidingen
aan weerszijden van het brandstoffilter vast.
-
Filter vervangen.
Opmerking: Zorg ervoor dat de pijl voor de
stroomrichting op het vervangfilter naar de motor wijst.
Na
verwijdering mag u nooit een vuil filter opnieuw aan de brandstofslang
monteren.
-
Verwijder
de klemmen die de brandstofstroom blokkeren.
Elektrisch systeem onderhouden
Veiligheid van het elektrisch
systeem
- Maak de kabel los van de minpool
van de accu voordat u de machine repareert.
- Laad de accu op in een open, goed
geventileerde ruimte, uit de buurt van vonken en open vuur. Haal de
oplader uit het stopcontact voordat
u de accu aan- of loskoppelt. Draag beschermende kleding en gebruik
geïsoleerd gereedschap.
De accu onderhouden
De accu verwijderen
 |
Waarschuwing |
|
Accupolen of metalen gereedschappen
kunnen kortsluiting maken met metalen onderdelen van de machine, waardoor
vonken kunnen ontstaan. Hierdoor kunnen
accugassen tot ontploffing komen en lichamelijk letsel veroorzaken.
- Zorg ervoor dat bij het verwijderen
of installeren van de accu de accupolen niet in aanraking komen met
metalen onderdelen van de machine.
- Voorkom dat metalen gereedschappen
kortsluiting veroorzaken tussen de accupolen en metalen onderdelen
van de machine.
-
Parkeer de
machine op een horizontaal oppervlak, schakel de aftakas uit en zet
de rijhendels naar buiten in de parkeerstand.
-
Zet de motor
af, verwijder het contactsleuteltje en wacht totdat alle bewegende
onderdelen tot stilstand zijn gekomen voordat
u de bestuurderspositie verlaat.
-
Maak de minkabel
(zwart) los van de accupool.
Opmerking: Bewaar alle bevestigingsmiddelen.
 |
Waarschuwing |
|
De
accukabels onjuist afkoppelen kan schade aan de machine en de kabels
tot gevolg hebben en vonken veroorzaken. Hierdoor
kunnen accugassen tot ontploffing komen en lichamelijk
letsel veroorzaken.
- Maak altijd de minkabel (zwart)
van de accu los voordat u de pluskabel (rood) losmaakt.
- Sluit altijd de pluskabel (rood)
van de accu aan voordat u de minkabel (zwart) aansluit.
-
Schuif het
rubberen kapje van de pluskabel (rood).
-
Maak de pluskabel
(rood) los van de accupool (+).
Opmerking: Bewaar alle bevestigingsmiddelen.
-
Verwijder
de bevestigingsband van de accu en til de accu uit de accubak.
G440221
-
Accu
-
Stofkapje van de accupool
-
Minpool (–) van de accu
-
Vleugelmoer, ring en bout
-
Bevestiging van accu
-
Bout, ring en moer
-
Pluspool (+) van de accu
De accu opladen
 |
Waarschuwing |
|
Bij het opladen produceert de
accu gassen die tot ontploffing kunnen komen.
Rook nooit
in de buurt van de accu en zorg ervoor dat er geen vonken of vlammen
vlakbij de accu komen.
Zorg ervoor dat de accu altijd
volledig geladen is. Dit is vooral belangrijk om beschadiging van
de accu te voorkomen bij temperaturen
beneden 0°C.
-
Verwijder
de accu uit de machine.
-
Laad de accu
op volgens de aanwijzingen van de fabrikant van de lader.
Laad
de accu niet te veel op, anders raakt die beschadigd.
G003792S
- Pluspool
van de accu
- Minpool
van de accu
- Rode
(+) oplaadkabel
- Zwarte
(–) oplaadkabel
-
Zodra de
accu volledig is opgeladen, haalt u de acculader uit het stopcontact
(indien van toepassing) en maakt u vervolgens
de oplaadkabels los van de accuklemmen.
De accu reinigen
Opmerking: Zorg ervoor dat de accuklemmen
en de gehele accubehuizing schoon zijn omdat een vuile accu langzaam
stroom afgeeft.
-
Parkeer de
machine op een horizontaal oppervlak, schakel de aftakas uit en zet
de rijhendels naar buiten in de Parkeerstand.
-
Zet de motor
af en wacht totdat alle bewegende onderdelen tot stilstand zijn gekomen
voordat u de bestuurderspositie verlaat.
-
Verwijder
de accu uit de machine.
-
Maak de gehele
accubehuizing schoon met een oplossing van natriumbicarbonaat en water.
-
Spoel de
accu af met helder water.
-
Smeer een
dun laagje Grafo 112X-vet of vaseline op de accupolen en de kabelklemmen
om corrosie te voorkomen.
-
De accu plaatsen.
De accu plaatsen
-
Plaats de
accu in de bak.
-
Gebruik de
eerder verwijderde bevestigingsmiddelen om de pluskabel (rood) op
de pluspool (+) van de accu aan te sluiten.
-
Gebruik de
eerder verwijderde bevestigingsmiddelen om de minkabel op de minpool
(–) van de accu aan te sluiten.
-
Schuif het
rode stofkapje voor de accupool op de pluspool (rood) van de accu.
-
Bevestig
de accu met de bevestigingsband.
G440221
-
Accu
-
Stofkapje van de accupool
-
Minpool (–) van de accu
-
Vleugelmoer, ring en bout
-
Bevestiging van accu
-
Bout, ring en moer
-
Pluspool (+) van de accu
Machine starten met startkabel
 |
Waarschuwing |
|
De accu starten met een startkabel
kan gassen produceren die tot ontploffing kunnen komen.
Rook niet in
de buurt van de accu en zorg ervoor dat er geen vonken of vlammen
bij de accu komen.
 |
Gevaar |
|
Het gebruik van startkabels als
de accu in slechte staat is en gebarsten of bevroren is, of een laag
accuzuurpeil heeft of open/kortgesloten
cellen heeft, kan leiden tot een explosie en ernstig lichamelijk letsel.
Gebruik
geen startkabels op een zwakke accu die zulke eigenschappen vertoont.
-
Controleer
de accupolen op roestvorming en verwijder roest voordat u de machine
start met een startkabel. Zorg dat de verbindingen
stevig vastzitten.
 |
Opgelet |
|
Roest
en losse verbindingen kunnen op om het even welk moment van de startprocedure
ongewenste elektrische spanningspieken
veroorzaken.
Gebruik geen startkabels als de
accupolen loszitten of verroest zijn, dit kan schade aan de motor
veroorzaken.
-
Gebruik als
startaccu een goede, volledig opgeladen zuur-loodaccu met een spanning
van minstens 12,6 V.
Opmerking: Gebruik korte startkabels van
de juiste grootte om het spanningsverlies tussen de systemen te beperken.
Zorg ervoor dat de kabels voorzien
zijn van een kleurcode of markering voor de juiste polariteit.
 |
Waarschuwing |
|
Accu's
bevatten zuur en produceren ontvlambare gassen.
- Bescherm te allen tijde uw ogen
en gezicht voor de accu's.
- Leun niet over de accu's.
Opmerking: Zorg dat de vuldoppen stevig vastzitten
en horizontaal zijn. Indien vochtige doeken voorhanden zijn, legt
u deze over de vuldoppen van de accu's.
Zorg er ook voor dat de machines elkaar niet raken, dat de beide elektrische
systemen uitgeschakeld zijn en dat
ze hetzelfde nominale voltage hebben. Deze instructies gelden alleen
voor negatief geaarde systemen.
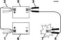
-
Koppel de
pluskabel (+) aan op de pluspool (+) van de ontladen accu die verbonden
is met de starter of de solenoïde, zoals
weergegeven:
g012785
- Pluskabel
(+) van de ontladen accu
- Pluskabel
(+) van de startaccu
- Minkabel
(-) van de startaccu
- Minkabel
(-) van het motorblok
- Startaccu
- Ontladen
accu
- Motorblok
-
Sluit het
andere uiteinde van de plusstartkabel (+) aan op de pluspool van de
accu van de andere machine.
-
Sluit een
uiteinde van de minstartkabel (-) aan op de minpool van de accu van
de andere machine.
-
Sluit het
andere uiteinde van de minstartkabel (-) aan op een massapunt, zoals
een ongelakte bout of een onderdeel van het
chassis.
-
Start de
motor van de andere machine. Laat de motor enkele minuten draaien
en start vervolgens uw eigen motor.
-
Verwijder
de kabels in omgekeerde volgorde van de aansluiting.
-
Plaats het
deksel op de startklem.
De zekeringen onderhouden
De elektrische installatie is
beveiligd door middel van zekeringen. Deze behoeven geen onderhoud.
Als er een zekering is doorgebrand, moet u
echter het onderdeel of circuit controleren op defecten of kortsluiting.
-
Parkeer de
machine op een horizontaal oppervlak, schakel de aftakas uit en zet
de rijhendels naar buiten in de parkeerstand.
-
Zet de motor
af, verwijder het contactsleuteltje en wacht totdat alle bewegende
onderdelen tot stilstand zijn gekomen voordat
u de bestuurderspositie verlaat.
-
Vervang de
doorgeslagen zekering door een nieuwe.
G440132
- Laadcircuit
(15 A)
- Hoofdstroom
(25 A)
Aandrijfsysteem onderhouden
De bandenspanning controleren
Zorg ervoor dat de voor- en achterbanden
de voorgeschreven spanning hebben. Een ongelijke bandenspanning kan
leiden tot onregelmatige maairesultaten. Controleer
de bandenspanning bij het ventiel wanneer de banden koud zijn om de
meest accurate meting te verkrijgen.
-
Pomp de voorste
zwenkwielbanden op tot 1 bar of tot de bandenspanning die is aangegeven
op de wang van de band. Kies hierbij de
laagste bandenspanning.
-
Pomp de banden
van de achteraandrijfwielen op tot 0,9 bar.
De wielmoeren controleren
-
Controleer
de wielmoeren en draai ze vast tot 129 N·m.
De sporing afstellen
Wanneer u de
machine vooruitrijdt op volle snelheid op een vlak, horizontaal oppervlak
en de machine naar 1 kant trekt, moet u de
sporing afstellen.
Als de machine naar links trekt,
moet u de rechter rijhendel afstellen; als de machine naar rechts
trekt, moet u de linker rijhendel afstellen.
Opmerking: U kunt de sporing alleen afstellen
voor vooruitrijden.
-
Parkeer de
machine op een horizontaal oppervlak, schakel de aftakas uit en zet
de rijhendels naar buiten in de parkeerstand.
-
Zet de motor
af, verwijder het contactsleuteltje en wacht totdat alle bewegende
onderdelen tot stilstand zijn gekomen voordat
u de bestuurderspositie verlaat.
-
Zoek de stelbout
voor sporing in de buurt van de rijhendel aan die kant die afgesteld
moet worden.
-
Draai de
bout om de snelheid voor dat wiel te doen afnemen.
Opmerking: Draai de bout een klein beetje
om kleine afstellingen uit te voeren.
-
Start de
machine en rijd vooruit op een vlakke, horizontale ondergrond met
de rijhendels volledig naar voren om te controleren
of de machine recht rijdt. Herhaal deze procedure als
dit nodig is.
De riem onderhouden
De riemen controleren
-
Parkeer de
machine op een horizontaal oppervlak, schakel de aftakas uit en zet
de rijhendels naar buiten in de Parkeerstand.
-
Zet de motor
af en wacht totdat alle bewegende onderdelen tot stilstand zijn gekomen
voordat u de bestuurderspositie verlaat.
-
Zet de maaihoogte
op de laagste stand.
-
Controleer
de riem op slijtage. Vervang de riem als die versleten is.
Een
aantal indicaties van een versleten riem: een gierend geluid tijdens
het draaien van de riem, de messen die slippen tijdens
het maaien, gerafelde randen en schroeiplekken
en scheuren op de riem.
Drijfriem van maaidek vervangen
Een aantal indicaties van een
versleten riem: een gierend geluid tijdens het draaien van de riem,
messen die slippen tijdens het maaien, gerafelde
randen en schroeiplekken en scheuren op de riem. Vervang de riem als
u deze zaken constateert.
-
Parkeer de
machine op een horizontaal oppervlak, schakel de aftakas uit en zet
de rijhendels naar buiten in de parkeerstand.
-
Zet de motor
af, verwijder het contactsleuteltje en wacht totdat alle bewegende
onderdelen tot stilstand zijn gekomen voordat
u de bestuurderspositie verlaat.
-
Zet de maaihoogte
op de laagste stand.
-
Maak de afdekking
van het maaidek los.
-
Verwijder
de kappen van de poelies.
-
Draai de
moer los waarmee de draadvorm aan de spanpoelie is bevestigd.
-
Verwijder
de spanpoelieveer van de maaidekhaak met een veerverwijderaar (Toro-onderdeelnummer
92-5771) om de spanning op de spanpoelie
te verwijderen.
 |
Waarschuwing |
|
De
veer is onder spanning gemonteerd en kan lichamelijk letsel veroorzaken.
Wees voorzichtig als u de riem
verwijdert.
G453682
- Dekpoelie
- Aandrijfriem
van maaidek
- Motorpoelie
- Spanpoelie
- Veer
- Veerverwijderaar
-
Rol de riem
van de poelies af.
-
Leg de nieuwe
riem rond de motorpoelie en de poelies van het maaidek.
-
Gebruik een
veerverwijderaar en plaats de spanpoelieveer terug op de maaidekhaak
om spanning op de spanpoelie en riem te zetten.
-
Plaats de
draadvorm vast tegen de arm van de spanpoelie zoals getoond en draai
de moer vast.
-
Monteer de
kappen van de poelies.
-
Draai de
bouten vast waarmee de afdekking van het maaidek is bevestigd.
Het maaidek onderhouden
Veiligheid van de messen
- Controleer op gezette tijden de
maaimessen op slijtage of beschadigingen.
- Wees voorzichtig als u de messen
controleert. Omwikkel de maaimessen of draag handschoenen en wees
voorzichtig als u er onderhoudswerkzaamheden
aan verricht. U moet beschadigde maaimessen vervangen, u
mag ze nooit recht proberen te maken of eraan lassen.
- Let op dat bij machines met meerdere
maaimessen andere messen kunnen gaan draaien doordat u één
mes draait.
- Vervang versleten of beschadigde
messen en bouten altijd als complete set om een goede balans te behouden.
Maaimessen onderhouden
Om een goed maairesultaat
te verkrijgen, moet u de maaimessen scherp houden. Om het slijpen
en vervangen te vergemakkelijken, is het handig
extra messen in voorraad te hebben.
Vervang messen die een
vast voorwerp hebben geraakt of uit balans of krom zijn.
Vóór controle en onderhoud van de maaimessen
-
Parkeer de
machine op een horizontaal oppervlak, schakel de aftakas uit en zet
de rijhendels naar buiten in de parkeerstand.
-
Zet de motor
af, verwijder het contactsleuteltje en wacht totdat alle bewegende
onderdelen tot stilstand zijn gekomen voordat
u de bestuurderspositie verlaat.
-
Maak de bougiekabels
los van de bougies.
Controle op kromme messen
De machine moet op een egaal oppervlak
staan voor deze procedure.
-
Zet het maaidek
op de hoogste maaipositie.
-
Trek dikke
handschoenen of andere adequate handbescherming aan en draai langzaam
het mes in een stand die meting mogelijk
maakt van de afstand tussen de maairand en het egale oppervlak.
-
Meet vanaf
het uiteinde van het mes tot het egale oppervlak.
G451422
- Mes,
in meetstand
- Vlakke
ondergrond
- Gemeten
afstand tussen mes en de ondergrond (A)
-
Draai hetzelfde
mes 180 graden, zodat de mesrand aan de andere kant nu in dezelfde
stand staat.
G451423
- Vorige
gemeten mesrand
- Tegenoverliggende
mesrand
-
Meet vanaf
het uiteinde van het mes tot het egale oppervlak.
G451422
- Mes,
in meetstand
- Vlakke
ondergrond
- Gemeten
afstand tussen mes en de ondergrond (B)
-
Als het verschil
tussen A en B groter is dan 3 mm, vervang dan het mes.
Opmerking: Als u het mes vervangt en het
verschil blijft groter dan 3 mm, dan kan de bladspil verbogen zijn.
Neem contact op met een erkende
onderhoudsdealer voor service.
-
Herhaal deze
procedure voor elk mes.
De maaimessen verwijderen
-
Pak het uiteinde
van het mes vast met een doek of een dikke handschoen.
-
Verwijder
het mes zoals afgebeeld.
De maaimessen slijpen
-
Gebruik een
vijl om de snijranden aan beide uiteinden van het mes te slijpen.
Zorg ervoor dat de oorspronkelijke hoek behouden
blijft
.
Opmerking: Verwijder evenveel materiaal van
beide snijranden zodat het mes in balans blijft.
-
Controleer
de balans van het mes
met een mesbalans
.
Opmerking: Als het mes horizontaal blijft,
is het in balans en geschikt voor gebruik.
Als het mes
niet in balans is, moet u wat metaal afvijlen van het uiteinde van
de vleugel.
-
Herhaal dit
indien nodig totdat het mes in balans is.
De maaimessen monteren
 |
Waarschuwing |
|
Als een machine wordt gebruikt
na onjuiste montage van de meseenheid en/of het gebruiken van messen
en bevestigingsmiddelen die niet van Toro zijn, kan een mes(onderdeel)
uit het maaidek worden geworpen, wat ernstig of fataal letsel kan
veroorzaken.
Monteer altijd originele maaimessen
en bevestigingsmiddelen van Toro, volgens de aanwijzingen.
-
Installeer
het mes zoals weergegeven.
Opmerking: Het gebogen deel van het mes moet
naar de binnenzijde van de maaikast wijzen om een goede maaikwaliteit
te garanderen.
-
Draai de
mesbout vast tot 136-149
Nm.
Maaidek horizontaal stellen
Controleer
of het maaidek horizontaal staat telkens wanneer u het maaidek installeert
of wanneer u een ongelijke maaiplek in uw
gras ziet.
Het maaidek voorbereiden op waterpas stellen
-
Parkeer de
machine op een horizontaal oppervlak, schakel de aftakas uit en zet
de rijhendels naar buiten in de parkeerstand.
-
Zet de motor
af, verwijder het contactsleuteltje en wacht totdat alle bewegende
onderdelen tot stilstand zijn gekomen voordat
u de bestuurderspositie verlaat.
-
Zorg ervoor
dat de banden de juiste spanning hebben en dat de zwenkwielen recht
naar voren staan.
-
Controleer
of er verbogen maaimessen zijn; verwijder en vervang eventueel verbogen
maaimessen.
-
Zet het maaidek
omhoog tot een maaihoogte van 76 mm.
De maaidekhoogte controleren
-
Plaats de
messen naast elkaar.
-
Meet bij
punten
en
de afstand tussen een horizontaal
oppervlak en de snijranden van de maaimessen
.
Het verschil tussen de metingen
mag niet meer dan 5 mm zijn. Als de afstand groter is, pas dan het
niveau aan de zijkant aan.
-
Plaats 1
blad van voor naar achter.
-
Meet bij
punten
en
de afstand tussen een horizontaal
oppervlak en de snijranden van de maaimessen
.
De rand van het voorste mes moet
1,6 tot 7,9 mm lager staan dan de rand van het achterste mes. Als
de afstand niet juist is, past u
het niveau van voor naar achter aan.
Maaidek horizontaal stellen
-
Hiervoor
moet u de antiscalpeerrollen in de bovenste openingen zetten of ze
geheel verwijderen.
-
Zet de maaihoogtehendel
in de 76 mm-stand.
-
Plaats 2
blokjes
met een dikte van 6,6 cm
onder elke kant van de voorste rand van het maaidek.
Plaats
de blokken niet onder de beugels van de antiscalpeerrol.
-
Plaats 2
blokjes
met een dikte van 7,3 cm onder
elke kant van de achterste rand van het maaidek.
-
Draai de
onderste bevestigingen los waarmee de beugels op de 4 hoeken van het
maaidek zijn bevestigd en zorg ervoor dat het
maaidek stevig op de 4 blokken zit.
-
Trek de maaidekbeugels
strak en zorg dat het maaidekpedaal naar achteren tegen de aanslag
is gedrukt.
-
De bevestigingen
vastdraaien.
-
Zorg ervoor
dat de blokken stevig onder de rand van het maaidek zitten en dat
alle bevestigingsbouten vastgedraaid zijn.
-
Controleer
het niveau in de breedte en in de lengte opnieuw; herhaal deze stappen
totdat de juiste metingen worden verkregen.
Het maaidek verwijderen
-
Parkeer de
machine op een horizontaal oppervlak, schakel de aftakas uit en zet
de rijhendels naar buiten in de parkeerstand.
-
Zet de motor
af, verwijder het contactsleuteltje en wacht totdat alle bewegende
onderdelen tot stilstand zijn gekomen voordat
u de bestuurderspositie verlaat.
-
Zet de maaihoogtehendel
in de laagste stand.
-
Maak de afdekking
van het maaidek los.
-
Verwijder
de R-pen en de sluitring uit de voorste steunstang
en neem de stang uit de beugel
van het maaidek
.
Opmerking: Bewaar alle onderdelen voor latere
montage.
-
Verwijder
de bovenste bevestigingen waarmee de beugels aan de 4 hefarmen vastzitten.
-
Schuif het
maaidek naar achteren om de drijfriem van het maaidek te verwijderen
van de motorpoelie.
-
Schuif het
maaidek weg van onder de machine.
Het maaidek monteren
-
Parkeer de
machine op een horizontaal oppervlak, schakel de aftakas uit en zet
de rijhendels naar buiten in de parkeerstand.
-
Zet de motor
af, verwijder het contactsleuteltje en wacht totdat alle bewegende
onderdelen tot stilstand zijn gekomen voordat
u de bestuurderspositie verlaat.
-
Schuif het
maaidek onder de machine.
-
Zet de maaihoogtehendel
in de laagste stand.
-
Installeer
de hefverbindingen aan de hefarmen met behulp van de eerder verwijderde
bevestigingen.
-
Bevestig
de voorste steunstang
aan de dekbeugel
met de haarspeld en de sluitring.
-
Plaats de
drijfriem op de motorpoelie.
-
Draai de
bouten vast waarmee de afdekking van het maaidek is bevestigd.
Grasgeleider vervangen
 |
Gevaar |
|
Een open uitwerpopening kan objecten
naar u en mensen in de buurt werpen. Daarnaast kunt u ook in contact
komen met het mes. Uitgeworpen objecten
of aanraking van maaimessen leiden tot ernstig letsel of de dood.
Gebruik
de machine niet als de grasgeleider in de geheven stand staat, verwijderd
is of gewijzigd is, tenzij er een grasvanger
of mulchset gemonteerd is en goed werkt.
-
Parkeer de
machine op een horizontaal oppervlak, schakel de aftakas uit en zet
de rijhendels naar buiten in de parkeerstand.
-
Zet de motor
af, verwijder het contactsleuteltje en wacht totdat alle bewegende
onderdelen tot stilstand zijn gekomen voordat
u de bestuurderspositie verlaat.
-
Koppel de
veer los van de inkeping in de geleiderbeugel en schuif de stang uit
de gelaste maaidekbeugels, veer en grasgeleider.
G456086
- Stang
- Grasgeleider
- Veer
- Maaidekbeugels
- Borgpen
- Veer
over de stang
-
Verwijder
een beschadigde of versleten grasgeleider.
-
Plaats de
nieuwe grasgeleider met de beugeluiteinden tussen de gelaste beugel
op het maaidek zoals weergegeven.
G456085
- Stang
en veer geplaatst
- Uiteinde
van de veer met lus geplaatst in de inkeping in de geleiderbeugel
- Stang,
korte uiteinde, geplaatst achter de maaibeugel
- Kort
uiteinde, bevestigd met maaibeugel
- Borgpen
-
Bevestig
de stang en veer door deze zo te buigen dat het korte uiteinde van
de stang zich achter de voorste beugel op het
maaidek bevindt.
-
Monteer de
borgpen in het uiteinde van de stang.
De
grasgeleider moet onder veerspanning omlaag worden gehouden. Til de
grasgeleider omhoog om te controleren of deze volledig
omlaag klapt.
Reinigen
Afval afvoeren
Motorolie, accu's, hydraulische
vloeistof en motorkoelvloeistof verontreinigen het milieu. Verwijder
deze stoffen volgens de plaatselijke voorschriften.
Problemen oplossen
De brandstoftank is ingedeukt
of de machine raakt regelmatig zonder brandstof.
| Mogelijke oorzaak |
Corrigerende maatregel |
| Het papierelement van het
luchtfilter is verstopt. |
-
Reinig het
papierelement.
|
De motor raakt oververhit.
| Mogelijke oorzaak |
Corrigerende maatregel |
| De motor is te zwaar belast. |
-
De rijsnelheid
verminderen.
|
| Het oliepeil in het carter
is te laag. |
-
Het carter
met olie vullen.
|
| De koelribben en luchtkanalen
onder de ventilatorbehuizing van de motor zijn verstopt. |
-
Verwijder
de obstructie uit de koelribben en luchtkanalen.
|
| Het luchtfilter is vuil. |
-
Reinig of
vervang het luchtfilterelement.
|
| Vuil, water of oude brandstof
in het brandstofsysteem. |
-
Neem contact
op met een erkende servicedealer.
|
De startmotor slaat niet aan.
| Mogelijke oorzaak |
Corrigerende maatregel |
| De maaimesschakelaar is
ingeschakeld. |
-
Schakel de
aftakas uit.
|
| De rijhendels staan niet
in de parkeer-stand. |
-
Zet de rijhendels
in de parkeer-stand.
|
| De accu is leeg. |
-
De accu opladen.
|
| De elektrische aansluitingen
zijn gecorrodeerd of zitten los.
|
-
Controleer
of de elektrische aansluitingen goed contact maken.
|
| Een van de zekeringen is
doorgebrand. |
-
Vervang de
zekering.
|
| Een van de relais of schakelaars
is defect. |
-
Neem contact
op met een erkende servicedealer.
|
De motor start niet, start moeilijk
of slaat af.
| Mogelijke oorzaak |
Corrigerende maatregel |
| De brandstoftank is leeg. |
-
Vul de brandstoftank.
|
| De choke (indien aanwezig)
staat niet aan. |
-
Zet de chokehendel
in de aan-stand.
|
| Het luchtfilter is vuil. |
-
Reinig of
vervang het luchtfilterelement.
|
| De bougiekabel(s) zit(ten)
los of is (zijn) niet aangesloten.
|
-
De bougiekabel(s)
op de bougie monteren.
|
| De bougie(s) is (zijn)
aangetast, vuil, of de elektrodenafstand is niet correct afgesteld. |
-
Nieuwe bougie(s)
met een correct afgestelde elektrodenafstand monteren.
|
| Er zit vuil in het brandstoffilter. |
-
Vervang het
brandstoffilter.
|
| Vuil, water of oude brandstof
in brandstofsysteem. |
-
Neem contact
op met een erkende servicedealer.
|
| Verkeerde brandstof in
de tank. |
-
Brandstoftank
aftappen en vullen met het juiste type brandstof.
|
| Het oliepeil in het carter
is te laag. |
-
Vul het carter
met olie.
|
De motor verliest vermogen.
| Mogelijke oorzaak |
Corrigerende maatregel |
| De motor is te zwaar belast. |
-
De rijsnelheid
verminderen.
|
| Het luchtfilter is vuil. |
-
Reinig het
luchtfilterelement.
|
| Het oliepeil in het carter
is te laag. |
-
Vul het carter
met olie.
|
| De koelribben en luchtkanalen
onder de ventilatorbehuizing van de motor zijn verstopt. |
-
De koelribben
en luchtkanalen ontstoppen.
|
| De bougie(s) is (zijn)
aangetast, vuil, of de elektrodenafstand is niet correct afgesteld. |
-
Nieuwe bougie(s)
met een correct afgestelde elektrodenafstand monteren.
|
| De ontluchting van de brandstoftank
is verstopt. |
-
Neem contact
op met een erkende servicedealer.
|
| Er zit vuil in het brandstoffilter. |
-
Brandstoffilter
vervangen.
|
| Vuil, water of oude brandstof
in het brandstofsysteem. |
-
Neem contact
op met een erkende servicedealer.
|
| Verkeerde brandstof in
de tank. |
-
Neem contact
op met een erkende servicedealer.
|
De machine drijft niet aan.
| Mogelijke oorzaak |
Corrigerende maatregel |
| De omloopkleppen zijn open. |
-
Sluit de
sleepkleppen.
|
| De tractieriemen zijn versleten,
los of stuk. |
-
Neem contact
op met een erkende servicedealer.
|
| De tractieriemen zitten
niet op de poelies. |
-
Neem contact
op met een erkende servicedealer.
|
| De transmissie is uitgevallen. |
-
Neem contact
op met een erkende servicedealer.
|
De machine trilt abnormaal.
| Mogelijke oorzaak |
Corrigerende maatregel |
| Het maaimes (de maaimessen)
is (zijn) verbogen of niet in balans.
|
-
Nieuwe maaimes(sen)
monteren.
|
| De bevestigingsbout van
het maaimes zit los. |
-
De bevestigingsbout
van het maaimes vastdraaien.
|
| De bevestigingsbouten van
de motor zitten los. |
-
De bevestigingsbouten
van de motor vastdraaien.
|
| De motorpoelie, spanpoelie
of mespoelie zit los. |
-
Desbetreffende
poelie vastzetten.
|
| De motorpoelie is beschadigd. |
-
Neem contact
op met een erkende servicedealer.
|
| Mesas verbogen. |
-
Neem contact
op met een erkende servicedealer.
|
| De motorophangplaat zit
los of is versleten. |
-
Neem contact
op met een erkende servicedealer.
|
De maaihoogte is ongelijk.
| Mogelijke oorzaak |
Corrigerende maatregel |
| Maaimes(sen) bot. |
-
Mes(sen)
slijpen.
|
| Maaimes(sen) verbogen of
niet in balans. |
-
Nieuwe maaimessen
monteren.
|
| Het maaidek staat niet
horizontaal. |
-
Maaidek horizontaal
stellen en in de correcte schuinstand stellen.
|
| Een antiscalpeerwiel (indien
aanwezig) is niet correct afgesteld.
|
-
Hoogte van
antiscalpeerwiel afstellen.
|
| De onderkant van het maaidek
is vuil. |
-
Reinig de
onderkant van het maaidek.
|
| De bandenspanning is niet
correct. |
-
De banden
op de juiste spanning brengen.
|
| Mesas verbogen. |
-
Neem contact
op met een erkende servicedealer.
|
Messen draaien niet.
| Mogelijke oorzaak |
Corrigerende maatregel |
| De aandrijfriem is versleten,
los of stuk. |
-
Een nieuwe
drijfriem monteren.
|
| De drijfriem zit niet op
de poelie. |
-
Drijfriem
monteren en assen en riemgeleiders op juiste stand controleren.
|
| De schakelaar van de aftakas
of de aftakkoppeling is defect.
|
-
Neem contact
op met een erkende servicedealer.
|
| De drijfriem van het maaidek
is versleten, los of stuk. |
-
Een nieuwe
drijfriem monteren.
|