Održavanje
Sigurnost pri održavanju
- Ako ostavite ključ u prekidaču,
netko bi slučajno mogao pokrenuti motor i nanijeti vama i prolaznicima
teške ozljede. Izvadite ključ
iz prekidača za paljenje prije bilo kakvog održavanja.
- Prije nego što napustite
položaj rukovatelja, učinite sljedeće:
- Parkirajte uređaj na ravnoj
površini.
- Isključite pogone.
- Aktivirajte ručnu kočnicu.
- Ugasite motor i izvadite ključ.
- Pričekajte da se uređaj
ohladi prije održavanja.
- Uređaj nikad ne smije servisirati
neosposobljeno osoblje.
- Držite ruke i noge podalje
od pokretnih dijelova ili vrućih površina. Ako je to moguće,
nemojte vršiti podešavanja dok motor
radi.
- Osigurajte da su svi štitovi,
štitnici i svi sigurnosni uređaji postavljeni i u ispravnom
radnom stanju. Redovito provjeravajte jesu
li dijelovi istrošeni ili oštećeni te ih po potrebi
zamijenite originalnim dijelovima tvrtke Toro.
- Pažljivo otpuštajte
pritisak iz komponenti s pohranjenom energijom.
 |
Upozorenje |
|
Uklanjanje ili izmjene originalne
opreme, dijelova i/ili dodatne opreme može izmijeniti jamstvo,
upravljivost i sigurnost uređaja.
Neovlaštene izmjene na originalnoj opremi ili upotrebljavanje
dijelova koji nisu originalni dijelovi tvrtke Toro može uzrokovati teške
ozljede ili smrt.
- Često provjeravajte rad
ručne kočnice. Ako je to potrebno, podesite je i servisirajte.
- Nemojte neovlašteno raditi
izmjene na sigurnosnim uređajima. Redovito provjeravajte rade
li ispravno.
- Očistite travu, lišće,
višak masti i ulja i druge krhotine iz jedinice za rezanje,
prigušivača, pogona, hvatača trave i motornog
prostora kako biste spriječili izbijanje
požara.
- Očistite proliveno ulje
ili gorivo i uklonite krhotine natopljene gorivom.
- Nemojte se oslanjati isključivo
na mehaničke ili hidrauličke dizalice za podupiranje uređaja.
Upotrebljavajte odgovarajuće podmetače.
- Držite sve dijelove u dobrom
radnom stanju i svu opremu zategnutu, osobito dijelove za pričvršćivanje
noževa.
- Kako biste osigurali optimalnu
učinkovitost, upotrebljavajte samo originalne zamjenske dijelove
i dodatnu opremu tvrtke Toro. Upotreba zamjenskih dijelova
i dodatne opreme drugih proizvođača može biti opasna.
Preporučeni raspored održavanja
| Nakon prvih 8 sati
|
Promijenite motorno ulje.
|
| Nakon prvih 50 sati
|
Provjerite zakretni moment pritezne matice.
|
| Prije svakog korištenja
ili svakodnevno |
Provjerite sigurnosni sustav blokiranja.
|
| Očistite pročistač zraka kako biste uklonili prljave,
otpuštene ili oštećene dijelove. |
| Provjerite razinu motornog ulja.
|
| Očistite pregradu usisnika zraka.
|
| Pregledajte noževe.
|
| Pregledajte usmjerivač trave kako biste se uvjerili da nije
oštećen. |
| Nakon svakog korištenja |
Očistite travu i prljavštinu iz uređaja. |
| Očistite kućište kosišta. |
| Svakih 25 sati |
Podmažite ležajeve prednjih kotača (češće
u prašnjavim uvjetima).
|
| Provjerite tlak u gumama.
|
| Provjerite jesu li remeni istrošeni ili napuknuti. |
| Svakih 100 sati |
Zamijenite motorno ulje (češće u prašnjavim
ili prljavim uvjetima).
|
| Zamijenite ili očistite svjećicu i podesite razmak elektroda. |
| Zamijenite linijski filtar goriva.
|
| Svakih 100 sati ili jednom godišnje,
ovisno o tome što nastupi
ranije |
Zamijenite papirnati element pročistača zraka (češće
u prašnjavim i prljavim uvjetima).
|
| Svakih 200 sati
|
Zamijenite filtar motornog ulja (češće u prašnjavim
ili prljavim uvjetima).
|
| Svakih 300 sati
|
Provjerite i podesite zazor ventila. Obratite se ovlaštenom
serviseru. |
| Jednom godišnje
|
Provjerite zakretni moment pritezne matice.
|
| Prije skladištenja |
Napunite akumulator i odspojite kabele akumulatora. |
| Prije skladištenja uređaja provedite sve prethodno opisane
postupke održavanja.
|
| Obojite sve oguljene površine. |
| |
Pročitajte upute za upotrebu
motora za detalje o dodatnim postupcima održavanja.
Postupci predodržavanja
Pomicanje neispravnog uređaja
-
Parkirajte
uređaj na ravnoj površini, isključite prekidač
za upravljanje noževima i pomaknite upravljačke poluge
prema van u parkirni položaj.
-
Isključite
motor i pričekajte da se svi pomični dijelovi zaustave
prije nego što napustite položaj rukovatelja.
-
Pronađite
premosne poluge
na okviru na objema stranama
motora.
-
Gurnite obje
premosne poluge prema naprijed kroz otvor i preko kako bi se blokirale
.
 |
Upozorenje |
|
Dodirivanje
vrućih površina može uzrokovati tjelesne ozljede.
Držite ruke, noge, lice,
odjeću i druge dijelove tijela podalje od motora, prigušivača
i drugih vrućih površina.
 |
Upozorenje |
|
Moguće
je da se uređaj slučajno pomakne dok su premosne poluge
zaključane prema naprijed u utoru i da ozlijedi vas i prolaznike.
Zaključajte premosne poluge
prema natrag nakon pomicanja uređaja.
-
Deaktivirajte
ručnu kočnicu tako da obje upravljačke poluge pomaknete
prema dolje u središnji, otključani položaj.
Napomena: Nemojte pokrenuti uređaj.
-
Pomaknite
uređaj prema potrebi.
Uvijek
ručno gurajte uređaj. Nikad nemojte vući uređaj
jer ga vuča može oštetiti.
-
Pomaknite
upravljačke poluge prema van u parkirni položaj.
-
Pomaknite
obje premosne poluge prema natrag kroz otvor i preko kako bi se blokirale
.
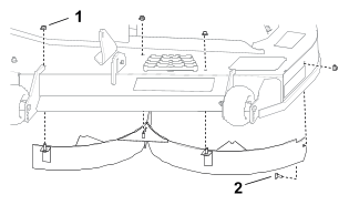
Otpuštanje pregrade kosišta
-
Otpustite
2 donja vijka pregrade kako biste pristupili gornjoj strani kosišta.
Nakon održavanja
uvijek učvrstite vijke i spojite pregradu.
G453430
Održavanje motora
Sigurnost motora
- Držite ruke, noge, lice,
druge dijelove tijela i odjeću podalje od prigušivača
i drugih vrućih površina. Pričekajte da se
motor ohladi prije održavanja.
- Nemojte mijenjati postavke regulatora
brzine motora ili opterećivati motor prekomjernom brzinom.
Servisiranje pročistača
zraka
Uklanjanje elementa pročistača zraka
-
Parkirajte
uređaj na ravnoj površini, isključite prekidač
za upravljanje noževima i pomaknite upravljačke poluge
prema van u parkirni položaj.
-
Isključite
motor i pričekajte da se svi pomični dijelovi zaustave
prije nego što napustite položaj rukovatelja.
-
Očistite
područje oko poklopca pročistača zraka
kako biste spriječili prodiranje
nečistoće u motor, što može uzrokovati kvar.
-
Otpustite
stezaljku za crijevo
i uklonite papirnati element
.
Servisiranje papirnatog elementa pročistača zraka
-
Očistite
papirnati element laganim tapkanjem kako biste uklonili prašinu.
Napomena: Ako je vrlo prljav, zamijenite
papirnati element novim elementom.
-
Provjerite
ima li filtar rupe, naslage masti ili oštećenja gumene
brtve.
-
Ako je oštećen,
zamijenite papirnati element.
Nemojte
čistiti papirnati filtar.
Servisiranje motornog ulja
Specifikacije motornog ulja
| Vrsta ulja |
Detergentno ulje (API servis SF,
SG, SH, SJ ili SL) |
| Kapacitet kućišta
motora |
1,8 l bez
filtra; 2,1 l s filtrom
|
| Viskoznost |
Pogledajte tablicu u nastavku |
| |
Provjera razine motornog ulja
-
Parkirajte
uređaj na ravnoj površini, isključite prekidač
za upravljanje noževima i pomaknite upravljačke poluge
prema van u parkirni položaj.
-
Ugasite motor,
izvadite ključ i pričekajte da se svi pomični dijelovi
zaustave prije napuštanja vozačevog položaja.
-
Pričekajte
da se motor ohladi kako bi ulje imalo vremena za otjecanje u karter.
-
Kako biste
spriječili nakupljanje nečistoća, odrezane trave
itd. u motoru, očistite područje oko poklopca spremnika
za ulje i šipke za mjerenje razine
ulja prije uklanjanja.
-
Provjerite
razinu motornog ulja kako je prikazano na slici.
Ako
prepunite kućište motora ili ga nedovoljno napunite uljem
i pokrenete motor, možete ga oštetiti.
Mijenjanje motornog ulja
-
Parkirajte
uređaj tako da je odvodna strana nešto niža od suprotne
strane kako biste osigurali da se ulje potpuno iscijedi.
-
Isključite
prekidač za upravljanje noževima (PTO) i pomaknite upravljačke
poluge prema van u parkirni položaj.
-
Ugasite motor,
izvadite ključ i pričekajte da se svi pomični dijelovi
zaustave prije napuštanja vozačevog položaja.
-
Ispustite
ulje iz motora.
-
Polako ulijte
približno 80 % navedenog ulja u otvor za ulijevanje i polako
dodajte još ulja kako biste napunili spremnik do
oznake Full (Puno).
-
Iskorišteno
ulje zbrinite u skladu s lokalnim propisima.
Mijenjanje filtra za motorno ulje
-
Ispustite
ulje iz motora.
-
Promijenite
filtar motornog ulja kako je prikazano.
Napomena: Provjerite dodiruje li brtva filtra
za ulje motor, a zatim filtar za ulje zakrenite za dodatnih ¾
okretaja.
-
Polako dodajte
navedeno ulje u cijev za punjenje dok ne dođe do oznake Full (Puno).
Servisiranje svjećice
Prije ugradnje
svjećice provjerite je li zračni razmak između središnje
i bočnih elektroda ispravan. Za uklanjanje i postavljanje
svjećice koristite ključ za svjećicu
i alat za zatvaranje otvora ili mjerni listić kako biste provjerili
i prilagodili zračni prostor. Ako je
to potrebno, postavite novu svjećicu.
Tip: NGK® BPR4ES
Zračni prostor: 0,76 mm
Uklanjanje svjećice
-
Parkirajte
uređaj na ravnoj površini, isključite prekidač
za upravljanje noževima i pomaknite upravljačke poluge
prema van u parkirni položaj.
-
Ugasite motor,
izvadite ključ i pričekajte da se svi pomični dijelovi
zaustave prije napuštanja vozačevog položaja.
-
Očistite
područje oko dna svjećice kako biste osigurali da u motor
neće prodrijeti nečistoće ili krhotine.
-
Izvadite
svjećicu.
Provjera svjećice
Nemojte čistiti svjećicu(e).
Uvijek zamijenite svjećicu koja je obložena crnim slojem,
koja ima istrošene elektrode, ako je
pokrivena uljem ili ako je napuknuta.
Ako vidite
svjetlosmeđu ili sivu boju na izolatoru, motor ispravno radi.
Crni sloj na izolatoru najčešće znači da je
pročistač zraka prljav.
-
Postavite
razmak na 0,75 mm.
Čišćenje rashladnog
sustava
-
Parkirajte
uređaj na ravnoj površini, isključite prekidač
za upravljanje noževima i pomaknite upravljačke poluge
prema van u parkirni položaj.
-
Ugasite motor,
izvadite ključ i pričekajte da se svi pomični dijelovi
zaustave prije napuštanja vozačevog položaja.
-
Izvadite
zračni filtar iz motora.
-
Uklonite
pokrov motora.
-
Kako biste
spriječili da u usisnik zraka prodru krhotine, postavite zračni
filtar na bazu filtra.
-
Očistite
krhotine i travu iz dijelova.
-
Izvadite
zračni filtar i postavite pokrov motora.
-
Postavljanje
zračnog filtra.
Održavanje sustava goriva
 |
Opasnost |
|
U određenim uvjetima gorivo
je vrlo zapaljivo i eksplozivno. Požar ili eksplozija uzrokovana
gorivom mogu uzrokovati opekline kod vas i
drugih ljudi i oštetiti imovinu.
Zamjena filtra za gorivo
-
Parkirajte
uređaj na ravnoj površini, isključite prekidač
za upravljanje noževima i pomaknite upravljačke poluge
prema van u parkirni položaj.
-
Ugasite motor,
izvadite ključ i pričekajte da se svi pomični dijelovi
zaustave prije napuštanja vozačevog položaja.
-
Pritegnite
stezaljke na cijevi za dovod goriva s obje strane filtra za gorivo.
-
Zamijenite
filtar.
Napomena: Provjerite je li strelica koja
označuje smjer protoka na zamjenskom filtru usmjerena prema
motoru.
Nikad
nemojte postavljati prljavi filtar nakon što ga uklonite iz
voda za gorivo.
-
Uklonite
stezaljke koje zaustavljaju protok goriva.
Održavanje električnog
sustava
Sigurnost električnog sustava
- Odspojite kabele od negativnog
priključka akumulatora prije popravljanja uređaja.
- Punite akumulator na otvorenom,
dobro prozračenom mjestu, daleko od iskri i plamena. Isključite
punjač prije spajanja ili odspajanja
akumulatora. Nosite zaštitnu odjeću i upotrebljavajte
izolirane alate.
Servisiranje akumulatora
Uklanjanje akumulatora
 |
Upozorenje |
|
Priključci akumulatora ili
metalni alati mogu uzrokovati kratki spoj s metalnim komponentama
uređaja i tako izazvati iskrenje.
Iskre mogu uzrokovati eksploziju plinova akumulatora i tako dovesti
do tjelesnih ozljeda.
- Pri uklanjanju ili postavljanju
akumulatora ne dopustite da priključci akumulatora dođu
u dodir s bilo kojim metalnim dijelom
uređaja.
- Ne dopustite da dođe do
kratkog spoja s metalnim alatima između priključaka akumulatora
i metalnih dijelova uređaja.
-
Parkirajte
uređaj na ravnoj površini, isključite prekidač
za upravljanje noževima i pomaknite upravljačke poluge
prema van u parkirni položaj.
-
Ugasite motor,
izvadite ključ i pričekajte da se svi pomični dijelovi
zaustave prije napuštanja vozačevog položaja.
-
Odspojite
negativni (crni) kabel za uzemljenje s kleme akumulatora.
Napomena: Sačuvajte sve pričvršćivače.
 |
Upozorenje |
|
Neispravno
uklanjanje kabela iz akumulatora može dovesti do oštećenja
uređaja i kablova, što uzrokuje iskrenje. Iskre mogu
uzrokovati eksploziju plinova akumulatora
i tako dovesti do tjelesnih ozljeda.
- Uvijek odspojite negativni (crni)
kabel akumulatora prije odspajanja pozitivnog (crvenog) kabela.
- Uvijek spojite pozitivni (crveni)
kabel akumulatora prije spajanja negativnog (crnog) kabela.
-
Povucite
gumeni pokrov s pozitivnog (crvenog) kabla.
-
Odspojite
pozitivni (crveni) kabel s kleme akumulatora(+).
Napomena: Sačuvajte sve pričvršćivače.
-
Uklonite
držač akumulatora i podignite akumulator iz podloge za
akumulator.
G440221
-
Akumulator
-
Terminalni nastavak
-
Negativna (–) klema akumulatora
-
Krilata matica, podložna
pločica i vijak
-
Držač akumulatora
-
Vijak, podložna pločica
i matica
-
Pozitivna (+) klema akumulatora
Punjenje akumulatora
 |
Upozorenje |
|
Punjenje akumulatora stvara plinove
koji mogu eksplodirati.
Nikad nemojte pušiti u blizini
akumulatora, a iskre i plamen držite podalje od akumulatora.
Akumulator uvijek mora biti potpuno
napunjen. To je posebno važno kako bi se spriječila oštećenja
akumulatora na temperaturama ispod 0 °C.
-
Izvadite
akumulator iz uređaja.
-
Napunite
akumulator prema uputama proizvođača punjača akumulatora.
Nemojte
prepuniti akumulator jer u suprotnom može doći do oštećenja.
G003792S
- Pozitivna
klema
- Negativna
klema
- Crveni
(+) kabel punjača
- Crni
(–) kabel punjača
-
Kad se akumulator
napuni do kraja, odspojite punjač iz utičnice (ako je
primjenjivo), a zatim odspojite kabele punjača s klema.
Čišćenje akumulatora
Napomena: Priključci akumulatora i
cijelo kućište akumulatora moraju biti čisti jer
se prljav akumulator polako prazni.
-
Parkirajte
uređaj na ravnoj površini, isključite prekidač
za upravljanje noževima i pomaknite upravljačke poluge
prema van u parkirni položaj.
-
Isključite
motor i pričekajte da se svi pomični dijelovi zaustave
prije nego što napustite položaj rukovatelja.
-
Izvadite
akumulator iz uređaja.
-
Operite kućište
otopinom sode bikarbone i vode.
-
Isperite
akumulator čistom vodom.
-
Kako biste
spriječili koroziju, premažite kabelske konektore i kleme
mašću za popravak Grafo 112X ili vazelinom.
-
Postavite
akumulator.
Postavljanje akumulatora
-
Postavite
akumulator na podlogu.
-
S pomoću
prethodno uklonjenih pričvršćivača postavite
pozitivni (crveni) kabel akumulatora na pozitivni (+) priključak
akumulatora.
-
S pomoću
prethodno uklonjenih pričvršćivača postavite
negativni kabel akumulatora na negativni (–) priključak akumulatora.
-
Navucite
crveni terminalni nastavak na pozitivnu (crvenu) klemu akumulatora.
-
Učvrstite
akumulator s pomoću držača.
G440221
-
Akumulator
-
Terminalni nastavak
-
Negativna (–) klema akumulatora
-
Krilata matica, podložna
pločica i vijak
-
Držač akumulatora
-
Vijak, podložna pločica
i matica
-
Pozitivna (+) klema akumulatora
Pokretanje uređaja s pomoću
vanjskog izvora energije
 |
Upozorenje |
|
Pokretanje akumulatora s pomoću
vanjskog izvora energije može stvoriti plinove koji mogu eksplodirati.
Nemojte
pušiti u blizini akumulatora i držite iskre i plamen podalje
od njega.
 |
Opasnost |
|
Pokretanje slabog akumulatora
koji je napuknut ili zamrznut ili koji ima nisku razinu elektrolita
ili pregorenu ćeliju s pomoću
vanjskog izvora energije može uzrokovati eksploziju i dovesti
do teških tjelesnih ozljeda.
Ne izvršavajte pokretanje
slabog akumulatora s pomoću vanjskog izvora energije u takvim
uvjetima.
-
Prije pokretanja
s pomoću vanjskog izvora energije provjerite ima li znakova
korozije na priključcima akumulatora i očistite
ih. Provjerite jesu li priključci čvrsto
spojeni.
 |
Oprez |
|
Korozija
ili labavi spojevi mogu dovesti do neželjenog porasta električnog
napona u bilo kojem trenutku tijekom pokretanja
s pomoću vanjskog izvora energije.
Ne
pokušavajte izvršiti pokretanje uređaja s pomoću
vanjskog izvora energije ako su priključci akumulatora olabavili
ili korodirali jer bi moglo doći
do oštećenja motora.
-
Vanjski akumulator
mora biti ispravan i potpuno napunjen olovni akumulator od 12,6 V
ili više.
Napomena: S pomoću odgovarajućih
kratkih kabela za paljenje smanjite pad napona među sustavima.
Kabeli moraju biti označeni bojama ili
imati odgovarajuće oznake polariteta.
 |
Upozorenje |
|
Akumulatori
sadržavaju kiselinu i proizvode eksplozivne plinove.
- Uvijek zaštitite oči
i lice od akumulatora.
- Nemojte se naginjati nad akumulatore.
Napomena: Čepovi ventila moraju biti
zategnuti i poravnati. Ako imate vlažnu krpu, stavite je na
sve čepove ventila na oba akumulatora.
Uređaji se ne smiju dodirivati i oba električna
sustava moraju biti isključena i imati isti napon. Ove se upute
odnose samo na sustave s negativnim
uzemljenjem.
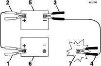
-
Spojite pozitivni
(+) kabel na pozitivni (+) priključak ispražnjenog akumulatora
koji je spojen na pokretač ili elektromagnet
kako je prikazano:
g012785
- Pozitivni
(+) kabel na ispražnjenom akumulatoru
- Pozitivni
(+) kabel na vanjskom akumulatoru
- Negativni
(–) kabel na vanjskom akumulatoru
- Negativni
(–) kabel na bloku motora
- Vanjski
akumulator
- Ispražnjeni
akumulator
- Blok
motora
-
Spojite drugi
kraj pozitivnog (+) kabela za paljenje na pozitivni priključak
akumulatora u drugom uređaju.
-
Spojite jedan
kraj negativnog (-) kabela za paljenje na negativnu klemu akumulatora
u drugom uređaju.
-
Spojite drugi
kraj negativnog (-) kabela za paljenje na uzemljenje, npr. neobojeni
vijak ili krak šasije.
-
Pokrenite
motor u drugom uređaju. Pustite ga da radi nekoliko minuta,
a zatim pokrenite svoj motor.
-
Odspojite
kabele obrnutim redoslijedom od onog kojim ste ih spojili.
-
Postavite
poklopac na klemu za pokretanje.
Održavanje osigurača
Električni sustav zaštićen
je osiguračima. Nije ga potrebno održavati; međutim,
ako pregori osigurač provjerite je li došlo
do kvarova ili kratkih spojeva u komponenti / strujnom
krugu.
-
Parkirajte
uređaj na ravnoj površini, isključite prekidač
za upravljanje noževima i pomaknite upravljačke poluge
prema van u parkirni položaj.
-
Ugasite motor,
izvadite ključ i pričekajte da se svi pomični dijelovi
zaustave prije napuštanja vozačevog položaja.
-
Zamijenite
pregoreni osigurač novim osiguračem.
G440132
- Krug
punjenja (15 A)
- Glavni
(25 A)
Održavanje pogonskog sustava
Provjera tlaka u gumama
Održavajte tlak zraka u
prednjim i stražnjim gumama, kako je utvrđeno. Neujednačen
tlak u gumama može uzrokovati neravnu košnju.
Tlak provjeravajte na stablu ventila kad su gume hladne
kako biste ga što preciznije očitali.
-
Napunite
gume prednjih okretnih kotača na 1,03 bar ili na tlak naveden
na stijenci, koji god je niži.
-
Napunite
gume kotača stražnjeg pogona na 0,9 bar (90 kPa).
Provjera priteznih matica kotača
-
Provjerite
i zakrenite pritezne matice kotača na 129 Nm.
Podešavanje stabilnosti
smjera vožnje
Ako se uređaj zanosi u jednu
stranu kad vozite prema naprijed punom brzinom na ravnoj površini,
podesite stabilnost smjera vožnje.
Ako
se uređaj zanosi ulijevo, podesite desnu upravljačku polugu;
ako se uređaj zanosi udesno, podesite lijevu upravljačku
polugu.
Napomena: Stabilnost smjera vožnje
možete podesiti samo za vožnju prema naprijed.
-
Parkirajte
uređaj na ravnoj površini, isključite prekidač
za upravljanje noževima i pomaknite upravljačke poluge
prema van u parkirni položaj.
-
Ugasite motor,
izvadite ključ i pričekajte da se svi pomični dijelovi
zaustave prije napuštanja vozačevog položaja.
-
Pronađite
vijak za podešavanje stabilnosti smjera vožnje blizu upravljačke
poluge na strani koju treba podesiti.
-
Okrenite
vijak kako biste smanjili broj okretaja željenog kotača.
Napomena: Malo okrenite vijak kako biste
izvršili manja podešavanja.
-
Pokrenite
uređaj i vozite prema naprijed na ravnoj površini s upravljačkim
polugama pomaknutim skroz prema naprijed kako biste
provjerili vozi li uređaj ravno. Po potrebi ponovite
postupak.
Održavanje remena
Pregledavanje remena
-
Parkirajte
uređaj na ravnoj površini, isključite prekidač
za upravljanje noževima i pomaknite upravljačke poluge
prema van u parkirni položaj.
-
Isključite
motor i pričekajte da se svi pomični dijelovi zaustave
prije nego što napustite položaj rukovatelja.
-
Postavite
visinu košnje na najniži položaj.
-
Pregledajte
ima li na remenu znakova istrošenosti. Zamijenite remen ako
je istrošen.
Znakovi istrošenog
remena uključuju cviljenje dok se remen okreće, klizanje
noževa tijekom košenja trave i izlizane rubove,
tragove gorenja i pukotine na remenu.
Zamjena remena kosilice
Znakovi istrošenog remena
obuhvaćaju zvuk škripanja prilikom okretanja remena, klizanje
noževa prilikom rezanja trave te pohabane
rubove, tragove paleža i pukotine na remenu. Ako je prisutan
bilo koji od navedenih znakova, zamijenite remen kosišta.
-
Parkirajte
uređaj na ravnoj površini, isključite prekidač
za upravljanje noževima i pomaknite upravljačke poluge
prema van u parkirni položaj.
-
Ugasite motor,
izvadite ključ i pričekajte da se svi pomični dijelovi
zaustave prije napuštanja vozačevog položaja.
-
Postavite
visinu košnje na najniži položaj.
-
Otpustite
pregradu kosišta.
-
Uklonite
pokrove remenice.
-
Otpustite
maticu koja pričvršćuje oblikovanu žicu za
slobodnu remenicu.
-
S pomoću
alata za uklanjanje opruga (Toro, dio br. 92-5771) uklonite zateznu
oprugu s kuke kosišta kako biste smanjili napetost
slobodne remenice.
 |
Upozorenje |
|
Opruga
je napeta i može uzrokovati tjelesne ozljede.
Budite
oprezni prilikom uklanjanja remena.
G453682
- Remenica
kosišta
- Remen
kosilice
- Remenica
motora
- Slobodna
remenica
- Opruga
- Alat
za uklanjanje opruga
-
Skinite remen
s remenica.
-
Navucite
novi remen oko remenice motora i remenica kosišta.
-
S pomoću
alata za uklanjanje opruga postavite zateznu oprugu na kuku kosišta
i spregnite slobodnu remenicu i remen kosišta.
-
Postavite
oblikovanu žicu na spojnu polugu i pritegnite maticu.
-
Postavite
pokrove remenice.
-
Pritegnite
vijke pregrade kosišta.
Održavanje kosišta
Sigurnost noževa
- Povremeno provjerite jesu li noževi
istrošeni ili oštećeni.
- Budite oprezni pri pregledavanju
noževa. Pri održavanju noževa budite oprezni i zamotajte
noževe ili nosite rukavice. Nikad
ne ravnajte ili varite noževe, samo ih mijenjajte.
- Budite oprezni s kosilicama s
višestrukim noževima jer okretanje jednog noža može
uzrokovati okretanje drugih noževa.
- Zamijenite istrošene ili
oštećene noževe i matične vijke u grupama
kako bi se održala ravnoteža.
Servisiranje noževa
Održavajte
noževe oštrima kako biste osigurali vrhunsku kvalitetu
rezanja. Preporučamo da imate rezervne noževe pri ruci
kako biste olakšali oštrenje i
zamjenu.
Zamijenite noževe ako udare
o tvrdi predmet ili ako je nož neuravnotežen ili zakrivljen.
Prije pregledavanja ili održavanja noževa
-
Parkirajte
uređaj na ravnoj površini, isključite prekidač
za upravljanje noževima i pomaknite upravljačke poluge
prema van u parkirni položaj.
-
Ugasite motor,
izvadite ključ i pričekajte da se svi pomični dijelovi
zaustave prije napuštanja vozačevog položaja.
-
Odspojite
žice svjećica sa svjećica.
Provjera savinutih noževa
Kako biste proveli ovaj postupak,
uređaj se mora nalaziti na ravnoj površini.
-
Podignite
kosište na najvišu visinu košnje.
-
Navucite
debele rukavice ili neki drugi odgovarajući oblik zaštite
ruku i polako zakrenite nož u položaj koji vam omogućuje
da izmjerite udaljenost između
oštrice i ravne površine.
-
Izmjerite
udaljenost od vrha noža do ravne površine.
G451422
- Nož
(u položaju za mjerenje)
- Ravna
površina
- Izmjerena
udaljenost između noža i površine (A)
-
Zakrenite
isti nož za 180 stupnjeva kako bi suprotna oštrica
bila u istom položaju.
G451423
- Prethodno
izmjerena oštrica
- Suprotna
oštrica
-
Izmjerite
udaljenost od vrha noža do ravne površine.
G451422
- Nož
(u položaju za mjerenje)
- Ravna
površina
- Izmjerena
udaljenost između noža i površine (B)
-
Ako je razlika
između A i B veća od 3 mm; zamijenite nož.
Napomena: Ako zamijenite nož, a razlika
i dalje premašuje 3 mm, vreteno noža može biti
savinuto. Obratite se ovlaštenom serviseru.
-
Ponovite
ovaj postupak za svaki nož.
Uklanjanje noževa
-
Držite
kraj noža s pomoću krpe ili debele rukavice.
-
Uklonite
nož kako je prikazano na slici.
Oštrenje noževa
-
Naoštrite
oštricu na oba kraja noža s pomoću turpije. Održavajte
izvorni nagib
.
Napomena: Uklonite istu količinu materijala
s obiju oštrica kako bi nož zadržao ravnotežu.
-
Provjerite
ravnotežu noža
tako da ga stavite na
balanser noževa
.
Napomena: Ako nož ostaje u vodoravnom
položaju, nož je uravnotežen i može se koristiti.
Ako nož
nije uravnotežen, isturpijajte dio metala s kraja noža
samo na strani krila oštrice.
-
Ponavljajte
postupak dok se nož ne uravnoteži.
Postavljanje noževa
 |
Upozorenje |
|
Upravljanje uređajem s neispravno
postavljenim sklopom noževa i/ili noževima i dijelovima
za postavljanje noževa koji nisu
originalni dijelovi tvrtke Toro može dovesti do odbacivanja
noža ili dijela noža od ispod kosišta te tako uzrokovati
teške ozljede ili smrt.
Uvijek prema uputama postavite
originalne noževe i dijelove za postavljanje noževa tvrtke Toro.
-
Postavite
nož kako je prikazano na slici.
Napomena: Kako bi se osiguralo ispravno
rezanje, zakrivljeni dio noža mora biti usmjeren prema gore
i prema unutrašnjosti kosilice.
-
Zakrenite
vijak noža na 136
do 149 Nm.
Poravnavanje kosišta
Provjerite
je li kosište ravno svaki put kad ga postavljate ili kad uočite
da trava nije ravno odrezana.
Priprema za poravnavanje kosišta
-
Parkirajte
uređaj na ravnoj površini, isključite prekidač
za upravljanje noževima i pomaknite upravljačke poluge
prema van u parkirni položaj.
-
Ugasite motor,
izvadite ključ i pričekajte da se svi pomični dijelovi
zaustave prije napuštanja vozačevog položaja.
-
Provjerite
jesu li gume napuhane prema ispravnim specifikacijama i jesu li prednji
kotači okrenuti prema naprijed.
-
Provjerite
postoje li na kosištu zakrivljeni noževi; uklonite i zamijenite
zakrivljene noževe.
-
Podignite
kosište na postavku visine košnje od 76 mm.
Provjera razine kosišta
-
Postavite
noževe jedan uz drugi.
-
Mjerite od
ravne površine do oštrica noževa
na točkama
i
.
Razlika između mjerenja
ne smije biti veća od 5 mm. Ako je razlika veća,
podesite razinu noževa jedan uz drugi.
-
Postavite
1 nož od naprijed prema natrag.
-
Mjerite od
ravne površine do oštrica noževa
na točkama
i
.
Vrh prednjeg noža trebao
bi biti 1,6 do 7,9 mm niže od vrha stražnjeg noža.
Ako mjerenje nije ispravno, podesite razinu noževa
u smjeru naprijed-natrag.
Poravnavanje kosišta
-
Postavite
valjke protiv skalpiranja travnjaka na najviše rupe ili ih potpuno
uklonite za ovaj postupak.
-
Postavite
polugu za visinu košnje na položaj od 76 mm.
-
Postavite
dva bloka
, svaki debljine 6,6 cm,
pod svaku stranu prednjeg ruba kosišta.
Nemojte
stavljati blokove ispod držača valjka protiv skalpiranja
travnjaka.
-
Postavite
dva bloka
, svaki debljine 7,3 cm,
pod svaku stranu stražnjeg ruba kosišta.
-
Otpustite
donje pričvršćivače koji pričvršćuju
nosače na sva 4 kuta kosišta i osigurajte da je kosište
sigurno postavljeno na sva 4 bloka.
-
Učvrstite
nosače kosišta i osigurajte da je papučica za dizanje
kosišta pritisnuta uz graničnik.
-
Pritegnite
pričvršćivače.
-
Provjerite
jesu li blokovi čvrsto postavljeni ispod ruba kosišta
i jesu li svi vijci za pričvršćivanje zategnuti.
-
Provjerite
razinu noževa na kosištu jedan uz drugi i u smjeru naprijed-natrag;
ponavljajte postupak dok mjerenja ne budu točna.
Uklanjanje kosišta
-
Parkirajte
uređaj na ravnoj površini, isključite prekidač
za upravljanje noževima i pomaknite upravljačke poluge
prema van u parkirni položaj.
-
Ugasite motor,
izvadite ključ i pričekajte da se svi pomični dijelovi
zaustave prije napuštanja vozačevog položaja.
-
Spustite
polugu za visinu košnje na najniži položaj.
-
Otpustite
pregradu kosišta.
-
Uklonite
rascjepku i podložnu pločicu s prednje potporne šipke
i uklonite šipku s nosača
kosišta
.
Napomena: Zadržite sve dijelove za
kasnije postavljanje.
-
Uklonite
gornje pričvršćivače koji pričvršćuju
nosače na sve 4 poluge za podizanje.
-
Povucite
kosište unatrag kako biste uklonili remen kosilice s remenice
motora.
-
Izvucite
kosište od ispod uređaja.
Postavljanje kosišta
-
Parkirajte
uređaj na ravnoj površini, isključite prekidač
za upravljanje noževima i pomaknite upravljačke poluge
prema van u parkirni položaj.
-
Ugasite motor,
izvadite ključ i pričekajte da se svi pomični dijelovi
zaustave prije napuštanja vozačevog položaja.
-
Gurnite kosište
ispod uređaja.
-
Spustite
polugu za visinu košnje na najniži položaj.
-
Postavite
spojeve kosišta na poluge za dizanje kosišta s pomoću
pričvršćivača koje ste prethodno uklonili.
-
Pričvrstite
prednju potpornu šipku
na nosač kosišta
s pomoću rascjepke i podložne
pločice.
-
Postavite
remen kosilice na remenicu motora.
-
Pritegnite
vijke pregrade kosišta.
Zamjena usmjerivača trave
 |
Opasnost |
|
Nepokriveni otvor izbacivača
može uzrokovati izbacivanje predmeta prema vama ili prolaznicima.
Također može doći do kontakta
s nožem. Odbačeni predmeti ili kontakt s noževima
mogu uzrokovati teške ozljede ili smrt.
Ne upravljajte
kosilicom ako je usmjerivač za izbacivanje podignut, uklonjen
ili izmijenjen, osim ako je postavljen sustav
za skupljanje trave ili komplet za malčiranje koji ispravno
radi.
-
Parkirajte
uređaj na ravnoj površini, isključite prekidač
za upravljanje noževima i pomaknite upravljačke poluge
prema van u parkirni položaj.
-
Ugasite motor,
izvadite ključ i pričekajte da se svi pomični dijelovi
zaustave prije napuštanja vozačevog položaja.
-
Uklonite
oprugu iz utora u nosaču usmjerivača i izvucite šipku
iz zavarenih nosača kosišta, opruge i usmjerivača
za izbacivanje.
G456086
- Šipka
- Usmjerivač
trave
- Opruga
- Nosači
kosišta
- Rascjepka
- Opruga
postavljena na šipci
-
Uklonite
oštećeni ili istrošeni usmjerivač trave.
-
Postavite
novi usmjerivač za izbacivanje s rubovima nosača između
zavarenih nosača na kosištu kako je prikazano na slici.
G456085
- Postavljen
sklop šipke i opruge
- Namotani
kraj opruge postavljen u utor na nosaču usmjerivača
- Šipka,
kratki kraj, pomaknut iza nosača kosišta
- Kratki
kraj, drži ga nosač kosišta
- Rascjepka
-
Pričvrstite
sklop šipke i opruge tako ga zaokrenete na način da je
kratki kraj šipke iza prednjeg nosača zavarenog na kosište.
-
Postavite
rascjepku na stražnji kraj šipke.
Usmjerivač
trave mora biti gurnut u položaj prema dolje s pomoću
opruge. Podignite usmjerivač kako biste provjerili hoće
li se vratiti u položaj prema
dolje.
Čišćenje
Odlaganje otpada
Motorno ulje, akumulatori, hidraulična
tekućina i rashladna tekućina su zagađivači
okoliša. Odložite ih u skladu s vašim državnim
i lokalnim propisima.
Utvrđivanje kvarova
Spremnik za gorivo pokazuje znakove
propadanja ili uređaj često pokazuje znakove gubitka goriva.
| Mogući uzrok |
Korektivne radnje |
| Papirnati element pročistača
zraka je začepljen. |
-
Očistite
papirnati element.
|
Motor se pregrijava.
| Mogući uzrok |
Korektivne radnje |
| Opterećenje motora
je preveliko. |
-
Smanjite
brzinu.
|
| Razina ulja u kućištu
motora je niska. |
-
Dodajte ulje
u kućište motora.
|
| Rashladna rebra i prolazi
za zrak ispod kućišta ventilatora motora su začepljeni. |
-
Uklonite
začepljenje iz rashladnih rebara i prolaza za zrak.
|
| Pročistač zraka
je prljav. |
-
Očistite
ili zamijenite element pročistača zraka.
|
| U sustavu za gorivo nalaze
se nečistoće, voda ili ustajalo gorivo.
|
-
Obratite
se ovlaštenom serviseru.
|
Pokretač se ne može
pokrenuti.
| Mogući uzrok |
Korektivne radnje |
| Aktiviran je prekidač
za upravljanje noževima.
|
-
Deaktivirajte
prekidača za upravljanje noževima.
|
| Upravljačke poluge
nisu u parkirnom položaju. |
-
Pomaknite
upravljačke poluge prema van u parkirni položaj.
|
| Akumulator ne radi. |
-
Napunite
akumulator.
|
| Električni spojevi
su zahrđali ili su otpušteni.
|
-
Provjerite
imaju li električni spojevi dobar kontakt.
|
| Osigurač je pregorio. |
-
Zamijenite
osigurač.
|
| Oštećeni su
relej ili prekidač. |
-
Obratite
se ovlaštenom serviseru.
|
Motor se ne pokreće, teško
se pokreće ili se zaustavlja tijekom rada.
| Mogući uzrok |
Korektivne radnje |
| Spremnik za gorivo je prazan. |
-
Napunite
spremnik za gorivo.
|
| Čok (ako je to primjenjivo)
nije aktiviran. |
-
Pomaknite
polugu čoka u položaj uključeno.
|
| Pročistač zraka
je prljav. |
-
Očistite
ili zamijenite element pročistača zraka.
|
| Žice svjećice
su neučvršćene ili odspojene.
|
-
Postavite
žice na svjećice.
|
| Svjećica je oštećena,
prljava ili je razmak netočan.
|
-
Postavite
novu, ispravnu svjećicu.
|
| U filtru goriva postoje
nečistoće. |
-
Zamijenite
filtar goriva.
|
| U sustavu za gorivo nalaze
se nečistoće, voda ili ustajalo gorivo.
|
-
Obratite
se ovlaštenom serviseru.
|
| U spremnik za gorivo uliveno
je pogrešno gorivo. |
-
Ispraznite
spremnik i zamijenite gorivo prikladnim gorivom.
|
| Razina ulja u kućištu
motora je niska. |
-
Dodajte ulje
u kućište motora.
|
Motor gubi snagu.
| Mogući uzrok |
Korektivne radnje |
| Opterećenje motora
je preveliko. |
-
Smanjite
brzinu.
|
| Pročistač zraka
je prljav. |
-
Očistite
element pročistača zraka.
|
| Razina ulja u kućištu
motora je niska. |
-
Dodajte ulje
u kućište motora.
|
| Rashladna rebra i prolazi
za zrak ispod kućišta ventilatora motora su začepljeni. |
-
Uklonite
začepljenje iz rashladnih rebara i prolaza za zrak.
|
| Svjećica je oštećena,
prljava ili je razmak netočan.
|
-
Postavite
novu, ispravnu svjećicu.
|
| Otvor spremnika za gorivo
je blokiran. |
-
Obratite
se ovlaštenom serviseru.
|
| U filtru goriva postoje
nečistoće. |
-
Zamijenite
filtar goriva.
|
| U sustavu za gorivo nalaze
se nečistoće, voda ili ustajalo gorivo.
|
-
Obratite
se ovlaštenom serviseru.
|
| U spremnik za gorivo uliveno
je pogrešno gorivo. |
-
Obratite
se ovlaštenom serviseru.
|
Uređaj ne vozi.
| Mogući uzrok |
Korektivne radnje |
| Premosni ventili su otvoreni. |
-
Zatvorite
ventile za vuču.
|
| Vučni remeni su istrošeni,
otpušteni ili potrgani.
|
-
Obratite
se ovlaštenom serviseru.
|
| Vučni remeni nisu
na remenicama. |
-
Obratite
se ovlaštenom serviseru.
|
| Prijenos je zakazao. |
-
Obratite
se ovlaštenom serviseru.
|
Uređaj neuobičajeno
vibrira.
| Mogući uzrok |
Korektivne radnje |
| Noževi su zakrivljeni
ili nebalansirani. |
-
Ugradite
novi nož ili noževe.
|
| Pričvrsni vijak noža
nije zategnut. |
-
Stegnite
pričvrsni vijak noža.
|
| Pričvrsni vijci motora
nisu zategnuti. |
-
Stegnite
pričvrsne vijke motora.
|
| Otpuštena je remenica
motora, slobodna remenica ili remenica noža.
|
-
Stegnite
odgovarajuću remenicu.
|
| Remenica motora je oštećena. |
-
Obratite
se ovlaštenom serviseru.
|
| Vratilo noža je zakrivljeno. |
-
Obratite
se ovlaštenom serviseru.
|
| Postolje motora je otpušteno
ili istrošeno. |
-
Obratite
se ovlaštenom serviseru.
|
Visina košnje je neujednačena.
| Mogući uzrok |
Korektivne radnje |
| Nož nije oštar. |
-
Naoštrite
nož.
|
| Noževi su zakrivljeni. |
-
Postavite
nove noževe.
|
| Kosilica nije ravna. |
-
Poravnajte
kosilicu bočno te u smjeru naprijed-nazad.
|
| Valjak protiv skalpiranja
travnjaka (ako je to primjenjivo) nije ispravno postavljen. |
-
Podesite
visinu kotača protiv skalpiranja travnjaka.
|
| Donja strana kosišta
je prljava. |
-
Očistite
donju stranu kosišta.
|
| Neispravan tlak u gumama. |
-
Podesite
tlak u gumama.
|
| Vratilo noža je zakrivljeno. |
-
Obratite
se ovlaštenom serviseru.
|
Noževi se ne okreću.
| Mogući uzrok |
Korektivne radnje |
| Pogonski remen je istrošen,
otpušten ili potrgan. |
-
Postavite
novi pogonski remen.
|
| Pogonski remen nije na
remenici. |
-
Postavite
pogonski remen i provjerite jesu li vratila za podešavanje i
vodilice remena u ispravnom položaju.
|
| Prekidač PTO uređaja
ili PTO spojka nisu ispravni.
|
-
Obratite
se ovlaštenom serviseru.
|
| Remen kosilice je istrošen,
otpušten ili potrgan. |
-
Postavite
novi remen kosilice.
|