Întreținere
Siguranță în
timpul întreținerii
- Dacă lăsați
cheia în contact, cineva poate porni în mod accidental motorul
și vă poate răni pe dumneavoastră sau alți
trecători. Scoateți cheia din
contact înainte de a efectua orice lucrare de întreținere.
- Înainte de a părăsi
poziția operatorului, realizați următorii pași:
- Parcați mașina pe
o suprafață uniformă.
- Decuplați dispozitivele
de acționare.
- Cuplați frâna de parcare.
- Opriți motorul și
scoateți cheia.
- Așteptați ca mașina
să se răcească, înainte de a efectua întreținerea.
- Nu permiteți efectuarea
lucrărilor de service asupra mașinii de către persoane
neinstruite.
- Ţineţi mâinile
și picioarele la distanţă de componentele mobile
sau suprafețele fierbinți. Dacă este posibil, nu
efectuați reglaje cu motorul în
funcțiune.
- Mențineți toate apărătoarele,
protecțiile, comutatoarele și toate dispozitivele de siguranță
montate pe mașină și în stare
adecvată de funcționare. Verificați
frecvent dacă există componente uzate sau deteriorate
și înlocuiți-le cu piese Toro originale, atunci când este
necesar.
- Depresurizați cu grijă
componentele cu energie stocată.
 |
Avertisment |
|
Îndepărtarea sau modificarea
echipamentului original, a pieselor și/sau a accesoriilor poate
duce la modificarea garanției,
posibilității de utilizare sau a nivelului de siguranță
a mașinii. Efectuarea de modificări neautorizate asupra
echipamentului original sau neutilizarea
unor piese Toro originale ar putea duce la vătămări
grave sau deces.
- Verificați frecvent funcționarea
frânei de parcare. Reglați și reparați după
nevoie.
- Nu modificați niciodată
dispozitivele de siguranță. Verificați periodic
funcționarea corectă a acestora.
- Curățați iarba,
frunzele, excesul de lubrifiant și ulei și alte reziduuri
de pe unitatea de tăiere, toba de eșapament, dispozitivele
de acționare, dispozitivul de adunat
iarbă și compartimentul motorului, pentru a preveni incendiile.
- Curățați scurgerile
de ulei sau combustibil și îndepărtați reziduurile
îmbibate în combustibil.
- Nu vă bazați doar
pe cricuri mecanice sau hidraulice pentru a sprijini mașina.
Utilizați suporturi de cric adecvate.
- Mențineți toate componentele
în stare bună de funcționare și bine fixate,
în special dispozitivele de atașare pentru lamă.
- Pentru a asigura o performanță
optimă, utilizați exclusiv piese de schimb și accesorii Toro originale. Piesele
de schimb și accesoriile fabricate de alți producători
pot fi periculoase.
Program de întreținere
recomandat
| După primele 8 ore
|
Schimbați uleiul de motor.
|
| După primele 50 ore
|
Verificați cuplul de strângere a prizoanelor. |
| Înainte
de fiecare folosinţă sau zilnic |
Verificați sistemul de blocare de siguranță. |
| Verificați dacă filtrul de aer prezintă piese murdare,
slăbite sau deteriorate.
|
| Verificați nivelul uleiului de motor.
|
| Curățați ecranul de admisie a aerului. |
| Inspectarea lamelor. |
| Verificați dacă deflectorul pentru iarbă este deteriorat. |
| După fiecare utilizare |
Curățați iarba și reziduurile de pe mașină. |
| Curățați carcasa punții mașinii de
tuns iarba. |
| La intervale de 25 de ore |
Lubrifiați rulmenții roților pivotante (mai frecvent
în condiţii de soluri nisipoase).
|
| Verificați presiunea din anvelope.
|
| Verificați dacă există urme de uzură sau
fisuri ale curelelor. |
| La intervale de 100 de ore |
Schimbați uleiul de motor (mai des în cazul condițiilor
de operare cu murdărie sau praf).
|
| Înlocuiți sau curățați și distanțați
bujia. |
| Înlocuiți filtrul de combustibil în linie. |
| La fiecare 100 de ore sau anual,
în funcție de care situație apare
prima
|
Înlocuiți elementul din hârtie al filtrului de aer
(mai frecvent în condiţii de mediu cu murdărie sau
praf). |
| La intervale de 200 de ore
|
Schimbați filtrul de ulei de motor (mai frecvent în condiții
de mediu cu praf sau murdărie).
|
| La intervale de 300 de ore
|
Verificați şi reglați jocul supapelor. Contactaţi
un centru de service autorizat.
|
| Anual |
Verificați cuplul de strângere a prizoanelor. |
| Înainte de depozitare |
Încărcați bateria și deconectați cablurile
acesteia. |
| Efectuați toate procedurile de întreţinere enumerate
mai sus înainte de depozitare.
|
| Vopsiți toate suprafețele
zgâriate. |
| |
Consultaţi manualul operatorului
motorului pentru proceduri de întreţinere suplimentare.
Procedurile premergătoare
lucrărilor de întreținere
Deplasarea unei mașini nefuncționale
-
Parcați
maşina pe o suprafaţă plană, decuplați
comutatorul de comandă pentru lamă și deplasați
în exterior manetele de control al
mișcării, în poziția Parcare.
-
Opriți
motorul și aşteptaţi oprirea tuturor pieselor mobile
înainte de a părăsi poziţia de operare.
-
Localizați
manetele de bypass
de pe cadru, pe ambele
părți ale motorului.
-
Deplasați
ambele manete de bypass spre față prin orificiul crestat
și în sus pentru a le bloca în poziție
.
 |
Avertisment |
|
Contactul
cu suprafețele fierbinți poate provoca vătămări
corporale.
Țineți mâinile,
picioarele, fața, alte părți ale corpului și
îmbrăcămintea departe de motor, toba de eșapament
și de alte suprafețe
fierbinți.
 |
Avertisment |
|
Mașina
s-ar putea deplasa neintenționat în timp ce manetele de
bypass sunt blocate spre înainte în fantă și
v-ar putea răni pe dumneavoastră
sau pe cei din jur.
Blocați manetele de bypass
spre spate după deplasarea mașinii.
-
Decuplați
frâna de parcare deplasând ambele manete de control al mișcării
în jos în poziția deblocată, centrală.
Notă: Nu porniţi maşina
în această situaţie.
-
Deplasați
mașina după cum este necesar.
Împingeți
întotdeauna mașina cu mâna. Nu tractați mașina,
deoarece tractarea o poate deteriora.
-
Deplasați
în exterior manetele de control al mișcării până
în poziția Parcare.
-
Deplasați
ambele manete de bypass spre spate și în sus prin orificiul
crestat pentru a le bloca în poziție
.
Eliberarea învelișului
punții mașinii de tuns iarba
-
Slăbiți
cele 2 șuruburi de la partea inferioară a învelișului
pentru a avea acces la partea superioară a punții mașinii
de tuns iarba.
După
efectuarea lucrărilor de întreținere strângeți
întotdeauna șuruburile pentru a contacta învelișul.
G453430
Întreţinere motor
Măsuri de siguranță
cu privire la motor
- Țineți mâinile,
picioarele, fața, alte părți ale corpului și
îmbrăcămintea departe de componentele rotative, toba
de eșapament și de alte
suprafețe fierbinți. Așteptați ca motorul
să se răcească, înainte de a efectua întreținerea.
- Nu modificați viteza regulatorului
motorului și nu supraturați motorul.
Service-ul filtrului de aer
Îndepărtarea elementului filtrului de aer
-
Parcați
mașina pe o suprafață plană, decuplați
comutatorul de comandă pentru lamă și deplasați
în exterior manetele de control
al mișcării, în poziția Parcare.
-
Opriți
motorul și aşteptaţi oprirea tuturor pieselor mobile
înainte de a părăsi poziţia de operare.
-
Curățați
în jurul capacului filtrului de aer
pentru a preveni pătrunderea
murdăriei în motor și a evita deteriorarea.
-
Slăbiți
clema pentru furtun
și îndepărtați
elementul din hârtie
.
Efectuarea lucrărilor de service pentru elementul din hârtie
al filtrului de aer
-
Curățați
elementul din hârtie lovindu-l ușor pentru a îndepărta
praful.
Notă: Dacă este foarte murdar,
înlocuiți elementul din hârtie cu unul nou.
-
Verificați
dacă există rupturi, pelicule uleioase sau deteriorări
ale garniturii din cauciuc.
-
Înlocuiți
elementul din hârtie dacă este deteriorat.
Nu
curățați filtrul din hârtie.
Service-ul privind uleiul de motor
Specificații – ulei de motor
| Tip de ulei |
Ulei detergent (service API, SF,
SG, SH, SJ, sau SL) |
| Capacitate carter |
1,8 l; fără
filtru; 2,1 l cu filtru
|
| Vâscozitate |
Consultați tabelul de mai
jos |
| |
Verificarea nivelului uleiului de motor
-
Parcați
maşina pe o suprafaţă plană, decuplați
comutatorul de comandă pentru lamă și deplasați
în exterior manetele de control
al mișcării, în poziția Parcare.
-
Opriți
motorul, scoateți cheia din contact și așteptați
oprirea tuturor pieselor în mișcare înainte de a părăsi
poziția de operare.
-
Așteptați
ca motorul să se răcească, astfel încât
uleiul să fi avut timp să se scurgă în carter.
-
Pentru a
ține murdăria, iarba tăiată etc. departe de
motor, curățați zona din jurul bușonului rezervorului
de ulei și al jojei înainte
de a o scoate.
-
Verificați
nivelul uleiului de motor conform indicațiilor.
Dacă
umpleți excesiv sau insuficient cu ulei carterul motorului și
porniți motorul, îl puteți deteriora.
Schimbarea uleiului de motor
-
Parcați
mașina astfel încât partea cu scurgerea să fie
puțin mai jos decât partea opusă, pentru a vă
asigura că uleiul se scurge complet.
-
Decuplați
comutatorul de comandă pentru lamă (priza de putere) și
deplasați manetele de control al mișcării spre exterior,
în poziția Parcare.
-
Opriți
motorul, scoateți cheia din contact și așteptați
oprirea tuturor pieselor în mișcare înainte de a părăsi
poziția de operare.
-
Scurgeți
uleiul din motor.
-
Turnați
încet aproximativ 80% din uleiul specificat în tubul de
umplere și adăugați lent ulei suplimentar pentru
ca acesta să ajungă la marcajul Plin.
-
Eliminați
uleiul uzat în conformitate cu reglementările locale.
Înlocuirea filtrului de ulei de motor
-
Scurgeți
uleiul din motor.
-
Înlocuiți
filtrul de ulei de motor după cum se arată.
Notă: Aveți grijă ca garnitura
filtrului de ulei să atingă motorul și apoi rotiți
filtrul de ulei încă 3/4 de tură.
-
Adăugați
încet uleiul specificat în tubul de umplere pentru a aduce
nivelul uleiului la marcajul Plin.
Service-ul bujiei
Asigurați-vă
că distanța dintre electrozii central și lateral
este corectă înainte de a instala bujia. Folosiți
o cheie pentru bujii pentru a îndepărta
și monta bujia și un instrument de măsurat sau un
set de lere pentru a verifica și ajusta distanța.
Dacă este necesar, montați o bujie
nouă.
Tip: NGK® BPR4ES
Distanță: 0,76 mm
Îndepărtarea bujiei
-
Parcați
maşina pe o suprafaţă plană, decuplați
comutatorul de comandă pentru lamă și deplasați
în exterior manetele de control
al mișcării, în poziția Parcare.
-
Opriți
motorul, scoateți cheia din contact și așteptați
oprirea tuturor pieselor în mișcare înainte de a părăsi
poziția de operare.
-
Curățați
zona din jurul bazei bujiei pentru a împiedica pătrunderea
în motor a murdăriei și reziduurilor.
-
Demontați
bujia.
Verificarea bujiei
Nu curățați
bujia (bujiile). Înlocuiți întotdeauna bujia (bujiile)
atunci când are/au un strat negru, electrozii sunt uzați,
are/au o peliculă uleioasă
sau fisuri.
Dacă izolatorul este maro
deschis sau gri, motorul funcționează corect. Existența
unui strat negru pe izolator semnifică de
obicei faptul că filtrul de aer este murdar.
-
Ajustaţi
distanţa la 0,75 mm.
Curățarea sistemului
de răcire
-
Parcați
mașina pe o suprafață plană, decuplați
comutatorul de comandă pentru lamă și deplasați
în exterior manetele de control al
mișcării, în poziția Parcare.
-
Opriți
motorul, scoateți cheia din contact și așteptați
oprirea tuturor pieselor în mișcare înainte de a părăsi
poziția de operare.
-
Îndepărtați
filtrul de aer de la motor.
-
Îndepărtați
mantaua motorului.
-
Pentru a
preveni pătrunderea reziduurilor în admisia de aer, montați
filtrul de aer pe baza filtrului.
-
Îndepărtați
reziduurile și iarba de pe piese.
-
Îndepărtați
filtrul de aer și montați mantaua.
-
Montați
filtrul de aer.
Întreținerea legată
de combustibil
 |
Pericol |
|
În anumite condiții,
combustibilul este extrem de inflamabil și foarte exploziv.
Un incendiu sau o explozie cauzată de combustibil
vă poate cauza arsuri dumneavoastră şi
celor din jur și poate provoca pagube materiale.
Înlocuirea filtrului de combustibil
-
Parcați
maşina pe o suprafaţă plană, decuplați
comutatorul de comandă pentru lamă și deplasați
în exterior manetele de control al
mișcării, în poziția Parcare.
-
Opriți
motorul, scoateți cheia din contact și așteptați
oprirea tuturor pieselor în mișcare înainte de a părăsi
poziția de operare.
-
Puneți
cleme pe conductele de combustibil pe ambele părți ale
filtrului de combustibil.
-
Înlocuiți
filtrul.
Notă: Asigurați-vă că
săgeata pentru direcția fluxului de combustibil de pe
filtrul de schimb este îndreptată spre motor.
Nu
montați niciodată un filtru murdar după ce a fost
îndepărtat de pe conducta de combustibil în linie.
-
Îndepărtați
clemele care blochează fluxul de combustibil.
Întreţinerea sistemului
electric
Siguranță privind
sistemul electric
- Deconectați cablul de la
borna negativă a bateriei înainte de a repara mașina.
- Încărcați bateria
într-un spațiu deschis, bine ventilat, departe de scântei
sau flăcări. Deconectați încărcătorul
înainte de a conecta sau deconecta
bateria. Purtați îmbrăcăminte de protecție
și utilizați scule izolate.
Service-ul bateriei
Demontarea bateriei
 |
Avertisment |
|
Bornele bateriei sau uneltele
metalice pot face scurtcircuit la contactul cu piesele mașinii,
producând scântei. Scânteile
pot produce explozia gazelor din baterie, ducând la vătămări
corporale.
- Când îndepărtați
sau instalați bateria, nu permiteți contactul bornelor
cu piesele metalice ale mașinii.
- Nu permiteți uneltelor metalice
să producă un scurtcircuit între bornele bateriei
și piesele metalice ale mașinii.
-
Parcați
maşina pe o suprafaţă plană, decuplați
comutatorul de comandă pentru lamă și deplasați
în exterior manetele de control
al mișcării, în poziția Parcare.
-
Opriți
motorul, scoateți cheia din contact și așteptați
oprirea tuturor pieselor în mișcare înainte de a părăsi
poziția de operare.
-
Deconectați
cablul negativ (negru) de legare la masă de la suportul bateriei.
Notă: Păstrați toate elementele
de fixare.
 |
Avertisment |
|
Îndepărtarea
incorectă a cablurilor de la baterie poate deteriora mașina
și cablurile, provocând scântei. Scânteile pot
produce explozia gazelor din baterie,
ducând la vătămări corporale.
- Deconectați întotdeauna
cablul negativ (negru) al bateriei înainte de a deconecta cablul
pozitiv (roșu).
- Conectați întotdeauna
cablul pozitiv (roșu) al bateriei înainte de a conecta
cablul negativ (negru).
-
Glisați
capacul din cauciuc de pe cablul pozitiv (roșu).
-
Deconectați
cablul pozitiv (roșu) de la borna bateriei (+).
Notă: Păstrați toate elementele
de fixare.
-
Scoateți
elementul de fixare a bateriei și ridicați bateria din
compartimentul său.
G440221
-
Baterie
-
Manșon terminal
-
Clemă negativă (–) a bateriei
-
Piuliță fluture, șaibă
și șurub
-
Element de fixare a bateriei
-
Șurub, șaibă
și piuliță
-
Clemă pozitivă (+)
a bateriei
Încărcarea bateriei
 |
Avertisment |
|
Încărcarea bateriei
produce gaze explozibile.
Nu fumați niciodată
în apropierea bateriei și țineți sursele de
scântei și foc departe de aceasta.
Păstrați bateria complet
încărcată. Acest lucru este deosebit de important
pentru a preveni deteriorarea bateriei atunci când
temperatura este sub 0 °C.
-
Îndepărtați
acumulatorul din mașină.
-
Încărcați
bateria conform instrucțiunilor producătorului încărcătorului
de baterie.
Nu
supraîncărcați bateria; în caz contrar, o puteți
deteriora.
G003792S
- Borna
pozitivă a bateriei
- Borna
negativă a bateriei
- Cablu
roșu încărcător (+)
- Cablu
negru încărcător (-)
-
Atunci când
bateria este complet încărcată, deconectați
încărcătorul de la priza electrică (dacă
este cazul), apoi deconectați
cablurile încărcătorului de la clemele bateriei.
Curățarea bateriei
Notă: Păstrați bornele și
întreaga carcasă a bateriei curate, deoarece o baterie
murdară se descarcă lent.
-
Parcați
maşina pe o suprafaţă plană, decuplați
comutatorul de comandă pentru lamă și deplasați
în exterior manetele de control
al mișcării, în poziția Parcare.
-
Opriți
motorul și aşteptaţi oprirea tuturor pieselor mobile
înainte de a părăsi poziţia de operare.
-
Îndepărtați
acumulatorul din mașină.
-
Spălați
întreaga carcasă cu o soluție de bicarbonat de sodiu
și apă.
-
Clătiți
bateria cu apă curată.
-
Acoperiți
clemele bateriei și conectorii cablurilor cu lubrifiant Grafo
112X (la suprafață) sau vaselină pentru a preveni
coroziunea.
-
Montați
bateria.
Montarea bateriei
-
Amplasați
bateria în compartimentul său.
-
Folosind
elementele de fixare îndepărtate anterior, instalați
cablul pozitiv (roșu) al bateriei la borna pozitivă (+)
a bateriei.
-
Folosind
elementele de fixare îndepărtate anterior, instalați
cablul negativ al bateriei la borna negativă (-) a bateriei.
-
Glisați
și montați manșonul terminalului pe borna pozitivă
(roșu) a bateriei.
-
Fixați
bateria cu elementul de fixare.
G440221
-
Baterie
-
Manșon terminal
-
Clemă negativă (–) a bateriei
-
Piuliță fluture, șaibă
și șurub
-
Element de fixare a bateriei
-
Șurub, șaibă
și piuliță
-
Clemă pozitivă (+)
a bateriei
Pornirea motorului de la o sursă
externă
 |
Avertisment |
|
Încărcarea bateriei
de la o sursă externă poate produce gaze explozibile.
Nu
fumați în apropierea bateriei și țineți
sursele de scântei și foc departe de aceasta.
 |
Pericol |
|
Pornirea unei baterii slabe care
este fisurată, înghețată sau care are un nivel
scăzut de electrolit sau a unei celule de
baterie deschise/scurtcircuitate poate provoca o explozie,
având drept rezultat vătămări corporale grave.
Nu
porniți o baterie slabă în astfel de condiții.
-
Înainte
de pornirea de la o sursă externă, verificați dacă
bornele bateriei prezintă semne de coroziune și îndepărtați
coroziunea. Verificați dacă
toate conexiunile sunt strânse corespunzător.
 |
Atenţie |
|
Coroziunea
sau conexiunile slăbite pot duce, în orice moment, la vârfuri
de tensiune nedorite în timpul procedurii de pornire
de la o sursă externă.
Nu încercați pornirea
motorului de la o sursă externă dacă bornele bateriei
sunt slăbite sau corodate, deoarece puteți avaria
motorul.
-
Asigurați-vă
că bateria de pornire este o baterie plumb-acid în stare
bună, complet încărcată, la o tensiune de 12,6 V
sau mai mare.
Notă: Folosiți cabluri jumper
dimensionate corect, de lungime redusă, pentru a reduce căderile
de tensiune între sisteme. Verificați
dacă există coduri de culoare pe cabluri
sau dacă există etichete pe cabluri, care să indice
polaritatea corectă.
 |
Avertisment |
|
Bateriile
conțin acid și produc gaze explozive.
- Protejați-vă întotdeauna
ochii și fața de baterii.
- Nu vă aplecați deasupra
bateriilor.
Notă: Asigurați-vă că
toate capacele de ventilație sunt etanșe și plane.
Plasați o lavetă umedă, dacă aveți la
dispoziție, peste oricare dintre
capacele de ventilație ale ambelor baterii. De asemenea, asigurați-vă
că mașinile nu se ating și că ambele
sisteme electrice sunt dezactivate și
au aceeași tensiune nominală a sistemului. Aceste instrucțiuni
sunt valabile doar pentru sistemele
cu legare la masă negativă.
-
Conectați
cablul pozitiv (+) la borna pozitivă (+) a bateriei descărcate,
care este conectată la demaror sau solenoid, așa
cum este indicat:
g012785
- Cablul
pozitiv (+) la bateria descărcată
- Cablul
pozitiv (+) la bateria de pornire
- Cablul
negativ (–) la bateria de pornire
- Cablul
negativ (–) la blocul motor
- Bateria
de pornire
- Bateria
descărcată
- Blocul
motor
-
Conectați
celălalt capăt al cablului jumper pozitiv (+) la borna
pozitivă a bateriei de la cealaltă mașină.
-
Conectați
un capăt al cablului jumper negativ (–) la borna negativă a bateriei
de la cealaltă mașină.
-
Conectați
celălalt capăt al cablului jumper negativ (–) la un punct de legare la masă,
cum ar fi un șurub nevopsit sau o componentă a șasiului.
-
Porniți
motorul celeilalte mașini. Lăsați să funcționeze
câteva minute, apoi porniți motorul mașinii dumneavoastră.
-
Scoateți
cablurile în ordinea inversă conectării.
-
Instalați
capacul pe tija de pornire de la o sursă externă.
Service pentru siguranțele
fuzibile
Sistemul electric este protejat
de siguranțe. Acestea nu necesită întreținere;
totuși, dacă se arde o siguranță, verificați
componenta/circuitul pentru a descoperi o
defecțiune sau un scurtcircuit.
-
Parcați
maşina pe o suprafaţă plană, decuplați
comutatorul de comandă pentru lamă și deplasați
în exterior manetele de control al
mișcării, în poziția Parcare.
-
Opriți
motorul, scoateți cheia din contact și așteptați
oprirea tuturor pieselor în mișcare înainte de a părăsi
poziția de operare.
-
Înlocuiți
siguranța arsă cu o siguranță nouă.
G440132
- Circuit
de încărcare (15 A)
- Alimentare
electrică (25 A)
Întreţinerea sistemului
de angrenaj
Verificarea presiunii din anvelope
Mențineți presiunea
în anvelopele frontale și posterioare conform specificațiilor.
Presiunea inegală din anvelope poate duce
la o tăiere neuniformă. Verificați presiunea
la tija supapei când anvelopele sunt reci, pentru a obține
cea mai corectă valoare a presiunii.
-
Umflați
anvelopele roților pivotante față la 1,03 bari
(15 psi) sau la presiunea indicată pe peretele lateral,
oricare dintre acestea este mai mică.
-
Umflați
anvelopele roților spate la 90 kPa (13 psi).
Verificarea prezoanelor
-
Verificați
și strângeți prizoanele la un cuplu de 129 N·m.
Reglarea direcției
Dacă mașina trage
într-o parte atunci când conduceți în față
cu viteză maximă pe o suprafață plană,
reglați direcția.
Dacă mașina trage
spre stânga, reglați cu maneta de control al mișcării
din dreapta; dacă mașina trage spre dreapta, reglați
cu maneta de control al mișcării
din stânga.
Notă: Puteți regla direcția
doar pentru deplasarea în față.
-
Parcați
mașina pe o suprafață plană, decuplați
comutatorul de comandă pentru lamă și deplasați
în exterior manetele de control al
mișcării, în poziția Parcare.
-
Opriți
motorul, scoateți cheia din contact și așteptați
oprirea tuturor pieselor în mișcare înainte de a părăsi
poziția de operare.
-
Localizați
șurubul de reglare a direcției de lângă maneta
de control al mișcării pe partea care trebuie efectuată
reglarea.
-
Rotiți
șurubul pentru a reduce viteza pentru roata respectivă.
Notă: Rotiți șurubul puțin
pentru a efectua reglaje minore.
-
Porniți
mașina și conduceți în față, pe
o suprafață plană, cu manetele de control al mișcării
complet spre față, pentru a
verifica dacă mașina merge drept. Repetați procedura
după cum este necesar.
Întreținerea curelei
Verificarea curelelor
-
Parcați
maşina pe o suprafaţă plană, decuplați
comutatorul de comandă pentru lamă și deplasați
în exterior manetele de control al
mișcării, în poziția Parcare.
-
Opriți
motorul și aşteptaţi oprirea tuturor pieselor mobile
înainte de a părăsi poziţia de operare.
-
Setați
înălțimea de tăiere la cea mai joasă
poziție de tăiere.
-
Verificați
nivelul de uzură a curelei. Înlocuiţi cureaua dacă
este uzată.
Semnele unei
curele uzate includ un sunet de scârțâit în timp
ce se rotește cureaua, patinarea lamelor în timp ce tăiați
iarba și margini uzate, urme de
arsuri și crăpături pe curea.
Înlocuirea curelei mașinii
de tuns iarba
Semnele unei curele uzate includ
un sunet de scârțâit în timp ce cureaua se rotește,
lamele care patinează în timp ce tăiați
iarba și margini uzate, urme de arsuri
și crăpături pe curea. Înlocuiți cureaua
mașinii de tuns iarbă dacă este evidentă oricare
dintre aceste condiții.
-
Parcați
maşina pe o suprafaţă plană, decuplați
comutatorul de comandă pentru lamă și deplasați
în exterior manetele de control al
mișcării, în poziția Parcare.
-
Opriți
motorul, scoateți cheia din contact și așteptați
oprirea tuturor pieselor în mișcare înainte de a părăsi
poziția de operare.
-
Setați
înălțimea de tăiere la cea mai joasă
poziție de tăiere.
-
Eliberați
învelișul punții mașinii de tuns iarba.
-
Îndepărtați
capacele roților de antrenare.
-
Slăbiți
piulița care fixează cablul la fulia rolei de ghidare.
-
Utilizând
un instrument de îndepărtare arcuri (nr. piesă Toro
92-5771), îndepărtați arcul rolei de ghidare din
cârligul punții pentru a detensiona
fulia rolei de ghidare.
 |
Avertisment |
|
Arcul
este tensionat când este montat și poate cauza vătămări
corporale.
Îndepărtați cureaua
cu grijă.
G453682
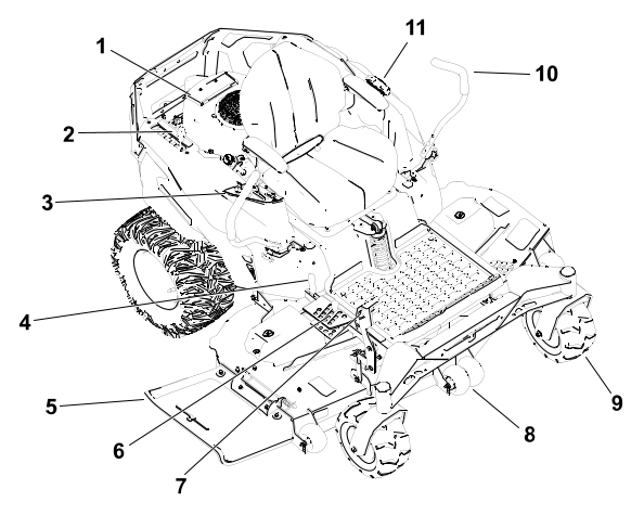
- Fulie
punte
- Curea
mașină de tuns iarba
- Fulie
motor
- Rolă
de ghidare
- Arc
- Instrument
de îndepărtare arcuri
-
Îndepărtați
cureaua de pe fulii.
-
Amplasați
cureaua nouă în jurul fuliilor motorului și ale mașinii
de tuns iarba.
-
Utilizați
instrumentul de îndepărtare arcuri pentru a monta arcul
rolei de ghidare pe cârligul punții și a tensiona
fulia rolei de ghidare și cureaua
mașinii de tuns iarba.
-
Poziționați
cablul pe brațul rolei de ghidare, așa cum este indicat
și strângeți piulița.
-
Montați
capacele de fulie.
-
Strângeți
șuruburile pentru învelișul punții mașinii
de tuns iarba.
Întreținerea punții
mașinii de tuns iarba
Măsuri de siguranță
cu privire la lamă
- Inspectați lamele periodic
pentru urme de uzură sau de deteriorare.
- Verificați lamele cu grijă.
Înfășurați lama (lamele) sau purtați
mănuși și efectuați lucrările de service
cu atenție. Doar înlocuiți
lamele deteriorate; nu le îndreptați sau sudați niciodată.
- În cazul mașinilor
cu mai multe lame, acționați cu atenție, deoarece
rotirea unei lame poate duce la rotirea celorlalte lame.
- Înlocuiți lamele și
șuruburile uzate sau deteriorate, ca ansamblu, pentru a menține
echilibrul.
Service-ul lamelor
Pentru a asigura o calitate
superioară a tăierii, mențineți lamele ascuțite.
Pentru o ascuțire și înlocuire ușoară,
păstrați o lamă suplimentară
la îndemână.
Înlocuiți lamele dacă
au lovit un obiect solid sau dacă lama nu mai este echilibrată
sau este îndoită.
Înainte de inspectarea sau repararea lamelor
-
Parcați
maşina pe o suprafaţă plană, decuplați
comutatorul de comandă pentru lamă și deplasați
în exterior manetele de control
al mișcării, în poziția Parcare.
-
Opriți
motorul, scoateți cheia din contact și așteptați
oprirea tuturor pieselor în mișcare înainte de a părăsi
poziția de operare.
-
Deconectați
cablurile bujiilor de la bujii.
Verificarea prezenței lamelor îndoite
Mașina
trebuie să se afle pe o suprafață plană pentru
această procedură.
-
Ridicați
puntea mașinii de tuns iarba până la cea mai înaltă
poziție a înălțimii de tăiere.
-
Purtați
mănuși cu protecție corespunzătoare sau alte
protecții adecvate pentru mâini și rotiți încet
lama într-o poziție care
vă permite să măsurați distanța dintre
marginea de tăiere și suprafața uniformă pe
care se află mașina.
-
Măsurați
de la vârful lamei până la suprafața uniformă.
G451422
- Lamă
(în poziția necesară măsurării)
- Suprafață
uniformă
- Distanța
măsurată dintre lamă și suprafață
(A)
-
Rotiți
aceeași lamă la 180 de grade, astfel încât marginea
lamei opuse să se afle acum în aceeași poziție.
G451423
- Margine
lamă măsurată anterior
- Margine
lamă opusă
-
Măsurați
de la vârful lamei până la suprafața uniformă.
G451422
- Lamă
(în poziția necesară măsurării)
- Suprafață
uniformă
- Distanța
măsurată dintre lamă și suprafață
(B)
-
Dacă
diferența dintre A și B este mai mare de 3 mm, înlocuiți
lama.
Notă: Dacă înlocuiți
lama, iar diferența depășește în continuare
3 mm, este posibil ca axul lamei să fie îndoit. Pentru
service, contactați un centru
de service autorizat.
-
Repetați
această procedură pentru fiecare lamă.
Îndepărtarea lamelor
-
Țineți
capătul lamei folosind o lavetă sau mănușă
cu protecție corespunzătoare.
-
Îndepărtați
lama, așa cum este indicat.
Ascuțirea lamelor
-
Folosiți
o pilă pentru a ascuți marginea de tăiere la ambele
capete ale lamei. Asigurați-vă că mențineți
unghiul inițial
.
Notă: Îndepărtați aceeași
cantitate de material de pe ambele margini de tăiere, pentru
ca lama să își păstreze echilibrul.
-
Verificați
echilibrul lamei
așezând-o pe
un dispozitiv de echilibrare a lamei
.
Notă: Dacă lama rămâne
în poziție orizontală, înseamnă că
este echilibrată și poate fi folosită.
Dacă
lama nu este echilibrată, piliți numai din capătul
suprafeței velice.
-
Repetați
procedura până când lama este echilibrată.
Montarea lamelor
 |
Avertisment |
|
Operarea unei mașini după
instalarea incorectă a ansamblului lamei și/sau neutilizarea
de hardware pentru lame și lame Toro originale poate duce la proiectarea
unei lame sau a componentei unei lame de sub punte, cauzând vătămări
grave sau deces.
Instalați întotdeauna
hardware pentru lame și lame Toro originale, conform instrucțiunilor.
-
Instalați
lama, așa cum este indicat.
Notă: Partea curbată a lamei trebuie
să fie îndreptată în sus, către interiorul
mașinii de tuns iarba, pentru a asigura tăierea
corespunzătoare.
-
Strângeți
șurubul lamei la un cuplu de 136 - 149 N·m.
Asigurarea planeității
punții mașinii de tuns iarba
Asigurați-vă că
puntea mașinii de tuns iarba este plană de fiecare dată
când montați puntea mașinii de tuns iarba sau când
constatați o tăietură neuniformă
pe gazon.
Pregătirea pentru a asigura planeitatea mașinii de tuns
-
Parcați
maşina pe o suprafaţă plană, decuplați
comutatorul de comandă pentru lamă și deplasați
în exterior manetele de control
al mișcării, în poziția Parcare.
-
Opriți
motorul, scoateți cheia din contact și așteptați
oprirea tuturor pieselor în mișcare înainte de a părăsi
poziția de operare.
-
Asigurați-vă
că anvelopele sunt umflate corect conform specificațiilor,
iar roțile pivotante sunt orientate drept înainte.
-
Verificați
dacă mașina de tuns iarba are lame îndoite; îndepărtați
și înlocuiți orice lame îndoite.
-
Ridicați
mașina de tuns iarba pentru a ajunge la setarea de înălțime
de tăiere de 76 mm.
Verificarea planeității punții mașinii de
tuns iarba
-
Poziționați
lamele dintr-o parte în cealaltă.
-
De la o suprafață
plană, măsurați la locațiile
și
la marginea de tăiere a
vârfurilor lamelor
.
Diferența dintre măsurători
nu trebuie să depășească 5 mm. Dacă
rezultatul măsurării este mai mare, ajustați planeitatea
dintr-o parte în cealaltă.
-
Poziționați
1 lamă orientată față-spate.
-
De la o suprafață
plană, măsurați la locațiile
și
la marginea de tăiere a
vârfurilor lamelor
.
Vârful lamei din față
trebuie să fie coborât cu 1,6 - 7,9 mm față
de vârful lamei din spate. Dacă rezultatul măsurării
nu este corect, ajustați planeitatea
față-spate.
Asigurarea planeității punții mașinii de
tuns iarba
-
Setați
rolele anti-scalp la orificiile superioare sau îndepărtați-le
complet pentru această procedură.
-
Setați
maneta pentru înălțimea de tăiere în poziția
de 76 mm.
-
Amplasați
2 blocuri
, fiecare având o grosime
de 6,6 cm, sub fiecare parte a marginii frontale a punții.
Nu
plasați blocurile sub suporturile rolelor anti-scalp.
-
Amplasați
2 blocuri
, fiecare având o grosime
de 7,3 cm, sub fiecare parte a marginii posterioare a punții.
-
Slăbiți
elementele de fixare inferioare care prind suporturile de toate cele
4 colțuri ale punții și asigurați-vă
că puntea mașinii de tuns
iarba stă fixată în siguranță pe toate
cele 4 blocuri.
-
Eliminați
orice joc al suporturilor punții și asigurați-vă
că levierul de picior pentru ridicarea punții este împins
până la opritor.
-
Strângeți
elementele de fixare.
-
Asigurați-vă
că blocurile se potrivesc perfect sub marginea punții
și că toate șuruburile de fixare sunt bine strânse.
-
Verificați
din nou planeitatea de la o latură la cealaltă și
din față în spate; repetați procedura până
când măsurătorile sunt
corecte.
Demontarea punții mașinii
de tuns iarba
-
Parcați
maşina pe o suprafaţă plană, decuplați
comutatorul de comandă pentru lamă și deplasați
în exterior manetele de control al
mișcării, în poziția Parcare.
-
Opriți
motorul, scoateți cheia din contact și așteptați
oprirea tuturor pieselor în mișcare înainte de a părăsi
poziția de operare.
-
Coborâți
maneta pentru înălţimea de tăiere în cea
mai joasă poziție.
-
Eliberați
învelișul punții mașinii de tuns iarba.
-
Îndepărtați
știftul în formă de agrafă și piulița
de pe tija de sprijin din față
și scoateți tija
din suportul pentru punte
.
Notă: Păstrați toate piesele
pentru montarea viitoare.
-
Îndepărtați
elemente de fixare superioare care prind suporturile la toate cele
4 brațe de ridicare.
-
Glisați
puntea mașinii de tuns iarba în spate pentru a îndepărta
cureaua de la fulia motorului.
-
Glisați
puntea mașinii de tuns iarba de la partea inferioară a
mașinii.
Montarea punții mașinii
de tuns iarba
-
Parcați
maşina pe o suprafaţă plană, decuplați
comutatorul de comandă pentru lamă și deplasați
în exterior manetele de control al
mișcării, în poziția Parcare.
-
Opriți
motorul, scoateți cheia din contact și așteptați
oprirea tuturor pieselor în mișcare înainte de a părăsi
poziția de operare.
-
Glisați
puntea mașina de tuns iarba sub mașină.
-
Coborâți
maneta pentru înălţimea de tăiere în cea
mai joasă poziție.
-
Instalați
articulațiile de ridicare la brațele de ridicare a punții
utilizând elementele de fixare îndepărtate anterior.
-
Atașați
tija de sprijin față
la suportul punții
cu știftul în formă
de agrafă și piulița.
-
Montați
cureaua mașinii de tuns iarba la fulia motorului.
-
Strângeți
șuruburile pentru învelișul punții mașinii
de tuns iarba.
Înlocuirea deflectorului
pentru iarbă
 |
Pericol |
|
O gură de descărcare
neacoperită permite proiectarea obiectelor către dumneavoastră
sau persoanele din jur. De asemenea, poate
apărea contactul cu lama. Obiectele proiectate sau contactul
cu lama vor provoca vătămări grave sau decesul.
Nu
operați mașina de tuns iarba cu deflectorul de evacuare
ridicat, îndepărtat sau modificat, decât în cazul
care este instalat un sistem de colectare
a ierbii sau un set pentru mulcire, care funcționează
corespunzător.
-
Parcați
maşina pe o suprafaţă plană, decuplați
comutatorul de comandă pentru lamă și deplasați
în exterior manetele de control al
mișcării, în poziția Parcare.
-
Opriți
motorul, scoateți cheia din contact și așteptați
oprirea tuturor pieselor în mișcare înainte de a părăsi
poziția de operare.
-
Decuplați
arcul din canelura suportului pentru deflector și glisați
tija în afara suporturilor sudate pentru punte, în afara
arcului și a deflectorului de evacuare.
G456086
- Tijă
- Deflector
pentru iarbă
- Arc
- Suporturi
punte
- Cui spintecat
- Arc montat
peste tijă
-
Îndepărtați
deflectorul pentru iarbă deteriorat sau uzat.
-
Poziționați
noul deflector de evacuare cu capetele suporturilor între suporturile
sudate de pe punte, așa cum este indicat.
G456085
- Ansamblul
tijă și arc montat
- Capătul
buclă al arcului amplasat în canelura suportului pentru
deflector
- Tija,
capătul scurt, deplasat în spatele suportului mașinii
de tuns iarba
- Capătul
scurt, fixat pe suportul mașinii de tuns iarba
- Cui spintecat
-
Fixați
ansamblul tijă și arc prin rotire, astfel încât
capătul scurt al tijei să fie în spatele suportului
sudat față al punții.
-
Montați
cuiul spintecat în capătul tijei.
Deflectorul
pentru iarbă trebuie să fie amplasat cu un arc în
poziția în jos. Ridicați deflectorul pentru a testa
dacă se fixează în
poziția complet în jos.
Curăţare
Eliminarea deșeurilor
Uleiul de motor,
bateriile, uleiul hidraulic și lichidul de răcire pentru
motor sunt poluanți pentru mediul înconjurător.
Eliminați-le în conformitate cu
reglementările naționale sau locale.
Depanarea
Rezervorul de combustibil dă
semne că se golește sau mașina dă semne frecvent
că rămâne fără combustibil.
| Cauze posibile |
Acţiuni corective |
| Elementul din hârtie
al filtrului de aer este colmatat.
|
-
Curățați
elementul din hârtie.
|
Motorul se supraîncălzește.
| Cauze posibile |
Acţiuni corective |
| Sarcina motorului este
excesivă. |
-
Reduceți
viteza de deplasare.
|
| Nivelul de ulei din carter
este scăzut. |
-
Adăugaţi
ulei în carter.
|
| Nervurile de răcire
și canalele de aer de sub carcasa suflantei motorului sunt obturate. |
-
Îndepărtați
orice element care obstrucționează nervurile de răcire
și canalele de aer.
|
| Filtrul de aer este murdar. |
-
Curățați
sau înlocuiți elementul filtrului de aer.
|
| În sistemul de combustibil
există murdărie, apă sau combustibil expirat. |
-
Contactaţi
un centru de service autorizat.
|
Demarorul nu pornește.
| Cauze posibile |
Acţiuni corective |
| Comutatorul de comandă
pentru lamă este cuplat.
|
-
Dezactivați
comutatorul de control al lamelor.
|
| Manetele de control al
mișcării nu sunt în poziția parcare.
|
-
Deplasați
în exterior manetele de control al mișcării până
în poziția parcare.
|
| Bateria este inactivă. |
-
Încărcați
bateria.
|
| Conexiunile electrice sunt
corodate sau slăbite. |
-
Verificați
conexiunile electrice pentru un contact bun.
|
| Este arsă o siguranță. |
-
Înlocuiţi
siguranţa.
|
| Un releu sau comutator
este deteriorat. |
-
Contactaţi
un centru de service autorizat.
|
Motorul nu pornește, pornește
greu sau nu rămâne în funcțiune.
| Cauze posibile |
Acţiuni corective |
| Rezervorul de combustibil
este gol. |
-
Umpleți
rezervorul de combustibil.
|
| Șocul (dacă
este disponibil) nu este activat.
|
-
Deplasați
maneta de șoc în poziția pornit.
|
| Filtrul de aer este murdar. |
-
Curățați
sau înlocuiți elementul filtrului de aer.
|
| Cablul (cablurile) bujiei
este/sunt slăbit/e sau deconectat/e.
|
-
Montaţi
cablul (cablurile) la bujie.
|
| Bujia (bujiile) este (sunt)
corodată (corodate), murdară (murdare) sau jocul este
incorect. |
-
Montați
o bujie (bujii) nouă (noi), corect distanțată (distanțate).
|
| Filtrul de combustibil
conține impurități.
|
-
Înlocuiți
filtrul de combustibil.
|
| În sistemul de combustibil
există murdărie sau combustibil expirat.
|
-
Contactaţi
un centru de service autorizat.
|
| Rezervorul conține
combustibil de tip necorespunzător.
|
-
Goliți
rezervorul și înlocuiți combustibilul cu unul de
tip adecvat.
|
| Nivelul de ulei din carter
este scăzut. |
-
Adăugaţi
ulei în carter.
|
Puterea motorului scade.
| Cauze posibile |
Acţiuni corective |
| Sarcina motorului este
excesivă. |
-
Reduceți
viteza de deplasare.
|
| Filtrul de aer este murdar. |
-
Curățați
elementul filtrului de aer.
|
| Nivelul de ulei din carter
este scăzut. |
-
Adăugaţi
ulei în carter.
|
| Nervurile de răcire
și canalele de aer de sub carcasa suflantei motorului sunt obturate. |
-
Îndepărtați
orice element care obstrucționează nervurile de răcire
și canalele de aer.
|
| Bujia (bujiile) este (sunt)
corodată (corodate), murdară (murdare) sau jocul este
incorect. |
-
Montați
o bujie (bujii) nouă (noi), corect distanțată (distanțate).
|
| Orificiul de aerisire al
rezervorului de combustibil este blocat.
|
-
Contactaţi
un centru de service autorizat.
|
| Filtrul de combustibil
conține impurități.
|
-
Înlocuiți
filtrul de combustibil.
|
| În sistemul de combustibil
există murdărie, apă sau combustibil expirat. |
-
Contactaţi
un centru de service autorizat.
|
| Rezervorul conține
combustibil de tip necorespunzător.
|
-
Contactaţi
un centru de service autorizat.
|
Mașina nu pleacă de
pe loc.
| Cauze posibile |
Acţiuni corective |
| Supapele de bypass sunt
deschise. |
-
Închideți
supapele de remorcare.
|
| Curelele de tracțiune
sunt uzate, slăbite sau rupte.
|
-
Contactaţi
un centru de service autorizat.
|
| Curelele de tracțiune
sunt îndepărtate de pe fulii.
|
-
Contactaţi
un centru de service autorizat.
|
| Defecțiune a transmisiei. |
-
Contactaţi
un centru de service autorizat.
|
Mașina vibrează anormal.
| Cauze posibile |
Acţiuni corective |
| Lamele de tăiere
sunt îndoite sau nu sunt echilibrate.
|
-
Instalați
noi lame de tăiere.
|
| Șurubul pentru montarea
lamei este slăbit. |
-
Strângeți
șurubul pentru montarea lamei.
|
| Șuruburile pentru
montarea motorului sunt slăbite.
|
-
Strângeți
șuruburile pentru montarea motorului.
|
| Fulia motorului, fulia
rolei de ghidare sau fulia lamei sunt slăbite.
|
-
Strângeți
fuliile corespunzătoare.
|
| Fulia motorului este deteriorată. |
-
Contactaţi
un centru de service autorizat.
|
| Axul lamei este îndoit. |
-
Contactaţi
un centru de service autorizat.
|
| Suportul motorul este slăbit
sau uzat. |
-
Contactaţi
un centru de service autorizat.
|
Înălțimea de
tăiere nu este uniformă.
| Cauze posibile |
Acţiuni corective |
| Lama (lamele) de tăiere
nu este (sunt) ascuțită (ascuțite). |
-
Ascuțiți
lamele.
|
| Lamele de tăiere
sunt îndoite. |
-
Instalați
noi lame de tăiere.
|
| Planeitatea mașinii
de tuns iarba nu este corectă.
|
-
Asigurați
planeitatea mașinii de tuns iarba de la o latură la cealaltă
și cea față-spate.
|
| O rolă anti-scalp
(dacă este aplicabil) nu este setată corect. |
-
Reglați
înălțimea rolei anti-scalp.
|
| Partea inferioară
a punții mașinii de tuns iarba este murdară. |
-
Curățați
partea inferioară a punții mașinii de tuns iarba.
|
| Presiunea din anvelope
este incorectă. |
-
Reglați
presiunea din anvelope.
|
| Un ax al lamei este îndoit. |
-
Contactaţi
un centru de service autorizat.
|
Lamele nu se rotesc.
| Cauze posibile |
Acţiuni corective |
| Cureaua de transmisie a
este uzată, slăbită sau ruptă. |
-
Montați
o curea de transmisie nouă.
|
| Cureaua de transmisie este
scoasă din fulie. |
-
Montați
cureaua de transmisie și verificați poziția corectă
a axelor de reglare și ghidajelor curelei.
|
| Comutatorul prizei de putere
sau ambreiajul prizei de putere este defect.
|
-
Contactaţi
un centru de service autorizat.
|
| Cureaua mașinii de
tuns iarba este uzată, slăbită sau ruptă. |
-
Montați
o curea nouă la mașina de tuns iarba.
|