| Интервал на техническо обслужване | Процедура по поддръжка |
|---|---|
| Преди всяка употреба или ежедневно |
|
Тази машина се управлява от пешеходен оператор и e предназначена за употреба от професионални наемни оператори за приложения с търговска цел. Основното предназначение на машината е за аериране на големи участъци в добре поддържани тревни площи в паркове, голф игрища, спортни терени и площи с търговско предназначение. Използването на продукта за цели, различни от неговото предназначение, може да бъде опасно за Вас и за странични лица.
Внимателно прочетете тази информация, за да се запознаете с правилните начини за работа и поддръжка на Вашия продукт и за избягване на наранявания или повреждане на продукта. Вие носите отговорност за правилната работа с продукта и безопасността.
Посетете www.Toro.com за учебни материали по безопасност на продукта и експлоатация, информация за аксесоари, помощ при намиране на дилър или за регистриране на продукта.
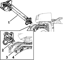
Във всички случаи, когато се нуждаете от сервизно обслужване, от оригинални резервни части на Тoro, или от допълнителна информация, свържете се с упълномощен дилър на Тoro, като не забравите да укажете модела и серийните номера на вашия продукт. Фигура 1 идентифицира мястото на данните за модела и серийните номера на продукта. Запишете числата в предвиденото поле.

Предупредителният символ за опасност (Фигура 2), показан както в това ръководство, така и върху машината, идентифицира важни съобщения за безопасност, които трябва да бъдат спазени за избягване на злополуки.

Предупредителният символ за опасност се появява над информацията, която предупреждава за необезопасени действия или ситуации и е последван от думите ОПАСНОСТ, ПРЕДУПРЕЖДЕНИЕ или ВНИМАНИЕ.
ОПАСНОСТ указва непосредствена опасна ситуация, която, ако не бъде избегната, ще доведе до смърт или тежко телесно увреждане.
ПРЕДУПРЕЖДЕНИЕ указва възможна опасна ситуация, която, ако не бъде избегната, може да доведе до смърт или тежко телесно увреждане.
ВНИМАНИЕ указва възможна опасна ситуация, която, ако не бъде избегната, може да доведе до леко или средно телесно увреждане.
Това ръководство използва две други думи за привличане на вниманието към определена информация. Важно обръща внимание върху специализирана информация за машината, а Забележка подчертава обща информация, изискваща специално внимание.
Настоящият продукт отговаря на всички действащи европейски директиви. За подробна информация, моля, вижте Декларацията за съответствие (ДЗС) на конкретния продукт.
Тъй като в някои райони съществуват местни, щатски или федерални разпоредби, изискващи използването на искрогасител в двигателя на тази машина, искрогасителят се предлага като опция. Ако се нуждаете от искрогасител, свържете се с упълномощен дистрибутор на Toro. Оригиналните системи за искрогасене на Toro са одобрени от департамента за горско стопанство към Министерство на земеделието на САЩ (USDA).
Приложеното ръководство за оператора на двигателя се доставя за осигуряване на информация относно Агенцията за защита на околната среда (EPA) на САЩ и Регламента за контрол на емисиите на Калифорния за системата за емисии, поддръжка и гаранция. Резервни части могат да се поръчат чрез производителя на двигателя.
Ако тази машина е оборудвана с телематично устройство; обърнете се към упълномощения дистрибутор на Toro за инструкции за активиране на устройството.
|
Сертифициране за електромагнитна съвместимост |
|
За държавата: Това устройство е в съответствие с правилата на FCC, част 15. Работата с машината е предмет на следните две условия: (1) Настоящото устройство не може да причинява вредни смущения и (2) настоящото устройство трябва да приема всякакви смущения, които могат да бъдат получени, включително смущения, които могат да причинят нежелано действие. |
|
FCC ID: APV-3640LB IC: 5843C-3640LB |
|
Настоящото оборудване е тествано и е установено, че отговаря на ограниченията за цифрово устройство от клас B съгласно част 15 от правилата на Федералната комисия по комуникациите (FCC). Тези ограничения са предназначени да осигурят разумна защита срещу вредни смущения в жилищни инсталации. Настоящото оборудване генерира, използва и може да излъчва радиочестотна енергия и, ако не е монтирано и използвано в съответствие с инструкциите, може да причини вредни смущения в радиокомуникациите. Въпреки това, не се гарантира, че няма да възникнат смущения в определена инсталация. Ако настоящото оборудване причинява вредни смущения в радио- или телевизионното приемане, което може да се определи чрез изключване и включване на оборудването, потребителят се насърчава да опита да коригира смущенията чрез една или повече от следните мерки:
|
|
Аржентина |
![]() |
|
Австралия |
![]() |
|
Мароко |
|
|---|---|
|
AGREE PAR L’ANRT MAROC |
|
|
Numéro d’agrément: |
MR00004789ANRT20024 |
|
Date d'agrément: |
4 ноември 2024 г. |
|
Нова Зеландия |
|
|
|
Южна Корея |
![]() |
КАЛИФОРНИЯ
Предупреждение за поправка 65 в конституцията
Изгорелите газове от двигателя на този продукт съдържат химикали, признати от щат Калифорния като причинители на рак, вродени пороци и други вреди на възпроизводството.
Клемите и изводите на акумулаторите и свързаните с тях принадлежности съдържат олово и оловни съединения - химикали, признати от щата Калифорния като причинители на рак и вреди при възпроизводството. Измивайте ръцете си след работа.
Използването на този продукт може да доведе до излагане на химикали, признати от щата Калифорния като причиняващи рак, вродени заболявания или репродуктивни проблеми.
Този продукт е способен да причини телесно нараняване. Винаги спазвайте всички инструкции за безопасност за предотвратяване на сериозно нараняване.
Прочетете и разберете съдържанието на това Ръководство за оператора преди да стартирате машината.
Бъдете внимателни, когато работите с машината. Не се ангажирайте с дейности, които ще Ви разсейват, в противен случай може да възникне телесно нараняване или имуществени щети.
Не поставяйте краката и ръцете си в близост до подвижни компоненти на машината.
Не работете с машината, без да са поставени на място всички предпазители и други защитни устройства за безопасност.
По време на движение поддържайте машината на разстояние от странични лица.
Винаги стойте извън обсега на отвора около зъбците. Дръжте странични лица и домашни любимци далеч от машината.
Дръжте децата далеч от работния участък. Никога не допускайте работа на деца с машината.
Паркирайте машината на равна повърхност; повдигнете и заключете кормилото, за да задействайте ръчната спирачка; изключете двигателя; извадете контактния ключ и изчакайте всички движещи се части да спрат, преди да обслужите, заредите или отпушите машината.
Неправилна употреба
или поддръжка
на машината може
да доведе до нараняване.
За намаляване на
потенциалната
опасност от нараняване
спазвайте следните
инструкции за безопасност
и винаги обръщайте
внимание на предупредителния
символ за опасност
, който
обозначава Внимание“, Предупреждение“
или Опасност“
– инструкции, свързани
с личната безопасност.
Неспазването на
тези инструкции
може да доведе
до нараняване или
смърт.
![]() |
Етикетите с предупреждения и инструкции за безопасност са лесно видими за оператора и са разположени в близост до всеки потенциално опасен участък. Заменяйте повредените или липсващи стикери. |
















Note: Предната част на машината се намира при дръжката на оператора и е нормалната позиция на оператора. Лявата и дясната страна са свързани с посоката на движение, докато вървите с машината, която ви следва.
Note: За да повдигнете главата с кухи зъбци, след като разкачите машината, освободете ръкохватката за аериране и стартирайте двигателя; за повече информация вижте Стартиране на двигателя и Повдигане на главата с кухи зъбци.
Части, необходими за тази процедура:
| Възел на колелата | 2 |
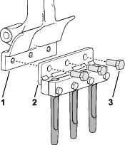
Note: Ако е възможно, използвайте лебедка, за да повдигнете задната част на машината. Използвайте отворите в корпусите на лагерите на главата с кухи зъбци като точки за закрепване на лебедката (Фигура 3).

В задната част на машината свалете 4-те колесни гайки, които подсигуряват задната част на машината към скобите на палета за доставка.
Сглобете възела на колелата върху всяка главина на задните колела с 4-те колесни гайки (Фигура 4).

Затегнете колесните гайки с въртящ момент от 61 до 75 N∙m.
Повторете стъпки 1 до 3 от другата страна на машината.
Спуснете въздуха от всички гуми до 0,83 bar.
Части, необходими за тази процедура:
| Ръкохватка | 1 |
| Контрагайка (½") | 3 |
Поставете шпилките в края на кормилото в отворите в кормилното рамо (Фигура 5).
Note: Помолете друг човек да държи кормилото.

Завийте една фланцова контрагайка (½") на всяка от трите шпилки.
Затегнете фланцовите контрагайки с въртящ момент от 91 до 113 N·m.
Завъртете кормилото нагоре и го закрепете с щифта за заключване на кормилото (Фигура 6).

Прокарайте съединителния елемент на спирачното въже под долната част на канала за кормилото (Фигура 7).

Монтирайте съединителния елемент на спирачното въже върху скобата и го закрепете към нея с помощта на шайбата и шплинта.
Прокарайте конектора с 6 щифта и конектора с 12 щифта на кабелния сноп на машината през втулката в канала на кормилото (Фигура 8).

Включете конектора с 12 щифта на кабелния сноп на машината в конектора с 12 щифта на кабелния сноп на кормилото (Фигура 9).

Включете конектора с 6 щифта на кабелния сноп на машината в конектора с 6 щифта на кабелния сноп на кормилото.
Поставете задържащия анкер на кабелния сноп на машината в отвора в канала на кормилото (Фигура 10).

Поставете задържащия анкер на кабелния сноп на машината в отвора на направляващата скоба.
Закрепете снопа на машината към канала на кормилото с кабелна връзка през процепите в канала (Фигура 11).

Закрепете снопа на машината към направляващата скоба с кабелна връзка през процепите в скобата.
Подравнете малкия прорез в капака на кормилото с прореза нагоре (Фигура 12).

Подравнете отворите в капака с отворите в канала на кормилото.
Закрепете капака към кормилото с 6-те винта за оформяне на резба (¼").
Части, необходими за тази процедура:
| Болт (¼ x 1") | 2 |
| Фланцова гайка (5/16") | 2 |
Акумулаторният електролит съдържа сярна киселина, която представлява смъртоносна отрова и предизвиква тежки изгаряния.
Избягвайте контакт с кожата, очите или дрехите. Да се носят защитни очила, предпазващи очите и гумени ръкавици за защита на ръцете.
Отстранете, заредете и монтирайте акумулатора на място с налична течаща вода за изплакване на ръцете.
При зареждане на акумулатора се отделя газ, който може да експлодира.
Никога не пушете в близост до акумулатора и дръжте искри и открит пламък далеч от него.
Клемите на акумулатора или метални инструменти могат да създадат късо съединение с метални компоненти на машината, което да причини образуването на искри. Искрите могат да причинят взривяване на газовете от акумулатора, което да доведе до телесно нараняване.
Когато отстранявате или поставяте акумулатор, не допускайте клемите на акумулатора да докосват метални части на машината.
Не допускайте метални инструменти да образуват късо съединение с клемите на акумулатора и металните части на машината.
Неправилното прекарване на акумулаторния кабел може да повреди машината и кабелите и да предизвика искрене. Искрите могат да причинят взривяване на газовете от акумулатора, което да доведе до телесно нараняване.
Винаги изключвайте първо отрицателния (черен) кабел, преди да изключите положителния (червен) кабел.
Винаги свързвайте първо положителния (червен) кабел, преди да свържете отрицателния (черен) кабел.
Отключете и отворете вратичката на отделението за акумулатора (Фигура 13).

Отстранете акумулатора от отделението за акумулатора.
Използвайте зарядно устройство за акумулатори с капацитет на зареждане от 3 до 4 A, за да заредите акумулатора.
Когато акумулаторът е зареден, изключете зарядното устройство от контакта и го разкачете от полюсите на батерията.
Монтирайте акумулатора в таблото в леглото в отделението за акумулатора (Фигура 14). Поставете акумулатора така, че клемите да са подравнени навън.

Закрепете акумулатора към основата на отделението с помощта на задържащ прът, 2 J-образни пръта, 2 плоски шайби и 2 крилчати гайки.
Закрепете положителния кабел (червен) към положителната (+) клема на акумулатора с носещия болт и гайката.
Плъзнете гумения маншон върху положителната клема.
Закрепете отрицателния кабел (черен) към отрицателната (–) клема на акумулатора с носещия болт и гайката.
Затворете и заключете вратата на отделението за акумулатора.
Части, необходими за тази процедура:
| Ключалка | 2 |
| Самонарезен болт | 2 |
| Вътрешна зъбна шайба | 2 |
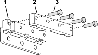
Ако настройвате тази машина за използване в Европейския съюз (СЕ), монтирайте ключалката на задния капак, както следва, за да спазите разпоредбите за СЕ.
Свалете задния капак.
Монтирайте ключалка върху ключалката на капака (Фигура 15) с помощта на самонарезен болт (общо 2).

С помощта на клещи и гаечен ключ навийте вътрешна законтряща шайба върху всеки болт (1 до 2 завъртания), за да закрепите болтовете към капака.
Повторете стъпка от 2 до 3 от другата страна на капака.
Монтирайте задния капак.
Части, необходими за тази процедура:
| Шнур | 1 |
| Нит | 1 |
| Болт (¼ x 1") | 1 |
| Контрагайка (¼") | 1 |
Ако настройвате тази машина, за да отговаря на изискванията на CE, монтирайте връзката за заключване на капака на ремъка, както следва.
Намерете отвора в капака на ремъка до процепа за заключващия лост (Фигура 16 и Фигура 17).

Закрепете сглобката на шнура към отвора в капака на ремъка с нит (Фигура 17).

Вкарайте болта в заключващия лост (Фигура 18).

Части, необходими за тази процедура:
| Стикер СЕ | 1 |
| Стикер за година на производство | 1 |
За машината се предлага богат избор от държачи на зъбци, предпазителите на тревната площ и зъбци. Вижте Монтиране на предпазители за тревни площи, държачи за зъбци и зъбци.


Използвайте ключалката на кормилото (Фигура 21), за да фиксирате кормилото в повдигнато положение и да задействате ръчната спирачка.
Important: Закрепете кормилото в горно положение, когато напускате мястото на оператора.
Ръкохватката за управление с присъствие на оператор (Фигура 21) помага да се гарантира, че сте на мястото на оператора, докато управлявате машината или пускате главата с кухи зъбци.
Note: Освобождаването на ръкохватката за управление с присъствие на оператор не изключва двигателя.
Използвайте Информационния център (Фигура 21), за да настроите начина на работа на органите за управление на главата с кухи зъбци.
Ако докоснете превключвателя за отбойника (Фигура 21), машината извършва следните действия:
Машината спира да се движи напред.
Главата с кухи зъбци се повдига и спира да работи.
Note: Докосването на превключвателя за отбойника не изключва двигателя. Можете да управлявате машината в обратна посока, но трябва да нулирате превключвателя за отбойника, за да се движите напред.

Използвайте превключвателя за транспортиране/аериране (Фигура 22), за да контролирате максималната скорост, с която можете да задвижвате машината при аериране или транспортиране на машината.
Позицията AERATION (аериране) позволява аериране и ограничава скоростта на движение спрямо земята до 4,0 км/ч или по-бавна.
Позицията TRANSPORT (транспортиране) ви позволява да управлявате машината с пълна скорост на движение спрямо земята или по-бавно между работните обекти.
Note: Не можете да аерирате, когато превключвателят за транспортиране/аериране е в положение TRANSPORT.
Използвайте левия или десния орган за управление на движението (Фигура 22), за да задвижите машината напред или назад.
Използвайте превключвателя за блокаж на скоростта (Фигура 22), за да поддържате скоростта на движение спрямо земята на машината; подобно на круиз контрола в автомобил.
Позицията ENGAGE (активиране) блокира текущата скорост на движение спрямо земята, с която се движи машината.
Позицията ON (Вкл.) активира блокажа на скоростта на движение спрямо земята.
Позицията OFF (Изкл.) изключва блокажа на скоростта на движение спрямо земята.
Използвайте превключвателя за блокаж на скоростта (Фигура 22), за да поддържате скоростта на движение спрямо земята спрямо разстоянието между отворите за аериране.
Позицията ON (Вкл.) – активира и задейства блокажа на скоростта спрямо земята, за да поддържа скоростта спрямо разстоянието между отворите за аериране, когато освободите ръкохватката за аериране в края на аерирането.
Позицията OFF (Изкл.) изключва блокажа на скоростта на движение спрямо земята – машината спира да се движи напред, когато освободите ръкохватката за аериране.

Използвайте ръкохватката за аериране (Фигура 23), за да спускате и вдигате главата с кухи зъбци.
Използвайте превключвателя за контрол на спускането (Фигура 23), за да промените начина, по който се спуска главата с кухи зъбци при аериране, като можете да изберете следните режими:
Незабавно спускане
Забавено спускане

Използвайте лоста за дроселовата клапа (Фигура 24), за да регулирате оборотите на двигателя:
Преместването на лоста за дроселовата клапа напред увеличава оборотите на двигателя – към позицията FAST (бързи).
Преместването на лоста за дроселовата клапа назад намалява оборотите на двигателя – към позицията SLOW (бавни).
Note: Оборотите на двигателя регулират оборотите на главата с кухи зъбци.
Използвайте смукача при стартиране на студен двигател (Фигура 24).
Използвайте превключвателя за запалване (Фигура 24), за да стартирате и изключвате двигателя. Превключвателят има 3 позиции:
START (Стартиране)- завъртете ключа по посока на часовниковата стрелка до позиция START (Стартиране), за да задействате стартера.
RUN (Работа)- когато двигателят заработи, освободете ключа и той автоматично ще премине в позиция ON (Вкл.).
OFF (Изкл.)- завъртете ключа обратно на часовниковата стрелка в позиция OFF (Изкл.), за да изключите двигателя.
Използвайте оборотомер, за да определите оборотите на двигателя (Фигура 24).
Използвайте крана за спиране на горивото за контролиране на горивото от резервоара за гориво (Фигура 25).

Дисплеят на информационния център (Фигура 26) показва информация за машината, като например работно състояние, различни диагностики и друга информация за машината.

Note: Предназначението на всеки бутон може да се промени в зависимост от това какво се изисква към момента. Всеки бутон има етикет с икона, показваща текущата функция.
Използвайте бутоните за навигация, за да преминавате между няколко екрана и елементи от менюто:
Splash screen (Първоначален екран): показва текущата информация за машината за няколко секунди, след като преместите ключа в положение ON (Вкл.).
Main menu (Главно меню): вижте Използване на менютата.
|
SERVICE DUE (ГРАФИК ЗА ОБСЛУЖВАНЕ) |
Показва кога трябва да се извърши планирано обслужване |
|
|
Режим на транспортиране |
|
|
Дълбочина на дупката |
|
|
Разстояние между дупките |
|
|
Диаметър на зъбците |
|
|
Зъбци на държач |
|
|
Акумулатор |
|
|
Брояч на работните часове |
|
|
Активни/ОК |
|
|
Неактивни |
|
|
Следващ |
|
|
Предишен екран |
|
|
Меню |
|
|
Увеличаване/намаляване на стойността |
|
|
Превъртане нагоре/надолу |
|
|
Превъртане наляво/надясно |
|
|
Изход към менюто |
|
|
|
За да влезете в главното меню, натиснете бутона за връщане назад/изход, докато сте на някой от информационните екрани.
Вижте следващите таблици за описание на опциите, достъпни от менютата:
|
Елемент на менюто |
Описание |
|---|---|
|
FAULT (Неизправност) |
Съдържа списък на последните неизправности на машината. Вижте Сервизното ръководство или се обърнете към упълномощен дистрибутор на Toro за повече информация относно менюто за неизправности. |
|
SERVICE (Обслужване) |
Съдържа информация за машината като часове на употреба, броячи и други подобни данни. |
|
DIAGNOSTICS (Диагностика) |
Изброява различните състояния, в които се намира машината в момента; можете да използвате тази функция за отстраняване на някои проблеми, тъй като тя бързо ви показва кои органи за управление на машината са активни и кои са изключени. |
|
SETTINGS (Настройки) |
Позволява ви да въведете ПИН код или да персонализирате дисплея на информационния център. |
|
MACHINE SETTINGS (Настройки на машината) |
Позволява ви да променяте работните характеристики и конфигурацията на машината. |
|
ABOUT (Относно) |
Посочва номера на модела, серийния номер и версията на софтуера на машината. |
|
Елемент на менюто |
Описание |
|---|---|
|
STATISTICS (Статистика) |
Изброява броячи за данни за работата на машината и данни за операции, като например време на работа на двигателя, площ/обем/време на аериране, разстояние на аериране. |
|
HOURS (Часове) |
Посочва общия брой часове, през които машината, двигателят и PTO са били включени, както и броя часове, през които машината е била транспортирана и графика на обслужване. |
|
COUNTS (Преброявания) |
Показва многобройните преброявания, които машината е осъществила. |
|
SERVICE LIFT (Услуга повдигане) |
Активиране или деактивиране на услугата за повдигане. |
|
SERVICE LOWER (Услуга спускане) |
Активиране или деактивиране на услугата за спускане. |
|
3WD (триколесно задвижване) |
Активиране на автоматичното триколесно задвижване или винаги включено триколесно задвижване. |
|
GROUND HEIGHT (Височина
от земята) |
Показва дали калибрирането на сензора е валидно, стартира процеса на калибриране и изписва електрическата стойност на сензора. |
|
TRACTION PUMP (Тягова
помпа) |
Показва дали калибрирането на сензора е валидно, стартира процеса на калибриране и изписва електрическата стойност на сензора. |
|
TRACTION INPUT (Входна
стойност на сцеплението) |
Показва дали калибрирането на сензора е валидно, стартира процеса на калибриране и изписва електрическата стойност на сензора. |
|
HEIGHT SENSOR (Сензор
за височина) |
Показва дали калибрирането на сензора е валидно, стартира процеса на калибриране и изписва електрическата стойност на сензора. |
|
|
|
|
Елемент на менюто |
Описание |
|---|---|
|
ENTER PIN (Въвеждане на ПИН код) |
Разрешава достъп до защитени менюта от упълномощено лице с ПИН код |
|
BACKLIGHT (Фоново осветление) |
Управлява яркостта на LCD дисплея |
|
LANGUAGE (Език) |
Управлява езика, използван в Информационния център |
|
UNITS (Мерни единици) |
Управлява използваните в информационния център мерни единици (английска или метрична система) |
|
EDIT PIN (Редактиране
на ПИН код) |
Позволява на упълномощено лице с ПИН код да промени ПИН кода |
|
PROTECT SETTINGS (Настройки
за защита) |
Активира или деактивира изискването за въвеждане на ПИН код за достъп до настройки за защита |
|
RESET DEFAULTS (Нулиране
до настройките
по подразбиране) |
Връщане на всички настройки по подразбиране |
|
|
|
|
Елемент на менюто |
Описание |
|
MAX TRANSPORT (Максимално транспортиране) |
Позволява промяна на максималната скорост на движение напред; по подразбиране = 6,4 км/ч |
|
MANUAL AERATION (Ръчно аериране) |
Активира или деактивира ръчното аериране |
|
|
|
|
Елемент на менюто |
Описание |
|---|---|
|
Model (Модел) |
Показва номера на модела на машината |
|
SN |
Показва серийния номер на машината |
|
S/W Revision (Версия на софтуера) |
Посочва версията на софтуера на главния контролер |
|
CAN Statistics (Статистически данни за CAN) |
Показва статуса на комуникационната шина на машината |
|
InfoCenter Revision (Версия
на информационния
център) |
Показва версията на софтуера на дисплея на Информационния център |
|
|
|
|
Елемент на менюто |
Описание |
|---|---|
|
Тяга |
Вижте Сервизното ръководство или се обърнете към упълномощен дистрибутор на Toro за повече информация относно елементите от менюто за диагностика. |
|
Aeration (Аериране) |
|
|
Engine (Двигател) |
Защитените менюта не се показват по подразбиране. Тези настройки се отключват с въвеждането на ПИН кода.
Note: Фабричният ПИН код по подразбиране за вашата машина е 0000 или 1234; в момента на доставката дистрибуторът ви може да е променил ПИН кода.Ако смените ПИН кода и го забравите, се свържете с упълномощения дистрибутор на Toro за съдействие.
От MAIN MENU (Главно меню) превъртете надолу до меню SETTINGS (Настройки) и натиснете бутона за избор (Фигура 27).

В менюто SETTINGS (Настройки) превъртете до ENTER PIN (Въвеждане на ПИН код) и натиснете бутона за избор (Фигура 28A).

За да въведете ПИН кода, натиснете бутоните за навигация нагоре/надолу, докато се покаже правилната първа цифра, след това натиснете десния бутон за навигация, за да се придвижите към следващата цифра (Фигура 28B и Фигура 28C). Повторете тази стъпка, докато въведете последната цифра.
Натиснете бутона за избор (Фигура 28D).
Note: Ако дисплеят приеме
ПИН кода и защитените
менюта се отключат,
в горния десен
ъгъл на екрана
се показва
.
За да скриете защитените менюта, завъртете ключа на стартера в положение OFF (Изкл.) и след това в положение ON (Вкл.).
След като въведете ПИН кода, влезте в менюто SETTINGS (Настройки) и превъртете надолу до PROTECT SETTINGS (Настройки за защита).
За да разрешите
преглеждането
на защитените
менюта без въвеждане
на ПИН код, използвайте
бутона за избор,
за да промените
настройките на PROTECT SETTINGS (Настройки
за защита) на
(Off (Изкл.)).
За да изисквате
ПИН код за преглед
на защитените
менюта, използвайте
бутона за избор,
за да промените PROTECT SETTINGS (Настройки за
защита) на
(On (Вкл.)),
задайте ПИН кода
и завъртете ключа
за запалването
в положение OFF (Изкл.) и след
това в положение ON (Вкл.).

Мигащо червено – активна неизправност
Постоянно червено – активна консултация
Постоянно синьо – калибриране/диалогови съобщения
Постоянно зелено – нормална работа
Note: Спецификациите и конструкцията подлежат на промени без уведомяване.
| Ширина | 127 см |
| Междуосие | 113 см |
| Широчина на гъсеничната верига | 97 см |
| Широчина на зъбците | 122 см |
| Дължина | 295 см |
| Височина на главата (повдигната) | 114 см |
| Височина на главата (спусната) | 93 см |
| Височина, ръкохватка | 154,2 см |
| Просвет | 12 см |
| Скорост на движение напред | 0 до 7,2 км/ч |
| Скорост на заден ход | 0 до 4 км/ч |
| Нетно тегло | 745 kg |
Налични са одобрени от Toro приставки и аксесоари за използване с машината, за да се подобрят и разширят възможностите ѝ. Свържете се с упълномощен за сервизно обслужване дилър или дистрибутор на Toro или посетете www.Toro.com за списък с всички одобрени приставки и аксесоари.
За гарантиране на оптимална работа и непрекъсната сертификация за безопасност, използвайте само оригинални резервни части и принадлежности от Toro. Резервните части и аксесоари на други производители може да са опасни и такава употреба може да анулира гаранцията.
Вижте таблицата за конфигурацията на зъбците, която следва, за да получите информация за главата на зъбците, предпазителя за тревни площи и зъбците:
| Описание на главата на зъбците | Разстояние на главата на зъбците | Размер на пръта | Количество зъбци | Тип предпазител за тревни площи (количество) |
|---|---|---|---|---|
| 2х5 глава с мини зъбци | 41 мм | 9,5 мм | 60 | 5-зъбци – къси (2) |
| 5-зъбци – дълги (1) | ||||
| 1х6 глава с мини зъбци | 32 мм | 9,5 мм | 36 | 6-зъбци – къси (2) |
| 6-зъбци – дълги (1) | ||||
| 3 глава със зъбци (22,2 мм) | 66 мм | 22,2 мм | 18 | 3-зъбци – къси (2) |
| 3-зъбци – дълги (1) | ||||
| 3 глава със зъбци (19,5 мм) | 66 мм | 19,5 мм | 18 | 3-зъбци – къси (2) |
| 3-зъбци – дълги (1) | ||||
| 4 глава със зъбци (19,5 мм) | 51 мм | 19,5 мм | 24 | 4-зъбци – къси (2) |
| 4-зъбци – дълги (1) | ||||
| 5 глава с иглени зъбци | 41 мм | — | 30 | 5-зъбци – къси (2) |
| 5-зъбци – дълги (1) |
Note: Определете лявата и дясната страна на машината от нормалното работно положение.
Никога не допускайте работа или обслужване на машината от деца или персонал без необходимото обучение. Местните наредби могат да ограничават възрастта на оператора. Собственикът носи отговорност за обучението на всички оператори и механици.
Запознайте се с начините за безопасна експлоатация на оборудването, органите за управление на оператора и предупредителните обозначения за безопасност.
Научете как бързо да спирате машината и да изключвате двигателя.
Преди работа винаги проверявайте машината, за да се уверите, че зъбците са в добро работно състояние. Подменете износените или повредени зъбци.
Проверете участъка, в който планирате да използвате машината, и отстранете всички обекти, в които тя може да се удари.
Намерете и маркирайте всички електрически или комуникационни линии, компоненти от системи за напояване и други препятствия в участъка за аериране. Ако е възможно, отстранете опасностите или планирайте как да ги избегнете.
Паркирайте машината на равна повърхност; повдигнете и заключете кормилото, за да задействайте ръчната спирачка; изключете двигателя; извадете контактния ключ и изчакайте всички движещи се части да спрат.
Проверете дали органите за контрол на присъствието на оператор, защитните превключватели и щитове/кожуси са прикрепени и в изправност. Не работете с машината, ако те не функционират правилно.
Бъдете изключително внимателни при боравене с гориво. То е запалимо, а изпаренията му са взривоопасни.
Изгасете цигари, пури, лули и други източници на запалване.
Използвайте само одобрен съд за гориво.
Не сваляйте капачката или не пълнете резервоара, когато двигателят работи или е горещ.
Не доливайте или източвайте гориво в затворени помещения.
Не съхранявайте машината или съд с гориво на места с откри пламък, искри или светлинен сигнализатор, напр. на воден нагревател или друг уред.
Ако разлеете гориво, не опитвайте да стартирате двигателя; избягвайте създаване на източници на запалване, докато изпаренията от горивото не се разпръснат напълно.
| Вид | Безоловен бензин |
| Минимално октаново число | 87 (САЩ) или 91 (октаново число по метода на изследването; извън САЩ) |
| Етанол | Не повече от 10% по обем |
| Метанол | Няма |
| MTBE (метил-третичен-бутил-етер) | По-малко от 15% по обем |
| Масло | Не добавяйте към горивото |
Използвайте само чисто, свежо (не по-старо от 30 дни) гориво от надежден източник.
Important: За да намалите възможните проблеми, добавете необходимото количество стабилизатор/добавка за горивото съгласно насоките на производителя на стабилизатора/добавката за гориво.
Вместимост на горивния резервоар: 26,5 L
Паркирайте машината на равна повърхност; повдигнете и заключете кормилото, за да задействайте ръчната спирачка; изключете двигателя; извадете контактния ключ и изчакайте всички движещи се части да спрат.
Почистете около капачката на резервоара за гориво и я свалете (Фигура 30).

Налейте гориво в резервоара, докато нивото достигне 6 мм до 13 мм под долния край на гърловината за пълнене.
Important: Това пространство в резервоара позволява на горивото да се разшири. Не пълнете докрай горивния резервоар.
Поставете обратно капачката на резервоара за гориво и я притегнете.
Забършете евентуално разлято гориво.
Преди ежедневното стартиране на машината изпълнявайте процедурата преди всяко използване/всеки ден, посочена в .
| Интервал на техническо обслужване | Процедура по поддръжка |
|---|---|
| Преди всяка употреба или ежедневно |
|
Ако блокиращата система за безопасност е прекъсната или повредена, машината може да заработи неочаквано, с което да предизвика нараняване.
Не възпрепятствайте работата на превключвателите на защитните блокировки.
Ежедневно проверявайте функционирането на блокиращата система и сменете всички повредени части за блокиране за безопасност, преди да започнете работа с машината.
Блокиращата система за безопасност предотвратява стартирането на двигателя, ако органът за управление на движението не е в положение NEUTRAL (Неутрално).
Блокиращата система за безопасност предотвратява стартирането на двигателя, докато не се освободи напълно ръкохватката за управление с присъствие на оператор.
Блокиращата система за безопасност предотвратява стартирането на двигателя, докато не се освободи напълно ръкохватката за главата с кухи зъбци.
Блокиращата система за безопасност повдига главата с кухи зъбци и я изключва, ако по време на аериране задвижите машината назад или докоснете превключвателя за отбойника.
Important: Ако блокиращата система за безопасност не работи съгласно описаното, незабавно поискайте от упълномощен дистрибутор на Toro да ремонтира блокиращата система за безопасност.
Ако главата с кухи зъбци е спусната, изпълнете следните стъпки. Ако главата с кухи зъбци е повдигната, прескочете до Тестване на блокировката на стартера.
Стартирайте двигателя и настройте скоростта на двигателя в положение SLOW (Бавно); вижте Стартиране на двигателя.
Спуснете кормилото (Фигура 31).

Натиснете някой от бутоните на информационния център.
Note: Главата с кухи зъбци се повдига.
Изгасете двигателя; вижте Изгасяне на двигателя.
Ако двигателят работи, изгасете го.
Дръжте двете ръкохватки за управление с присъствие на оператор към кормилото и завъртете органа за управление на движението (Фигура 32) напред или го завъртете назад и стартирайте двигателя.
Important: Двигателят не следва да стартира.

Освободете ръкохватката за управление с присъствие на оператора, преместете органа за управление на движението в позиция NEUTRAL (неутрално) и стартирайте двигателя.
Дръжте двете ръкохватки за управление с присъствие на оператор към кормилото и завъртете горната част на органа за управление на движението напред (Фигура 33).
Note: Машината се движи напред.

Докато държите органа за управление на движението, освободете ръкохватка за управление с присъствие на оператора (Фигура 34).
Important: Машината трябва да спре да се движи напред.

Дръжте двете ръкохватки за управление с присъствие на оператор към кормилото и завъртете горната част на органа за управление на движението напред (Фигура 35).
Note: Машината се движи напред.

Докато държите в ръка ръкохватка за управление с присъствие на оператора и органа за управление на движението, докоснете превключвателя за отбойника (Фигура 36).
Important: Машината трябва да спре да се движи напред.
Note: Двигателят продължава да работи.

Нулирайте превключвателя за отбойника; вижте Нулиране на превключвателя за отбойника.
Изпълнете 1 от следните действия:
Преместете машината в тревна площ, където можете да аерирате, без да повредите зъбците или площта.
Демонтирайте зъбците.
Дръжте двете ръкохватки за управление с присъствие на оператор към кормилото, завъртете горната част на органа за управление на движението напред и затворете ръкохватката за аериране (Фигура 37).
Note: Машината се задвижва напред, главата с кухи зъбци се движи и се спуска.

Докато държите ръкохватката за управление с присъствие на оператора и ръкохватката за аериране, завъртете горната част на органа за управление на движението назад (Фигура 38).
Important: Главата с кухи зъбци трябва да се повдигне и да спре да работи.
Note: Двигателят продължава да работи.

Придвижете органа за управление на движението в положение NEUTRAL (Неутрално).
Ако сте демонтирали зъбците, монтирайте ги и калибрирайте височината от земята на зъбците; вижте Сглобяване на зъбците към главата с кухи зъбци и Калибриране на височината от земята на зъбците.
Important: Трябва да калибрирате височината от земята на зъбците всеки път, когато сменяте по-дълги зъбци с по-къси или по-къси с по-дълги.
За машината се предлага богат избор от държачи на зъбци, предпазителите на тревната площ и зъбци. Изберете необходимите компоненти според таблицата за аксесоари в Приставки и аксесоари.
Повдигнете главата с кухи зъбци и я заключете на място със сервизната ключалка; вижте Поддържане на главата с кухи зъбци с помощта на сервизната ключалка.
Паркирайте машината на равна повърхност; повдигнете и заключете кормилото, за да задействайте ръчната спирачка; изключете двигателя; извадете контактния ключ и изчакайте всички движещи се части да спрат.
Note: Заводът доставя скоби за предпазители на тревната площ, шайби и фланцови контрагайки, закрепени към скобите за предпазители за тревни площи (Фигура 39).
Сглобете свободно предпазителите за тревни площи към скобите за предпазители за тревни площи с 4 скоби за предпазители за тревни площи и 12 фланцови контрагайки (⅜") и 12 шайби (7/16 x 13/16").
Note: Не затягайте фланцовите гайки.

Монтирайте хлабаво скобата за зъбци към държача за зъбци (Фигура 40) с 4 болта (⅜ x 1½"). Не затягайте болтовете.
Note: Болтовете са части от комплектите на държачите за зъбци.

Сглобете зъбците в държача за зъбци и скобата за зъбци (Фигура 41).

Затегнете болтовете с въртящ момент (⅜ x 1½"), закрепващи скобите за зъбците и зъбците, до 40,6 N∙m.
Повторете стъпките от 1 до 3 за другите скоби за зъбци, държачи за зъбци и зъбци.
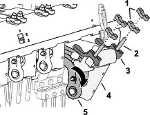
Сглобете свободно държача на зъбците и зъбците към рамо № 2 (Фигура 42 и Фигура 43) с 3 болта (½ x 1¼").


Затегнете болтовете (½ x 1¼") с въртящ момент от 102 N∙m.
Повторете стъпки 1 и 2 за рамо № 5.
Проверете подравняването на процепите на предпазителя за тревни площи към зъбците, за да се уверите, че са центрирани (Фигура 44).
Note: При необходимост регулирайте предпазителите за тревни площи.

Затегнете с въртящ момент фланцовите гайки (⅜"), които закрепват 3-те скоби за предпазителя за тревни площи и 3-те предпазителя за тревни площи към 3-те скоби за предпазителя за тревни площи.
Монтирайте останалия държач на зъбците и зъбците към държачите на зъбците № 1, № 3, № 4 и № 6 с 12 болта (½ x 1¼").
Затегнете болтовете (½ x 1¼") с въртящ момент от 102 N∙m.
Калибрирайте машината за височината на зъбците спрямо земята; вижте Изпълнение на приложението за обучение на височината от земята.
Завъртете ключа на запалването в положение RUN (Работно).
Ако стрелките не се показват на екрана на режима TRANSPORT (Транспортиране) или на екрана на режима AERATE (Аериране), въведете ПИН кода за достъп до защитените менюта; вижте Достъп до защитените менюта.
Note: На екрана на режима TRANSPORT (Транспортиране) или на екрана на режима AERATE (Аериране) се показва (Фигура 45).

Натиснете два пъти десния бутон, за да се покаже екранът за калибриране на височината от земята на зъбците (Фигура 46).
Note: Натиснете левия бутон, за да покажете екрана на режима TRANSPORT (Транспортиране) или AERATE (Аериране).

Натиснете десния бутон, за да се покаже екранът за регулиране на дълбочината на отвора (Фигура 47).
Note: Натиснете левия бутон, за да се покаже екранът за обучение на височината от земята.

Натиснете десния бутон, за да се покаже екранът за регулиране на разстоянието между дупките (Фигура 48).
Note: Натиснете левия бутон, за да се покаже екранът за регулиране на дълбочината на отвора.

Натиснете десния бутон, за да се покаже екранът за регулиране на диаметъра на зъбците (Фигура 48).
Note: Натиснете левия бутон, за да се покаже екранът за регулиране на разстоянието между дупките.

Натиснете десния бутон, за да се покаже екранът за регулиране на количеството зъбци (Фигура 50).
Note: Натиснете левия бутон, за да се покаже екранът за регулиране на диаметъра на зъбците.

Уверете се, че главата с кухи зъбци е повдигната; вижте Повдигане на главата с кухи зъбци.
Завъртете ключа на запалването в положение RUN (Работно).

Натискайте десния бутон, докато се покаже екранът за регулиране на дълбочината на отвора (Фигура 51 и Фигура 52).
Регулирайте дълбочината на зъбците с бутоните нагоре и надолу (Фигура 52), както следва:
Натиснете бутона надолу, за да намалите дълбочината на отвора.
Натиснете бутона нагоре, за да увеличите дълбочината на отвора.

Натиснете левия или десния бутон, за да запазите настройките си и да излезете от екрана за дълбочина.
Завъртете ключа на запалването в положение OFF (Изключено).
Note: Ако при аериране на максималната допустима дълбочина (с всякаква дължина на зъбците) след извършване на калибрирането на височината от земята, болтовете на предпазителя за тревни площи задират или докосват тревата, намалете дълбочината с една стъпка (¼").
Note: Когато изберете целева мярка за разстоянието между дупките, машината управлява скоростта на движение спрямо земята, за да поддържа разстоянието между дупките.
Уверете се, че главата с кухи зъбци е повдигната; вижте Повдигане на главата с кухи зъбци.
Завъртете ключа на запалването в положение RUN (Работно).

Натискайте десния бутон, докато се покаже екранът за регулиране на разстоянието между дупките (Фигура 53 и Фигура 54).
Регулирайте разстоянието между дупките (Фигура 54), както следва:
Натиснете бутона надолу, за да намалите разстоянието между дупките.
Натиснете бутона нагоре, за да увеличите разстоянието между дупките.

Натиснете левия или десния бутон, за да запазите настройките и да излезете от екрана за разстоянията.
Завъртете ключа на запалването в положение OFF (Изключено).
Уверете се, че главата с кухи зъбци е повдигната; вижте Повдигане на главата с кухи зъбци.
Завъртете ключа на запалването в положение RUN (Работно).

Натискайте десния бутон, докато се покаже екранът за регулиране на диаметъра на зъбците (Фигура 55 и Фигура 56).
Регулирайте диаметъра на зъбците с бутоните нагоре и надолу (Фигура 56), както следва:
Натиснете бутона нагоре, за да увеличите диаметъра на зъбците.
Натиснете бутона надолу, за да намалите диаметъра на зъбците.

Натиснете левия или десния бутон, за да запазите настройките и да излезете от екрана с диаметъра.
Завъртете ключа на запалването в положение OFF (Изключено).
Уверете се, че главата с кухи зъбци е повдигната; вижте Повдигане на главата с кухи зъбци.
Завъртете ключа на запалването в положение RUN (Работно).

Натискайте десния бутон, докато се покаже екранът за регулиране на количеството зъбци (Фигура 58).
Регулирайте количеството на зъбците с бутоните нагоре и надолу (Фигура 58), както следва:
Important: Количеството на зъбците е броят на зъбците за 1 държач.
Натиснете бутона нагоре, за да увеличите количеството на зъбците.
Натиснете бутона надолу, за да намалите количеството на зъбците.

Натиснете левия или десния бутон, за да запазите настройката и да излезете от екрана за количеството на зъбците.
Завъртете ключа на запалването в положение OFF (Изключено).
| Интервал на техническо обслужване | Процедура по поддръжка |
|---|---|
| Преди всяка употреба или ежедневно |
|
Important: Калибрирайте височината от земята на зъбците при всяка смяна на зъбците или при подмяна на износените зъбци.
Уверете се, че главата с кухи зъбци е повдигната.
Паркирайте машината на равна повърхност; повдигнете и заключете кормилото, за да задействайте ръчната спирачка; изключете двигателя; извадете контактния ключ и изчакайте всички движещи се части да спрат.
Свалете капака на главата с кухи зъбци; вижте Отстраняване на капака на главата с кухи зъбци.
Завъртете ремъчната шайба на главата с кухи зъбци (Фигура 59), докато най-външните зъбци се подравнят най-близо до земята (Фигура 60).
Important: Дръжте пръстите си далеч от мястото, където ремъкът се съединява и отделя от ролката, за да не притиснете пръстите си.


Монтирайте капака на главата с кухи зъбци; вижте Монтиране на капака на главата с кухи зъбци.
Завъртете ключа на запалването в положение RUN (Работно).
Note: На екрана на режима TRANSPORT (Транспортиране) или на екрана на режима AERATE (Аериране) се показва (Фигура 61).

Преместете кормилото така, че да виждате най-външните зъбци, които сте позиционирали в Подготовка на машината.
Натиснете десния бутон, докато не се покаже съветникът TEACH GROUND HEIGHT (обучение на височината от земята).
След това натиснете някой от централните бутони на екрана за обучение на височината от земята (Фигура 62).

На екрана PRESS OK TO START TEACH (натиснете ОК за стартиране на обучението) (Фигура 63), натиснете бутона за избор.

Note: Извежда се съобщението CALIBRATION ENGAGED (калибрирането е активирано) и главата с кухи зъбци бавно се спуска.
Important: Дръжте ръката си близо до информационния център.
Note: Ако хидравличната течност е студена, главата с кухи зъбци се спуска по-бавно.
Когато някой от зъбците докосне земята, натиснете бутона за избор на екрана за спускане на главата (Фигура 64).
Note: Зъбците трябва само да докосват земята, а не да повдигат или поемат тежестта от гумите.Ако главата с кухи зъбци повдигне машината, машината неправилно калибрира височината от земята, което води до неточна дълбочина на отвора и навлизане на туфи в отвора за аериране.

Note: Показва се съобщението CALIBRATION COMPLETE (Калибрирането е завършено) и главата се повдига напълно.
Натиснете бутона за връщане назад, за да излезете от приложението за обучение на височината от земята.
Собственикът/операторът е в състояние да предотврати и носи отговорност за произшествия, които могат да причинят телесно нараняване или имуществени щети.
Носете подходящо облекло, включително защита за очите, дълги панталони, стабилни, устойчиви на хлъзгане обувки и защита за слуха. Завържете дългите коси, обтегнете висящите дрехи и не носете свободно висящи бижута.
Не работете с машината, когато сте уморени, болни, под въздействието на алкохол или лекарства/опиати.
Дръжте страничните лица, малките деца и домашните любимци, далече от работния участък. Не допускайте деца да работят с машината. Разрешавайте само на отговорни, обучени, запознати с инструкциите и физически способни лица да работят с машината.
Никога не превозвайте пътници върху машината.
Работете с машината само при добра видимост, за да избегнете дупки или скрити опасности.
Дръжте ръцете и краката си далеч от зъбците.
Преди да се придвижите назад, погледнете назад и надолу, за да сте сигурни, че пътят Ви е чист.
След удар в обект или щом усетите ненормална вибрация в машината, спрете я, изключете двигателя, извадете ключа, изчакайте всички движещи се части да спрат и проверете зъбците. Преди да възобновите работа, извършете необходимите ремонти.
Винаги поддържайте подходящо налягане в гумите.
Намалете скоростта на движение по неравни пътища и повърхности.
Склоновете са основен фактор, свързан със загуба на контрол и преобръщане, което може да доведе до тежки наранявания или смърт. Вие носите отговорност за безопасната работа върху склон. Върху всеки склон работата с машината изисква особено внимание.
Оценявайте условията на обекта, за да определите дали наклонът е безопасен за работа с машината, включително извършвайте оглед на обекта. Винаги се осланяйте на здравия разум и добрата преценка при извършване на този оглед.
Прегледайте посочените по-долу инструкции за управление на машината върху склон, за да определите дали е възможно да работите с машината в условията на даден ден и обект. Промените в терена могат да доведат до промяна в работата на машината върху склона.
Избягвайте стартиране, спиране или завиване с машината върху склонове. Избягвайте внезапни промени в скоростта или посоката. Завивайте бавно и постепенно.
Не работете с машината при каквито и да било условия, в които съществува опасност от загуба на сцепление, управление или стабилност.
Отстранете или маркирайте препятствия като канавки, дупки, коловози, камъни, скали или други скрити опасности. Високата трева може да скрие препятствията. Неравният терен може да обърне машината.
Имайте предвид, че работата на машината върху влажна трева, напречен наклон или по нанадолнище може да предизвика загуба на сцепление на машината. Загубата на сцепление на движещите колела може да доведе до плъзгане и невъзможност за спиране и управление.
Внимавайте изключително много, когато работите с машината близо до свлачища, канавки, насипи, водни или други опасности. Машината може внезапно да се преобърне, ако някое от колелата премине през ръба или ръбът поддаде. Установете безопасна зона между машината и всяка потенциална опасност.
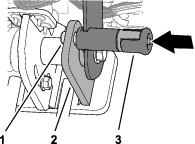
Повдигнете напълно кормилото нагоре, за да задействате ръчната спирачка (Фигура 65).

Уверете се, че заключващият щифт на кормилото се подава през отвора във фиксиращата плоча (Фигура 66).
Ако ръчната спирачка не се задейства, машината може да се придвижи и да нарани вас или околните.
Уверете се, че кормилото е напълно повдигнато и е здраво закрепено към фиксиращата плоча.

Повдигнете напълно и заключете кормилото, задействайте ръчната спирачка; вижте Задействане на ръчната спирачка.
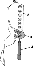
Използвайте смукача (Фигура 70), както следва:
Преди да стартирате студен двигател, преместете органа за управление на смукача в положение ON (Вкл.) .
Когато стартирате топъл или горещ двигател, може да не се наложи да използвате смукача.

Преди да стартирате студен двигател, придвижете лоста за дроселовата клапа в положение FAST (Бързо).
Завъртете ключа за запалването в положение START (Старт). Когато двигателят стартира, освободете ключа.
Important: Не задържайте стартера за повече от 10 секунди наведнъж. Ако двигателят не успее да запали, оставете 30 секунди за охлаждане между опитите. Неспазването на тези инструкции може да доведе до изгаряне на мотора на стартера.
След стартиране на двигателя, придвижете смукача в положение OFF (Изкл.). Ако двигателят работи неравномерно или блокира, върнете смукача обратно към позицията ON (Вкл.) за няколко секунди. След това преместете лоста за дроселовата клапа до желаната скорост на двигателя.
Note: Ако е необходимо, повторете тази стъпка.
Ако оставите машината без надзор, може да пострадат деца или странични лица при опит да задвижат или да използват машината.
Винаги повдигайте и заключвайте напълно кормилото, за да задействате ръчната спирачка, изключвайте двигателя и изваждайте ключа, когато оставяте машината без надзор, дори и само за няколко минути.
Повдигнете и заключете напълно кормилото, за да задействате ръчната спирачка; вижте Задействане на ръчната спирачка.
Преместете лоста за газта (Фигура 71) в положение SLOW (Бавно).

Оставете двигателя да работи на празен ход в продължение на 60 секунди.
Завъртете ключа за запалване в положение OFF (Изкл.) и го извадете.
Ако премествате или съхранявате машината, затворете крана за спиране на горивото (Фигура 72).
Important: Затворете крана за спиране на горивото, преди да качите машината на ремарке или да я съхранявате. Повдигнете и заключете напълно кормилото, за да задействате ръчната спирачка, преди да местите машината. Извадете ключа от превключвателя за запалването, за да предотвратите работата на горивната помпа и разреждането на акумулатора.

Important: Ходете пред машината в посока напред, докато работите с нея, не ходете и не гледайте назад, когато работите с машината.

Използването на функцията за блокировка за скоростта ви позволява да управлявате машината, без да се налага да държите органа за управление на движението.
Note: Не можете да използвате функцията за блокировка за скоростта, докато управлявате машината назад.
Използването на блокировката за скоростта по време на аериране ви позволява да продължите да управлявате машината с избраната скорост за разстоянието между дупките в края на аерирането, да обърнете машината и да започнете следващото аериране, без да променяте позицията на органа за управление на движението.
Note: Функцията за блокировка за скоростта в режим на аериране е активна, когато главата с кухи зъбци е настроена за режим на забавяне на спускането; функцията за блокировка за скоростта е блокирана в режим на незабавно спускане.
Блокирането на скоростта спрямо земята функционира като автомобилен круиз контрол.
Натиснете превключвателя за транспортиране/аериране в положение TRANSPORT (Транспортиране) (Фигура 74).

Натиснете превключвателя за блокировка за скоростта в положение ON (Вкл.).
Задвижете машината напред с желаната скорост на движение спрямо земята.
Натиснете превключвателя за блокировка за скоростта в положение ENGAGE (активиране).
Note: Блокировката на скоростта спрямо земята поддържа текущата скорост на движение на машината спрямо земята. Можете да освободите органа за управление на движението.
За да деактивирате функцията за блокировка за скоростта, изпълнете едно от следните действия:
Натиснете превключвателя за блокировка за скоростта в положение OFF (Изкл.).
Завъртете горната част на органа за управление на движението назад, за да придвижите машината назад.
Освободете ръкохватка за управление с присъствие на оператор.
Натиснете превключвателя за отбойника.
Note: Блокирането на скоростта спрямо земята не е налично при аериране в режим на незабавно спускане.
Натиснете превключвателя за транспортиране/аериране в положение AERATE (Аериране) (Фигура 75).

Натиснете превключвателя за блокировка за скоростта в положение ON (Вкл.).
Задвижете машината напред и затворете ръкохватката за аериране.
Note: Блокировката на скоростта спрямо земята се задейства и главата с кухи зъбци се спуска.
В края на аерирането освободете ръкохватката за аериране.
Note: Главата с кухи зъбци се повдига, но машината поддържа скоростта спрямо земята спрямо разстоянието между дупките за аериране.
За да деактивирате функцията за блокировка за скоростта, изпълнете едно от следните действия:
Натиснете превключвателя за блокировка за скоростта в положение OFF (Изкл.).
Завъртете горната част на органа за управление на движението назад, за да придвижите машината назад.
Освободете ръкохватка за управление с присъствие на оператор.
Натиснете превключвателя за отбойника.
Note: Използвайте режима на транспортиране, когато премествате машината между работните обекти.
Note: Машината се задвижва с намалена променлива скорост по всяко време, когато превключвателят за транспортиране/аериране е в позиция AERATION (Аериране).
Стартирайте двигателя и преместете органа за управление на газта в позиция FAST (Бързо); вижте Стартиране на двигателя.
Спуснете кормилото, за да освободите ръчната спирачка; вижте Освобождаване на ръчната спирачка.
Натиснете лявата страна на превключвателя за транспортиране/аериране в положение TRANSPORT (Транспортиране) (Фигура 76).

Note: В информационния център се показва иконата TRANSPORT (Транспортиране) (Фигура 77).

Погледнете в посоката на планирания път, за да се уверите, че той е ясен.
Хванете лявата или дясната част на кормилото и ръкохватката за управление с присъствие на оператор (Фигура 76) и притиснете ръкохватката към кормилото.
С палеца си завъртете левия или десния орган за управление на движението, за да задвижите машината, както следва:
Завъртете горната част на органа за управление на движението напред, за да придвижите машината напред.
Завъртете горната част на органа за управление на движението назад, за да придвижите машината назад.
Note: Допълнителното завъртане на органа за управление на движението увеличава скоростта на машината спрямо земята.
Important: За незабавно спиране на машината натиснете превключвателя за отбойника (Фигура 78).

Ако аерирате, отпуснете ръкохватката за аериране (Фигура 79), за да повдигнете главата с кухи зъбци; вижте Повдигане на главата с кухи зъбци.

Освободете органа за управление на движението и го оставете да се премести в позиция NEUTRAL (Неутрално).
Освободете ръкохватка за управление с присъствие на оператор.
Повдигнете и заключете напълно кормилото, за да задействате ръчната спирачка; вижте Задействане на ръчната спирачка.
Note: Машината се задвижва с намалена променлива скорост по всяко време, когато главата с кухи зъбци е вдигната.
Стартирайте двигателя и преместете органа за управление на газта в позиция FAST (Бързо); вижте Стартиране на двигателя.
Спуснете кормилото, за да освободите ръчната спирачка; вижте Освобождаване на ръчната спирачка.
Натиснете дясната страна на превключвателя за транспортиране/аериране в положение AERATE (Аериране) (Фигура 80).

В информационния център се показват текущата дълбочина на дупката и разстоянието между дупките (Фигура 81).

Погледнете в посоката на планирания път, за да се уверите, че той е ясен.
Хванете лявата или дясната част на кормилото и ръкохватката за управление с присъствие на оператор (Фигура 80) и притиснете ръкохватката към кормилото.
С палеца си завъртете горната част на левия или десния орган за управление на движението, за да задвижите машината напред.
Note: По време на аерирането машината се движи със скорост, която отговаря на избраното от вас целево разстояние между дупките.
Когато използвате блокировката за скоростта спрямо земята, освобождаването на ръкохватката за аериране без промяна на позицията на органа за управление на движението кара машината да поддържа скоростта спрямо земята, подобно на круиз контрола на автомобил.
Задвижването на машината в посока назад изключва ефекта на круиз контрола и кара машината да се движи с променлива скорост спрямо земята.
Когато вдигате главата, за да завъртите машината за ново преминаване, можете да увеличите скоростта спрямо земята, като преместите органа за управление на движението по-напред. Когато върнете органа за управление на движението в позиция NEUTRAL (Неутрално), машината забавя скоростта си на движение до необходимата скорост спрямо земята за разстоянието между дупките за аериране.
Използвайте предната гума, за да определите точката на спускане, когато аерирате в режим на забавено спускане.
Натиснете горната част на превключвателя за управление на спускането (Фигура 82) в положение DROP-DELAY (Забавено спускане).

Задвижвайте машината в посока напред; вижте Управление на машината в режим на аериране.
Когато предната гума премине през периметъра на зоната за аериране, затворете лявата или дясната ръкохватка за аериране (Фигура 83).
Note: Главата с кухи зъбци се движи и спуска, докато машината се движи напред, пресичайки целевата зона за аериране.

Използвайте предната гума (Фигура 84), за да определите точката на повдигане, когато сте в режим на забавено спускане.

За да повдигнете главата с кухи зъбци, изпълнете 1 от следните действия:
Когато предната гума премине през периметъра на зоната за аериране, освободете ръкохватката за аериране (Фигура 85).
Note: Машината забавя вдигането на главата с кухи зъбци, докато главата с кухи зъбци не достигне целевото място, което сте определили с помощта на предната гума и сте освободили ръкохватката за аериране.

Задвижвайте машината в посока назад; вижте Задвижване на машината в посока назад.
Натиснете горната част на превключвателя за управление на спускането (Фигура 86) в положение IMMEDIATE-DROP (Незабавно спускане).
Note: Светлината в превключвателя светва.

Задвижвайте машината в посока напред; вижте Управление на машината в режим на аериране.
Затворете лявата или дясната част на ръкохватката за аериране (Фигура 87).
Note: Главата с кухи зъбци веднага се спуска и започва да аерира.

За да повдигнете главата с кухи зъбци, изпълнете 1 от следните действия:
Освободете ръкохватката за аериране (Фигура 88).
Note: Машината незабавно вдига главата с кухи зъбци.

Задвижвайте машината в посока назад; вижте Задвижване на машината в посока назад.
Ако сте спуснали главата с кухи зъбци, отпуснете ръкохватката за аериране (Фигура 89).

Освободете органа за управление на движението и го оставете да се премести в позиция NEUTRAL (Неутрално).
Докато държите ръкохватката за управление с присъствие на оператор на кормилото, бавно завъртете горната част на органа за управление на движението назад (Фигура 90).

Освободете органа за управление на движението и го оставете да премине в положение NEUTRAL (Неутрално) и освободете ръкохватката за управление с присъствие на оператор (Фигура 91).

Отдалечете се от превключвателя за отбойника (Фигура 92).
Note: Пружина в превключвателя за отбойника го нулира.

Хванете лявата или дясната част на кормилото и ръкохватката за управление с присъствие на оператор (Фигура 93) и притиснете ръкохватката към кормилото.

Задвижете машината, вижте Управление на машината в режим на транспортиране или Управление на машината в режим на аериране.
Използвайте маркера за линия, за да подравните редовете за аериране (Фигура 94).

Машината използва 2 брояча за регистриране на аерираната площ и обема на изместената почвена ядка. Използвайте информацията от тези броячи, за да изчислите количеството на наторяване на повърхностния слой, което трябва да се приложи върху аерираната(ите) тревна(и) площ(и).
Броячът за зона 1 не е защитен с ПИН код и е предназначен за нулиране от оператора на машината.
Note: Ако операторът записва брояча на зона 1 за всеки обект за аериране, можете да изчислите количеството на горния почвен слой и изискванията за доставка за всеки обект.
Броячът на зона 2 е защитен с ПИН код и е предназначен за нулиране от ръководителя или от упълномощено от него лице.
Аерираната площ се показва като мерни единици в m2 (SI) или футове2 (английски).
Обемът на изместената проба се показва като мерни единици в m3 (SI) или ярдове3 (английски).
Когато преглеждате броячите на обема на изместените проби, машината изчислява обема, като използва диаметъра на зъбците и количеството на зъбците, които сте въвели в информационния център.
Important: Ако диаметърът на зъбците и/или стойността(ите) на количеството на зъбците са неправилни преди аерирането на обекта, информационният център ще изчисли и покаже неправилни стойности на обема на ядрото за зона 1 и зона 2. Ако стойностите на диаметъра и/или количеството се променят след аерирането, информационният център ще промени показаните стойности на обема.
Паркирайте машината върху равна повърхност.
Уверете се, че двигателят работи или ключът за запалването е в положение RUN (Работи).
В информационния център преминете към MAIN MENU (Главно меню).
Натиснете бутона надолу, докато се избере опцията SERVICE (Услуги), след което натиснете бутона за избор (Фигура 95).

В екрана SERVICE (Услуги) натиснете бутона надолу, докато се избере опцията STATISTICS (Статистика), след което натиснете бутона за избор (Фигура 96).

Note: Броячът AREA (Площ) се показва в екрана STATISTICS (Статистика).

В екрана STATISTICS (Статистика) натиснете бутона надолу, докато се избере опцията AREA 1 (Зона 1) (Фигура 98).

Запишете площта на аериране и обема на почвената ядка в работен лист; вижте примера по-долу.
|
Дата |
Курс (ако има няколко) |
Място |
Площ за аериране |
Обем на ядката |
Натиснете бутона за избор, за да преминете към екрана за нулиране на площта и обема.
В RESET AREA AND VOLUME SCREEN (екрана за нулиране на площта и обема), натиснете бутона за избор.
Note: Информационният център показва екрана за статистически данни, а броячите за площ и обем се нулират на 0.
Note: Ако не нулирате брояча за зона 1, броячите за площ и обем продължават да натрупват данни.

Повторете стъпки 1 до 4 при необходимост.
Натиснете бутона за връщане назад, за да се върнете към главното меню.
Note: Нулирането на броячите на AREA 2 (Зона 2) не нулира броячите на AREA 1 (Зона 1).
Въведете ПИН кода за достъп до защитени менюта; вижте Достъп до защитените менюта.
В екрана STATISTICS (Статистика) натиснете бутона надолу, докато се избере опцията AREA 2 (Зона 1) (Фигура 100).

Ако е необходимо, запишете данните за площта на аериране и обема на почвеното ядро.
Натиснете бутона за избор, за да преминете към екрана за нулиране на площта и обема.
В RESET AREA AND VOLUME SCREEN (екрана за нулиране на площта и обема), натиснете бутона за избор (Фигура 101).
Note: Информационният център показва екрана за статистически данни, а броячите за площ и обем се нулират на 0.
Note: Ако не нулирате брояча за зона 2, броячите за площ и обем продължават да натрупват данни.

Натиснете бутона за връщане назад, за да се върнете към главното меню.
Монтирайте сервизната ключалка, преди да извършвате техническо обслужване на главата с кухи зъбци или когато съхранявате машината за повече от няколко дни.
Ако главата с кухи зъбци е повдигната и не е фиксирана, тя може да се спусне неочаквано и да нарани вас или околните.
При всяко сервизно обслужване на главата с кухи зъбци, включително смяна на зъбците или предпазителите за тревни площи, използвайте сервизната ключалка, за да закрепите главата с кухи зъбци в повдигнато положение.
Повдигнете главата с кухи зъбци.
Паркирайте машината на равна повърхност; повдигнете и заключете кормилото, за да задействайте ръчната спирачка; изключете двигателя; извадете контактния ключ и изчакайте всички движещи се части да спрат.
Свалете капака на главата с кухи зъбци; вижте Отстраняване на капака на главата с кухи зъбци.
Отстранете щифта, който закрепва сервизната ключалка към страничната плоча (Фигура 102).

Завъртете сервизната ключалка назад и я поставете върху опорния щифт на главата с кухи зъбци.
Закрепете ключалката към опорния щифт с помощта на фиксиращия щифт.
Ако е необходимо, монтирайте капака на главата с кухи зъбци; вижте Монтиране на капака на главата с кухи зъбци.
Паркирайте машината на равна повърхност; повдигнете и заключете кормилото, за да задействайте ръчната спирачка; изключете двигателя; извадете контактния ключ и изчакайте всички движещи се части да спрат.
Ако е монтиран капакът на главата с кухи зъбци, го свалете; вижтеОтстраняване на капака на главата с кухи зъбци.
Отстранете щифта, който закрепва сервизната ключалка към опорния щифт на главата с кухи зъбци (Фигура 103).

Завъртете сервизната ключалка надолу и я поставете върху опорния щифт на страничната плоча.
Закрепете ключалката към опорния щифт с помощта на фиксиращия щифт.
Монтирайте капака на главата с кухи зъбци; вижте Монтиране на капака на главата с кухи зъбци.
Important: Смяна на повреден зъбец с такъв със същата дължина. Различните дължини на зъбците влияят отрицателно върху външния вид на дупките.
Различните дължини на зъбците влияят на външния вид на дупките.
Вижте илюстрациите в Монтиране на предпазители за тревни площи, държачи за зъбци и зъбци.
Повдигнете главата с кухи зъбци и я заключете в позиция със сервизната ключалка.
Паркирайте машината на равна повърхност; повдигнете и заключете кормилото, за да задействайте ръчната спирачка; изключете двигателя; извадете контактния ключ и изчакайте всички движещи се части да спрат.
Разхлабете болтовете на държача на зъбците и извадете старите зъбци.
Поставете новите зъбци в държача за зъбци.
Затегнете болтовете на държача на зъбците с въртящ момент от 40,6 N∙m.
Повторете тази процедура за оставащите рамена, ако е необходимо.
Използвайте приложението за показване на височината от земята, за да проверите бързо текущата височина от земята почвата на зъбците.
Приложението придвижва главата надолу до предварително калибрираната позиция; след като главата е в позиция, можете да проверите разстоянието на върховете на зъбците от земята.
Уверете се, че главата с кухи зъбци е повдигната.
Паркирайте машината на равна повърхност; повдигнете и заключете кормилото, за да задействайте ръчната спирачка; изключете двигателя; извадете контактния ключ и изчакайте всички движещи се части да спрат.
Свалете капака на главата с кухи зъбци; вижте Отстраняване на капака на главата с кухи зъбци.
Завъртете ремъчната шайба на главата с кухи зъбци (Фигура 104), докато най-външните зъбци се подравнят най-близо до земята.
Important: Дръжте пръстите си далеч от мястото, където ремъкът се съединява и отделя от ролката, за да не притиснете пръстите си.


Монтирайте капака на главата с кухи зъбци; вижте Монтиране на капака на главата с кухи зъбци.
Въведете ПИН кода за достъп до защитени менюта; вижте Достъп до защитените менюта.
В информационния център преминете към MAIN MENU (Главно меню).
Натиснете бутона надолу, докато се избере опцията SERVICE (Услуги), след което натиснете бутона за избор (Фигура 105).

Натиснете бутона надолу на информационния център, за да преминете към опцията GROUND HEIGHT (Височина от земята), след което натиснете бутона за избор.
Натиснете бутона надолу на информационния център, за да преминете към опцията RECALL CALIBRATION (Показване на калибрирането), след което натиснете бутона за избор.
На екрана Recall Ground Height (Показване на височина от земята) (Фигура 106) натиснете бутона за избор.

На екрана Head Will Lower (Главата ще се спусне) (Фигура 107) натиснете бутона за избор.

Note: Показва се съобщението за спускане на главата и главата с кухи зъбци се спуска.
Наблюдавайте най-външните зъбци за следните състояния на отклонения от калибриране.
Ако зъбците започнат да проникват в почвата, натиснете бутона за избор (Фигура 108) и стартирайте приложението TEACH GROUND HEIGHT (Обучение на височината от земята); вижтеИзпълнение на приложението за обучение на височината от земята.
Ако зъбците са над земята – натиснете бутона за избор и стартирайте приложението TEACH GROUND HEIGHT (Обучение на височината от земята); вижте Изпълнение на приложението за обучение на височината от земята.

Ако най-външните зъбци леко докоснат земята, натиснете бутона за избор, за да повдигнете главата с кухи зъбци.
Машината пренася тежестта от теглителния модул към главата с кухи зъбци, за да поддържа дълбочината на отвора в различни почвени структури. Въпреки това, ако структурата на почвата е достатъчно твърда, за да не позволява пълна дълбочина на аериране, може да е необходимо допълнително пренасяне на тежестта на главата с кухи зъбци. Машината е фабрично настроена за нормално пренасяне на тежестта. За да увеличите натиска надолу на пружините за пренасяне на тежестта, процедирайте по следния начин:
Внезапното освобождаване на пружинните плочи може да доведе до нараняване.
Потърсете помощта на друго лице, за да регулирате пружината за пренасяне на тежестта.
Паркирайте машината на равна повърхност; повдигнете и заключете кормилото, за да задействайте ръчната спирачка; изключете двигателя; извадете контактния ключ и изчакайте всички движещи се части да спрат.
Разхлабете предната фланцова контрагайка и носещия болт, които закрепват плочата с пружинно обтягане към опорната скоба на главата с кухи зъбци (Фигура 109).
Note: Не сваляйте контрагайката и носещия болт.

Отстранете задната фланцова контрагайка, която закрепва скобите на пружината към опорната скоба.
Note: Не сваляйте носещия болт.
Поставете тресчотка или щанга с диаметър ½" в квадратния отвор в плочата с пружинно обтягане (Фигура 110).

Завъртете тресчотката или щангата, за да освободите напрежението върху задния носещ болт и го извадете от горния отвор.
Note: Горният отвор е нормалната позиция за пренасяне на тежестта.
Завъртете плочата с пружинно обтягане, докато се подравни с долния отвор в опорната скоба, поставете носещ болт през отворите в плочата и скобата.
Note: Долният отвор е по-високата позиция за пренасяне на тежестта. Завъртането на пружинните плочи нагоре увеличава пренасянето на тежестта.
Закрепете носещия болт към опорната скоба и плочата с пружинно обтягане с фланцовата контрагайка.
Затегнете контрагайките с въртящ момент от 37 до 45 N·m.
За оптимално качество на дупките и производителност на машината аерирайте, като използвате автоматичната система за следене на земята.
Използвайте ръчно следене на земята само ако сензорът за положението на зъбците е повреден.
Паркирайте машината на равна повърхност; повдигнете и заключете кормилото, за да задействайте ръчната спирачка; изключете двигателя; извадете контактния ключ и изчакайте всички движещи се части да спрат.
Свалете капака на главата с кухи зъбци; вижте Отстраняване на капака на главата с кухи зъбци.
Отстранете фиксиращия щифт, който закрепва щифта на ограничителя на дълбочината и дистанционните елементи към ограничителната скоба (Фигура 111 и Фигура 112).


Позиционирайте дистанционните елементи над или под ограничителната скоба, за да регулирате дълбочината на пробовземане.
С всички дистанционни елементи в горната част на ограничителната скоба настройката за дълбочина е 10,7 см.
Дебелите дистанционни елементи се равняват на стъпка от 19 мм.
Тънкият дистанционен елемент се равнява на стъпка за дълбочина от 9,5 мм.
Note: Трябва да монтирате всички дистанционни елементи, независимо от тяхната позиция.
Сглобете щифта за ограничаване на дълбочината и дистанционните елементи към ограничителната скоба с помощта на фиксиращия щифт.
Повторете стъпки 3 до 5 от другата страна на машината.
Important: Уверете се, че разположението на дистанционните елементи над и под лявата и дясната ограничителна скоба е еднакво.
Монтирайте капака на главата с кухи зъбци; вижте Монтиране на капака на главата с кухи зъбци.
Note: Ако аерирате в ръчен режим, трябва да настроите информационния център за режим на ръчно следене на земята всеки път, когато стартирате двигателя.
Завъртете ключа на запалването в положение RUN (Работно).
Note: Не стартирайте двигателя.
Въведете ПИН кода за достъп до защитени менюта; вижте Достъп до защитените менюта.
В информационния център преминете към MAIN MENU (Главно меню).
Натиснете бутона надолу, докато се избере опцията MACHINE SETTINGS (Настройки на машината), след което натиснете бутона за избор.
Натиснете бутона надолу, докато се избере опцията MANUAL AERATION (Ръчно аериране), след което натиснете бутона за избор (Фигура 113), за да зададете ръчно аериране на ON (Вкл.).

Стартирайте двигателя.
Аерирайте с помощта на Аериране в режим на забавено спускане или на Аериране в режим на незабавно спускане.
Note: Когато изключите двигателя и го стартирате, машината преминава по подразбиране в режим на автоматично следене на земята.
Паркирайте машината на равна повърхност; повдигнете и заключете кормилото, за да задействайте ръчната спирачка; изключете двигателя; извадете контактния ключ и изчакайте всички движещи се части да спрат.
Свалете капака на главата с кухи зъбци; вижте Отстраняване на капака на главата с кухи зъбци.
Отстранете фиксиращия щифт, който закрепва щифта на ограничителя на дълбочината и дистанционните елементи към ограничителната скоба (Фигура 114).


Поставете всички дистанционни елементи над ограничителната скоба.
Сглобете щифта за ограничаване на дълбочината и дистанционните елементи към ограничителната скоба с помощта на фиксиращия щифт.
Note: Трябва да приберете всички дистанционни елементи.
Повторете стъпки 3 до 5 от другата страна на машината.
Монтирайте капака на главата с кухи зъбци; вижте Монтиране на капака на главата с кухи зъбци.
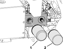
При регулирано прехвърляне на тежестта е възможно да се аерират тревни площи, които са достатъчно твърди, за да може машината да повдигне задните гуми от земята. Това може да доведе до неравномерно разстояние между дупките.
Ако се получи такова повдигане, можете да добавите допълнителни плочи с противотежест към осевата тръба на задната рама. Всяка плоча с противотежест увеличава теглото на машината с 28,5 kg. Можете да добавите до 2 плочи. Вижте Parts Catalog (Каталог с части) на вашата машина за номерата на частите на противотежестта и хардуера.
Необходими инструменти: 15 мм гнездо и гаечен ключ
Important: Не работете с двигателя при отворен байпасен клапан за повече от 10-15 секунди.
Паркирайте машината върху равна повърхност, ако е възможно.
Повдигнете и заключете кормилото, за да задействайте ръчната спирачка; изключете двигателя; извадете контактния ключ и изчакайте всички движещи се части да спрат.
Свалете 2 болта с фланцови глави, които фиксират бункера за съхранение към скобата на бункера (Фигура 115).

Намерете капака на винта на байпасния клапан между двигателя и хидравличната помпа, както е показано на Фигура 116).

С помощта на 15 мм гнездо и гаечен ключ завъртете байпасния клапан обратно на часовниковата стрелка на 1½ оборота.
Important: Не завъртайте байпасния клапан на повече от 1½ оборота.
Ако теглите машината, издърпайте я с помощта на предния обръч за привързване (Фигура 117).
Important: Не бутайте/теглете машината на повече от 30,5 m или по-бързо от 0,6 km/h, защото може да се получи повреда на хидравличните компоненти.

Спуснете кормилото, за да изключите ръчната спирачка, преди да бутате/теглите машината.
Important: Преди да преместите машината, трябва да спуснете кормилото, за да изключите ръчната спирачка.
Important: Трябва да затворите байпасния клапан, за да придвижвате машината. Не се опитвайте да работите със системата за задвижване с отворен байпасен клапан.
Намерете винта на байпасния клапан между двигателя и хидравличната помпа.
Note: Местоположението на капака на винта на байпасния клапан е показано на Фигура 118.

С помощта на 15 мм гнездо и гаечен ключ завъртете байпасния клапан по посока на часовниковата стрелка на 1½ оборота.
Note: Не пренатягайте байпасния винт.
Използвайте 15 мм гаечен ключ, за да монтирате капака на байпасния винт върху хидравличната помпа.
Монтирайте бункера за съхранение към скобата за бункера с помощта на 2 болта с фланцова глава.
Ако двигателят спре да работи, докато главата с кухи зъбци е спусната и зъбците са забити в почвата, и не можете да стартирате двигателя, изпълнете Повдигане на главата с кухи зъбци с помощта на стартера или Демонтиране на държачите на зъбците от рамената.
Завъртете ключа в положение RUN (Работно).
В информационния център преминете към MAIN MENU (Главно меню).
Натиснете бутона надолу, докато се избере опцията SERVICE (Услуги), след което натиснете бутона за избор (Фигура 119).

Натиснете бутона надолу, докато се избере опцията SERVICE LIFT (Услуга за повдигане), след което натиснете бутона за избор (Фигура 120).
Note: Опцията за услугата за повдигане се променя на ON (Вкл.).

Преместете ключа в положение START (Стратиране) и завъртете стартера за 10 секунди.
Important: Не задържайте стартера за повече от 10 секунди наведнъж. Ако зъбците не са разчистили земята, оставете 30 секунди за охлаждане между опитите. Неспазването на тези инструкции може да доведе до изгаряне на мотора на стартера.
Note: Главата с кухи зъбци повдига зъбците от земята.
Important: Преди да придвижите машината, зъбците напълно разчистват земята.
Отворете байпасния клапан, вижте Заобикаляне на хидравличната помпа и преместване на машината.
Издърпайте/избутайте машината до близко място, за да продължите обслужването или да я натоварите на ремарке.
Important: Не дърпайте/бутайте машината на повече от 30,5 m и не по-бързо от 1,6 km/h, защото може да възникне повреда в хидравликата.
Извадете държачите на зъбците от рамената.
Отворете байпасния клапан, вижте Заобикаляне на хидравличната помпа и преместване на машината.
Издърпайте/избутайте машината до близко място, за да продължите обслужването или да я натоварите на ремарке.
Important: Не дърпайте/бутайте машината на повече от 30,5 m и не по-бързо от 1,6 km/h, защото може да възникне повреда в хидравликата.
Правете много постепенни завои по време на аериране. Никога не извършвайте остри завои с активирана глава с кухи зъбци. Планирайте маршрута за аериране, преди да спуснете аератора.
Винаги следете за това, което се намира пред вас в посока на движението напред. Избягвайте аерирането в близост до сгради, огради и друго оборудване.
Често поглеждайте назад, за да се уверите, че машината работи правилно и че я поддържате подравнена с предишните преходи.
Винаги почиствайте участъка от всички повредени части на машината, като например счупени зъбци и пр., за да предотвратите попадането им в косачки или друго оборудване за поддръжка на тревните площи.
Сменяйте счупените зъбци и проверявайте и коригирайте повредите в тези, които все още могат да се използват. Преди да възобновите работа, отстранете всякакви други повреди в машината.
При аериране с по-малка от пълната широчина на машината можете да отстраните зъбците, но главите на зъбците трябва да останат монтирани на рамената, за да се гарантира правилното балансиране и работа на машината.
Тази машина аерира по-дълбоко от повечето аератори за зелени площи. При местни или модифицирани зелени площи и стартови площадки при избутване на цялата сърцевина може да е трудно да се изхвърлят по-дълбоките и по-дълги кухи зъбци. Това се дължи на по-твърдата местна почва, която се залепва за края на зъбеца. Зъбците за зелени площи/стартови площадки със странично изхвърляне от производителя остават по-чисти и намаляват времето, необходимо за почистване на зъбците. В крайна сметка ще отстраните това състояние с продължителни програми за аериране и подхранване.
Тази машина е проектирана така, че да осигурява възможно най-голяма дълбочина; Въпреки това при някои условия на тревните площи предпазителите на тревните площи и/или болтовете на предпазителите на тревните площи могат да причинят повреди при аериране на пълна дълбочина. Ако при аериране на максималната допустима дълбочина (с всякаква дължина на зъбците) след извършване на калибрирането на височината от земята, болтовете на предпазителя за тревни площи задират или докосват тревата, намалете дълбочината с една стъпка (¼").
Ако почвата е прекалено твърда за постигане на желаната дълбочина на аериране, главата с кухи зъбци може да започне ритмично да подскача. Това се дължи на твърдия почвен пласт, в който се опитват да проникнат зъбците. Коригирайте това състояние, като направите следните опити:
Не извършвайте аериране, ако почвата е прекалено твърда или суха. Постигате най-добрите резултати от аериране след дъжд или след ежедневно напояване на тревната площ.
Ако се опитвате да използвате глава с 3 зъбеца, сменете я с глава с 4 зъбеца или намалете броя на зъбците на рамото. Опитайте се да поддържате симетрична конфигурация на зъбците, за да натоварите рамената равномерно.
Ако почвата е твърдо уплътнена, намалете проникването на аератора (настройката за дълбочина), почистете ядрата, полейте тревата и аерирайте отново при по-дълбоко проникване.
Аерирането на почвени видове, разположени върху твърд подпочвен слой (т.е. песъчливо/почвен повърхностен слой върху скалиста почва), може да доведе до нежелано качество на дупките. Това се случва, когато дълбочината на аериране е по-голяма от дебелината на повърхностния почвен слой, а проникването в подпочвения слой е силно затруднено. Когато зъбците влязат в контакт с този твърд подпочвен слой, аераторът може да се повдигне и да предизвика удължаване на горната част на дупките. Намалете достатъчно дълбочината на аериране, за да избегнете проникване в твърдия подпочвен слой.
Качеството на входната дупка се влошава, когато дупката е прорязана (изтеглена напред).
Ако качеството на входа на дупката се влошава, проверете калибрирането на височината от земята на зъбците, вижте Проверка на калибрирането на височината от земята на зъбците.
Поради двуредовата конструкция главата с мини зъбци изисква разстоянието между дупките да бъде 6,3 см. Скоростта спрямо земята е от решаващо значение, за да се запази външният вид на разстоянието между дупките от 3,2 см. Ако разстоянието между дупките изисква малка промяна, вижте Регулиране на разстоянието между дупките.
При използване на глава с мини зъбци или по-големи солидни зъбци, кореновата структура на тревата е важна за предотвратяване на увреждане на тревата поради разкъсване на кореновата зона. Ако централните 2 рамена започнат да повдигат тревата или ако повредата на кореновата зона е прекомерна, процедирайте, както следва:
Увеличете разстоянието между дупките
Намалете размера на зъбците
Намалете дълбочината на зъбците
Отстранете част от зъбците
Повдигането, което твърдият зъбец предизвиква, когато се отделя от тревата, може да доведе до увреждане на тревата. Това повдигане може да разкъса кореновата зона, ако гъстотата на зъбците или диаметърът на зъбците са твърде големи.
При аериране с по-дълги солидни зъбци (напр. с дължина ⅜ x 4") или с иглени зъбци предната част на дупките може да стане прорязана или набраздена. За да възстановите отличното качество на отвора за тази конфигурация, опитайте следното:
Калибрирайте височината от земята на зъбците; вижте Калибриране на височината от земята на зъбците.
Намалете високите обороти на празен ход на двигателя до 2800-2900 об/мин.
Note: Тъй като скоростта на движение и на главата с кухи зъбци се увеличава и намалява заедно с оборотите на двигателя, разстоянието между дупките не се влияе.
Ако забавянето на оборотите на двигателя подобри качеството на дупките за по-дългите твърди или иглени зъбци, регулирайте амортисьора на рото-връзката.
Note: При повечето условия фабричната настройка работи най-добре.
Ако предната част на дупките е с прорези или набраздявания, по-твърдата настройка на рото-връзката помага да се противодейства на натискането на дупките и да се подобри качеството на дупките.
Ако задната част на дупките е с прорези или с набраздявания, по-меката настройка на рото-връзката помага за подобряване на качеството на дупките.
Note: Трябва да смените позицията на амортисьора на рото-връзката, ако се върнете към зъбци за пробовземане или някой от мини зъбците.
Паркирайте машината на равна повърхност; повдигнете и заключете кормилото, за да задействайте ръчната спирачка; изключете двигателя; извадете контактния ключ и изчакайте всички движещи се части да спрат.
Свалете капака на главата с кухи зъбци; вижте Отстраняване на капака на главата с кухи зъбци.
Закрепете главата с кухи зъбци с помощта на сервизната ключалка; вижте Поддържане на главата с кухи зъбци с помощта на сервизната ключалка.
Note: В завода се поставя по 1 дистанционен елемент за рото-връзката на вала на амортисьора на рото-връзката и по 1 дистанционен елемент в прибрано положение за всяко рамо.
Note: Регулирането на амортисьорите на рото-връзката ви позволява да работите с машината при пълни обороти на двигателя (3400 об/мин), но може да се наложи да аерирате при по-ниски обороти на двигателя, за да подобрите качеството на отворите.
Отстранете 2-те фланцови контрагайки, които закрепват вала на амортисьора на рото-връзката към задната рама на машината (Фигура 121).

Отстранете дистанционния елемент (ако е прибран) и закалените овални шайби.
Завъртете връзката на амортисьора и вала на амортисьора надолу (Фигура 122).

Разположете дистанционния елемент на рото-връзката, за да коригирате следните условия на издълбаване на дупките:
Note: Всеки дистанционен елемент е равен на 12,7 мм. Дистанционният елемент на долната броня трябва да остане монтиран към вала на амортисьора.
Ако предната част на дупките е с процепи или туфи, поставете дистанционните елементи над задната рамка в прибрано положение.
Ако задната част на дупките е с прорези или туфи – поставете и двата дистанционни елемента над задната рамка, от всяка страна на вала на амортисьора на рото-връзката.
Завъртете връзката на амортисьора и вала на амортисьора нагоре и поставете шпилките през отворите в задната рама на машината.
Закрепете вала на амортисьора и дистанционните елементи към задната рама с помощта на закалените овални шайби и контрагайки (Фигура 123).

Затегнете фланцовите контрагайки с въртящ момент от 47 до 61 N·m.
Повторете стъпките от 1 до 7 за следващите 2 рамена.
Приберете сервизната ключалка; вижте Прибиране на сервизната ключалка.
Монтирайте капака на главата с кухи зъбци; вижте Монтиране на капака на главата с кухи зъбци.
Извършете процедурата за калибриране на височината от земята на зъбците; вижте Калибриране на височината от земята на зъбците.
Преместете машината в тестова зона и аерирайте тревата, за да сравните качеството на дупките.
Ако качеството на дупките се подобри, повторете стъпките в Подготовка на машината, Регулиране на амортисьорите на рото-връзката и Монтиране на капака на главата с кухи зъбци, за да регулирате амортисьора на рото-връзката при другите 3 рамена.
Паркирайте машината на равна повърхност; повдигнете и заключете кормилото, за да задействайте ръчната спирачка; изключете двигателя; извадете контактния ключ и изчакайте всички движещи се части да спрат.
Спуснете главата с кухи зъбци или я обезопасете със сервизната ключалка, когато не работите с машината.
Съхранявайте всички части на машината в добро работно състояние и затягайте всички механични устройства.
Заменете всички износени, повредени или липсващи стикери.
| Интервал на техническо обслужване | Процедура по поддръжка |
|---|---|
| Преди всяка употреба или ежедневно |
|
Important: Не използвайте солена или регенерирана вода за почистване на машината.
Important: Не мийте машината с водоструйка.
Паркирайте машината на равна повърхност; повдигнете и заключете кормилото, за да задействайте ръчната спирачка; изключете двигателя; извадете контактния ключ и изчакайте всички движещи се части да спрат.
Измийте старателно машината.
Използвайте градински маркуч без накрайник, за да избегнете прокарването на вода покрай уплътненията и замърсяването на смазката на лагерите.
Използвайте четка, за да отстраните залепналия материал.
За почистване на капаците използвайте мек почистващ препарат.
След почистването периодично нанасяйте слой автовакса, за да запазите гланцовото покритие.
Инспектирайте машината за повреди, течове на масло и износване на компоненти и зъбци.
Демонтирайте, почистете и смажете зъбците. Напръскайте с леко масло лагерите на главата с кухи зъбци (коляното и демпферните връзки).
Important: Ако съхранявате машината за повече от няколко дни, обезопасете главата с кухи зъбци с помощта на сервизната ключалка.
Има обръчи за закрепване в предната и задната страни на машината (Фигура 124, Фигура 125 и Фигура 126).
Note: Използвайте правилно оценени ремъци, одобрени от DOT, за да завържете машината; вижте Технически данни за теглото на машината.



Управлението на машината по улица или път без сигнализация, светлини, отражателни маркировки или емблема за бавно движещо се превозно средство е опасно и може да доведе до инциденти, причиняващи телесно нараняване.
Не работете с машината по обществени пътища или магистрали.
Important: Използвайте широки рампи, когато натоварвате машината на ремарке или камион.
Натоварете машината на ремаркето или камиона (за предпочитане е главата с кухи зъбци да бъде напред).
Повдигнете и заключете кормилото, за да задействайте ръчната спирачка; изключете двигателя; извадете контактния ключ и изчакайте всички движещи се части да спрат.
Закрепете главата с кухи зъбци с помощта на сервизната ключалка; вижте Поддържане на главата с кухи зъбци с помощта на сервизната ключалка.
Затворете отсекателния клапан за гориво, вижте Кранче за спиране на притока на гориво.
В точките на завързване завържете машината към ремаркето или камиона с въжета, вериги или ремъци; вижте Точки за привързване
| Тегло | 745 kg или 829 kg с 2 допълнителни тежести |
| Ширина | Минимум 130 см |
| Дължина | Минимум 267 см |
| Ъгъл на рампата | Максимална стъпка 3,5/12 (16°) |
| Посока на натоварване | С главата с кухи зъбци напред (за предпочитане) |
| Капацитет на теглене на превозното средство | По-голямо от брутното тегло на ремаркето (БТР) |
Note: Свалете безплатно копие на електрическите или хидравличните схеми, като посетите www.Toro.com и потърсите Вашата машина чрез връзката към ръководствата на началната страница.
Note: Вижте ръководството за оператора на двигателя за допълнителни процедури за поддръжка.
Note: Определете лявата и дясната страна на машината от нормалното работно положение.
Паркирайте машината на равна повърхност; повдигнете и заключете кормилото, за да задействайте ръчната спирачка; изключете двигателя; извадете контактния ключ и изчакайте всички движещи се части да спрат. Преди настройка, обслужване, почистване или съхранение на машината изчакайте двигателят да изстине.
Изпълнявайте само инструкциите за поддръжка, описани в това ръководство. Ако машината се нуждае от основен ремонт или имате нужда от помощ, свържете се с оторизиран дистрибутор на Toro.
Осигурете безопасно работно състояние на машината, като поддържате затегнати гайките, болтовете и винтовете.
Ако е възможно, не извършвайте дейности по поддръжката, докато двигателят работи. Стойте далеч от движещи се части.
Внимателно освобождавайте налягането от компоненти с акумулирана енергия.
Ежедневно проверявайте болтовете за монтиране на зъбците, за да сте сигурни, че са затегнати съгласно спецификацията.
След извършване на поддръжка или регулиране на машината, проверете дали са монтирани всички предпазители и дали кожухът е фиксиран в затворено състояние.
| Интервал на техническо обслужване | Процедура по поддръжка |
|---|---|
| След първите 8 часа |
|
| След първите 50 часа |
|
| Преди всяка употреба или ежедневно |
|
| На всеки 25 часа |
|
| На всеки 50 часа |
|
| На всеки 100 часа |
|
| На всеки 200 часа |
|
| На всеки 250 часа |
|
| На всеки 400 часа |
|
| На всеки 500 часа |
|
| Преди съхранение |
|
| Годишно |
|
Important: Вижте ръководството за оператора на двигателя за допълнителни процедури за поддръжка.
Направете копия от тази карта за ежедневна рутинна употреба.
| Проверявана позиция при поддръжка | За седмица: | ||||||
|---|---|---|---|---|---|---|---|
| пон. | вт. | ср. | четв. | пет. | съб. | нед. | |
| Проверете функционирането на блокировката за безопасност. | |||||||
| Проверете функционирането на ръчната спирачка. | |||||||
| Проверете нивото на моторното масло. | |||||||
| Проверете нивото на горивото. | |||||||
| Проверете въздухопречиствателя. | |||||||
| Проверете двигателя за замърсявания. | |||||||
| Проверете за необичайни шумове от двигателя. | |||||||
| Проверете за необичайни шумове при работа. | |||||||
| Проверете нивото на хидравличната течност. | |||||||
| Проверете хидравличните маркучи за повреди. | |||||||
| Проверете за течове на работни течности. | |||||||
| Проверете функционирането на приборите. | |||||||
| Проверете състоянието на зъбците. | |||||||
| Поправете дребни повреди по боята. | |||||||
Important: Вижте ръководството за оператора на двигателя за допълнителни процедури за поддръжка.
| Инспекцията е извършена от: | ||
| Позиция | Дата | Информация |
| 1 | ||
| 2 | ||
| 3 | ||
| 4 | ||
| 5 | ||
| 6 | ||
| 7 | ||
| 8 | ||
Ако оставите ключа за запалването в ключалката на стартера, някой може да стартира двигателя и сериозно да нарани вас и стоящите наблизо.
Паркирайте машината на равна повърхност; повдигнете и заключете кормилото, за да задействайте ръчната спирачка; изключете двигателя; извадете контактния ключ и изчакайте всички движещи се части да спрат.
Important: Закопчалките на капаците на тази машина са проектирани да останат на капака след сваляне. Разхлабете всички крепежни елементи на всеки капак с няколко завъртания, така че капакът да е разхлабен, но все още прикрепен, след това отново ги разхлабете, докато капакът се освободи. Това ви предпазва от случайно отстраняване на болтовете от фиксаторите.
Паркирайте машината върху равна повърхност.
Повдигнете и заключете напълно кормилото, за да задействате ръчната спирачка; вижте Задействане на ръчната спирачка.
Изгасете двигателя, извадете ключа за запалването и изчакайте всички движещи се части да спрат, преди да напуснете машината; вижте Изгасяне на двигателя.
Оставете машината да изстине.
Ако машината не е подпряна правилно с трупчета или крикови стойки, тя може да се измести или падне, което да предизвика телесни наранявания.
При смяна на приставки, гуми или извършване на друго обслужване използвайте подходящи трупчета, лебедки или крикове.
Уверете се, че машината е паркирана върху солидна, хоризонтална повърхност като циментов под.
Преди да повдигнете машината, демонтирайте всички приставки, които могат да застрашат безопасното и правилно повдигане.
Винаги блокирайте колелата. Използвайте крикови стойки или трупчета от здраво дърво за опори на повдигнатата машина.
Подгответе машината за поддръжка; направете справка с Подготовка на машината за поддръжка.
Блокирайте задните гуми, за да предотвратите движението на машината.
Important: За да предотвратите повреда на електромотора на колелото, не използвайте електромотора на предното колело като точка за повдигане.
Поставете крика здраво под опорното рамото на предното колело (Фигура 127).

Повдигнете с крик предната част на машината от земята.
Поставете криковите стойки или твърдите дървени блокове под предната част на рамата, за да поддържате машината.
Подгответе машината за поддръжка; направете справка с Подготовка на машината за поддръжка.
Блокирайте предната гума, за да предотвратите движението на машината.
Important: За да предотвратите повреда на електромотора на колелото, не използвайте електромотора на задното колело като точка за повдигане.
Поставете крикът здраво под плочата на рамата точно от вътрешната страна на задното колело (Фигура 128).

Note: Ако е възможно, използвайте лебедка, за да повдигнете задната част на машината. Използвайте отворите в корпусите на лагерите на главата с кухи зъбци като точки за закрепване на лебедката (Фигура 129).

Повдигнете (с крик) задната част на машината от земята.
Поставете криковите стойки или твърдите дървени блокове под рамата, за да поддържате машината.
Подравнете монтажната скоба на капака на ремъка със скобата за поддържане на капака на рамата на машината (Фигура 133).

Спуснете капака на ремъка (Фигура 134).

Напълно спуснете дръжката на ключалката, за да закрепите капака (Фигура 135).

Ако машината ви е оборудвана с шнур за заключване на капака на ремъка CE, завийте болта на шнура в отвора в ключалката на капака и затегнете болта (Фигура 136).


Ако машината ви е оборудвана с ключалки CE, разхлабете болта на заключващата планка, докато заключващата планка не застане в прореза отстрани на капака на главата с кухи зъбци (Фигура 138).

Завъртете заключващата планка, за да освободите ключалката (Фигура 138).
Повторете 1 и 2 от другата страна на капака.
Разглобете капака на главата с кухи зъбци на мястото с 4 ключалки (Фигура 137 и Фигура 139).

Повдигнете капака на главата с кухи зъбци от машината (Фигура 140).

Подравнете капака на главата с кухи зъбци към машината, както е показано на Фигура 141.

Закрепете капака на главата с кухи зъбци на мястото с 4 ключалки (Фигура 142).
Ако машината ви е оборудвана с ключалки CE, завъртете заключващата планка, докато се изравни с прореза в страничната част на капака на главата с кухи зъбци (Фигура 143).



Затегнете болта на заключващата планка (Фигура 143).
Повторете стъпки 3 и 4 от другата страна на капака.
| Интервал на техническо обслужване | Процедура по поддръжка |
|---|---|
| На всеки 500 часа |
|
| Годишно |
|
Машината няма гресьорки, които трябва да се смазват.
Important: Лагерите рядко показват дефекти, произтичащи от използваните материали и качеството на производство. Най-честата причина за повреда са влагата и замърсяванията, проникнали през защитните уплътнения. Лагерите, подлежащи на гресиране, изискват редовна поддръжка за отстраняване на вредни замърсявания от контактните им повърхности. Капсулованите лагери разчитат на първоначално напълване със специална грес и устойчиви вътрешни уплътнения, изолиращи замърсяванията и водата от триещите се елементи.
Капсулованите лагери не изискват смазване или краткосрочна поддръжка. Това свежда до минимум потребността от рутинно обслужване и намалява опасността от повреждане на тревното покритие поради замърсяване с грес. При нормална употреба пакетните капсуловани лагери осигуряват добро функциониране и експлоатационен живот, но за избягване на непланирани престои е необходимо да се извършва периодична проверка на състоянието на лагера и неговите уплътнения. Проверявайте лагерите всеки сезон и ги подменяйте, ако са повредени или износени. Лагерите трябва да работят плавно, без нежелателни характеристики като топлина, шум, хлабини или следи от ръжда.
Поради условията на работа тези пакети лагери/уплътнения са подложени на въздействието на външни фактори (напр. пясък, химикали за треви, вода, удари и др.) поради което се смятат за консуматив. Лагери, повредени поради причини, различни от дефекти в материала и качеството на производство, обикновено не се покриват от гаранцията.
Note: Можете да повлияете негативно на лагерите, като използвате неправилни процедури за измиване. Не мийте машината, докато все още е нагорещена, и избягвайте насочване на струя под високо налягане или с голям дебит към лагерите.
Нормално е новите лагери да изхвърлят известно количество грес от уплътненията на новата машина. Тази изхвърлена грес придобива черен цвят поради натрупването на остатъчни замърсявания, а не поради въздействие на прекомерна температура. Практиката е след първоначалните 8 часа работа да избършете това излишно количество грес от уплътненията. Около уплътняващия ръб може винаги да се забележи овлажнен участък. Това няма неблагоприятно въздействие върху експлоатационния живот на лагера и поддържа ръбовете на лагеруването смазани.
Изгасете двигателя преди да проверите нивото на маслото или да доливате масло в картера.
Не променяйте оборотите на регулатора за хода на машината и не допускайте прекомерно високи обороти на двигателя.
| Интервал на техническо обслужване | Процедура по поддръжка |
|---|---|
| На всеки 25 часа |
|
| На всеки 100 часа |
|
Подгответе машината за поддръжка; вижте Подготовка на машината за поддръжка.
Почистете около филтъра за пречистване на въздуха, за да предотвратите навлизането на мръсотия в двигателя и причиняване на щети.
Развийте копчето и свалете капака на въздухопречиствателя (Фигура 144).

Внимателно плъзнете дунапреновия предварителен филтър от хартиения елемент (Фигура 144).
Отвийте гайката на капака и свалете капака, дистанционния елемент и хартиения филтър (Фигура 144).
Important: Сменете дунапреновия елемент, ако е скъсан или износен.
Измийте дунапреновия предварителен филтър с течен сапун и вода. Когато е чист го изплакнете обилно.
Изсушете предварителния филтър, като го изстискате в чиста кърпа (не го изцеждайте).
Поставете от 3 до 6 cl масло върху предварителния филтър (Фигура 145).

Изстискайте предварителния филтър, за да разпределите маслото.
Огледайте хартиения филтър за скъсвания, маслен слой и повреда на гуменото уплътнение (Фигура 146).

Important: Никога не почиствайте хартиения елемент. Сменете хартиения елемент, ако е замърсен или повреден.
Important: За да предотвратите повреда на двигателя, винаги експлоатирайте двигателя с монтирания възел на дунапреновия и хартиения въздухопречиствател.
Внимателно плъзнете дунапреновия предварителен филтър върху хартиения филтър (Фигура 147).

Поставете възела на въздухопречиствателя върху основата на въздухопречиствателя.
Сглобете капака, дистанционния елемент и гайката на капака.
Затегнете гайката с въртящ момент от 11 N∙m.
Монтирайте капака на въздухопречиствателя и обезопасете с копчето.
Тип масло: Висококачествено маслено почистващо средство за двигатели API service SJ или по-висок клас
Вискозитет на маслото: Вижте таблицата по-долу, която следва:

| Интервал на техническо обслужване | Процедура по поддръжка |
|---|---|
| Преди всяка употреба или ежедневно |
|
Двигателят се доставя зареден с масло в картера; независимо от това, преди и след първоначално стартиране на двигателя нивото на маслото трябва да се провери.
Използвайте висококачествено моторно масло, както е описано в Спецификация на двигателното масло.
Important: Не препълвайте картера с масло.Не пускайте двигателя, когато нивото на моторното масло е под долната граница.
Note: Най-доброто време за проверка на моторното масло е когато двигателят е изстинал, преди да бъде стартиран за работа през деня. Ако двигателят вече е работил, преди проверката оставете маслото да се стече в картера за поне 10 минути.
Подгответе машината за поддръжка; вижте Подготовка на машината за поддръжка.
Оставете време на двигателя да изстине.
Почистете около капачката за пълнене с масло и маслоизмервателната щека (Фигура 149).

Извадете маслоизмервателната щека, избършете я и я поставете, докато не е напълно прилепнала.
Извадете маслоизмервателната щека и проверете нивото на маслото.
Нивото на моторното масло трябва да е между маркировките F за пълно и L за ниско ниво на маслоизмервателната щека.
Ако нивото на маслото е под маркировката L за ниско ниво, свалете капачката за пълнене с масло и добавете посоченото масло, докато нивото достигне маркировката F за пълно ниво върху маслоизмервателната щека.
Монтирайте капачката за пълнене с масло и маслоизмервателната щека.
| Интервал на техническо обслужване | Процедура по поддръжка |
|---|---|
| След първите 50 часа |
|
| На всеки 100 часа |
|
Вместимост на картера: приблизително 1,9 L с филтъра.
Стартирайте двигателя и го оставете да работи за 5 минути. Така ще подгреете маслото, за да се източи по-добре.
Паркирайте машината така, че страната за източване да е малко по-ниско от противоположната страна, за да се гарантира пълното източване на маслото, изключете двигателя, повдигнете и заключете напълно кормилото, за да задействате ръчната спирачка, и извадете ключа.
Поставете съд под пробката за източване на маслото и извадете пробката (Фигура 150).
Note: Оставете маслото да изтече напълно.

Завийте пробката за източване на маслото в двигателя и я затегнете.
Note: Изхвърлете отработеното масло в сертифициран център за рециклиране на масла.
Поставете плитък съд под масления филтър и свалете филтъра (Фигура 150).
Note: Изхвърлете използвания маслен филтър в сертифициран център за рециклиране.
Почистете повърхността на филтърния адаптер.
Напълнете новия маслен филтър до дъното на резбата с посоченото масло.
Оставете филтъра да абсорбира маслото в продължение на 2 минути, след което излейте излишното масло.
Нанесете тънък слой от новото масло по уплътнението на филтъра.
Завийте масления филтър в адаптера на филтъра, докато уплътнението докосне адаптера на филтъра (Фигура 150), след което затегнете филтъра с още ½ оборот.

Почистете зоната около капачката за пълнене с масло и маслоизмервателната щека (Фигура 152).

Свалете капачката за наливане на масло и бавно налейте до около 80% от посоченото количество масло през капака на клапаните.
Бавно долейте допълнително масло, за да достигне нивото до отметката F (пълно) на маслоизмервателната пръчка; вижте Спецификация на двигателното масло и Проверка на нивото на моторното масло.
Important: Не препълвайте картера с масло.
Монтирайте капачката за пълнене с масло и маслоизмервателната щека.
| Интервал на техническо обслужване | Процедура по поддръжка |
|---|---|
| На всеки 200 часа |
|
Подгответе машината за поддръжка; вижте Подготовка на машината за поддръжка.
Издърпайте проводниците от запалителните свещи (Фигура 153).

Почистете участъка около свещите.
Използвайте гнездо за запалителни свещи, за да извадите двете свещи и металните уплътнения.
Вид запалителна свещ: Champion RC12YC или еквивалентен
Въздушна междина: 0,75 мм
Погледнете в центъра на двете запалителни свещи (Фигура 154). Ако забележите светлокафяви или сиви петна по изолатора, двигателят работи правилно. Черно покритие на изолатора обикновено показва, че филтърът за пречистване на въздуха е замърсен.
Important: Никога не почиствайте запалителните свещи. Винаги сменяйте запалителните свещи, когато установите черно покритие, износени електроди, маслен филм или пукнатини.

Проверете за междина между централните и страничните електроди.
Огънете страничния електрод, ако междината не е правилна.
Уверете се, че въздушната междина между централния и страничните електроди е правилна, преди да поставите всяка запалителна свещ. Използвайте ключ за запалителна свещ за демонтиране и монтиране на запалителните свещи и калибър/дебеломер за проверка и регулиране на въздушната междина. Поставете нови запалителни свещи, ако е необходимо.
Вкарайте запалителните свещи в дупките за свещи на двигателя.
Използвайте гнездо за запалителни свещи и динамометричен ключ, за да затегнете запалителните свещи с въртящ момент до 27 N∙m.
Поставете кабелите на запалителните свещи към запалителните свещи (Фигура 155).

| Интервал на техническо обслужване | Процедура по поддръжка |
|---|---|
| Преди всяка употреба или ежедневно |
|
Преди всяка употреба проверявайте и почиствайте екрана на двигателя. Отстранете всички натрупвания на трева, замърсявания или други отломки от всмукателната решетка на двигателя.
При определени условия, горивото и горивните изпарения могат да бъдат лесно възпламеними и експлозивни. Пожар или експлозия на гориво може да предизвика изгаряния на вас или други лица и да причини щети на имуществото.
Зареждайте резервоара за гориво на открито, когато двигателят е изключен и студен. Забършете евентуално разлято гориво.
Не пълнете докрай горивния резервоар. Доливайте гориво в горивния резервоар до ниво с 25 мм под долния край на гърловината за пълнене. Празното пространство в горивния резервоар позволява на горивото да се разширява.
Никога не пушете, когато боравите с гориво и стойте далеч от открит пламък или място, където искра може да запали горивните изпарения.
Съхранявайте горивото в чисти, безопасни контейнери, с поставени капачки.
| Интервал на техническо обслужване | Процедура по поддръжка |
|---|---|
| На всеки 100 часа |
|
Important: Никога не монтирайте замърсен филтър, ако е свален от горивната линия.
Подгответе машината за поддръжка; вижте Подготовка на машината за поддръжка.
Затворете кранчето за спиране на притока на гориво (Фигура 156).


Стиснете краищата на скобите на маркуча заедно и ги отдалечете от филтъра.
Свалете филтъра от маркучите за гориво.
Подравнете горивния филтър със стрелката, сочеща към двигателя, и монтирайте маркуча за гориво върху фитингите на филтъра.
Поставете скобите на маркуча в близост до горивния филтър и затегнете скобата.
Забършете евентуално разлято гориво.
Отворете кранчето за спиране на притока на гориво.
При определени условия горивото е изключително запалимо и силно взривоопасно. Пожар или експлозия от горивото може да изгори Вас или други лица и да повреди имущество.
Източете горивото от горивния резервоар когато двигателят е студен. Това трябва да стане на открито. Забършете евентуално разлято гориво.
Никога не пушете по време на източване на гориво и стойте далеч от открит пламък или от ситуации, когато горивните пари могат да бъдат възпламенени от искра.
Подгответе машината за поддръжка; вижте Подготовка на машината за поддръжка.
Затворете кранчето за спиране на притока на гориво (Фигура 157).


Разхлабете скобата на маркуча при горивния филтър и я плъзнете нагоре по горивната линия като я отдалечите от горивния филтър.
Издърпайте горивната линия от горивния филтър.
Отворете крана за спиране на горивото и оставете горивото да изтече в съд за гориво или в тава за източване.
Note: Сега е най-подходящия момент за поставяне на нов горивен филтър, тъй като горивният резервоар е празен.
Сглобете маркуча за гориво върху фитинга на филтъра.
Поставете скобата на маркуча в близост до горивния филтър и затегнете скобата.
Разединете акумулатора преди да пристъпите към ремонт на машината. Разединете първо отрицателната клема, а след това положителната. Свържете първо положителната клема, а след това отрицателната.
Зареждайте акумулатора на открито, добре проветрено място, далече от искри и открит пламък. Изключете зарядното устройство, преди да го свържете или разкачите от акумулатора.
Носете защитни ръкавици и използвайте изолирани инструменти.
| Интервал на техническо обслужване | Процедура по поддръжка |
|---|---|
| Годишно |
|
Поддържайте горната част на акумулатора чиста.
Отключете и отворете вратичката на отделението за акумулатора (Фигура 158).

Почиствайте горната страна на акумулатора с четка, натопена в разтвор на амоняк или сода бикарбонат.
Important: По време на почистване не сваляйте капачките за пълнене.
Измийте добре повърхността на акумулатора и отделението за акумулатора с чиста вода.
Затворете и заключете вратата на отделението за акумулатора.
| Интервал на техническо обслужване | Процедура по поддръжка |
|---|---|
| Годишно |
|
Клемите на акумулатора или метални инструменти могат да създадат късо съединение с метални компоненти на трактора, което да причини образуването на искри. Искрите могат да причинят взривяване на газовете от акумулатора, което да доведе до телесно нараняване.
Когато отстранявате или поставяте акумулатор, не допускайте клемите на акумулатора да докосват метални части на машината.
Не допускайте метални инструменти да образуват късо съединение с клемите на акумулатора и металните части на машината.
Неправилното прекарване на акумулаторния кабел може да повреди машината и кабелите и да предизвика искрене. Искрите могат да причинят взривяване на газовете от акумулатора, което да доведе до телесно нараняване.
Винаги изключвайте първо отрицателния (черен) кабел, преди да изключите положителния (червен) кабел.
Винаги свързвайте първо положителния (червен) кабел, преди да свържете отрицателния (черен) кабел.
Отключете и отворете вратичката на отделението за акумулатора (Фигура 159).

Проверете дали скобите на кабела на акумулатора са добре закрепени.
Затегнете разхлабените скоби на кабела на акумулатора.
Проверявайте скобите на акумулаторния кабел и клемите на акумулатора за корозия.
Ако клемите са корозирали, отстранете отрицателния кабел на акумулатора.
Свалете положителния кабел на акумулатора.
Почистете кабелните скоби и клемите на акумулатора.
Свържете положителния кабел на акумулатора.
Свържете отрицателния кабел на акумулатора.
Покрийте клемите и полюсите на акумулатора с грес Grafo 112X (за притягане) (Toro част № 505-47).
Затворете и заключете вратата на отделението за акумулатора.
Електрическата система е защитена с предпазители. Ако предпазителят се отвори, проверете компонента и окабеляването за късо съединение към земята.
Отключете и отворете вратичката на отделението за акумулатора (Фигура 160).

Свалете капачето от блока на предпазителите (Фигура 161).
Note: Предпазителят на вентилатора е разположен в линията зад акумулатора (Фигура 162).


Отстранете отворения предпазител.
Монтирайте нов предпазител с номинален ток, посочен на табелката на блока на предпазителите.
Монтирайте капака върху блока на предпазителите (или върху предпазителя на вентилатора).
Затворете и заключете вратата на отделението за акумулатора.
| Интервал на техническо обслужване | Процедура по поддръжка |
|---|---|
| На всеки 50 часа |
|
Подгответе машината за поддръжка; вижте Подготовка на машината за поддръжка.
Проверете дали налягането на въздуха във всички гуми е 0,83 bar. Проверете гумите, когато са студени, за най-точни показания на налягането.
Important: Неравномерното налягане в гумите може да доведе до неравномерна дълбочина на навлизане.

Теглото на колелото е много голямо – 33 kg.
Бъдете внимателни, когато го сваляте от възела на гумата.
| Интервал на техническо обслужване | Процедура по поддръжка |
|---|---|
| Годишно |
|
Задвижващите ремъци на машината са издръжливи. Въпреки това нормалното излагане на ултравиолетово лъчение, озон или случайно излагане на химикали може да влоши състоянието на каучука с течение на времето и да доведе до преждевременно износване или загуба на материал (напр. отделени или липсващи слоеве на ремъка).
Свалете капака на ремъка; вижте Отстраняване на капака на ремъка.
Проверете ремъците на хидравличната помпа, междинния вал и коляновия вал (Фигура 164) за повреди, износване, прекомерни пукнатини на възглавниците или големи вмъкнати отломки.
Note: Сменяйте ремъка(ремъците), когато е необходимо.

Монтирайте капака на ремъка; вижте Монтиране на капака на ремъка.
| Интервал на техническо обслужване | Процедура по поддръжка |
|---|---|
| След първите 8 часа |
|
Подгответе машината за поддръжка; вижте Подготовка на машината за поддръжка.
Свалете капака на ремъка; вижте Отстраняване на капака на ремъка.
Разхлабете винта с фланцова глава и фланцовата контрагайка, които закрепват ремъчната шайба на междинното колело за ремъка на хидравличната помпа, докато болтът се премести в процепа на опората на междинното колело (Фигура 165).


Докоснете горната част на ремъчната шайба на междинното колело и позволете на пружината да регулира напрежението на ремъка.
Important: Не натягайте ремъка повече, отколкото натягащата пружина позволява, в противен случай може да се получи повреда на компонента.
Затегнете болтовете с фланцова глава и фланцовата контрагайка с въртящ момент от 37 до 45 N∙m.
Монтирайте капака на ремъка; вижте Монтиране на капака на ремъка.
В случай на впръскване на хидравлична течност в кожата незабавно потърсете медицинска помощ. Впръсканата течност трябва да се отстрани по хирургически път в рамките на няколко часа от лекар.
Преди създаване на налягане в системата се уверете, че всички линии и маркучи за хидравлична течност са в добро състояние, а хидравличните съединения и фитинги не пропускат.
Дръжте тялото и ръцете си далеч от течове през микроскопични отвори или дюзи, от които се изхвърля хидравлична течност под високо налягане.
За установяване на течове на хидравлична течност използвайте хартия или картон.
За безопасност, преди извършване на работи по хидравличната система, освободете изцяло налягането в нея.
Закрепете главата с кухи зъбци с помощта на сервизната ключалка; вижте Поддържане на главата с кухи зъбци с помощта на сервизната ключалка.
Изгасете двигателя.
Преместете превключвателя за запалването в положение RUN (Работно).
В информационния център преминете към MAIN MENU (Главно меню).
Натиснете бутона надолу, докато се избере опцията SERVICE (Услуги), след което натиснете бутона за избор (Фигура 166).

Note: Главата с кухи зъбци се спуска, докато се закрепи напълно на сервизната ключалка.
Натиснете бутона надолу, докато се избере опцията SERVICE LOWER (Услуга спускане), след което натиснете бутона за избор (Фигура 167).

Завъртете ключа в положение STOP (Спиране).
Note: Стартирайте двигателя и го пуснете, за да повдигнете хидравлично главата с кухи зъбци, така че да можете да приберете сервизната ключалка; вижте Прибиране на сервизната ключалка.
| Интервал на техническо обслужване | Процедура по поддръжка |
|---|---|
| Преди всяка употреба или ежедневно |
|
Преди всяка употреба проверявайте хидравличните тръби и маркучи за течове, разхлабени фитинги, прегънати маркучи, разхлабени монтажни опори, износване и влошаване на състоянието им от атмосферни влияния или химикали. Преди да започнете работа с машината, подменете износените или повредени хидравлични линии.
Note: Поддържайте зоните около хидравличната система чисти от натрупване на отпадъци.
Резервоарът за хидравлична течност е напълнен фабрично с висококачествена хидравлична течност. Проверете нивото на хидравличната течност преди първото стартиране на двигателя, а след това ежедневно; вижте Проверка на нивото на моторното масло.
Препоръчвана хидравлична течност: хидравлична течност Toro PX с удължен срок на експлоатация; доставя се в съдове по 19 литра или варели по 208 литра.
Note: Машина, която при смяна използва препоръчаната хидравлична течност, изисква по-рядка смяна на течността и филтъра.
Алтернативни хидравлични течности: Ако няма на разположение хидравлична течност Toro PX с удължен срок на експлоатация, можете да използвате друга обикновена хидравлична течност на база на нефт, за която всички спецификации попадат в посочените граници за свойствата на материалите и която отговаря на индустриалните стандарти. Не използвайте синтетична течност. Консултирайте се с Вашия доставчик на смазочни вещества, за да откриете подходящ продукт.
Note: Toro не носи отговорност за щети, причинени от неправилно подбрани заместители, така че използвайте само продукти от производители с доказана репутация, способни да подкрепят своите предложения.
| Свойства на материала: | ||
| Вискозитет, ASTM D445 | cSt @ 40 °C; 44 до 48 | |
| Коефициент на вискозитет ASTM D2270 | 140 или по-висок | |
| Точка на застиване/втвърдяване, ASTM D97 | -37 °C до -45 °C | |
| Промишлени спецификации: | Eaton Vickers 694 (I-286-S, M-2950-S/35VQ25 или M-2952-S) | |
Note: Повечето хидравлични течности са почти безцветни, което затруднява откриването на течове. Предлага се червено багрило – добавка за оцветяване на хидравличната течност, в бутилки 20 ml. Една бутилка е достатъчна за 15 до 22 литра хидравлично масло. Поръчайте част с каталожен № 44-2500 от Вашия упълномощен дистрибутор на Toro продукти.
Important: Toro Premium Fluid е единствената синтетична биологически разградима хидравлична течност, одобрена от Toro. Тази течност е съвместима с еластомерите, използвани в хидравличните системи на Toro и е подходяща за широк обхват температурни условия. Тази течност е съвместима с обикновените минерални масла, но за постигане на максимално биоразграждане и характеристики хидравличната система трябва да бъде грижливо промита от обикновената хидравлична течност. Маслото е налично в съдове по 19 литра или варели по 208 литра при Вашия упълномощен дистрибутор на Toro.
| Интервал на техническо обслужване | Процедура по поддръжка |
|---|---|
| Преди всяка употреба или ежедневно |
|
Important: С повдигната глава с кухи зъбци проверете нивото на хидравличната течност преди първоначално стартиране на двигателя, а след това го проверявайте ежедневно.
Резервоарът за хидравлична течност е напълнен фабрично с висококачествена хидравлична течност.
Подгответе машината за поддръжка; вижте Подготовка на машината за поддръжка.
Свалете капака на ремъка; вижте Отстраняване на капака на ремъка.
Почистете зоната около гърловината за пълнене и капачката на хидравличния резервоар (Фигура 168). Свалете капачката от гърловината за пълнене.

Извадете маслоизмервателната щека от гърловината за пълнене и я избършете с чиста кърпа. Вмъкнете маслоизмервателната щека в гърловината за пълнене; след това я извадете и отчетете нивото на течността. Нивото на течността трябва да бъде до маркировката на маслоизмервателната пръчка (Фигура 169).

Ако нивото е ниско, долейте посочената хидравлична течност, за да го повишите до отметката за пълен резервоар.
Поставете обратно маслоизмервателната щека и капачката върху гърловината за пълнене.
Монтирайте капака на ремъка; вижте Монтиране на капака на ремъка.
| Интервал на техническо обслужване | Процедура по поддръжка |
|---|---|
| На всеки 200 часа |
|
| На всеки 400 часа |
|
Вместимост на резервоара за хидравлична течност: приблизително 6,6 L
Important: Не заменяйте с филтри за автомобилно масло; в противен случай може да възникне тежка повреда на хидравличната система.
Note: При отстраняване на възвратния филтър се източва целият резервоар за течност.
Подгответе машината за поддръжка; вижте Подготовка на машината за поддръжка.
Поставете тава за източване под филтрите, извадете старите филтри и избършете повърхността на уплътнението на адаптера на филтъра (Фигура 170).

Нанесете тънък слой чиста хидравлична течност по уплътнението на новите филтри.
Поставете хидравличните филтри върху адаптерите на филтъра. Завъртете всеки филтър по посока на часовниковата стрелка, докато уплътнението опре в адаптера на филтъра, след това затегнете всеки филтър с още ½ оборот.
Долейте определената хидравлична течност, докато нивото на течността достигне маркировката Full“ (Пълно) на маслоизмервателната щека, вижте Спецификации на хидравличната течност и Проверка на нивото на хидравличната течност.
Стартирайте двигателя и го оставете да работи около 2 минути за обезвъздушаване на системата. Изключете двигателя, извадете ключа и проверете за течове на хидравлична течност.
Проверете нивото на хидравличната течност. Ако е необходимо, долейте определената хидравлична течност, за да повишите нивото до маркировката FULL“ на маслоизмервателната щека.
Note: Не препълвайте хидравличния резервоар с течност.
Монтирайте капака на ремъка; вижте Монтиране на капака на ремъка.
| Интервал на техническо обслужване | Процедура по поддръжка |
|---|---|
| След първите 8 часа |
|
| На всеки 250 часа |
|
Подгответе машината за поддръжка; вижте Подготовка на машината за поддръжка.
Свалете капака на главата с кухи зъбци; вижте Отстраняване на капака на главата с кухи зъбци.
Проверете крепежните елементи на главата с кухи зъбци, крепежните елементи на лоста на кормилото и колесните гайки, за да се уверите, че се поддържа подходящ въртящ момент. Изискванията за въртящия момент на крепежните елементи са посочени на табелката за въртящия момент на болтовете, разположена на опорния канал на главата с кухи зъбци (Фигура 171).

Монтирайте капака на главата с кухи зъбци; вижте Монтиране на капака на главата с кухи зъбци.
Подгответе машината за поддръжка; вижте Подготовка на машината за поддръжка.
Разхлабете винтовете със скрита глава и фланцовите контрагайки, които закрепват страничния екран към рамката на главата с кухи зъбци (Фигура 172).

Регулирайте екрана нагоре или надолу, докато измерите разстояние от 25 до 38 мм между екрана и земята.
Затегнете винтовете със скрита глава и фланцовите контрагайки.
Повторете стъпки 2 до 4 от другата страна на машината.
Заменете предпазителите за тревни площи, ако са счупени или износени до дебелина, по-малка от 6 мм. Счупените предпазители за тревни площи могат да хванат и разкъсат тревната площ, като я повредят.

Маркировката за синхронизация на главата с кухи зъбци се разпознава лесно по вградените маркировки върху 3-те корпуса на лагерите.

Преди да напуснете мястото на оператора, направете следното:
Паркирайте машината върху равна повърхност.
Повдигнете и заключете напълно кормилото, за да задействате ръчната спирачка.
Изключете двигателя и извадете ключа (ако има такъв).
Изчакайте всички движещи се части да спрат.
Преди настройка, обслужване, почистване или съхранение на машината изчакайте двигателят да изстине.
Не съхранявайте машината или съд с гориво на места с откри пламък, искри или светлинен сигнализатор, напр. на воден нагревател или друг уред.
При зареждане на акумулатора се отделя газ, който може да експлодира.
Никога не пушете в близост до акумулатора и дръжте искри и открит пламък далеч от него.
Подгответе машината за поддръжка; вижте Подготовка на машината за поддръжка.
Разкачете кабела на запалителната свещ.
Отстранете трева, замърсявания и боклуци от външните части на машината, особено от двигателя и хидравличната система. Почистете замърсяванията и парчетата трева от външната част на ребрата на цилиндровата глава на двигателя и корпуса на вентилатора.
Обслужете въздухопречиствателя; вижте Обслужване на въздухопречиствателя.
Сменете маслото на двигателя; вижте Смяна на маслото на двигателя и филтъра.
Сменете хидравличните филтри и течността, вижте Смяна на хидравличната течност и филтрите.
Проверете налягането на гумите; вижте Проверка на налягането на гумите.
Проверете състоянието на зъбците.
Ако съхранявате машината за сезона, изпълнете всички стъпки в Съхраняване на машината за по-малко от 30 дни и следното:
Проверете и притегнете всички болтове, гайки и винтове. Ремонтирайте или сменете всички части, които са повредени или износени.
Измийте и изсушете цялата машина. Извадете зъбците, почистете ги и ги намажете с масло. Напръскайте с леко масло лагерите на главата с кухи зъбци (коляното и демпферните връзки).
Important: Можете да измиете машината с мек измиващ препарат и вода. Не мийте машината с вода под налягане. Избягвайте да използвате обилно вода, особено в близост до таблото за управление, двигателя, хидравличните помпи и електромоторите.
Note: След измиване пуснете машината на високи обороти на празен ход за 2 до 5 минути.
Боядисайте всички надраскани или оголени метални повърхности. Боя може да бъде доставена от Вашия упълномощен дилър на Toro.
Закрепете сервизната ключалка, ако машината ще се съхранява за повече от няколко дни.
Съхранявайте машината в чист, сух гараж или място за съхранение. Извадете контактния ключ и го дръжте на място без достъп на деца или други неоторизирани потребители.
Покрийте машината, за да я предпазите, и я поддържайте чиста.
Добавете стабилизатор/добавка на парафинова основа към горивото в резервоара. Следвайте инструкциите за смесване на производителя на стабилизатора. Не използвайте стабилизатор на спиртна основа (етанол или метанол).
Note: Стабилизаторът/добавката за гориво е най-ефективна, когато се смеси с прясно гориво и се използва винаги.
Important: Не съхранявайте гориво, съдържащо стабилизатор/добавка, по-дълго от препоръчителната продължителност от производителя на стабилизатора за гориво.
Оставете двигателя да работи 5 минути, за да се разпредели горивото с добавката през горивната система.
Изгасете двигателя, оставете го да се охлади и източете горивния резервоар; вижте Източване на горивния резервоар.
Стартирайте двигателя и го оставете да работи докато изгасне.
Използвайте дроселиране на двигателя. Стартирайте и оставете двигателя да работи, докато не се стартира.
Свалете запалителните свещи и проверете състоянието им, вижте Обслужване на запалителните свещи. При свалени запалителни свещи от двигателя налейте 2 супени лъжици моторно масло във всяко гнездо на запалителна свещ. Използвайте стартера за да запалите двигателя и да разпределите маслото в цилиндрите. Монтирайте запалителните свещи. Не монтирайте проводниците на запалителните свещи.
Note: Изхвърлете горивото по подходящ начин. Рециклирайте го в съответствие с местните правила.
Отстранете клемите на акумулатора от полюсите на акумулатора и извадете акумулатора от машината.
Почистете акумулатора, клемите и полюсите с телена четка и разтвор на сода бикарбонат.
За предотвратяване на корозия покрийте клемите и полюсите на акумулатора с грес Grafo 112X (за притягане), Toro част № 505-47, или технически вазелин.
Преди съхранение, извършвайте бавно презареждане на акумулатора на всеки 60 дни за 24 часа, за да предотвратите сулфатизация на оловните плочи. За да предотвратите замръзване на акумулатора, вземете мерки той да е напълно зареден. Специфичната плътност на електролита на напълно зареден акумулатор е 1,265 до 1,299.
Съхранявайте акумулатора на полица или върху машината. Оставете кабелите разкачени, ако съхранявате акумулатора върху машината. Съхранявайте го на хладно място, за да избегнете бързото понижаване на заряда му.
| Problem | Possible Cause | Corrective Action |
|---|---|---|
| Стартерът не запалва двигателя. |
|
|
| Двигателят не се стартира, стартира трудно или не успява да продължи да работи. |
|
|
| Двигателят губи мощност. |
|
|
| Двигателят прегрява. |
|
|
| Има аномални вибрации. |
|
|
| Машината не се управлява. |
|
|
| Главата с кухи зъбци не се задвижва. |
|
|
| Главата подскача по време на аериране. |
|
|
| Тревата се набраздява/разкъсва на входа. |
|
|
| Има дупки с туфи със странично изхвърляне. |
|
|
| При аерирането тревата се повдига/разкъсва. |
|
|
| Предната част на отвора е вдлъбната или изпъкнала. |
|
|