| ระยะการซ่อมบำรุง | ขั้นตอนการบำรุงรักษา |
|---|---|
| ก่อนการใช้งานแต่ละครั้งหรือทุกวัน |
|
อุปกรณ์นี้คือรถฉีดพ่นสารในสนาม และมีเจตนาให้ใช้งานโดยผู้รับจ้างมืออาชีพในการใช้งานเชิงพาณิชย์ โดยออกแบบมาสำหรับการฉีดพ่นบนสนามที่ได้รับการดูแลรักษาเป็นอย่างดีในสวนสาธารณะ สนามกอล์ฟ สนามกีฬา และพื้นที่เชิงพาณิชย์เป็นหลัก
อุปกรณ์นี้ออกแบบมาสำหรับการใช้งานนอกถนนเป็นหลัก และไม่มีเจตนาสำหรับการขับขี่บนถนนสาธารณะบ่อยๆ การใช้งานผลิตภัณฑ์นี้นอกเหนือจากวัตถุประสงค์ที่กำหนดไว้อาจเป็นอันตรายต่อคุณและคนรอบข้างได้
กรุณาอ่านเอกสารนี้อย่างละเอียดเพื่อศึกษาวิธีควบคุมและบำรุงรักษาผลิตภัณฑ์อย่างเหมาะสม และเพื่อหลีกเลี่ยงการบาดเจ็บและความเสียหายต่อผลิตภัณฑ์ คุณมีหน้าที่ใช้งานผลิตภัณฑ์อย่างถูกต้องและปลอดภัย
โปรดเข้าไปที่เว็บไซต์ www.Toro.com เพื่อดูข้อมูลเพิ่มเติม รวมถึงเคล็ดลับเพื่อความปลอดภัย เอกสารการฝึกอบรม ข้อมูลอุปกรณ์เสริม ความช่วยเหลือเพื่อค้นหาตัวแทนจำหน่าย หรือลงทะเบียนผลิตภัณฑ์
หากคุณต้องการการซ่อมบำรุง อะไหล่แท้ของ Toro หรือข้อมูลเพิ่มเติม โปรดติดต่อตัวแทนบริการที่ได้รับอนุญาตหรือฝ่ายบริการลูกค้าของ Toro และเตรียมหมายเลขรุ่นและหมายเลขซีเรียลของผลิตภัณฑ์ไว้ให้พร้อม รูป 1 หาตำแหน่งของหมายเลขรุ่นและหมายเลขซีเรียลบนผลิตภัณฑ์ จดบันทึกหมายเลขในช่องว่างที่กำหนดให้
นอกจากนี้ คุณสามารถใช้มือถือสแกนรหัส QR บนสติกเกอร์หมายเลขซีเรียลได้ (ถ้ามี) เพื่อเข้าถึงข้อมูลการรับประกัน อะไหล่ และข้อมูลผลิตภัณฑ์อื่นๆ

คู่มือฉบับนี้ให้ข้อมูลเกี่ยวกับอันตรายที่อาจเกิดขึ้น และระบุข้อความความปลอดภัยที่แสดงด้วยสัญลักษณ์เตือนอันตราย (รูป 2) ซึ่งบ่งบอกอันตรายที่อาจส่งผลให้เกิดการบาดเจ็บร้ายแรงหรือเสียชีวิตหากคุณไม่ปฏิบัติตามข้อควรระวังที่แนะนำ

คู่มือฉบับนี้ใช้คำ 2 คำในการเน้นข้อมูล สำคัญ เพื่อให้คุณใส่ใจศึกษาข้อมูลพิเศษเกี่ยวกับกลไกและ หมายเหตุ เพื่อเน้นข้อมูลทั่วไปที่ควรให้ความสนใจเป็นพิเศษ
ผลิตภัณฑ์นี้ได้มาตรฐานตามคำสั่งยุโรปทั้งหมดที่เกี่ยวข้อง หากต้องการรายละเอียดเพิ่มเติม โปรดดูเอกสารรับรองมาตรฐาน (DOC) เฉพาะของผลิตภัณฑ์แยกต่างหาก
การใช้งานหรือการควบคุมรถอเนกประสงค์บนที่ดินที่ปกคลุมด้วยป่า พุ่มไม้ หรือหญ้าเป็นการฝ่าฝืนกฎหมายทรัพยากรสาธารณะแห่งแคลิฟอร์เนีย มาตรา 4442 หรือ 4443 ยกเว้นกรณีที่รถอเนกประสงค์ดังกล่าวติดตั้งเครื่องดักสะเก็ดไฟตามคำจำกัดความในมาตรา 4442 โดยต้องบำรุงรักษาให้อยู่ในสภาพดี หรือเป็นเครื่องยนต์ที่สร้างขึ้นมา ติดตั้ง และบำรุงรักษาเพื่อให้ป้องกันการเกิดเพลิงไหม้
คู่มือเจ้าของเครื่องยนต์ที่แนบมาจัดทำขึ้นมาเพื่อให้ข้อมูลเกี่ยวกับหน่วยงานคุ้มครองสิ่งแวดล้อม (EPA) ของสหรัฐอเมริกาและกฎหมายของรัฐแคลิฟอร์เนียว่าด้วยการควบคุมการปล่อยมลพิษของระบบไอเสีย การบำรุงรักษา และการรับประกัน อะไหล่ทดแทนสามารถสั่งซื้อได้จากผู้ผลิตเครื่องยนต์
หากอุปกรณ์ติดตั้งมาพร้อมกับระบบเทเลเมติกส์ โปรดติดต่อตัวแทนจำหน่ายที่ได้รับอนุญาตของ Toro เพื่อขอคำแนะนำในการเปิดใช้งานระบบดังกล่าว
|
ใบรับรองความเข้ากันได้ทางแม่เหล็กไฟฟ้า |
|
ภายในประเทศ: อุปกรณ์นี้เป็นไปตามกฎ FCC ส่วนที่ 15 การทำงานขึ้นอยู่กับเงื่อนไข 2 ข้อต่อไปนี้: (1) อุปกรณ์นี้ไม่ก่อให้เกิดคลื่นรบกวนที่เป็นอันตราย และ (2) อุปกรณ์นี้ต้องยอมรับคลื่นรบกวนใดๆ ที่อาจได้รับ รวมถึงคลื่นรบกวนที่อาจทำให้เกิดการทำงานที่ไม่พึงประสงค์ |
|
FCC ID: APV-3640LB IC: 5843C-3640LB |
|
เครื่องมือนี้ผ่านการทดสอบและมีคุณสมบัติตามข้อจำกัดสำหรับอุปกรณ์ดิจิตอล Class B ตามข้อกำหนดของ FCC หมวดที่ 15 ข้อจำกัดเหล่านี้กำหนดขึ้นเพื่อป้องกันสัญญาณรบกวนที่เป็นอันตรายอย่างเหมาะสมสำหรับการติดตั้งภายในที่พักอาศัย อุปกรณ์นี้สร้าง ใช้งาน และสามารถแผ่คลื่นความถี่วิทยุได้ ตลอดจนอาจก่อให้เกิดสัญญาณรบกวนที่เป็นอันตรายต่อการสื่อสารทางวิทยุหากไม่ได้ติดตั้งและใช้งานโดยเป็นไปตามคำแนะนำ อย่างไรก็ตาม ไม่มีการรับประกันว่าคลื่นรบกวนจะไม่เกิดขึ้นในการติดตั้งบางแบบ หากอุปกรณ์นี้ไม่ทำให้เกิดสัญญาณรบกวนที่เป็นอันตรายต่อการรับคลื่นวิทยุหรือโทรทัศน์ ซึ่งสามารถตรวจสอบได้โดยการปิดและเปิดเครื่อง ขอให้ผู้ใช้งานพยายามตรวจสอบแก้ไขสัญญาณรบกวนด้วยวิธีใดวิธีหนึ่งดังต่อไปนี้:
|
|
อาร์เจนตินา |
![]() |
|
ออสเตรเลีย |
![]() |
|
โมร็อกโก |
|
|---|---|
|
AGREE PAR L’ANRT MAROC |
|
|
Numéro d’agrément: |
MR00004789ANRT20024 |
|
Date d’agrément: |
11/4/2024 |
|
นิวซีแลนด์ |
|
|
|
เกาหลีใต้ |
![]() |
แคลิฟอร์เนีย
คำเตือนข้อเสนอ 65
ไอเสียเครื่องยนต์จากผลิตภัณฑ์นี้มีสารเคมีที่รัฐแคลิฟอร์เนียทราบว่าเป็นสาเหตุการเกิดโรคมะเร็ง ความพิการแต่กำเนิด หรืออันตรายต่อระบบสืบพันธุ์อื่นๆ
แท่นแบตเตอรี่ ขั้วแบตเตอรี่ และส่วนประกอบที่เกี่ยวข้องมีตะกั่วและสารประกอบตะกั่วเป็นส่วนผสม ซึ่งเป็นสารเคมีที่รัฐแคลิฟอร์เนียทราบว่าเป็นสาเหตุการเกิดโรคมะเร็ง และเป็นอันตรายต่อระบบสืบพันธุ์ ล้างมือหลังจากหยิบจับ
การใช้ผลิตภัณฑ์นี้อาจทำให้ต้องสัมผัสกับสารเคมีที่รัฐแคลิฟอร์เนียทราบว่าเป็นสาเหตุการเกิดโรคมะเร็ง ความพิการแต่กำเนิด หรืออันตรายต่อระบบสืบพันธุ์อื่นๆ
การใช้งานหรือการบำรุงรักษาที่ไม่เหมาะสมโดยผู้ปฏิบัติงานหรือเจ้าของอาจส่งผลให้เกิดการบาดเจ็บได้ เพื่อลดโอกาสที่จะเกิดการบาดเจ็บ ให้ปฏิบัติตามคำแนะนำด้านความปลอดภัยและสังเกตสัญลักษณ์เตือนอันตราย (รูป 2) ได้แก่ ข้อควรระวังคำเตือน หรืออันตราย ซึ่งเป็นคำแนะนำเพื่อความปลอดภัยส่วนบุคคล การไม่ปฏิบัติตามคำแนะนำเหล่านี้อาจส่งผลให้บาดเจ็บหรือเสียชีวิตได้
ผลิตภัณฑ์นี้อาจทำให้คนบาดเจ็บได้ ดังนั้น ปฏิบัติตามคำแนะนำด้านความปลอดภัยทั้งหมดอยู่เสมอเพื่อหลีกเลี่ยงการบาดเจ็บร้ายแรง
อ่านและทำความเข้าใจเนื้อหาของคู่มือผู้ใช้ฉบับนี้ก่อนจะสตาร์ทเครื่อง
โปรดมีสมาธิขณะควบคุมเครื่องจักร อย่าทำกิจกรรมที่ทำให้เสียสมาธิ มิฉะนั้นอาจส่งผลให้เกิดการบาดเจ็บหรือเกิดความเสียหายต่อทรัพย์สินได้
ใช้อุปกรณ์ป้องกันตัวส่วนบุคคล (PPE) ที่เหมาะสมเพื่อปกป้องจากการสัมผัสสารเคมี สารเคมีที่ใช้ในระบบเครื่องฉีดพ่นอาจเป็นอันตรายและเป็นพิษ
อย่านำมือหรือเท้าเข้าใกล้ชิ้นส่วนเคลื่อนไหวของเครื่องจักร
หากไม่ได้ติดตั้งแผงกั้นและอุปกรณ์นิรภัยอื่นๆ ทั้งหมดบนอุปกรณ์ หรือแผงกั้นและอุปกรณ์นิรภัยทำงานผิดปกติ กรุณาอย่าใช้อุปกรณ์
อยู่ห่างจากบริเวณช่องฉีดพ่นของหัวฉีดและละอองฝอยที่ปลิวมา กันคนโดยรอบและเด็กๆ ออกจากพื้นที่ทำงาน
ห้ามเด็กใช้งานอุปกรณ์โดยเด็ดขาด
จอดอุปกรณ์บนพื้นราบ ดึงเบรกมือ ดับเครื่องยนต์ ดึงกุญแจออก (ถ้าเสียบไว้) และรอให้การเคลื่อนไหวหยุดนิ่งก่อนจะลุกออกจากตำแหน่งของผู้ปฏิบัติงาน รอให้เครื่องยนต์เย็นลงก่อนปรับ ซ่อมบำรุง ทำความสะอาด หรือจัดเก็บรถ
การใช้งานหรือบำรุงรักษาอย่างไม่ถูกต้องอาจส่งผลให้เกิดการบาดเจ็บขึ้นได้
เพื่อลดโอกาสที่จะเกิดการบาดเจ็บ ให้ปฏิบัติตามคำแนะนำด้านความปลอดภัยและสังเกตสัญลักษณ์เตือนอันตราย
ได้แก่ ข้อควรระวัง คำเตือน
หรืออันตราย ซึ่งเป็นคำแนะนำเพื่อความปลอดภัยส่วนบุคคล การไม่ปฏิบัติตามคำแนะนำเหล่านี้อาจส่งผลให้บาดเจ็บหรือเสียชีวิตได้
คู่มือฉบับนี้ไม่ได้กล่าวถึงอุปกรณ์ต่อพ่วงทั้งหมดที่ปรับให้เข้ากับอุปกรณ์นี้ได้ โปรดดูคำแนะนำด้านความปลอดภัยเพิ่มเติมในคู่มือผู้ใช้ของอุปกรณ์ต่อพ่วงแต่ละรายการ
![]() |
ป้ายและคำแนะนำด้านความปลอดภัยมองเห็นได้ชัดเจน และติดอยู่ใกล้กับบริเวณที่มีโอกาสเกิดอันตราย เปลี่ยนป้ายที่เสียหายหรือหายไป |























Note: ดูด้านซ้ายและขวาของอุปกรณ์จากตำแหน่งปกติในการควบคุมอุปกรณ์
Note: หากคุณมีคำถามหรือต้องการข้อมูลเพิ่มเติมเกี่ยวกับระบบควบคุมการฉีดพ่น โปรดดูคู่มือผู้ใช้ที่ให้มากับระบบ
Important: เครื่องฉีดพ่นนี้จำหน่ายโดยไม่มีหัวฉีดพ่นการใช้เครื่องฉีดพ่น คุณต้องซื้อและติดตั้งหัวฉีด ติดต่อตัวแทนจำหน่ายของ Toro ที่ได้รับอนุญาตเพื่อขอข้อมูลเกี่ยวกับชุดแขนบูมและอุปกรณ์เสริม หลังจากติดตั้งหัวฉีดและก่อนใช้งานเครื่องฉีดพ่นเป็นครั้งแรก ให้ปรับเทียบการไหลของเครื่องฉีดพ่น และปรับเทียบวาล์วบายพาสของแขนบูม เพื่อให้แรงดันและอัตราการฉีดพ่นของทุกแขนบูมเท่ากันเมื่อคุณปิดแขนบูม 1 ส่วนขึ้นไป โปรดดู การปรับเทียบการไหลของเครื่องฉีดพ่น และ การปรับเทียบวาล์วบายพาสแขนบูม
ชิ้นส่วนที่ต้องใช้สำหรับขั้นตอนนี้:
| ข้อต่อ 90° | 1 |
| ข้อต่อสวมเร็ว | 1 |
| อะแดปเตอร์ท่ออ่อน | 1 |
| โครงยึดจุกเติม | 1 |
| สลักเกลียวมีบ่า (5/16 x 3/4 นิ้ว) | 1 |
| ท่ออ่อนป้องกันการไหล | 1 |
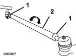
วางโครงยึดจุกเติมเหนือรูเกลียวในถัง และยึดด้วยสลักเกลียวมีบ่า (5/16 x 3/4 นิ้ว) ดังแสดงใน รูป 3

วางปลายที่มีเกลียวของข้อต่องอ 90° ผ่านโครงยึดและหมุนข้อต่อสวมเร็วลงไป ยึดให้แน่นเข้ากับโครงยึด (รูป 3)
Note: ติดตั้งข้อต่อให้ปลายด้านที่มีช่องเปิดหันเข้าหาช่องขนาดใหญ่ในโครงยึดและเข้าหาช่องเปิดของถัง เพื่อให้น้ำเบนลงถังเมื่อเติม
ติดตั้งอะแดปเตอร์ท่ออ่อนเข้ากับข้อต่อสวมเร็ว (รูป 3)
ล็อกอะแดปเตอร์เข้าที่โดยการโยกคันโยกเข้าหาอะแดปเตอร์ จากนั้นยึดด้วยปิ๊นตัวอาร์ (รูป 3)
ติดตั้งท่ออ่อนป้องกันการไหลผ่านช่องเปิดขนาดใหญ่บนโครงยึด และบนปลายมีเดือยของข้อต่องอ 90° (รูป 3)
Important: อย่ายืดท่ออ่อนจนสัมผัสกับของเหลวในถัง



แป้นคันเร่ง (รูป 7) ช่วยให้คุณสามารถปรับเปลี่ยนความเร็วขับเคลื่อนบนพื้นของเครื่องฉีดพ่นได้ การเหยียบแป้นคันเร่งมากขึ้นจะเพิ่มความเร็วขับเคลื่อนบนพื้น การปล่อยแป้นคันเร่งจะชะลอเครื่องฉีดพ่น และลดรอบเครื่องยนต์เป็นเดินรอบเบา

เหยียบแป้นคลัตช์จนสุด (รูป 7) เพื่อปลดคลัตช์ขณะสตาร์ทเครื่องยนต์หรือเปลี่ยนเกียร์ ปล่อยแป้นอย่างช้าๆ เมื่อเข้าเกียร์ เพื่อป้องกันการสึกหรอโดยไม่จำเป็นที่เกียร์ และชิ้นส่วนอื่นๆ ที่เกี่ยวข้อง
Important: อย่าเลี้ยงแป้นคลัตช์ระหว่างขับขี่ คุณต้องปล่อยแป้นคลัตช์จนสุด มิฉะนั้นคลัตช์จะเลื่อน ทำให้เกิดความร้อนและการสึกเหรอได้ ห้ามใช้คลัตช์เพื่อหยุดอุปกรณ์บนเนินโดยเด็ดขาด เพราะอาจทำให้คลัตช์ชำรุดเสียหาย
ใช้แป้นเบรกเพื่อหยุดหรือชะลอความเร็วเครื่องฉีดพ่น (รูป 7)
เบรกอาจสึกหรอหรืออาจปรับไม่ถูกต้อง ส่งผลให้เกิดการบาดเจ็บได้
หากคุณเหยียบแป้นเบรกในระยะ 2.5 ซม. (1 นิ้ว) จากพื้นล่าง ให้ปรับหรือซ่อมแซมเบรก
เบรกมือคือคันโยกขนาดใหญ่ทางด้านซ้ายของที่นั่ง (รูป 8) ดึงเบรกมือไว้เมื่อคุณลุกออกจากที่นั่ง เพื่อป้องกันไม่ให้เครื่องฉีดพ่นขยับโดยไม่ได้ตั้งใจ หากต้องการดึงเบรกมือ ให้ดึงคันเบรกมือขึ้น ปลดเบรกมือ โดยการดันไปข้างหน้าและลง หากเครื่องฉีดพ่นจอดอยู่บนทางลาดชัน ให้ดึงเบรกมือและวางบล็อกไม้ที่ด้านลาดลงของล้อ

ระบบช่วยเหลือบนเนินป้องกันไม่ให้เครื่องฉีดพ่นพลิกคว่ำหรือโยก โดยการคงเครื่องฉีดพ่นไว้บนเนินชั่วคราวเมื่อคุณยกเท้าออกจากแป้นเบรกไปยังแป้นคันเร่ง ใช้ระบบช่วยเหลือบนเนิน โดยการเหยียบคลัตช์และเหยียบแป้นเบรกอย่างมั่นคง เมื่อระบบช่วยเหลือบนเนินเริ่มทำงาน ไอคอนระบบช่วยเหลือบนเนินจะปรากฏบน InfoCenter โปรดดูคู่มือซอฟต์แวร์ของเครื่องฉีดพ่นสารเคมีในสนาม Multi Pro 1750 ระบบช่วยเหลือบนเนินจะคงอุปกรณ์ไว้ 2 วินาทีหลังจากปล่อยแป้นเบรก
Note: ระบบช่วยเหลือบนเนินเพียงแต่คงอุปกรณ์ไว้ชั่วคราวเท่านั้น: คุณไม่สามารถใช้แทนที่เบรกมือได้
ล็อกเฟืองท้ายจะช่วยคุณล็อกเพลาท้ายเพื่อเพิ่มแรงลาก คุณสามารถใช้ล็อกเฟืองท้าย (รูป 6) ขณะที่เครื่องฉีดพ่นกำลังวิ่งอยู่ได้ โยกคันเกียร์ไปข้างหน้าและไปทางขวาเพื่อใช้ล็อก
Note: คุณอาจต้องขับอุปกรณ์ไปข้างหน้าขณะที่เลี้ยวเล็กน้อย เพื่อให้ล็อกเฟืองท้ายทำงานหรือปลดล็อก
การเลี้ยวด้วยล็อกเฟืองท้ายอาจส่งผลให้สูญเสียการควบคุมรถได้
อย่าใช้งานรถโดยเปิดใช้ล็อกเฟืองท้ายขณะเลี้ยวหักศอกหรือเมื่อวิ่งด้วยความเร็วสูง โปรดดู การใช้ล็อกเฟืองท้าย
ส่วนควบคุมโช้คเป็นลูกบิดขนาดเล็กหลังคันเกียร์ (รูป 6) หากต้องการสตาร์ทในขณะที่เครื่องยนต์ยังเย็น ให้ดึงส่วนควบคุมโช้คขึ้น หลังจากเครื่องยนต์สตาร์ท ปรับโช้คเพื่อให้เครื่องยนต์ทำงานราบรื่น ดันส่วนควบคุมลงไปที่ตำแหน่ง ปิด ให้เร็วที่สุด เครื่องยนต์อุ่นนั้นแทบไม่ต้องใช้โช้คหรือใช้เพียงเล็กน้อย
คันเกียร์ (รูป 6) มี 5 ตำแหน่ง: เดินหน้า 3 เกียร์, เกียร์ว่าง และ เกียร์ถอยหลัง เครื่องยนต์จะสตาร์ทก็ต่อเมื่อคันเกียร์อยู่ในตำแหน่ง เกียร์ว่าง เท่านั้น
สวิตช์สตาร์ท (รูป 6) มี 3 ตำแหน่ง: หยุด, ทำงาน และสตาร์ท หมุนกุญแจตามเข็มนาฬิกาไปยังตำแหน่ง สตาร์ท เพื่อสตาร์ทเครื่องยนต์และปล่อยให้ไปอยู่ในตำแหน่ง ทำงาน เมื่อสตาร์ทแล้ว บิดกุญแจไปที่ตำแหน่ง หยุด เพื่อดับเครื่องยนต์
สับสวิตช์เพื่อควบคุมไฟหน้า (รูป 6) กดไปข้างหน้าเพื่อเปิดไฟและกดไปข้างหลังเพื่อปิดไฟ
ขณะที่คันเกียร์อยู่ในตำแหน่ง เกียร์ว่าง คุณสามารถใช้แป้นคันเร่งเพื่อเร่งรอบเครื่องยนต์ จากนั้นกดสวิตช์ใช้ InfoCenter ไปข้างหน้าเพื่อตั้งค่ารอบเครื่องยนต์ไว้ได้ การทำเช่นนี้จำเป็นเมื่อผสมสารเคมีขณะอยู่กับที่หรือใช้งานอุปกรณ์ต่อพ่วง เช่น เครื่องฉีดพ่นแบบมือถือ (รูป 6)
Important: คันเกียร์ต้องอยู่ในตำแหน่ง เกียร์ว่าง และต้องดึงเบรกมือไว้เพื่อให้สวิตช์ใช้งานได้
เกจเชื้อเพลิงอยู่ที่ด้านบนของถังเชื้อเพลิง ที่ด้านซ้ายของอุปกรณ์ และแสดงปริมาณเชื้อเพลิงในถัง
สวิตช์แขนบูมหลัก (รูป 6) อยู่ที่ด้านข้างของคอนโซลและด้านขวาของที่นั่งผู้ปฏิบัติงาน สวิตช์นี้ทำให้คุณสตาร์ทหรือหยุดการฉีดพ่นได้ กดสวิตช์เพื่อเปิดหรือปิดระบบฉีดพ่น
สวิตช์แขนบูมส่วนซ้าย ตรงกลาง และขวาอยู่บนแผงควบคุม (รูป 6) กดแต่ละสวิตช์ไปข้างหน้าเพื่อเปิดแขนบูมที่เกี่ยวข้อง และกดไปข้างหลังเพื่อปิด เมื่อสวิตช์เปิด ไฟบนสวิตช์จะสว่างขึ้นมา สวิตช์เหล่านี้จะส่งผลต่อระบบฉีดพ่นก็ต่อเมื่อสวิตช์แขนบูมหลักเปิดอยู่เท่านั้น
สวิตช์ปั๊มอยู่บนแผงควบคุมที่ด้านขวาของที่นั่ง (รูป 6) กดสวิตช์นี้ไปข้างหน้าเพื่อเปิดปั๊ม หรือถอยหลังเพื่อปิดปั๊ม
Important: สวิตช์ปั๊มจะใช้งานได้ก็ต่อเมื่อเครื่องยนต์เดินรอบเบาเท่านั้น เพื่อหลีกเลี่ยงไม่ให้ตัวขับปั๊มชำรุด
สวิตช์อัตราการฉีดพ่นอยู่บนแผงควบคุมที่ด้านขวาของที่นั่ง (รูป 6) กดค้างสวิตช์ไปข้างหน้าเพื่อเพิ่มแรงดันระบบฉีดพ่น หรือกดค้างไปข้างหลังเพื่อลดแรงดัน
สวิตช์ผู้ดูแลอยู่บนแผงควบคุมที่ด้านขวาของที่นั่ง (รูป 6) บิดกุญแจทวนเข็มนาฬิกาไปยังตำแหน่ง ล็อก เพื่อปิดใช้งานสวิตช์อัตราการฉีดพ่น ซึ่งป้องกันไม่ให้มีใครมาเปลี่ยนอัตราการฉีดพ่นโดยไม่ได้ตั้งใจ บิดกุญแจไปที่ตำแหน่ง ปลดล็อก เพื่อเปิดใช้งานสวิตช์อัตราการฉีดพ่น
สวิตช์ยกแขนบูมอยู่บนแผงควบคุม และใช้เพื่อยกแขนบูมส่วนนอก
มิเตอร์นับชั่วโมงแสดงเวลาทั้งหมดที่เครื่องยนต์ทำงาน ตัวเลขนี้แสดงบนหน้าจอแรกของ InfoCenter มิเตอร์นับชั่วโมงจะเริ่มทำงานเมื่อใดก็ตามที่กุญแจบิดไปยังตำแหน่ง ทำงาน
หากคุณติดตั้งชุดทำเครื่องหมายด้วยโฟมไว้ คุณจะมีสวิตช์เพิ่มเติมบนแผงควบคุมเพื่อควบคุมการทำงาน เครื่องฉีดพ่นมีจุกพลาสติกในตำแหน่งเหล่านี้
วาล์วนี้ที่อยู่หลังถัง (รูป 9) คอยควบคุมปริมาณของเหลวที่ไหลไปยังแขนบูม หรืออัตราการย้อนกลับไปที่ถัง

วาล์วแขนบูมหลัก (รูป 9) ควบคุมการไหลไปยังมิเตอร์วัดการไหลและวาล์วแขนบูม
มิเตอร์วัดการไหลวัดอัตราการไหลของของเหลวสำหรับใช้โดยระบบ InfoCenter (รูป 9)
วาล์วเหล่านี้เปิดหรือปิดแขนบูมขวา ตรงกลาง และซ้าย (รูป 9)
วาล์วตัดการจ่ายบายพาสแขนบูมเปลี่ยนการไหลของของเหลวสำหรับแขนบูมกลับไปที่ถัง เมื่อคุณปิดแขนบูม คุณสามารถปรับบายพายของแขนบูมได้ เพื่อให้แน่ใจว่าแรงดันของแขนบูมยังคงที่ ไม่ว่าจะเปิดแขนบูมกี่ส่วน โปรดดู การปรับวาล์วบายพาสแขนบูม
วาล์วนี้อยู่ที่ด้านหลังของถัง (รูป 9) เมื่อเปิดการผสม ของเหลวจะไหลเข้าผ่านหัวฉีดผสมในถัง เมื่อปิดการผสม ของเหลวจะไหลผ่านปั๊มดูด
เกจแรงดันอยู่บนแผงควบคุม (รูป 6) เกจแสดงแรงดันของของเหลวในระบบเป็นหน่วยปอนด์ต่อตร.นิ้วและกิโลปาสกาล
จอ LCD ของ InfoCenter แสดงข้อมูลเกี่ยวกับอุปกรณ์และแพ็กแบตเตอรี่ เช่น ประจุไฟแบตเตอรี่ในขณะนี้ ความเร็ว ข้อมูลการวินิจฉัย และอีกมากมาย (รูป 6)
โปรดดูข้อมูลเพิ่มเติมในคู่มือซอฟต์แวร์ Multi Pro 1750
วาล์วลิ้นเร่ง-ผสมใช้เพื่อลดการไหลสำหรับวงจรการผสม และจะเพิ่มการไหลให้กับแขนบูมต่างๆ
Note: ข้อมูลจำเพาะและการออกแบบอาจมีการเปลี่ยนแปลงโดยไม่ต้องแจ้งให้ทราบ
| น้ำหนักพร้อมระบบฉีดพ่นมาตรฐาน ไม่มีของเหลว ไม่รวมผู้ปฏิบัติงาน | 953 กก. (2,100 ปอนด์) |
| น้ำหนักพร้อมระบบฉีดพ่นมาตรฐาน บรรจุของเหลวเต็ม ไม่รวมผู้ปฏิบัติงาน | 1,678 กก. (3,700 ปอนด์) |
| น้ำหนักยานยนต์รวบยอด (GVW) (บนพื้นราบ) | 1,814 กก. (4,000 ปอนด์) |
| ความยาวโดยรวมพร้อมระบบฉีดพ่นมาตรฐาน | 343 ซม. (135 นิ้ว) |
| ความสูงโดยรวมพร้อมระบบฉีดพ่นมาตรฐาน | 191 ซม. (75 นิ้ว) |
| ความสูงโดยรวมพร้อมระบบฉีดพ่นมาตรฐานจนถึงจุดสูงสุดของแขนบูมที่จัดเก็บในตำแหน่ง X | 246 ซม. (97 นิ้ว) |
| ความกว้างโดยรวมพร้อมระบบฉีดพ่นมาตรฐานที่จัดเก็บแขนบูมในตำแหน่ง ‘X’ | 178 ซม. (70 นิ้ว) |
| ความสูงจากพื้น | 14 ซม. (5.5 นิ้ว) |
| ฐานล้อ | 155 ซม. (61 นิ้ว) |
| ความจุของถัง (รวมการล้น 5% ตามมาตรฐาน CE) | 662 ลิตร (175 แกลลอนสหรัฐ) |
เราจัดจำหน่ายอุปกรณ์ต่อพ่วงและอุปกรณ์เสริมที่ Toro รับรองมากมายสำหรับใช้กับอุปกรณ์ เพื่อเสริมประสิทธิภาพและขยายความสามารถ ติดต่อตัวแทนจำหน่ายของ Toro ที่ได้รับอนุญาต
เพื่อสมรรถนะสูงสุดและความปลอดภัยในการใช้งานอย่างต่อเนื่อง โปรดใช้เฉพาะอะไหล่ทดแทนและอุปกรณ์เสริมของแท้จาก Toro อะไหล่ทดแทนและอุปกรณ์เสริมที่ผลิตโดยผู้ผลิตรายอื่นอาจเป็นอันตราย และการใช้งานดังกล่าวอาจทำให้การรับประกันผลิตภัณฑ์เป็นโมฆะ
Note: ดูด้านซ้ายและขวาของอุปกรณ์จากตำแหน่งปกติในการควบคุมอุปกรณ์
ห้ามมิให้เด็กหรือผู้ที่ไม่ผ่านการฝึกอบรมใช้งานหรือซ่อมบำรุงอุปกรณ์โดยเด็ดขาด กฎหมายท้องถิ่นอาจจำกัดอายุของผู้ขับขี่ เจ้าของเป็นผู้รับผิดชอบในการจัดการฝึกอบรมให้กับผู้ควบคุมและช่างซ่อมบำรุง
ทำความคุ้นเคยกับการใช้งานอุปกรณ์อย่างปลอดภัย ระบบควบคุมของผู้ขับขี่ และป้ายความปลอดภัย
ก่อนลุกจากตำแหน่งคนขับ ให้ปฏิบัติตามดังนี้:
จอดอุปกรณ์บนพื้นราบ
เปลี่ยนระบบส่งกำลังไปที่ตำแหน่ง เกียร์ว่าง (ธรรมดา) หรือตำแหน่ง จอด (ออโต้)
ดึงเบรกมือ
ดับเครื่องยนต์และดึงกุญแจออก (ถ้าเสียบอยู่)
รอให้การเคลื่อนไหวหยุดนิ่ง
เรียนรู้วิธีหยุดและดับเครื่องยนต์อย่างรวดเร็ว
ตรวจสอบว่าส่วนควบคุมตรวจจับผู้ปฏิบัติงาน สวิตช์ความปลอดภัย และแผงกั้นทั้งหมดมีติดตั้งไว้และทำงานถูกต้อง ใช้งานเฉพาะอุปกรณ์ที่ทำงานได้อย่างถูกต้องเท่านั้น
หากอุปกรณ์ทำงานไม่ถูกต้องหรือมีความเสียหายในรูปแบบใดก็ตาม ห้ามใช้อุปกรณ์ แก้ไขปัญหาก่อนจะใช้งานอุปกรณ์หรืออุปกรณ์ต่อพ่วง
ตรวจสอบให้แน่ใจว่าข้อต่อของเหลวทั้งหมดแน่นหนา และท่ออ่อนทั้งหมดอยู่ในสภาพดีก่อนจ่ายแรงดันเข้าไปในระบบ
โปรดใช้ความระมัดระวังอย่างยิ่งเมื่อจัดการกับน้ำมัน น้ำมันเป็นวัตถุติดไฟได้และละอองน้ำมันอาจระเบิดได้
ดับบุหรี่ ซิการ์ ไปป์ และแหล่งจุดไฟอื่นๆ ให้หมด
ใช้เฉพาะภาชนะบรรจุน้ำมันที่ผ่านการรับรองเท่านั้น
อย่าเปิดฝาถังเชื้อเพลิงหรือเติมน้ำมันเชื้อเพลิงในขณะที่เครื่องยนต์กำลังทำงานหรือร้อนอยู่
อย่าเติมหรือระบายน้ำมันในพื้นที่อับ
อย่าจัดเก็บอุปกรณ์หรือภาชนะบรรจุน้ำมันในที่ที่มีเปลวไฟ ประกายไฟ หรือไฟนำร่อง เช่น บนเครื่องทำน้ำร้อน หรือเครื่องใช้ไฟฟ้าอื่นๆ
หากน้ำมันหก อย่าพยายามสตาร์ทเครื่องยนต์ หลีกเลี่ยงการสร้างแหล่งจุดไฟจนกว่าละอองน้ำมันจะระเหยไป
สารเคมีที่ใช้ในเครื่องฉีดพ่นอาจเป็นอันตรายและเป็นพิษต่อตัวคุณ คนรอบตัว และสัตว์ และยังอาจสร้างความเสียหายต่อพืช ดิน และทรัพย์สินอื่นๆ
อ่านข้อมูลเกี่ยวกับสารเคมีแต่ละชนิด ปฏิเสธการใช้งานหรือทำงานกับเครื่องฉีดพ่นสารเคมี หากไม่มีข้อมูลเหล่านี้
ก่อนทำงานกับเครื่องฉีดพ่น ตรวจสอบให้แน่ใจว่าระบบผ่านการล้างมาแล้วสามรอบและทำให้เป็นกลางตามคำแนะนำของผู้ผลิตสารเคมี และวาล์วทั้งหมดผ่านการล้างแล้วสามรอบ
ตรวจสอบว่ามีแหล่งจ่ายน้ำสะอาดอย่างเพียงพอและมีสบู่อยู่ใกล้ๆ และล้างสารเคมีออกทันทีเมื่อคุณสัมผัสสารเคมี
อ่านและปฏิบัติตามฉลากคำเตือนของสารเคมีและเอกสารข้อมูลความปลอดภัย (SDS) ของสารเคมีที่ใช้ทั้งหมด และปกป้องตัวคุณเองตามคำแนะนำของผู้ผลิตสารเคมี
ปกป้องตัวเองเสมอขณะใช้สารเคมี ใช้อุปกรณ์ป้องกันตัวส่วนบุคคล (PPE) ที่เหมาะสมเพื่อปกป้องจากการสัมผัสสารเคมี เช่น อุปกรณ์ดังต่อไปนี้:
แว่นนิรภัย แว่นครอบดวงตา หรือ/หรือกระบังป้องกันใบหน้า
ชุดกันสารเคมี
เครื่องช่วยหายใจหรือหน้ากากกรอง
ถุงมือทนสารเคมี
รองเท้าบูทยางหรือรองเท้าที่ให้การปกป้องอย่างเพียงพอ
เสื้อผ้าสำหรับเปลี่ยนที่สะอาด สบู่ และผ้าเช็ดแบบใช้แล้วทิ้งสำหรับการทำความสะอาด
เข้ารับการฝึกอบรมที่เหมาะสมก่อนใช้หรือจัดการสารเคมี
ใช้สารเคมีที่ถูกต้องกับงาน
ปฏิบัติตามคำแนะนำของผู้ผลิตสารเคมีเพื่อให้ใช้งานสารเคมีอย่างถูกต้องและปลอดภัย อย่าใช้แรงดันเกินคำแนะนำของระบบ
อย่าเติม ปรับเทียบ หรือทำความสะอาดอุปกรณ์ในขณะที่มีผู้อื่น โดยเฉพาะเด็กหรือสัตว์เลี้ยงอยู่ในพื้นที่
จัดการสารเคมีในบริเวณที่มีอากาศถ่ายเทสะดวก
ห้ามกิน ดื่ม หรือสูบบุหรี่ขณะทำงานใกล้สารเคมี
อย่าทำความสะอาดหัวฉีดโดยการเป่าหรือวางไว้ในปาก
ล้างมือและบริเวณอื่นๆ ที่สัมผัสสารเคมีทันทีหลังจากทำงานกับสารเคมี
เก็บสารเคมีไว้ในบรรจุภัณฑ์เดิม และจัดเก็บไว้ในที่ปลอดภัย
ทิ้งสารเคมีที่ไม่ได้ใช้และภาชนะใส่สารเคมีให้ถูกต้องตามที่ผู้ผลิตและกฎหมายท้องถิ่นแนะนำ
สารเคมีและละอองเป็นอันตราย ห้ามเข้าไปในถังหรือยื่นศีรษะเข้าไปด้านในหรือเหนือปากถัง
ปฏิบัติตามกฎระเบียบของท้องถิ่น รัฐ และรัฐบาลกลางที่เกี่ยวกับการฉีดพ่นหรือโรยสารเคมี
เครื่องยนต์จัดส่งมาโดยมีน้ำมันในห้องข้อเหวี่ยง อย่างไรก็ตาม ให้ตรวจสอบระดับน้ำมันก่อนจะสตาร์ทเครื่องยนต์เป็นครั้งแรก และหลังจากที่เครื่องยนต์ทำงานแล้ว
จอดอุปกรณ์บนพื้นราบ
ดึงก้านวัดออกและเช็ดให้สะอาดด้วยผ้าขี้ริ้ว (รูป 10)
สอดก้านวัดลงในท่อและดูว่าก้านวัดเข้าไปจนสุด ดึงก้านวัดออกและตรวจสอบระดับน้ำมันเครื่อง

ถ้าระดับน้ำมันต่ำ เปิดฝาเติมจากฝาครอบวาล์ว (รูป 10) และเติมน้ำมันลงในช่องเติมจนกว่าระดับน้ำมันจะถึงขีด เต็ม บนก้านวัด โปรดดู การซ่อมบำรุงน้ำมันเครื่อง สำหรับประเภทและความหนืดของน้ำมันที่เหมาะสม
Note: เติมน้ำมันช้าๆ และตรวจเช็คระดับน้ำมันบ่อยๆ ในระหว่างขั้นตอนนี้ อย่าเติมจนล้น
ใส่ก้านวัดกลับเข้าที่ให้แน่นหนา
| ระยะการซ่อมบำรุง | ขั้นตอนการบำรุงรักษา |
|---|---|
| ก่อนการใช้งานแต่ละครั้งหรือทุกวัน |
|
อัดลมในล้อจนได้แรงดัน 138 กิโลปาสกาล (20 ปอนด์ต่อตร.นิ้ว) นอกจากนี้ ตรวจสอบการสึกหรอหรือความเสียหายบนล้อยาง
Note: เปลี่ยนล้อยางทั้งหมดที่สึกหรอหรือชำรุด
| น้ำมันปิโตรเลียม | ใช้น้ำมันเบนซินชนิดไร้สารตะกัวที่มีค่าออกเทน 87 ขึ้นไป (วิธีการคำนวณ (R+M)/2) |
| น้ำมันผสมเอทานอล | สามารถใช้น้ำมันเบนซินที่มีส่วนผสมของเอทานอลไม่เกิน 10% (แก๊สโซฮอล) หรือ MTBE (เมทิลเทอเทียรีบิวทิลอีเธอร์) 15% โดยปริมาตร เอทานอลและ MTBE ไม่เหมือนกัน |
| อุปกรณ์นี้รุ่นนี้ไม่รับรองให้ใช้น้ำมันเบนซินที่มีส่วนผสมของเอทานอล 15% (E15) โดยปริมาตร ห้ามใช้น้ำมันเบนซินที่มีส่วนผสมของเอทานอลมากกว่า 10% โดยปริมาตร เช่น E15 (มีเอทานอล 15%), E20 (มีเอทานอล 20%) หรือ E85 (มีเอทานอล 85%) การใช้น้ำมันเบนซินที่ไม่ได้รับการรับรองอาจส่งผลให้เกิดปัญหาด้านสมรรถนะของอุปกรณ์และ/หรือทำให้เครื่องยนต์เสียหาย ซึ่งการรับประกันอาจจะไม่คุ้มครอง |
Important: เพื่อผลลัพธ์ที่ดีที่สุด ใช้น้ำมันที่สะอาดและใหม่เท่านั้น (อายุไม่เกิน 30 วัน)
ห้ามใช้น้ำมันเบนซินที่มีส่วนผสมของเมทานอล
ห้ามเก็บเชื้อเพลิงไว้ในภาชนะหรือถังเชื้อเพลิงในช่วงฤดูหนาว เว้นแต่มีการใส่สารคงสภาพ
ห้ามผสมน้ำมันเครื่องกับน้ำมันเบนซิน
ความจุถังเชื้อเพลิงโดยประมาณคือ 19 ลิตร (5 แกลลอนสหรัฐ)
Note: ฝาถังเชื้อเพลิงมีเกจที่แสดงระดับเชื้อเพลิง ควรตรวจสอบบ่อยๆ
จอดอุปกรณ์บนพื้นราบ ดึงเบรกมือ ดับเครื่องยนต์ และดึงกุญแจออก
ทำความสะอาดบริเวณรอบฝาถังน้ำมัน (รูป 11)

เปิดฝาถังน้ำมัน
เติมน้ำมันลงในถังให้ต่ำกว่าด้านบนสุดของถัง (ด้านล่างสุดของคอช่องเติม) ประมาณ 2.5 มม. (1 นิ้ว)
Note: พื้นที่ว่างในถังนี้เผื่อไว้ให้น้ำมันเชื้อเพลิงขยายตัว อย่าเติมน้ำมันมากเกินไป
ติดตั้งฝาถังเชื้อเพลิงเข้ากับถังให้แน่นหนา
เช็ดน้ำมันใดๆ ที่หก
| ระยะการซ่อมบำรุง | ขั้นตอนการบำรุงรักษา |
|---|---|
| ก่อนการใช้งานแต่ละครั้งหรือทุกวัน |
|
เพื่อให้เครื่องฉีดพ่นมีประสิทธิภาพที่เหมาะสมและมีอายุการใช้งานยาวนาน ปฏิบัติตามแนวทางเหล่านี้หลังจากใช้งานครบ 100 ชั่วโมงแรก:
ตรวจสอบระดับน้ำมันเครื่องและน้ำยาเป็นประจำ และคอยสังเกตสัญลักษณ์ความร้อนสูงเกินในส่วนประกอบต่างๆ ของเครื่องฉีดพ่น
หลังจากสตาร์ทเครื่องยนต์ที่เย็น ให้อุ่นเครื่องประมาณ 15 นาทีก่อนเหยียบแป้นคันเร่ง
เพื่อให้ระบบเบรกมีประสิทธิภาพ แนะนำให้เบิร์นเบรก (ขัดเบรก) ด้วยวิธีต่อไปนี้:
บรรจุน้ำในถังขนาด 454 ลิตร (120 แกลลอนสหรัฐ)
ย้ายอุปกรณ์ไปยังบริเวณที่ราบเปิดโล่ง
ขับอุปกรณ์ด้วยความเร็วเต็มกำลัง
เหยียบเบรกย้ำๆ
Note: หยุดอุปกรณ์บนทางตรงโดยไม่ล็อกล้อ
รอ 1 นาทีเพื่อให้เบรกเย็นลง
ทำซ้ำขั้นตอน 3 ถึง 5 เพิ่มอีก 9 ครั้ง
ระวังไม่ให้เครื่องยนต์เร็วเกินไป
คอยเปลี่ยนความเร็วเครื่องฉีดพ่นขณะใช้งาน หลีกเลี่ยงการสตาร์ทเร็วและการหยุดฉับพลัน
โปรดดู สำหรับการตรวจสอบพิเศษและการตรวจสอบเมื่อไม่ใช้งาน
Note: โปรดดูแนวทางการเลือกหัวฉีด ซึ่งขอรับได้จากตัวแทนจำหน่าย Toro ที่ได้รับอนุญาต
ตัวแท่นหมุนหัวฉีดรองรับหัวฉีดได้ 3 ขนาด เลือกหัวฉีดที่ต้องการตามวิธีต่อไปนี้:
จอดเครื่องฉีดพ่นบนพื้นราบ ดับเครื่องยนต์ และดึงเบรกมือ
ตั้งค่าสวิตช์แขนบูมหลักมายังตำแหน่ง ปิด และตั้งค่าสวิตช์ปั๊มสเปรย์มายังตำแหน่ง ปิด
หมุนแท่นหมุนหัวฉีดไปทางใดทางหนึ่งเพื่อเลือกหัวฉีดที่ถูกต้อง
ปรับเทียบการไหลของเครื่องฉีดพ่น โปรดดู การปรับเทียบการไหลของเครื่องฉีดพ่น
ปรับเทียบวาล์วบายพาสของแขนบูม โปรดดู การปรับเทียบวาล์วบายพาสแขนบูม
อุปกรณ์มาตรฐาน: ตัวกรองดูดตะแกรงขนาด 50 (น้ำเงิน)
ใช้ตารางตัวกรองดูดเพื่อเลือกตะแกรงให้เหมาะกับหัวฉีดที่คุณใช้งาน ซึ่งอิงตามผลิตภัณฑ์หรือน้ำยาเคมีที่มีความหนืดเทียบเท่ากับน้ำ
| รหัสสีของหัวฉีดพ่น (อัตราการไหล) | ขนาดตะแกรง* | รหัสสีตัวกรอง |
|---|---|---|
| เหลือง (0.2 แกลลอนต่อนาที) | 50 | น้ำเงิน |
| แดง (0.4 แกลลอนต่อนาที) | 50 | น้ำเงิน |
| น้ำตาล (0.5 แกลลอนต่อนาที) | 50 (หรือ 30) | น้ำเงิน (หรือเขียว) |
| เทา (0.6 แกลลอนต่อนาที) | 30 | เขียว |
| ขาว (0.8 แกลลอนต่อนาที) | 30 | เขียว |
| น้ำเงิน (1.0 แกลลอนต่อนาที) | 30 | เขียว |
| เขียว (1.5 แกลลอนต่อนาที) | 30 | เขียว |
| *ขนาดตะแกรงของตัวกรองดูดในตารางนี้อิงตามสารเคมีหรือน้ำยาที่มีความหนืดเทียบเท่ากับน้ำ | ||
Important: เมื่อฉีดพ่นผลิตภัณฑ์หรือน้ำยาเคมีที่มีความหนืดมากกว่าน้ำ (ข้นกว่า) ที่เป็นสารเคมีละลายน้ำชนิดผง คุณอาจต้องใช้ตะแกรงตากว้างขึ้นสำหรับตัวกรองดูด โปรดดู รูป 12

เมื่อฉีดพ่นในอัตราสูง พิจารณาใช้ตะแกรงตัวกรองดูดที่มีช่องตะแกรงใหญ่ขึ้น โปรดดู รูป 13

ขนาดตะแกรงที่มี ได้แก่:
อุปกรณ์มาตรฐาน: ตัวกรองดูดตะแกรงขนาด 50 (น้ำเงิน)
ใช้ตารางตัวกรองแรงดันเพื่อเลือกตะแกรงให้เหมาะกับหัวฉีดที่คุณใช้งาน ซึ่งอิงตามผลิตภัณฑ์หรือน้ำยาเคมีที่มีความหนืดเทียบเท่ากับน้ำ
| รหัสสีของหัวฉีดพ่น (อัตราการไหล) | ขนาดตะแกรง* | รหัสสีตัวกรอง |
|---|---|---|
| ตามที่จำเป็นสำหรับสารเคมีหรือน้ำยาที่มีความหนืดต่ำหรืออัตราการฉีดพ่นต่ำ | 100 | เขียว |
| เหลือง (0.2 แกลลอนต่อนาที) | 80 | เหลือง |
| แดง (0.4 แกลลอนต่อนาที) | 50 | น้ำเงิน |
| น้ำตาล (0.5 แกลลอนต่อนาที) | 50 | น้ำเงิน |
| เทา (0.6 แกลลอนต่อนาที) | 50 | น้ำเงิน |
| ขาว (0.8 แกลลอนต่อนาที) | 50 | น้ำเงิน |
| น้ำเงิน (1.0 แกลลอนต่อนาที) | 50 | น้ำเงิน |
| เขียว (1.5 แกลลอนต่อนาที) | 50 | น้ำเงิน |
| ตามที่จำเป็นสำหรับสารเคมีหรือน้ำยาที่มีความหนืดสูงหรืออัตราการฉีดพ่นสูง | 30 | แดง |
| ตามที่จำเป็นสำหรับสารเคมีหรือน้ำยาที่มีความหนืดสูงหรืออัตราการฉีดพ่นสูง | 16 | น้ำตาล |
| *ขนาดตะแกรงของตัวกรองแรงดันในตารางนี้อิงตามสารเคมีหรือน้ำยาที่มีความหนืดเทียบเท่ากับน้ำ | ||
Important: เมื่อฉีดพ่นผลิตภัณฑ์หรือน้ำยาเคมีที่มีความหนืดมากกว่าน้ำ (ข้นกว่า) ที่เป็นสารเคมีละลายน้ำชนิดผง คุณอาจต้องใช้ตะแกรงตากว้างขึ้นสำหรับตัวกรองแรงดัน โปรดดู รูป 14

เมื่อฉีดพ่นในอัตราสูง พิจารณาใช้ตะแกรงตัวกรองแรงดันที่มีช่องตะแกรงใหญ่ขึ้น โปรดดู รูป 15

Note: ใช้ตัวกรองปลายหัวฉีดเสริมเพื่อปกป้องปลายหัวฉีดพ่นและเพิ่มอายุการใช้งาน
ใช้ตารางตัวกรองปลายหัวฉีดเพื่อเลือกตะแกรงให้เหมาะกับหัวฉีดที่คุณใช้งาน ซึ่งอิงตามผลิตภัณฑ์หรือน้ำยาเคมีที่มีความหนืดเทียบเท่ากับน้ำ
| รหัสสีของหัวฉีดพ่น (อัตราการไหล) | ขนาดตะแกรงกรอง* | รหัสสีตัวกรอง |
|---|---|---|
| เหลือง (0.2 แกลลอนต่อนาที) | 100 | เขียว |
| แดง (0.4 แกลลอนต่อนาที) | 50 | น้ำเงิน |
| น้ำตาล (0.5 แกลลอนต่อนาที) | 50 | น้ำเงิน |
| เทา (0.6 แกลลอนต่อนาที) | 50 | น้ำเงิน |
| ขาว (0.8 แกลลอนต่อนาที) | 50 | น้ำเงิน |
| น้ำเงิน (1.0 แกลลอนต่อนาที) | 50 | น้ำเงิน |
| เขียว (1.5 แกลลอนต่อนาที) | 50 | น้ำเงิน |
| *ขนาดตะแกรงของตัวกรองหัวฉีดในตารางนี้อิงตามสารเคมีหรือน้ำยาที่มีความหนืดเทียบเท่ากับน้ำ | ||
Important: เมื่อฉีดพ่นผลิตภัณฑ์หรือน้ำยาเคมีที่มีความหนืดมากกว่าน้ำ (ข้นกว่า) ที่เป็นสารเคมีละลายน้ำชนิดผง คุณอาจต้องใช้ตะแกรงตากว้างขึ้นสำหรับตัวกรองปลายหัวฉีด โปรดดู รูป 16

เมื่อฉีดพ่นในอัตราสูง พิจารณาใช้ตะแกรงตัวกรองปลายหัวฉีดที่มีช่องตะแกรงใหญ่ขึ้น โปรดดู รูป 17

Important: อย่าใช้น้ำที่นำกลับมาใช้ใหม่ (น้ำทิ้ง) ในถังน้ำสะอาด
Note: ถังน้ำสะอาดใช้เพื่อจ่ายน้ำสะอาดสำหรับล้างสารเคมีออกจากผิว ดวงตา หรือพื้นผิวอื่นๆ ในกรณีที่สัมผัสสารเคมีโดยอุบัติเหตุ
เติมถังน้ำสะอาดด้วยน้ำสะอาดไว้เสมอก่อนจัดการหรือผสมสารเคมี
เติมน้ำลงในถังโดยการหมุนฝาที่ด้านบนถังออก เติมน้ำสะอาดลงในถัง และปิดฝา (รูป 18)
เปิดหัวก๊อกน้ำสะอาดโดยการบิดหัวก๊อก (รูป 18)

ติดตั้งอุปกรณ์เสริมชุดผสมสารเคมี เพื่อการผสมที่มีประสิทธิภาพและความสะอาดของภายนอกถัง
Important: ถ้าเป็นไปได้ อย่าใช้น้ำที่นำกลับมาใช้ใหม่ (น้ำทิ้ง) ในถังฉีดพ่น
Important: ตรวจสอบให้แน่ใจว่า สารเคมีที่คุณใช้เข้ากันได้สำหรับการใช้งานกับ VitonTM (ดูฉลากของผู้ผลิต ฉลากควรระบุไว้หากใช้ด้วยกันไม่ได้) การใช้สารเคมีที่เข้ากันไม่ได้กับ VitonTM จะทำให้โอริงในเครื่องฉีดพ่นเสื่อมสภาพ และทำให้เกิดการรั่วไหล
Important: ตรวจสอบให้แน่ใจว่า ได้ตั้งค่าอัตราการฉีดพ่นไว้อย่างเหมาะสมก่อนเติมสารเคมีลงในถัง
ไล่ล้างระบบฉีดพ่นด้วยสารปรับสภาพระบบฉีดพ่นโดยการเปิดให้แขนบูมทำงาน
จอดเครื่องฉีดพ่นบนพื้นราบ ขยับคันเกียร์ไปยังตำแหน่ง เกียร์ว่าง ดับเครื่องยนต์ และดึงเบรกมือ
ตรวจสอบให้แน่ใจว่า วาล์วระบายของถังปิดอยู่
ประเมินปริมาณน้ำที่ต้องใช้ในการผสมสารเคมีที่ต้องการตามคำแนะนำของผู้ผลิตสารเคมี
เปิดฝาครอบถังบนถังฉีดพ่น
Note: ฝาครอบถังอยู่ที่ด้านบนสุดบริเวณกลางถัง เปิดฝาครอบโดยการหมุนครึ่งหน้าของฝาครอบทวนเข็มนาฬิกาและเปิดออก คุณสามารถถอดตะแกรงกรองด้านในมาทำความสะอาดได้ ปิดผนึกถัง โดยการปิดฝาครอบและหมุนครึ่งหน้าตามเข็มนาฬิกา
เติมน้ำ 3/4 ส่วนของน้ำที่จำเป็นต้องใช้ลงในถังฉีดพ่นโดยใช้จุกเติมป้องกันการไหล
Important: ใช้น้ำสะอาดเสมอในถังฉีดพ่น อย่าเทสารเคมีเข้มข้นลงในถังเปล่า

สตาร์ทเครื่องยนต์และตั้งค่าสวิตช์ปั๊มไว้ในตำแหน่ง เปิด
เหยียบแป้นคันเร่งลงบนพื้นและตั้งค่าล็อกลิ้นเร่งไปที่ตำแหน่ง เปิด
ตั้งค่าสวิตช์แขนบูมหลักไปที่ตำแหน่ง ปิด
หมุนวาล์วผสมไปยังตำแหน่ง เปิด
เติมสารเคมีเข้มข้นในปริมาณที่ถูกต้องลงในถังตามคำแนะนำของผู้ผลิตสารเคมี
Important: หากคุณใช้สารเคมีละลายน้ำชนิดผงโดยไม่เปิดการผสมเต็มที่ ให้ผสมผงกับน้ำเล็กน้อยจนเป็นสารละลายข้นก่อนจะเติมลงในถัง
เติมน้ำที่เหลือลงในถัง
Note: เพื่อการผสมที่ดีขึ้น ลดอัตราการฉีดพ่นลง
Important: หลังจากเติมถังเป็นครั้งแรก ตรวจดูแถบรัดถังว่าหลวมหรือไม่ ปรับให้แน่นตามที่จำเป็น
| ระยะการซ่อมบำรุง | ขั้นตอนการบำรุงรักษา |
|---|---|
| ก่อนการใช้งานแต่ละครั้งหรือทุกวัน |
|
Important: การขันตัวยึดแถบรัดถังแน่นเกินไปอาจทำให้ถังและแถบรัดผิดรูปและเสียหายได้
Important: ถ้าเป็นไปได้ อย่าใช้น้ำที่นำกลับมาใช้ใหม่ (น้ำทิ้ง) ในถังฉีดพ่น
ปรับเทียบการไหลของเครื่องฉีดพ่นก่อนใช้งานเครื่องฉีดพ่นเป็นครั้งแรก หากคุณเปลี่ยนหัวฉีด หรือตามที่จำเป็น
อุปกรณ์ที่ผู้ปฏิบัติงานต้องจัดเตรียม: นาฬิกาหยุดเวลาที่สามารถวัดได้ ± 1/10 วินาทีและภาชนะที่บอกปริมาณเพิ่มทีละ 50 มล. (1 ออนซ์ของเหลว)
Important: ถ้าเป็นไปได้ อย่าใช้น้ำที่นำกลับมาใช้ใหม่ (น้ำทิ้ง) ในถังฉีดพ่น
เติมน้ำสะอาดลงในถังฉีดพ่น
Note: ตรวจสอบให้แน่ใจว่ามีน้ำเพียงพอในถังจนการปรับเทียบเสร็จสิ้น
ดึงเบรกมือและสตาร์ทเครื่องยนต์
ตั้งค่าสวิตช์ปั๊มไปยังตำแหน่ง เปิด และเปิดการผสม
เหยียบแป้นคันเร่งจนกว่ารอบเครื่องยนต์จะทำงานสูงสุด จากนั้น สับสวิตช์ล็อกลิ้นเร่งไปที่ตำแหน่ง เปิด
ตั้งค่าสวิตช์แขนบูมทั้ง 3 ส่วนและสวิตช์แขนบูมหลักไปยังตำแหน่ง เปิด
หมุนสวิตช์ผู้ดูแล (ล็อกอัตราการฉีดพ่น) ไปยังตำแหน่ง ปลดล็อก
เตรียมการทดสอบการรับน้ำโดยใช้ภาชนะ
เริ่มต้นที่ 2.75 บาร์ (40 ปอนด์ต่อตร.นิ้ว) และใช้สวิตช์อัตราการฉีดพ่นปรับแรงดันการฉีดพ่น เพื่อให้น้ำที่รับได้มีปริมาณตามที่แสดงในตารางด้านล่าง
Note: ทำซ้ำการทดสอบ 3 รอบและใช้ค่าเฉลี่ย
| สีหัวฉีด | ปริมาตรเป็นมิลลิเมตรที่รวบรวมได้ใน 15 วินาที | ปริมาตรเป็นออนซ์ที่รวบรวมได้ใน 15 วินาที |
| เหลือง | 189 | 6.4 |
| แดง | 378 | 12.8 |
| น้ำตาล | 473 | 16.0 |
| เทา | 567 | 19.2 |
| ขาว | 757 | 25.6 |
| น้ำเงิน | 946 | 32.0 |
| เขียว | 1,419 | 48.0 |
เมื่อการทดสอบการรับน้ำได้ปริมาณตามที่แสดงในตารางข้างต้นแล้ว ตั้งค่าสวิตช์ล็อกอัตราการฉีดพ่นของผู้ดูแลไปยังตำแหน่ง ล็อก
ปิดสวิตช์แขนบูมหลัก
บน InfoCenter เลื่อนไปที่เมนู Calibration และเลือก FLOW CAL ดังนี้:
Note: เลือกไอคอนหน้าจอหลักเพื่อยกเลิกการปรับเทียบตอนไหนก็ได้
กดปุ่มเลือกตรงกลางบน InfoCenter สองครั้งเพื่อเข้าสู่เมนู
เข้าสู่เมนูการปรับเทียบโดยการกดปุ่มเลือกด้านขวาบน InfoCenter
เลือก FLOW CAL โดยการไฮไลต์ FLOW CAL และกดปุ่มเลือกด้านขวาบน InfoCenter
ในหน้าจอถัดไป ป้อนปริมาณน้ำที่จะฉีดพ่นออกจากแขนบูมสำหรับขั้นตอนการปรับเทียบ โปรดดูแผนภูมิด้านล่าง
กดปุ่มเลือกด้านขวาบน InfoCenter
ใช้สัญลักษณ์บวก (+) และลบ (-) เพื่อป้อนปริมาณการไหลตามตารางด้านล่าง
| สีหัวฉีด | ลิตร | แกลลอนสหรัฐ |
| เหลือง | 42 | 11 |
| แดง | 83 | 22 |
| น้ำตาล | 106 | 28 |
| เทา | 125 | 33 |
| ขาว | 167 | 44 |
| น้ำเงิน | 208 | 55 |
| เขียว | 314 | 83 |
ปิดสวิตช์แขนบูมหลักไว้ 5 นาที
Note: ขณะที่อุปกรณ์กำลังฉีดพ่น InfoCenter จะแสดงปริมาณน้ำที่นับได้
หลังจากฉีดพ่นไป 5 นาที เลือกเครื่องหมายถูกโดยการกดปุ่มตรงกลางบน InfoCenter
Note: ปริมาณแกลลอนที่แสดงในระหว่างขั้นตอนการปรับเทียบไม่จำเป็นต้องตรงกับปริมาณน้ำที่ป้อนลงใน InfoCenter
ปิดสวิตช์แขนบูมหลัก
Note: การปรับเทียบเสร็จสิ้นแล้ว
ปรับเทียบความเร็วของเครื่องฉีดพ่นก่อนใช้งานเครื่องฉีดพ่นเป็นครั้งแรก หากคุณเปลี่ยนหัวฉีด หรือตามที่จำเป็น
Important: ถ้าเป็นไปได้ อย่าใช้น้ำที่นำกลับมาใช้ใหม่ (น้ำทิ้ง) ในถังฉีดพ่น
เติมน้ำสะอาดลงในถัง
ในพื้นที่ราบและเปิดโล่ง ทำเครื่องหมายระยะทางระหว่าง 45 ถึง 152 เมตร (150 ถึง 500 ฟุต)พื้
Note: Toro ขอแนะนำให้ทำเครื่องหมายที่ 152 เมตร (500 ฟุต) เพื่อผลลัพธ์ที่แม่นยำยิ่งขึ้น
สตาร์ทเครื่องยนต์และขับไปที่จุดเริ่มต้นของระยะทางที่ทำเครื่องหมายไว้
Note: เรียงศูนย์กลางล้อหน้าให้ตรงกับเส้นเริ่มต้นเพื่อการวัดที่แม่นยำที่สุด
บน InfoCenter เลื่อนไปที่เมนู Calibration และเลือก SPEED CAL
Note: เลือกไอคอนหน้าจอหลักเพื่อยกเลิกการปรับเทียบตอนไหนก็ได้
เลือกลูกศรถัดไป (→) บน InfoCenter
ใช้สัญลักษณ์บวก (+) และลบ (-) ป้อนระยะทางที่ทำเครื่องหมายลงใน InfoCenter
เปลี่ยนเกียร์เป็นเกียร์หนึ่ง และขับเป็นเส้นตรงโดยที่ลิ้นเร่งเปิดสุดตามระยะทางที่ทำเครื่องหมายไว้
หยุดอุปกรณ์ที่ระยะทางที่ทำเครื่องหมายไว้ และเลือกเครื่องหมายถูกบน InfoCenter
Note: ชะลอความเร็วและคอยหยุดให้ศูนย์กลางล้อหน้าตรงกับเส้นปลายทาง เพื่อให้การวัดแม่นยำที่สุด
Note: การปรับเทียบเสร็จสิ้นแล้ว
ปรับเทียบวาล์วบายพาสแขนบูมของเครื่องฉีดพ่นก่อนใช้งานเครื่องฉีดพ่นเป็นครั้งแรก หากคุณเปลี่ยนหัวฉีด หรือตามที่จำเป็น
Important: เลือกบริเวณเปิดโล่งและราบเพื่อดำเนินการตามขั้นตอนนี้
Important: ถ้าเป็นไปได้ อย่าใช้น้ำที่นำกลับมาใช้ใหม่ (น้ำทิ้ง) ในถังฉีดพ่น
เติมน้ำสะอาดลงในถังให้ได้ครึ่งถัง
ลดระดับแขนบูมของเครื่องฉีดพ่นลงมา
เข้าเกียร์ตำแหน่งเกียร์ว่าง และดึงเบรกมือ
ตั้งค่าสวิตช์แขนบูม 3 ส่วนไปยังตำแหน่ง เปิด และปิดสวิตช์แขนบูมหลักไว้
ตั้งค่าสวิตช์ปั๊มไปยังตำแหน่ง เปิด และเปิดการผสม
เหยียบแป้นคันเร่งจนกว่ารอบเครื่องยนต์จะทำงานสูงสุด และสับสวิตช์ล็อกลิ้นเร่งไปที่ตำแหน่ง เปิด
บน InfoCenter เลื่อนไปที่เมนู Calibration และเลือก TEST SPEED
Note: เลือกไอคอนหน้าจอหลักเพื่อยกเลิกการปรับเทียบตอนไหนก็ได้
ใช้สัญลักษณ์บวก (+) และลบ (-) ป้อนความเร็วทดสอบคือ 5.6 กม./ชม. (3.5 ไมล์ต่อชั่วโมง) จากนั้นเลือกไอคอนหน้าหลัก
หมุนสวิตช์ผู้ดูแล (ล็อกอัตราการฉีดพ่น) ไปยังตำแหน่ง ปลดล็อก และหมุนสวิตช์แขนบูมหลักไปยังตำแหน่ง เปิด
ใช้สวิตช์อัตราการฉีดพ่นปรับอัตราการฉีดพ่นตามตารางด้านล่าง
| สีหัวฉีด | SI (เมตริก) | อังกฤษ | สนาม |
| เหลือง | 159 ลิตร/เฮกตาร์ | 17 แกลลอนต่อเอเคอร์ | 0.39 แกลลอนต่อกิโลเมตร |
| แดง | 319 ลิตร/เฮกตาร์ | 34 แกลลอนต่อเอเคอร์ | 0.78 แกลลอนต่อกิโลเมตร |
| น้ำตาล | 394 ลิตร/เฮกตาร์ | 42 แกลลอนต่อเอเคอร์ | 0.96 แกลลอนต่อกิโลเมตร |
| เทา | 478 ลิตร/เฮกตาร์ | 51 แกลลอนต่อเอเคอร์ | 1.17 แกลลอนต่อกิโลเมตร |
| ขาว | 637 ลิตร/เฮกตาร์ | 68 แกลลอนต่อเอเคอร์ | 1.56 แกลลอนต่อกิโลเมตร |
| น้ำเงิน | 796 ลิตร/เฮกตาร์ | 85 แกลลอนต่อเอเคอร์ | 1.95 แกลลอนต่อกิโลเมตร |
| เขียว | 1,190 ลิตร/เฮกตาร์ | 127 แกลลอนต่อเอเคอร์ | 2.91 แกลลอนต่อกิโลเมตร |
ปิดแขนบูมส่วนซ้าย และปรับลูกบิดบายพาสแขนบูม (รูป 21) จนกว่าแรงดันจะอ่านค่าได้ตามระดับที่ปรับได้ก่อนหน้านี้ (โดยทั่วไปคือ 2.75 บาร์หรือ 40 ปอนด์ต่อตร.นิ้ว)
Note: ตัวเลขชี้วัดบนลูกบิดบายพาสและเข็มมีไว้สำหรับอ้างอิงเท่านั้น

เปิดแขนบูมส่วนซ้ายและปิดแขนบูมส่วนขวา
ปรับลูกบิดบายพาสแขนบูมส่วนขวา (รูป 21) จนกว่าแรงดันจะอ่านค่าได้ตามระดับที่ปรับได้ก่อนหน้านี้ (โดยทั่วไปคือ 2.75 บาร์หรือ 40 ปอนด์ต่อตร.นิ้ว)
เปิดแขนบูมส่วนขวาและปิดแขนบูมตรงกลาง
ปรับลูกบิดบายพาสแขนบูมตรงกลาง (รูป 21) จนกว่าแรงดันจะอ่านค่าได้ตามระดับที่ปรับได้ก่อนหน้านี้ (โดยทั่วไปคือ 2.75 บาร์หรือ 40 ปอนด์ต่อตร.นิ้ว)
ปิดแขนบูมแต่ละส่วน
ปิดปั๊ม
Note: การปรับเทียบเสร็จสิ้นแล้ว
| ระยะการซ่อมบำรุง | ขั้นตอนการบำรุงรักษา |
|---|---|
| ทุกปี |
|
Important: ถ้าเป็นไปได้ อย่าใช้น้ำที่นำกลับมาใช้ใหม่ (น้ำทิ้ง) ในถังฉีดพ่น
เลือกบริเวณเปิดโล่งและราบเพื่อดำเนินการตามขั้นตอนนี้
เติมน้ำสะอาดลงในถังฉีดพ่น
ตรวจสอบว่าวาล์วควบคุมการผสมเปิดอยู่ หากมีการปรับแล้ว ให้เปิดจนสุดตอนนี้
ดึงเบรกมือและสตาร์ทเครื่องยนต์
เข้าเกียร์เป็น เกียร์ว่าง
ตั้งค่าสวิตช์ปั๊มไปที่ตำแหน่ง เปิด
เหยียบแป้นคันเร่งจนรอบเครื่องยนต์ทำงานเต็มพิกัด และตั้งค่าล็อกลิ้นเร่ง
ตั้งค่าวาล์วแขนบูม 3 ส่วนไปที่ตำแหน่ง ปิด
ตั้งค่าสวิตช์แขนบูมหลักไปที่ตำแหน่ง เปิด
ตั้งค่าแรงดันระบบไปที่ สูงสุด
กดสวิตช์ผสมไปที่ตำแหน่ง ปิด และอ่านค่าเกจแรงดัน
หากค่าคงอยู่ที่ 6.9 บาร์ (100 ปอนด์ต่อตร.นิ้ว) แสดงว่าวาล์วบายพาสการผสมปรับเทียบถูกต้องแล้ว
หากเกจแรงดันอ่านค่าได้ต่างออกไป ให้ดำเนินการตามขั้นตอนถัดไป
ปรับวาล์วบายพายการผสม (รูป 23) ที่ด้านหลังของวาล์วผสมจนกว่าแรงดันอ่านค่าบนเกจได้ 6.9 บาร์ (100 ปอนด์ต่อตร.นิ้ว)

กดสวิตช์ปั๊มไปที่ตำแหน่ง ปิด เปลี่ยนคันโยกลิ้นเร่งไปที่ตำแหน่ง เดินรอบเบา และบิดกุญแจสวิตช์สตาร์ทไปที่ตำแหน่ง ปิด
Important: ถ้าเป็นไปได้ อย่าใช้น้ำที่นำกลับมาใช้ใหม่ (น้ำทิ้ง) ในถังฉีดพ่น
Note: การปรับวาล์วบายพาสแขนบูมหลักจะลดหรือเพิ่มปริมาณการไหลที่ส่งไปยังหัวฉีดผสมในถัง เมื่อตั้งค่าสวิตช์แขนบูมหลักไปยังตำแหน่ง ปิด
เติมน้ำสะอาดลงในถังเครื่องฉีดพ่นให้ได้ 1/2 ถัง
ย้ายอุปกรณ์ไปยังบริเวณที่ราบเปิดโล่ง
ดึงเบรกมือ
ดันคันเกียร์ไปที่ตำแหน่ง เกียร์ว่าง
ตั้งค่าสวิตช์ปั๊มไปที่ตำแหน่ง เปิด
ตั้งค่าสวิตช์ผสมไปที่ตำแหน่ง เปิด
ตั้งค่าสวิตช์แขนบูมหลักไปที่ตำแหน่ง ปิด
เพิ่มรอบเครื่องยนต์จนลิ้นเร่งเปิดเต็มที่ และตั้งค่าล็อกลิ้นเร่งไปที่ตำแหน่ง เปิด
ปรับมือจับบายพาสแขนบูมหลักเพื่อควบคุมปริมาณการผสมที่เกิดขึ้นในถัง (รูป 23)
ลดความเร็วลิ้นเร่งเป็นเดินรอบเบา
ตั้งค่าสวิตช์ผสมและสวิตช์ปั๊มไปที่ตำแหน่ง ปิด
ดับเครื่องยนต์ของอุปกรณ์
ปั๊มสเปรย์อยู่ใต้เบาะที่นั่ง (รูป 24)

เจ้าของ/ผู้ควบคุมสามารถป้องกันอุบัติเหตุได้ และยังเป็นผู้รับผิดชอบอุบัติเหตุที่อาจส่งผลให้เกิดการบาดเจ็บหรือความเสียหายต่อทรัพย์สินด้วย
สวมใส่เสื้อผ้าที่เหมาะสม รวมถึงอุปกรณ์ป้องกันดวงตา กางเกงขายาว รองเท้ากันลื่นที่แน่นหนา และอุปกรณ์ป้องกันการได้ยิน ถ้าผมยาวให้มัดไปข้างหลังและอย่าสวมใส่เสื้อผ้าหลวมหรือเครื่องประดับที่หย่อน
สวมใส่อุปกรณ์ป้องกันตัวส่วนบุคคลตามที่ระบุในข้อมูลด้านความปลอดภัยของสารเคมี
โปรดมีสมาธิขณะควบคุมเครื่องจักร อย่าทำกิจกรรมที่ทำให้เสียสมาธิ มิฉะนั้นอาจส่งผลให้เกิดการบาดเจ็บหรือเกิดความเสียหายต่อทรัพย์สินได้
อย่าขับรถขณะป่วย เหนื่อยล้า หรืออยู่ภายใต้ฤทธิ์ของแอลกอฮอล์หรือยาเสพติด
อย่าขนส่งผู้โดยสารบนอุปกรณ์
ใช้งานอุปกรณ์ในสถานที่ที่มองเห็นทัศนวิสัยดีเท่านั้น หลีกเลี่ยงหลุมหรืออันตรายที่ซ่อนอยู่
ก่อนที่จะสตาร์ทเครื่องยนต์ ตรวจสอบให้แน่ใจว่าคุณอยู่ในตำแหน่งควบคุม เกียร์อยู่ในตำแหน่ง เกียร์ว่าง (ธรรมดา) หรือตำแหน่ง จอด (ออโต) และดึงเบรกมือไว้
นั่งประจำที่ตอนที่อุปกรณ์เคลื่อนที่ มือทั้งสองข้างจับบนพวงมาลัยทุกเมื่อที่ทำได้ และเก็บแขนและขาไว้ในห้องขับเสมอ
ใช้ความระมัดระวังเมื่อเข้าใกล้มุมอับ พุ่มไม้ ต้นไม้ หรือวัตถุอื่นๆ ที่อาจขัดขวางการมองเห็น
ก่อนถอยหลัง มองไปข้างหลังและตรวจสอบว่าไม่มีใครอยู่หลังคุณ ถอยหลังช้าๆ
ห้ามฉีดพ่นในขณะที่มีคนอื่น โดยเฉพาะเด็กๆ หรือสัตว์เลี้ยงอยู่ใกล้เคียง
อย่าขับอุปกรณ์เข้าใกล้ทางชัน คลอง หรือทำนบ เพราะอุปกรณ์อาจพลิกคว่ำฉับพลัน หากล้อข้ามขอบหรือขอบลาดลงไป
ลดความเร็วขณะใช้งานบนเส้นทางขรุขระ ไม่สม่ำเสมอ และอยู่ใกล้ขอบทางเดิน หลุมบ่อ และเมื่อทางเปลี่ยนแปลงฉับพลัน น้ำหนักอาจถ่ายเท ทำให้อุปกรณ์ไม่มั่นคงได้
สภาพเส้นทางที่เปลี่ยนแปลงฉับพลันอาจกระทบต่อการเคลื่อนที่ของพวงมาลัย ซึ่งอาจทำให้แขนและมือบาดเจ็บได้ จับพวงมาลัยหลวมๆ บริเวณขอบ และเก็บมือให้ห่างจากซี่ด้านในพวงมาลัย
หยุดอุปกรณ์ ดับเครื่องยนต์ ดึงกุญแจออก ดึงเบรกมือ และตรวจสอบความเสียหายหลังจากชนวัตถุ หรือหากอุปกรณ์สั่นผิดปกติ จากนั้นซ่อมแซมทั้งหมดที่จำเป็นก่อนทำงานต่อไปซ่อมแซมความเสียหายทั้งหมดก่อนกลับไปใช้งานต่อ
ชะลอความเร็วลง และขับอุปกรณ์ด้วยความระมัดระวังขณะเลี้ยว รวมถึงตอนข้ามถนนและทางเดิน ให้ทางรถคันอื่นเสมอตามสิทธิ์ทุกครั้ง
ใช้ความระมัดระวังเป็นพิเศษขณะใช้งานอุปกรณ์บนพื้นเปียก เมื่อสภาพอากาศไม่เป็นใจ เมื่อใช้ความเร็วสูง หรือเมื่อบรรทุกเต็มพิกัด เวลาหยุดและระยะทางในการหยุดจะเพิ่มขึ้นในสภาวะเหล่านี้
อย่าจับเครื่องยนต์หรือท่อไอเสียขณะที่เครื่องยนต์กำลังทำงานหรือทันทีหลังจากดับเครื่องยนต์ บริเวณเหล่านี้อาจร้อนจนลวกผิวหนังได้
ก่อนลุกจากตำแหน่งคนขับ ให้ปฏิบัติตามดังนี้:
จอดอุปกรณ์บนพื้นราบ
เปลี่ยนระบบส่งกำลังไปที่ตำแหน่ง เกียร์ว่าง (ธรรมดา) หรือตำแหน่ง จอด (ออโต้)
ปิดปั๊มสเปรย์
ดึงเบรกมือ
ดับเครื่องยนต์และดึงกุญแจออก (ถ้าเสียบอยู่)
รอให้การเคลื่อนไหวหยุดนิ่ง
ห้ามให้เครื่องยนต์ทำงานในบริเวณที่ไม่มีที่ระบายไอเสีย
อย่าขับอุปกรณ์เมื่อมีความเสี่ยงที่จะเกิดฟ้าผ่า
ใช้อุปกรณ์เสริมและอุปกรณ์ต่อพ่วงที่ Toro รับรองเท่านั้น
Note: สำหรับอุปกรณ์ที่ระบุไว้ในคู่มือผู้ใช้ฉบับนี้ ห้องขับที่ติดตั้งโดย Toro คือ ROPS
อย่าถอด ROPS ออกจากอุปกรณ์
คาดเข็มขัดนิรภัยและตรวจสอบให้แน่ใจว่าคุณสามารถปลดออกได้อย่างรวดเร็วในกรณีฉุกเฉิน คาดเข็มขัดนิรภัยอยู่เสมอ
คอยระมัดระวังสิ่งกีดขวางเหนือศีรษะเพื่อไม่ให้ชน
ดูแลรักษา ROPS ให้อยู่ในสภาพดีพร้อมการทำงาน โดยตรวจสอบอย่างละเอียดเป็นครั้งคราวเพื่อหาความเสียหาย และตัวยึดให้ยึดแน่นหนา
บำรุงรักษาและเช็ดทำความสะอาดเข็มขัดนิรภัย ตามความจำเป็น
เปลี่ยนส่วนประกอบ ROPS ที่ชำรุดเสียหาย ห้ามซ่อมแซมหรือดัดแปลง
ทางลาดเป็นปัจจัยสำคัญที่ทำให้เกิดการสูญเสียการควบคุมและอุบัติเหตุพลิกคว่ำ ซึ่งส่งผลให้เกิดการบาดเจ็บร้ายแรงและการเสียชีวิตได้ คุณต้องดูแลรับผิดชอบความปลอดภัยในการใช้งานอุปกรณ์บนพื้นลาดเอียง การใช้งานอุปกรณ์บนพื้นลาดเอียงต้องใช้ความระมัดระวังมากยิ่งขึ้น
ตรวจสอบคำแนะนำสำหรับการใช้งานอุปกรณ์บนทางลาดด้านล่างและพิจารณาว่าคุณสามารถใช้งานอุปกรณ์ในบริเวณดังกล่าวในสภาวะการทำงานของวันนั้นได้หรือไม่ สภาพเส้นทางที่เปลี่ยนแปลงไปอาจจะส่งผลต่อการทำงานของอุปกรณ์บนพื้นลาดได้
พิจารณาว่าทางลาดปลอดภัยสำหรับการใช้งานอุปกรณ์หรือไม่ รวมทั้งสำรวจสถานที่ ใช้เหตุและผลและวิจารณญาณที่ดีขณะสำรวจ
หลีกเลี่ยงการสตาร์ท จอด หรือเลี้ยวอุปกรณ์บนทางลาด การขับขึ้นและลงจากทางลาด หลีกเลี่ยงการเปลี่ยนความเร็วหรือทิศทางกะทันหัน หากคุณต้องเลี้ยวอุปกรณ์ ให้เลี้ยวช้าๆ และค่อยเป็นค่อยไปบนเนิน ถ้าเป็นไปได้ ใช้ความระมัดระวังขณะถอยอุปกรณ์
อย่าใช้งานอุปกรณ์เมื่อคุณไม่แน่ใจเกี่ยวกับแรงลาก การบังคับทิศทาง หรือความมั่นคง
เคลื่อนย้ายหรือทำสัญลักษณ์สิ่งกีดขวาง เช่น หลุมบ่อ แอ่ง เนิน หิน หรืออันตรายอื่นๆ ที่ซ่อนอยู่ เพราะหญ้าสูงอาจทำให้มองไม่เห็นสิ่งกีดขวาง ทางที่ไม่ราบเรียบอาจทำให้อุปกรณ์พลิกคว่ำได้
การใช้งานบนพื้นเปียก บนพื้นลาด หรือบนเนิน อาจส่งผลให้อุปกรณ์สูญเสียการควบคุมได้ ล้อขับที่สูญเสียแรงลาก อาจส่งผลให้เกิดการไถล และไม่สามารถเบรกหรือเลี้ยวได้
ใช้ความระมัดระวังเป็นพิเศษเมื่อใช้งานอุปกรณ์ใกล้ทางชัน คลอง ทำนบ อันตรายจากน้ำ หรืออันตรายอื่นๆ อุปกรณ์อาจพลิกคว่ำฉับพลันได้ หากล้อเกยข้ามขอบทางหรือขอบทางพังทลาย ดังนั้นควรกำหนดพื้นที่ปลอดภัยระหว่างอุปกรณ์กับอันตรายใด ๆ เตรียมไว้
ใช้ความระมัดระวังเป็นพิเศษขณะควบคุมอุปกรณ์ที่มีอุปกรณ์ต่อพ่วง เนื่องจากอุปกรณ์เหล่านั้นส่งผลต่อความมั่นคงของอุปกรณ์
หากอุปกรณ์ดับกลางคัน หรือคุณเริ่มสูญเสียแรงขณะขึ้นเนิน ให้ค่อยๆ เหยียบเบรก และถอยหลังลงจากเนินตรงๆ
เข้าเกียร์ (ถ้ามี) อยู่เสมอขณะที่ขับอุปกรณ์ลงจากเนิน
อย่าจอดอุปกรณ์บนทางลาดชัน
น้ำหนักของวัสดุในถังอาจเปลี่ยนแปลงการควบคุมอุปกรณ์ได้ ทำตามแนวทางต่อไปนี้เพื่อหลีกเลี่ยงการสูญเสียการควบคุมและการบาดเจ็บ:
ขณะทำงานโดยบรรทุกของหนัก ลดความเร็วและเผื่อระยะให้เพียงพอกับการเบรก อย่าเหยียบเบรกฉับพลัน ใช้ความระมัดระวังเป็นพิเศษบนทางลาด
การถ่ายเทน้ำหนักอาจเกิดขึ้นได้ โดยเฉพาะขณะเลี้ยว ขึ้นหรือลงเนิน การเปลี่ยนความเร็วฉับพลัน หรือขณะขับขี่บนพื้นขรุขระ ซึ่งอาจทำให้อุปกรณ์พลิกคว่ำได้
ใช้คลิปวิทยุเก็บวิทยุสื่อสารแบบมือถือขณะขับขี่อุปกรณ์ (รูป 25)

นั่งในที่นั่งคนขับ เสียบกุญแจในสวิตช์สตาร์ท และบิดกุญแจตามเข็มนาฬิกาไปที่ตำแหน่ง ทำงาน
เหยียบคลัตช์และเข้าเกียร์ไปที่ตำแหน่ง เกียร์ว่าง
ตรวจสอบให้แน่ใจว่าสวิตช์ปั๊มอยู่ในตำแหน่ง ปิด
ถ้าเครื่องยนต์เย็น ดึงลูกบิดโช้คขึ้น
Important: อย่าใช้โช้คถ้าเครื่องยนต์อุ่น
บิดกุญแจไปที่ตำแหน่ง สตาร์ท จนกว่าเครื่องยนต์จะสตาร์ท
Important: อย่าบิดกุญแจค้างไว้ที่ตำแหน่ง สตาร์ท นานเกิน 10 วินาที ถ้าเครื่องยนต์ยังไม่สตาร์ทหลังจาก 10 วินาที รอ 1 นาทีก่อนลองอีกครั้ง อย่าพยายามดันหรือลากเครื่องฉีดพ่นเพื่อสตาร์ทเครื่องยนต์
เมื่อเครื่องยนต์สตาร์ทแล้ว ดันลูกบิดโช้คกลับช้าๆ
ปลดเบรกมือ
เหยียบแป้นคลัตช์จนสุด
เปลี่ยนเกียร์ไปยังเกียร์หนึ่ง
ค่อยๆ ยกเท้าออกจากแป้นคลัตช์ขณะที่ยังเหยียบแป้นคันเร่งอยู่
เมื่อรถวิ่งด้วยความเร็วที่เพียงพอแล้ว ถอนเท้าออกจากแป้นคันเร่ง เหยียบแป้นคลัตช์จนสุด เปลี่ยนคันเกียร์ไปยังเกียร์ถัดไป และปล่อยแป้นคลัตช์ขณะที่ยังเหยียบแป้นคันเร่งอยู่ ทำซ้ำขั้นตอนจนได้ความเร็วที่ต้องการ
Important: หยุดอุปกรณ์เสมอก่อนที่จะเปลี่ยนจากเกียร์เดินหน้าเป็นเกียร์ถอยหลัง หรือจากเกียร์ถอยหลังเป็นเกียร์เดินหน้า
Note: หลีกเลี่ยงการให้เครื่องยนต์เดินรอบเบาเป็นเวลานาน
ใช้ตารางด้านล่างเพื่อกำหนดความเร็วขับเคลื่อนบนพื้นของอุปกรณ์ที่ไม่มีสิ่งบรรทุกที่ 3,400 รอบต่อนาที
| เกียร์ | อัตราส่วน | ความเร็ว (กม./ชม.) | ความเร็ว (ไมล์ต่อชั่วโมง) |
| 1 | 66.4:1 | 5.6 | 3.5 |
| 2 | 38.1:1 | 9.8 | 6.1 |
| 3 | 19.6:1 | 19.2 | 11.9 |
| R | 80.7:1 | 4.7 | 2.9 |
Note: การบิดสวิตช์สตาร์ทไปยังตำแหน่ง เปิด เป็นเวลานานโดยที่เครื่องยนต์ไม่ได้ทำงานจะทำให้แบตเตอรี่หมด
Important: อย่าพยายามดันหรือลากรถเพื่อสตาร์ทเครื่องยนต์ ขบวนส่งกำลังอาจเกิดความเสียหายได้
Note: คุณต้องดึงเบรกมือและเปิดปั๊มสเปรย์ และเข้าเกียร์เป็น เกียร์ว่าง เพื่อตั้งค่าล็อกลิ้นเร่ง
เหยียบแป้นคันเร่งจนได้รอบเครื่องยนต์ (รอบต่อนาที) ที่ต้องการ
เปิดสวิตช์ล็อกลิ้นเร่งบนแผงควบคุมไปที่ตำแหน่ง เปิด
หากต้องการปลดล็อกลิ้นเร่ง สับสวิตช์ไปที่ตำแหน่ง ปิด หรือเหยียบแป้นเบรกหรือแป้นคลัตช์
Note: ก่อนตั้งค่าล็อกความเร็ว คุณต้องนั่งประจำที่คนขับ โดยไม่ดึงเบรกมือ เปิดปั๊ม และคันเกียร์เข้าเกียร์ไว้
เหยียบแป้นคันเร่งจนได้รอบเครื่องยนต์ที่ต้องการ
เปิดสวิตช์ล็อกความเร็วบนแผงควบคุมไปที่ตำแหน่ง เปิด
หากต้องการปลดล็อกความเร็ว สับสวิตช์ไปที่ตำแหน่ง ปิด หรือเหยียบแป้นเบรกหรือแป้นคลัตช์
เหยียบคลัตช์และเหยียบเบรกเพื่อหยุดเครื่องฉีดพ่น
ดึงเบรกมือขึ้นและลดกลับเพื่อตั้งค่า
เปลี่ยนเกียร์ไปที่ตำแหน่ง เกียร์ว่าง
บิดกุญแจสตาร์ทไปที่ตำแหน่ง หยุด
ดึงกุญแจออกจากสวิตช์เพื่อป้องกันการสตาร์ทโดยไม่ตั้งใจ
ล็อกเฟืองท้ายเพิ่มแรงฉุดลากของเครื่องฉีดพ่นโดยการล็อกล้อหลัง เพื่อให้ 1 ล้อไม่หมุนออกไป วิธีนี้ได้ผลดีเมื่อคุณบรรทุกสิ่งของหนักบนถนนเปียกหรือบริเวณลื่น ขณะขึ้นเนิน และบนพื้นทราย อย่างไรก็ตาม ควรจำไว้ว่า แรงฉุดลากที่เพิ่มขึ้นมานั้นมีไว้สำหรับการใช้งานชั่วคราวในบางสถานการณ์เท่านั้น ระบบนี้ใช้แทนที่การควบคุมอย่างปลอดภัยไม่ได้ ซึ่งได้อธิบายไปแล้วเกี่ยวกับเนินลาดชันและการบรรทุกของหนัก
ล็อกเฟืองท้ายจะทำให้ล้อหลังหมุนด้วยความเร็วเท่ากัน เมื่อใช้งานการใช้ล็อกเฟืองท้าย ความสามารถในการเลี้ยวหักศอกจะค่อนข้างจำกัด และล้ออาจครูดกับสนามจนเป็นรอย ใช้การใช้ล็อกเฟืองท้ายเฉพาะในยามจำเป็น เมื่อวิ่งด้วยความเร็วต่ำ และใช้กับเกียร์หนึ่งหรือสองเท่านั้น
เครื่องฉีดพ่นที่พลิกหรือคว่ำบนเนินจะทำให้บาดเจ็บร้ายแรง
ล็อกเฟืองท้ายอาจจะทำให้เกิดแรงฉุดลากเพิ่มขึ้นมาจนคุณตกอยู่ในสถานการณ์อันตราย เช่น เมื่อขึ้นเนินที่ชันเกินกว่าที่จะหักเลี้ยว ดังนั้น ให้ใช้ความระมัดระวังเป็นพิเศษเมื่อต้องทำงานโดยเปิดใช้ล็อกเฟืองท้าย โดยเฉพาะบนทางลาดชัน
หากเปิดใช้ล็อกเฟืองท้ายขณะเลี้ยวหักศอกด้วยความเร็วสูง และล้อหลังด้านในลอยออกจากพื้น อาจทำให้สูญเสียการควบคุม ซึ่งทำให้เครื่องฉีดพ่นลื่นไถลได้ ใช้การใช้ล็อกเฟืองท้ายเมื่อวิ่งด้วยความเร็วต่ำเท่านั้น
การใช้งานเครื่องฉีดพ่นสารเคมี Multi Pro ขั้นแรกให้เติมถังฉีดพ่น จากนั้นฉีดสารเคมีในพื้นที่ทำงาน และสุดท้ายทำความสะอาดถัง ทำทั้ง 3 ขั้นตอนให้ครบตามลำดับเพื่อไม่ให้เครื่องฉีดพ่นเสียหาย เช่น อย่าผสมหรือเติมสารเคมีในถังทิ้งไว้ตอนกลางคืน แล้วค่อยมาฉีดพ่นในตอนเช้า เพราะการทำเช่นนี้จะทำให้สารเคมีแยกชั้นและอาจสร้างความเสียหายกับส่วนประกอบของเครื่องฉีดพ่นได้
สารเคมีเป็นอันตรายและอาจทำให้บาดเจ็บ
อ่านคำแนะนำบนฉลากสารเคมีก่อนจัดการสารเคมี และปฏิบัติตามคำแนะนำและข้อควรระวังของผู้ผลิต
อย่าให้สารเคมีสัมผัสผิวหนังของคุณ หากสัมผัสโดนสารเคมี ให้ล้างบริเวณที่สัมผัสสารเคมีให้สะอาดด้วยสบู่และน้ำสะอาด
สวมแว่นนิรภัยและอุปกรณ์ป้องกันอื่นๆ ตามที่ผู้ผลิตสารเคมีแนะนำ
เครื่องฉีดพ่นสารเคมี Multi Pro ออกแบบมาเป็นพิเศษให้มีความทนทานสูงเพื่อให้มีอายุการใช้งานที่ยาวนาน และเราได้เลือกใช้วัสดุต่างๆ ให้เหมาะกับการใช้งานในตำแหน่งต่างๆ บนเครื่องฉีดพ่นโดยเฉพาะ เพื่อให้ตรงตามเป้าหมายนี้ แต่น่าเสียดายที่ไม่มีวัสดุใดที่สมบูรณ์แบบสำหรับการใช้งานที่คาดการณ์ไว้ทั้งหมด
สารเคมีบางชนิดรุนแรงกว่าชนิดอื่นๆ และสารเคมีแต่ละชนิดทำปฏิกิริยากับวัสดุต่างๆ แตกต่างกันไป สารข้นบางอย่าง (เช่น สารผสมชนิดผงละลายน้ำ ผงถ่าน) มีคุณสมบัติขัดสีสูงและทำให้ระบบสึกหรอเร็วขึ้นกว่าปกติ หากสารเคมีมีสูตรที่ช่วยยืดอายุการใช้ของเครื่องฉีดพ่น โปรดเลือกสูตรดังกล่าว
เช่นเคย โปรดล้างเครื่องฉีดพ่นให้สะอาดหลังจากการใช้งานทุกครั้ง การทำแบบนี้ช่วยให้เครื่องฉีดพ่นมีอายุการใช้งานยาวนานและไร้ปัญหา
Important: เพื่อให้แน่ใจว่า สารละลายของคุณผสมเข้ากันดี ให้ใช้คุณสมบัติการผสมทุกครั้งที่คุณมีสารละลายอยู่ในถัง เพื่อให้ระบบผสมทำงานได้ คุณต้องเปิดปั๊มและเครื่องยนต์ให้ทำงานสูงกว่าการเดินรอบเบา หากคุณหยุดอุปกรณ์และต้องใช้การผสม ต้องดึงเบรกมือ เปิดปั๊ม เหยียบแป้นคันเร่งลงบนพื้น และเปิดล็อกลิ้นเร่งไปยังตำแหน่ง เปิด
ลดระดับแขนบูมลงมาในตำแหน่ง
ตั้งค่าสวิตช์ปั๊มสเปรย์ไปที่ตำแหน่ง เปิด
ตั้งค่าสวิตช์แขนบูมหลักไปที่ตำแหน่ง ปิด และตั้งค่าสวิตช์แขนบูม 3 ส่วนไปที่ตำแหน่ง เปิด
ขับไปยังตำแหน่งที่ต้องการฉีดพ่น
ตั้งค่าสวิตช์แขนบูมหลักไปที่ตำแหน่ง เปิด เพื่อเริ่มการฉีดพ่น
Note: InfoCenter แสดงแขนบูมที่การฉีดพ่นเปิดอยู่
Note: เมื่อสารเคมีในถังใกล้หมด การผสมอาจก่อให้เกิดโฟมขึ้นในถัง เพื่อป้องกันปัญหานี้ ให้ปิดวาล์วผสม หรือจะใช้สารป้องกันการเกิดโฟมในถังก็ได้เช่นกัน
ใช้สวิตช์อัตราเพื่อปรับและตั้งค่าเป้าหมาย
เมื่อฉีดพ่นเสร็จแล้ว ตั้งค่าสวิตช์แขนบูมหลักไปที่ตำแหน่ง ปิด เพื่อปิดแขนบูมทั้งหมด จากนั้นตั้งค่าสวิตช์ปั๊มไปที่ตำแหน่ง ปิด
สวิตช์ยกแขนบูมบนแผงควบคุมเครื่องฉีดพ่นช่วยให้คุณขยับส่วนฉีดพ่นด้านนอกระหว่างตำแหน่งขนส่งกับตำแหน่งฉีดพ่นได้ โดยไม่ต้องลุกออกจากที่นั่งคนขับ ถ้าเป็นไปได้ ควรหยุดอุปกรณ์ก่อนเปลี่ยนตำแหน่งแขนบูมฉีดพ่น
จอดอุปกรณ์บนพื้นราบ
ใช้สวิตช์ยกแขนบูมเพื่อลดระดับส่วนด้านนอกลง
Note: รอจนกว่าส่วนฉีดพ่นด้านนอกจะเคลื่อนมาถึงตำแหน่งฉีดพ่นที่ขยายออกจนสุด
จอดอุปกรณ์บนพื้นราบ
ใช้สวิตช์ยกแขนบูมเพื่อยกแขนบูมฉีดพ่นด้านนอกขึ้น จนกว่าจะเลื่อนเข้าสู่แคร่ขนส่งของแขนบูมอย่างเต็มที่จนเป็นรูป "X” สำหรับขนส่ง และกระบอกสูบยกหดเข้าจนสุด
Important: ปล่อยสวิตช์ยกแขนบูมเมื่อส่วนฉีดพ่นด้านนอกเคลื่อนถึงตำแหน่งที่ต้องการ หากแอกทูเอเตอร์ชนกับที่หยุดกลไก อาจทำให้กระบอกสูบยกและ/หรือส่วนประกอบไฮดรอลิกอื่นๆ เสียหายได้
Important: ตรวจสอบว่าแขนบูมฉีดพ่นไม่กระทบกระแทกกับสิ่งกีดขวางเหนือศีรษะขณะอยู่ในตำแหน่งขนส่ง เพราะอาจทำให้แขนบูมฉีดพ่นเสียหายได้
Important: ส่วนฉีดพ่นอาจชำรุดจากการขนส่ง หากอยู่ในตำแหน่งอื่นนอกเหนือจากตำแหน่ง "X” สำหรับขนส่ง ซึ่งใช้แคร่ขนแขนบูม

Important: เพื่อป้องกันไม่ให้กระบอกสูบยกเสียหาย แอกทูเอเตอร์จะต้องหดกลับจนสุดก่อนเคลื่อนย้ายอุปกรณ์
อย่าฉีดพ่นเหลื่อมซ้อนกับบริเวณที่ฉีดพ่นไปก่อนหน้านี้แล้ว
ระวังหัวฉีดอุดตัน เปลี่ยนหัวฉีดทั้งหมดที่สึกหรอหรือชำรุด
ใช้สวิตช์แขนบูมหลักเพื่อหยุดการไหลของการฉีดพ่นก่อนปิดเครื่องฉีดพ่น เมื่อหยุดแล้ว ใช้การควบคุมลิ้นเร่งเครื่องยนต์เพื่อรักษารอบเครื่องยนต์ไว้ในระดับที่การผสมทำงานได้
คุณจะได้รับผลลัพธ์ที่ดีขึ้น หากเครื่องฉีดพ่นเคลื่อนที่ขณะที่คุณเปิดส่วนฉีดพ่น
หากหัวฉีดอุดตันขณะฉีดพ่น ให้ทำความสะอาดหัวฉีดดังนี้:
จอดเครื่องฉีดพ่นบนพื้นราบ ดับเครื่องยนต์ และดึงเบรกมือ
ตั้งค่าสวิตช์แขนบูมหลักไปยังตำแหน่ง ปิด จากนั้นตั้งค่าสวิตช์ปั๊มเครื่องฉีดพ่นไปยังตำแหน่ง ปิด
ถอดหัวฉีดที่อุดตันออกมาทำความสะอาดโดยใช้ขวดฉีดน้ำและแปรงสีฟัน
ติดตั้งหัวฉีด
ก่อนลุกจากตำแหน่งคนขับ ให้ปฏิบัติตามดังนี้:
จอดอุปกรณ์บนพื้นราบ
เปลี่ยนระบบส่งกำลังไปที่ตำแหน่ง เกียร์ว่าง (ธรรมดา) หรือตำแหน่ง จอด (ออโต้)
ปิดปั๊มสเปรย์
ดึงเบรกมือ
ดับเครื่องยนต์และดึงกุญแจออก (ถ้าเสียบอยู่)
รอให้การเคลื่อนไหวหยุดนิ่ง
รอให้เครื่องยนต์เย็นลงก่อนปรับ ซ่อมบำรุง ทำความสะอาด หรือจัดเก็บรถ
หลังจากที่ใช้งานอุปกรณ์เสร็จแล้วในวันนั้น ให้ล้างคราบสารเคมีที่หลงเหลือจากด้านนอกของอุปกรณ์ และตรวจสอบให้แน่ใจว่าได้ปรับสภาพในระบบและล้างสามครั้งตามคำแนะนำของผู้ผลิตสารเคมี และล้างวาล์วทั้งหมด 3 รอบแล้ว โปรดดูความปลอดภัยของสารเคมี
ปล่อยให้เครื่องยนต์เย็นลงก่อนจัดเก็บอุปกรณ์ในที่ปิด
ห้ามจัดเก็บอุปกรณ์หรือภาชนะบรรจุน้ำมันในที่ที่มีเปลวไฟ ประกายไฟ หรือไฟนำร่อง เช่น บนเครื่องทำน้ำร้อน หรือเครื่องใช้ไฟฟ้าอื่นๆ โดยเด็ดขาด
ดูแลรักษาให้ชิ้นส่วนทั้งหมดของอุปกรณ์มีสภาพดีและทำงานได้ตามปกติ และขันชิ้นส่วนทั้งหมดให้แน่นหนา
เปลี่ยนป้ายที่สึกหรอ ชำรุด หรือหายไป
Important: อย่าใช้น้ำกร่อยหรือน้ำหมุนเวียนล้างรถ
หยุดเครื่องฉีดพ่น ดึงเบรกมือ ดับเครื่องยนต์ และดึงกุญแจออก
หาวาล์วระบายถังที่ด้านซ้ายของอุปกรณ์ที่อยู่หน้าถังเชื้อเพลิง (รูป 27)

ยกวาล์วขึ้นและขยับเข้าไปในบอร์ดจนกว่าหมุดของวาล์วพ้นช่องในโครงยึดวาล์วระบาย และดันวาล์วไปด้านหลัง (รูป 27)
จัดตำแหน่งปลายวาล์วให้ตรงกับภาชนะระบาย แล้วหมุนมือจับวาล์วทวนเข็มนาฬิกาไปยังตำแหน่งเปิด (รูป 27)
เมื่อระบายถังจนหมดแล้ว หมุนมือจับวาล์วไปยังตำแหน่งปิด และประกอบวาล์วกลับเข้าโครงยึดวาล์วระบาย (รูป 27)
Important: ทิ้งสารเคมีที่ระบายออกจากถังเครื่องฉีดพ่นตามกฎหมายท้องถิ่นและคำแนะนำของผู้ผลิต
| ระยะการซ่อมบำรุง | ขั้นตอนการบำรุงรักษา |
|---|---|
| หลังจากการใช้งานแต่ละครั้ง |
|
Important: ใช้เฉพาะน้ำสะอาดขณะล้างเครื่องฉีดพ่น
Important: คุณต้องระบายและไล่ล้างระบบเครื่องฉีดพ่น รวมถึงอุปกรณ์เสริมระบบฉีดพ่นที่ติดตั้งไว้ทันทีหลังการใช้งานแต่ละครั้งเสมอ การไม่ไล่ล้างและทำความสะอาดเครื่องฉีดพ่นอาจทำให้สารเคมีแห้งและอุดตันทางเดิน ตัวกรอง วาล์ว ตัวหัวฉีด ปั๊ม และส่วนประกอบอื่นๆ
ใช้ชุดล้างทำความสะอาดที่ผ่านการรับรองสำหรับอุปกรณ์นี้ ติดต่อตัวแทนจำหน่ายของ Toro ที่ได้รับอนุญาตเพื่อสอบถามข้อมูลเพิ่มเติม
Note: คำแนะนำและขั้นตอนต่อไปนี้จัดทำขึ้นโดยสันนิษฐานว่าคุณไม่ได้ติดตั้งชุดล้าง Toro ไว้
ล้างระบบฉีดพ่นและอุปกรณ์เสริมฉีดพ่นที่ติดตั้งไว้หลังจากจบการฉีดพ่นแต่ละครั้ง คุณต้องล้าง 3 ครั้งจึงถือว่าล้างระบบฉีดพ่นเสร็จสมบูรณ์
เติมน้ำสะอาดอย่างน้อย 190 ลิตร (50 แกลลอนสหรัฐ) ลงในถังและปิดฝาครอบ
สำหรับรอบแรกและรอบที่สองที่ล้างระบบ คุณสามารถผสมสารทำความสะอาด/สารปรับสภาพลงในน้ำได้ตามที่จำเป็น
Note: ในการล้างรอบสุดท้าย ใช้เฉพาะน้ำที่ใสสะอาดเท่านั้น
ลดระดับส่วนฉีดพ่นด้านนอกไปยังตำแหน่งฉีดพ่น
สตาร์ทเครื่องยนต์ ตั้งค่าสวิตช์ปั๊มสเปรย์ไปที่ตำแหน่ง เปิด และเหยียบแป้นคันเร่งเพื่อเพิ่มรอบเครื่องยนต์ให้สูงขึ้น
ตั้งค่าสวิตช์ผสมไปที่ตำแหน่ง เปิด
ใช้สวิตช์อัตราการฉีดพ่นเพิ่มแรงดันเป็นระดับสูง
ตั้งค่าสวิตช์แขนบูมแต่ละตัวและสวิตช์แขนบูมหลักไปยังตำแหน่ง เปิด
ตรวจสอบหัวฉีดให้แน่ใจว่าทั้งหมดฉีดพ่นได้อย่างถูกต้อง
ปล่อยให้น้ำในถังฉีดออกจากหัวฉีด
ตั้งค่าสวิตช์แขนบูมหลักไปที่ตำแหน่ง ปิด ตั้งค่าสวิตช์ผสมและสวิตช์ปั๊มสเปรย์เป็นตำแหน่ง ปิด และดับเครื่องยนต์
ทำซ้ำขั้นตอนที่ 1 ถึง 10 อย่างน้อยอีก 2 ครั้งเพื่อให้แน่ใจว่าระบบฉีดพ่นสะอาดดีแล้ว
Important: คุณต้องล้างให้ครบ 3 รอบเพื่อให้แน่ใจว่าระบบฉีดพ่นและอุปกรณ์เสริมฉีดพ่นสะอาดดีแล้ว เพื่อป้องกันไม่ให้ระบบเสียหาย
ทำความสะอาดตัวกรองแขนบูมและตัวกรองแรงดัน โปรดดู การทำความสะอาดตัวกรองดูด และ การทำความสะอาดตัวกรองแรงดัน
Important: หากคุณใช้สารเคมีละลายน้ำชนิดผง ให้ล้างตะแกรงหลังจากล้างแต่ละถัง
ใช้สายยางล้างด้านนอกของเครื่องฉีดพ่นด้วยน้ำสะอาด
ถอดหัวฉีดออกมาทำความสะอาดด้วยมือ
Note: เปลี่ยนหัวฉีดที่ชำรุดหรือสึกหรอ
Note: หากอุปกรณ์มีตัวกรองหัวฉีดเสริม ให้ทำความสะอาดตัวกรองก่อนจะติดตั้งหัวฉีด โปรดดู การทำความสะอาดตัวกรองหัวฉีดเสริม
| ระยะการซ่อมบำรุง | ขั้นตอนการบำรุงรักษา |
|---|---|
| หลังจากการใช้งานแต่ละครั้ง |
|
จอดอุปกรณ์บนพื้นราบ ดึงเบรกมือ ปิดปั๊ม ดับเครื่องยนต์ และดึงกุญแจออก
ที่ด้านบนของถังเครื่องฉีดพ่น ถอดแหวนล็อกที่ยึดข้อต่อท่ออ่อนที่ติดกับท่ออ่อนขนาดใหญ่จากตัวเรือนไส้กรอง (รูป 28)

ถอดท่ออ่อนและข้อต่อท่ออ่อนออกจากตัวเรือนไส้กรอง (รูป 28)
ดึงตะแกรงดูดออกจากตัวเรือนไส้กรองในถัง (รูป 29)

ทำความสะอาดตัวกรองดูดด้วยน้ำสะอาด
Important: เปลี่ยนตัวกรองหากชำรุดหรือทำความสะอาดไม่ได้
สอดตัวกรองดูดเข้าในตัวเรือนไส้กรองจนกว่าจะสุด
จัดเรียงท่ออ่อนและข้อต่อท่ออ่อนให้ตรงกับตัวเรือนไส้กรองที่ด้านบนสุดของถัง และรัดข้อต่อและตัวเรือนให้แน่นด้วยแหวนล็อกที่ถอดออกมาในขั้นตอนที่ 2
| ระยะการซ่อมบำรุง | ขั้นตอนการบำรุงรักษา |
|---|---|
| หลังจากการใช้งานแต่ละครั้ง |
|
จอดอุปกรณ์บนพื้นราบ ดึงเบรกมือ ปิดปั๊มเครื่องฉีดพ่น ดับเครื่องยนต์ และดึงกุญแจออก
วางอ่างระบายใต้ตัวกรองแรงดัน (รูป 30)

หมุนฝาระบายทวนเข็มนาฬิกาและถอดออกจากถ้วยของตัวกรองแรงดัน (รูป 30)
Note: ปล่อยให้ถ้วยระบายออกจนหมด
หมุนถ้วยทวนเข็มนาฬิกาและถอดหัวตัวกรองออก (รูป 30)
ถอดไส้กรองแรงดันออก (รูป 30)
ทำความสะอาดไส้กรองแรงดันด้วยน้ำสะอาด
Important: เปลี่ยนตัวกรองหากชำรุดหรือทำความสะอาดไม่ได้
ตรวจสอบปะเก็นของจุกระบาย (อยู่ด้านในถ้วย) และปะเก็นของถ้วย (อยู่ด้านในหัวตัวกรอง) เพื่อหาความเสียหายและการสึกหรอ (รูป 30)
Important: เปลี่ยนปะเก็นที่ชำรุดหรือสึกหรอสำหรับจุก ถ้วย หรือทั้งคู่
ติดตั้งไส้กรองแรงดันเข้าในหัวตัวกรอง (รูป 30)
Note: ตรวจสอบให้แน่ใจว่าไส้กรองวางอยู่ในหัวตัวกรองอย่างแน่นหนา
ติดตั้งถ้วยลงในหัวตัวกรอง และขันให้แน่นด้วยมือ (รูป 30)
ประกอบฝาระบายลงบนข้อต่อที่ด้านล่างของถ้วย และปิดฝาให้แน่นด้วยมือ (รูป 30)
จอดอุปกรณ์บนพื้นราบ ดึงเบรกมือ ปิดปั๊มเครื่องฉีดพ่น ดับเครื่องยนต์ และดึงกุญแจออก
ถอดหัวฉีดออกจากแท่นหมุนฉีดพ่น (รูป 31)

ถอดตัวกรองหัวฉีด (รูป 31)
ทำความสะอาดตัวกรองหัวฉีดด้วยน้ำสะอาด
Important: เปลี่ยนตัวกรองหากชำรุดหรือทำความสะอาดไม่ได้
ติดตั้งตัวกรองหัวฉีด (รูป 31)
Note: ตรวจดูให้แน่ใจว่าตัวกรองวางจนสุดทาง
ติดตั้งหัวฉีดเข้ากับแท่นหมุนฉีดพ่น (รูป 31)
ทำซ้ำขั้นตอนที่ 2 ถึง 6 กับหัวฉีดพ่นอื่นๆ
| ระยะการซ่อมบำรุง | ขั้นตอนการบำรุงรักษา |
|---|---|
| ทุกปี |
|
หมุนฝาไดอะแฟรมทวนเข็มนาฬิกาและดึงฝาออกจากตัวหัวฉีด (รูป 32)

ถอดไดอะแฟรมเช็กวาล์วออกจากฝาหรือตัวหัวฉีด (รูป 32)
ทำความสะอาดฝา ไดอะแฟรม และตัวหัวฉีดด้วยน้ำสะอาด (รูป 32)
ประกอบไดอะแฟรมเข้าในฝา โดยให้จะงอยของไดอะแฟรมหันเข้าหาฝา (รูป 32)

ประกอบฝาและไดอะแฟรมเข้ากับตัวหัวฉีดและขันให้แน่นด้วยมือ (รูป 32)
ทำซ้ำขั้นตอนที่ 1 ถึง 5 กับหัวฉีดพ่นอื่นๆ
| ระยะการซ่อมบำรุง | ขั้นตอนการบำรุงรักษา |
|---|---|
| หลังจากการใช้งานแต่ละครั้ง |
|
ข้อกำหนดสารปรับสภาพ: โพรพิลีนไกลคอล “สารป้องกันการแข็งตัว RV ชนิดไม่เป็นพิษ” พร้อมสารยับยั้งการเกิดสนิม
Important: ใช้เฉพาะโพรพิลีนไกลคอลที่ผสมสารยับยั้งการเกิดสนิม ห้ามใช้โพรพิลีนไกลคอลรีไซเคิล ห้ามใช้สารป้องกันการแข็งตัวชนิดเอทิลีนไกลคอลห้ามใช้โพรพิลีนไกลคอลผสมแอลกอฮอล์ละลายน้ำ (เมทานอล เอทานอล หรือไอโซโพรพานอล) หรือผสมน้ำเกลือ
ย้ายอุปกรณ์ไปบนพื้นราบ ดึงเบรกมือ ดับเครื่องยนต์ และดึงกุญแจออก
เติมสารปรับสภาพลงในถัง ดังนี้:
สำหรับสารป้องกันการแข็งตัว RV โพรพิลีนไกลคอล (ผสมสำเร็จ) พร้อมใช้ ให้เติมสารป้องกันการแข็งตัว RV โพรพิลีนไกลคอล 10 แกลลอนลงในถัง
สำหรับสารป้องกันการแข็งตัว RV โพรพิลีนไกลคอลชนิดเข้มข้น ให้ทำตามขั้นตอนดังนี้:
เติมส่วนผสมสารป้องกันการแข็งตัว RV โพรพิลีนไกลคอลกับน้ำ 10 แกลลอนลงในถังเครื่องฉีดพ่น เตรียมส่วนผสมสารป้องกันการแข็งตัวตามที่ผู้ผลิตแนะนำสำหรับความเข้มข้นที่กำหนดไว้สำหรับอุณหภูมิ -45°C (-50°F) เป็นขั้นต่ำ
Important: ใช้เฉพาะน้ำสะอาดขณะล้างเครื่องฉีดพ่น
สตาร์ทเครื่องยนต์และตั้งค่าสวิตช์ปั๊มฉีดพ่นไปที่ตำแหน่ง เปิด
เหยียบแป้นคันเร่งเพื่อเพิ่มรอบเครื่องยนต์
ตั้งค่าสวิตช์ผสมไปที่ตำแหน่ง เปิด
ปล่อยให้สารปรับสภาพและน้ำหมุนเวียน 3 นาทีขึ้นไป
เครื่องมือที่แนะนำ: ภาชนะรองรับสีใส
ย้ายอุปกรณ์ไปยังบริเวณสำหรับระบายและดึงเบรกมือ
ลดระดับแขนบูมด้านนอกลง
ตั้งค่าสวิตช์แขนบูมส่วนซ้าย ตรงกลาง และขวาและสวิตช์แขนบูมหลักไปยังตำแหน่ง เปิด
ปล่อยให้ระบบฉีดพ่นทำงานฉีดพ่นจนกว่าหัวฉีดจะฉีดสารปรับสภาพออกมา
Note: สารป้องกันการแข็งตัว RV โพรพิลีนไกลคอลส่วนใหญ่มีสีชมพู ใช้ภาชนะรองรับเพื่อเก็บตัวอย่างน้ำยาที่ฉีดพ่นออกมาจากหลายๆ หัวฉีด
ปิดสวิตช์แขนบูมหลัก สวิตช์แขนบูมทั้ง 3 ส่วน สวิตช์ผสม สวิตช์ปั๊มสเปรย์ และดับเครื่องยนต์
ใช้รถพ่วงหรือรถบรรทุกเมื่อเคลื่อนย้ายอุปกรณ์ในระยะไกล
ใช้ทางลาดแบบเต็มความกว้างเพื่อย้ายอุปกรณ์ขึ้นรถพ่วงหรือรถบรรทุก
ผูกแขนบูมฉีดพ่นส่วนนอกเข้ากับแคร่ขนส่งสำหรับส่วนแขนบูม
ผูกยึดอุปกรณ์เข้ากับรถขนย้ายให้แน่นหนา รูป 34 แสดงห่วงผูกยึดของอุปกรณ์

ในกรณีฉุกเฉิน คุณสามารถลากเครื่องฉีดพ่นเป็นระยะทางสั้นๆ ได้ อย่างไรก็ตาม อย่าใช้วิธีนี้เป็นขั้นตอนมาตรฐาน
การลากรถด้วยความเร็วสูงเกินไปอาจทำให้สูญเสียการควบคุมทิศทางส่งผลให้เกิดการบาดเจ็บขึ้นได้
ห้ามลากเครื่องฉีดพ่นด้วยความเร็วเกิน 8 กม./ชม. (5 ไมล์ต่อชั่วโมง) โดยเด็ดขาด
การลากเครื่องฉีดพ่นเป็นงานที่ต้องใช้แรงของ 2 คน หากคุณต้องเคลื่อนย้ายเครื่องฉีดพ่นเป็นระยะทางไกล ให้ขนส่งบนรถบรรทุกหรือรถพ่วง โปรดดู การเคลื่อนย้ายเครื่องฉีดพ่น
ผูกเชือกลากจูงเข้ากับโครง
เข้าเกียร์ตำแหน่ง เกียร์ว่าง และปลดเบรกมือ
ลากเครื่องฉีดพ่นด้วยความเร็วไม่เกิน 8 กม./ชม. (5 ไมล์ต่อชั่วโมง)
Note: ดาวน์โหลดสำเนาแผนผังได้ฟรีโดยเข้าไปที่ www.Toro.com แล้วค้นหารุ่นอุปกรณ์ของคุณจากลิงก์คู่มือในหน้าหลักสำหรับข้อมูลเพิ่มเติมเกี่ยวกับระบบฉีดพ่น โปรดดูแผนผังระบบเครื่องฉีดพ่นใน
Note: ดูด้านซ้ายและขวาของอุปกรณ์จากตำแหน่งปกติในการควบคุมอุปกรณ์
ก่อนลุกจากตำแหน่งคนขับ ให้ปฏิบัติตามดังนี้:
จอดอุปกรณ์บนพื้นราบ
เปลี่ยนระบบส่งกำลังไปที่ตำแหน่ง เกียร์ว่าง (ธรรมดา) หรือตำแหน่ง จอด (ออโต้)
ดึงเบรกมือ
ดับเครื่องยนต์และดึงกุญแจออก (ถ้าเสียบอยู่)
รอให้การเคลื่อนไหวหยุดนิ่ง
รอให้ชิ้นส่วนเย็นลงก่อนการบำรุงรักษา
เฉพาะผู้ที่มีคุณสมบัติและได้รับอนุญาตเท่านั้นที่สามารถบำรุงรักษา ซ่อมแซม ปรับ หรือตรวจสอบอุปกรณ์ได้
ก่อนการบำรุงรักษา ให้ทำความสะอาดและล้างเครื่องฉีดพ่นเสมอ โปรดดูความปลอดภัยของสารเคมี
สารเคมีที่ใช้ในระบบเครื่องฉีดพ่นอาจเป็นอันตรายและเป็นพิษต่อตัวคุณ คนรอบตัว สัตว์ พืช ดิน หรือทรัพย์สินอื่นๆ
อ่านและปฏิบัติตามฉลากคำเตือนของสารเคมีและเอกสารข้อมูลความปลอดภัย (SDS) ของสารเคมีที่ใช้ทั้งหมด และปกป้องตัวคุณเองตามคำแนะนำของผู้ผลิตสารเคมี
ปกป้องผิวหนังของคุณเสมอขณะที่อยู่ใกล้สารเคมี ใช้อุปกรณ์ป้องกันตัวส่วนบุคคล (PPE) ที่เหมาะสมเพื่อปกป้องจากการสัมผัสสารเคมี เช่น อุปกรณ์ดังต่อไปนี้:
แว่นนิรภัย แว่นครอบดวงตา หรือ/หรือกระบังป้องกันใบหน้า
ชุดกันสารเคมี
เครื่องช่วยหายใจหรือหน้ากากกรอง
ถุงมือทนสารเคมี
รองเท้าบูทยางหรือรองเท้าที่ให้การปกป้องอย่างเพียงพอ
เสื้อผ้าสำหรับเปลี่ยนที่สะอาด สบู่ และผ้าเช็ดแบบใช้แล้วทิ้งสำหรับการทำความสะอาด
ปฏิเสธการใช้งานหรือทำงานกับเครื่องฉีดพ่นสารเคมี หากไม่มีข้อมูลความปลอดภัยของสารเคมี
อย่าเติม ปรับเทียบ หรือทำความสะอาดอุปกรณ์ในขณะที่มีผู้อื่น โดยเฉพาะเด็กหรือสัตว์เลี้ยงอยู่ในพื้นที่
จัดการสารเคมีในบริเวณที่มีอากาศถ่ายเทสะดวก
เตรียมน้ำสะอาดไว้ให้พร้อมโดยเฉพาะเมื่อเติมถังพ่นสเปรย์
ห้ามกิน ดื่ม หรือสูบบุหรี่ขณะทำงานใกล้สารเคมี
อย่าทำความสะอาดหัวฉีดโดยการเป่าหรือวางไว้ในปาก
ล้างมือและบริเวณอื่นๆ ที่สัมผัสสารเคมีทันทีหลังจากทำงานกับสารเคมี
สารเคมีและละอองเป็นอันตราย ห้ามเข้าไปในถังหรือยื่นศีรษะเข้าไปด้านในหรือเหนือปากถัง
ขันชิ้นส่วนทั้งหมดให้แน่นหนาเพื่อให้รถทั้งคันอยู่ในสภาพดี
ลดโอกาสการเกิดเพลิงไหม้ โดยดูแลไม่ให้บริเวณเครื่องยนต์มีน้ำมัน สารเคมี หญ้า ใบไม้ หรือดินสะสมมากเกินไป
หากคุณต้องปรับแต่งบำรุงรักษาในขณะที่เครื่องยนต์ทำงานอยู่ ให้เก็บมือ เท้า เสื้อผ้า และส่วนต่างๆ ของร่างกายออกห่างจากเครื่องยนต์และชิ้นส่วนเคลื่อนไหว กันคนโดยรอบออกไป
อย่าปรับความเร็วขับเคลื่อนบนพื้นของอุปกรณ์ เพื่อความปลอดภัยและความเที่ยงตรง โปรดให้ตัวแทนจำหน่าย Toro ที่ได้รับอนุญาตตรวจสอบความเร็วขับเคลื่อนบนพื้น
หากอุปกรณ์ต้องได้รับการซ่อมแซมครั้งใหญ่ หรือคุณต้องการความช่วยเหลือทางเทคนิค โปรดติดต่อตัวแทนจำหน่าย Toro ที่ได้รับอนุญาต
การดัดแปลงอุปกรณ์นี้ไม่ว่าในลักษณะใดๆ ก็ตามอาจส่งผลกระทบต่อการทำงาน สมรรถนะ ความทนทาน หรือการใช้อุปกรณ์ และอาจก่อให้เกิดการบาดเจ็บหรือเสียชีวิต การดำเนินการดังกล่าวมีผลให้การรับประกันผลิตภัณฑ์เป็นโมฆะ
ใช้ขาตั้งแม่แรงรองรับน้ำหนักรถเมื่อต้องทำงานใต้ท้องรถ
ค่อยๆ ปล่อยแรงดันจากส่วนประกอบที่มีพลังงานสะสมเก็บไว้
| ระยะการซ่อมบำรุง | ขั้นตอนการบำรุงรักษา |
|---|---|
| หลังจาก 8 ชั่วโมงแรก |
|
| หลังจาก 50 ชั่วโมงแรก |
|
| ก่อนการใช้งานแต่ละครั้งหรือทุกวัน |
|
| หลังจากการใช้งานแต่ละครั้ง |
|
| ทุก 50 ชั่วโมง |
|
| ทุก 100 ชั่วโมง |
|
| ทุก 200 ชั่วโมง |
|
| ทุก 400 ชั่วโมง |
|
| ทุก 800 ชั่วโมง |
|
| ทุกปี |
|
Important: โปรดดูขั้นตอนการบำรุงรักษาเพิ่มเติมจากคู่มือเจ้าของเครื่องยนต์
ถ่ายสำเนาหน้านี้ไว้เพื่อนำไปใช้งานเป็นประจำ
| รายการตรวจสอบสำหรับการบำรุงรักษา | สำหรับสัปดาห์: | ||||||
|---|---|---|---|---|---|---|---|
| จ. | อ. | พ. | พฤ. | ศ. | ส. | อา. | |
| ตรวจสอบการทำงานของเบรกและเบรกมือ | |||||||
| ตรวจสอบการทำงานของคันเกียร์/เกียร์ว่าง | |||||||
| ตรวจสอบระดับน้ำมัน | |||||||
| ตรวจสอบระดับน้ำมันเครื่อง | |||||||
| ตรวจสอบระดับน้ำมันเกียร์ | |||||||
| ตรวจสอบไส้กรองอากาศ | |||||||
| ตรวจสอบครีบระบายอากาศของเครื่องยนต์ | |||||||
| ตรวจสอบเสียงเครื่องยนต์ที่ผิดปกติ | |||||||
| ตรวจสอบเสียงการทำงานที่ผิดปกติ | |||||||
| ตรวจสอบแรงดันลมยาง | |||||||
| ตรวจสอบน้ำยารั่วไหล | |||||||
| ตรวจสอบการทำงานของแผงหน้าปัด | |||||||
| ตรวจสอบการทำงานของคันเร่ง | |||||||
| ทำความสะอาดตะแกรงดูด | |||||||
| ตรวจสอบมุมโทอิน | |||||||
| หล่อลื่นจุดอัดจาระบีทั้งหมด1 | |||||||
| ทำสีที่ชำรุด | |||||||
1ทันทีหลังจากการล้างทุกครั้ง โดยไม่ต้องคำนึงถึงระยะการบำรุงรักษาที่กำหนดไว้
| ตรวจสอบโดย: | ||
| รายการ | วันที่ | ข้อมูล |
| 1 | ||
| 2 | ||
| 3 | ||
| 4 | ||
| 5 | ||
| 6 | ||
| 7 | ||
| 8 | ||
| 9 | ||
| 10 | ||
| 11 | ||
| 12 | ||
หากคุณเสียบกุญแจทิ้งไว้ อาจมีคนสตาร์ทเครื่องยนต์โดยไม่ตั้งใจและทำให้คุณหรือคนที่อยู่รอบข้างบาดเจ็บได้
ดึงกุญแจออกจากสวิตช์สตาร์ทและถอดสายไฟออกจากหัวเทียนก่อนการบำรุงรักษา วางสายไฟพักไว้เพื่อไม่ให้แตะกับหัวเทียนโดยอุบัติเหตุ
เมื่อคุณปล่อยให้เครื่องยนต์ทำงานเพื่อบำรุงรักษาประจำและ/หรือวินิจฉัยเครื่องยนต์ ล้อหลังของเครื่องฉีดพ่นจะต้องยกขึ้นจากพื้น 25 มม. (1 นิ้ว) โดยหนุนเพลาท้ายบนขาตั้งแม่แรง
เครื่องฉีดพ่นที่อยู่บนแม่แรงอาจไม่มั่นคงและเลื่อนหลุดจากแม่แรง และทำให้ผู้ที่อยู่ด้านล่างบาดเจ็บได้
ห้ามสตาร์ทเครื่องยนต์ขณะที่เครื่องฉีดพ่นอยู่บนแม่แรง
ดึงกุญแจออกจากสวิตช์ก่อนลุกออกจากเครื่องฉีดพ่นเสมอ
ขัดล้อเมื่อเครื่องฉีดพ่นอยู่บนแม่แรง
จุดวางแม่แรงที่ด้านหน้าของเครื่องฉีดพ่นอยู่ใต้คานขวางด้านหน้า (รูป 35A) จุดวางแม่แรงที่ด้านท้ายของเครื่องฉีดพ่นอยู่บนโครงรองรับท้าย หลังห่วงผูกยึดด้านท้าย (รูป 35B)

| ระยะการซ่อมบำรุง | ขั้นตอนการบำรุงรักษา |
|---|---|
| ทุก 100 ชั่วโมง |
|
ประเภทจาระบี: จาระบีลิเธียมหมายเลข 2
โปรดดูตำแหน่งอัดจาระบีจาก รูป 36

เช็ดจุดอัดจาระบีให้สะอาด เพื่อป้องกันการดันดินหรือเศษผงเข้าไปในแบริ่งหรือบุชชิ่ง
อัดจาระบีเข้าในแบริ่งหรือบุชชิ่ง
เช็ดจาระบีส่วนเกินออก
| ระยะการซ่อมบำรุง | ขั้นตอนการบำรุงรักษา |
|---|---|
| ทุก 50 ชั่วโมง |
|
ประเภทจาระบี: Mobil XHP 461
ล้างเครื่องฉีดพ่น โปรดดู การยกเครื่องฉีดพ่น
หาตำแหน่งปั๊มเครื่องฉีดพ่น
Note: ปั๊มอยู่ใต้เบาะที่นั่ง โปรดดู การหาปั๊มสเปรย์
เช็ดจุดอัดจาระบี 2 จุดที่อยู่ไกลให้สะอาด (รูป 37A และ รูป 37B)


เช็ดจาระบีส่วนเกินออก
| ระยะการซ่อมบำรุง | ขั้นตอนการบำรุงรักษา |
|---|---|
| ทุก 100 ชั่วโมง |
|
Important: หากมีการล้างบานพับแขนบูมด้วยน้ำ ให้เช็ดน้ำและสิ่งสกปรกออกจากชุดบานพับ และอัดจาระบีใหม่
ประเภทจาระบี: จาระบีลิเธียมหมายเลข 2
เช็ดจุดอัดจาระบีให้สะอาด เพื่อป้องกันไม่ให้วัตถุแปลกปลอมถูกดันเข้าไปในแบริ่งหรือบุชชิง
อัดจาระบีเข้าในแบริ่งหรือบุชชิ่งที่แต่ละรู (รูป 38)

เช็ดจาระบีส่วนเกินออก
ทำซ้ำขั้นตอนเดิมสำหรับจุดหมุนของแขนบูมแต่ละส่วน
ดับเครื่องยนต์ก่อนตรวจสอบระดับน้ำมันหรือเติมน้ำมันลงในห้องข้อเหวี่ยง
| ระยะการซ่อมบำรุง | ขั้นตอนการบำรุงรักษา |
|---|---|
| ก่อนการใช้งานแต่ละครั้งหรือทุกวัน |
|
| ทุก 100 ชั่วโมง |
|
ตรวจสอบและทำความสะอาดตะแกรงไอดีตามที่จำเป็นก่อนการใช้งานแต่ละครั้งหรือทุกวัน ตะแกรงไอดีอยู่ด้านหน้าของเครื่องยนต์
| ระยะการซ่อมบำรุง | ขั้นตอนการบำรุงรักษา |
|---|---|
| ทุก 50 ชั่วโมง |
|
| ทุก 200 ชั่วโมง |
|
ดึงเบรกมือ หยุดปั๊ม ดับเครื่องยนต์ และดึงกุญแจสตาร์ทออก
ปลดสลักที่ด้านหลังที่นั่งและยกที่นั่งไปข้างหน้า
ทำความสะอาดรอบๆ ระบบกรองอากาศเพื่อป้องกันไม่ให้ฝุ่นตกลงไปในเครื่องยนต์และอาจก่อให้เกิดความเสียหาย (รูป 39)

คลายลูกบิดบนฝาครอบชุดกรองอากาศและเปิดฝาครอบออก (รูป 39)
ค่อยๆ เลื่อนไส้กรองโฟมออกจากไส้กรองกระดาษอย่างระมัดระวัง (รูป 39)
ถอดน็อตฝาครอบ และถอดฝาครอบและไส้กรองกระดาษออกมา (รูป 39)
ล้างไส้กรองโฟมด้วยสบู่เหลวและน้ำอุ่น
เมื่อไส้กรองสะอาดแล้ว ล้างให้สะอาด
บีบน้ำออกจากไส้กรองโดยการบีบในผ้าสะอาด
เทน้ำมัน 30 ถึง 59 มล. (1 ถึง 2 ออนซ์) ลงบนไส้กรอง (รูป 40)
Important: เปลี่ยนไส้กรองโฟมที่ฉีกขาดหรือสึกหรอ

บีบไส้กรองเพื่อให้น้ำมันกระจายทั่ว
ตรวจสอบไส้กรองกระดาษเพื่อหาร่องรอยฉีกขาด ฟิล์มน้ำมัน ความเสียหายที่ซีลยาง ความสกปรกมากเกินไป หรือความเสียหายอื่นๆ (รูป 41) หากพบสภาพใดๆ เหล่านี้ ให้เปลี่ยนไส้กรอง
Important: อย่าทำความสะอาดไส้กรองกระดาษด้วยการเป่าลมหรือของเหลว เช่น สารละลาย น้ำมันเบนซิน หรือน้ำมันก๊าด

Important: เพื่อป้องกันเครื่องยนต์เสียหาย ควรใช้งานเครื่องยนต์ที่ชุดกรองอากาศติดตั้งทั้งไส้กรองโฟมและกระดาษไว้อย่างสมบูรณ์
ค่อยๆ เลื่อนไส้กรองโฟมเข้าไปในไส้กรองกระดาษอย่างระมัดระวัง (รูป 39)
เลื่อนชุดกรองอากาศและฝาครอบลงบนก้านยาว
ติดตั้งน็อตฝาครอบโดยขันด้วยมือให้แน่นเข้ากับฝาครอบ (รูป 39)
Note: ตรวจสอบให้แน่ใจว่าซีลยางแนบกับฐานชุดกรองอากาศและฝาครอบ
ติดตั้งฝาครอบและลูกบิดของชุดกรองอากาศ (รูป 39)
ปิดและล็อกที่นั่งด้วยสลัก
ความจุห้องข้อเหวี่ยงคือ 2.0 ลิตร (2.1 ควอร์ต) พร้อมไส้กรอง
ใช้น้ำมันเครื่องคุณภาพสูงที่ได้มาตรฐานตามข้อมูลจำเพาะดังต่อไปนี้:
ระดับ API Classification ที่กำหนด: SJ ขึ้นไป
น้ำมันที่ดีที่สุด: SAE 10W30 (สูงกว่า 0°F)
น้ำมันทางเลือก: SAE 5W30 (ต่ำกว่า 32°F)
น้ำมันเครื่องพรีเมียมของ Toro หาซื้อได้จากตัวแทนจำหน่าย ทั้งชนิดความหนืด 10W30 หรือ 5W30 ดูแคตตาล็อกอะไหล่เพื่อดูหมายเลขชิ้นส่วน
| ระยะการซ่อมบำรุง | ขั้นตอนการบำรุงรักษา |
|---|---|
| ก่อนการใช้งานแต่ละครั้งหรือทุกวัน |
|
| ทุก 400 ชั่วโมง |
|
เครื่องยนต์จัดส่งมาโดยมีน้ำมันในห้องข้อเหวี่ยง อย่างไรก็ตาม คุณต้องตรวจสอบระดับน้ำมันก่อนจะสตาร์ทเครื่องยนต์เป็นครั้งแรก และหลังจากที่เครื่องยนต์ทำงานแล้ว
จอดอุปกรณ์บนพื้นราบ
ดึงก้านวัดออกและเช็ดให้สะอาดด้วยผ้าขี้ริ้ว (รูป 42) สอดก้านวัดลงในท่อและดูว่าก้านวัดเข้าไปจนสุด ดึงก้านวัดออกและตรวจสอบระดับน้ำมันเครื่อง

หากน้ำมันเหลือน้อย เปิดฝาเติมจากฝาครอบวาล์ว (รูป 42) และเติมน้ำมันลงในช่องเติมจนกว่าระดับน้ำมันจะถึงขีด เต็มบนก้านวัด เติมน้ำมันช้าๆ และตรวจเช็คระดับน้ำมันบ่อยๆ ในระหว่างขั้นตอนนี้ อย่าเติมจนล้น
ใส่ก้านวัดกลับเข้าที่ให้แน่นหนา
| ระยะการซ่อมบำรุง | ขั้นตอนการบำรุงรักษา |
|---|---|
| หลังจาก 50 ชั่วโมงแรก |
|
| ทุก 100 ชั่วโมง |
|
สตาร์ทเครื่องยนต์และปล่อยให้เครื่องยนต์ทำงาน 5 นาที ปล่อยให้เครื่องยนต์ทำงานเพื่อให้น้ำมันอุ่นและระบายได้ดีขึ้น
จอดอุปกรณ์บนพื้นราบ ดึงเบรกมือ ปิดปั๊มเครื่องฉีดพ่น ดับเครื่องยนต์ และดึงกุญแจออก
ปลดสลักที่ด้านหลังที่นั่งและยกที่นั่งไปข้างหน้า
ส่วนประกอบใต้ที่นั่งจะร้อนขึ้น หากเครื่องฉีดพ่นทำงาน การสัมผัสส่วนประกอบที่ร้อนอาจให้เกิดแผลความร้อนลวกได้
ปล่อยให้เครื่องฉีดพ่นเย็นลงก่อนทำการบำรุงรักษาหรือสัมผัสส่วนประกอบใต้กระโปรงรถ
วางอ่างไว้ใต้ช่องระบายน้ำมัน
ถอดจุกระบาย (รูป 43)

เมื่อระบายน้ำมันจนหมดแล้ว เปลี่ยนจุกระบายและบิดจนได้แรงบิด 13.6 นิวตันเมตร (10 ฟุตปอนด์)
ทิ้งน้ำมันใช้แล้ว ณ ศูนย์รีไซเคิลที่มีการรับรอง
ค่อยๆ เทน้ำมันประมาณ 80% ของปริมาณที่กำหนดไว้ลงไปในท่อเติมน้ำมัน (รูป 42)
ตรวจสอบระดับน้ำมัน
ค่อยๆ เติมน้ำมันเพิ่มจนถึงขีดเต็มบนก้านวัด
Important: การเติมน้ำมันลงในห้องข้อเหวี่ยงมากเกินไปอาจทำให้เครื่องยนต์เสียหายได้
| ระยะการซ่อมบำรุง | ขั้นตอนการบำรุงรักษา |
|---|---|
| ทุก 100 ชั่วโมง |
|
ระบายน้ำมันออกจากเครื่องยนต์ โปรดดู การเปลี่ยนน้ำมันเครื่อง ขั้นตอนที่ 1 ถึง 7
ถอดตัวกรองน้ำมันเครื่อง (รูป 43)
เช็ดพื้นผิวปะเก็นอะแดปเตอร์ตัวกรอง
ทาน้ำมันใหม่เป็นชั้นบางๆ ที่ปะเก็นยางบนตัวกรองที่จะเปลี่ยน
ติดตั้งตัวกรองน้ำมันที่จะเปลี่ยนเข้าไปในอะแดปเตอร์ตัวกรอง หมุนตัวกรองน้ำมันตามเข็มนาฬิกาจนกว่าปะเก็นยางจะสัมผัสกับอะแดปเตอร์ตัวกรอง จากนั้นขันตัวกรองเพิ่มอีก 1/2 รอบ (รูป 43)
เติมน้ำมันใหม่ชนิดที่เหมาะสมลงในห้องข้อเหวี่ยง โปรดดู การเปลี่ยนน้ำมันเครื่อง ขั้นตอนที่ 8 ถึง 10
ทิ้งน้ำมันใช้แล้ว ณ ศูนย์รีไซเคิลที่มีการรับรอง
| ระยะการซ่อมบำรุง | ขั้นตอนการบำรุงรักษา |
|---|---|
| ทุก 200 ชั่วโมง |
|
ประเภท: Champion RC-12YC (หรือเทียบเท่า)
ระยะห่างเขี้ยว: 0.76 มม. (0.03 นิ้ว)
ตรวจสอบว่าระยะห่างเขี้ยวระหว่างตรงกลางกับเขี้ยวหัวเทียนถูกต้องก่อนจะติดตั้งหัวเทียน ใช้ประแจหัวเทียนในการถอดและติดตั้งหัวเทียน และเครื่องมือวัดช่องว่าง/ฟีลเลอร์เกจเพื่อตรวจสอบและปรับระยะห่างเขี้ยว
จอดอุปกรณ์บนพื้นราบ ดึงเบรกมือ ปิดปั๊มเครื่องฉีดพ่น ดับเครื่องยนต์ และดึงกุญแจออก
ปลดสลักที่ด้านหลังที่นั่งและยกที่นั่งไปข้างหน้า
ดึงสายไฟออกจากหัวเทียน (รูป 44)
ทำความสะอาดรอบๆ หัวเทียนเพื่อป้องกันไม่ให้ฝุ่นตกลงไปในเครื่องยนต์และอาจทำให้เกิดความเสียหาย
ถอดหัวเทียนและแหวนโลหะออก

ดูที่ตรงกลางของหัวเทียน (รูป 45)
Note: หากคุณเห็นคราบสีน้ำตาลหรือสีเทาบนฉนวน แสดงว่าเครื่องยนต์ทำงานถูกต้อง คราบสีดำบนฉนวนมักแสดงว่าระบบกรองอากาศสกปรก
Important: อย่าทำความสะอาดหัวเทียน เปลี่ยนหัวเทียนเสมอเมื่อเห็นคราบสีดำ เขี้ยวหัวเทียนสึกหรอ และฟิล์มน้ำมัน หรือรอยแตก
ตรวจสอบระยะห่างเขี้ยวระหว่างตรงกลางกับเขี้ยวหัวเทียน (รูป 45) และหักงอเขี้ยวหัวเทียนหากระยะห่างเขี้ยวไม่ถูกต้อง

ติดตั้งหัวเทียนและแหวนโลหะเข้าที่
ขันหัวเทียนจนได้แรงบิด 24.4 ถึง 29.8 นิวตันเมตร (18 ถึง 22 ฟุตปอนด์)
ดันสายไฟเข้าไปบนหัวเทียน (รูป 44)
ปิดและล็อกที่นั่งด้วยสลัก
| ระยะการซ่อมบำรุง | ขั้นตอนการบำรุงรักษา |
|---|---|
| ทุก 100 ชั่วโมง |
|
| ทุก 400 ชั่วโมง |
|
ดึงเบรกมือ หยุดปั๊ม ดับเครื่องยนต์ และดึงกุญแจสตาร์ทออก
ปลดสลักที่ด้านหลังที่นั่งและยกที่นั่งไปข้างหน้า
รัดท่ออ่อนที่ด้านใดด้านหนึ่งของท่อเชื้อเพลิงเพื่อป้องกันไม่ให้น้ำมันเชื้อเพลิงไหลออกจากท่ออ่อนเมื่อคุณถอดตัวกรอง
วางอ่างระบายใต้ตัวกรอง
บีบปลายทั้งสองด้านของข้อรัดท่ออ่อนเข้าด้วยกันและเลื่อนออกห่างจากตัวกรอง (รูป 46)
ถอดตัวกรองออกจากท่อเชื้อเพลิง

ติดตั้งตัวกรองอันใหม่และเลื่อนข้อรัดท่ออ่อนเข้าไปใกล้ตัวกรอง
ตรวจสอบให้แน่ใจว่าลูกศรทิศทางการไหลหันไปทางเครื่องยนต์
| ระยะการซ่อมบำรุง | ขั้นตอนการบำรุงรักษา |
|---|---|
| หลังจาก 50 ชั่วโมงแรก |
|
| ทุก 200 ชั่วโมง |
|
ตรวจสอบช่องเปิดที่ด้านล่างของไส้กรองอากาศสำหรับกล่องดักไอน้ำมัน เพื่อให้แน่ใจว่าสะอาด ไร้สิ่งสกปรก และไม่อุดตัน (รูป 47)

| ระยะการซ่อมบำรุง | ขั้นตอนการบำรุงรักษา |
|---|---|
| หลังจาก 50 ชั่วโมงแรก |
|
| ทุก 200 ชั่วโมง |
|
ถอดข้อต่อมีเดือยของตัวกรองกล่องดักไอน้ำมันออกจากท่ออ่อนที่ด้านล่างของกล่องดักไอน้ำมัน และถอดตัวกรองออก (รูป 47)
Note: ทิ้งตัวกรองเก่าไป
สอดข้อต่อมีเดือยของตัวกรองกล่องดักไอน้ำมันชิ้นใหม่เข้าในท่ออ่อนที่ด้านล่างของกล่องดักไอน้ำมันจนสุด
| ระยะการซ่อมบำรุง | ขั้นตอนการบำรุงรักษา |
|---|---|
| ทุก 400 ชั่วโมง |
|
ระบายและทำความสะอาดถังเชื้อเพลิง หากระบบเชื้อเพลิงมีสิ่งปนเปื้อนหรือหากคุณวางแผนที่จะจัดเก็บอุปกรณ์ไว้เป็นเวลานาน ใช้เชื้อเพลิงใหม่และสะอาดเพื่อไล่ล้างถัง
ย้ายเชื้อเพลิงจากถังไปยังภาชนะเชื้อเพลิงที่ผ่านการรับรอง โดยใช้ปั๊มกาลักน้ำ หรือถอดถังออกจากอุปกรณ์และใช้กรวยเทเชื้อเพลิงออกจากถังลงในภาชนะเชื้อเพลิง
Note: หากคุณถอดถังเชื้อเพลิงออกมา ให้ถอดท่อเชื้อเพลิงและท่อไหลกลับออกจากถังก่อนที่จะถอดถังด้วย
เปลี่ยนตัวกรองเชื้อเพลิง โปรดดู การเปลี่ยนตัวกรองเชื้อเพลิง
ล้างถังเชื้อเพลิงด้วยน้ำมันเชื้อเพลิงที่ใหม่และสะอาด ถ้าจำเป็น
ติดตั้งถังเข้าที่ ถ้าถอดออกมา
เติมน้ำมันใหม่และสะอาดลงในถังเชื้อเพลิง
ตัดการเชื่อมต่อแบตเตอรี่ก่อนซ่อมบำรุงอุปกรณ์ ถอดขั้วลบออกก่อน ตามด้วยขั้วบวก ต่อขั้วบวกก่อน ตามด้วยขั้วลบ
ชาร์จแบตเตอรี่ในพื้นที่เปิดโล่งที่ระบายอากาศได้ดี ห่างจากประกายไฟและเปลวไฟ ถอดปลั๊กเครื่องชาร์จก่อนต่อหรือตัดการเชื่อมต่อแบตเตอรี่
สวมใส่ชุดป้องกันและใช้เครื่องมือมีฉนวน
ระบบไฟฟ้ามีกล่องฟิวส์ 2 กล่องและช่องว่าง 1 ช่อง ทั้งหมดอยู่ใต้ที่นั่ง (รูป 48)

Important: ห้ามจัมป์แบตเตอรี่ของอุปกรณ์
รักษาความสะอาดแบตเตอรี่และชาร์จให้เต็มอยู่เสมอ ใช้กระดาษทำครัวเช็ดแบตเตอรี่และกล่องแบตเตอรี่ หากขั้วแบตเตอรี่สึกหรอ ทำความสะอาดโดยใช้น้ำ 4 ส่วน ผสมกับผงฟู 1 ส่วน ทาจาระบีบางๆ ที่ขั้วแบตเตอรี่เพื่อป้องกันการกัดกร่อน
แรงดันไฟฟ้า: 12 โวลต์ พร้อมกับการสตาร์ทเย็น 280 แอมป์ที่ 0°F
จอดเครื่องฉีดพ่นบนพื้นราบ ดึงเบรกมือ ปิดปั๊มเครื่องฉีดพ่น ดับเครื่องยนต์ และดึงกุญแจออก
แบตเตอรี่อยู่ที่ด้านขวาของอุปกรณ์หลังปั๊ม (รูป 48)
ถอดสายกราวนด์ขั้วลบ (สีดำ) ออกจากเสาแบตเตอรี่
การเดินสายไฟแบตเตอรี่ไม่ถูกต้องอาจทำให้เครื่องฉีดพ่นและสายไฟเสียหาย โดยทำให้เกิดประกายไฟ ประกายไฟอาจทำให้แบตเตอรี่ปล่อยก๊าซที่ทำให้ระเบิด ส่งผลให้เกิดการบาดเจ็บขึ้นได้
ถอดสายไฟแบตเตอรี่ขั้วลบ (สีดำ) ก่อนถอดสายไฟแบตเตอรี่ขั้วบวก (สีแดง) เสมอ
ต่อสายไฟแบตเตอรี่ขั้วบวก (สีแดง) ก่อนต่อสายไฟขั้วลบ (สีดำ) เสมอ
ขั้วแบตเตอรี่หรือเครื่องมือโลหะอาจลัดวงจรกับส่วนประกอบเครื่องฉีดพ่นที่เป็นโลหะ และทำให้เกิดประกายไฟได้ ประกายไฟอาจทำให้แบตเตอรี่ปล่อยก๊าซที่ทำให้ระเบิด ส่งผลให้เกิดการบาดเจ็บขึ้นได้
เมื่อถอดหรือติดตั้งแบตเตอรี่ อย่าให้ขั้วแบตเตอรี่สัมผัสกับส่วนโลหะของเครื่องฉีดพ่น
อย่าให้เครื่องมือโลหะลัดวงจรระหว่างขั้วแบตเตอรี่กับส่วนโลหะของเครื่องฉีดพ่น
ใช้สายรัดแบตเตอรี่เสมอเพื่อปกป้องและยึดแบตเตอรี่อย่างแน่นหนา
ถอดสายขั้วบวก (สีแดง) ออกจากเสาแบตเตอรี่
ถอดแถบรัดแบตเตอรี่และสลักเกลียวออก (รูป 48)
ถอดแบตเตอรี่ออก
| ระยะการซ่อมบำรุง | ขั้นตอนการบำรุงรักษา |
|---|---|
| ทุก 50 ชั่วโมง |
|
วางแบตเตอรี่บนกล่องแบตเตอรี่ โดยให้เสาแบตเตอรี่หันเข้าหาด้านหน้าของเครื่องฉีดพ่น
ติดตั้งแถบรัดแบตเตอรี่และยึดให้แน่นด้วยสลักเกลียวที่ถอดออกมาก่อนหน้านี้ (รูป 48)
Important: ติดตั้งแถบรัดแบตเตอรี่เข้าที่เสมอเพื่อปกป้องและยึดแบตเตอรี่อย่างแน่นหนา
ต่อสายขั้วบวก (สีแดง) เข้ากับเสาแบตเตอรี่ขั้วบวก (+) และสายขั้วลบ (สีดำ) เข้ากับเสาแบตเตอรี่ขั้วลบ (-) โดยใช้สลักเกลียวและแป้นเกลียวหางปลา เลื่อนบูทยางครอบเสาแบตเตอรี่ขั้วบวก
ติดตั้งฝาครอบแบตเตอรี่และยึดให้แน่นด้วยลูกบิด 2 ตัว (รูป 48)
| ระยะการซ่อมบำรุง | ขั้นตอนการบำรุงรักษา |
|---|---|
| ทุก 50 ชั่วโมง |
|
Note: ขณะที่อุปกรณ์อยู่ระหว่างจัดเก็บ ตรวจสอบระดับน้ำอิเล็กโทรไลต์ในแบตเตอรี่ทุก ๆ 30 วัน
คลายลูกบิดที่ด้านข้างกล่องแบตเตอรี่ และถอดฝาครอบแบตเตอรี่ออก (รูป 48)
ถอดฝาเติม ถ้าระดับน้ำอิเล็กโทรไลต์ไม่ถึงขีดเติม เติมน้ำกลั่นตามที่จำเป็น โปรดดู การเติมน้ำลงในแบตเตอรี่
น้ำอิเล็กโทรไลต์ในแบตเตอรี่ประกอบด้วยกรดซัลฟูริก ซึ่งเป็นอันตรายถึงชีวิตได้หากรับประทาน หรือทำให้เป็นแผลไหม้รุนแรง
ห้ามดื่มหรือให้น้ำอิเล็กโทรไลต์สัมผัสผิวหนัง ดวงตา หรือเสื้อผ้า สวมใส่แว่นนิรภัยเพื่อป้องกันดวงตาและสวมถุงมือยางเพื่อปกป้องมือ
เมื่อเติมน้ำกลั่นในแบตเตอรี่ ต้องเตรียมน้ำสะอาดไว้ใกล้ๆ เสมอเพื่อล้างผิวหนัง
ช่วงเวลาที่ดีที่สุดในการเติมน้ำกลั่นลงในแบตเตอรี่คือ ก่อนใช้งานอุปกรณ์ เพราะจะทำให้น้ำผสมเข้ากับสารละลายอิเล็กโทรไลต์ได้อย่างทั่วถึง
เช็ดบริเวณด้านบนแบตเตอรี่ด้วยกระดาษทำครัว
เปิดฝาเติมออกจากแบตเตอรี่ และค่อยๆ เติมน้ำกลั่นลงในแต่ละเซลล์จนกระทั่งระดับถึงขีดเติม เปลี่ยนฝาเติม
Important: อย่าเติมน้ำจนล้นแบตเตอรี่ อิเล็กโทรไลต์ที่ล้นออกมาและสัมผัสกับชิ้นส่วนอื่นๆ ของเครื่องฉีดพ่นจะทำให้เกิดการกัดกร่อนรุนแรงและเสื่อมสภาพได้
ขั้นตอนการชาร์จแบตเตอรี่ทำให้เกิดก๊าซที่อาจระเบิดได้
ห้ามสูบบุหรี่ใกล้แบตเตอรี่และอย่านำประกายไฟและเปลวไฟเข้าใกล้แบตเตอรี่โดยเด็ดขาด
Important: ชาร์จแบตเตอรี่ให้เต็มอยู่เสมอ (ความถ่วงจำเพาะ 1.260) ข้อนี้สำคัญมากเพื่อป้องกันไม่ให้แบตเตอรี่เสียหายเมื่ออุณหภูมิต่ำกว่า 0°C (32°F)
ถอดแบตเตอรี่ออกจากแชสซี โปรดดู การถอดแบตเตอรี่
ตรวจสอบระดับน้ำอิเล็กโทรไลต์ โปรดดู การตรวจสอบระดับน้ำอิเล็กโทรไลต์
ต่อเครื่องชาร์จแบตเตอรี่ 3-4 แอมป์เข้ากับเสาแบตเตอรี่ ชาร์จแบตเตอรี่ด้วยกำลัง 3-4 แอมป์เป็นเวลา 4-8 ชั่วโมง (12 โวลต์)
Important: อย่าชาร์จแบตเตอรี่มากเกินไป
ติดตั้งแบตเตอรี่ลงในแชสซี โปรดดู การติดตั้งแบตเตอรี่
หากคุณจัดเก็บอุปกรณ์ไว้นานกว่า 30 วัน ให้ถอดแบตเตอรี่ออกมาชาร์จให้เต็ม เก็บแบตเตอรี่บนชั้นหรือในรถ หากเก็บไว้ในรถ ให้ถอดสายไฟออก จัดเก็บแบตเตอรี่ในสถานที่เย็น เพื่อไม่ให้ประจุไฟฟ้าในแบตเตอรี่คลายเร็ว เพื่อป้องกันไม่ให้แบตเตอรี่เย็นจัด ควรชาร์จแบตเตอรี่จนเต็ม
| ระยะการซ่อมบำรุง | ขั้นตอนการบำรุงรักษา |
|---|---|
| หลังจาก 8 ชั่วโมงแรก |
|
| ก่อนการใช้งานแต่ละครั้งหรือทุกวัน |
|
| ทุก 100 ชั่วโมง |
|
ตรวจสอบแรงดันลมยางทุก 8 ชั่วโมงหรือทุกวันเพื่อให้แน่ใจว่าแรงดันลมยางอยู่ในระดับที่เหมาะสม อัดลมในล้อจนได้แรงดัน 138 กิโลปาสกาล (20 ปอนด์ต่อตร.นิ้ว) นอกจากนี้ ตรวจสอบการสึกหรอหรือความเสียหายบนล้อยาง
ตรวจสอบล้อให้แน่ใจว่ายึดแน่นหนาดีหลังจากการใช้งาน 8 ชั่วโมงแรง จากนั้นทุก ๆ 100 ชั่วโมง ขันน็อตล้อหน้าและล้อหลังจนได้แรงบิด 102 ถึง 108 นิวตันเมตร (75 ถึง 80 ฟุตปอนด์)
ตรวจสอบสภาพยางล้ออย่างน้อยทุกๆ การทำงาน 100 ชั่วโมง อุบัติเหตุุขณะใช้งาน เช่น การชนกับขอบทาง อาจสร้างความเสียหายต่อล้อยางหรือขอบยางได้ และทำให้การบังคับทิศทางไม่เที่ยงตรง ดังนั้น ควรตรวจสอบสภาพยางหลังจากเกิดอุบัติเหตุ
| ระยะการซ่อมบำรุง | ขั้นตอนการบำรุงรักษา |
|---|---|
| ทุก 200 ชั่วโมง |
|
โยกคันโยกล็อกเฟืองท้ายไปยังตำแหน่งปิด
คลายหมุดเคลวิสที่ยึดสายล็อกเฟืองท้ายเข้ากับโครงยึดบนเพลาส่งกำลัง (รูป 49)

ปรับน็อตสวมทับเพื่อให้มีช่องว่างขนาด 0.25 ถึง 1.5 มม. (0.01 ถึง 0.06 นิ้ว) ระหว่างตะขอสปริงกับเส้นผ่านศูนย์กลางภายนอกของรูในคันเพลาส่งกำลัง
ขันน็อตสวมทับให้แน่นเมื่อเสร็จสิ้น
| ระยะการซ่อมบำรุง | ขั้นตอนการบำรุงรักษา |
|---|---|
| ทุก 100 ชั่วโมง |
|
มุมโทอินควรอยู่ระหว่าง 0 ถึง 6 มม. (0 ถึง 1/4 นิ้ว)
เติมน้ำลงในถังประมาณ 331 ลิตร (87.5 แกลลอนสหรัฐ)
ตรวจสอบและอัดลมล้อทั้งหมด โปรดดู การตรวจสอบแรงดันลมในล้อ
ขับเครื่องฉีดพ่นกลับไปมาสองสามรอบเพื่อให้แขน A ผ่อนคลาย จากนั้นขับเดินหน้าอย่างน้อย 3 เมตร (10 ฟุต)
วัดระยะห่างระหว่างล้อหน้าทั้งสองล้อที่ความสูงเพลา ทั้งด้านหน้าและด้านหลังของล้อหน้า (รูป 50)
Note: คุณจะต้องใช้สิ่งติดตรึงหรือเกจปรับตั้งแนวเพื่อวัดด้านหลังของยางล้อหน้าที่ความสูงเพลา ใช้สิ่งติดตรึงหรือเกจปรับตั้งแนวชุดเดียวกันวัดด้านหน้าของยางล้อหน้าที่ความสูงเพลาอย่างแม่นยำ (รูป 50)
ด้านหน้าของล้อหน้าควรอยู่ใกล้กว่าด้านหลังของยางล้อหน้า 0 ถึง 6 มม. (0 ถึง 1/4 นิ้ว)

หากค่าที่วัดได้ไม่อยู่ในช่วงที่กำหนด ให้คลายน็อตสวมทับที่ปลายทั้งสองด้านของคันส่ง (รูป 51)

หมุนคันส่งทั้งสองเพื่อให้ด้านหน้ายางหันเข้าหรือหันออก
Note: คันส่งวัดความยาวเท่ากัน
ขันน็อตสวมทับของคันส่งเมื่อการปรับถูกต้องแล้ว
ตรวจสอบให้แน่ใจว่าพวงมาลัยหักได้สุดทั้งสองทิศทาง
ถังน้ำมันเบรกจัดส่งมาจากโรงงานและเติมด้วยน้ำมันเบรก DOT 3 ตรวจสอบระดับน้ำมันเบรกก่อนการสตาร์ทเครื่องยนต์ในแต่ละวัน

เลื่อนเครื่องฉีดพ่นสารเคมีไปจอดบนพื้นราบ ดึงเบรกมือ หยุดปั๊ม ดับเครื่องยนต์ และดึงกุญแจสตาร์ทออก
ระดับน้ำมันควรจะสูงถึงขีด เต็ม บนถัง
ถ้าน้ำมันเหลือน้อย ทำความสะอาดบริเวณรอบๆ ฝาถัง เปิดฝาถังน้ำมัน และเติมน้ำมันลงในถังจนถึงระดับที่เหมาะสม อย่าเติมจนล้น
| ระยะการซ่อมบำรุง | ขั้นตอนการบำรุงรักษา |
|---|---|
| ทุก 100 ชั่วโมง |
|
เบรกเป็นส่วนประกอบด้านความปลอดภัยที่สำคัญของเครื่องฉีดพ่น ตรวจสอบดังนี้:
ตรวจสอบคันขาเบรกว่าสึกหรอหรือชำรุดหรือไม่ หากความหนาของผ้าเบรกน้อยกว่า 1.6 มม. (1/16 นิ้ว) ให้เปลี่ยนคันขาเบรก
ตรวจสอบแผ่นหลังเบรกและส่วนประกอบอื่นๆ เพื่อหาร่องรอยการสึกหรอมากเกินไปหรือการผิดรูป หากพบการผิดรูป ให้เปลี่ยนส่วนประกอบที่เกี่ยวข้อง
| ระยะการซ่อมบำรุง | ขั้นตอนการบำรุงรักษา |
|---|---|
| ทุก 200 ชั่วโมง |
|
ถอดด้ามจับพลาสติก
คลายสกรูตั้งค่าที่ยึดลูกบิดกับคันเบรกมือ (รูป 53)

หมุนลูกบิดจนได้แรง 18 ถึง 23 กก. (40 ถึง 50 ปอนด์) ให้คันเบรกทำงาน
ขันสกรูตั้งค่าให้แน่น
ไปพบแพทย์ทันทีหากโดนน้ำมันฉีดใส่ผิวหนัง น้ำมันที่ฉีดโดนร่างกายจะต้องให้แพทย์ผ่าตัดออกภายในสองถึงสามชั่วโมง
ระบายแรงดันทั้งหมดในระบบไฮดรอลิกอย่างปลอดภัยก่อนจะทำงานใดๆ กับระบบ
ตรวจสอบให้แน่ใจว่าท่ออ่อนน้ำมันไฮดรอลิกและท่อระบบมีสภาพดี และข้อต่อและการเชื่อมต่อระบบไฮดรอลิกทั้งหมดแน่นหนาก่อนจ่ายแรงดันเข้าไปในระบบไฮดรอลิก
ดูแลให้มือและร่างกายออกห่างจากจุดรั่วรูเข็มหรือหัวฉีดที่ฉีดน้ำมันไฮดรอลิกแรงดันสูง
ใช้กระดาษลังหรือกระดาษหาจุดรั่วของระบบไฮดรอลิก
ประเภทน้ำมัน: Dexron III ATF
ความจุถังน้ำมัน: ประมาณ 7 ลิตร (7.5 แกลลอนสหรัฐ)
| ระยะการซ่อมบำรุง | ขั้นตอนการบำรุงรักษา |
|---|---|
| ทุก 200 ชั่วโมง |
|
จอดเครื่องฉีดพ่นบนพื้นราบ ดึงเบรกมือ ปิดปั๊มเครื่องฉีดพ่น ดับเครื่องยนต์ และดึงกุญแจออก
ดึงก้านวัดระบบเพลาส่งกำลังออกและเช็ดให้สะอาดด้วยผ้าขี้ริ้วสะอาด (รูป 54)

Important: อย่าให้ฝุ่นหรือสิ่งปนเปื้อนอื่นๆ เข้าไปในช่องเปิดขณะตรวจสอบน้ำมันเพลาส่งกำลัง
สอดก้านวัดลงในท่อและดูว่าก้านวัดเข้าไปจนสุด ดึงก้านวัดออกและตรวจสอบระดับน้ำมันเครื่อง
ระดับน้ำมันเพลาส่งกำลังควรสูงถึงด้านบนของส่วนราบของก้านวัด ถ้าระดับน้ำมันน้อยกว่านั้น ให้เติมน้ำมันไฮดรอลิกที่กำหนดลงในถัง โปรดดู ข้อมูลจำเพาะน้ำมันไฮดรอลิก
ใส่ก้านวัดกลับเข้าที่ให้แน่นหนา
| ระยะการซ่อมบำรุง | ขั้นตอนการบำรุงรักษา |
|---|---|
| ทุก 800 ชั่วโมง |
|
เลื่อนเครื่องฉีดพ่นสารเคมีไปจอดบนพื้นราบ ดึงเบรกมือ หยุดปั๊ม ดับเครื่องยนต์ และดึงกุญแจสตาร์ทออก
วางอ่างระบายใต้จุกระบายของถัง
เปิดจุกระบายจากด้านข้างของถังน้ำมัน และปล่อยให้น้ำมันไฮดรอลิกไหลลงในอ่างระบาย (รูป 55)

สังเกตการจัดวางท่ออ่อนไฮดรอลิกและข้อต่อ 90° ที่่ต่อเข้ากับตะแกรง
ถอดท่ออ่อนไฮดรอลิกและข้อต่อ 90° (รูป 56)

ถอดตะแกรงและทำความสะอาดด้วยการล้างด้านหลังด้วยน้ำยาชะล้างน้ำมันที่สะอาด
วางทิ้งไว้ให้ตะแกรงแห้ง
ติดตั้งตะแกรงขณะระบายน้ำมัน
ติดตั้งท่ออ่อนไฮดรอลิกและข้อต่อ 90° เข้ากับตะแกรง
ปิดและขันจุกระบายให้แน่น
เติม Dexron III ATF ประมาณ 7 ลิตร (7.5 ควอร์ต) ลงในถัง
Important: ใช้เฉพาะน้ำมันไฮดรอลิกที่กำหนดเท่านั้น เพราะน้ำมันอื่นๆ อาจทำให้ระบบชำรุดเสียหายได้
สตาร์ทเครื่องยนต์ และขับเครื่องฉีดพ่นเพื่อเติมระบบไฮดรอลิก
ตรวจสอบระดับน้ำมันและเติมถ้าจำเป็น
| ระยะการซ่อมบำรุง | ขั้นตอนการบำรุงรักษา |
|---|---|
| หลังจาก 8 ชั่วโมงแรก |
|
| ทุก 800 ชั่วโมง |
|
ใช้ตัวกรองอะไหล่ของ Toro (หมายเลขชิ้นส่วน 54-0110)
Important: การใช้ตัวกรองอื่นๆ อาจทำให้การรับประกันส่วนประกอบบางอย่างเป็นโมฆะ
เลื่อนเครื่องฉีดพ่นสารเคมีไปจอดบนพื้นราบ ดึงเบรกมือ หยุดปั๊ม ดับเครื่องยนต์ และดึงกุญแจสตาร์ทออก
ทำความสะอาดบริเวณรอบๆ ที่ยึดตัวกรอง
วางอ่างระบายใต้ตัวกรอง
ถอดตัวกรองออก (รูป 57)

หล่อลื่นปะเก็นของตัวกรองใหม่
ตรวจสอบให้แน่ใจว่าบริเวณที่ยึดตัวกรองสะอาด
ขันสกรูตัวกรองจนกว่าปะเก็นจะสัมผัสกับแผ่นยึด และขันตัวกรองอีก 1/2 รอบ
สตาร์ทเครื่องยนต์ และปล่อยให้เครื่องยนต์ทำงานประมาณ 2 นาทีเพื่อไล่อากาศออกจากระบบ
ดับเครื่องยนต์และตรวจสอบระดับน้ำมันไฮดรอลิกเพื่อหาการรั่วไหล โปรดดู การเปลี่ยนน้ำมันเพลาส่งกำลัง/น้ำมันไฮดรอลิก
ตรวจสอบระบบท่อและท่ออ่อนไฮดรอลิกทุกวัน เพื่อเช็คการรั่วไหล ท่อหักงอ ส่วนรองรับการยึดที่หลวม การสึกหรอ ข้อต่อหลวม การเสื่อมสภาพจากสภาพอากาศ และการเสื่อมสภาพจากสารเคมี จากนั้นซ่อมแซมความเสียหายทั้งหมดก่อนกลับไปใช้งานต่อ
| ระยะการซ่อมบำรุง | ขั้นตอนการบำรุงรักษา |
|---|---|
| ทุก 200 ชั่วโมง |
|
ตรวจสอบท่ออ่อนแต่ละเส้นในระบบฉีดพ่นเพื่อหารอยแตก การรั่วไหล หรือความเสียหายอื่นๆ ในขณะเดียวกัน ตรวจสอบการเชื่อมต่อและข้อต่อเพื่อหาความเสียหายที่คล้ายกัน เปลี่ยนท่ออ่อนและข้อต่อที่สึกหรอหรือชำรุด
| ระยะการซ่อมบำรุง | ขั้นตอนการบำรุงรักษา |
|---|---|
| ทุก 400 ชั่วโมง |
|
Note: กำหนดขนาดตะแกรงตัวกรองดูดที่เหมาะสมกับงานของคุณ โปรดดู การเลือกตัวกรองดูด
จอดอุปกรณ์บนพื้นราบ ดึงเบรกมือ ปิดปั๊ม ดับเครื่องยนต์ และดึงกุญแจออก
ที่ด้านบนของถังเครื่องฉีดพ่น ถอดแหวนล็อกที่ยึดข้อต่อท่ออ่อนที่ติดกับท่ออ่อนขนาดใหญ่จากตัวเรือนไส้กรอง (รูป 58)

ถอดท่ออ่อนและข้อต่อท่ออ่อนออกจากตัวเรือนไส้กรอง (รูป 58)
ถอดตัวกรองดูดอันเก่าจากตัวเรือนไส้กรองในถัง (รูป 59)
Note: ทิ้งตัวกรองเก่าไป

ติดตั้งตัวกรองดูดอันใหม่เข้าในตัวเรือนไส้กรอง
Note: ตรวจดูให้แน่ใจว่าตัวกรองวางจนสุดทาง
จัดเรียงท่ออ่อนและข้อต่อท่ออ่อนให้ตรงกับตัวเรือนไส้กรองที่ด้านบนสุดของถัง และรัดข้อต่อและตัวเรือนให้แน่นด้วยแหวนล็อกที่ถอดออกมาในขั้นตอนที่ 2
| ระยะการซ่อมบำรุง | ขั้นตอนการบำรุงรักษา |
|---|---|
| ทุก 400 ชั่วโมง |
|
ย้ายอุปกรณ์ไปบนพื้นราบ ปิดปั๊มเครื่องฉีดพ่น ดับเครื่องยนต์ และดึงกุญแจออก
วางอ่างระบายใต้ตัวกรองแรงดัน (รูป 60)

หมุนจุกระบายทวนเข็มนาฬิกาและถอดออกจากถ้วยของตัวกรองแรงดัน (รูป 60)
Note: ปล่อยให้ถ้วยระบายออกจนหมด
หมุนถ้วยทวนเข็มนาฬิกาและถอดออกจากหัวตัวกรอง (รูป 60)
ถอดไส้กรองแรงดันอันเก่าออก (รูป 60)
Note: ทิ้งตัวกรองเก่าไป
ตรวจสอบโอริงของจุกระบาย (อยู่ด้านในถ้วย) และโอริงของถ้วย (อยู่ด้านในหัวตัวกรอง) เพื่อหาความเสียหายและการสึกหรอ (รูป 60)
Note: เปลี่ยนโอริงที่ชำรุดหรือสึกหรอสำหรับจุก ถ้วย หรือทั้งคู่
ติดตั้งไส้กรองแรงดันใหม่เข้าในหัวตัวกรอง (รูป 60)
Note: ตรวจสอบให้แน่ใจว่าไส้กรองวางอยู่ในหัวตัวกรองอย่างแน่นหนา
ติดตั้งถ้วยลงในหัวตัวกรอง และขันให้แน่นด้วยมือ (รูป 60)
ติดตั้งจุกเข้ากับถ้วย และขันให้แน่นด้วยมือ (รูป 60)
Note: กำหนดขนาดตะแกรงตัวกรองหัวฉีดที่เหมาะสมกับงานของคุณ โปรดดู การเลือกหัวฉีด
จอดอุปกรณ์บนพื้นราบ ดึงเบรกมือ ปิดปั๊มเครื่องฉีดพ่น ดับเครื่องยนต์ และดึงกุญแจออก
ถอดหัวฉีดออกจากแท่นหมุนฉีดพ่น (รูป 61)

ถอดตัวกรองหัวฉีดอันเก่าออก (รูป 61)
Note: ทิ้งตัวกรองเก่าไป
ติดตั้งตัวกรองหัวฉีดใหม่ (รูป 61)
Note: ตรวจดูให้แน่ใจว่าตัวกรองวางจนสุดทาง
ติดตั้งหัวฉีดเข้ากับแท่นหมุนฉีดพ่น (รูป 61)
| ระยะการซ่อมบำรุง | ขั้นตอนการบำรุงรักษา |
|---|---|
| ทุก 400 ชั่วโมง |
|
Note: ส่วนประกอบอุปกรณ์ดังต่อไปนี้ถือเป็นวัสดุสิ้นเปลือง ยกเว้นพบข้อบกพร่อง และไม่มีการคุ้มครองโดยการรับประกันที่เกี่ยวข้องกับอุปกรณ์นี้
ให้ตัวแทนจำหน่าย Toro ที่ได้รับอนุญาตตรวจสอบส่วนประกอบปั๊มภายในต่อไปเพื่อหาความเสียหาย:
ไดอะแฟรมปั๊ม
ชุดเช็กวาล์วของปั๊ม
เปลี่ยนส่วนประกอบ ถ้าจำเป็น
| ระยะการซ่อมบำรุง | ขั้นตอนการบำรุงรักษา |
|---|---|
| ทุก 400 ชั่วโมง |
|
จอดอุปกรณ์บนพื้นราบ ดึงเบรกมือ ปิดปั๊ม ดับเครื่องยนต์ และดึงกุญแจออก
ยืดแขนบูมส่วนนอกออกไปยังตำแหน่งฉีดพ่น และรองรับแขนบูมโดยใช้ขาตั้งหรือสายรัดกับอุปกรณ์ยก
เมื่อรองรับน้ำหนักของแขนบูมแล้ว ถอดสลักเกลียวและน็อตที่ยึดหมุดหมุนเข้ากับชุดแขนบูม (รูป 62)

ถอดสลักเกลียวและน็อตที่ยึดหมุดหมุน และถอดหมุดออก (รูป 62)
ถอดแขนบูมและชุดโครงยึดหมุดออกจากโครงตรงกลางเพื่อเข้าถึงบุชชิ่งไนลอน
ถอดและตรวจสอบบุชชิ่งไนลอนจากด้านหน้าและด้านหลังของโครงยึดหมุด (รูป 62)
Note: เปลี่ยนบุชชิ่งที่สึกหรอหรือชำรุด
ทาน้ำมันเล็กน้อยลงบนบุชชิ่งไนลอน และติดตั้งเข้ากับโครงยึดหมุด (รูป 62)
ติดตั้งแขนบูมและชุดโครงยึดหมุดเข้ากับโครงตรงกลาง โดยจัดเรียงรูให้ตรงกัน (รูป 62)
ติดตั้งหมุดหมุนและยึดให้แน่นด้วยสลักเกลียวและน็อตที่ถอดออกมาในขั้นตอนที่ 4
ทำซ้ำขั้นตอนที่ 2 ถึง 9 กับแขนบูมส่วนนอกส่วนอื่นๆ
ใช้ขั้นตอนต่อไปนี้เพื่อปรับระดับแขนบูมส่วนซ้ายและขวาขณะอยู่ในตำแหน่งฉีดพ่น
ยืดแขนบูมให้อยู่ในตำแหน่งฉีดพ่น
ถอดสลักปลายแยกออกจากหมุดหมุน (รูป 63)

ยกแขนบูมขึ้นและถอดหมุดออก (รูป 63) จากนั้นค่อยๆ ลดระดับแขนบูมลงบนพื้น
ตรวจสอบความเสียหายบนหมุดและเปลี่ยน ถ้าจำเป็น
ใช้ประแจด้านแบนของคันส่งแอกทูเอเตอร์จับให้นิ่ง จากนั้นคลายน็อตสวมทับเพื่อให้สามารถปรับก้านมีห่วงได้ (รูป 64)

หมุนก้านมีห่วงในคันส่งแอกทูเอเตอร์เพื่อปรับความสั้นหรือยาวของแอกทูเอเตอร์ให้ยืดตามตำแหน่งที่ต้องการ (รูป 64)
Note: คุณต้องหมุนก้านมีห่วงครึ่งรอบหรือหนึ่งรอบเพื่อให้สามารถประกอบก้านเข้ากับแขนบูมได้
เมื่อได้ตำแหน่งที่ต้องการแล้ว ขันน็อตสวมทับให้แน่นเพื่อยึดแอกทูเอเตอร์และก้านมีห่วง
ยกแขนบูมเพื่อเรียงหมุดให้ตรงกับคันส่งแอกทูเอเตอร์
ขณะถือแขนบูมค้างไว้ สอดหมุดผ่านทั้งข้อหมุนแขนบูมและคันส่งแอกทูเอเตอร์ (รูป 63)
ขณะที่หมุดอยู่กับที่ ปล่อยแขนบูมและยึดหมุนให้แน่นด้วยสลักปลายแยกที่ถอดออกมาก่อนหน้านี้
ทำซ้ำขั้นตอนเดียวกันกับแบริ่งของคันส่งแอกทูเอเตอร์แต่ละตัว ถ้าจำเป็น
Important: อย่าใช้น้ำกร่อยหรือน้ำหมุนเวียนล้างรถ
| ระยะการซ่อมบำรุง | ขั้นตอนการบำรุงรักษา |
|---|---|
| ทุก 200 ชั่วโมง |
|
ล้างและระบายระบบฉีดพ่นทั้งหมดให้สะอาด
ถอดมิเตอร์วัดการไหลออกจากเครื่องฉีดพ่นและไล่ล้างด้วยน้ำสะอาด
ถอดแหวนล็อกบนด้านต้นน้ำออก (รูป 65)

ทำความสะอาดเทอร์ไบน์และฮับเทอร์ไบน์เพื่อขจัดผงตะไบโลหะและสารเคมีละลายน้ำชนิดผง
ตรวจสอบใบพัดเทอร์ไบน์เพื่อหาการสึกหรอ
Note: จับเทอร์ไบน์ไว้ในมือและหมุน เทอร์ไบน์ควรหมุนได้อิสระโดยมีแรงลากน้อยมาก หากไม่เป็นไปตามนี้ ต้องเปลี่ยน
ประกอบมิเตอร์วัดการไหล
ใช้การเป่าลมแรงดันต่ำ (50 กิโลปาสกาลหรือ 5 ปอนด์ต่อตร.นิ้ว) เพื่อให้แน่ใจว่าเทอร์ไบน์หมุนอย่างอิสระ
Note: หากเทอร์ไบน์ไม่หมุนอย่างอิสระ ให้คลายสลักหกเหลี่ยมที่ด้านใต้ของฮับเทอร์ไบน์ ทีละ 1/16 รอบจนกว่าจะหมุนได้อย่างอิสระ
ก่อนลุกจากตำแหน่งคนขับ ให้ปฏิบัติตามดังนี้:
จอดอุปกรณ์บนพื้นราบ
ปิดปั๊มฉีดพ่น
ดึงเบรกมือ
ดับเครื่องยนต์และดึงกุญแจออก (ถ้าเสียบอยู่)
รอให้การเคลื่อนไหวหยุดนิ่ง
รอให้เครื่องยนต์เย็นลงก่อนปรับ ซ่อมบำรุง ทำความสะอาด หรือจัดเก็บรถ
อย่าจัดเก็บอุปกรณ์หรือภาชนะบรรจุน้ำมันในที่ที่มีเปลวไฟ ประกายไฟ หรือไฟนำร่อง เช่น บนเครื่องทำน้ำร้อน หรือเครื่องใช้ไฟฟ้าอื่นๆ
จอดเครื่องฉีดพ่นบนพื้นราบ ดึงเบรกมือ ปิดปั๊ม ดับเครื่องยนต์ และดึงกุญแจออก
ทำความสะอาดฝุ่นและคราบจากรถทั้งคัน รวมถึงด้านนอกเครื่องยนต์ ครีบหัวกระบอกสูบ และตัวเรือนเครื่องเป่า
Important: คุณสามารถล้างอุปกรณ์ด้วยน้ำยาทำความสะอาดอ่อนๆ และน้ำ ห้ามใช้น้ำแรงดันสูงในการล้างอุปกรณ์ การล้างด้วยแรงดันอาจทำให้ระบบไฟฟ้าเสียหายหรือชะล้างจาระบีที่จำเป็นบริเวณจุดเสียดทานออกไป หลีกเลี่ยงการใช้น้ำมากเกินไป โดยเฉพาะใกล้แผงควบคุม หลอดไฟ เครื่องยนต์ และแบตเตอรี่
ทำความสะอาดระบบฉีดพ่น โปรดดู
ทำความสะอาดวาล์วกลมในชุดวาล์ว โปรดดู
ปรับสภาพระบบฉีดพ่นดังนี้:
ระบายถังน้ำสะอาด
ระบายของเหลวในระบบฉีดพ่นจนหมด
เตรียมสารป้องกันการแข็งตัว RV ผสมสารกันสนิมชนิดไม่ใช่แอลกอฮอล์ตามคำแนะนำของผู้ผลิต
เติมสารป้องกันการแข็งตัว RV ลงในถังน้ำสะอาด ถังเครื่องฉีดพ่น และอุปกรณ์เสริมถังล้าง หากมีติดตั้งไว้
ปั๊มสารป้องกันการแข็งตัว RV ในอุปกรณ์เสริมถังล้างเข้าสู่ถังฉีดพ่น ถ้าติดตั้งไว้
เปิดใช้งานปั๊มเครื่องฉีดพ่นเป็นเวลาสองสามนาทีเพื่อให้สารป้องกันการแข็งตัว RV หมุนเวียนในระบบเครื่องฉีดพ่นและอุปกรณ์เสริมฉีดพ่นที่ติดตั้งไว้จนทั่ว
ฉีดพ่นสารป้องกันการแข็งตัว RV ออกจากหัวฉีดพ่น
ระบายถังน้ำสะอาดและระบบฉีดพ่นออกจนหมด
ใช้สวิตช์ยกแขนบูมเพื่อยกส่วนแขนบูมด้านนอกขึ้น ยกแขนบูมจนเข้าสู่แคร่ขนส่งแขนบูมจนสุดและอยู่ในตำแหน่ง "X” สำหรับขนส่ง และกระบอกสูบของแขนบูมหดเข้าจนสุด
Note: ตรวจสอบให้แน่ใจว่ากระบอกสูบแขนบูมหดเข้าจนสุดเพื่อป้องกันไม่ให้คันส่งแอกทูเอเตอร์เสียหาย
ตรวจสอบเบรก โปรดดู การตรวจสอบเบรก
ซ่อมบำรุงระบบกรองอากาศ โปรดดู การซ่อมบำรุงระบบกรองอากาศ
อัดจาระบีเครื่องฉีดพ่น โปรดดู การหล่อลื่น
เปลี่ยนน้ำมันเครื่อง โปรดดู การเปลี่ยนน้ำมันเครื่อง
ตรวจสอบแรงดันลมยาง โปรดดู การตรวจสอบแรงดันลมในล้อ
หากจะจัดเก็บไว้นานกว่า 30 วัน ให้เตรียมระบบเชื้อเพลิงดังนี้:
เติมสารคงสภาพ/ปรับสภาพชนิดปิโตรเลียมลงในเชื้อเพลิงในถัง
ทำตามขั้นตอนการผสมของผู้ผลิตสารคงสภาพ อย่าใช้สารคงสภาพชนิดแอลกอฮอล์ (เอทานอลหรือเมทานอล)
Note: สารคงสภาพ/ปรับสภาพเชื้อเพลิงจะมีประสิทธิภาพดีที่สุดเมื่อผสมกับน้ำมันเบนซินใหม่ตลอดทั้งปี
ปล่อยให้เครื่องยนต์ทำงาน (5 นาที) เพื่อให้จ่ายเชื้อเพลิงที่ผสมสารคงสภาพกระจายไปทั่วระบบเชื้อเพลิง
ดับเครื่องยนต์ ปล่อยให้เครื่องยนต์เย็น ระบายน้ำมันออกจากถังเชื้อเพลิง
สตาร์ทเครื่องยนต์ และปล่อยไว้จนเครื่องยนต์ดับไปเอง
โช้คเครื่องยนต์
สตาร์ทและปล่อยให้เครื่องยนต์ทำงานจนกว่าจะไม่สตาร์ทอีก
ทิ้งเชื้อเพลิงด้วยวิธีที่ถูกต้อง รีไซเคิลตามกฎระเบียบท้องถิ่น
Important: ห้ามเก็บเชื้อเพลิงที่ผสมสารคงสภาพ/ปรับสภาพไว้นานกว่า 90 วัน
ถอดหัวเทียนออกมาตรวจสอบสภาพ โปรดดู การถอดหัวเทียน
หลังจากถอดหัวเทียนออกจากเครื่องยนต์ เทน้ำมันเครื่อง 2 ช้อนโต๊ะลงในรูหัวเทียน
ใช้สตาร์ทเตอร์ไฟฟ้าเพื่อกระตุกเครื่องยนต์และกระจายน้ำมันภายในกระบอกสูบ
ติดตั้งหัวเทียนและขันให้แน่นตามค่าแรงบิดที่แนะนำ โปรดดู การติดตั้งหัวเทียน
Note: อย่าติดตั้งสายไฟบนหัวเทียน
ถอดแบตเตอรี่จากแชสซี ตรวจสอบระดับอิเล็กโทรไลต์ และชาร์จให้เต็ม โปรดดู การซ่อมบำรุงแบตเตอรี่
Note: อย่าต่อสายไฟแบตเตอรี่เข้ากับเสาขั้วแบตเตอรี่ในระหว่างจัดเก็บ
Important: แบตเตอรี่ต้องชาร์จจนเต็มเพื่อป้องกันการแช่แข็ง และความเสียหายเมื่ออุณหภูมิต่ำกกว่า 0°C (32°F) แบตเตอรี่ที่ชาร์จจนเต็มจะรักษาประจุได้ประมาณ 50 วันในอุณหภูมิที่ต่ำกว่า 4°C (40°F) หากอุณหภูมิจะสูงกว่า 4°C (40°F) ตรวจสอบระดับน้ำในแบตเตอรี่และชาร์จแบตเตอรี่ทุกๆ 30 วัน
ตรวจสอบและขันสลัก น็อต และสกรูทั้งหมด ซ่อมแซมหรือเปลี่ยนชิ้นส่วนที่ชำรุดเสียหาย
ตรวจสอบสภาพของท่ออ่อนฉีดพ่นทั้งหมด เปลี่ยนท่ออ่อนที่ชำรุดหรือสึกหรอ
ขันข้อต่อท่ออ่อนทั้งหมดให้แน่น
ซ่อมสีรอยขีดข่วนและพื้นผิวที่เปิดถึงโลหะทั้งหมด สีสามารถซื้อได้จากตัวแทนจำหน่าย Toro ที่ได้รับอนุญาต
จัดเก็บอุปกรณ์ในพื้นที่จัดเก็บหรือโรงรถที่แห้งและสะอาด
ดึงกุญแจสตาร์ทออก และเก็บไว้ในที่ปลอดภัยห่างจากมือเด็ก
คลุมอุปกรณ์เพื่อป้องกันและรักษาความสะอาด
| Problem | Possible Cause | Corrective Action |
|---|---|---|
| สตาร์ทเตอร์ไม่สตาร์ท |
|
|
| เครื่องยนต์กระตุกแต่ไม่สตาร์ท |
|
|
| เครื่องยนต์สตาร์ทแต่ไม่ทำงานต่อ |
|
|
| เครื่องยนต์ทำงานแต่น็อกหรือดับ |
|
|
| เครื่องยนต์ไม่เดินรอบเบา |
|
|
| เครื่องยนต์มีความร้อนสูงเกิน |
|
|
| เครื่องยนต์สูญเสียกำลัง |
|
|
| มีการสั่นสะเทือนหรือเสียงรบกวนผิดปกติ |
|
|
| อุปกรณ์ไม่ทำงานหรืออืดในทิศทางใดทิศทางหนึ่ง เพราะเครื่องยนต์สะดุดดับหรือกระตุก |
|
|
| เครื่องยนต์ไม่ทำงานไม่ว่าในทิศทางใด |
|
|
| Problem | Possible Cause | Corrective Action |
|---|---|---|
| แขนบูมไม่ฉีดพ่น |
|
|
| แขนบูมไม่ปิด |
|
|
| วาล์วแขนบูมรั่ว |
|
|
| หัวฉีดพ่นหยดเมื่อปิดสวิตช์แขนบูมแล้ว |
|
|
| แรงดันตกเมื่อเปิดแขนบูม |
|
|
| ขณะที่ปิดแขนบูม มีแรงดันเปลี่ยนแปลงเมื่อสับสวิตช์ผสมไปยังตำแหน่ง เปิด |
|
|
| ขณะฉีดพ่นด้วยแขนบูมหลายส่วน มีแรงดันเปลี่ยนแปลงเมื่อปิดแขนบูมส่วนหนึ่ง |
|
|
| เมื่อเสร็จงานฉีดพ่น เหลือน้ำยาในถังมากกว่าที่คาดไว้ |
|
|
| น้ำยาหมดถังในระหว่างงานฉีดพ่นโดยไม่คาดคิด |
|
|
