| Onderhoudsinterval | Onderhoudsprocedure |
|---|---|
| Na de eerste 10 bedrijfsuren |
|
De bladblazer wordt getrokken door een zitmaaier die bedoeld is voor gebruik door professionele bestuurders in commerciële toepassingen. De machine is ontworpen om door middel van blaaskracht snel grote gebieden vrij te maken van ongewenste verontreiniging op goed onderhouden gazons in parken, golfbanen en sportvelden. Dit product gebruiken voor andere doeleinden dan het bedoelde gebruik kan gevaarlijk zijn voor u of voor omstanders.
Important: Om de veiligheid en de prestaties van deze machine te optimaliseren en een juist gebruik ervan te garanderen, moet u de inhoud van deze Gebruikershandleiding zorgvuldig lezen en volledig begrijpen. Als u deze bedieningsinstructies niet opvolgt of geen goede training krijgt, kan dit leiden tot letsel. Ga naar www.Toro.com voor meer informatie over veilige bediening, inclusief veiligheidstips en trainingsmaterialen.
Ga naar www.Toro.com voor documentatie over productveiligheid en bedieningsinstructies, informatie over accessoires, hulp bij het vinden van een dealer of om uw product te registreren.
Als u service, originele Toro onderdelen of aanvullende informatie nodig hebt, kunt u contact opnemen met een erkende servicedealer of met de klantenservice van Toro. U dient hierbij altijd het modelnummer en het serienummer van het product te vermelden. De locatie van het plaatje met het modelnummer en het serienummer van het product is aangegeven op Figuur 1. U kunt de nummers noteren in de ruimte hieronder.
Important: U kunt met uw mobiel apparaat de QR-code op het serienummer (indien aanwezig) scannen om toegang te krijgen tot de garantie, onderdelen en andere productinformatie.

Er worden in deze handleiding een aantal mogelijke gevaren en een aantal veiligheidsberichten genoemd met de volgende veiligheidssymbolen (Figuur 2), die duiden op een gevaarlijke situatie die ernstig of fataal lichamelijk letsel tot gevolg kan hebben als u de veiligheidsvoorschriften niet in acht neemt.

Er worden in deze handleiding twee woorden gebruikt om uw aandacht op bijzondere informatie te vestigen. Belangrijk attendeert u op bijzondere technische informatie en Opmerking duidt op algemene informatie die bijzondere aandacht verdient.
Dit product voldoet aan alle relevante Europese richtlijnen; zie voor details de aparte productspecifieke conformiteitsverklaring.
Als de machine zonder een goed werkende vonkenvanger, zoals omschreven in sectie 4442, of een goed onderhouden, brandveilige motor wordt gebruikt in een bosgebied of op een met dicht struikgewas of gras begroeid terrein, handelt de bestuurder in strijd met de bepalingen van sectie 4442 of 4443 van de Wet op de Openbare Hulpbronnen (Public Resources Code) van de Staat Californië.
De bij deze motor geleverde Gebruikershandleiding bevat informatie over het Environmental Protection Agency (EPA) in de Verenigde Staten en de California Emission Control Regulation voor emissiesystemen, onderhoud en garantie. Bestel vervangingsonderdelen bij de fabrikant van de motor.
De DOT-code bevindt zich aan de zijkant van elke band. Deze code biedt informatie over het draagvermogen en de snelheidsindex. Vervangingsbanden dienen hetzelfde of een beter draagvermogen en dezelfde of een betere snelheidsindex te hebben. Zorg ervoor dat de banden minstens voldoen aan de gewichtsvereisten van uw machine.
| Elektromagnetische compatibiliteit |
| Nationaal: Dit apparaat voldoet aan de FCC Rules Part 15. Het gebruik is onderworpen aan de volgende voorwaarden: (1) De machine mag geen schadelijke interferentie en (2) deze machine moet elke interferentie accepteren die kan worden ontvangen, waaronder interferentie die ongewenste werking van de machine kan veroorzaken. |
| Dit apparaat genereert en gebruikt radiofrequentie-energie en als het niet op de juiste wijze wordt geïnstalleerd en gebruikt, precies volgens de instructies van de fabrikant, kan het interferentie veroorzaken voor de ontvangst van radio en televisie. Het is op type getest en geconstateerd is dat het binnen de grenzen ligt van een FCC klasse B computerapparaat in overeenstemming met de specificaties in Subpart J van Part 15 van de FCC Rules, zoals hierboven vermeld. Er is echter geen garantie dat in een specifieke installatie geen interferentie op zal treden. Als dit apparaat interferentie veroorzaakt in de ontvangst van radio en televisie, hetgeen kan worden bepaald door het apparaat aan en uit te zetten, wordt de gebruiker aangemoedigd om de interferentie te corrigeren door het nemen van een van de volgende maatregelen:Richt de ontvangstantenne opnieuw, verplaats de afstandsbediening-ontvanger ten opzichte van de radio-/tv-antenne of sluit de controller aan op een ander stopcontact, zodat de controller en de radio/tv op verschillende vertakte circuits werken.Indien nodig moet de gebruiker de dealer of een ervaren radio-/televisiemonteur raadplegen voor aanvullende suggesties.De gebruiker vindt wellicht het volgende boekje, opgesteld door de Federal Communications Commission, nuttig: 'How to Identify and Resolve Radio-TV Interference Problems'. Dit boekje is verkrijgbaar bij de U.S. Government Printing Office, Washington, DC 20402. Voorraadnr. 004-000-00345-4. |
| FCC ID: W7OMRF24J40MDME-Base, OA3MRF24J40MA-Hand Held |
| IC: 7693A-24J40MDME-Base, 7693A-24J40MA-Hand Held |
| Het gebruik is onderworpen aan de volgende voorwaarden: (1) Dit apparaat mag geen interferentie veroorzaken en (2) dit apparaat moet interferentie accepteren, waaronder interferentie die ongewenste werking van het apparaat kan veroorzaken. |
| Japan certificaat elektromagnetische compatibiliteit | |
| Afstandsbediening: | ![]() |
| RF2CAN: | ![]() |
| Mexico certificaat elektromagnetische compatibiliteit | |
| Afstandsbediening: | ![]() |
| RF2CAN: | ![]() |
| Korea certificaat elektromagnetische compatibiliteit(sticker geleverd in afzonderlijke set) | |
| Afstandsbediening: | ![]() |
| RF2CAN: | ![]() |
| Singapore certificaat elektromagnetische compatibiliteit | |
| Afstandsbediening: | TWM240007_IDA_N4021-15 |
| RF2CAN: | TWM-240005_IDA_N4024-15 |
| Marokko certificaat elektromagnetische compatibiliteit | |
| AGREE PAR L’ANRT MAROC | |
| Numero d’agrement: | MR 14092 ANRT 2017 |
| Delivre d’agrement: | 29/5/2017 |
Important: De machine wijzigen of aanpassen zonder de uitdrukkelijke toestemming van de partij die verantwoordelijk is voor naleving kan uw bevoegdheid om het apparaat te gebruiken ongeldig maken.Wijzig de machine niet of pas ze niet aan zonder de uitdrukkelijke toestemming van de partij die verantwoordelijk is voor naleving.
CALIFORNIË
Proposition 65 Waarschuwing
De uitlaatgassen van de motor van dit product bevatten chemische stoffen waarvan bekend is dat ze kanker, geboorteafwijkingen of andere schade aan de voortplantingsorganen kunnen veroorzaken.
Accuklemmen, accupolen en dergelijke onderdelen bevatten lood en loodverbindingen. Van deze stoffen is bekend dat ze kanker en schade aan de voortplantingsorganen veroorzaken. Was altijd uw handen nadat u met deze onderdelen in aanraking bent geweest.
Gebruik van dit product kan leiden tot blootstelling aan chemische stoffen waarvan de Staat Californië weet dat ze kanker, geboorteafwijkingen en andere schade aan het voortplantingssysteem veroorzaken.
Deze machine werd ontworpen in overeenstemming met standaard B71.4-2017 van het ANSI (American National Standards Institute).
Dit product kan voorwerpen uitwerpen. Volg altijd alle veiligheidsinstructies op om ernstig letsel te voorkomen.
Lees deze Gebruikershandleiding en de gebruikershandleiding van de tractie-eenheid en zorg ervoor dat u deze begrijpt voordat u de machine in gebruik neemt. Zorg dat alle gebruikers van dit product weten hoe ze deze machine en de tractie-eenheid dienen te gebruiken en dat ze de waarschuwingen begrijpen.
Geef uw volledige aandacht als u de machine gebruikt. Zorg ervoor dat u met niets anders bezig bent waardoor u kunt worden afgeleid, anders kan er letsel ontstaan of kan eigendom worden beschadigd.
Houd handen en voeten uit de buurt van de bewegende onderdelen van de machine.
Gebruik de machine enkel als de nodige schermen en andere beveiligingsmiddelen aanwezig zijn en naar behoren werken.
Laat geen kinderen, omstanders of huisdieren het werkgebied betreden. Laat kinderen nooit de machine bedienen.
Zet altijd de motor af, verwijder het sleuteltje (indien aanwezig), wacht totdat alle bewegende onderdelen tot stilstand zijn gekomen en laat de machine afkoelen voordat u ze afstelt, repareert, schoonmaakt of stalt.
Onjuist gebruik of onderhoud van deze machine kan letsel tot gevolg hebben. Om het risico op letsel te verkleinen, dient u zich aan de volgende veiligheidsinstructies te houden en altijd op het veiligheidssymbool (Figuur 2) te letten, dat betekent: Voorzichtig, Waarschuwing of Gevaar – instructie voor persoonlijke veiligheid. Niet-naleving van deze instructies kan leiden tot lichamelijk of dodelijk letsel.
![]() |
Veiligheidsstickers en veiligheidsinstructies zijn gemakkelijk zichtbaar voor de bestuurder en bevinden zich bij plaatsen waar gevaar kan ontstaan. Vervang alle beschadigde of ontbrekende stickers. |







Note: Bepaal vanuit de normale bedieningspositie de linker- en rechterzijde van de machine.
Benodigde onderdelen voor deze stap:
| Grafo 112X-vet (Toro onderdeelnr. 505-47) | — |
Maak de klemmen los waarmee de accu is bevestigd op de accubak (Figuur 3).

Accuzuur bevat zwavelzuur; deze stof is dodelijk bij inname en veroorzaakt ernstige brandwonden.
U mag accuzuur nooit inslikken en moet elk contact met huid, ogen of kleding vermijden. Draag een veiligheidsbril en rubberhandschoenen om uw ogen en handen te beschermen.
Vul de accu alleen bij op plaatsen waar schoon water aanwezig is om indien nodig uw huid af te spoelen.
Bevestig de pluskabel (rood) aan de pluspool (+) van de accu.
Bevestig de minkabel (zwart) aan de min (–) pool van de accu.
Smeer een dun laagje Grafo 112X-vet (Toro onderdeelnr. 505-47) of vaseline op de polen en het bevestigingsmateriaal om corrosie te voorkomen.
Plaats het accudeksel en zet het vast met de pennen.
Benodigde onderdelen voor deze stap:
| Bladblazer | 1 |
| Trekhaak | 1 |
| Bout (⅜" x 3") | 2 |
| Flensmoer (⅜") | 2 |
| Trekhaak | 1 |
| Bout (⅝" x 4½") | 2 |
| Borgmoer (⅝") | 2 |
Plaats de bladblazer op een vlak, horizontaal oppervlak.
Plaats de trekhaakbuis in de framesteunen (Figuur 4). Bevestig de buis aan het frame met 2 bouten (⅜" x 3") en flensmoeren (⅜"). Draai vast met een torsie van 40 N·m.

Note: De trekhaakbuis kan 180 graden worden gedraaid om te passen bij verschillende trekhaakhoogten.
Benodigde onderdelen voor deze stap:
| Koppelpen | 1 |
| Gaffel | 1 |
Koppel het trekvoertuig aan de blazer.
Stel de blazer-trekhaak als volgt in op hetzelfde niveau als het sleepvoertuig:
Plaats de trekhaakbuis op een assteun om deze evenwijdig met de grond te houden.
Verwijder de bouten en borgmoeren waarmee de trekhaak is bevestigd (Figuur 4) aan de trekhaakbuis.
Beweeg de gaffel omhoog of omlaag naar de stand ongeveer op dezelfde hoogte als de trekhaak van het trekvoertuig.
Bevestig de gaffel aan de trekhaak met de bouten en borgmoeren die u eerder hebt verwijderd en draai vast met een torsie van 203 N·m. Zorg dat het frame van de bladblazer evenwijdig is met de grond.
Stel de trekhaakbuis in om te zorgen dat de blazer niet in contact komt met het trekvoertuig bij het draaien als volgt:
Verwijder de bouten en de moeren waarmee de trekhaakbuis is bevestigd aan de framesteunen (Figuur 4).
Zet de buis vast aan het frame met de bouten en de flensmoeren.
Sluit de trekhaak van de blazer aan op de haak van het trekvoertuig met de koppelpen en de gaffel (Figuur 5).

Druk op de knop om de afvoer te draaien in de gewenste richting (Figuur 6).

Draai de knop naar SNEL (konijn) of LANGZAAM (schildpad) om het toerental van de motor te verhogen of te verlagen (Figuur 6).
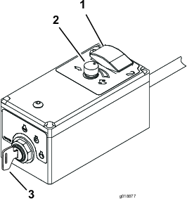
De contactschakelaar dient om de motor te starten en af te zetten en heeft drie standen: UIT, DRAAIEN en START. Draai het sleuteltje naar rechts op START om het voertuig te starten. Laat het sleuteltje los zodra de motor start. Het sleuteltje gaat automatisch naar de stand LOPEN. Om de motor af te zetten, draait u het sleuteltje linksom naar de stand UIT (Figuur 6).
Om een koude motor te starten, moet u de chokehendel (Figuur 7) in de stand AAN zetten.

De urenteller (Figuur 7) toont het aantal uren dat de machine in bedrijf is geweest.
Note: Bepaal vanuit de normale bedieningspositie de linker- en rechterzijde van de machine.
Laat kinderen of personen die geen instructie hebben ontvangen, de machine nooit gebruiken of onderhoudswerkzaamheden daaraan verrichten. Plaatselijke voorschriften kunnen nadere eisen stellen aan de leeftijd van degene die met de machine werkt. De eigenaar is verantwoordelijk voor de instructie van alle bestuurders en technici.
Zorg ervoor dat u vertrouwd raakt met de bedieningsorganen en de veiligheidssymbolen, en weet hoe u de machine veilig kunt gebruiken.
Zet altijd de motor af, verwijder het sleuteltje, wacht totdat alle bewegende onderdelen tot stilstand zijn gekomen en laat de machine afkoelen voordat u ze afstelt, repareert, schoonmaakt of stalt. Zorg ervoor dat u weet hoe u de machine en de motor snel kunt stoppen.
Zorg ervoor dat alle veiligheidsschermen, veiligheidsvoorzieningen en stickers op hun plaats zitten. Repareer of vervang veiligheidsvoorzieningen en vervang onleesbare of ontbrekende stickers. Gebruik de machine uitsluitend als deze aanwezig zijn en naar behoren werken.
Controleer of de tractie-eenheid geschikt is voor het gebruik met een werktuig van dit gewicht door contact op te nemen met de fabrikant of leverancier van de tractie-eenheid.
Breng op geen enkele manier wijzigingen aan deze onderdelen aan.
Wees uiterst voorzichtig bij het omgaan met brandstof. Brandstof is ontvlambaar en de dampen kunnen tot ontploffing komen.
Doof alle sigaretten, sigaren, pijpen en andere ontstekingsbronnen.
Gebruik uitsluitend een goedgekeurd vat of blik voor de brandstof.
Wanneer de motor loopt of heet is, mag u de brandstofdop niet verwijderen of brandstof toevoegen.
Geen brandstof bijvullen of aftappen in een afgesloten ruimte.
Bewaar de machine en het brandstofvat niet op plaatsen waar open vlammen, vonken of waakvlammen (bv. van een boiler of een ander toestel) aanwezig kunnen zijn.
Probeer de motor niet te starten als u brandstof hebt gemorst; voorkom elke vorm van open vuur of vonken totdat de brandstofdampen volledig zijn verdwenen.
Vul de houders niet in een voertuig, op een vrachtwagen of op de laadbak van een aanhanger met kunststofbekleding. Plaats vaten die u wilt vullen altijd op de grond, uit de buurt van uw voertuig.
Verwijder de machine uit de vrachtwagen of de aanhanger en vul de tank pas als de machine op de grond staat. Als dit niet mogelijk is, is het beter om bij te vullen uit een draagbaar vat dan met behulp van een vulpistool.
Gebruik de machine uitsluitend als het complete uitlaatsysteem is gemonteerd en naar behoren werkt.
Houd het vulpistool voortdurend in contact met de rand van de brandstoftank of de opening van de brandstofhouder totdat het bijvullen voltooid is. Vergrendel het vulpistool niet in de open stand.
Als u brandstof morst op uw kleding dient u zich onmiddellijk om te kleden. Eventueel gemorste brandstof opnemen.
Doe de brandstoftank nooit te vol. Plaats de brandstoftankdop terug en draai deze goed aan.
Brandstof in een goedgekeurd vat of blik en buiten bereik van kinderen bewaren. Koop nooit meer brandstof dan u in 30 dagen kunt opmaken.
Vul de brandstoftank niet helemaal. Vul de brandstoftank totdat het peil 6 mm tot 13 mm van de onderkant van de vulbuis staat. Deze geeft de brandstof in de tank ruimte om uit te zetten.
Voorkom dat u dampen lange tijd inademt.
Houd uw gezicht uit de buurt van het vulpistool en de opening van de brandstoftank.
Voorkom contact met de huid; als dit toch gebeurt, moet u gemorste vloeistof afspoelen met zeep en water.
Inhoud brandstoftank: 18,9 liter
Aanbevolen brandstof
Gebruik voor de beste resultaten uitsluitend schone, verse (minder dan 30 dagen oud), loodvrije brandstof met een octaangetal van 87 of hoger (indelingsmethode (R+M)/2).
Ethanol: Brandstof met maximaal 10% ethanol (gasohol) of 15% MTBE (methyl-tert-butylether) per volume is aanvaardbaar. Ethanol en MTBE zijn niet hetzelfde. Brandstof met 15% ethanol (E15) per volume is niet geschikt voor gebruik. Gebruik nooit brandstof die meer dan 10% ethanol per volume bevat, zoals E15 (bevat 15% ethanol), E20 (bevat 20% ethanol) of E85 (bevat tot 85% ethanol). Ongeschikte brandstof gebruiken kan leiden tot verminderde prestaties en/of motorschade die mogelijk niet gedekt wordt door de garantie.
Geen brandstof gebruiken die methanol bevat.
In de winter geen brandstof bewaren in de brandstoftank of in vaten, tenzij u een brandstofstabilisator gebruikt.
Meng nooit olie door brandstof.
Important: Gebruik nooit andere brandstofadditieven dan een brandstofstabilisator/conditioner. Gebruik geen stabilisatoren op basis van alcohol zoals ethanol, methanol, of isopropanol.
Gebruik van stabilisator/conditioner in de machine biedt de volgende voordelen:
Houdt de brandstof vers gedurende stalling van 90 dagen of minder. Als u de machine langer wilt stallen, moet u de benzine aftappen uit de brandstoftank.
Houdt de motor tijdens het gebruik schoon.
Voorkomt harsachtige afzettingen in het brandstofsysteem, die tot startproblemen kunnen leiden
Important: Gebruik nooit brandstofadditieven die methanol of ethanol bevatten.
Voeg de juiste hoeveelheid stabilisator/conditioner aan de brandstof toe.
Note: Stabilisator/conditioner werkt het best als deze met verse benzine wordt gemengd. Gebruik altijd een stabilisator om het risico van harsachtige afzettingen in het brandstofsysteem zo klein mogelijk te houden.
Zet de motor af.
Reinig de omgeving van de dop van de hydraulische tank en verwijder de dop (Figuur 8).
Note: De dop van de brandstoftank is voorzien van een meter die het brandstofpeil aangeeft.

Vul de brandstoftank totdat het peil 6 mm tot 13 mm onder de onderkant van de vulbuis staat.
Note: De ruimte in de tank geeft de brandstof de kans om uit te zetten. De brandstoftanks nooit helemaal vullen.
Draai de tankdop stevig vast.
Neem eventueel gemorste brandstof op.
Voordat u de motor start en de machine in gebruik neemt, moet u het oliepeil in het carter van de motor controleren; zie Het motoroliepeil controleren.
| Onderhoudsinterval | Onderhoudsprocedure |
|---|---|
| Na de eerste 10 bedrijfsuren |
|
Controleer de torsie van de wielmoeren aan het begin en na de eerste 10 uur gebruik.
Indien de correcte torsie niet wordt aangehouden, kan dit leiden tot defecten of verlies van het wiel waardoor lichamelijk letsel kan worden veroorzaakt.
Draai de wielmoeren vast met een torsie van 95 tot 122 N·m.
Voer elke dag voordat u de machine start de procedures uit in het onderdeel Telkens voor gebruik/Dagelijks in Controlelijst voor dagelijks onderhoud.
De eigenaar/bestuurder is verantwoordelijk voor ongevallen die kunnen leiden tot lichamelijk letsel en materiële schade, en hij kan zulke ongevallen voorkomen.
Draag geschikte kleding en uitrusting, zoals oogbescherming, een lange broek, stevige schoenen met een gripvaste zool en gehoorbescherming. Draag lang haar niet los en draag geen losse kleding of sieraden.
Gebruik de machine niet als u ziek, moe of onder de invloed van alcohol, medicijnen of drugs bent.
Geef uw volledige aandacht als u de machine gebruikt. Zorg ervoor dat u met niets anders bezig bent waardoor u kunt worden afgeleid, anders kan er letsel ontstaan of kan eigendom worden beschadigd.
De uitgeblazen lucht heeft een aanzienlijke kracht en waardoor u letsel kunt oplopen of wegglijden. Blijf uit de buurt van het blazermondstuk als de machine in bedrijf is.
Houd alle omstanders uit de buurt; zet de machine uit wanneer omstanders het gebied betreden, richt de afvoeropening niet naar hen.
Gebruik de machine alleen als deze niet aangesloten is op een trekvoertuig.
Gebruik de motor niet en richt de blazer niet op een besloten ruimte zonder adequate ventilatie. De uitlaatgassen van de motor bevatten koolmonoxide, een reukloos gas dat bij inademing dodelijk is.
Vervoer geen passagiers op de machine en houd omstanders en huisdieren weg van de machine terwijl deze wordt gebruikt.
Gebruik de machine uitsluitend bij goede zichtbaarheid zodat u uit de buurt van kuilen en verborgen gevaren kunt blijven.
Kijk achterom en omlaag voordat u achteruitrijdt om er zeker van te zijn dat de weg vrij is.
Wees voorzichtig bij het naderen van blinde hoeken, struiken, bomen, en andere objecten die uw zicht kunnen belemmeren.
Laat de motor nooit lopen in een ruimte waar uitlaatgassen zich kunnen verzamelen.
U mag een machine met draaiende motor nooit onbeheerd achterlaten.
Doe het volgende voordat u de bestuurdersstoel verlaat:
Parkeer de machine op een horizontaal oppervlak.
Stel de parkeerrem van het trekvoertuig in werking.
Zet de motor uit en verwijder het sleuteltje (indien aanwezig).
Wacht totdat alle bewegende onderdelen tot stilstand zijn gekomen.
Als u zich met de machine op de openbare weg begeeft, neem dan de verkeersregels in acht en gebruik bijkomende accessoires die wettelijk verplicht kunnen zijn, zoals verlichting, richtingaanwijzers, tekens 'langzaam rijdend voertuig', etc.
Als de machine abnormaal trilt, moet u deze onmiddellijk stoppen, de motor afzetten, het sleuteltje verwijderen, wachten tot alle onderdelen tot stilstand zijn gekomen en op beschadigingen controleren. Repareer alle schade aan de machine alvorens door te gaan met het werk.
Neem gas terug als u moet rijden op oneffen terrein en vlak langs wegranden, kuilen en andere onverwachte veranderingen in het terrein.
Wees voorzichtig tijdens het draaien en voorkom onveilige manoeuvres om te voorkomen dat de machine kantelt.
Het maaien op hellingen is een belangrijke factor bij ongelukken waarbij de controle over de machine wordt verloren of deze omkantelt. Dit kan ernstig of dodelijk letsel veroorzaken. U bent verantwoordelijk voor een veilig gebruik van de machine op hellingen. Gebruik van de machine op hellingen vereist altijd extra voorzichtigheid.
Bekijk de specificaties van de tractie-eenheid om er zeker van te zijn dat u deze niet gebruikt op te steile hellingen.
Onderzoek de toestand van het werkgebied om te bepalen of de machine veilig kan worden gebruikt op de helling. Gebruik altijd uw gezond verstand en uw beoordelingsvermogen wanneer u dit onderzoek uitvoert.
Neem de onderstaande instructies door voor gebruik van de machine op hellingen. Beoordeel de omstandigheden van het terrein alvorens de machine te gebruiken om na te gaan of u de machine op een bepaalde dag op dit terrein kunt gebruiken. Veranderingen in het terrein kunnen ertoe leiden dat de machine zich anders gedraagt op een helling.
Vermijd starten, stoppen of bochten maken op hellingen. Voorkom dat u plotseling de snelheid of de rijrichting van de machine moet veranderen. Keer traag en geleidelijk om.
Gebruik de machine niet in omstandigheden waarin u niet zeker bent van de tractie, het stuurgedrag of de stabiliteit.
Verwijder of markeer obstakels zoals greppels, putten, geulen, hobbels, stenen en andere verborgen gevaren. In hoog gras zijn obstakels niet altijd zichtbaar. De machine kan omslaan op oneffenheden in het terrein.
Denk eraan dat de machine tractie kan verliezen doordat u bergafwaarts, op nat gras of dwars op een helling maait.
Rij zeer voorzichtig als u de machine gebruikt in de buurt van steile hellingen, greppels, dijken, waterpartijen en andere gevaarlijke punten. De machine kan plotseling omslaan als een wiel over de rand komt, of als de rand instort. Zorg voor een veilige afstand tussen de machine en een gevarenzone.
Draaiende onderdelen kunnen ernstig letsel veroorzaken.
Houd handen en voeten uit de buurt van de machine als de machine in gebruik is.
Houd handen, voeten, haren en kleding uit de buurt van alle bewegende onderdelen om letsel te voorkomen.
Gebruik de machine nooit als de kappen, schermen of afdekplaten zijn verwijderd.
Zorg ervoor dat de bladblazer aan het trekvoertuig is bevestigd voordat u de bladblazer inschakelt.
Zet de chokehendel op AAN voordat u een koude motor start.
Note: Als de motor warm of heet is, hoeft u de choke niet te gebruiken. Zodra de motor start, zet u de chokehendel op UIT.
Draai het contactsleuteltje naar rechts op START om de motor te starten en laat het sleuteltje los als de motor start (Figuur 10).
Note: Als het contact lange tijd in de stand DRAAIEN heeft gestaan, zet het sleuteltje dan eerst naar de stand UIT voordat u probeert te starten.
Important: Stel de startmotor telkens niet langer dan 10 seconden in werking. Als de motor niet wil starten, moet u na elke poging de motor 10 seconden laten afkoelen. Indien u deze instructies niet opvolgt, kan de startmotor doorbranden.

Zodra de motor start, zet u de chokehendel op UIT. Als de motor afslaat of hapert, zet u de chokehendel weer gedurende een paar seconden op AAN. Daarna zet u de gashendel op de gewenste stand. Herhaal dit indien nodig.
Verlaag het motortoerental naar ¾ gas.
Draai het contactsleuteltje van de afstandbediening op UIT.
Draai als u de machine verlaat de sleutel van de motor in de stand UIT en verwijder de sleutel uit de schakelaar (Figuur 10).
Druk op de knop afvoerrichting om de afvoer in de gewenste richting te draaien (Figuur 11).

Important: Breng het blazermondstuk omhoog voordat u de machine verplaatst van het werkterrein. Als u het blazermondstuk tijdens het vervoer omlaag laat staan, kan dit in contact komen met de grond en beschadigd worden.
De meter voor de stand van het mondstuk (Figuur 12) bevindt zich achter de turbinebehuizing, boven de brandstoftank.
Note: De sticker op de meter voor de stand van het mondstuk geeft de stand van het mondstuk aan m.b.t. de grond.

Er is een rode wijze en een groene wijzer (Figuur 12) aan het blazermondstuk bevestigd.
Wanneer de rode wijzer zichtbaar is in de meter voor de stand van het mondstuk, is het blazermondstuk uitgelijnd om rechts van de machine te blazen.
Wanneer de groene wijzer zichtbaar is in de meter voor de stand van het mondstuk, is het blazermondstuk uitgelijnd om links van de machine te blazen.
De wijzer en de meter geven de hoek van het blazermondstuk als volgt aan:
Wanneer de wijzer zich in hetzelfde gekleurde gebied op de sticker bevindt, geeft dit aan dat de opening van het uitwerpkanaal meer evenwijdig met de grond is gepositioneerd.
Wanneer de wijzer zich in het verschillend gekleurde gebied op de sticker bevindt, geeft dit aan dat de opening van het uitwerpkanaal meer naar de grond toe is gepositioneerd.
Oefen in het gebruik van de blazer. Blaas met de wind mee om te voorkomen dat het afval wordt teruggeblazen naar het gebied dat is schoongemaakt.
Laat de motor op volgas lopen wanneer u afval wegblaast op een werkterrein.
Stel de stand van het blazermondstuk zo in dat de luchtstroom onder het afval blaast.
Wees voorzichtig bij het blazen onder nieuwe beplanting, omdat de luchtstroom het gras zou kunnen verstoren.
Parkeer de machine op een stevig, horizontaal oppervlak, zet de motor af, verwijder het sleuteltje, wacht totdat alle bewegende onderdelen tot stilstand zijn gekomen en laat de machine afkoelen voordat u ze afstelt, repareert, schoonmaakt of stalt.
Koppel de machine alleen op een horizontaal oppervlak los van de tractie-eenheid.
Blokkeer altijd de wielen bij het loskoppelen van de machine om te voorkomen dat deze in beweging komt.
Bewaar de machine en het brandstofvat niet op plaatsen waar open vlammen, vonken of waakvlammen (bv. van een boiler of een ander toestel) aanwezig kunnen zijn.
Zorg ervoor dat alle onderdelen van de machine in goede staat verkeren en alle bevestigingselementen stevig vastzitten.
Vervang versleten, beschadigde en ontbrekende stickers.
Controleer voordat u de machine gaat slepen de voorschriften inzake veiligheid bij het slepen van uw gebied of land, alsook of u de veiligheidsvoorschriften van het Department of Transportation (DOT) naleeft.
Zet altijd de motor af en richt het blazermondstuk naar boven voordat u de machine gaat vervoeren.
Sleep uitsluitend met een machine die is voorzien van een trekhaak. Bevestig materiaal dat wordt gesleept, uitsluitend aan het sleeppunt.
Controleer altijd de onderdelen van de trekhaak op slijtage. Sleep de machine niet als onderdelen van de trekhaak beschadigd zijn of ontbreken.
Controleer de bandenspanning op de machine. Pomp de banden wanneer ze koud zijn op tot 2,41 bar. Controleer ook de slijtage van het bandprofiel op de machine.
Bevestig altijd de veiligheidskettingen van de machine op de juiste manier aan het trekvoertuig.
Sleep de machine niet sneller dan 88 km per uur. Sleep wanneer u off-road rijdt niet sneller dan 24 km per uur.
Vermijd plotseling stoppen en starten. Hierdoor kunt u gaan slippen of scharen. Soepel en geleidelijk starten en stoppen is beter tijdens het slepen.
Vermijd scherpe bochten om omkantelen te voorkomen.
Blokkeer de wielen altijd wanneer u de blazer parkeert.
Wees voorzichtig als u de machine inlaadt op een aanhanger of een vrachtwagen of uitlaadt.
Gebruik een hellingbaan van volledige breedte bij het laden van de machine op een aanhanger of vrachtwagen.
Zet de machine goed vast met spanbanden, kettingen, kabels of touwen. Zowel de voorste als de achterste spanband moet naar beneden en naar de buitenkant van de machine lopen.
Controleer de kogel op de trekhaak van het trekvoertuig en de koppeling van de machine op tekenen van slijtage of schade. Vervang versleten of beschadigde onderdelen voordat u de machine gaat slepen.
De koppeling van de machine is 5,1 cm. De kogel op de trekhaak van het trekvoertuig moet een diameter van 5,1 cm hebben. Het gebruik van een kogel met een andere diameter kan een extreem gevaarlijke situatie veroorzaken die kan leiden tot het loskomen van de koppeling en de kogel.
Is de sleepstang aangekoppeld op de machine, bevestig de koppeling van de machine dan aan de trekhaak van het trekvoertuig en zorg dat de borghendel in de gesloten stand staat.
De veiligheidsketting is ervoor bedoeld om te voorkomen dat de machine volledig loskomt van het sleepvoertuig als de trekbalk zou afbreken of loslaten.
Als er geen veiligheidsketting op de machine zit, mag u de machine niet slepen.
Note: Bepaal vanuit de normale bedieningspositie de linker- en rechterzijde van de machine.
Note: Download het elektrische of hydraulische schema gratis op www.Toro.com; u kunt uw machine zoeken via de link Handleidingen op de hoofdpagina.
Important: Raadpleeg de gebruikershandleiding van de motor voor verdere onderhoudsprocedures.
Doe het volgende wanneer u de machine schoonmaakt, afstelt of er onderhoudswerkzaamheden aan verricht:
Parkeer de machine op een horizontaal oppervlak.
Zet de motor af, verwijder het sleuteltje, koppel de bougiekabel af en wacht totdat alle bewegende onderdelen tot stilstand zijn gekomen.
Blokkeer de wielen.
De machine verwijderen van de tractie-eenheid.
Laat de onderdelen van de machine afkoelen voordat u onderhoudswerkzaamheden uitvoert.
Verricht onderhoudswerkzaamheden uitsluitend volgens de instructies in deze handleiding. Indien belangrijke reparaties nodig zijn of als u hulp nodig hebt, moet u contact opnemen met een erkende Toro distributeur.
Ondersteun de machine met blokken of kriksteunen als u eronder moet werken.
Zorg ervoor dat alle veiligheidsschermen goed zijn bevestigd nadat u onderhoud hebt verricht aan de machine of nadat u deze hebt afgesteld.
Laat personeel dat niet bekend is met de instructies nooit onderhoudswerkzaamheden aan de machine uitvoeren.
Plaats de machine of onderdelen ervan op assteunen indien dit nodig is.
Haal voorzichtig de druk van onderdelen met opgeslagen energie.
Laad de accu’s niet op terwijl u onderhoud uitvoert aan de machine.
Om het risico op brand te verminderen, moet u de omgeving van de motor vrij houden van overtollig vet, gras, bladeren en aangekoekt vuil.
Voer indien mogelijk geen onderhoudswerkzaamheden uit als de motor draait. Blijf uit de buurt van bewegende onderdelen.
Als u de motor moet laten lopen om onderhouds- of afstelwerkzaamheden uit te voeren, moet u uw kleding, handen, voeten en andere lichaamsdelen uit de buurt van de motor en bewegende delen houden. Hou omstanders uit de buurt van de machine.
Veeg gemorste olie en brandstof op.
Zorg ervoor dat alle onderdelen in goede staat verkeren en al het bevestigingsmateriaal stevig vastzit. Vervang alle beschadigde of ontbrekende stickers.
Voer geen handelingen uit die van invloed zijn op de bedoelde werking van een veiligheidsvoorziening of die de bescherming waarin de veiligheidsvoorziening voorziet verminderen. Controleer de goede werking ervan regelmatig.
Voorkom dat de motor het maximaal toelaatbare toerental overschrijdt, doordat de instellingen van de motor zijn veranderd. Ten behoeve van de veiligheid en een nauwkeurige afstelling moet u het maximale motortoerental door een erkende Toro distributeur laten controleren met een toerenteller.
Indien grote reparaties nodig zijn of hulp is vereist, moet u contact opnemen met een erkende Toro distributeur.
Elke verandering aan deze machine kan gevolgen hebben voor de werking, prestaties of levensduur van de machine, en kan letsel of de dood veroorzaken. Dergelijke veranderingen kunnen ertoe leiden dat de garantie op het product van The Toro Company komt te vervallen.
| Onderhoudsinterval | Onderhoudsprocedure |
|---|---|
| Na de eerste 8 bedrijfsuren |
|
| Na de eerste 10 bedrijfsuren |
|
| Bij elk gebruik of dagelijks |
|
| Om de 25 bedrijfsuren |
|
| Om de 50 bedrijfsuren |
|
| Om de 100 bedrijfsuren |
|
| Om de 200 bedrijfsuren |
|
| Om de 500 bedrijfsuren |
|
Gelieve deze pagina te kopiëren ten behoeve van gebruik bij routinecontroles.
| Gecontroleerde item | Voor week van: | ||||||
|---|---|---|---|---|---|---|---|
| Ma. | Di. | Wo. | Do. | Vr. | Za. | Zo. | |
| Werking van instrumenten controleren | |||||||
| Brandstofpeil controleren. | |||||||
| Motoroliepeil controleren. | |||||||
| De koelribben van de motor controleren. | |||||||
| Luchtfilter controleren. | |||||||
| Controleren of motor ongewone geluiden maakt. | |||||||
| Controleren op lekkages. | |||||||
| De bandenspanning controleren. | |||||||
| Controleer het draaimoment van de bevestigingsklem van het blazermondstuk. | |||||||
| Beschadigde lak bijwerken. | |||||||
| Aantekening voor speciale aandachtsgebieden | ||
| Controle uitgevoerd door: | ||
| Item | Datum | Informatie |
Als u de machine niet goed onderhoudt kunnen systemen van de machine voortijdig defect raken en u of omstanders mogelijk letsel toebrengen.
U moet de machine goed onderhouden en in goede staat houden volgens deze instructies.
Als u het sleuteltje in het contact laat, bestaat de kans dat iemand de motor per ongeluk start, waardoor u en omstanders ernstig letsel kunnen oplopen.
Haal het sleuteltje uit het contact en maak de bougiekabels los voordat u onderhoudswerkzaamheden uitvoert aan de machine. Druk de kabels opzij, zodat deze niet onbedoeld contact kunnen maken met de bougies.
Parkeer de machine op een horizontaal oppervlak.
Zet de motor af, verwijder het contactsleuteltje en wacht totdat alle bewegende onderdelen tot stilstand zijn gekomen.
Blokkeer de wielen.
De machine verwijderen van de tractie-eenheid.
Laat de onderdelen van de machine afkoelen voordat u onderhoudswerkzaamheden uitvoert.
Koppel de bougiekabel af.
Important: Als u de accu niet afkoppelt, kan dat permanente schade aan het elektrische systeem veroorzaken.
Koppel de minkabel los van de accu voordat u gaat lassen op de machine.
Sluit de minkabel van de accu terug aan als u klaar bent met lassen op de machine.
U moet de motor afzetten voordat u het oliepeil controleert of het carter bijvult met olie.
Verander nooit de stand van de toerenregelaar van de motor en laat de motor niet te snel draaien.
| Onderhoudsinterval | Onderhoudsprocedure |
|---|---|
| Om de 25 bedrijfsuren |
|
| Om de 100 bedrijfsuren |
|
Controleer de luchtfilterbehuizing op beschadigingen die een luchtlek zouden kunnen veroorzaken. Controleer of het deksel van de luchtfilterbehuizing helemaal afsluit (Figuur 13).
Note: Beschadigde luchtfilterdeksels of -behuizingen moet u vervangen.

Open de sluitingen waarmee het deksel van het luchtfilter is bevestigd aan de luchtfilterbehuizing (Figuur 13).
Maak het luchtfilterdeksel los van de luchtfilterbehuizing, en reinig de binnenkant van het deksel (Figuur 13).
Schuif het luchtfilterelement voorzichtig uit de luchtfilterbehuizing.
Note: Om te voorkomen dat er veel stof vrijkomt, mag u het filter niet tegen de luchtfilterbehuizing slaan.
Controleer het luchtfilterelement.
Als het luchtfilterelement schoon is, monteert u het filterelement; zie Het luchtfilter monteren.
Als het luchtfilterelement beschadigd is, vervang dan het filterelement; zie Luchtfilter vervangen.
Verwijder het luchtfilterelement; zie Onderhoud van het luchtfilter.
Controleer of het nieuwe filter niet is beschadigd door het transport ervan.
Note: Controleer het uiteinde van het filter dat moet aansluiten.
Important: Een beschadigde filter mag niet worden gemonteerd.
Monteer het nieuwe luchtfilter; zie Het luchtfilter monteren.
Important: Om schade aan de motor te voorkomen, mag u de motor nooit laten lopen zonder dat het complete luchtfilter is gemonteerd.
Important: Een beschadigd element mag niet worden gebruikt.
Note: Het wordt afgeraden het gebruikte luchtfilterelement te reinigen omdat dit kan leiden tot beschadiging van de filtermedia.
Reinig de opening van de vuiluitlaat op het deksel van het luchtfilter.
Verwijder de rubberen uitlaatklep van het deksel, maak de holte schoon en plaats de klep terug.
Steek het luchtfilterelement in de luchtfilterbehuizing (Figuur 13).
Note: Zorg ervoor dat het filter op de juiste wijze is afgesloten door de buitenring van het filter aan te drukken als u het filter monteert. Druk niet op het flexibele midden van het filter.
Lijn het deksel van het luchtfilter uit met de luchtfilterbehuizing (Figuur 13).
Bevestig het deksel met de vergrendelingen aan de behuizing (Figuur 13).
| Onderhoudsinterval | Onderhoudsprocedure |
|---|---|
| Om de 200 bedrijfsuren |
|
Zet de motor af, verwijder het contactsleuteltje en wacht totdat alle bewegende onderdelen tot stilstand zijn gekomen voordat u de bestuurderspositie verlaat.
Verwijder het luchtfilter van de koolstofhouder en gooi het weg (Figuur 14).

Monteer het nieuwe luchtfilter.
| Onderhoudsinterval | Onderhoudsprocedure |
|---|---|
| Om de 200 bedrijfsuren |
|
Note: Controleer regelmatig of het filter van de purgeerlijn vuil is. Vervang het filter als het vuil is.
Zet de motor af, verwijder het contactsleuteltje en wacht totdat alle bewegende onderdelen tot stilstand zijn gekomen voordat u de bestuurderspositie verlaat.
De verende slangklemmen aan beide zijden van het purgeerlijnfilter van de koolstofhouder wegnemen van het filter (Figuur 15).

Verwijder het koolstoffilter en gooi het weg (Figuur 15).
Monteer een nieuw filter op de slang. De pijl op het filter moet naar de afsluitklep wijzen. Bevestig met de slangklemmen (Figuur 15).
Note: Ververs de olie vaker als de machine in zeer stoffige of zanderige omstandigheden wordt gebruikt.
Type olie: Reinigingsolie (API-klasse SG, SH, SJ of hoger)
Carterinhoud (met filter): 2 l
Viscositeit: zie onderstaande tabel.

| Onderhoudsinterval | Onderhoudsprocedure |
|---|---|
| Bij elk gebruik of dagelijks |
|
Note: De beste tijd om de motorolie te controleren is wanneer de motor koud is voordat deze is gestart voor de dag. Als hij al heeft gedraaid, moet u de olie eerst terug laten lopen gedurende tenminste 10 minuten voordat u controleert. Als het oliepeil op of onder de BIJVULLEN-markering op de peilstok staat, vul dan olie bij om het oliepeil bij de VOL-markering te brengen. Niet te vol vullen. Als het oliepeil tussen de VOL- en de BIJVULLEN-markering ligt, hoeft geen olie te worden bijgevuld.
Parkeer de machine op een horizontaal oppervlak.
Zet de motor af, verwijder het contactsleuteltje en wacht totdat alle bewegende onderdelen tot stilstand zijn gekomen voordat u de bestuurderspositie verlaat.
Maak de omgeving van de peilstok (Figuur 17) schoon, zodat er geen vuil in de vulopening kan komen, wat in motorschade kan resulteren.

Verwijder de peilstok en veeg het uiteinde schoon (Figuur 17).
Schuif de peilstok helemaal in de vulbuis, maar draai hem niet vast in de buis (Figuur 17).
Trek de peilstok uit en controleer het oliepeil op het metalen deel. Als het oliepeil laag is, giet u langzaam voldoende olie in de vulbuis totdat het oliepeil de VOL-markering bereikt.
Important: Niet te veel olie bijvullen en dan de motor laten draaien. Dat kan leiden tot beschadiging van de motor.
| Onderhoudsinterval | Onderhoudsprocedure |
|---|---|
| Om de 100 bedrijfsuren |
|
Start de motor en laat deze 5 minuten lopen. Warme olie kan beter worden afgetapt.
Parkeer de machine zo dat de aftapkant iets lager staat dan de andere kant zodat alle olie kan weglopen.
Zet de motor af, verwijder het contactsleuteltje en wacht totdat alle bewegende onderdelen tot stilstand zijn gekomen voordat u de bestuurderspositie verlaat.
Plaats een opvangbak onder de aftapplug. Draai aan de aftapplug om de olie in de bak te laten lopen (Figuur 18).
Note: Een slang kan worden geplaatst op de aftapplug om de oliestroom te richten. De slang wordt niet bij de machine geleverd.
Als alle olie is weggelopen, draait u de aftapplug dicht.
Note: Geef de afgewerkte olie af bij een inzamelcentrum.

Giet ca. 80% van de gespecificeerde hoeveelheid olie langzaam in de vulbuis (Figuur 17).
Controleer het oliepeil; zie Het motoroliepeil controleren.
Giet langzaam vloeistof bij totdat het peil de VOL-markering bereikt.
| Onderhoudsinterval | Onderhoudsprocedure |
|---|---|
| Om de 200 bedrijfsuren |
|
Note: Vervang het oliefilter vaker als de machine wordt gebruikt in zeer stoffige of zanderige omstandigheden.
Laat de olie uit de motor lopen; raadpleeg Olie verversen.
Verwijder het oude filter en veeg de pakking van de filtertussenstuk (Figuur 19) schoon.

Smeer een dun laagje schone olie op de rubberen pakking van het nieuwe filter (Figuur 19).
Plaats het nieuwe filter op het filtertussenstuk, draai het oliefilter rechtsom totdat de rubberen pakking contact maakt met het filtertussenstuk. Draai het filter vervolgens nog een extra ⅔ tot 1 slag vast (Figuur 19).
Vul het carter met het juiste type nieuwe olie; zie Motoroliepeil controleren.
Laat de motor ongeveer drie minuten draaien, zet de motor af en controleer op olielekken rond het oliefilter.
Controleer nogmaals het oliepeil en vul indien nodig olie bij.
Zorg ervoor dat de elektrodenafstand tussen de centrale elektrode en de massa-elektrode correct is voordat u de bougies monteert. Gebruik een bougiesleutel voor het (de)monteren van de bougies en een voelermaat voor het meten en afstellen van de elektrodenafstand. Monteer indien nodig nieuwe bougies.
Type: Champion® RC12YC, Champion® Platinum 3071 of een equivalent type.
Elektrodenafstand: 0,76 mm
| Onderhoudsinterval | Onderhoudsprocedure |
|---|---|
| Om de 200 bedrijfsuren |
|
Bekijk de binnenkant van de bougies (Figuur 20). Als de isolator lichtbruin of grijs is, werkt de motor naar behoren. Een zwarte laag op de isolator duidt meestal op een vuil luchtfilter.

Important: Bougies altijd vervangen bij een zwarte laag op de bougie, versleten elektroden, een vettige laag op de bougie of scheuren.
Controleer de afstand tussen de centrale elektrode en de massa-elektrode (Figuur 20). Verbuig de massa-elektrode (Figuur 20) om de juiste afstand in te stellen indien dit nodig is.
Zet de motor af, verwijder het contactsleuteltje en wacht totdat alle bewegende onderdelen tot stilstand zijn gekomen voordat u de bestuurderspositie verlaat.
Maak de bougiekabels los van de bougies (Figuur 21).

Maak de omgeving van de bougie schoon om te voorkomen dat er vuil in de motor komt, wat beschadiging kan veroorzaken.
Verwijder de bougies en de metalen pakkingringen.
Monteer de bougies en de metalen ring. Controleer of de elektrodenafstand correct is.
Haal de bougies aan met 24,4 tot 29,8 N·m.
Sluit de bougiekabels aan op de bougies (Figuur 20).
| Onderhoudsinterval | Onderhoudsprocedure |
|---|---|
| Bij elk gebruik of dagelijks |
|
Vóór elk gebruik moet u het motorscherm en de oliekoeler controleren en reinigen. Verwijder aangekoekt gras en vuil van het scherm van de oliekoeler en het motorscherm (Figuur 22).

| Onderhoudsinterval | Onderhoudsprocedure |
|---|---|
| Om de 500 bedrijfsuren |
|
Na verwijdering mag u nooit een vuil filter opnieuw aan de brandstofslang monteren.
Zet de motor af, verwijder het contactsleuteltje en wacht totdat alle bewegende onderdelen tot stilstand zijn gekomen voordat u de bestuurderspositie verlaat.
Laat de motor afkoelen.
Druk de uiteinden van de slangklemmen naar elkaar toe en schuif ze weg van het filter (Figuur 23).

Trek het filter uit de brandstofslangen.
Monteer een nieuw filter en schuif de slangklemmen terug tot dicht bij het filter (Figuur 23).
In bepaalde omstandigheden is brandstof uiterst ontvlambaar en zeer explosief. Brand of explosie van brandstof kan brandwonden bij u of anderen en materiële schade veroorzaken.
Tap de brandstof af uit de brandstoftank wanneer de motor koud is. Doe dit buiten op een open terrein. Eventueel gemorste brandstof opnemen.
Rook nooit als u benzine aftapt en blijf uit de buurt van open vuur of als de kans bestaat dat benzinedampen door een vonk kunnen ontbranden.
Parkeer de machine op een horizontaal oppervlak zodat alle benzine kan weglopen uit de brandstoftanks.
Zet de motor af, verwijder het contactsleuteltje en wacht totdat alle bewegende onderdelen tot stilstand zijn gekomen voordat u de bestuurderspositie verlaat.
Maak de slangklem op het brandstoffilter los en schuif deze over de brandstofslang weg van het brandstoffilter (Figuur 23).
Ontkoppel de brandstofslang van het brandstoffilter (Figuur 23).
Note: Laat de brandstof in een brandstofblik of opvangbak lopen (Figuur 23).
Note: Omdat de tank leeg is, is dit een uitstekend moment om het brandstoffilter te vervangen.
Plaats de brandstofslang op het filter. Schuif de slangklem dicht op het filter om de brandstofslang vast te zetten (Figuur 23).
Important: Voordat er laswerkzaamheden worden verricht aan de machine, moet u de accupoolconnector losmaken van de wisselstroomdynamo om schade aan het elektrische systeem te voorkomen.
Koppel de accu af voordat u reparaties aan de machine verricht. Maak eerst de minpool van de accu los en daarna de pluspool. Bevestig eerst de pluspool van de accu en daarna de minpool.
Laad de accu op in een open, goed geventileerde ruimte, uit de buurt van vonken en open vuur. Haal de oplader uit het stopcontact voordat u de accu aan- of loskoppelt. Draag beschermende kleding en gebruik geïsoleerd gereedschap.
| Onderhoudsinterval | Onderhoudsprocedure |
|---|---|
| Om de 100 bedrijfsuren |
|
Controleer de bandenspanning regelmatig (juiste bandenspanning bedraagt 0,97 bar). Als de banden niet op de juiste spanning zijn, slijten deze vroegtijdig.
Na een ongeluk kan er een band of velg beschadigd zijn, controleer de banden daarom na een ongeluk.
De DOT-code bevindt zich aan de zijkant van elke band. Deze code biedt informatie over het draagvermogen en de snelheidsindex. Vervangingsbanden dienden hetzelfde of een beter draagvermogen en dezelfde of een betere snelheidsindex te hebben.
toont een voorbeeld van slijtage aan een band veroorzaakt door een te lage bandenspanning.

toont een voorbeeld van slijtage aan een band veroorzaakt door een te hoge bandenspanning.

| Onderhoudsinterval | Onderhoudsprocedure |
|---|---|
| Na de eerste 8 bedrijfsuren |
|
| Om de 50 bedrijfsuren |
|
Als de riem wegglijdt bij het veranderen van de richting van de afvoer, moet de riem anders worden ingesteld.
Draai de bouten los die de bevestigingsbeugel aan het frame van de blazer bevestigen (Figuur 28).
Steek een momentsleutel in de montagebeugel van de poelie zoals getoond in Figuur 28.
Gebruik de greep van de sleutel om de montagebeugel van de poelie weg te draaien van de afvoer, zodat de riem gespannen staat en de momentsleutel 22,6 tot 26,0 N⋅m aangeeft.
Zorg dat de riem de juiste spanning aanhoudt en zet de bevestigingsbouten vast.

| Onderhoudsinterval | Onderhoudsprocedure |
|---|---|
| Bij elk gebruik of dagelijks |
|
Controleer de afvoerklem (Figuur 29) dagelijks om te controleren of deze goed vastzit. Als de afvoer over obstakels of door lage stukken in het terrein wordt getrokken, kan deze losraken van de klem. Draai de klemsluitingen vast met een torsie van 5,1 tot 5,7 N⋅m.

Zoek resten van gras, vuil en afval rond en tussen de geleiders van het mondstuk en verwijder ze (Figuur 30). Als u de afvoergeleiders voor de riemen of rollen niet schoonhoudt, kan het zijn dat het mondstuk niet vrij ronddraait en kan de motor stilvallen.

Important: Gebruik geen brak of teruggewonnen water om de machine schoon te maken.
Important: Was de machine nooit met een hogedrukreiniger.
Was de machine met een mild reinigingsmiddel en water.
Gebruik niet te veel water, zeker niet in de buurt van het bedieningspaneel.
Motorolie, motor en batterijen van de afstandsbediening zijn milieuvervuilend. Verwijder deze stoffen volgens de plaatselijke voorschriften.
Zet de machine uit, verwijder het contactsleuteltje (indien aanwezig) en wacht totdat alle bewegende onderdelen tot stilstand zijn gekomen voordat u de bestuurderspositie verlaat. Laat de machine afkoelen voordat u er instellingen of onderhoud aan verricht, of de machine schoonmaakt of stalt.
Parkeer de machine op een horizontaal oppervlak, zet de motor af, verwijder het sleuteltje uit het contact, wacht tot alle onderdelen tot stilstand zijn gekomen en verwijder de bougie.
Maaisel, vuil en vet van de buitenkant van de gehele machine verwijderen, met name van de motor. Verwijder vuil en kaf van buitenkant van de cilinder, de koelribben van de cilinderkop en de ventilatorbehuizing.
Important: U kunt het voertuig met een mild reinigingsmiddel en water wassen. Was de machine nooit met een hogedrukreiniger. Vermijd het gebruik van teveel water.
Geef het luchtfilter een onderhoudsbeurt; zie Onderhoud van het luchtfilter.
Ververs de olie in het carter; zie Olie verversen.
Controleer de bandenspanning; zie Bandenspanning controleren.
Wanneer de machine langer dan 30 dagen niet wordt gebruikt, moet deze worden voorbereid op stalling. De machine wordt als volgt voorbereid op stalling:
Voeg een stabilisator/conditioner op aardoliebasis toe aan de brandstof in de tank. Volg de mengvoorschriften van de fabrikant van de stabilisator op. Gebruik geen stabilisator op alcoholbasis (ethanol of methanol).
Note: Stabilizer/conditioner werkt het best als het met verse brandstof wordt gemengd en altijd wordt gebruikt.
Laat de motor vijf minuten lopen om de stabilizer/conditioner door het brandstofsysteem te verspreiden.
Zet de motor af, laat hem afkoelen en laat de brandstoftank leeglopen; zie Onderhoud van de brandstoftank.
Motor opnieuw starten en laten lopen totdat deze afslaat.
Choke de motor. Start de motor en laat deze lopen totdat de motor niet meer start.
U moet brandstof op de juiste wijze afvoeren. Recycle volgens de plaatselijk geldende voorschriften.
Important: Bewaar brandstof die stabilisator/conditioner bevat niet langer dan aanbevolen door de fabrikant van de stabilisator.
Verwijder de bougie(s) en controleer haar (hun) toestand; zie Onderhoud van de bougies. Nadat de bougie(s) uit de motor is (zijn) verwijderd, giet u 2 eetlepels motorolie in de bougie-opening. Gebruik de startmotor om de motor te laten draaien en zo de olie over de cilinderwand te verspreiden. Monteer de bougie(s). De bougiekabel niet op de bougie(s) drukken.
Controleer alle bevestigingen en zet ze vast. Repareer of vervang versleten of ontbrekende delen.
Werk alle krassen en beschadigingen van de lak bij. Bijwerklak is verkrijgbaar bij uw erkende Toro distributeur.
Stal de machine in een schone, droge garage of opslagruimte. Verwijder het sleuteltje uit het contact en bewaar dit buiten bereik van kinderen of onbevoegde personen. Dek de machine af om deze te beschermen en schoon te houden.