Технічне обслуговування
Note: Визначте ліву та праву сторони машини зі стандартного робочого положення.
Доступ до косильного блока
Для отримання доступу до протиножа й барабана для проведення технічного обслуговування виконайте такі дії:
Перевірка точки змащення приводного вала барабана
| Періодичність робіт з технічного обслуговування | Процес технічного обслуговування |
|---|---|
| Щороку |
|
-
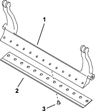
Зніміть кріплення вузла приводу барабана до бічної пластини (Рисунок 13).

-
Зніміть гайки з внутрішньої сторони бічної пластини (Рисунок 13).
-
Перевірте наявність мастила на внутрішній частини приводного вала барабана (Рисунок 14).
Якщо мастила недостатньо, додайте його як на зовнішні, так і на внутрішні шліци вала.

-
Прикріпіть вузол приводу барабана до бічної пластини за допомогою раніше знятих гайок та гвинтів із внутрішнім шестигранником.
-
Встановіть косильний блок на тяговий агрегат; див. посібник оператора вашої газонокосарки.
Регулювання натягу приводного ременя барабана
| Періодичність робіт з технічного обслуговування | Процес технічного обслуговування |
|---|---|
| Щороку |
|
-
Зніміть кришку з корпусу вузла приводу барабана, відкрутивши 4 гвинти, що утримують її на місці.
-
Послабте болт натяжного важеля і поверніть натяжний важіль, щоб зменшити натяг ременя.
-
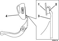
Використовуйте динамометричний ключ з індикаторною стрілкою для затягування верхнього гвинта (з внутрішнім шестигранником) натяжного важеля (Рисунок 15) з моментом 6–7 Н∙м (55–60 дюйм-фунт).

-
Зафіксуйте положення натяжного важеля, затягнувши болт натяжного важеля.
-
Встановіть кришку за допомогою 4 відповідних гвинтів.
Регулювання темпу косіння
Темп косіння визначається такими налаштуваннями машини:
-
Швидкість обертання барабана. Для швидкості обертання барабана можна встановити високе або низьке значення; див. посібник оператора вашої газонокосарки.
-
Положення шківа приводу барабана. Шківи приводу барабана (з 22 та 24 зубцями) можна встановити у два різні положення:
Note: Пристрій постачається із заводу зі шківом у нижньому положенні.

Для зміни положення шківів виконайте такі дії:
-
Зніміть кришку ременя, щоб отримати доступ до ременя (Рисунок 17).

-
Послабте болт натяжного важеля і поверніть натяжний важіль (Рисунок 17), щоб зменшити натяг ременя.
-
Зніміть ремінь (Рисунок 17).
-
Відкрутіть гайку на кожному шківі, зніміть шківи та встановіть їх у бажане положення, використавши зняті гайки.

-
Затягніть гайки шківів із моментом 37–45 Н∙м (27–33 фунт-сила-фут).
-
Встановіть ремінь та натягніть його, приклавши момент 6–7 Н∙м (55–60 дюйм-фунт) до внутрішнього шестигранника важеля холостого ходу, Рисунок 17.
-
Затягніть болт натяжного важеля та встановіть кришку ременя.
Технічні характеристики протиножа
Обслуговування протиножа
Щоб уникнути пошкодження барабана, опорної планки або протиножа, їх обслуговування має виконувати лише кваліфікований механік. Найкращий варіант — надіслати косильний блок для обслуговування до авторизованого дистриб’ютора «Toro». Вичерпні інструкції, дані про спеціальні інструменти та схеми для обслуговування протиножа наведені в посібнику з обслуговування вашого тягового агрегату (газонокосарки). Якщо колись виникне необхідність зняти або встановити опорну планку з протиножем самостійно, дотримуйтесь наведених нижче інструкцій та технічних вимог.
Important: Завжди суворо дотримуйтесь процедур з обслуговування протиножа, визначених у вашому посібнику з обслуговування. Неправильне встановлення або заточування протиножа може призвести до пошкодження барабана, опорної планки або самого протиножа.
Зняття вузла опорної планки з протиножем
-
Поверніть регулювальний гвинт опорної планки проти годинникової стрілки, щоб відвести протиніж від барабана (Рисунок 19).

-
Відкручуйте гайку притискання пружини, поки шайба не перестане притискатися до опорної планки (Рисунок 19).
-
Відпустіть затискну гайку з кожного боку машини, див. Рисунок 20

-
Зніміть усі болти опорної планки, після чого опорну планку можна потягнути вниз і зняти з косильного блока (Рисунок 20).
Не забудьте зняти дві пластикові та одну сталеву шайбу з кожного боку опорної планки (Рисунок 20).
-
Зніміть протиніж з опорної планки, відкрутивши всі гвинти, що утримують його на місці. Використовуйте торцевий ключ разом з інструментом для гвинтів протиножа (арт. № TOR510880).
Note: Для відкручування гвинтів опорної планки можна використати механічний або пневматичний ударний гайковерт.
Note: Утилізуйте старий протиніж та гвинти.
Встановлення нового протиножа
-
Виберіть новий протиніж відповідно до Таблиці налаштувань висоти скошування та вибору типу протиножа.
-
Видаліть іржу, окалину та корозію з поверхні опорної планки та нанесіть на неї тонкий шар оливи.
Important: Не видаляйте з опорної планки матеріал литої основи. Опорна планка має ввігнуту середину; це — особливість конструкції, не шліфуйте опорну планку.
-
Очистьте різьбові отвори в опорній планці.
-
Нанесіть антизадирну пасту на нові гвинти опорної планки та встановіть протиніж на опорну планку.
Important: Використовуйте тільки нові гвинти протиножа.
Note: Кількість гвинтів залежить від типу опорної планки.

-
Затягніть 2 зовнішні гвинти з моментом 1 Н∙м (10 дюйм-фунт).
-
Починаючи із центра протиножа, затягніть гвинти в показаній нижче послідовності з моментом 25,9 ± 1,4 Н∙м (19 ± 1 фут-фунт).
Important: Не затягуйте гвинти протиножа механічним або пневматичним ударним гайковертом.

-
Заточіть новий протиніж; див. Параметри заточки протиножа.
Параметри заточки протиножа

| Задній (верхній) кут протиножа | Див. Таблиці налаштувань висоти скошування та вибору типу протиножа |
| Діапазон переднього кута | від 13 ° до 17 ° |
| Передній кут протиножа Fairway | 10 ° |
Перевірка верхнього кута заточки
Кут заточки протиножів є надзвичайно важливим.
Використовуйте індикатор кута (арт. № 131-6828) і тримач індикатора кута (арт. № 131-6829) для перевірки кута, який створює ваш заточувальний верстат; скоригуйте кут за наявності відхилень.
-
Розмістіть індикатор кута на нижній стороні протиножа, як показано на Рисунок 24.

-
Натисніть кнопку «Alt Zero» на індикаторі кута.
-
Розмістіть тримач індикатора кута на крайці протиножа так, щоб край магніту збігався з крайкою протиножа (Рисунок 25).
Note: Під час виконання цього кроку цифровий дисплей має бути спрямований у той же бік, що й на кроці 1.

-
Розмістіть індикатор кута на тримачі, як показано на Рисунок 25.
Note: Це кут, який створює ваш заточувальний верстат; цей кут має бути в межах 2 градусів від рекомендованого значення верхнього кута заточки.
Встановлення вузла опорної планки з протиножем
-
Встановіть вузол опорної планки з протиножем, розташувавши монтажні вушка між шайбами та регулювальним гвинтом опорної планки (Рисунок 26).
Important: Розмістіть регулювальні механізми DPA по центру у вушках опорної планки, як показано на Рисунок 26.Якщо регулювальні механізми DPA прилягають до вушок опорної планки, це може негативно вплинути на контакт між протиножем і барабаном.

-
Прикріпіть опорну планку до кожної бічної пластини болтами опорної планки (з гайками) з використанням 3 шайб (всього 6 шт.).
-
Розмістіть по одній нейлоновій шайбі з кожного боку виступу на бічній пластині. Помістіть сталеву шайбу поверх кожної з нейлонових шайб (Рисунок 27).
-
Затягніть болти опорної планки з моментом 27–36 Н∙м (20–27 фут-фунт).
-
Затягуйте затискні гайки, поки не буде усунений осьовий люфт сталевих шайб, але водночас їх можна буде обертати вручну. Шайби зсередини можуть мати зазор.
Important: Не затягуйте затискні гайки з надмірним зусиллям, інакше вони відхилятимуть бічні пластини.
-
Затягніть гайку притискання пружини до повного стиснення пружини, а потім відкрутіть гайку на 1/2 оберту (Рисунок 27).

-
Відрегулюйте положення протиножа відносно барабана; див. розділ Регулювання контакту протиножа з барабаном.
Характеристики барабана
Підготовка барабана до заточування
-
Перед заточуванням переконайтесь, що всі компоненти косильного блока знаходяться в справному стані, та усуньте будь-які можливі несправності.
-
Дотримуйтесь інструкцій виробника заточувального (шліфувального) верстата, щоб досягти наведених нижче характеристик різального барабана.
Характеристики заточки барабана Діаметр нового барабана 128,5 мм (5,06 дюйма) Граничний допустимий діаметр барабана 114,3 мм (4,50 дюйма) Задній кут ножа 30 ° ± 5 ° Діапазон ширини різальної крайки ножа 0,8–1,2 мм (0,03–0,05 дюйма) Максимально допустима конусність діаметра барабана 0,25 мм (0,010 дюйма)
Затиловочне шліфування
Ширина різальної крайки ножа нового барабана становить від 0,8 до 1,2 мм (від 0,03 до 0,05 дюйма), а задній кут — 30 °.
Якщо ширина різальної крайки перевищує 3 мм (0,120 дюйма), виконайте такі дії:
-
Виконайте затиловочне шліфування з кутом 30 ° всіх ножів барабана так, щоб ширина різальної крайки становила 0,8 мм (0,03 дюйма)

-
Виконайте обертальне шліфування барабана так, щоб його биття становило менш ніж 0,025 мм (0,001 дюйма).
Note: Це призведе до незначного збільшення ширини різальної крайки.
-
Відрегулюйте косильний блок; див. Посібник оператора вашого косильного блока.
Note: Щоб після заточування барабана та/або протиножа їхні крайки залишалися гострими якомога довше, повторно перевірте контакт між барабаном і протиножем після скошування трави на 2 зонах ґріну, коли зникнуть можливі задирки. Задирки можуть створювати неправильний зазор між барабаном і протиножем, що може прискорювати знос.
Зворотне притирання косильного блока
Зворотне притирання косильного блока виконується за допомогою комплекту для притирання (арт. № 139-4342); див. інструкцій зі встановлення і порядок використання комплекту. Зверніться до авторизованого дистриб’ютора «Toro» щодо придбання цього комплекту.


, який
вказує на інструкції
з особистої безпеки
категорій Обережно,
Увага або Небезпечно.
Невиконання даних
інструкцій може
призвести до травмування
або смерті.











