| Périodicité d'entretien | Procédure d'entretien |
|---|---|
| À chaque utilisation ou une fois par jour |
|
Cette machine est une tondeuse autoportée à lames rotatives prévue pour les utilisateurs professionnels employés à des applications professionnelles. Elle est principalement conçue pour tondre les pelouses entretenues régulièrement dans les parcs, les terrains de sports et les espaces verts commerciaux. L'utilisation de ce produit à d'autres fins que celle prévue peut être dangereuse pour vous-même et toute personne à proximité.
Lisez attentivement cette notice pour apprendre comment utiliser et entretenir correctement votre produit, et éviter ainsi de l'endommager ou de vous blesser. Vous êtes responsable de l'utilisation sûre et correcte du produit.
Rendez-vous sur www.Toro.com pour tout document de formation à la sécurité et à l'utilisation des produits, pour tout renseignement concernant un produit ou un accessoire, pour obtenir l'adresse des concessionnaires ou pour enregistrer votre produit.
Pour obtenir des prestations de service, des pièces d'origine Toro ou des renseignements complémentaires, munissez-vous des numéros de modèle et de série du produit et contactez un concessionnaire-réparateur agréé ou le service client Toro. La Figure 1 indique l'emplacement des numéros de modèle et de série sur le produit. Inscrivez les numéros dans l'espace réservé à cet effet.
Important: Avec votre appareil mobile, vous pouvez scanner le QR code sur l'autocollant du numéro de série (le cas échéant) pour accéder aux informations sur la garantie, les pièces détachées et autres renseignements concernant le produit.

Le symbole de sécurité (Figure 2) utilisé dans ce manuel et sur la machine identifie d'importants messages de sécurité dont vous devez tenir compte pour éviter des accidents.

Le symbole de sécurité apparaît au-dessus de toute information signalant des actions ou des situations dangereuses. Il est suivi de la mention DANGER, ATTENTION ou PRUDENCE.
DANGER signale un danger immédiat qui, s'il n'est pas évité, entraînera obligatoirement des blessures graves ou mortelles.
ATTENTION signale un danger potentiel qui, s'il n'est pas évité, risque d'entraîner des blessures graves ou mortelles.
PRUDENCE signale un danger potentiel qui, s'il n'est pas évité, peut éventuellement entraîner des blessures légères ou modérées.
Ce manuel utilise également deux autres termes pour faire passer des informations essentielles : Important pour attirer l'attention sur des informations d'ordre mécanique spécifiques et Remarque pour souligner des informations d'ordre général méritant une attention particulière.
Ce produit est conforme à toutes les directives européennes pertinentes. Pour plus de renseignements, reportez-vous à la Déclaration de conformité spécifique du produit fournie séparément.
Vous commettez une infraction à la section 4442 ou 4443 du Code des ressources publiques de Californie si vous utilisez cette machine dans une zone boisée, broussailleuse ou recouverte d'herbe à moins d'équiper le moteur d'un pare-étincelles, tel que défini à la section 4442, maintenu en bon état, ou à moins de construire, équiper et entretenir le moteur de manière à prévenir les incendies.
Le manuel du propriétaire du moteur ci-joint est fourni à titre informatif concernant la réglementation de l'Agence américaine pour la protection de l'environnement (EPA) et la réglementation antipollution de l'état de Californie relative aux systèmes antipollution, à leur entretien et à leur garantie. Vous pouvez vous en procurer un nouvel exemplaire en vous adressant au constructeur du moteur.
Ce produit est conforme à toutes les directives européennes pertinentes. Pour plus de renseignements, reportez-vous à la Déclaration de conformité spécifique du produit fournie séparément.
Si cette machine est équipée d'un système télématique, demandez conseil à votre distributeur Toro agréé pour savoir comment l'activer.
CALIFORNIE
Proposition 65 - Avertissement
L'état de Californie considère les gaz d'échappement des moteurs diesel et certains de leurs composants comme susceptibles de provoquer des cancers, des malformations congénitales et autres troubles de la reproduction.
Les bornes de la batterie et accessoires connexes contiennent du plomb et des composés de plomb. L'état de Californie considère ces substances chimiques comme susceptibles de provoquer des cancers et des troubles de la reproduction. Lavez-vous les mains après avoir manipulé la batterie.
L'utilisation de ce produit peut entraîner une exposition à des substances chimiques considérées pas l'état de Californie comme capables de provoquer des cancers, des anomalies congénitales ou d'autres troubles de la reproduction.
Ce produit peut sectionner les mains ou les pieds et projeter des objets. Respectez toujours toutes les consignes de sécurité pour éviter des blessures graves.
Vous devez lire et comprendre le contenu de ce Manuel de l'utilisateur avant de démarrer le moteur.
Accordez toute votre attention à l'utilisation de la machine. Ne faites rien d’autre qui puisse vous distraire, au risque de causer des dommages corporels ou matériels.
N'utilisez pas la machine s'il manque des capots ou d'autres dispositifs de protection, ou s'ils sont défectueux.
N'approchez jamais les mains ou les pieds des pièces rotatives. Ne vous tenez pas devant l'ouverture d'éjection.
N'admettez personne, notamment les enfants, dans le périmètre de travail. N'autorisez jamais les enfants à utiliser la machine.
Avant de quitter la position d'utilisation, coupez le moteur, enlevez la clé et attendez l'arrêt complet de tout mouvement. Laissez refroidir la machine avant de la régler, d'en faire l'entretien, de la nettoyer ou de la remiser.
L'usage ou l'entretien incorrect de cette machine
peut occasionner des accidents. Pour réduire les risques d'accidents
et de blessures, respectez les consignes de sécurité
qui suivent. Tenez toujours compte des mises en garde signalées
par le symbole de sécurité (
) et la mention Prudence,
Attention ou Danger. Le non respect de ces instructions peut entraîner
des blessures graves ou mortelles.
![]() |
Des autocollants de sécurité et des instructions bien visibles par l'utilisateur sont placés près de tous les endroits potentiellement dangereux. Remplacez tout autocollant endommagé ou manquant. |

















Modèles CE


Note: Les côtés gauche et droit de la machine sont déterminés d'après la position d'utilisation normale.
Contrôlez la pression des pneus avant d'utiliser la machine ; voir Contrôle de la pression des pneus.
Important: Tous les pneus doivent être gonflés à la pression correcte pour garantir de bons résultats et de bonnes performances. Veillez à toujours utiliser une pression de gonflage suffisante.
Contrôlez le niveau d'huile moteur avant le démarrage du moteur ; voir Contrôle du niveau d'huile moteur.
Contrôlez le niveau de liquide hydraulique avant de mettre le moteur en marche ; voir Contrôle du niveau de liquide hydraulique.
Contrôlez le système de refroidissement avant le démarrage du moteur ; voir Contrôle du circuit de refroidissement.
Graissez la machine avant de l'utiliser ; voir Graissage des roulements et bagues. Si vous ne graissez pas la machine correctement, des pannes prématurées de pièces importantes se produiront.
Retirez les cales d'expédition des unités de coupe et mettez-les au rebut.
Retirez les goupilles d'expédition des bras de suspension des unités de coupe et mettez-les au rebut.
Note: Les goupilles d'expédition stabilisent les unités de coupe pendant le transport ; retirez-les avant d'utiliser la machine.
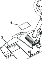
Vous pouvez régler la position du bras de commande pour votre confort.
Desserrez les 2 boulons qui fixent le bras de commande à la patte de retenue (Figure 3).

Tournez le bras de commande à la position voulue et serrez les 2 boulons.
Contactez votre distributeur Toro agréé pour configurer le logiciel de la machine en mode CE.
Pièces nécessaires pour cette opération:
| Loquet de capot | 1 |
| Rondelle | 1 |
Déverrouillez et soulevez le capot.
Retirez les bagues en caoutchouc du trou dans le côté gauche du capot (Figure 4).

Retirez l'écrou du loquet de capot (Figure 5).

À l'extérieur du capot, insérez le côté en crochet du loquet dans le trou du capot en vérifiant que la rondelle d'étanchéité en caoutchouc reste à l'extérieur du capot (Figure 5).
A l'intérieur du capot, insérez la rondelle en métal sur le loquet et fixez le loquet avec l'écrou ; vérifiez que le loquet s'engage bien dans la gâche quand il est fermé.
Note: Utilisez la clé fournie pour actionner le loquet du capot.
Pièces nécessaires pour cette opération:
| Autocollant CE | 1 |
| Autocollant de l'année de production | 1 |
| Autocollant de sécurité | 1 |
Avec de l'alcool à friction et un chiffon propre, nettoyez la zone du capot près du verrou et laisser sécher le capot (Figure 6).

Retirez la pellicule de protection au dos de l'autocollant CE.
Apposez l'autocollant sur le capot.
Avec de l'alcool à friction et un chiffon propre, nettoyez le support de plancher près de la plaque du numéro de série et laisser sécher le support (Figure 7).

Retirez la pellicule de protection au dos de l'autocollant de l'année de production.
Apposez l'autocollant sur le support de plancher.
Avec de l'alcool à friction et un chiffon propre, nettoyez la surface de l'autocollant de sécurité et laissez sécher l'autocollant (Figure 8).

Retirez la pellicule de protection au dos de l'autocollant de sécurité CE.
Apposez l'autocollant de sécurité CE par-dessus l'autocollant existant.
L'efficacité du racloir de rouleau en option est optimale quand un espace uniforme de 0,5 à 1 mm sépare le racloir et le rouleau.
Desserrez le graisseur et la vis de fixation (Figure 9).

Faites coulisser le racloir vers le haut ou le bas de manière à obtenir un espace de 0,5 à 1 mm entre la tige et le rouleau.
Fixez le graisseur et serrez les vis à 41 N·m dans un ordre alterné.
Pour vous procurer le déflecteur de mulching correct, contactez votre distributeur Toro agréé.
Enlevez soigneusement tous les débris présents dans les trous de montage des parois arrière et gauche de la chambre.
Montez le déflecteur de mulching dans l'ouverture arrière et fixez-le avec 5 boulons à embase (Figure 10).

Vérifiez que le déflecteur de mulching ne gêne pas la pointe de la lame et ne dépasse pas à l'intérieur de la surface de la paroi arrière de la chambre.
La lame haute levée peut se briser si vous l'utilisez en même temps que le déflecteur de mulching et causer des blessures graves ou mortelles.
N'utilisez pas la lame haute levée avec le déflecteur.



Note: Cette machine n'a pas de levier ou de commutateur pour réguler le régime moteur.
Lorsque la PDF est engagée et commence à entraîner les unités de coupe, le régime moteur de la machine passe automatiquement au ralenti accéléré qui est maintenu jusqu'à ce que les unités de coupe soient désengagées.
Lorsque la PDF n'est pas engagée, l'accélérateur de la machine est associé à la position de la pédale de déplacement, tout comme dans une voiture.
La pédale de déplacement (Figure 12) commande le déplacement en marche avant et arrière. Appuyez sur le haut de la pédale pour avancer et sur le bas pour faire marche arrière.
Note: Pour un freinage d'urgence, retirez le pied de la pédale de déplacement et appuyez sur le haut de la commande du frein de stationnement (Figure 11).
Lorsque la PDF est en engagée, la machine est en mode TONTE, qui vous permet d'atteindre 13 km/h lorsque la vitesse maximale n'est pas limitée.
Lorsque la PDF n'est pas engagée (Figure 11), la machine est en mode TRANSPORT, qui vous permet d'atteindre 16 km/h lorsque la vitesse maximale n'est pas limitée.
Note: Utilisez les menus protégés dans l'InfoCenter pour régler la vitesse maximale pour chaque mode.

Pour serrer le frein de stationnement (Figure 11), appuyez sur le haut de la commande sur la console. Le témoin rouge s'allume sur la commande quand le frein est serré. Pour desserrer le frein de stationnement, appuyez sur le haut de la commande.
Lorsque vous appuyez sur haut de la commande du frein de stationnement, la machine ralentit automatiquement, quelle que soit la position de la pédale de déplacement, et le frein de stationnement est serré dès que la machine s'immobilise.
Après avoir coupé le moteur et immobilisé la machine, le frein de stationnement est serré, quelle que soit la position de la commande.
Pour incliner le volant vers vous, appuyez sur la pédale et tirez la colonne de direction vers vous à la position qui vous convient le mieux, puis relâchez la pédale (Figure 12). Pour éloignez le volant de vous, enfoncez la pédale et relâchez-la quand le volant atteint la position d'utilisation voulue.
Ce levier (Figure 11) permet de lever et de baisser les unités de coupe.
Pour baisser les unités de coupe, poussez le levier en avant. Lorsque la commande de PDF est en position ENGAGéE, la machine est en mode TONTE et les unités de coupe se mettent à tourner lorsqu'elles sont baissées.
Note: Veillez à baisser les unités de coupe uniquement après avoir engagé la PTO pour démarrer les unités de coupe. Si vous baissez les unités de coupe avant d'engager la PDF, elles ne tourneront pas.
Pour lever complètement les unités de coupe, tirez le levier en arrière. Lorsque les unités de coupe sont levées et la PDF est désengagée, la machine est en mode TRANSPORT.
Le commutateur d'allumage (Figure 11) a 3 positions : ARRêT, CONTACT/PRéCHAUFFAGE et DéMARRAGE.
Appuyez sur le haut de l'interrupteur pour allumer les phares (Figure 11).
L'indicateur de colmatage du filtre hydraulique vous signale quand les filtres hydrauliques ont besoin d'être remplacés ; voir Remplacement des filtres hydrauliques.

La prise de courant (Figure 15) fournit une tension de 12 V pour les dispositifs électroniques.


Tirez sur le levier de réglage du siège (Figure 16) pour avancer ou reculer le siège. Relâchez le levier pour bloquer le siège en position.
Tournez le bouton de réglage jusqu'à ce que votre poids soit affiché dans le cadran de la jauge de poids.
Tournez le bouton de réglage de hauteur pour changer la hauteur du siège.
L'écran LCD de l'InfoCenter affiche des informations sur votre machine, comme l'état de fonctionnement, ainsi que divers diagnostics et autres renseignements la concernant (Figure 11).
Les écrans qui s'affichent dépendent des boutons que vous sélectionnez. Chaque bouton peut changer de fonction selon les besoins du moment.
Note: Les spécifications et la conception peuvent faire l'objet de modifications sans préavis.

| Description | Référence de la Figure 17 | Dimensions ou poids |
| Hauteur hors tout | A | 217 cm |
| Voie (entraxe) arrière | B | 185 cm |
| Largeur hors tout (position de transport) | C | 231 cm |
| Largeur hors tout (position de tonte) | D | 247 cm |
| Empattement | E | 152 cm |
| Longueur hors tout (position de transport) | F | 315 cm |
| Longueur hors tout (position de tonte) | G | 315 cm |
| Capacité du réservoir de carburant | 53 litres | |
| Vitesse de transport | 0 à 16 km/h | |
| Vitesse de tonte | 0 à 13 km/h | |
| Poids net (avec plateaux de coupe et tous pleins faits) | 1 492 kg |
Une sélection d'outils et d'accessoires agréés par Toro est disponible pour augmenter et améliorer les capacités de la machine. Pour obtenir la liste de tous les accessoires et outils agréés, contactez votre concessionnaire-réparateur ou votre distributeur Toro agréé, ou rendez-vous sur www.Toro.com.
Pour garantir un rendement optimal et conserver la certification de sécurité de la machine, utilisez uniquement des pièces de rechange et accessoires d'origine Toro. Les pièces de rechange et accessoires provenant d'autres constructeurs peuvent être dangereux, et leur utilisation risque d'annuler la garantie de la machine.
Note: Les côtés gauche et droit de la machine sont déterminés d'après la position d'utilisation normale.
Ne confiez jamais l'utilisation ou l'entretien de la machine à des enfants ou à des personnes non qualifiées. La réglementation locale peut imposer un âge minimum pour les utilisateurs. Le propriétaire de la machine doit assurer la formation de tous les utilisateurs et mécaniciens.
Familiarisez-vous avec le maniement correct du matériel, les commandes et les symboles de sécurité.
Avant de quitter la position d'utilisation, coupez le moteur, enlevez la clé et attendez l'arrêt complet de tout mouvement. Laissez refroidir la machine avant de la régler, d'en faire l'entretien, de la nettoyer ou de la remiser.
Apprenez à arrêter la machine et le moteur rapidement.
Vérifiez toujours que les commandes de présence de l'utilisateur, les contacteurs de sécurité et les capots de protection sont en place et fonctionnent correctement. N'utilisez pas la machine s'ils ne fonctionnent pas correctement.
Avant de tondre, vérifiez toujours que les lames, les boulons de lame et les ensembles de coupe sont en bon état de marche. Remplacez les boulons et les lames usés ou endommagés par paires pour ne pas modifier l'équilibre.
Inspectez la zone de travail et débarrassez-la de tout objet pouvant être projeté par la machine.
Ce produit génère un champ électromagnétique. Si vous portez un dispositif médical électronique implantable, consultez votre professionnel de santé avant d'utiliser ce produit.
Faites preuve de la plus grande prudence quand vous manipulez du carburant, en raison de son inflammabilité et du risque d'explosion des vapeurs qu'il dégage.
Éteignez cigarettes, cigares, pipes et autres sources d'étincelles.
Utilisez exclusivement un bidon à carburant homologué.
N'enlevez pas le bouchon du réservoir de carburant et n'ajoutez pas de carburant pendant que le moteur tourne ou est encore chaud.
N'ajoutez pas de carburant et ne vidangez pas le réservoir dans un local fermé.
Ne rangez pas la machine ni les bidons de carburant à proximité d'une flamme nue, d'une source d'étincelles ou d'une veilleuse, telle celle d'un chauffe-eau ou autre appareil.
Si vous renversez du carburant, ne mettez pas le moteur en marche. Évitez toute source possible d'inflammation jusqu'à dissipation complète des vapeurs de carburant.
53 litres
Important: Utilisez uniquement du gazole à ultra-faible teneur en soufre. Le carburant à teneur en soufre plus élevée dégrade le catalyseur d'oxydation diesel (DOC), ce qui engendre des problèmes de fonctionnement et raccourcit la vie utile des composants du moteur.Le moteur peut être endommagé si vous ne respectez pas les consignes qui suivent.
N'utilisez jamais de kérosène ou d'essence à la place du gazole,
Ne mélangez jamais de kérosène ou d'huile moteur usagée au gazole.
Ne conservez jamais le carburant dans des récipients dont l'intérieur est galvanisé.
N'utilisez pas d'additifs pour carburant.
Indice de cétane : 45 ou plus
Teneur en soufre : ultra-faible (<15 ppm)
| Spécifications du gazole | Lieu d'utilisation |
| ASTM D975 | États-Unis |
| Nº 1-D S15 | |
| Nº 2-D S15 | |
| EN 590 | Union européenne |
| ISO 8217 DMX | International |
| JIS K2204 Grade nº 2 | Japon |
| KSM-2610 | Corée |
Utilisez uniquement du gazole propre et frais ou des carburants au biodiesel.
Pour garantir la fraîcheur du carburant, n'achetez pas plus que la quantité normalement consommée en 6 mois.
Utilisez du gazole de qualité été (nº 2-D) si la température ambiante est supérieure à -7 °C et du gazole de qualité hiver (nº 1-D ou mélange nº 1-D/2-D) si la température ambiante est inférieure à -7 °C.
Note: L'usage de carburant de qualité hiver à basses températures réduit le point d'éclair et les caractéristiques d'écoulement à froid, ce qui facilite le démarrage et réduit le colmatage du filtre à carburant.L'usage de carburant de qualité été au-dessus de -7 °C contribue à prolonger la vie de la pompe à carburant et augmente la puissance comparé au carburant de qualité hiver.
Cette machine peut aussi utiliser un mélange carburant et biodiesel jusqu'à B20 (20 % biodiesel, 80 % pétrodiesel).
Teneur en soufre : ultra-faible (<15 ppm)
Spécifications du carburant au biodiesel : ASTM D6751 ou EN 14214
Spécifications du carburant mélangé : ASTM D975, EN 590 ou JIS K2204
Important: La partie pétrodiesel doit être à ultra-faible teneur en soufre.
Prenez les précautions suivantes :
Les mélanges au biodiesel peuvent endommager les surfaces peintes.
Utilisez du B5 (teneur en biodiesel de 5 %) ou un mélange de plus faible teneur par temps froid.
Examinez régulièrement les joints et flexibles en contact avec le carburant, car ils peuvent se détériorer avec le temps.
Le filtre à carburant peut se colmater pendant quelque temps après l'adoption de mélanges au biodiesel.
Pour plus de renseignements sur le biodiesel, contactez votre distributeur Toro agréé.


Remplissez le réservoir de gazole nº 2-D jusqu'à environ 6 à 13 mm en dessous du haut du réservoir, pas du goulot de remplissage.
Note: Dans la mesure du possible, faites le plein de carburant après chaque utilisation ; cela minimisera la formation éventuelle de condensation à l'intérieur du réservoir.
Avant de mettre le moteur en marche et d'utiliser la machine, vérifiez le niveau d'huile dans le carter moteur ; voir Contrôle du niveau d'huile moteur.
Avant de mettre le moteur en marche et d'utiliser la machine, vérifiez le système de refroidissement ; voir Contrôle du circuit de refroidissement.
Avant de mettre le moteur en marche et d'utiliser la machine, vérifiez le système hydraulique ; voir Contrôle du niveau de liquide hydraulique.
Vidangez chaque jour l'eau ou autres impuretés qui se trouvent dans le séparateur d'eau ; voir Vidange de l'eau du séparateur carburant-eau.
| Périodicité d'entretien | Procédure d'entretien |
|---|---|
| À chaque utilisation ou une fois par jour |
|
Les pneus avant et arrière doivent être gonflés entre 0,83 et 1,03 bar.
Important: Tous les pneus doivent être gonflés à la pression correcte pour garantir de bons résultats et de bonnes performances. Veillez à toujours utiliser une pression de gonflage suffisante.Contrôlez la pression de tous les pneus avant d'utiliser la machine.

| Périodicité d'entretien | Procédure d'entretien |
|---|---|
| Après la 1ère heure de fonctionnement |
|
| Après les 10 premières heures de fonctionnement |
|
| Toutes les 250 heures |
|
Un mauvais couple de serrage des écrous de roues peut entraîner une défaillance de la machine ou la perte d'une roue et provoquer des blessures graves.
Serrez les écrous des roues avant et arrière à un couple de 94 à 122 N·m aux intervalles d'entretien recommandés.
Important: La hauteur de coupe des unités de coupe est souvent plus basse d'environ 6 mm que celle d'une unité de coupe à cylindre ayant le même réglage au banc. Il pourra être nécessaire de régler au banc les unités de coupe à une hauteur supérieure de 6 mm à celle des unités de coupe à cylindres pour la même surface de tonte.
Important: L'accès aux unités de coupe arrière est nettement facilité si vous déposez l'unité de la machine. Abaissez les unités de coupe et déposez-les des cadres en retirant les boulons et goupilles, comme montré à la Figure 20.

Garez la machine sur une surface plane et horizontale, serrez le frein de stationnement, abaissez l'unité de coupe au sol, coupez le moteur et enlevez la clé.
Desserrez le boulon qui fixe le support de hauteur de coupe à la plaque de hauteur de coupe (à l'avant et de chaque côté), comme montré à la Figure 21.
En commençant par le réglage avant, retirez le boulon de fixation.

Tout en soutenant la chambre, déposez l'entretoise (Figure 21).
Placez la chambre à la hauteur de coupe voulue et mettez l'entretoise dans le trou et la fente correspondant à la hauteur de coupe désignée (Figure 22)

Positionnez la plaque taraudée en face de l'entretoise.
Serrez le boulon à la main.
Répétez les opérations 4 à 7 pour chaque réglage latéral.
Serrez les 3 boulons à 41 N·m. Commencez toujours par le boulon avant.
Note: Les réglages de plus de 3,8 cm pourront nécessiter le montage à une hauteur intermédiaire pour éviter le coincement (par exemple, passage d'une hauteur de coupe de 3,1 à 7 cm).
| Périodicité d'entretien | Procédure d'entretien |
|---|---|
| À chaque utilisation ou une fois par jour |
|
Si les contacteurs de sécurité sont déconnectés ou endommagés, la machine peut se mettre en marche inopinément et causer des blessures.
Ne modifiez pas abusivement les contacteurs de sécurité.
Vérifiez chaque jour le fonctionnement des contacteurs de sécurité et remplacez ceux qui sont endommagés avant d'utiliser la machine.
Important: Si la machine échoue à l'un des contrôles des contacteurs de sécurité, contactez votre concessionnaire Toro agréé.
Conduisez la machine lentement jusqu'à une surface dégagée.
Abaissez les unités de coupe au sol, coupez le moteur et serrez le frein de stationnement.
Asseyez-vous sur le siège du conducteur.
Serrez le frein de stationnement.
Placez la commande de PDF à la position DéSENGAGéE.
Appuyez sur la pédale de déplacement.
Tournez la clé à la position DéMARRAGE.
Note: Le moteur ne doit pas démarrer lorsque la pédale de déplacement est enfoncée.
Asseyez-vous sur le siège du conducteur.
Tirez la commande de PDF à la position ENGAGéE.
Tournez la clé à la position DéMARRAGE.
Note: Le moteur ne doit pas démarrer quand la commande de PDF est en position ENGAGéE.
Asseyez-vous sur le siège du conducteur.
Placez la commande de PDF à la position DéSENGAGéE.
Démarrez le moteur.
Tirez la commande de PDF à la position ENGAGéE.
Abaissez les unités de coupe pour engager la PDF.
Soulevez-vous du siège.
Note: La PDF ne doit pas fonctionner quand vous quittez le siège de l'utilisateur.
Note: Ne faites pas tourner les unités de coupe plus de deux secondes pendant cet essai pour éviter toute usure inutile.
Asseyez-vous sur le siège du conducteur.
Serrez le frein de stationnement.
Placez la commande de PDF à la position DéSENGAGéE.
Démarrage du moteur.
Appuyez sur la pédale de déplacement.
Note: La machine ne doit pas réagir quand vous appuyez sur la pédale de déplacement alors que le frein de stationnement est serré. Un avis devrait s'afficher sur l'InfoCenter.
Asseyez-vous sur le siège du conducteur.
Démarrez le moteur.
Desserrez le frein de stationnement.
Soulevez-vous du siège.
Note: Le témoin rouge s'allume sur la commande du frein de stationnement lorsque vous vous soulevez du siège, pour indiquer que le frein est serré.
Asseyez-vous sur le siège du conducteur.
Démarrez le moteur.
Vérifiez que les unités de coupe sont levées en position de transport.
Soulevez-vous du siège.
Abaissez les unités de coupe.
Note: Les unités de coupe ne doivent pas s'abaisser quand vous n'êtes pas sur le siège de l'utilisateur.
| Périodicité d'entretien | Procédure d'entretien |
|---|---|
| À chaque utilisation ou une fois par jour |
|
Les lames de l'unité de coupe doivent s'immobiliser complètement dans un délai d'environ 5 secondes après l'actionnement de la commande d'engagement des unités de coupe.
Note: Abaissez les unités de coupe sur une zone propre du gazon pour éviter de projeter de la poussière et des débris.
Demandez à une autre personne de se tenir à au moins 6 m de distance des unités de coupe et d'observer les lames de l'une des unités.
Lorsque les unités de coupe sont engagées et tournent à la vitesse maximale, placez la commande de PDF en positon Désengagée et notez le temps écoulé avant l'arrêt complet des lames.
Note: Si ce temps est supérieur à 7 secondes, il faut régler la vanne de freinage. Demandez conseil à votre distributeur Toro agréé pour effectuer ce réglage.
Cette lame est conçue pour soulever l'herbe et la disperser de manière optimale dans pratiquement toutes les conditions. Pour soulever plus ou moins l'herbe ou varier la vitesse de dispersion, envisagez d'utiliser une lame différente.
Particularités : excellents soulèvement et dispersion de l'herbe dans la plupart des conditions
La lame permet d'obtenir de meilleurs résultats aux hauteurs de coupe inférieures (19 à 64 mm).
Particularités :
L'éjection est plus uniforme aux hauteurs de coupe inférieures.
L'éjection a moins tendance à se faire vers la gauche, ce qui laisse les abords des bunkers et des fairways plus dégagés.
Moins de puissance nécessaire aux hauteurs de coupe inférieures et pour l'herbe très fournie.
La lame permet d'obtenir de meilleurs résultats aux hauteurs de coupe supérieures (70 à 100 mm).
Particularités :
L'herbe est mieux soulevée et la vitesse d'éjection est améliorée
L'herbe clairsemée ou tendre est particulièrement bien saisie aux hauteurs de coupe supérieures
L'herbe humide ou collante est éjectée plus facilement ce qui réduit la congestion dans les unités de coupe.
Demande plus de puissance pour fonctionner
A tendance à éjecter l'herbe plus à gauche et à former des andains aux hauteurs de coupe inférieures
La lame haute levée peut se briser si vous l'utilisez en même temps que le déflecteur de mulching et causer des blessures graves ou mortelles.
N'utilisez pas la lame haute levée avec le déflecteur de mulching.
Cette lame est conçue pour offrir un excellent mulching des feuilles.
| Lame à ailette oblique | Lame à ailette horizontale haute levée(ne pas l'utiliser avec le déflecteur de mulching) (non conforme CE) | Déflecteur de mulching | Racloir de rouleau | |
| Tonte : hauteur de coupe de 1,9 à 4,4 cm | Recommandée dans la plupart des cas | Peut convenir si l'herbe est fine et clairsemée | Améliore la dispersion et la finition sur les gazons des régions du nord qui sont tondus au moins trois fois par semaine et sur moins du tiers de leur hauteur. Ne pas utiliser avec la lame horizontale haute levée | Utiliser chaque fois que de grandes quantités d'herbe ou des paquets d'herbe écrasés sont observés sur les rouleaux. Les racloirs peuvent favoriser l'accumulation d'herbe dans certains cas. |
| Tonte : hauteur de coupe de 5 à 6,4 cm | Recommandée si l'herbe est épaisse ou très fournie | Recommandée si l'herbe est fine ou clairsemée | ||
| Tonte : hauteur de coupe de 7 à 10 cm | Peut convenir si l'herbe est très fournie | Recommandée dans la plupart des cas | ||
| Mulching des feuilles | Recommandée avec le déflecteur de mulching | Utilisation interdite | Utiliser uniquement avec la lame à ailette oblique ou combinée | |
| Avantages | Éjection régulière à basse hauteur de coupe ; aspect plus net autour des bunkers et fairways ; moins de puissance nécessaire. | L'herbe est mieux soulevée et la vitesse d'éjection est améliorée. L'herbe clairsemée ou tendre est saisie aux hauteurs de coupe supérieures. L'herbe humide ou collante est éjectée plus facilement. | Peut améliorer la dispersion et la finition dans certaines applications. Idéal pour le mulching des feuilles. | Réduit les dépôts d'herbe sur les rouleaux dans certains cas. |
| Inconvénients | Ne redresse pas l'herbe correctement aux hauteurs de coupe élevées ; l'herbe humide ou collante a tendance à s'accumuler dans la chambre, ce qui produit une coupe de mauvaise qualité et exige plus de puissance | Exige plus de puissance pour fonctionner avec certaines applications ; a tendance à former des andains aux hauteurs de coupe inférieures quand l'herbe est très fournie ; ne pas utiliser avec le déflecteur de mulching. | L'herbe s'accumule dans la chambre si vous tentez de tondre une trop grande quantité d'herbe avec le déflecteur en place. |
L'écran affiche des informations concernant la machine, comme l'état de fonctionnement, ainsi que divers diagnostics et autres renseignements la concernant. Plusieurs écrans s'affichent sur l'InfoCenter. Vous pouvez alterner entre les écrans à tout moment en appuyant sur l'une des touches de l'affichage, puis en sélectionnant la flèche de direction appropriée.

Note: Chaque bouton peut changer de fonction selon les besoins du moment. Chaque bouton est repéré par une icône illustrant sa fonction actuelle.
![]() | Compteur horaire |
![]() | Entretien requis. |
![]() | Régime moteur actuel (tr/min) |
![]() | Réglages de la butée de pédale virtuelle |
![]() | Les bougies de préchauffage sont actives. |
![]() | L'utilisateur doit s'asseoir sur le siège. |
![]() | Le frein de stationnement est serré. |
![]() | Température du liquide de refroidissement moteur (°C) |
![]() | Déplacement ou pédale de déplacement |
![]() | Démarrez le moteur. |
![]() | Le régulateur de vitesse est engagé. |
![]() | Moteur |
![]() | Mode réchauffement |
![]() | Demande de régénération commandée-de secours |
| Demande de régénération en stationnement ou d'urgence | |
![]() | Une régénération en stationnement ou d'urgence est en cours. |
![]() | Haute température de l'échappement |
![]() | Défaillance du diagnostic de détection de NOx ; ramenez la machine à l'atelier et contactez votre distributeur Toro agréé (logiciel version U et suivantes). |
![]() | La prise de force est désactivée. |
![]() | PDF engagée. |
![]() | Batterie |
![]() | Niveau de carburant |
![]() | Bas niveau de carburant |
![]() | Attention |
![]() | Actif |
![]() | Inactif |
![]() | Précédent |
![]() | Suivant |
![]() | Augmenter |
![]() | Diminuer |
![]() | Écran précédent |
![]() | Écran suivant |
![]() | Augmenter la valeur |
![]() | Réduire la valeur |
![]() | Menu |
![]() | Défilement vers le haut/bas |
![]() | Défilement vers la gauche/droite |
![]() | Verrouillé |
Accessible
uniquement en saisissant un code PIN
Pour accéder au système de menus InfoCenter, appuyez sur le bouton d'accès au menu depuis l'écran principal. Cela vous amène au menu principal. Reportez-vous aux tableaux ci-après pour le synopsis des options disponibles dans les différents menus :
| Menu principal – Option de menu | Description |
| Anomalies | Le menu Anomalies contient la liste des anomalies récentes de la machine. Reportez-vous au Manuel d'entretien ou adressez-vous à votre distributeur Toro agréé pour plus de renseignements sur le menu Anomalies et sur les données qu'il contient. |
| Entretien | Le menu Entretien contient des données relatives à la machine telles que les heures de fonctionnement, les compteurs et d'autres données de ce type. |
| Diagnostics | Le menu Diagnostics indique l'état de chaque contacteur, capteur et sortie de commande de la machine. Il peut servir à détecter certains problèmes, car il indique rapidement quelles commandes de la machine sont ACTIVéES ou DéSACTIVéES. |
| Réglages | Le menu Réglages vous permet de personnaliser et modifier les variables de configuration sur l'écran. |
| Réglages machine | Le menu Réglages machine vous permet de régler les seuils d'accélération, de vitesse et de compensation. |
| À propos | Le menu À propos indique le numéro de modèle, le numéro de série et la version logicielle de votre machine. |
| Entretien – Option de menu | Description |
| Hours | Indique le nombre d'heures de fonctionnement de la machine, du moteur et de la PDF, ainsi que le nombre d'heures de transport et restant avant le prochain entretien. |
| Counts | Indique les différents décomptes de la machine. |
| Accélérateur de service | Activez et désactivez l'accélérateur de service. Active la commande manuelle de l'accélérateur de type automobile pour certaines activités liées à l'entretien, comme le repositionnement de la machine dans l'atelier. |
| Service RPM | Règle le régime moteur pour l'entretien. |
Traction Pedal ![]() | |
Traction Pump ![]() | |
Virtual Speed Sensor ![]() | |
| DPF Regeneration | Options de régénération du filtre à particules diesel et sous-menus DPF (FAP) |
| Diagnostics – Option de menu | Description |
| Deck | Indique les entrées et sorties pour abaisser et élever les unités de coupe. |
| Traction | Indique les entrées et les sorties de la pédale de déplacement. |
| Cutting Units | Indique les entrées, qualificateurs et sorties pour abaisser et lever les unités de coupe. |
| PTO | Indique les entrées, qualificateurs et sorties pour l'activation du circuit de PDF. |
| Engine | Indique les entrées, qualificateurs et sorties pour le démarrage du moteur |
CAN Statistics ![]() | Indique les entrées et les sorties du CAN. |
| Réglages – Option de menu | Description |
| Saisie du code PIN | Permet à une personne (surintendant/mécanicien) autorisée par votre entreprise et détenant le code PIN d'accéder aux menus protégés. |
| Rétroéclairage | Permet de régler la luminosité de l'affichage LCD. |
| Langue | Permet de choisir la langue utilisée sur l'InfoCenter*. |
| Taille de police | Commande la taille de la police sur l'affichage. |
| Unités | Permet de choisir les unités utilisées sur l'InfoCenter (métriques ou impériales). |
Menus protégés ![]() | Permet à une personne autorisée par votre entreprise et détenant le code PIN d'accéder aux menus protégés |
Protection des réglages ![]() | Cette option permet de modifier les réglages dans les réglages protégés. |
Note: Le menu Réglages machine ne s'affiche qu'après la saisie du code PIN.
Réglages machine – Option de menu![]() | Description |
Vitesse de tonte ![]() | Permet de régler la vitesse maximale pendant la tonte (gamme basse). |
Vitesse de transp.![]() | Permet de régler la vitesse maximale pendant le transport (gamme haute). |
Smart Power ![]() | Permet d'activer et de désactiver la fonction Smart Power. |
Compensation ![]() | Régule la compensation appliquée aux unités de coupe. |
Accélération ![]() | Les réglages Bas, Moyen et Haut déterminent la rapidité de réaction de la vitesse de déplacement lorsque vous actionnez la pédale de déplacement. |
Protégés
sous Menus protégés – accessibles uniquement en
saisissant un code PIN
| À propos – Option de menu | Description |
| Modèle | Indique le numéro de modèle de la machine. |
| Nº de série | Indique le numéro de série de la machine. |
| Version du contrôleur machine | Indique la version du logiciel du contrôleur principal. |
| Rév logiciel | Indique la version du logiciel du contrôleur principal. |
Version de l'InfoCenter ![]() | Indique la version du logiciel de l'InfoCenter |
Plusieurs paramètres de configuration du fonctionnement peuvent être sélectionnés dans le menu RéGLAGES de l'InfoCenter. Bloquez ces paramètres à partir du MENU PROTéGé.
Note: À la livraison de la machine, le code d'accès initial est programmé par votre distributeur.
Note: Le code PIN par défaut de la machine est 0000 ou 1234.Si vous changez de code PIN et que vous l'oubliez, adressez-vous à votre distributeur Toro agréé.
Depuis le MENU PRINCIPAL, naviguez jusqu'au menu RéGLAGES et appuyez sur le bouton de sélection (Figure 24).

Dans le menu RéGLAGES, naviguez jusqu'à SAISIR PIN et appuyez sur le bouton (Figure 25A).

Pour saisir le code PIN, appuyez sur les boutons de navigation vers le haut/bas jusqu'à ce que le premier chiffre correct s'affiche, puis appuyez sur le bouton de navigation droit pour passer au chiffre suivant (Figure 25B et Figure 25C). Répétez cette procédure jusqu'à ce que le dernier chiffre soit saisi.
Appuyez sur le bouton de sélection.
Note: Si l'affichage accepte le code PIN et que le menu protégé est déverrouillé, « PIN » s'affiche dans le coin supérieur droit de l'écran.
Pour verrouiller le menu protégé, tournez le commutateur d'allumage à la position ARRêT puis à la position CONTACT.
Sous RéGLAGES, naviguez jusqu'à l'option PROTECTION DES RéGLAGES.
Pour afficher et modifier les réglages sans
saisir de code PIN, utilisez le bouton de sélection pour changer
l'option PROTECTION DES RéGLAGES à
(désactivée).
Pour afficher et modifier les réglages en saisissant
un code PIN, utilisez le bouton de sélection pour changer l'option PROTECTION DES RéGLAGES à
(activée), saisissez
le code PIN et tournez le commutateur d'allumage à la
position ARRêT, puis ramenez-la à
la position CONTACT.
L'indicateur d'entretien réinitialise le nombre d'heures restant jusqu'au prochain entretien après avoir effectué un entretien programmé.
Sous RéGLAGES, naviguez jusqu'à SAISIR PIN et appuyez sur le bouton de sélection.
Saisissez le code PIN ; voir Accès aux menus protégés.
Sous ENTRETIEN, naviguez jusqu'à HOURS et appuyez sur le bouton de sélection.
Naviguez jusqu'à l'option ENTRETIEN REQUIS.
Note: Si un entretien est actuellement nécessaire, NOW (maintenant) apparaît près de ENTRETIEN REQUIS.
Mettez l'intervalle d'entretien en surbrillance et appuyez sur le bouton de sélection.
Note: L'intervalle d'entretien (250 h, 500 h, etc.) est situé à côté de l'option ENTRETIEN REQUIS. L'intervalle d'entretien est une option des Menus protégés.
Lorsque l'écran RESET SERVICE TIMER? (réinitialiser indicateur d'entretien ?) s'affiche, appuyez sur le bouton de sélection pour oui (YESi) ou sur le bouton de retour en arrière pour non (NO).
Lorsque vous sélectionnez YES, l'écran d'intervalle est effacé et revient aux sélections Service Hours (heures d'entretien).
Le réglage sélectionné apparaît sous la forme d'un X sur le graphique à barres de la vitesse de déplacement, ainsi que les réglages du régulateur de vitesse et de la butée de pédale. Un X dans une barre indique que la vitesse maximale est limitée par le superviseur (Figure 29).
Note: Ce réglage est mis en mémoire et appliqué à la vitesse de déplacement jusqu'à ce que vous le changiez.
Sous RéGLAGES MACHINE, naviguez jusqu'à l'option VITESSE DE TONTE.
Utilisez les boutons de navigation gauche et droit pour augmenter la vitesse de tonte maximale de 1,6 à 13 km/h par paliers de 0,8 km/h.
Le réglage sélectionné apparaît sous la forme d'un X sur le graphique à barres de la vitesse de déplacement, ainsi que les réglages du régulateur de vitesse et de la butée de pédale. Un X dans une barre indique que la vitesse maximale est limitée par le superviseur (Figure 29).
Note: Ce réglage est mis en mémoire et appliqué à la vitesse de déplacement jusqu'à ce que vous le changiez.
Sous RéGLAGES MACHINE, naviguez jusqu'à l'option VITESSE DE TRANSPORT .
Utilisez les boutons de navigation gauche et droit pour augmenter la vitesse de transport maximale de 8 à 16 km/h par paliers de 0,8 km/h.
Sous RéGLAGES, naviguez jusqu'à l'option SMART POWER.
Appuyez sur le bouton de navigation droit pour alterner entre ACTIVé et DéSACTIVé.
Sous RéGLAGES MACHINE, naviguez jusqu'à l'option ÉQUILIBRAGE.
Appuyez sur le bouton de navigation droit pour sélectionner la compensation et alterner entre les réglages BAS, MOYEN et HAUT.
Sous RéGLAGES MACHINE, naviguez jusqu'à l'option ACCéLéRATION.
Appuyez sur le bouton de navigation droit pour alterner entre les réglages BAS, MOY. et HAUT.
Note: Pour une utilisation pratique, vous pouvez décider d'exécuter une régénération en stationnement avant que le niveau de suie atteigne 100 %, à condition que le moteur ait tourné plus de 50 heures depuis la dernière régénération commandée, en stationnement ou d'urgence.
Utilisez le menu Technicien pour afficher l'état actuel de la commande de régénération du moteur et le niveau de suie actuel.
Sous RéGLAGES, naviguez jusqu'à l'option RéGéNéRATION PAF et appuyez sur le bouton de sélection.
Sous RéGéNéRATION PAF, naviguez jusqu'à l'option TECHNICIEN et appuyez sur le bouton de sélection.


Clignotement rouge – anomalie active
Rouge continu – avis actif
Bleu continu – étalonnage/messages de dialogue
Vert continu – fonctionnement normal
Cette machine freine et s'arrête dynamiquement quand vous ramenez la pédale de déplacement à la position neutre.
Note: Pour décélérer en douceur, ramenez lentement la pédale de déplacement à la position neutre avec le pied. Ne retirez pas le pied de la pédale et ne la laissez pas revenir à la position neutre, à moins de vouloir vous arrêter rapidement.
La machine doit s'immobiliser complètement après avoir parcouru 3,7 m à partir de la vitesse de transport maximale de 16 km/h.
Sur une chaussée plane et sèche, marquez le début et la fin de la distance d'arrêt de 3,7 m.
Conduisez la machine à la vitesse de transport maximale de 16 km/h et ôtez le pied de la pédale au début des 3,7 m.
Vérifiez que la machine s'arrête à moins de 0,6 m du repère de fin (3,7 m).
Contactez votre concessionnaire Toro si la machine s'arrête à une distance supérieure à 0,6 m.
Vitesse de transport en marche arrière
Si la vitesse de transport maximale programmée par le superviseur est supérieure à 8 km/h, la vitesse maximale en marche arrière est 8 km/h.
Si la vitesse de transport maximale programmée par le superviseur est égale ou inférieure à 8 km/h, la vitesse maximale en marche arrière est égale à la vitesse de transport programmée par le superviseur.
Vitesse de tonte en marche arrière
Si la vitesse de tonte maximale programmée par le superviseur est supérieure à 6,4 km/h, la vitesse maximale en marche arrière est 6,4 km/h.
Si la vitesse de tonte maximale programmée par le superviseur est égale ou inférieure à 6,4 km/h, la vitesse maximale en marche arrière est égale à la vitesse de transport programmée par le superviseur.
Cette machine affiche les vitesses de déplacement en kilomètre à l'heure (km/h).
La vitesse instantanée est affichée dans l'angle supérieur gauche des écrans du régulateur de vitesse et de butée de pédale virtuelle.
Les vitesses de déplacement sont estimées et étalonnées pour être plus précises à 8 km/h pendant la tonte. Les vitesses affichées sont précises lorsqu'elles sont supérieures ou inférieures de 0,8 km/h à la vitesse affichée lorsque la machine roule sur une chaussée sèche et plane.
Contactez votre concessionnaire Toro agréé si les vitesses de la machine observées s'écartent de plus de 2,4 km/h des vitesses affichées.
Lorsque vous démarrez la machine par temps froid, le mode préchauffage limite le régime du moteur au ralenti pendant une courte durée après le démarrage, ce qui protège les composants contre d'éventuels dommages dus au fonctionnement de la machine avec de l'huile froid.
L'icône d'un flocon de neige
s'affiche sur l'InfoCenter
pour indiquer que le mode Préchauffage est activé. Attendez
la fin de la période de préchauffage pour utiliser la
machine.
Le propriétaire/l'utilisateur est responsable des accidents pouvant entraîner des dommages corporels ou matériels et peut les prévenir.
Portez une tenue adaptée, y compris une protection oculaire, un pantalon, des chaussures solides à semelle antidérapante et des protecteurs d'oreilles. Si vos cheveux sont longs, attachez-les et ne portez pas de vêtements amples ni de bijoux pendants. Portez un masque antipoussière si l'atmosphère est poussiéreuse.
N'utilisez pas la machine si vous êtes fatigué(e), malade ou sous l'emprise de l'alcool, de médicaments ou de drogues.
Accordez toute votre attention à l'utilisation de la machine. Ne faites rien d’autre qui puisse vous distraire, au risque de causer des dommages corporels ou matériels.
Avant de mettre le moteur en marche, assurez-vous que tous les embrayages sont au point mort, que le frein de stationnement est serré et que vous êtes au poste d'utilisation.
Ne transportez pas de passagers sur la machine et tenez tout le monde, y compris les enfants, à l'écart de la zone de travail.
N'utilisez la machine que si la visibilité est bonne pour éviter les trous ou autres dangers cachés.
Ne tondez pas l'herbe humide. La perte de motricité peut faire déraper la machine.
N'approchez jamais les mains ou les pieds des pièces rotatives. Ne vous tenez pas devant l'ouverture d'éjection.
Avant de faire marche arrière, vérifiez que la voie est libre juste derrière la machine et sur sa trajectoire.
Soyez prudent à l'approche de tournants sans visibilité, de buissons, d'arbres ou d'autres objets susceptibles de vous masquer la vue.
Arrêtez les lames quand vous ne tondez pas.
Arrêtez la machine, enlevez la clé et attendez l'arrêt complet de toutes les pièces mobiles avant d'examiner l'outil si vous heurtez un obstacle ou si la machine vibre de manière inhabituelle. Effectuez toutes les réparations nécessaires avant de réutiliser la machine.
Ralentissez et faites preuve de prudence quand vous changez de direction, ainsi que pour traverser des routes et des trottoirs avec la machine. Cédez toujours le passage.
Débrayez l'unité de coupe, coupez le moteur, enlevez la clé et attendez l'arrêt complet de tout mouvement avant de régler la hauteur de coupe (à moins de pouvoir le faire depuis le poste de conduite).
Ne faites tourner le moteur que dans des lieux bien aérés. Les gaz d'échappement contiennent du monoxyde de carbone, qui est mortel en cas d'inhalation.
Ne laissez jamais la machine en marche sans surveillance.
Avant de quitter la position d'utilisation, effectuez la procédure suivante :
Garez la machine sur une surface plane et horizontale.
Désengagez la prise de force et abaissez les outils.
Serrez le frein de stationnement.
Coupez le moteur et retirez la clé.
Attendez l'arrêt complet de tout mouvement.
Utilisez la machine uniquement quand la visibilité est bonne. N'utilisez pas la machine s'il y a risque d'orage.
N'utilisez pas la machine comme véhicule de remorquage.
Utilisez uniquement les accessoires, outils et pièces de rechange agréés par Toro.
Utilisez le régulateur de vitesse (selon l'équipement) uniquement sur les surfaces dégagées, planes et sans obstacles où la machine peut rouler à vitesse constante sans interruption.
Le système ROPS est un dispositif de sécurité intégré et efficace.
Ne retirez aucun des composants du système ROPS de la machine.
Vérifiez que la ceinture de sécurité est bien fixée sur la machine.
Tirez la sangle de la ceinture en travers de votre bassin et accrochez la boucle de l'autre côté du siège.
Pour détacher la ceinture de sécurité, tenez la sangle, appuyez sur le bouton de la boucle et guidez la ceinture dans l'ouverture de l'enrouleur automatique. Apprenez à détacher rapidement la ceinture de sécurité en cas d'urgence.
Vérifiez soigneusement où se trouvent les obstacles en hauteur et ne les touchez pas.
Maintenez le système ROPS en bon état en vérifiant minutieusement et régulièrement s'il est endommagé et en maintenant toutes les fixations bien serrées.
Remplacez les composants endommagés du système ROPS. Ne les réparez pas et ne les modifiez pas.
Une cabine montée par Toro constitue un arceau de sécurité.
Attachez toujours la ceinture de sécurité.
Les pentes augmentent significativement les risques de perte de contrôle et de retournement de la machine pouvant entraîner des accidents graves, voire mortels. Vous êtes responsable de la sécurité d'utilisation de la machine sur les pentes. L'utilisation de la machine sur une pente, quelle qu'elle soit, demande une attention particulière.
Vous devez évaluer l'état du terrain, l'étudier et le baliser pour déterminer si la pente permet d'utiliser la machine sans risque. Faites toujours preuve de bon sens et de discernement quand vous réalisez cette étude.
Lisez les instructions ci-dessous relatives à l'utilisation de la machine sur les pentes et examinez votre environnement afin de déterminer si les conditions d'utilisation existantes et le site se prêtent à l'utilisation de la machine. Les variations de terrain peuvent modifier le fonctionnement de la machine sur les pentes.
Évitez de démarrer, de vous arrêter ou de tourner sur les pentes. Évitez de changer soudainement de vitesse ou de direction. Tournez lentement et graduellement.
N'utilisez pas la machine si l'adhérence, la direction ou la stabilité peuvent être compromises.
Enlevez ou balisez les obstacles tels que fossés, trous, ornières, bosses, rochers ou autres dangers cachés. L'herbe haute peut masquer les accidents du terrain. Les irrégularités du terrain peuvent provoquer le retournement de la machine.
Tenez compte du fait qu'une perte de l'adhérence peut se produire sur l'herbe humide, en travers des pentes ou dans les descentes. La perte d'adhérence des roues motrices peut faire patiner la machine et entraîner la perte du freinage et de la direction.
Faites preuve de la plus grande prudence lorsque vous utilisez la machine près de fortes dénivellations, de fossés, de berges, d'étendues d'eau ou autres dangers. La machine pourrait se retourner brusquement si une roue passe par-dessus une dénivellation quelconque et se retrouve dans le vide, ou si un bord s'effondre. Établissez une zone de sécurité entre la machine et tout danger potentiel.
Identifiez les dangers potentiels depuis le bas de la pente. Si vous constatez la présence de dangers, tondez la pente avec une machine à conducteur marchant.
Dans la mesure du possible, gardez la ou les unités de coupe abaissées au sol quand vous utilisez la machine sur des pentes. La machine peut devenir instable si vous levez la ou les unités de coupe pendant son déplacement sur une pente.
Redoublez de prudence quand la machine est équipée de systèmes de ramassage ou d'autres outils. Ils peuvent modifier la stabilité et entraîner la perte du contrôle de la machine.
Cette machine est dotée d'un accélérateur de type automobile qui est commandé par la pédale de déplacement.
Elle n'a pas de commande ou de levier d'accélérateur séparé(e).
Lorsque vous enlevez le pied de la pédale de déplacement, la machine freine dynamiquement jusqu'à l'arrêt.
Les pédales sont optimisées pour offrir une bonne réactivité associée à une bonne stabilité. Cela permet de conserver une bonne maîtrise de la machine sur les terrains irréguliers, tout en permettant un freinage rapide et progressif.
Pendant le transport, la pédale de déplacement fonctionne comme celle d'une voiture et change le régime moteur et la vitesse de déplacement selon sa position.
Pendant la tonte, le régime moteur monte automatiquement au ralenti accéléré.
Si le moteur tourne au ralenti, l'exécution d'une fonction telle que lever les unités de coupe ou enfoncer la pédale de déplacement a pour effet de faire monter le régime à un régime de travail minimum, ce qui fournit une puissance suffisante pour exécuter efficacement la fonction en question.
Limitez le temps de ralenti de la machine comme recommandé pour la régénération du filtre à particules diesel (FAP). Coupez le moteur de la machine pour éviter son fonctionnement prolongé au ralenti.
Les vitesses maximales programmées dans les réglages du menu protégé par code PIN sont définies par le superviseur pour limiter la vitesse de déplacement maximale de la machine.
L'utilisation possible de la pédale de déplacement, le régulateur de vitesse et les vitesses de déplacement déterminées par la butée de pédale sont tous limités par les vitesses maximales programmées dans le menu protégé par code PIN.
Si vous rencontrez un obstacle, levez les unités de coupe ou tondez autour.
Lorsque vous transportez la machine d'un lieu de travail à un autre, désengagez la PDF et levez les unités de coupe à la position la plus haute. La pédale de déplacement fonctionne alors comme sur une voiture.
Conduisez toujours à vitesse réduite sur les terrains accidentés.
Ne coupez jamais le moteur de la machine pendant qu'elle roule.
Entraînez-vous à utiliser la machine pour vous familiariser avec ses différentes fonctions.
Levez les unités de coupe, desserrez le frein de stationnement, appuyez sur la pédale de déplacement en marche avant et rendez-vous avec prudence jusqu'à un endroit dégagé.
Entraînez-vous à conduire la machine, car elle est équipée d'une transmission hydrostatique et ses fonctions peuvent différer de celles d'autres machines d'entretien des pelouses.
Entraînez-vous à conduire en marche avant et en marche arrière, ainsi qu'à démarrer et à arrêter la machine. Pour immobiliser la machine, enlevez le pied de la pédale de déplacement et laissez-la revenir en position NEUTRE.
Note: Dans les descentes, vous aurez peut-être besoin de vous servir de la pédale de marche arrière pour arrêter la machine.
Retirez le pied de la pédale de déplacement pour vous arrêter rapidement.
Entraînez-vous à contourner des obstacles avec les unités de coupe levées et abaissées. Lorsque vous devez passer entre des obstacles rapprochés, prenez garde de ne pas endommager la machine ou les unités de coupe.
La pédale de déplacement commande la vitesse en marche avant et en marche arrière de la machine, ainsi que le freinage dynamique quand vous la ramenez en position neutre.
Cette machine est équipée d'un accélérateur de type automobile, c'est-à-dire que le régime moteur et la vitesse de déplacement répondent au mouvement de la pédale.
Pendant le transport, la pédale de déplacement fonctionne comme celle d'une voiture et change le régime moteur et la vitesse de déplacement selon sa position.
Pendant la tonte, le moteur monte automatiquement au ralenti accéléré pour optimiser les performances de tonte, et la pédale de déplacement commande uniquement la vitesse de déplacement.
Plus vous enfoncez la pédale en marche avant ou arrière, plus la machine roule vite.
Pour arrêter la machine en douceur pendant son déplacement ou pendant la tonte, ramenez la pédale de déplacement en position neutre avec le pied, à la vitesse qui vous convient.
Pour un freinage maximum, enlevez le pied de la pédale de déplacement et laissez-la revenir à la position neutre. La machine freine de manière dynamique jusqu'à l'arrêt.
Ce système de déplacement permet de personnaliser les réglages d'accélération pour son confort et en fonction de l'état du gazon. Voir Comprendre le mode d'accélération pour changer les réglages.

La fonction butée de pédale virtuelle (VPS) permet de régler les limites de vitesse de déplacement maximales temporaires à la fois pour le mode tonte et le mode transport.
Pour accéder à cette fonction, sélectionnez le bouton de navigation vers le haut ou le bas dans le menu principal (Figure 29).
Utilisez la fonction VPS pour régler la vitesse de déplacement maximale en fonction de votre niveau de confort ou de l'application.
Vous ne pouvez pas régler la limite de vitesse VPS à une valeur supérieure à la vitesse de déplacement maximale protégée par le superviseur.
Le réglage VPS est temporaire. Avec cette fonction, les réglages de vitesse du superviseur sont rétablis quand vous tournez la clé à la position ARRêT.
Lorsque le superviseur change la vitesse de déplacement dans les réglages du menu protégé ou lorsque vous la changez avec la fonction VPS, le pédale de déplacement se reprogramme automatiquement pour utiliser toute sa course entre la position neutre et la nouvelle vitesse maximale programmée.
La réduction des réglages de la vitesse de déplacement maximale, vous permet de bénéficier d'un contrôle précis du système de déplacement.

Pendant que la fonction VPS est active, réduisez temporairement la vitesse maximale pour les tâches suivantes :
Tonte du passage de nettoyage sur le fairway.
Utilisation dans ou près de l'atelier d'entretien.
Chargement de la machine sur une remorque.
Note: Une vitesse maximale réduite permet de mieux contrôler la machine pendant l'exécution de ces tâches.
La commande du régulateur de vitesse bloque le régulateur de vitesse pour maintenir la vitesse de déplacement voulue. Appuyez sur l'arrière de la commande pour désactiver le régulateur de vitesse. Placez la commande à la position centrale pour activer le régulateur de vitesse et appuyez sur l'avant pour régler la vitesse de déplacement voulue.
Après avoir activé la commande du régulateur de vitesse et programmé la vitesse (Figure 30), utilisez l'InfoCenter pour régler la vitesse du régulateur de vitesse (Figure 30 et Figure 31).
Pour désengager le régulateur de vitesse, procédez comme suit :
En mode Transport, appuyez sur la pédale de marche arrière, serrez le frein de stationnement ou placez la commande du régulateur de vitesse à la position DéSACTIVéE.
En mode Tonte, appuyez sur la pédale de marche arrière, serrez le frein de stationnement, désengagez la PDF ou placez la commande du régulateur de vitesse en position DéSACTIVéE.
Note: Lorsque vous désactivez le régulateur de vitesse, la machine freine de manière dynamique jusqu'à l'arrêt. Si vous souhaitez désactiver le régulateur de vitesse tout en continuant à conduire la machine, appuyez sur la pédale de déplacement pour passer en douceur de la régulation de la vitesse au contrôle manuel de la vitesse.

Programmez une vitesse de croisière pour de longues distances sans trop d'obstacles.
Sur les terrains accidentés, utilisez l'InfoCenter pour contrôler la vitesse.
Utilisez le régulateur de vitesse pour effectuer des manÅ“uvres comme suit :
Tout en tondant, programmez une vitesse sûre et confortable pour faire demi-tour à la fin des passes de tonte.
Enfoncez la pédale de déplacement pour accélérer pendant que vous tondez.
Relâchez la pédale pour faire tourner la machine en prévision de la nouvelle passe de tonte.
La machine va ralentir à la vitesse réduite programmée sur le régulateur de vitesse, vous permettant ainsi d'effectuer vos manÅ“uvres efficacement à une vitesse constante.
Après avoir tourné, enfoncez la pédale de déplacement pour faire accélérer la machine afin d'effectuer la nouvelle passe de tonte.
Cette fonction détermine la rapidité à laquelle la vitesse de déplacement de la machine change quand la pédale de déplacement n'est pas à la position NEUTRE.
Note: Si vous retirez le pied de la pédale de déplacement et que vous la laissez revenir à la position NEUTRE pendant que la machine roule, le profil de freinage est engagé. Le profil de freinage ne change jamais et ne peut pas être personnalisé par la fonction Mode accélération.
Accédez aux menus protégés dans l'InfoCenter pour changer le mode d'accélération. Le mode d'accélération comporte les 3 positions suivantes :
Bas – accélération et décélération moins agressives
Moyen (par défaut) – accélération et décélération moyennes
Haut – accélération et décélération plus agressives
Le système de compensation maintient la contrepression hydraulique sur les vérins de levage des unités de coupe. Le système de compensation surveille la pression de déplacement en temps réel, et modifie la contrepression des vérins de levage de manière dynamique afin d'optimiser la capacité de traction et la finition. La pression de compensation est réglée en usine pour assurer un équilibre optimal entre la finition et la motricité dans la plupart des cas. La réduction du réglage de la compensation peut augmenter la stabilité de l'unité de coupe mais réduire la motricité. L'augmentation du réglage de la compensation peut accroître la motricité, mais peut compromettre la qualité de la finition ; voir Modification des réglages de compensation.
Les commandes de réglage de contrepression peuvent être personnalisées et offrent les réglages suivants :
Bas – plus de poids sur les unités de coupe et moins de poids sur les roues motrices
Moyen –poids moyen sur les unités de coupe et les roues motrices
Haut – moins de poids sur les unités de coupe et plus de poids sur les roues motrices
Vous pouvez changer le degré de compensation des unités de coupe (poussée de bas en haut) en fonction des conditions de tonte actuelles.
Garez la machine sur une surface plane et horizontale, abaissez les plateaux de coupe, tournez la clé à la position ARRêT et serrez le frein de stationnement.
Tournez la clé de contact en position CONTACT.
Dans le menu Réglages, naviguez jusqu'à l'option Compensation.
Appuyez sur le bouton droit pour sélectionner la compensation et alterner entre les réglages bas, moyen et haut.
Note: Une fois le réglage terminé, amenez la machine sur une zone d'essai et faites-la fonctionner au nouveau réglage. Le nouveau réglage de compensation peut modifier la hauteur de coupe effective.
Grâce à la fonction Smart Power, vous n'avez plus besoin d'écouter le régime moteur lorsque les conditions sont difficiles. L'option Smart Power empêche la machine de s'enliser quand les conditions de coupe sont difficiles en régulant automatiquement la vitesse de la machine et en optimisant les performances de coupe.
Note: La fonction Smart Power est ACTIVéE par défaut.
Important: Le circuit d'alimentation se purge automatiquement avant le tout premier démarrage du moteur, si le moteur s'est arrêté suite à une panne de carburant ou après l'entretien du circuit d'alimentation.
Asseyez-vous sur le siège, ne mettez pas le pied sur la pédale de déplacement afin qu'elle reste à la position NEUTRE, serrez le frein de stationnement et vérifiez que la commande de la PDF est en position DéSENGAGéE
Tournez la clé de contact en position CONTACT.
Quand le témoin s'éteint, tournez la clé en position DéMARRAGE. Relâchez la clé dès que le moteur démarre et laissez-la revenir en position CONTACT.
Laissez tourner le moteur au ralenti jusqu'à ce qu'il soit chaud.
Placez toutes les commandes au POINT MORT, serrez le frein de stationnement et attendez que le moteur atteigne le régime de ralenti.
Important: Laissez tourner le moteur au ralenti pendant 5 minutes avant de l'arrêter s'il vient de fonctionner à pleine charge. Vous éviterez ainsi d'endommager les composants du moteur.
Tournez la clé de contact à la position ARRêT et enlevez-la.
Démarrez le moteur, desserrez le frein, désengagez la PDF et levez les unités de coupe.
En vous servant de la pédale de déplacement comme de la pédale d'accélérateur d'une voiture, conduisez la machine jusqu'à la zone à tondre.
Tirez la commande de PDF en position ENGAGéE.
Commencez à conduire la machine et abaissez les unités de coupe uniquement lorsqu'elles sont toutes au-dessus de la zone à tondre.
Commencez à tondre.
Lorsque vous arrivez au bout d'une passe de tonte, poussez brièvement le levier multifonction en arrière pour lever les unités de coupe avant de quitter la zone de tonte.
Exécutez un demi-tour en « goutte d'eau » pour aligner rapidement la machine pour la passe suivante.
Poussez le levier multifonction en avant pour abaisser automatiquement les unités de coupe sur la zone de tonte et continuer de tondre.
Le filtre à particules diesel (FAP) élimine la suie dans les gaz d'échappement
Le processus de régénération du FAP utilise la chaleur des gaz d'échappement du moteur qui est accrue par le catalyseur pour réduire la quantité de suie produite en cendre.
Pour maintenir le FAP propre, vous devez :
Faire tourner le moteur à plein régime lorsque cela est possible afin de favoriser le nettoyage automatique du FAP.
Utiliser l'huile moteur correcte.
Minimiser la durée de fonctionnement du moteur au ralenti.
Utilisez du gazole à très faible teneur en soufre.
Utilisez et faites l'entretien de votre machine en gardant à l'esprit le rôle du FAP. Le moteur soumis à une charge produit généralement une température des gaz d'échappement adéquate pour la régénération du FAP.
Important: Minimisez la durée de fonctionnement du moteur au ralenti pour aider à réduire l'accumulation de suie dans le FAP.
La température des gaz d'échappement est élevée (approximativement 600 °C pendant la régénération du FAP. Les gaz d'échappement chauds peuvent vous brûler ou brûler d'autres personnes.
Ne faites pas tourner le moteur dans un local fermé.
Assurez-vous qu'aucun matériau inflammable ne se trouve à proximité du système d'échappement.
Assurez-vous que les gaz d'échappement chauds ne sont pas en contact avec des surfaces qui pourraient être endommagées par la chaleur.
Ne touchez pas les composants du système d'échappement quand il est chaud.
Ne vous tenez pas tout près du tuyau d'échappement de la machine.
| Icône | Définition |
![]() | • Icône de régénération en stationnement ou d'urgence – régénération nécessaire. |
| • Effectuer immédiatement la régénération. | |
![]() | • Une régénération est confirmée et la demande est en cours de traitement. |
![]() | • Une régénération est en cours et la température des gaz d'échappement est élevée. |
![]() | • Défaillance du système de détection de NOx ; un entretien de la machine est nécessaire. |
| Type de régénération | Conditions de régénération du FAP | Description du fonctionnement du FAP |
|---|---|---|
| Passive | Se produit pendant le fonctionnement normal de la machine à haut régime moteur ou haute charge du moteur. | • L'InfoCenter n'affiche pas d'icône pour indiquer la régénération passive. |
| • Durant la régénération passive, le FAP traite les gaz d'échappement à haute température, en oxydant les émissions nocives et en brûlant la suie en cendre. | ||
| Assistée | Se produit car le régime moteur est bas, la charge du moteur est basse ou parce que le calculateur a détecté que le FAP est colmaté par de la suie. | • L'InfoCenter n'affiche pas d'icône pour indiquer la régénération assistée. |
| • Durant la régénération assistée, le calculateur moteur ajuste les réglages du moteur pour augmenter la température d'échappement. | ||
| Commandée | Se produit toutes les 100 heures | • Quand l'icône de haute température
des gaz d'échappement est affiché dans l'InfoCenter, une
régénération est en cours. |
| Se produit également si le fonctionnement normal du moteur excède l'accumulation de suie autorisée dans le filtre. | ||
| • Pendant la régénération commandée, le calculateur moteur maintient un régime moteur élevé pour assurer la régénération du filtre. |
| Type de régénération | Conditions de régénération du FAP | Description du fonctionnement du FAP |
|---|---|---|
| En stationnement | Se produit parce que le calculateur détermine que le nettoyage automatique du FAP a été insuffisant. | • Quand l'icône de
régénération commandée-de secours/en stationnement
ou d'urgence s'affiche, une régénération
est demandée. |
| Se produit également quand vous lancez une une régénération en stationnement. | ||
| Peut se produire lorsque l'interdiction de régénération a été déclenchée et a désactivé le nettoyage automatique du FAP. | • Effectuez une régénération en stationnement aussitôt que possible pour ne pas avoir à effectuer une régénération d'urgence. | |
| Peut se produire si vous avez utilisé le mauvais type de carburant ou d'huile moteur. | • L'exécution d'une régénération en stationnement demande 30 à 60 minutes. | |
| • Le réservoir de carburant doit être au moins au quart plein. | ||
| • Vous devez garer la machine pour effectuer une régénération en stationnement. | ||
| D'urgence | Se produit lorsque vous avez ignoré une demande de régénération en stationnement, ce qui a entraîné un grave colmatage du FAP. | • Quand l'icône de régénération
commandée-de secours/en stationnement ou d'urgence s'affiche, une régénération
d'urgence est demandée. |
| • L'exécution d'une régénération d'urgence peut demander jusqu'à 3 heures. | ||
| • Le réservoir de carburant doit être au moins à moitié plein. | ||
| • Vous devez garer la machine pour effectuer la régénération d'urgence. |
Dans le MENU PRINCIPAL, naviguez jusqu'à l'option ENTRETIEN et appuyez sur le bouton de sélection.
Dans le menu ENTRETIEN, naviguez jusqu'à l'option DPF REGENERATION et appuyez sur le bouton de sélection.
Sélectionnez la fonction de régénération qui vous intéresse.

Ouvrez le menu DPF REGENERATION (régénération du FAP) et naviguez jusqu'à l'option LAST REGEN (dernière régénération).
Sélectionnez le champ LAST REGEN (dernière régénération).
Dans le champ LAST REGEN, entrez le nombre d'heures de fonctionnement du moteur depuis la dernière régénération commandée, en stationnement ou d'urgence.
Sélectionnez le bouton de retour en arrière pour revenir à l'écran DPF REGENERATION.

Une régénération commandée augmente la température des gaz d'échappement. Si vous travaillez près d'arbres, de broussailles, d'herbe haute ou autres plantes ou matériaux sensibles aux changements de température, vous pouvez utiliser l'option INHIBIT REGEN (interdiction de régénération) pour empêcher le calculateur moteur d'exécuter une régénération commandée.
Note: L'option INHIBIT REGEN est toujours utilisée si vous effectuez l'entretien de la machine dans un local fermé.
Note: Si vous programmez l'InfoCenter pour interdire la régénération, il affiche un avis toutes les 15 minutes tandis que le moteur demande une régénération commandée.
Important: Quand vous coupez puis redémarrez le moteur, l'option Inhibit Regen passe par défaut à OFF (désactivée).
Ouvrez le menu DPF REGENERATION (régénération du FAP) et naviguez jusqu'à l'option INHIBIT REGEN (interdiction de régénération).
Sélectionnez le champ INHIBIT REGEN (interdiction de régénération).
Changez le champ Inhibit Regen de OFF (désactivé) à ON (activé).
Assurez-que le réservoir de carburant de la machine contient suffisamment de carburant pour le type de régénération que vous allez effectuer :
Régénération en stationnement : vérifiez que le réservoir de carburant est au quart plein avant de procéder à la régénération en stationnement.
Régénération d'urgence : vérifiez que le réservoir de carburant est à moitié plein avant de procéder à la régénération d'urgence.
Conduisez la machine à l'extérieur à bonne distance des matériaux ou objets combustibles qui pourraient être endommagés par la chaleur.
Garez la machine sur une surface plane et horizontale, placez toutes les commandes en position POINT MORT, désengagez la PDF et abaissez les unités de coupe.
Serrez le frein de stationnement et attendez que le moteur atteigne le régime de ralenti.
Quand le calculateur moteur demande une régénération en stationnement, les indications des messages affichés sur l'InfoCenter.
Important: L'ordinateur de la machine annule la régénération du FAP si vous augmentez le régime moteur à partir du ralenti ou si vous desserrez le frein de stationnement.
Ouvrez le menu DPF REGENERATION et naviguez jusqu'à l'option PARKED REGEN (régénération en stationnement) ou RECOVERY REGEN (régénération d'urgence).
Sélectionnez l'option PARKED REGEN ou RECOVERY REGEN.
Note: Pour pouvoir lancer une régénération d'urgence, vous devez saisir le code PIN correct.
Sur l'écran REGEN PARAMETERS (paramètres de régén.), assurez-vous que le réservoir est au quart plein pour une régénération en stationnement ou à moitié plein pour une régénération d'urgence. Vérifiez que le frein de stationnement est serré et que le moteur tourne au ralenti. Appuyez sur le bouton de sélection pour continuer.
Sur l'écran INITIATE DPF REGEN (lancer régén. du FAP), sélectionnez le bouton Suivant pour continuer.
L'InfoCenter affiche le message INITIATE DPF REGEN (lancer régén. du FAP).
Note: Si nécessaire, appuyez sur l'icône d'annulation pour annuler le processus de régénération.
L'InfoCenter affiche un message indiquant la durée de la régénération.
L'InfoCenter affiche l'écran d'accueil
et l'icône de confirmation de régénération
s'affiche
.
Note: Pendant l'exécution de la régénération
du FAP, l'InfoCenter affiche l'icône de haute température
des gaz d'échappement
.
Quand le calculateur moteur achève une régénération en stationnement ou d'urgence, un avis s'affiche sur l'InfoCenter. Appuyez sur un bouton pour retourner à l'écran d'accueil.
Note: Si la régénération échoue, suivez l'avis affiché et appuyez sur n'importe quel bouton pour retourner à l'écran d'accueil.
Utilisez l'option PARKED REGEN CANCEL (annulation de régén. en stationnement) ou RECOVERY REGEN CANCEL (annulation de régén. d'urgence) pour annuler une régénération en stationnement ou d'urgence en cours d'exécution.
Ouvrez le menu DPF REGENERATION et naviguez jusqu'à l'option PARKED REGEN (régénération en stationnement) ou RECOVERY REGEN (régénération d'urgence).
Appuyez sur le bouton de sélection pour annuler une régénération en stationnement ou d'urgence.

Changez la direction de tonte pour minimiser les problèmes de finition causés en tondant toujours dans la même direction. Cette méthode est la plus efficace pour éviter la formation d'ondulations.
Reportez-vous au Guide de dépannage des problèmes de finition disponible sur www.Toro.com.
Pour obtenir la coupe professionnelle avec des bandes droites apparentes recherchées pour certaines applications, choisissez un arbre ou autre objet éloigné et dirigez-vous droit dessus.
Des déflecteurs à boulonner en place sont disponibles pour les unités de coupe : Les déflecteurs de mulching sont utiles quand vous tondez le gazon régulièrement afin de n'avoir pas à couper plus de 25 mm d'herbe à chaque fois. Si vous tondez lorsque l'herbe est trop haute et que les déflecteurs de mulching sont en place, l'aspect du gazon une fois coupé peut se détériorer et la puissance nécessaire la tonte augmente. Les déflecteurs sont aussi utiles pour déchiqueter les feuilles à l'automne.
Ne coupez pas plus de 25 mm environ ou un tiers de la hauteur de l'herbe. Si l'herbe est extrêmement drue et fournie, il peut être préférable d'augmenter la hauteur de coupe.
Au contraire d'une lame émoussée, une lame bien aiguisée assure une coupe nette, sans arracher l'herbe ni la déchiqueter. L'herbe arrachée ou déchiquetée brunit sur les bords, sa croissance ralentit et elle devient plus sensible aux maladies. Vérifiez que la lame est en bon état et que l'ailette est intacte ; voir Contrôle et affûtage de la lame.
Vérifiez que les chambres de coupe sont en bon état. Redressez les pièces faussées des chambres pour obtenir le jeu correct entre la pointe de la lame et la chambre. Vérifiez qu'aucun des rouleaux ou joints pivotants ne présente de jeu pour éviter d'endommager le gazon ou de compromettre la qualité de la finition.
Après la tonte, lavez soigneusement la machine au jet d'eau sans buse pour éviter qu'une pression d'eau excessive ne contamine et n'endommage les joints et les roulements. Enlevez soigneusement la terre et les débris d'herbe accumulés sur le radiateur et le refroidisseur d'huile. Après le nettoyage, vérifiez que la machine ne présente pas de fuites d'huile hydraulique, de dommages ou d'usure des composants hydrauliques et mécaniques, et vérifiez également l'affûtage des lames des unités de coupe.
Avant de quitter la position d'utilisation, coupez le moteur, enlevez la clé et attendez l'arrêt complet de tout mouvement. Laissez refroidir la machine avant de la régler, d'en faire l'entretien, de la nettoyer ou de la remiser.
Pour éviter les risques d'incendie, enlevez les débris d'herbe coupée et autres agglomérés sur les unités de coupe, les dispositifs d'entraînement, les silencieux, les grilles de refroidissement et le compartiment moteur. Nettoyez les coulées éventuelles d'huile ou de carburant.
Si les unités de coupe sont en position de transport, utilisez le système de blocage mécanique positif (le cas échéant) avant de laisser la machine sans surveillance.
Laissez refroidir le moteur avant de ranger la machine dans un local fermé.
Enlevez la clé et fermez l'arrivée de carburant (selon l'équipement) avant de remiser ou de transporter la machine.
Ne remisez jamais la machine ou les bidons de carburant à proximité d'une flamme nue, d'une source d'étincelles ou d'une veilleuse, telle celle d'un chauffe-eau ou d'autres appareils.
Révisez et nettoyez la ou les ceintures de sécurité au besoin.
Enlevez la clé et fermez l'arrivée de carburant (selon l'équipement) avant de remiser ou de transporter la machine.
Procédez avec prudence pour charger la machine sur une remorque ou un camion, ainsi que pour la décharger.
Utilisez des rampes d'une seule pièce pour charger la machine sur une remorque ou un camion.
Arrimez solidement la machine.
En cas d'urgence, vous pouvez pousser ou remorquer la machine en actionnant la vanne de dérivation de la pompe hydraulique à cylindrée variable.
Important: Ne poussez pas et ne remorquez pas la machine à plus de 3 à 4,8 km/h, au risque d'endommager les organes internes de la transmission.Les vannes de dérivation doivent être ouvertes et le frein doit être desserré chaque fois que vous poussez ou remorquez la machine.
Déverrouillez le socle du siège et basculez le siège sur le côté.
Localisez la vanne de dérivation sous le siège et au sommet de l'hydrostat (Figure 37).

Desserrez les vannes de 3 tours pour permettre la dérivation interne de l'huile.
Note: Il est alors possible de déplacer la machine lentement sans endommager la transmission.
Localisez le collecteur de desserrage du frein près de la roue avant droite et derrière le réservoir de liquide hydraulique (Figure 38).

Insérez le côté long d'un rochet ou d'un objet similaire, enfoncez et maintenez le bouton noir sur le collecteur, et pompez le collecteur à 3 reprises. Dès que vous sentez une résistance en pompant, cela signifie que le frein est desserré.
Important: Arrêtez de pomper le collecteur dès que cela devient difficile. Un pompage excessif du collecteur risque de causer des dommages.
Note: Une fois que la pression s'est accumulée dans le collecteur, le frein reste desserré pendant approximativement 60 minutes. Si nécessaire après 60 minutes, desserrez de nouveau le frein en pompant le collecteur.
Poussez ou remorquez la machine
Réglez le frein en tirant sur le bouton noir ou en démarrant le moteur.
Note: Le frein est automatiquement réinitialisé lorsque vous démarrez le moteur ; il n'est pas nécessaire de tirer sur le bouton noir.
Fermez les vannes de dérivation. Serrez les vannes à un couple de 7 à 11 N·m.
Important: Vérifiez que les vannes de dérivation sont fermées avant de démarrer le moteur de la machine. La transmission surchauffera si le moteur tourne alors que la vanne de dérivation est ouverte.
Note: Les côtés gauche et droit de la machine sont déterminés d'après la position d'utilisation normale.
Avant de quitter la position d'utilisation, effectuez la procédure suivante :
Garez la machine sur une surface plane et horizontale.
Désengagez la prise de force et abaissez les outils.
Serrez le frein de stationnement.
Coupez le moteur et retirez la clé.
Attendez l'arrêt complet de tout mouvement.
Portez une tenue adaptée, notamment une protection oculaire, un pantalon et des chaussures solides à semelle antidérapante. Gardez mains, pieds, vêtements, bijoux et cheveux longs à l'écart des pièces mobiles.
Si vous laissez la clé dans le commutateur d'allumage, quelqu'un pourrait mettre le moteur en marche accidentellement et vous blesser gravement, ainsi que toute personne à proximité. Retirez la clé du commutateur d'allumage avant tout entretien.
Laissez refroidir les composants de la machine avant d'effectuer toute opération d'entretien.
Si les unités de coupe sont en position de transport, utilisez le système de blocage mécanique positif (selon l'équipement) avant de laisser la machine sans surveillance.
Si possible, n'effectuez aucun entretien quand le moteur est en marche. Ne vous approchez pas des pièces mobiles.
Ne faites tourner le moteur que dans des lieux bien aérés. Les gaz d'échappement contiennent du monoxyde de carbone, qui est mortel en cas d'inhalation.
Soutenez la machine avec des chandelles chaque fois que vous devez travailler dessous.
Libérez la pression emmagasinée dans les composants avec précaution.
Maintenez toutes les pièces de la machine en bon état de marche et toutes les fixations bien serrées, surtout celles des lames.
Remplacez tous les autocollants usés ou endommagés.
Pour garantir le fonctionnement sûr et optimal de la machine, utilisez exclusivement des pièces de rechange d'origine Toro. Les pièces de rechange provenant d'autres constructeurs peuvent être dangereuses, et leur utilisation risque d'annuler la garantie de la machine.
| Périodicité d'entretien | Procédure d'entretien |
|---|---|
| Après la 1ère heure de fonctionnement |
|
| Après les 10 premières heures de fonctionnement |
|
| À chaque utilisation ou une fois par jour |
|
| Toutes les 50 heures |
|
| Toutes les 100 heures |
|
| Toutes les 200 heures |
|
| Toutes les 250 heures |
|
| Toutes les 400 heures |
|
| Toutes les 800 heures |
|
| Toutes les 1000 heures |
|
| Toutes les 2000 heures |
|
| Toutes les 3000 heures |
|
| Avant le remisage |
|
| Tous les 2 ans |
|
Important: Si vous effectuez l'entretien de la machine et que le moteur tourne avec un conduit d'extraction d'échappement, réglez l'interdiction de régénération à ON (activée) ; voir Réglage de l'interdiction de régénération.
Copiez cette page pour pouvoir vous en servir régulièrement.
| Entretiens à effectuer | Pour la semaine du : | ||||||
|---|---|---|---|---|---|---|---|
| Lun. | Mar. | Mer. | Jeu. | Ven. | Sam. | Dim. | |
| Vérifiez le fonctionnement du système de sécurité. | |||||||
| Vérifiez le fonctionnement des freins. | |||||||
| Contrôlez le niveau d'huile moteur et de carburant. | |||||||
| Vidangez le séparateur d'eau/de carburant. | |||||||
| Contrôlez l'indicateur de colmatage du filtre à air | |||||||
| Vérifiez la propreté du radiateur et de la grille. | |||||||
| Vérifiez les bruits anormaux en provenance du moteur.1 | |||||||
| Vérifiez les bruits de fonctionnement anormaux. | |||||||
| Contrôlez le niveau d'huile hydraulique. | |||||||
| Contrôlez l'indicateur du filtre hydraulique. 2 | |||||||
| Vérifiez l'état des flexibles hydrauliques. | |||||||
| Recherchez des fuites éventuelles. | |||||||
| Contrôlez la pression des pneus. | |||||||
| Vérifiez le fonctionnement des instruments. | |||||||
| Vérifiez le réglage de la hauteur de coupe. | |||||||
| Vérifiez l'état des lames. | |||||||
| Contrôlez la lubrification de tous les graisseurs 3 | |||||||
| Retouchez les peintures endommagées. | |||||||
|
1. Contrôlez la bougie de préchauffage et les injecteurs en cas de démarrage difficile, de fumée excessive ou de fonctionnement irrégulier du moteur. 2. Effectuez le contrôle quand le moteur est en marche et quand l'huile est à la température de fonctionnement 3. Immédiatement après chaque lavage, quelle que soit la fréquence d'entretien indiquée |
|||||||
| Contrôle effectué par : | ||
| Point contrôlé | Date | Information |
| 1 | ||
| 2 | ||
| 3 | ||
| 4 | ||
| 5 | ||
| 6 | ||
| 7 | ||
| 8 | ||
Note: Vous pouvez télécharger un exemplaire gratuit du schéma hydraulique ou électrique en vous rendant sur www.Toro.com et en cherchant votre machine sous le lien Manuels sur la page d'accueil.
| Périodicité d'entretien | Procédure d'entretien |
|---|---|
| À chaque utilisation ou une fois par jour |
|
Garez la machine sur une surface plane et horizontale.
Serrez le frein de stationnement.
Désengagement de la PDF
Placez le levier multifonction à la position TONTE.
Coupez le moteur et enlevez la clé.
Attendez l'arrêt complet de tout mouvement.
Laissez refroidir le moteur.
Faites légèrement pivoter le siège et sortez la béquille avant du cran dans la fente de blocage du support du siège.
Abaissez le siège avec précaution jusqu'à ce qu'il se verrouille fermement en place.
Note: Soutenez la machine avec des chandelles chaque fois que vous devez travailler dessous.
Utilisez les points de levage suivants :

Avant – supports de cric du tube d'essieu avant (Figure 40).
Arrière – tube d'essieu arrière.
| Périodicité d'entretien | Procédure d'entretien |
|---|---|
| Toutes les 50 heures |
|
Dans des conditions d'utilisation normales, utilisez de la graisse au lithium nº 2 pour graisser tous les roulements et bagues aux intervalles spécifiés. Lubrifiez les roulements et les bagues immédiatement après chaque lavage, quelle que soit la fréquence d'entretien indiquée.
Emplacements et nombre de graisseurs :
Joint de cardan d'arbre d'entraînement de pompe (3) – Figure 41

Vérins des bras de levage des unités de coupe (x 2) – Figure 42

Pivots des bras de levage (x 1) – Figure 42
Pivot de bâti porteur d'unité de coupe (x 1) – Figure 43

Axe de pivot des bras de levage (x1) – Figure 44

Pivot de direction d'essieu (1) – Figure 45

Rotules de vérin de direction (2) et essieu arrière (1) – Figure 46

Roulements d'axes de pivots des unités de coupe (2 par unité de coupe) – Figure 47
Note: Vous pouvez utiliser n'importe lequel des graisseurs, selon le plus accessible. Injectez la graisse dans le graisseur jusqu'à ce qu'elle commence à ressortir au bas du logement de l'axe (sous l'unité de coupe).

Roulements de rouleau arrière (2 par unité de coupe) – Figure 48

Note: Veillez à bien aligner les rainures de graissage de chaque support de rouleau sur l'orifice de graissage à chaque extrémité de l'arbre de rouleau. Pour faciliter l'alignement de la rainure et de l'orifice, l'arbre du rouleau comporte un repère à une extrémité.
Coupez le moteur et enlevez la clé avant de contrôler le niveau d'huile ou d'ajouter de l'huile dans le carter.
Ne modifiez pas le réglage du régulateur et ne faites pas tourner le moteur à un régime excessif.
| Périodicité d'entretien | Procédure d'entretien |
|---|---|
| Toutes les 400 heures |
|
Vérifiez que le système d'admission ne présente pas de fuites, de dommages ou de colliers de flexible desserrés. N'utilisez pas le filtre à air s'il est endommagé.
Faites l'entretien du filtre à air uniquement quand l'indicateur de colmatage indique que cela est nécessaire. Changer le filtre à air prématurément ne fait qu'accroître le risque de contamination du moteur par des impuretés quand le filtre est déposé.
Important: Veillez à monter le couvercle correctement en l'ajustant parfaitement sur son boîtier et en dirigeant la valve de sortie en caoutchouc vers le bas, entre les positions 5:00 et 7:00 heures vu de l'extrémité.


L'huile moteur Toro Premium est en vente chez votre distributeur Toro agréé avec l'indice de viscosité 15W-40 ou 10W-30.
Utilisez une huile moteur de qualité à basse teneur en cendre conforme ou supérieure aux spécifications suivantes :
Catégorie de service API CJ-4 ou mieux
Catégorie de service ACEA E6
Catégorie de service JASO DH-2
Important: L'utilisation d'une huile moteur d'une catégorie autre que la catégorie API CJ-4 ou mieux, ACEA E6 ou JASO DH-2, peut causer le colmatage du filtre à particules diesel ou endommager le moteur.
Utilisez une huile moteur ayant l'indice de viscosité suivant :
Huile préférée : SAE 15W-40 (au-dessus de -18 °C)
Autre huile possible : SAE 10W-30 ou 5W-30 (toutes températures)
| Périodicité d'entretien | Procédure d'entretien |
|---|---|
| À chaque utilisation ou une fois par jour |
|
Le moteur est expédié avec de l'huile dans le carter. Vérifiez toutefois le niveau d'huile avant et après le premier démarrage du moteur.
Important: Contrôlez l'huile moteur chaque jour. Si le niveau d'huile moteur dépasse le repère maximum sur la jauge, il se peut que l'huile soit diluée avec du carburant.Si le niveau d'huile moteur est au-dessus du repère maximum, vidangez l'huile.
Le meilleur moment pour vérifier le niveau d'huile moteur est en début de journée, quand le moteur est froid avant sa mise en marche. Si le moteur a déjà tourné, attendez au moins 10 minutes que l'huile retourne dans le carter avant de contrôler le niveau. Si le niveau d'huile est à la même hauteur ou en dessous du repère minimum sur la jauge, faites l'appoint pour l'amener au repère maximum. Ne remplissez pas le carter moteur excessivement.
Important: Maintenez le niveau d'huile moteur entre les repères maximum et minimum sur la jauge ; une panne de moteur peut se produire si le carter contient trop ou pas assez d'huile.
Garez la machine sur une surface plane et horizontale.
Contrôlez le niveau d'huile moteur (Figure 50).


Note: Si vous utilisez une huile différente, vidangez complètement le carter moteur avant de refaire le plein.
5,2 litres approximativement avec le filtre.
| Périodicité d'entretien | Procédure d'entretien |
|---|---|
| Toutes les 250 heures |
|
Démarrez le moteur et laissez-le tourner pendant 5 minutes pour réchauffer l’huile.
Avant de quitter le poste d'utilisation, garez la machine sur une surface plane et horizontale, coupez le moteur, enlevez la clé et attendez l'arrêt complet de toutes les pièces mobiles.
Vidangez l'huile moteur et remplacez le filtre à huile (Figure 51).


Faites l'appoint d'huile moteur.
Ce Manuel de l'utilisateur contient plus de précisions sur le carburant et le système de carburant que le Manuel du propriétaire du moteur Yanmar®, qui sert de référence générale pour tout ce qui concerne le carburant et l'entretien du système de carburant.
Il est indispensable de bien comprendre que l'entretien du circuit d'alimentation, le stockage du carburant et la qualité du carburant exigent votre attention afin d'éviter les temps d'arrêt et des réparations importantes du moteur.
Le système de carburant présente des tolérances extrêmement serrées en raison des exigences en matière d'émissions et de contrôle. La qualité et la propreté du gazole sont plus importantes pour assurer la longévité du système d'injection à rampe commune haute pression (HPCR) utilisée sur les moteurs diesel.
Important: La présence d'eau ou de carburant dans le système de carburant endommagera le moteur ! Ne partez pas du principe que le nouveau carburant est propre. Assurez-vous que le carburant provient d'un fournisseur réputé, stockez le carburant correctement et utilisez votre stocke de carburant dans une délai de 180 jours.
Important: Si vous ne suivez pas les procédures de remplacement du filtre à carburant, d'entretien du système de carburant et de stockage du carburant, le système de carburant risque de tomber en panne prématurément. Effectuez tous les entretiens du système de carburant aux intervalles spécifiés ou chaque fois que le carburant est contaminé ou de mauvaise qualité.
Un stockage approprié du carburant est essentiel pour le moteur. L'entretien correct des réservoirs de stockage du carburant est souvent négligé et cela peut entraîner la contamination du carburant fourni à la machine.
Achetez uniquement la quantité de carburant que vous comptez utiliser dans un délai de 6 mois. N'utilisez pas de carburant stocké depuis plus de 6 mois. Cela contribue à éliminer l'eau et autres contaminants présents dans le carburant.
Si vous n'éliminez pas l'eau dans le réservoir de stockage ou le réservoir de carburant de la machine, cela peut entraîner la formation de rouille ou la contamination du réservoir de stockage et des composants du système de carburant. La boue dans le réservoir causée par la moisissure, les bactéries ou les champignons restreint le débris et colmate le filtre et les injecteurs de carburant.
Inspectez le réservoir de stockage de carburant et le réservoir de carburant de la machine régulièrement pour contrôler la qualité du carburant dans le réservoir.
Assurez-vous que le carburant provient d'un fournisseur réputé.
Si vous trouvez de l'eau ou des contaminants dans le réservoir de stockage ou le réservoir de carburant de la machine, travaillez avec votre fournisseur de carburant pour remédier au problème et effectuer toutes les opérations d'entretien du système de carburant.
Ne stockez pas le gazole dans des réservoirs ou des bidons fabriqués avec des composants zingués.

| Périodicité d'entretien | Procédure d'entretien |
|---|---|
| À chaque utilisation ou une fois par jour |
|
Faites l'entretien du séparateur carburant-eau comme montré à la Figure 53.

Amorcez le filtre et les conduites à la pression de la pompe haute pression ; voir Amorçage du circuit d'alimentation.
| Périodicité d'entretien | Procédure d'entretien |
|---|---|
| Toutes les 400 heures |
|
Remplacez le filtre comme montré à la Figure 54.

Amorcez le filtre et les conduites à la pression de la pompe haute pression ; voir Amorçage du circuit d'alimentation.
| Périodicité d'entretien | Procédure d'entretien |
|---|---|
| Toutes les 400 heures |
|
Nettoyez la surface autour de la tête du filtre à carburant (Figure 55).

Déposez le filtre et nettoyez la surface de montage de la tête du filtre (Figure 55).
Note: Nettoyez la tête du filtre avec un chiffon propre.
Lubrifiez le joint du filtre avec de l'huile moteur propre ; voir le manuel du propriétaire du moteur pour plus de précisions.
Montez la cartouche sèche à la main jusqu'à ce que le joint rejoigne la tête du filtre, puis serrez la cartouche d'un demi tour supplémentaire.
Amorcez le filtre et les conduites à la pression de la pompe haute pression ; voir Amorçage du circuit d'alimentation.
Démarrez le moteur et vérifiez à nouveau l'absence de fuites autour de la tête du filtre.
| Périodicité d'entretien | Procédure d'entretien |
|---|---|
| Toutes les 800 heures |
|
| Avant le remisage |
|
En complément des entretiens périodiques énoncés, vidangez et nettoyez le réservoir de carburant si le système d'alimentation est contaminé ou si vous prévoyez de remiser la machine pendant une période prolongée. Rincez le réservoir avec du carburant neuf.
Amorcez le filtre et les conduites à la pression de la pompe haute pression ; voir Amorçage du circuit d'alimentation.
| Périodicité d'entretien | Procédure d'entretien |
|---|---|
| Toutes les 400 heures |
|
Vérifiez que les conduites et les raccords ne sont pas détériorés, endommagés ou desserrés.
Remplacez les colliers ou flexibles détériorés.
Note: Amorcez le circuit d'alimentation si vous remplacez des conduites de carburant ; voir Amorçage du circuit d'alimentation.
| Périodicité d'entretien | Procédure d'entretien |
|---|---|
| Toutes les 3000 heures |
|
Consultez la section Moteur du Manuel d'entretien pour savoir comment démonter et remonter le catalyseur d'oxydation diesel et le filtre à suie du FAP.
Contactez votre concessionnaire Toro agréé pour vous procurer des pièces de rechange ou faire l'entretien du catalyseur d'oxydation diesel et du filtre à suie.
Demandez à votre concessionnaire Toro agréé de réinitialiser l'ECU du moteur après la pose d'un FAP propre.
Amorcez le circuit d'alimentation dans les cas suivants :
Après le remplacement du filtre à carburant.
Après la vidange du séparateur d'eau après chaque utilisation ou chaque jour.
Après une panne de carburant.
Après avoir remplacé un flexible de carburant ou ouvert le circuit d'alimentation pour quelque raison que ce soit.
Pour amorcer le circuit d'alimentation, procédez comme suit :
Important: Ne lancez pas le moteur au moyen du démarreur quand vous amorcez le circuit d'alimentation.
Vérifiez que le réservoir de carburant n'est pas vide.
Effectuez la procédure suivante pour amorcer le filtre et les conduites reliées à la pompe haute pression afin d'éviter d'user ou d'endommager la pompe :
Tournez la clé à la position CONTACT pendant 15 à 20 secondes.
Tournez la clé à la position CONTACT pendant 30 à 40 secondes.
Note: Cela permet la mise hors tension de l'ECU.
Tournez la clé à la position CONTACT pendant 15 à 20 secondes.
Vérifiez l'absence de fuites autour du filtre et des flexibles.
Démarrez le moteur et recherchez des fuites éventuelles.
Débranchez la batterie avant de réparer la machine. Débranchez toujours la borne négative avant la borne positive. Rebranchez la borne positive avant la borne négative.
Chargez la batterie dans un endroit dégagé et bien aéré, à l'écart des flammes ou sources d'étincelles. Débranchez le chargeur du secteur avant de brancher ou de débrancher la batterie. Portez des vêtements de protection et utilisez des outils isolés.
| Périodicité d'entretien | Procédure d'entretien |
|---|---|
| Toutes les 50 heures |
|
Effectuez les procédures suivantes pour l'entretien de la batterie :
Contrôlez l'état la batterie.
Nettoyez la batterie (au besoin).
Note: Pour nettoyer la batterie, lavez le bac avec un mélange d'eau et de bicarbonate de soude. Rincez-le à l'eau claire.
Pour prévenir la corrosion, enduisez les bornes de la batterie et les cosses des câbles de graisse Grafo 112X (Skin-Over) ou de vaseline.
Important: Avant d'effectuer des soudures sur la machine, débranchez le câble négatif de la batterie pour éviter d'endommager le système électrique. Vous devez aussi débrancher le moteur, l'InfoCenter et les contrôleurs de la machine avant d'effectuer des travaux de soudure sur la machine.
La boîte à fusibles (Figure 57) est située sous le siège. Voir Figure 59 pour une description de chaque fusible.
Déverrouillez le socle du siège, basculez-le sur le côté et soutenez-le avec les béquilles.

Remplacez le fusible défectueux par un fusible de même type et de même intensité.

Redressez le siège et son socle, et verrouillez le socle.


La batterie en charge produit des gaz qui peuvent exploser.
Ne fumez pas et n'approchez pas d'étincelles ni de flammes de la batterie.
Important: Maintenez la batterie chargée au maximum. Cela est particulièrement important pour prévenir la dégradation de la batterie si la température tombe en dessous de 0 °C.
Nettoyez l'extérieur du bac et les bornes de la batterie.
Note: Branchez les fils du chargeur aux bornes de la batterie avant de le brancher à la source électrique.
Examinez la batterie et identifiez les bornes positive et négative.
Connectez le câble positif du chargeur de batterie à la borne positive de la batterie (Figure 60).

Branchez le câble négatif du chargeur de batterie à la borne négative de la batterie (Figure 60).
Branchez le chargeur de batterie à la source électrique et chargez la batterie.
Important: Ne chargez pas la batterie excessivement.
Quand la batterie est chargée au maximum, débranchez le chargeur de la source électrique, puis débranchez les fils du chargeur des bornes de la batterie (Figure 60).
| Périodicité d'entretien | Procédure d'entretien |
|---|---|
| Après la 1ère heure de fonctionnement |
|
| Après les 10 premières heures de fonctionnement |
|
| Toutes les 250 heures |
|
Serrez les écrous de moyeu d'essieu avant à un couple de 407 à 542 N·m.
Si votre machine est équipée de la fonction CrossTrax®, serrez les écrous de moyeu d'essieu arrière à un couple de 366 à 447 N·m.

| Périodicité d'entretien | Procédure d'entretien |
|---|---|
| Toutes les 800 heures |
|
Tournez le volant pour placer les roues arrière en position ligne droite.
Desserrez l'écrou de blocage à chaque extrémité de la biellette (Figure 62).
Note: L'extrémité de la biellette avec la rainure extérieure est à filetage à gauche.

À l'aide de la fente pour clé, tournez la biellette.
Mesurez l'entraxe à l'avant et à l'arrière des roues arrière, à hauteur d'essieu.
Note: La distance à l'avant des roues arrière doit différer de moins de 6 mm par rapport à la distance mesurée à l'arrière des roues.
Répétez la procédure si nécessaire.
L'ingestion de liquide de refroidissement peut être toxique ; rangez-le hors de la portée des enfants et des animaux domestiques.
Les projections de liquide de refroidissement brûlant sous pression ou le contact avec le radiateur brûlant et les pièces qui l'entourent peuvent causer des brûlures graves.
Laissez toujours refroidir le moteur pendant au moins 15 minutes avant d'enlever le bouchon du radiateur.
Servez-vous d'un chiffon pour ouvrir le bouchon du radiateur et desserrez-le lentement pour laisser la vapeur s'échapper.
N'utilisez jamais la machine sans les capots de protection.
N'approchez pas les doigts, les mains ou les vêtements du ventilateur et de la courroie d'entraînement en rotation.
Le réservoir de liquide de refroidissement est rempli à l'usine d'un mélange 50/50 d'eau et de liquide de refroidissement longue durée à base d'éthylène glycol.
Important: Utilisez uniquement des liquides de refroidissement en vente dans le commerce et répondant aux spécifications énoncées dans le Tableau des normes des liquides de refroidissement longue durée.N'utilisez pas de liquide de refroidissement ordinaire (vert) issu de la technologie des acides inorganiques (IAT) dans la machine. Ne mélangez pas les liquides de refroidissement ordinaires et longue durée.
|
Type à l'éthylène-glycol |
Type avec inhibiteur de corrosion |
|
Antigel longue durée |
Technologie des acides organiques (OAT) |
|
Important: Ne vous fiez pas à la couleur du liquide de refroidissement pour différencier les types de liquides de refroidissement ordinaire (IAT) et longue durée.Les fabricants de liquides de refroidissement peuvent teinter les liquides de refroidissement longue durée dans les couleurs suivantes : rouge, rose, orange, jaune, bleu, vert-bleu, violet et vert. Utilisez un liquide de refroidissement répondant aux spécifications énoncées dans le Tableau des normes des liquides de refroidissement longue durée. |
|
|
ATSM International |
SAE International |
|
D3306 et D4985 |
J1034, J814 et 1941 |
Important: Le mélange concentré doit être constitué à part égale de liquide de refroidissement et d'eau.
De préférence : si le liquide de refroidissement est mélangé à partir de concentré, le mélanger avec de l'eau distillée.
Option privilégiée : en l'absence d'eau distillée, utiliser un liquide de refroidissement prémélangé au lieu de concentré.
Minimum requis : en l'absence d'eau distillée et de liquide de refroidissement prémélangé, mélanger du liquide concentré avec de l'eau potable propre.
| Périodicité d'entretien | Procédure d'entretien |
|---|---|
| À chaque utilisation ou une fois par jour |
|
Le circuit de refroidissement contient un mélange 50/50 d'eau et d'antigel à l'éthylène glycol permanent. Le circuit de refroidissement a une capacité de 9,5 litres.
Vérifiez le niveau du liquide de refroidissement dans le vase d'expansion (Figure 63).
Note: Il doit se situer entre les repères qui figurent sur le côté du réservoir.

Si le niveau du liquide de refroidissement est trop bas, enlevez le bouchon du vase d'expansion et faites l'appoint. Ne remplissez pas excessivement.
Revissez le bouchon du vase d'expansion.
| Périodicité d'entretien | Procédure d'entretien |
|---|---|
| À chaque utilisation ou une fois par jour |
|
| Toutes les 100 heures |
|
| Tous les 2 ans |
|
Nettoyez chaque jour les débris accumulés sur la grille et le radiateur/refroidisseur d'huile (nettoyez-les plus fréquemment si vous travaillez dans un environnement très sale).
Tournez la clé de contact à la position ARRêT et retirez-la.
Nettoyez méticuleusement la zone du moteur.
Déverrouillez l'attache et ouvrez la grille arrière (Figure 64).

Nettoyez soigneusement les deux côtés du radiateur et du refroidisseur d'huile (Figure 65) à l'air comprimé.

Fermez et verrouillez la grille.
| Périodicité d'entretien | Procédure d'entretien |
|---|---|
| Après les 10 premières heures de fonctionnement |
|
| Toutes les 100 heures |
|
Note: Pour que la tension soit correcte, la courroie doit présenter une flèche de 10 mm quand une force de 4,5 kg est exercée à mi-chemin entre les poulies.
Si vous n'obtenez pas une flèche de 10 mm, desserrez les boulons de fixation de l'alternateur (Figure 66).

Augmentez ou diminuez la tension de la courroie et resserrez les boulons.
Contrôlez de nouveau la flèche de la courroie pour vérifier si la tension est correcte.
Consultez immédiatement un médecin si du liquide est injecté sous la peau. Toute injection de liquide hydraulique sous la peau doit être éliminée dans les quelques heures qui suivent par une intervention chirurgicale réalisée par un médecin.
Vérifiez l'état de tous les flexibles et conduits de liquide hydraulique, ainsi que le serrage de tous les branchements et raccords avant de mettre le système hydraulique sous pression.
N'approchez pas les mains ni aucune autre partie du corps des fuites en trou d'épingle ou des gicleurs d'où sort du liquide hydraulique sous haute pression.
Utilisez un morceau de papier ou de carton pour détecter les fuites.
Évacuez avec précaution toute la pression du système hydraulique avant toute intervention sur le système.
Le réservoir est rempli en usine de liquide hydraulique de haute qualité. Contrôlez néanmoins le niveau du liquide hydraulique avant le tout premier démarrage du moteur, puis tous les jours ; voir Contrôle du niveau de liquide hydraulique.
Liquide hydraulique recommandé : liquide hydraulique longue durée « Toro PX Extended Life » ; disponible en bidons de 19 litres ou barils de 208 litres.
Note: Si vous utilisez le liquide de remplacement recommandé dans la machine vous n'aurez pas besoin de vidanger le liquide et de remplacer le filtre aussi souvent.
Autres liquides hydrauliques possibles : si vous ne disposez pas de liquide hydraulique longue durée Toro PX, vous pouvez utiliser d'autres liquides hydrauliques classiques à base de pétrole à condition qu'ils soient conformes aux caractéristiques physiques et aux spécifications de l'industrie suivantes. N'utilisez pas de liquide synthétique. Consultez votre distributeur de lubrifiants pour identifier un produit qui convient.
Note: Toro décline toute responsabilité en cas de dommage causé par l'utilisation d'huiles de remplacement inadéquates. Utilisez uniquement des produits provenant de fabricants réputés qui répondent de leur recommandation.
| Propriétés physiques : | ||
| Viscosité, ASTM D445 | 44 à 48 cSt à 40 °C | |
| Indice de viscosité, ASTM D2270 | 140 ou plus | |
| Point d'écoulement, ASTM D97 | -37 à -45 °C | |
| Spécifications de l'industrie : | Eaton Vickers 694 (I-286-S, M-2950-S/35VQ25 ou M-2952-S) | |
Note: De nombreuses huiles hydrauliques sont presque incolores, ce qui rend difficile la détection des fuites. Un additif colorant rouge pour liquide hydraulique est disponible en bouteilles de 20 ml. Une bouteille suffit pour 15 à 22 litres de liquide hydraulique. Vous pouvez commander ces bouteilles chez les concessionnaires Toro agréés (réf. 44-2500).
Important: Le liquide hydraulique biodégradable synthétique « Toro Premium Synthetic Bio Hyd Fluid » est le seul liquide biodégradable synthétique agréé par Toro. Il est compatible avec les élastomères utilisés dans les systèmes hydrauliques Toro et convient pour de larges plages de températures. Ce liquide est compatible avec les huiles minérales traditionnelles ; toutefois vous devez rincer soigneusement le système hydraulique pour le débarrasser de l'ancien liquide afin d'optimiser la biodégradabilité et les performances. Cette huile est disponible en bidons de 19 litres ou en barils de 208 litres chez votre distributeur Toro agréé.
| Périodicité d'entretien | Procédure d'entretien |
|---|---|
| À chaque utilisation ou une fois par jour |
|
| Toutes les 200 heures |
|
Placez la machine sur une surface plane et horizontale, abaissez les unités de coupe et tournez la clé de contact à la position ARRêT.
Contrôlez le niveau du liquide hydraulique (Figure 67).


| Périodicité d'entretien | Procédure d'entretien |
|---|---|
| Toutes les 800 heures |
|
| Toutes les 2000 heures |
|
| Tous les 2 ans |
|
Capacité du réservoir de liquide hydraulique : 57 litres
Si le liquide est contaminé, demandez à votre concessionnaire Toro de rincer le système. Le liquide contaminé a un aspect laiteux ou noir comparé à du liquide propre.
Tournez la clé à la position ARRêT et soulevez le capot.
Placez un grand bac de vidange sous le raccord monté au bas du réservoir de liquide hydraulique (Figure 68).

Débranchez le flexible au bas du raccord et laissez couler le liquide dans le bac de vidange.
Rebranchez le flexible quand la vidange est terminée.
Remplissez le réservoir de liquide hydraulique (Figure 67).
Important: Utilisez uniquement les liquides hydrauliques spécifiés. Tout autre liquide est susceptible d'endommager le système.
Remettez le bouchon du réservoir.
Tournez la clé à la position CONTACT pour démarrer le moteur et actionnez toutes les commandes hydrauliques pour faire circuler le liquide hydraulique dans tout le circuit, puis recherchez d'éventuelles fuites.
Tournez la clé de contact à la position ARRêT.
Vérifiez le niveau du liquide hydraulique et faites l'appoint pour le faire monter jusqu'au repère maximum sur la jauge.
Important: Ne remplissez pas excessivement.
| Périodicité d'entretien | Procédure d'entretien |
|---|---|
| Toutes les 800 heures |
|
| Toutes les 1000 heures |
|
Le système hydraulique est muni d'un indicateur de colmatage (Figure 69). Observez l'indicateur quand le moteur tourne ; il doit se trouver dans la zone verte. Lorsque l'indicateur est dans le rouge, remplacez les filtres hydrauliques.

Important: L'utilisation de tout autre filtre peut annuler la garantie de certaines pièces.
Placez la machine sur une surface plane et horizontale, abaissez les plateaux de coupe, tournez la clé de contact à la position ARRêT, serrez le frein de stationnement et enlevez la clé.
Remplacez les deux filtres hydrauliques (Figure 70).


Tournez la clé à la position CONTACT, démarrez le moteur et laissez-le tourner environ deux minutes pour purger l'air du circuit.
Tournez la clé de contact à la position ARRêT et recherchez d'éventuelles fuites.
| Périodicité d'entretien | Procédure d'entretien |
|---|---|
| À chaque utilisation ou une fois par jour |
|
| Tous les 2 ans |
|
Effectuez les réparations nécessaires avant d'utiliser la machine.
Les fuites de liquide hydraulique sous pression peuvent transpercer la peau et causer des blessures graves.
Consultez immédiatement un médecin en cas d'injection de liquide sous la peau.
Vérifiez l'état des flexibles et conduites hydrauliques, ainsi que le serrage de tous les raccords et branchements avant de mettre le système hydraulique sous pression.
N'approchez pas les mains ni aucune autre partie du corps des fuites en trou d'épingle ou des gicleurs d'où sort du liquide hydraulique sous haute pression.
Utilisez un morceau de papier ou de carton pour détecter les fuites.
Évacuez avec précaution toute la pression du système hydraulique avant toute intervention sur le système.
Utilisez les prises d'essai du système hydraulique pour contrôler la pression dans les circuits hydrauliques. Pour tout renseignement complémentaire, adressez-vous à votre concessionnaire Toro agréé.
Reportez-vous à la liste ci-dessous pour identifier les différentes fonctions des électrovannes du collecteur hydraulique. Chacune doit être excitée pour que la fonction puisse être activée.
| Électrovanne | Fonction |
|---|---|
| PRV2 | Circuit de plateau de coupe avant |
| PRV1 | Circuit de plateau de coupe avant |
| PRV | Levage/abaissement des plateaux de coupe |
| S1 | Abaissement des plateaux de coupe |
| S2 | Abaissement des plateaux de coupe |
Placez la machine sur une surface plane et horizontale, abaissez les unités de coupe, tournez la clé de contact à la position ARRêT et serrez le frein de stationnement.
Débranchez et déposez le moteur hydraulique de l'unité de coupe (Figure 71). Couvrez le dessus de l'axe pour éviter toute contamination.

Retirez la goupille à anneau qui fixe le bâti porteur du plateau à l'axe de pivot du bras de levage (Figure 72).

Éloignez l'unité de coupe du groupe de déplacement.
Placez la machine sur une surface plane et horizontale et tournez la clé de contact à la position ARRêT.
Placez l'unité de coupe devant le groupe de déplacement.
Poussez le bâti porteur du plateau de coupe sur la tige de pivot et fixez-le avec la goupille à anneau (Figure 72).
Montez le moteur hydraulique sur le plateau de coupe (Figure 71). Vérifiez que le joint torique est en place et en bon état.
Graissez l'axe.
Vérifiez si le galet avant est usé, oscille excessivement ou se coince. Réparez ou remplacez le galet ou les pièces responsables si vous constatez un de ces défauts.
Retirez le boulon de fixation du galet (Figure 73).
Introduisez un pointeau par l'extrémité du logement de rouleau et chassez le roulement opposé à coups de marteau alternés du côté opposé de la bague intérieure du roulement. Un rebord de 1,5 mm de la bague intérieure devrait être exposé.

Sortez le second roulement à la presse.
Vérifiez l'état du logement de roulements, des roulements et de la douille d'écartement (Figure 73) Remplacez tout composant endommagé et procédez au remontage.
Enfoncez le premier roulement dans le logement à la presse (Figure 73). Exercez la pression uniquement sur la bague extérieure ou uniformément sur les bagues intérieure et extérieure.
Insérez l'entretoise (Figure 73).
Enfoncez le second roulement dans le logement à la presse (Figure 73). Exercez une pression uniforme sur les bagues intérieure et extérieure jusqu'à ce que la bague intérieure rencontre la douille d'écartement.
Montez le galet dans le cadre de l'unité de coupe.
Vérifiez que le galet ne se trouve pas à plus de 1,5 mm de ses supports sur le cadre de l'unité de coupe. Si l'espace est supérieur à 1,5 mm, ajoutez le nombre nécessaire de rondelles de 5/8" de diamètre pour rattraper le jeu.
Important: Si le galet est monté avec un espace supérieur à 1,5 mm, cela crée une charge latérale sur le roulement qui peut alors subir une défaillance prématurée.
Serrez le boulon de fixation à 108 N·m.
Contrôlez l'état et l'usure des lames périodiquement.
Examinez toujours les lames avec prudence. Manipulez les lames avec des gants ou en les enveloppant dans un chiffon, et toujours avec prudence. Limitez-vous à remplacer ou aiguiser les lames ; n'essayez jamais de les redresser ou de les souder.
Attention, sur les machines à plusieurs lames, la rotation d'une lame peut entraîner celle des autres.
A sa sortie d'usine, le plateau de coupe rotatif est préréglé à une hauteur de coupe de 5 cm et une inclinaison de lame de 7,9 mm. Les hauteurs gauche et droite sont aussi préréglées à une distance maximale de ±0,7 mm l'une de l'autre.
Le plateau de coupe est conçu pour supporter les impacts sur la lame sans déformer la chambre. Si la lame heurte un objet fixe, vérifiez qu'elle n'est pas endommagée et que son plan est correct.
Déposez le moteur hydraulique du plateau de coupe et séparez le plateau de coupe du tracteur.
A l'aide d'un palan (ou d'au moins une autre personne), placez le plateau de coupe sur une surface plane.
Marquez une extrémité de la lame à la peinture ou au marqueur. Cette extrémité de la lame vous servira à contrôler toutes les hauteurs.
Positionnez le tranchant de l'extrémité marquée à la position 12 heures (droit devant dans la direction de la tonte) (Figure 74) et mesurez la hauteur de la surface plane au tranchant de la lame.

Tournez l'extrémité marquée de la lame aux positions 3 et 9 heures (Figure 74) et mesurez les hauteurs respectives.
Comparez la hauteur mesurée à la position 12 heures au réglage de hauteur de coupe. Elle doit être correcte à plus ou moins 0,7 mm près. Les hauteurs aux positions 3 et 9 heures doivent être supérieures de 1,6 ± 6 mm à la hauteur à la position 12 heures, et ne doivent pas différer de plus de 1,6 à 6 mm l'une de l'autre.
Note: Si une ou plusieurs de ces mesures sont hors spécifications, passez à Réglage du plan de lame.
Commencez par le réglage avant (changez un support à la fois).
Retirez le support de hauteur de coupe (avant, gauche ou droit) du cadre du plateau de coupe (Figure 75).
Placez des cales de 1,5 mm et/ou une cale de 0,7 mm entre le cadre et le support du plateau pour obtenir la hauteur de coupe voulue (Figure 75).

Montez le support de hauteur de coupe sur le cadre du plateau en plaçant les cales restantes sous le support.
Fixez la vis à tête creuse/l'entretoise et l'écrou à embase.
Note: La vis à tête creuse et l'entretoise sont fixées ensemble avec du frein-filet pour éviter que l'entretoise ne tombe dans le cadre du plateau de coupe.
Vérifiez la hauteur à 12 heures et corrigez-la si nécessaire.
Déterminez si un seul ou les deux supports (droit et gauche) de hauteur de coupe ont besoin d'être réglés. Si le côté à la position 3 heures ou 9 heures est plus haut de 1,6 à 6 mm que la nouvelle hauteur avant, aucun réglage n'est nécessaire pour ce côté. Réglez l'autre côté de 1,6 à 6 mm maximum du côté correct.
Réglez les supports de hauteur de coupe droit et/ou gauche en répétant les opérations 1 à 3.
Serrez les boulons de carrosserie et les écrous à embase.
Vérifiez une nouvelle fois la hauteur aux positions 12, 3 et 9 heures.
Remplacez toute lame si elle heurte un obstacle, si elle est déséquilibrée ou faussée. Pour garantir le meilleur rendement et le maximum de sécurité, utilisez toujours des lames d'origine Toro.
Garez la machine sur une surface plane et horizontale, levez l'unité de coupe à la position de transport, serrez le frein de stationnement, coupez le moteur et enlevez la clé.
Note: Calez ou bloquez l'unité de coupe pour l'empêcher de retomber accidentellement.
Saisissez la lame par son extrémité avec un chiffon ou un gant épais.
Enlevez le boulon, la coupelle de protection et la lame de l'axe de pivot (Figure 76).

Montez la lame, la coupelle de protection et le boulon de la lame, puis serrez le boulon à un couple de 115 à 149 N·m.
Important: Pour obtenir une coupe correcte, l'ailette de la lame doit être dirigée vers l'intérieur de l'unité de coupe.
Note: 7Après avoir heurté un obstacle, serrez tous les écrous des poulies d'axe à un couple de 115 à 149 N·m.
Levez le plateau de coupe à la position de transport, tournez la clé de contact à la position ARRêT et serrez le frein de stationnement.
Calez le plateau de coupe pour l'empêcher de retomber accidentellement.
Examinez attentivement les tranchants de la lame, particulièrement au point de rencontre de la partie plane et de l'ailette (Figure 77).
Note: Le sable et les matières abrasives peuvent éroder le métal à cet endroit, c'est pourquoi il est important de contrôler l'état de la lame avant d'utiliser la machine.
Remplacez la lame si elle est usée (Figure 77) ; voir Contrôle du plan de lame.
Si la lame est trop usée, une entaille se forme entre l'ailette et la partie plane (Figure 77). La lame peut alors se briser et un morceau être projeté du dessous de la machine, vous blessant gravement ou une personne à proximité.
Contrôlez l'état et l'usure des lames périodiquement.
Remplacez toujours les lames usées ou endommagées.

Examinez les tranchants de toutes les lames. aiguisez-les s'ils sont émoussés ou ébréchés. N'aiguisez que le haut du tranchant et conservez l'angle de coupe d'origine pour obtenir une coupe nette (Figure 78).
Si elles sont émoussées ou ébréchées, n'affûtez que le haut du tranchant et conservez l'angle de coupe d'origine (Figure 78).
Note: Limez la même quantité de métal sur chacun des deux tranchants pour ne pas déséquilibrer la lame.

Pour vérifier si la lame est bien droite et parallèle, posez-la sur une surface plane et vérifiez les extrémités.
Note: Placez les extrémités de la lame légèrement plus bas que le centre, et le tranchant plus bas que le talon. Cette lame produit une coupe de bonne qualité et nécessite une puissance minimale de la part du moteur. En revanche, si les extrémités de la lame sont plus hautes que le centre ou si le tranchant est plus haut que le talon, la lame est tordue ou faussée et doit être remplacée.

Montez la lame, l'ailette vers le plateau de coupe, et fixez-la avec la coupelle de protection et le boulon. Serrez le boulon de la lame à un couple de 115 à 149 N·m.
Avant de quitter la position d'utilisation, coupez le moteur, enlevez la clé et attendez l'arrêt complet de tout mouvement. Laissez refroidir la machine avant de la régler, d'en faire l'entretien, de la nettoyer ou de la remiser.
Ne rangez pas la machine ni les bidons de carburant à proximité d'une flamme nue, d'une source d'étincelles ou d'une veilleuse, telle celle d'un chauffe-eau ou autre appareil.
Important: Ne nettoyez pas la machine avec de l'eau saumâtre ou recyclée.
Nettoyez soigneusement le groupe de déplacement, les unités de coupe et le moteur.
Contrôlez la pression des pneus. Gonflez tous les pneus du groupe de déplacement à une pression de 0,83 à 1,03 bar.
Vérifiez le serrage de toutes les fixations et resserrez-les au besoin.
Graissez tous les graisseurs et points de pivot. Essuyez tout excès de lubrifiant.
Poncez légèrement et retouchez la peinture rayée, écaillée ou rouillée. Réparez les déformations de la carrosserie.
Procédez à l'entretien de la batterie et des câbles, comme suit :
Débranchez les câbles des bornes de la batterie.
Note: Débranchez toujours la borne négative de la batterie avant la borne positive. Branchez la borne positive avant la borne négative.
Nettoyez la batterie, les cosses des câbles et les bornes de la batterie avec une brosse métallique et un mélange de bicarbonate de soude.
Pour prévenir la corrosion, enduisez les bornes de la batterie et les cosses des câbles de graisse Grafo 112X (Skin-Over) (réf. 505-47) ou de vaseline.
Rechargez lentement la batterie tous les deux mois pendant 24 heures pour prévenir la sulfatation.
Vidangez le carter moteur et remettez en place le bouchon de vidange.
Déposez le filtre à huile et mettez-le au rebut. Posez un filtre neuf.
Versez la quantité correcte d'huile moteur dans le carter d'huile.
Tournez la clé de contact à la position CONTACT, démarrez le moteur et faites-le tourner au ralenti pendant environ 2 minutes.
Tournez la clé de contact à la position ARRêT.
Vidangez complètement le réservoir de carburant, les conduites d'alimentation et l'ensemble filtre à carburant/séparateur d'eau.
Rincez le réservoir de carburant avec du gazole propre et frais.
Branchez tous les raccords du circuit d'alimentation.
Effectuez un nettoyage et un entretien minutieux du filtre à air.
Bouchez l'entrée et l'orifice de sortie du filtre à air avec du ruban imperméable.
Vérifiez la protection antigel et faites l’appoint au besoin, selon la température minimale anticipée dans votre région.
Si l'unité de coupe reste séparée du groupe de déplacement pendant un certain temps, obturez le haut de l'axe pour le protéger de la poussière et de l'humidité.