| Huoltoväli | Huoltotoimenpide |
|---|---|
| Aina ennen käyttöä tai päivittäin |
|
Tämä kone on ajettava vaakatasoleikkuri, joka on tarkoitettu ammattimaiseen kaupalliseen käyttöön. Se on tarkoitettu pääasiassa puistojen, urheilukenttien ja kaupallisten kiinteistöjen viheralueiden ruohonleikkuuseen. Tuotteen käyttäminen muuhun kuin sen aiottuun käyttötarkoitukseen voi olla vaarallista käyttäjälle ja sivullisille.
Lue nämä tiedot huolellisesti, jotta oppisit käyttämään ja huoltamaan laitetta asianmukaisesti sekä välttämään tapaturmia ja tuotevaurioita. Olet itse vastuussa tuotteen asianmukaisesta ja turvallisesta käytöstä.
Käy osoitteessa www.Toro.com, jos tarvitset tuoteturvallisuuteen ja käyttökoulutukseen liittyviä materiaaleja, tietoja lisävarusteista tai lähimmästä jälleenmyyjästä tai haluat rekisteröidä tuotteesi.
Aina kun tarvitset huoltoa, alkuperäisiä Toro-varaosia tai lisätietoja, ota yhteys valtuutettuun huoltoliikkeeseen tai Toron asiakaspalveluun. Ota tällöin tuotteen malli- ja sarjanumerot valmiiksi esiin. Kuva 1 näyttää laitteen malli ja sarjanumeron sijainnin. Kirjoita numerot annettuun tilaan.
Important: Skannaa sarjanumerokilvessä (jos varusteena) oleva QR-koodi mobiililaitteella, niin saat tuotetietoja sekä takuu- ja varaosatietoja.

Tässä oppaassa ja koneessa käytettävä varoitusmerkintä (Kuva 2) huomauttaa tärkeistä turvallisuuteen liittyvistä tiedoista, joita on noudatettava onnettomuuksien estämiseksi.

Varoitusmerkintä sijaitsee vaarallisista toimista tai tilanteista varoittavien tietojen yläpuolella, ja sitä seuraa sana VAARA, VAROITUS tai HUOMIO.
VAARA ilmaisee välittömän vaaratilanteen, joka johtaa kuolemaan tai vakavaan loukkaantumiseen, jos sitä ei vältetä.
VAROITUS ilmaisee mahdollisesti vaarallisen tilanteen, joka voi johtaa kuolemaan tai vakavaan loukkaantumiseen, jos sitä ei vältetä.
HUOMIO ilmaisee mahdollisesti vaarallisen tilanteen, joka saattaa johtaa vähäiseen tai kohtalaiseen loukkaantumiseen, jos sitä ei vältetä.
Lisäksi tässä käyttöoppaassa käytetään kahta seuraavaa termiä tietojen korostamiseksi. Tärkeää kiinnittää huomiota mekaanisiin erikoistietoihin ja Huomautus korostaa erityishuomion ansaitsevia yleistietoja.
Tämä tuote on asiaankuuluvien eurooppalaisten direktiivien mukainen. Lisätietoja on erillisessä tuotekohtaisessa vaatimustenmukaisuusvakuutuksessa.
Kalifornian lain (California Public Resource Code) pykälät 4442 ja 4443 kieltävät tämän moottorin käytön metsä-, pensaikko- tai ruohopeitteisillä mailla, jos moottoria ei ole varustettu pykälässä 4442 mainitulla hyvässä käyttökunnossa pidetyllä kipinänsammuttimella tai jos moottoria ei ole suojattu, varustettu ja huollettu palovaaran ehkäisemiseksi.
Mukana toimitettavassa moottorin käyttöoppaassa on Yhdysvaltojen ympäristönsuojeluelimeen EPA:han (Environmental Protection Agency) ja Kalifornian päästöjärjestelmien päästöjen valvontasääntöihin sekä kunnossapitoon ja takuuseen liittyviä tietoja. Käyttöoppaita voi tilata moottorin valmistajalta.
Tämä tuote on asiaankuuluvien eurooppalaisten direktiivien mukainen. Lisätietoja on erillisessä tuotekohtaisessa vaatimustenmukaisuusvakuutuksessa.
Jos koneessa on telematiikkalaite, saat ohjeet laitteen aktivointiin valtuutetulta Toro-jälleenmyyjältä.
KALIFORNIA
Lakiesityksen 65 mukainen varoitus
Dieselmoottorin tuottamat pakokaasut ja jotkin niiden aineosat sisältävät kemikaaleja, jotka Kalifornian osavaltion tietojen mukaan aiheuttavat syöpää, synnynnäisiä epämuodostumia tai muuta lisääntymiseen liittyvää haittaa.
Akun liitännät, navat ja niihin liittyvät lisävarusteet sisältävät lyijyä ja lyijy-yhdisteitä, joiden tiedetään aiheuttavan syöpää ja haittaavan lisääntymistä. Pese kädet, kun olet käsitellyt näitä osia.
Tämän tuotteen käyttäminen voi altistaa kemikaaleille, jotka Kalifornian osavaltion tietojen mukaan aiheuttavat syöpää, synnynnäisiä epämuodostumia tai muuta lisääntymiseen liittyvää haittaa.
Tämä tuote voi katkaista jalan tai käden sekä singota esineitä. Noudata aina kaikkia turvallisuusohjeita, jotta vakavilta loukkaantumisilta vältytään.
Lue ja sisäistä tämän käyttöoppaan sisältö ennen moottorin käynnistämistä.
Koneen käyttö vaatii käyttäjän täyden huomion. Jos käyttäjän huomio keskittyy muualle, saattaa seurata henkilö- tai omaisuusvahinko.
Älä käytä konetta ilman paikallaan olevia ja asianmukaisesti toimivia suojuksia ja muita suojalaitteita.
Pidä kädet ja jalat etäällä pyörivistä osista. Pysy etäällä heittoaukosta.
Älä päästä sivullisia ja lapsia käyttöalueelle. Älä anna lasten käyttää konetta.
Sammuta moottori, irrota virta-avain ja odota, että kaikki liikkuvat osat pysähtyvät, ennen kuin poistut käyttäjän paikalta. Anna koneen jäähtyä ennen sen säätöä, huoltoa, puhdistusta tai varastointia.
Laitteen asiaton käyttö tai huolto voi aiheuttaa tapaturman.
Vähennä loukkaantumisriskiä noudattamalla näitä
turvallisuusohjeita ja huomioimalla aina varoitusmerkki
, joka tarkoittaa varoitusta,
vaaraa tai hengenvaaraa – henkilöturvallisuusohjeet. Ohjeiden
laiminlyönti saattaa johtaa henkilövahinkoon tai kuolemaan.
![]() |
Turva- ja ohjetarrat on sijoitettu hyvin näkyville paikoille mahdollisten vaara-alueiden lähettyville. Korvaa vioittuneet tai kadonneet tarrat uusilla. |

















CE-koneet


Note: Koneen vasen ja oikea puoli määritellään normaalista käyttöasennosta käsin.
Tarkista rengaspaineet ennen käyttöä. Katso kohta Rengaspaineen tarkistus.
Important: Pidä rengaspaineet oikeissa lukemissa, jotta leikkuujälki pysyy hyvänä ja kone toimii oikein. Älä käytä liian alhaisia rengaspaineita.
Tarkista moottoriöljyn määrä ennen moottorin käynnistystä. Katso kohta Moottoriöljyn määrän tarkistus.
Tarkista hydraulinesteen määrä ennen moottorin käynnistystä. Katso kohta Hydraulinesteen määrän tarkastus.
Tarkista jäähdytysjärjestelmä ennen moottorin käynnistystä. Katso kohta Jäähdytysjärjestelmän tarkastus.
Rasvaa kone ennen käyttöä. Katso kohta Laakerien ja holkkien rasvaus. Koneen rasvauksen laiminlyönti aiheuttaa tärkeiden osien ennenaikaisen vioittumisen.
Irrota leikkuuyksiköiden kuljetustuet. Niitä ei enää tarvita.
Irrota leikkuuyksiköiden tukivarsien kuljetustapit. Niitä ei enää tarvita.
Note: Kuljetustapit vakauttavat leikkuuyksiköitä kuljetuksen aikana. Tapit on irrotettava ennen koneen käyttöä.
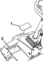
Tukivarren asentoa voi säätää käyttömukavuuden parantamiseksi.
Löysää kaksi pulttia, jotka kiinnittävät säätövarren kiinnikkeeseen (Kuva 3).

Kierrä tukivarsi haluttuun asentoon ja kiristä kaksi pulttia.
Ota yhteys valtuutettuun Toro-jälleenmyyjään, jotta koneen ohjelmisto voidaan asettaa CE-tilaan.
Vaiheeseen tarvittavat osat:
| Konepellin salpakokoonpano | 1 |
| Aluslaatta | 1 |
Irrota salpa ja nosta konepelti.
Irrota kuminen läpivientisuojus konepellin vasemmalla puolella olevasta aukosta (Kuva 4).

Irrota mutteri konepellin salpakokoonpanosta (Kuva 5).

Työnnä salvan koukkupää konepellin ulkopuolelta konepellissä olevan aukon läpi ja varmista, että kuminen tiivistealuslaatta jää konepellin ulkopuolelle (Kuva 5).
Asenna konepellin sisäpuolella metallialuslaatta salpaan ja kiinnitä se mutterilla. Varmista, että salpa kiinnittyy rungon hakaan, kun se lukitaan.
Note: Käytä konepellin salpaa mukana toimitetulla konepellin salpa-avaimella.
Vaiheeseen tarvittavat osat:
| CE-tarra | 1 |
| Valmistusvuoden tarra | 1 |
| Varoitustarra | 1 |
Puhdista konepellin pinta lukon vierestä spriillä ja puhtaalla liinalla ja anna pinnan kuivua (Kuva 6).

Irrota CE-tarran tausta.
Kiinnitä tarra konepeltiin.
Puhdista lattiakannattimen pinta sarjanumerokilven vierestä spriillä ja puhtaalla liinalla ja anna kannattimen kuivua (Kuva 7).

Irrota tarran tausta.
Kiinnitä tarra lattiakannattimeen.
Puhdista varoitustarran pinta spriillä ja puhtaalla liinalla ja anna tarran kuivua (Kuva 8).

Irrota CE-varoitustarran tausta.
Kiinnitä CE-varoitustarra olemassa olevan tarran päälle.
Lisävarusteena saatava takarullan kaavin toimii parhaiten, kun kaapimen ja rullan välissä on yhtenäinen 0,5–1 mm:n rako.
Löysää rasvanippa ja kiinnitysruuvi (Kuva 9).

Liu’uta kaavinta ylös tai alas, kunnes tangon ja rullan välinen rako on 0,5–1 mm.
Kiristä rasvanippa ja ruuvi vuorotellen momenttiin 41 N·m.
Jos tarvitset levittimen, kysy neuvoa valtuutetulta Toro-jälleenmyyjältä.
Puhdista huolella roskat kotelon takaseinän ja vasemman seinän asennusaukoista.
Asenna levitin taka-aukkoon ja kiinnitä se viidellä laippakantapultilla (Kuva 10).

Varmista, että levitin ei osu terien päihin eikä työnny kotelon takaseinän pinnan sisään.
Jos käytetään korkeaa terää levittimen kanssa, terä voi rikkoutua, mistä voi aiheutua henkilövahinko tai kuolema.
Älä käytä korkeaa terää levittimen kanssa.



Note: Tässä koneessa ei ole vipua tai kytkintä moottorin nopeuden säätämiseksi.
Kun voimanulosotto kytketään käyttöön leikkuuyksiköiden pyörimisen käynnistämiseksi, kone vaihtaa automaattisesti moottorin nopeuden korkealle joutokäynnille ja pysyy siinä nopeudessa, kunnes leikkuuyksiköt vapautetaan.
Kun voimanulosotto ei ole kytkettynä, koneen kaasu määräytyy ajopolkimen asennon mukaan auton kaasuvivun tapaan.
Kun voimanulosoton kytkin on kytkettynä, kone on LEIKKUUTILASSA, mikä mahdollistaa ajamisen enimmillään 13 km/h:n nopeudella, kun enimmäisnopeutta ei ole rajoitettu.
Kun voimanulosoton kytkin ei ole kytkettynä (Kuva 11), kone on KULJETUSTILASSA, mikä mahdollistaa ajamisen enimmillään 16 km/h:n nopeudella, kun enimmäisnopeutta ei ole rajoitettu.
Note: Määritä kunkin tilan enimmäisnopeus tietokeskuksen suojattujen valikoiden avulla.

Kytke seisontajarru (Kuva 11) kääntämällä kytkin etuasentoon konsolissa. Kytkimen punainen valo syttyy, kun kytkin on asetettu. Vapauta seisontajarru kääntämällä kytkin taka-asentoon.
Kun seisontajarru kytketään, pito hidastaa nopeutta automaattisesti ajopolkimen asennosta riippumatta ja kytkee seisontajarrun heti, kun kone pysähtyy.
Kun moottori on sammutettu ja kone on paikallaan, seisontajarru kytkeytyy seisontajarrukytkimen asennosta riippumatta.
Kun haluat kallistaa ohjauspyörää itseesi päin, paina poljin alas ja vedä ohjauspylväs haluamaasi asentoon. Vapauta sitten poljin (Kuva 12). Kun haluat siirtää ohjauspyörää itsestäsi poispäin, paina poljinta ja vapauta se, kun ohjauspyörä on halutussa käyttöasennossa.
Tällä vivulla (Kuva 11) nostetaan ja lasketaan leikkuuyksiköitä.
Laske leikkuuyksiköt työntämällä vipu etuasentoon. Kun voimanulosoton kytkin on KYTKETTYNä, kone on LEIKKUUTILASSA ja leikkuuyksiköt alkavat pyöriä, kun ne lasketaan.
Note: Varmista, että lasket leikkuuyksiköt sen jälkeen, kun voimanulosoton kytkin on kytkeytynyt, jotta leikkuuyksiköt käynnistyvät. Jos leikkuuyksiköt lasketaan ennen voimanulosoton kytkimen kytkeytymistä, ne eivät ala pyöriä.
Nosta leikkuuyksiköt ylös ääriasentoon vetämällä vipu taka-asentoon. Kun leikkuuyksiköt on nostettu ja voimanulosoton kytkin on vapautettu, kone on KULJETUSTILASSA.
Avainkytkimessä (Kuva 11) on kolme asentoa: PYSäYTYS, KäYNNISSä/ESILäMMITYS ja KäYNNISTYS.
Sytytä ajovalot kääntämällä kytkin yläasentoon (Kuva 11).
Hydraulisuodattimen rajoitinilmaisin ilmoittaa, kun hydraulisuodattimet on vaihdettava. Katso kohta Hydraulisuodattimien vaihto.

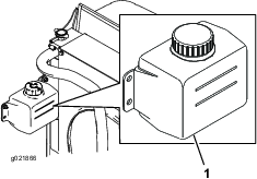
Pistorasia (Kuva 15) on 12 V:n virtalähde elektronisille laitteille.


Siirrä istuinta eteen- ja taaksepäin vetämällä istuimen säätövivusta (Kuva 16). Lukitse istuin paikalleen vapauttamalla vipu.
Käännä painon säädintä, kunnes painosi näkyy painomittarin ikkunassa.
Muuta istuimen korkeutta kääntämällä korkeuden säädintä.
Tietokeskuksen LCD-näytössä on tietoja koneen käyttötilasta, vianmääritystietoja ja muita koneeseen liittyviä tietoja (Kuva 11).
Näytössä näkyvät näytöt riippuvat valituista painikkeista. Kunkin painikkeen käynnistämä toiminto vaihtelee tilanteen mukaan.
Note: Ominaisuuksia ja rakennetta voidaan muuttaa ilmoittamatta.

| Kuvaus | Kuva 17 viite | Mitta tai paino |
| Kokonaiskorkeus | A | 217 cm |
| Raideväli (renkaan keskeltä keskelle) takana | B | 185 cm |
| Kokonaisleveys (kuljetusasento) | C | 231 cm |
| Kokonaisleveys (leikkuuasento) | D | 247 cm |
| Akseliväli | E | 152 cm |
| Kokonaispituus (kuljetusasento) | F | 315 cm |
| Kokonaispituus (leikkuuasento) | G | 315 cm |
| Polttoainesäiliön tilavuus | 53 litraa | |
| Kuljetusnopeus | 0–16 km/h | |
| Leikkuunopeus | 0–13 km/h | |
| Nettopaino (leikkuupöytien ja nesteiden kanssa) | 1492 kg |
Koneeseen on saatavana valikoima Toron hyväksymiä lisälaitteita ja -varusteita, joiden avulla voidaan parantaa ja laajentaa sen ominaisuuksia. Ota yhteys valtuutettuun huoltoliikkeeseen tai valtuutettuun Toro-jälleenmyyjään tai siirry osoitteeseen www.Toro.com, jossa on luettelo hyväksytyistä lisälaitteista ja -varusteista.
Käytä vain aitoja Toro-varaosia ja -lisävarusteita, jotta kone toimisi parhaalla mahdollisella tavalla ja sen turvasertifiointi pysyisi voimassa. Muiden valmistajien varaosat ja lisävarusteet voivat osoittautua vaarallisiksi, ja niiden käyttö voi johtaa tuotteen takuun raukeamiseen.
Note: Koneen vasen ja oikea puoli määritellään normaalista käyttöasennosta käsin.
Älä anna lasten tai kouluttamattomien henkilöiden käyttää tai huoltaa laitetta. Paikalliset säännökset saattavat asettaa rajoituksia käyttäjän iälle. Omistaja vastaa käyttäjien ja mekaanikkojen koulutuksesta.
Tutustu laitteen turvallisen käytön ohjeisiin, ohjauslaitteisiin ja turvamerkintöihin.
Sammuta moottori, irrota virta-avain ja odota, että kaikki liikkuvat osat pysähtyvät, ennen kuin poistut käyttäjän paikalta. Anna koneen jäähtyä ennen sen säätöä, huoltoa, puhdistusta tai varastointia.
Selvitä, kuinka koneen saa pysäytettyä ja moottorin sammutettua nopeasti.
Tarkista, että käyttäjän pitokytkimet, turvakytkimet ja suojukset ovat paikoillaan ja toimivat oikein. Älä käytä konetta, mikäli ne eivät toimi kunnolla.
Tarkasta aina ennen liikkumista, että terät, teräpultit ja leikkuujärjestelmät ovat hyvässä käyttökunnossa. Vaihda kuluneet tai vaurioituneet terät ja pultit sarjoissa, jotta tasapaino säilyisi.
Tarkasta koneen käyttöalue ja poista siltä kaikki esineet, joita kone voi singota.
Tämä tuote luo sähkömagneettisen kentän. Jos käytät implantoitavaa elektronista lääkinnällistä laitetta, ota yhteys terveydenhuollon ammattilaiseen ennen tämän tuotteen käyttöä.
Käsittele polttoainetta erittäin varovasti. Se on tulenarkaa, ja höyryt räjähtävät herkästi.
Sammuta savukkeet, sikarit, piiput ja muut sytytyslähteet.
Käytä vain hyväksyttyä polttoaineastiaa.
Älä irrota polttoainesäiliön korkkia tai täytä polttoainesäiliötä moottorin ollessa käynnissä tai kuuma.
Älä lisää tai tyhjennä polttoainetta suljetussa tilassa.
Älä säilytä konetta tai polttoainesäiliötä tilassa, jossa on avotuli, kipinöitä tai varmistusliekki (esimerkiksi vedenlämmitin tai muu vastaava laite).
Jos polttoainetta roiskuu, älä yritä käynnistää moottoria. Vältä luomasta minkäänlaisia kipinälähteitä, ennen kuin polttoainehöyryt ovat hälvenneet.
53 litraa
Important: Käytä vain erittäin vähärikkistä dieselpolttoainetta. Suuremman rikkipitoisuuden polttoaine haurastuttaa hapetuskatalysaattoria, mikä aiheuttaa käyttöongelmia ja lyhentää moottorin osien käyttöikää.Seuraavien varoitusten laiminlyönti saattaa vaurioittaa moottoria.
Dieselpolttoaineen sijasta ei saa käyttää paloöljyä tai bensiiniä.
Dieselpolttoaineeseen ei saa sekoittaa paloöljyä tai käytettyä moottoriöljyä.
Polttoainetta ei sää säilyttää säiliöissä, joiden sisäpinta on sinkitty.
Polttoaineen lisäaineita ei saa käyttää.
Setaaniluku: 45 tai korkeampi
Rikkipitoisuus: Erittäin vähärikkinen (<15 ppm)
| Dieselpolttoaineen tiedot | Sijainti |
| ASTM D975 | Yhdysvallat |
| Nro 1-D S15 | |
| Nro 2-D S15 | |
| EN 590 | Euroopan unioni |
| ISO 8217 DMX | Kansainvälinen |
| JIS K2204, luokitus nro 2 | Japani |
| KSM-2610 | Korea |
Käytä vain puhdasta, tuoretta dieselpolttoainetta tai biodieselpolttoaineita.
Jotta polttoaine olisi tuoretta, osta sitä vain 180 päivän tarpeeseen.
Käytä kesälaatuista dieselpolttoainetta (nro 2-D) yli –7 °C:n lämpötiloissa ja talvilaatuista dieselpolttoainetta (nro 1-D tai nro 1-D / nro 2-D -seosta) alle –7 °C:n lämpötiloissa.
Note: Talvilaatuisen polttoaineen leimahduspiste on alhaisempi, ja sen kylmävirtausominaisuudet helpottavat käynnistystä ja vähentävät polttoainesuodattimen tukkeutumista.Kesälaatuisen polttoaineen käyttö lämpötilan ollessa yli –7 °C pidentää polttoainepumpun käyttöikää ja antaa talvilaatuista polttoainetta enemmän tehoa.
Tässä laitteessa voidaan käyttää myös polttoaineseosta, jossa on enintään 20 % biodieseliä ja 80 % petrodieseliä (B20).
Rikkipitoisuus: Erittäin vähärikkinen (<15 ppm)
Biodieselpolttoaineen tiedot: ASTM D6751 tai EN 14214
Polttoaineseoksen tiedot: ASTM D975, EN 590 tai JIS K2204
Important: Petrodieselosuuden rikkipitoisuuden on oltava erittäin alhainen.
Noudata seuraavia varo-ohjeita:
Biodieselseokset voivat vahingoittaa maalattuja pintoja.
Käytä kylmällä säällä korkeintaan B5-seosta (biodieselpitoisuus 5 %).
Tarkkaile polttoaineen kanssa kosketuksiin joutuvia tiivisteitä ja letkuja, sillä ne voivat haurastua ajan mittaan.
Polttoainesuodattimeen voi muodostua tukoksia jonkin aikaa biodieselseosten käytön aloittamisen jälkeen.
Lisätietoja biodieselistä saa valtuutetulta Toro-jälleenmyyjältä.


Täytä säiliö noin 6–13 mm säiliön – ei täyttökaulan – yläreunan alapuolelle dieselpolttoaineella (nro 2-D).
Note: Täytä polttoainesäiliö aina käytön jälkeen, jos mahdollista. Tämä estää kosteutta tiivistymästä polttoainesäiliön sisälle.
Tarkista moottorin kampikammion öljymäärä ennen moottorin käynnistämistä ja koneen käyttämistä. Katso kohta Moottoriöljyn määrän tarkistus.
Ennen kuin käynnistät moottorin ja käytät konetta, tarkasta jäähdytysjärjestelmä. Katso kohta Jäähdytysjärjestelmän tarkastus.
Ennen kuin käynnistät moottorin ja käytät konetta, tarkasta hydraulijärjestelmä. Katso kohta Hydraulinesteen määrän tarkastus.
Tyhjennä vesi tai muut kertymät vedenerottimesta. Katso kohta Veden tyhjennys polttoaineen-/vedenerottimesta.
| Huoltoväli | Huoltotoimenpide |
|---|---|
| Aina ennen käyttöä tai päivittäin |
|
Etu- ja takapyörien oikea rengaspaine on 0,83–1,03 bar.
Important: Pidä rengaspaineet oikeissa lukemissa, jotta leikkuujäljen laatu pysyy hyvänä ja kone toimii oikein. Älä käytä liian alhaisia rengaspaineita.Tarkista kaikkien renkaiden rengaspaineet ennen koneen käyttöä.

| Huoltoväli | Huoltotoimenpide |
|---|---|
| Ensimmäisen käyttötunnin jälkeen |
|
| 10 ensimmäisen käyttötunnin jälkeen |
|
| 250 käyttötunnin välein |
|
Mikäli pyöränmuttereiden kireyttä ei pidetä oikeana, pyörä voi vaurioitua tai irrota, mikä voi aiheuttaa tapaturman.
Kiristä etu- ja takapyörien mutterit momenttiin 94–122 N·m suositeltujen huoltovälien mukaisesti.
Important: Leikkuuyksiköt leikkaavat yleensä noin 6 mm alempaa kuin kelaleikkuuyksikkö, jossa on sama pukkiasetus. Leikkuuyksiköiden pukkiasetus on ehkä säädettävä 6 mm korkeammaksi kuin samaa aluetta leikkaavien kelaleikkuuyksiköiden asetus.
Important: Takaleikkuuyksiköihin päästään huomattavasti paremmin käsiksi, jos leikkuuyksikkö irrotetaan ajoneuvosta. Laske leikkuuyksiköt ja irrota ne rungosta irrottamalla kuvassa (Kuva 20) näkyvät pultit ja tapit.

Pysäköi kone tasaiselle alustalle, kytke seisontajarru, laske leikkuuyksikkö maahan, sammuta moottori ja irrota virta-avain.
Löysää pulttia, jolla leikkuukorkeuden kannattimet on kiinnitetty leikkuukorkeuslevyyn (edessä ja molemmilla puolilla), kuvan mukaisesti (Kuva 21).
Aloita etummaisesta asetuksesta ja irrota pultti.

Tue koteloa ja irrota välikappale (Kuva 21).
Säädä kotelo haluttuun leikkuukorkeuteen ja asenna välikappale vastaavan leikkuukorkeuden aukkoon ja loveen (Kuva 22)

Aseta levy kohdakkain välikappaleen kanssa.
Asenna pultti sormitiukkuuteen.
Toista säätövaiheet 4–7 molemmilla puolilla.
Kiristä kaikki kolme pulttia momenttiin 41 N·m. Kiristä aina etupultti ensin.
Note: Yli 3,8 cm:n säädöille voidaan joutua käyttämään tilapäistä asennusta välikorkeuteen, jotta osat eivät juutu kiinni toisiinsa (esim. vaihdettaessa 3,1 cm:n leikkuukorkeudesta 7 cm:n korkeuteen).
| Huoltoväli | Huoltotoimenpide |
|---|---|
| Aina ennen käyttöä tai päivittäin |
|
Jos turvakytkimet ovat irronneet tai vaurioituneet, kone saattaa toimia odottamattomalla tavalla ja aiheuttaa henkilövahinkoja.
Älä kajoa turvakytkimiin.
Tarkista turvakytkimien toimivuus päivittäin ja vaihda mahdolliset vaurioituneet kytkimet ennen koneen käyttämistä.
Important: Jos jokin koneen lukituskytkimistä ei toimi, ota yhteys valtuutettuun Toro-jälleenmyyjään.
Aja kone hitaasti avoimelle alueelle.
Laske leikkuuyksiköt, sammuta moottori ja kytke seisontajarru.
Istu käyttäjän istuimelle.
Kytke seisontajarru.
Paina voimanulosoton kytkin VAPAUTETTU-asentoon.
Paina ajopoljinta.
Käännä avain KäYNNISTYS-asentoon.
Note: Moottori ei saa käynnistyä, kun ajopoljinta painetaan.
Istu käyttäjän istuimelle.
Nosta voimanulosoton kytkin KYTKETTY-asentoon.
Käännä avain KäYNNISTYS-asentoon.
Note: Moottori ei saa käynnistyä, kun voimanulosoton kytkin on KYTKETTY-asennossa.
Istu käyttäjän istuimelle.
Paina voimanulosoton kytkin VAPAUTETTU-asentoon.
Käynnistä moottori.
Nosta voimanulosoton kytkin KYTKETTY-asentoon.
Kytke voimanulosotto laskemalla leikkuuyksiköt.
Nouse istuimelta.
Note: Voimanulosotto ei saa käynnistyä, kun käyttäjä on poissa istuimeltaan.
Note: Älä anna leikkuuyksiköiden pyöriä paria sekuntia pidempään tämän testin aikana, jotta ne eivät kulu tarpeettomasti.
Istu käyttäjän istuimelle.
Kytke seisontajarru.
Paina voimanulosoton kytkin VAPAUTETTU-asentoon.
Käynnistä moottori.
Paina ajopoljinta.
Note: Koneen ei pitäisi reagoida, kun ajopoljinta painetaan seisontajarrun ollessa kytkettynä. Tietokeskuksessa pitäisi näkyä ilmoitusviesti.
Istu käyttäjän istuimelle.
Käynnistä moottori.
Vapauta seisontajarru.
Nouse istuimelta.
Note: Kun poistut käyttäjän istuimelta, seisontajarrukytkimen punaisen valon pitäisi syttyä merkiksi siitä, että seisontajarru on kytkettynä.
Istu käyttäjän istuimelle.
Käynnistä moottori.
Varmista, että leikkuuyksiköt on nostettu kuljetusasentoon.
Nouse istuimelta.
Laske leikkuuyksiköt.
Note: Leikkuuyksiköt eivät saa laskeutua, kun käyttäjän istuimella ei istuta.
| Huoltoväli | Huoltotoimenpide |
|---|---|
| Aina ennen käyttöä tai päivittäin |
|
Leikkuuyksikön terien on pysähdyttävä kokonaan noin viidessä sekunnissa sen jälkeen, kun leikkuuyksikkö kytketään pois käytöstä.
Note: Laske leikkuuyksiköt puhtaalle nurmelle tai kovalle alustalle, jossa ne eivät nostata pölyä tai leikkuujätettä.
Pyydä avustajaa asettumaan vähintään kuuden metrin päähän leikkuuyksiköstä ja tarkkailemaan yhden leikkuuyksikön teriä.
Leikkuuyksiköiden ollessa käynnissä ja pyöriessä täydellä nopeudella kytke voimanulosotto pois käytöstä ja mittaa, kuinka kauan terien pysähtyminen kokonaan kestää.
Note: Jos aika on yli seitsemän sekuntia, jarruventtiiliä on säädettävä. Lisätietoja säädön suorittamisesta saa valtuutetulta Toro-jälleenmyyjältä.
Tämä terä on suunniteltu tarjoamaan erinomaisen noston ja leikkuujätteiden levittymisen lähes kaikissa olosuhteissa. Jos tarvitaan enemmän tai vähemmän nostoa ja poistonopeutta, kannattaa harkita toista terää.
Ominaisuudet: Erinomainen nosto ja levittyminen useimmissa olosuhteissa
Terä toimii yleensä parhaiten matalammilla, 1,9–6,4 cm:n leikkuukorkeuksilla.
Ominaisuudet:
Leikkuujätteen poisto pysyy tasaisempana myös matalammilla leikkuukorkeuksilla.
Kone sylkee leikkuujätettä vasemmalle vähemmän, minkä ansiosta hiekkaesteiden ja väylien reunat pysyvät siistimpinä.
Matalilla leikkuukorkeuksilla ja tiheillä nurmilla tehonkulutus on alhaisempi.
Terä toimii yleensä paremmin korkeammilla, 7–10 cm:n leikkuukorkeuksilla.
Ominaisuudet:
Enemmän nostoa ja nopeampi poistonopeus.
Harva tai veltto nurmi saadaan nostettua ylös huomattavasti paremmin korkeammilla leikkuukorkeuksilla
Märät tai tahmeat leikkuujätteet poistetaan tehokkaammin, mikä vähentää leikkuuyksikköön kertyvää jätettä.
Kuluttaa enemmän tehoa
Pyrkii poistamaan leikkuujätteen kauemmas vasemmalle ja saattaa tehdä karheaa leikkuujälkeä matalilla leikkuukorkeuksilla
Jos levittimen kanssa käytetään korkeaa terää, terä voi rikkoutua ja aiheuttaa henkilövahingon tai kuoleman.
Älä käytä korkeaa terää levittimen kanssa.
Tämä terä on suunniteltu tehokkaaseen lehtien levitykseen.
| Kulmikas siipiterä | Korkea rinnakkainen siipiterä(Älä käytä levittimen kanssa) (Ei täytä CE-vaatimuksia) | Levitin | Rullan kaavin | |
| Ruohonleikkuu: 1,9–4,4 cm:n leikkuukorkeus | Suositellaan useimpiin käyttötarkoituksiin. | Saattaa soveltua hyvin kevyelle ja harvalle nurmelle. | Todettu parantavan leikkuujätteiden leviämistä ja leikkuun jälkeisiä ominaisuuksia pohjoisten alueiden ruohoilla, jotka leikataan vähintään kolme kertaa viikossa, ja silloin, kun leikataan vähemmän kuin kolmasosa ruohon korkeudesta. Ei saa käyttää korkean rinnakkaisen siipiterän kanssa | Voidaan käyttää aina, kun rulliin kertyy ruohoa tai ruoho paakkuuntuu. Kaapimet voivat lisätä paakkuuntumista joissain käyttökohteissa. |
| Ruohonleikkuu: 5–6,4 cm:n leikkuukorkeus | Suositellaan paksulle tai tiheälle nurmelle. | Suositellaan kevyelle tai harvalle nurmelle. | ||
| Ruohonleikkuu: 7–10 cm:n leikkuukorkeus | Saattaa soveltua hyvin tiheälle nurmelle. | Suositellaan useimpiin käyttötarkoituksiin. | ||
| Lehtien levitys | Suositellaan käytettäväksi levittimen kanssa. | Kielletty | Käytä vain yhdistelmäsiipiterän tai kulmasiipiterän kanssa. | |
| Edut | Tasainen leikkuujätteen poisto matalammilla leikkuukorkeuksilla, hiekkaesteiden ja väylien reunat pysyvät siistimpinä. Pienempi tehontarve. | Enemmän nostoa ja suurempi poistonopeus. Harva tai lakoontunut nurmi saadaan nostettua ylös korkeammilla leikkuukorkeuksilla. Märät tai tahmeat leikkuujätteet poistuvat tehokkaasti. | Voi parantaa leikkuujätteiden levittymistä ja leikkuujälkeä joissain käyttökohteissa. Soveltuu erittäin hyvin lehtien levitykseen. | Vähentää ruohon kertymistä rullaan joissain käyttökohteissa. |
| Haitat | Ei nosta ruohoa hyvin korkeilla leikkuukorkeuksilla. Märkä ja tahmea ruoho kertyy koteloon, mikä heikentää leikkuujälkeä ja kuluttaa enemmän tehoa. | Vaatii enemmän tehoa joissain käyttökohteissa. Saattaa karhentaa leikkuujälkeä matalammilla leikkuukorkeuksilla tiheässä ruohossa. Ei saa käyttää levittimen yhteydessä. | Ruoho kertyy koteloon, jos yritetään leikata liian paljon kerralla levittimen ollessa paikallaan. |
Näytössä on tietoja koneen käyttötilasta, diagnostiikkatietoja ja muita koneeseen liittyviä tietoja. Näytössä on useita näyttöruutuja. Näyttöjen välillä voidaan siirtyä milloin tahansa painamalla jotakin näyttöpainiketta ja valitsemalla sitten sopiva nuolen suunta.

Note: Kunkin painikkeen käynnistämä toiminto vaihtelee tilanteen mukaan. Jokaisessa painikkeessa näkyy kuvake, joka ilmaisee painikkeen sillä hetkellä käytössä olevan toiminnon.
![]() | Tuntilaskuri |
![]() | Huollon määräaika. |
![]() | Moottorin käyntinopeuden tila (kierr./min) |
![]() | Virtual Pedal Stop ‑ominaisuuden asetukset |
![]() | Hehkutulpat ovat käytössä. |
![]() | Kuljettajan on oltava istuimella. |
![]() | Seisontajarru on kytkettynä. |
![]() | Moottorin jäähdytysnesteen lämpötila (°C tai °F) |
![]() | Ajo tai ajopoljin |
![]() | Käynnistä moottori. |
![]() | Vakionopeussäädin on kytketty. |
![]() | Moottori |
![]() | Lämmitystila |
![]() | Nollaus odottaa -regeneraatiopyyntö |
| Pysäköinti- tai palautusregeneraatiopyyntö | |
![]() | Pysäköinti- tai palautusregeneraatio on käynnissä. |
![]() | Korkea pakokaasujen lämpötila |
![]() | Typpioksidipäästöjen seurannassa toimintahäiriö. Palauta kone myyntipisteeseen ja ota yhteys valtuutettuun Toro-jälleenmyyjään (ohjelmistoversio U ja sitä uudemmat). |
![]() | Voimanulosotto on pois käytöstä. |
![]() | Voimanulosotto on käytössä. |
![]() | Akku |
![]() | Polttoainemäärä |
![]() | Polttoaineen määrä on alhainen. |
![]() | Varoitus |
![]() | Aktiivinen |
![]() | Ei aktiivinen |
![]() | Edellinen |
![]() | Seuraava |
![]() | Lisää |
![]() | Vähennä |
![]() | Edellinen näyttö |
![]() | Seuraava näyttö |
![]() | Nosta arvoa |
![]() | Laske arvoa |
![]() | Valikko |
![]() | Vieritä ylös/alas |
![]() | Vieritä vasemmalle/oikealle |
![]() | Lukittu |
Pääsy
vain PIN-koodilla
Avaa tietokeskuksen valikko painamalla päänäytössä valikkopainiketta. Esiin tulee päävalikko. Valikkojen toiminnot on merkitty lyhyesti seuraaviin taulukoihin:
| Päävalikko – valikon kohta | Kuvaus |
| Viat | Viat-valikossa on lueteltu koneen viimeaikaiset viat. Lisätietoja Viat-valikosta ja sen sisältämistä tiedoista saa huolto-oppaasta tai valtuutetulta Toro-jälleenmyyjältä. |
| Huolto | Huoltovalikossa on koneeseen liittyviä tietoja, kuten käyttötuntimerkintöjä ja muita vastaavia lukuja. |
| Diagnostiikka | Diagnostiikka-valikossa näkyy koneen kaikkien kytkinten, antureiden ja ohjainten ulostulojen tila. Sitä voi käyttää joidenkin ongelmien vianmääritykseen, koska siitä näkee nopeasti, mitkä koneen ohjaimet ovat KäYTöSSä ja mitkä POIS KäYTöSTä. |
| Asetukset | Asetukset-valikossa voi muokata näytön asetusten muuttujia. |
| Machine Settings (Koneen asetukset) | Machine Settings (Koneen asetukset) -valikon avulla voit säätää kiihdytyksen, nopeuden ja vastapainon raja-arvoja. |
| Tietoja | Tietoja-valikossa on mainittu koneen mallinumero, sarjanumero ja ohjelmiston versio. |
| Huolto – valikon kohta | Kuvaus |
| Hours (tunnit) | Näyttää kokonaisajan, jonka kone, moottori ja voimanulosotto ovat olleet käytössä, sekä ajan, jonka verran konetta on kuljetettu ja milloin se on huollettava. |
| Counts | Näyttää koneen laskennat. |
| Huolla kaasuvipu | Kytkee huoltokaasun päälle ja pois. Mahdollistaa ajoneuvotyylisen kaasun manuaalisen ohittamisen joissakin huoltoon liittyvissä toimissa, esimerkiksi koneen asentoa muutettaessa korjaamossa. |
| Huolla kierrosnopeus | Asettaa huollon kierrosluvun. |
Traction Pedal (Ajopoljin) ![]() | |
Traction Pump (Vetopumppu) ![]() | |
Virtual Speed Sensor (Virtuaalinen nopeusanturi) ![]() | |
| DPF Regeneration (Hiukkassuodattimen regeneraatio) | Dieselhiukkassuodattimen regeneraatio ja hiukkassuodattimen alivalikot |
| Diagnostiikka – valikon kohta | Kuvaus |
| Leikkuupöytä | Osoittaa leikkuuyksiköiden nostamisessa ja laskemisessa käytetyt sisään- ja ulostulot. |
| Traction (Veto) | Osoittaa ajopolkimen sisään- ja ulostulot. |
| Cutting Units (Leikkuuyksiköt) | Osoittaa leikkuuyksiköiden nostamisessa ja laskemisessa käytetyt tulot ja lähdöt sekä määritykset. |
| PTO | Osoittaa voimanulosoton käytön mahdollistavat tulot ja lähdöt sekä määritykset. |
| Moottori | Osoittaa moottorin käynnistyksen aikana käytössä olevat tulot ja lähdöt sekä määritykset |
CAN Statistics (CAN-tilastot) ![]() | Osoittaa CAN-sisään- ja -ulostulot. |
| Asetukset – valikon kohta | Kuvaus |
| Anna PIN-koodi | Antaa käyttäjän (viheriön hoitaja / mekaanikko), jolle tämän yritys on antanut PIN-koodin, käyttää suojattuja valikoita. |
| Backlight (Taustavalo) | Säätää LCD-näytön kirkkauden. |
| Kieli | Tietokeskuksessa käyttävien kielten hallinta* |
| Font Size (Fonttikoko) | Määrittää fontin koon näytössä. |
| Yksiköt | Kontrolloi tietokeskuksen yksiköitä (brittiläiset mitat tai metrijärjestelmä). |
Protected Menus (Suojatut valikot) ![]() | Antaa käyttäjän, jolle tämän yritys on antanut PIN-koodin, käyttää suojattuja valikoita |
Suojaa asetukset ![]() | Mahdollistaa asetusten muuttamisen suojatuissa asetuksissa. |
Note: Machine Settings (Koneen asetukset) -valikko tulee näkyviin vain, kun PIN-koodi on syötetty.
Machine Settings (Koneen asetukset) – Menu
Item (valikkokohde)![]() | Kuvaus |
Mow Speed (Leikkuunopeus) ![]() | Säätelee enimmäisnopeutta leikattaessa (alempi nopeusalue). |
Transport Speed (Kuljetusnopeus) ![]() | Säätelee enimmäisnopeutta, kun laitetta kuljetetaan (ylempi nopeusalue). |
Smart Power ![]() | Kytkee Smart Power -tilan päälle ja pois. |
Counterbalance (Vastapaino) ![]() | Säätelee leikkuuyksiköissä käytettävää vastapainoa. |
Kiihdytys ![]() | Alh.-, Keski- ja Korkea-asetuksilla ohjataan, kuinka nopeasti ajonopeus reagoi ajopolkimen liikuttamiseen. |
Suojatuissa
valikoissa – pääsy vain PIN-koodilla
| Tietoja – valikon kohta | Kuvaus |
| Malli | Näyttää koneen mallinumeron. |
| SN | Näyttää koneen sarjanumeron. |
| Koneen ohjainversio | Näyttää pääohjaimen ohjelmiston version. |
| Ohjelmistoversio | Näyttää ensisijaisen ohjaimen ohjelmiston version. |
InfoCenter Revision (Tietokeskuksen versio) ![]() | Näyttää tietokeskuksen ohjelmiston version. |
Tietokeskuksen ASETUKSISSA on käyttökokoonpanoasetuksia, joita voidaan säätää. Lukitse nämä asetukset PROTECTED MENU (Suojattu valikko) -valikossa.
Note: Jälleenmyyjä ohjelmoi alkuperäisen käyttökoodin toimitushetkellä.
Note: Koneen oletus-PIN on joko 0000 tai 1234.Jos vaihdoit PIN-koodin ja unohdit uuden koodin, ota yhteys valtuutettuun Toro-jälleenmyyjään.
Etsi PääVALIKOSTAASETUKSET-valikko ja paina valintapainiketta (Kuva 24).

Etsi ASETUKSET-valikosta ANNA PIN-KOODI ja paina valintapainiketta (Kuva 25A).

PIN-koodi syötetään painamalla navigointipainikkeita ylös/alas, kunnes oikea ensimmäinen numero tulee näkyviin, ja siirtymällä sitten toiseen numeroon painamalla oikeanpuoleista navigointipainiketta (Kuva 25B ja Kuva 25C). Toista, kunnes kaikki numerot on annettu.
Paina valintapainiketta.
Note: Jos näyttö hyväksyy PIN-koodin ja suojattu valikko avataan, näytön oikeassa yläkulmassa näkyy sana ”PIN”.
Voit lukita suojatun valikon kääntämällä avainkytkimen PYSäYTYS-asentoon ja sitten KäYNNISSä-asentoon.
Vieritä kohdassaValitse ASETUKSET ja vieritä kohtaan SUOJAA ASETUKSET.
SUOJAA ASETUKSET voidaan
vaihtaa
(Pois)
‑tilaan valintapainikkeella. Tällöin asetuksia voidaan tarkastella
ja muuttaa ilman PIN-koodia.
Näytä ja muuta asetuksia PIN-koodilla vaihtamalla SUOJAA ASETUKSET ‑kohta
(Päällä)
‑tilaan valintapainikkeella, asettamalla PIN-koodi ja kääntämällä
avain virtalukossa PYSäYTYS-asentoon
ja sitten KäYNNISSä-asentoon.
Huollon määräajan ajastin nollaa huollon määräajan, kun aikataulun mukaiset huoltotoimenpiteet on suoritettu.
Vieritä kohdassaValitse ASETUKSET, vieritä kohtaan ANNA PIN-KOODI ja paina valintapainiketta.
Anna PIN-koodi. Katso kohta Suojattujen valikoiden käyttö.
Vieritä kohdassaValitse HUOLTO, vieritä kohtaan TUNNIN KULUTTUA ja paina valintapainiketta.
Vieritä kohtaan HUOLLON MääRäAIKA.
Note: Jos huollon määräaika on nyt, kohdan HUOLLON MääRäAIKA vieressä lukee NOW (NYT).
Korosta huoltoväli ja paina valintapainiketta.
Note: Huoltoväli (250 tuntia, 500 tuntia jne.) sijaitsee seuraavan kohdan vieressä:HUOLLON MääRäAIKA.Huoltoväli sisältyy suojattuun valikkoon.
Kun näyttöön ilmestyy teksti RESET SERVICE TIMER? (NOLLATAANKO HUOLTOAJASTIN?), valitse valintapainikkeella YES (Kyllä) tai paluupainikkeella NO (Ei).
Kun olet valinnut YES (Kyllä), huoltovälinäyttö tyhjenee ja huoltoaikavalinnat tulevat uudelleen näkyviin.
Valittu asetus näkyy X:nä ajonopeuden pylväskaaviossa vakionopeussäätimen ja polkimen pysäytyksen asetusten kanssa. X palkissa näyttää, että työnvalvoja rajoittaa enimmäisnopeutta (Kuva 29).
Note: Tämä asetus säilyy muistissa ja rajoittaa ajonopeutta, kunnes sitä muutetaan.
Vieritä kohdassaMACHINE SETTINGS (Koneen asetukset) kohtaan MOW SPEED (Leikkuunopeus).
Lisää enimmäisleikkuunopeutta 0,8 km/h kerrallaan arvoon 1,6–12,9 km/h vasemman- ja oikeanpuoleisen navigointipainikkeen avulla.
Valittu asetus näkyy X:nä ajonopeuden pylväskaaviossa vakionopeussäätimen ja polkimen pysäytyksen asetusten kanssa. X palkissa näyttää, että työnvalvoja rajoittaa enimmäisnopeutta (Kuva 29).
Note: Tämä asetus säilyy muistissa ja rajoittaa ajonopeutta, kunnes sitä muutetaan.
Vieritä kohdassaMACHINE SETTINGS (Koneen asetukset) kohtaan TRANSPORT SPEED (Kuljetusnopeus).
Lisää enimmäiskuljetusnopeutta 0,8 km/h kerrallaan arvoon 8,0–16,0 km/h vasemman- ja oikeanpuoleisen navigointipainikkeen avulla.
Vieritä kohdassaValitse ASETUKSET ja vieritä kohtaan SMART POWER.
Kytke toiminto PääLLE tai POIS painamalla oikeaa navigointipainiketta.
Vieritä kohdassa MACHINE SETTINGS (Koneen asetukset) kohtaan COUNTERBALANCE (Vastapaino).
Valitse joko ALH., KESKI tai KORKEA vastapaino painamalla oikeaa navigointipainiketta.
Vieritä kohdassaMACHINE SETTINGS (Koneen asetukset) kohtaan ACCELERATION (Kiihdytys).
Vaihda ALH.-, KESKI- tai KORKEA-asetuksen välillä painamalla oikeaa navigointipainiketta.
Note: Käytön kannalta voi olla järkevää suorittaa pysäköintiregeneraatio ennen kuin nokikuorman taso on 100 %. Tällöin moottorin on täytynyt olla käynnissä yli 50 tuntia edellisen onnistuneen nollaus-, pysäköinti- tai palautusregeneraation jälkeen.
KäytäTeknikon valikkoa, kun haluat tarkastella moottorin regeneraation ohjauksen ja nokitason nykytilaa.
Vieritä kohdassa SETTINGS (Asetukset) kohtaan DPF REGENERATION (Hiukkassuodattimen regeneraatio) ja paina valintapainiketta.
Vieritä kohdassa DPF REGENERATION (Hiukkassuodattimen regeneraatio) kohtaan TECHNICIAN (Teknikko) ja paina valintapainiketta.


Valo vilkkuu punaisena: aktiivinen vika
Jatkuva punainen: aktiivinen ilmoitus
Jatkuva sininen: kalibrointi-/valintaikkunaviestit
Jatkuva vihreä: normaali toiminta
Tämä kone jarruttaa dynaamisesti ja pysähtyy, kun ajopoljin palautetaan vapaalle.
Note: Jos haluat hidastaa tasaisesti, vapauta ajopoljin hitaasti takaisin vapaalle käyttämällä jalkaasi. Älä nosta jalkaasi polkimelta niin, että poljin napsahtaa takaisin vapaa-asentoon, ellet aio pysähtyä nopeasti.
Koneen tulee pysähtyä kokonaan noin 3,7 metrin päässä ajettaessa enimmäiskuljetusnopeudella 16 km/h.
Merkitse tasaisella, kuivalla päällysteellä 3,7 metrin matkan alku ja loppu.
Aja konetta enimmäiskuljetusnopeudella 16 km/h ja ota jalka pois polkimelta 3,7 metrin matkan alussa.
Katso, pysähtyykö kone 0,6 metrin sisällä loppumerkinnästä (3,7 m).
Ota yhteys Toro-jälleenmyyjään, jos koneen pysähtymismatka ei ole 0,6 metrin sisällä tästä etäisyydestä.
Kuljetuksen peruutusnopeus
Jos työnvalvojan asettama enimmäiskuljetusnopeus on yli 8,0 km/h, suurin peruutusnopeus on 8,0 km/h.
Jos työnvalvojan asettama enimmäiskuljetusnopeus on 8,0 km/h tai alle, suurin peruutusnopeus on sama kuin työnvalvojan asettama kuljetusnopeus.
Leikkuun peruutusnopeus
Jos työnvalvojan asettama enimmäisleikkuunopeus on yli 6,4 km/h, suurin peruutusnopeus on 6,4 km/h.
Jos työnvalvojan asettama enimmäisleikkuunopeus on 6,4 km/h tai alle, suurin peruutusnopeus on sama kuin työnvalvojan asettama kuljetusnopeus.
Tämän koneen arvioidut ajonopeudet näkyvät kilometreinä tunnissa (km/h) tai maileina tunnissa (mph).
Hetkellinen nopeus näkyy vakionopeussäätimen näytön ja Virtual Pedal Stop -näytön vasemmassa yläkulmassa.
Ajonopeudet ovat arvioita, ja ne on kalibroitu niin, että arviot ovat tarkimmat 8,0 km/h:n nopeudella leikkuun aikana. Näytössä näkyvät nopeudet ovat tarkkoja, kun nopeus on 0,8 km/h näytössä näkyvän nopeuden yläpuolella tai alapuolella ajettaessa kuivalla, tasaisella päällysteellä.
Ota yhteys valtuutettuun Toro-jälleenmyyjään, jos koneen mitatut nopeudet poikkeavat näytössä näkyvistä nopeuksista yli 2,4 km/h.
Kun kone käynnistetään kylmällä säällä, lämmitystila rajoittaa moottorin nopeuden alhaiselle joutokäynnille lyhyeksi ajaksi moottorin käynnistämisen jälkeen, mikä estää komponenttivaurioita, joita voisi ilmetä, jos konetta käytettäisiin öljyn ollessa kylmää.
Tietokeskuksen näytössä oleva lumihiutalekuvake
ilmaisee, kun lämmitystila
on käytössä. Käytä konetta vasta, kun lämmitysaika
on päättynyt.
Omistaja ja käyttäjä voivat estää loukkaantumisia tai omaisuusvahinkoja aiheuttavat tapaturmat ja ovat siksi vastuussa niistä.
Pukeudu asianmukaisesti. Käytä silmäsuojaimia, pitkiä housuja, tukevia liukastumisen estäviä kenkiä ja kuulosuojaimia. Sido pitkät hiukset. Älä käytä löysiä vaatteita tai riippuvia koruja. Käytä pölynaamaria pölyisissä käyttöolosuhteissa.
Älä käytä konetta sairaana, väsyneenä tai alkoholin tai huumaavien aineiden vaikutuksen alaisena.
Koneen käyttö vaatii käyttäjän täyden huomion. Jos käyttäjän huomio keskittyy muualle, saattaa seurata henkilö- tai omaisuusvahinko.
Varmista ennen moottorin käynnistämistä, että kaikki käytöt ovat vapaalla ja että seisontajarru on kytketty. Käynnistä moottori ollessasi käyttäjän paikalla.
Älä kuljeta matkustajia koneessa äläkä päästä sivullisia tai lapsia käyttöalueelle.
Käytä konetta vain, kun näkyvyys on hyvä, jotta vältät kuopat ja piilevät vaarat.
Vältä märän ruohon leikkuuta. Heikentynyt pito voi aiheuttaa koneen luisumisen.
Pidä kädet ja jalat etäällä pyörivistä osista. Pysy etäällä heittoaukosta.
Varmista ennen peruuttamista, että reitti on vapaa, katsomalla taakse ja alas.
Ole varovainen lähestyessäsi kulmia, joissa on huono näkyvyys, pensaita, puita tai muita näköesteitä.
Pysäytä terät, jos et leikkaa ruohoa.
Jos kone osuu esteeseen tai tärisee epätavallisesti, pysäytä kone, irrota virta-avain ja odota, että kaikki liikkuvat osat ovat pysähtyneet, ennen kuin tarkastat lisälaitteen. Suorita tarvittavat korjaukset ennen koneen käytön jatkamista.
Hidasta ja ole varovainen kääntyessäsi koneella ja ylittäessäsi teitä ja jalkakäytäviä. Anna muille aina etuajo-oikeus.
Kytke leikkuuyksikön käyttö pois, sammuta moottori, irrota virta-avain ja odota, että kaikki liike on pysähtynyt, ennen kuin säädät leikkuukorkeutta (ellei sitä voi säätää käyttäjän paikalta).
Käytä moottoria vain tiloissa, joissa on hyvä ilmanvaihto. Pakokaasut sisältävät hiilimonoksidia, joka on hengenvaarallinen hengitettäessä.
Älä jätä käynnissä olevaa konetta ilman valvontaa.
Suorita seuraavat toimenpiteet ennen käyttäjän paikalta poistumista:
Pysäköi kone tasaiselle alustalle.
Vapauta voimanulosotto ja laske lisälaitteet alas.
Kytke seisontajarru.
Sammuta moottori ja irrota virta-avain.
Odota, että kaikki liikkuvat osat ovat pysähtyneet.
Käytä konetta vain, kun näkyvyys on hyvä. Älä käytä konetta ukonilman aikana.
Älä käytä konetta hinaukseen.
Käytä vain Toron hyväksymiä lisävarusteita, lisälaitteita ja varaosia.
Käytä vakionopeussäädintä (jos varusteena) vain silloin, kun konetta voidaan käyttää avoimella ja tasaisella alueella, jossa ei ole esteitä ja jossa kone voi liikkua tasaisella nopeudella keskeytyksettä.
Kaatumissuojausjärjestelmä on keskeinen ja tehokas turvalaite.
Älä irrota mitään kaatumissuojausjärjestelmän osia koneesta.
Varmista, että turvavyö on kiinnitetty koneeseen.
Vedä turvavyön hihna vatsasi yli ja kiinnitä vyö istuimen toisella puolella olevaan solkeen.
Kun haluat irrottaa turvavyön, pitele siitä kiinni, vapauta se painamalla soljen painiketta ja ohjaa se automaattiseen sisäänvetoaukkoon. Varmista, että turvavyö on nopeasti avattavissa hätätilanteessa.
Tarkista vapaa alikulkukorkeus ja varo osumasta esteisiin.
Pidä kaatumissuojausjärjestelmä turvallisessa käyttökunnossa tarkistamalla se vaurioiden varalta säännöllisesti ja pitämällä kaikki kiinnittimet tiukalla.
Vaihda vaurioituneet kaatumissuojausjärjestelmän osat. Älä korjaa tai muuta niitä.
Toron asentama ohjaamo toimii turvakaarena.
Käytä aina turvavyötä.
Rinteissä on huomattava koneen hallinnan menettämisen ja kaatumisen vaara. Tällaiset onnettomuudet voivat aiheuttaa vakavan tapaturman tai kuoleman. Käyttäjä on vastuussa turvallisesta käytöstä rinteissä. Koneen käyttö rinteissä edellyttää erityistä huolellisuutta.
Käyttäjän on arvioitava leikkuupaikan olosuhteet ja tarkastettava käyttöpaikka ja määritettävä niiden perusteella, onko rinne turvallinen koneen käyttöön. Tämä tarkastus on tehtävä huolellisesti ja harkiten.
Kun käytät konetta rinteissä, tarkista alla olevat ohjeet ja määritä, voidaanko konetta käyttää kyseisellä paikalla ja kyseisissä olosuhteissa. Maaston muutokset voivat vaikuttaa koneen käyttöön rinteissä.
Vältä koneen käynnistämistä, pysäyttämistä tai kääntämistä rinteissä. Vältä nopeuden tai suunnan äkillistä muuttamista. Käänny hitaasti ja vähän kerrallaan.
Älä käytä konetta olosuhteissa, joissa pito, ohjaus tai vakaus ovat kyseenalaisia.
Poista tai merkitse esteet, kuten ojat, kuopat, urat, töyssyt, kivet tai muut piilevät vaarat. Korkea ruoho voi peittää esteet. Maaston epätasaisuudet voivat kaataa koneen.
Huomaa, että koneen käyttö märässä ruohossa, poikittain rinteissä tai alamäessä saattaa johtaa koneen pidon menettämiseen. Pidon menetys vetopyörissä saattaa aiheuttaa luisumisen ja jarrujen ja ohjauksen hallinnan menetyksen.
Käytä konetta erityisen varovasti pudotusten, ojien, vallien, vesiesteiden tai muiden vaarojen lähellä. Kone voi kaatua yllättäen, jos pyörä menee reunan yli tai jos reuna sortuu. Määritä suoja-alue koneen ja mahdollisen vaaran välille.
Tunnista vaarat rinteen juurella. Jos vaaroja on, leikkaa rinne kävellen ohjattavalla ruohonleikkurilla.
Jos mahdollista, pidä leikkuuyksiköt laskettuina alas rinteissä käytön aikana. Leikkuuyksiköiden nostaminen rinteissä käytön aikana voi heikentää koneen vakautta.
Ole erittäin varovainen käyttäessäsi ruohonkeräysjärjestelmiä tai muita lisälaitteita. Ne voivat vaikuttaa koneen vakauteen ja aiheuttaa hallinnan menetyksen.
Tässä koneessa on autotyylinen kaasu, jota ohjataan ajopolkimella.
Koneessa ei ole erillistä kaasukytkintä tai kaasuvipua.
Kun jalka poistetaan ajopolkimelta, kone jarruttaa dynaamisesti ja pysähtyy.
Poljin on optimoitu tuottamaan reagoiva mutta vakaa vaste, joka mahdollistaa jatkuvan hallinnan epätasaisessa maastossa sekä nopean ja tasaisen jarrutuksen.
Kuljetuksen aikana ajopoljin toimii samalla tavalla kuin autossa ja vaihtaa moottori- ja ajonopeutta ajopolkimen asennon mukaan.
Ruohonleikkuun aikana moottorin nopeus nousee automaattisesti korkealle joutokäynnille.
Jos moottori on alhaisella joutokäynnillä, leikkuuyksiköiden nostaminen, ajopolkimen painaminen tai muun toiminnon suorittaminen nostaa moottorin nopeuden vähimmäistyönopeuteen, jolloin toiminnon suorittamiseen on tarpeeksi tehoa.
Rajoita laitteen joutokäyntiaikaa dieselhiukkassuodattimen (DPF) regeneraation suosituksen mukaisesti. Sammuta kone, jotta vältetään tarpeeton joutokäynti.
Työnvalvoja voi rajoittaa koneen enimmäisajonopeutta määrittämällä enimmäisnopeudet PIN-suojattujen valikkojen asetuksissa.
Saavutettavissa olevaa ajopolkimen käyttöä, vakionopeutta ja polkimen pysäytyksen ajonopeuksia rajoitetaan PIN-suojatuissa valikoissa asetetuilla enimmäisnopeuksilla.
Jos tiellä on este, nosta leikkuuyksiköitä tai leikkaa esteen ympäriltä.
Kun konetta kuljetetaan työalueiden välillä, sammuta voimanulosotto ja nosta leikkuuyksiköt kokonaan ylös. Näin ajopoljinta voidaan käyttää kuin autossa.
Aja aina hitaasti epätasaisilla alueilla.
Älä koskaan sammuta konetta ajon aikana.
Tutustu koneen ominaisuuksiin harjoittelemalla sen käyttöä.
Nosta leikkuuyksiköt, vapauta seisontajarru, paina ajopoljinta ja aja varovasti avoimelle alueelle.
Harjoittele koneella ajamista, koska siinä on hydrostaattinen vaihteisto ja se voi olla ominaisuuksiltaan erilainen kuin monet nurmikonhoitokoneet.
Harjoittele ajoa eteen- ja taaksepäin sekä liikkeelle lähtöä ja pysähtymistä. Kun haluat pysäyttää koneen, ota jalka pois ajopolkimelta ja anna sen palata VAPAA-asentoon.
Note: Jos ajat alas rinnettä, saatat joutua käyttämään peruutuspoljinta pysähtymiseen.
Kun haluat pysäyttää ajoneuvon nopeasti, nosta jalkasi pois ajopolkimelta.
Harjoittele esteiden kiertoa leikkuuyksiköt laskettuna ja nostettuna. Varo vahingoittamasta konetta tai leikkuuyksiköitä ajaessasi kapeista väleistä.
Ajopolkimella säädellään koneen eteenpäinajo- ja peruutusnopeutta sekä dynaamista jarrutusta, kun se palautetaan vapaalle.
Tässä koneessa on autotyyppinen kaasu. Moottorin nopeutta ja koneen nopeutta säädetään polkimella.
Kuljetuksen aikana ajopoljin toimii samalla tavalla kuin autossa ja vaihtaa moottori- ja ajonopeutta ajopolkimen asennon mukaan.
Ruohonleikkuun aikana moottorin nopeus nousee automaattisesti korkealle joutokäynnille leikkuutehon optimoimista varten, ja ajopoljin ohjaa vain ajonopeutta.
Mitä pidemmälle poljinta painetaan eteen- tai taaksepäin, sitä nopeammin kone liikkuu.
Jos haluat pysäyttää koneen tasaisesti kuljetuksen tai ruohonleikkuun aikana, palauta ajopoljin jalalla vapaalle haluamallasi nopeudella.
Suurin jarrutus saadaan aikaan nostamalla jalka ajopolkimelta, jolloin se palaa vapaalle. Kone jarruttaa dynaamisesti ja pysähtyy.
Tämän vetojärjestelmän avulla kiihdytysasetuksia voidaan mukauttaa käyttäjän ja kenttien vaatimusten mukaan. Lisätietoja asetusten muuttamisesta on kohdassa Kiihdytystilan toiminta.

Virtual Pedal Stop (VPS) ‑ominaisuuden avulla voidaan tilapäisesti rajoittaa enimmäisajonopeutta sekä leikkuu- että kuljetusalueella.
Pääset tähän toimintoon painamalla päävalikossa tietokeskuksen navigointipainiketta ylös/alas (Kuva 29).
Säädä VPS-ominaisuudella enimmäisajonopeutta omien tarpeiden tai käyttökohteen mukaisesti.
VPS-nopeusrajoitus ei voi olla suurempi kuin työnvalvojan asettama enimmäisajonopeus.
VPS on tilapäinen asetus. Tämä toiminto palautuu työnvalvojan asettamiin nopeusasetuksiin, kun virta-avain käännetään PYSäYTYS-asentoon.
Jos työnvalvoja muuttaa ajonopeutta suojatun valikon asetuksissa tai jos muutat sitä itse VPS-ominaisuuden kautta, ajopoljin ohjelmoituu automaattisesti uudelleen käyttämään koko ajopolkimen painallusta vapaa-asennon ja uuden enimmäisajonopeusasetuksen välillä.
Enimmäisajonopeusasetuksen laskeminen mahdollistaa vetojärjestelmän tarkan hallinnan.

Kun käytät VPS-ominaisuutta, laske maksiminopeutta tilapäisesti seuraavissa tilanteissa:
leikkuuväylän puhdistuskierroksen aikana
kun konetta käytetään huoltoliikkeessä tai sen lähellä
kun konetta lastataan perävaunuun.
Note: Alhaisempi enimmäisnopeus mahdollistaa koneen paremman hallinnan kyseisissä tilanteissa.
Vakionopeussäätimen kytkimellä voidaan lukita vakionopeus ja säilyttää haluttu ajonopeus. Vakionopeussäädin poistetaan käytöstä painamalla kytkimen takaosaa, kytkimen keskiasento ottaa vakionopeussäätimen käyttöön ja kytkimen etuosalla määritetään haluttu ajonopeus.
Kun vakionopeussäätimen kytkin on otettu käyttöön ja nopeus on asetettu (Kuva 30), säädä vakionopeussäätimen nopeusasetusta tietokeskuksessa (Kuva 30 ja Kuva 31).
Poista vakionopeussäädin käytöstä seuraavasti:
Kun käytössä on kuljetusnopeusalue, käytä peruutuspoljinta, kytke seisontajarru tai paina vakionopeussäätimen kytkin POIS-asentoon.
Kun käytössä on leikkuunopeusalue, käytä peruutuspoljinta, kytke seisontajarru, vapauta voimanulosotto tai paina vakionopeussäätimen kytkin POIS-asentoon.
Note: Vakionopeussäätimen vapauttaminen pysäyttää koneen dynaamisesti. Jos haluat poistaa vakionopeussäätimen käytöstä ajon aikana, paina ajopoljinta, jotta siirtyminen vakionopeussäätimestä manuaaliseen nopeudenhallintaan sujuu tasaisesti.

Aseta vakionopeus pitkille etäisyyksille, joissa ei ole paljon esteitä.
Käytä tietokeskusta nopeuden säätöön epätasaisessa maastossa.
Käytä vakionopeussäädintä käännöksissä seuraavasti:
Säädä leikkuun aikana turvallinen ja miellyttävä nopeus leikkuulinjojen päässä kääntymistä varten.
Nosta nopeutta leikkuuväylän leikkuun aikana painamalla ajopoljinta.
Ota jalka pois polkimelta, kun teet käännöstä seuraavaa leikkuuväylää varten.
Koneen nopeus hidastuu alhaiseen vakionopeussäätimen asetukseen, jolloin voit tehdä tehokkaan käännöksen tasaisella nopeudella.
Kääntymisen jälkeen nosta koneen nopeus ajopolkimella seuraavaa leikkuuväylää varten.
Tämä toiminto määrittää, kuinka nopeasti kone vaihtaa ajonopeutta, kun ajopoljin ei ole VAPAA-asennossa.
Note: Jos nostat jalkasi pois ajopolkimelta ja annat sen palata VAPAA-asentoon koneen liikkuessa, jarrutusprofiili kytkeytyy. Jarrutusprofiili on aina sama, eikä sitä voi mukauttaa kiihdytystilatoiminnolla.
Kiihdytystilaa vaihdetaan siirtymällä tietokeskuksen suojattuihin valikoihin. Kiihdytystilassa on seuraavat kolme asentoa:
Alh. – maltillisin kiihtyvyys ja hidastus
Keski (oletus) – keskitason kiihtyvyys ja hidastus
Korkea – voimakkain kiihtyvyys ja hidastus
Vastapainojärjestelmä pitää yllä leikkuuyksikön nostosylintereiden hydraulista vastapainetta. Vastapainojärjestelmä valvoo reaaliaikaista ajopainetta ja muuttaa nostosylinterin vastapainetta dynaamisesti ajokyvyn ja leikkuujäljen optimointia varten. Vastapainon paine on asetettu tehtaalla niin, että leikkuujälki ja vetokyky ovat mahdollisimman hyvässä tasapainossa useimmissa nurmiolosuhteissa. Vastapainon asetusta vähentämällä voi lisätä leikkuuyksikön vakautta, mutta samalla vetokyky voi heiketä. Vetokykyä voi lisätä kasvattamalla vastapainon asetusta, mutta tämä voi heikentää leikkuujälkeä. Katso kohta Vastapainoasetusten muuttaminen.
Vastapainoasetuksia voidaan mukauttaa seuraavasti:
Alh. – suurin määrä painoa leikkuuyksiköissä ja alin paino vetopyörissä
Keski – keskitason paino leikkuuyksiköissä ja vetopyörissä
Korkea – vähiten painoa leikkuuyksiköissä ja suurin paino koneen vetopyörissä
Leikkuuyksikön tarvitsemaa vastapainoa (noste ylös) voidaan muuttaa leikkuuolosuhteita vastaavaksi.
Pysäköi kone tasaiselle alustalle, laske leikkuupöydät alas, käännä virta-avain PYSäYTYS-asentoon ja kytke seisontajarru.
Käännä virta-avain KäYNNISSä-asentoon.
Siirry tietokeskuksen Asetukset-valikon kohtaan Vastapaino.
Valitse joko alhainen, keskisuuri tai korkea vastapaino painamalla oikeaa painiketta.
Note: Kun säätö on valmis, siirrä kone testialueelle ja käytä konetta uudella asetuksella. Uusi vastapainoasetus voi muuttaa tehokasta leikkuukorkeutta.
Smart Power -ominaisuuden ansiosta kuljettajan ei tarvitse kuunnella moottorin nopeutta raskaassa kuormituksessa. Smart Power ehkäisee moottorin juuttumista raskaissa leikkuuolosuhteissa säätelemällä automaattisesti koneen nopeutta ja optimoimalla leikkuutuloksen.
Note: Smart Power -ominaisuus on oletusarvoisesti KäYTöSSä.
Important: Polttoainejärjestelmä ilmaa itsensä automaattisesti ennen moottorin käynnistystä, jos moottori käynnistetään ensimmäisen kerran, jos moottori on sammunut polttoaineen loppumisen takia tai jos polttoainejärjestelmää on huollettu.
Istu istuimelle, pidä jalka poissa ajopolkimelta, jotta poljin on VAPAA-asennossa, kytke seisontajarru ja varmista, että voimanulosoton kytkin on VAPAUTETTU-asennossa.
Käännä virta-avain KäYNNISSä-asentoon.
Kun hehkutulppien merkkivalo sammuu, käännä virta-avain KäYNNISTYS-asentoon. Vapauta virta-avain heti moottorin käynnistyttyä ja anna sen palata KäYNNISSä-asentoon.
Käytä moottoria tyhjäkäynnillä, kunnes se lämpenee.
Siirrä kaikki ohjaimet VAPAA-asentoon, kytke seisontajarru ja anna moottorin saavuttaa alhainen joutokäyntinopeus.
Important: Kun konetta on käytetty täydellä kuormalla, anna moottorin käydä joutokäynnillä viisi minuuttia, ennen kuin sammutat sen. Jos näin ei toimita, moottorin osat voivat vaurioitua.
Käännä virta-avain PYSäYTYS-asentoon ja irrota avain.
Käynnistä moottori, vapauta jarru, vapauta voimanulosotto ja nosta leikkuuyksiköt.
Aja kone leikkuualueelle käyttämällä ajopoljinta kuten auton kaasupoljinta.
Vedä voimanulosoton kytkin KYTKETTY-asentoon.
Aloita ajaminen ja laske leikkuuyksiköt vasta, kun kaikki leikkuuyksiköt ovat leikkuualueen yllä.
Aloita alueen leikkuu.
Kun leikkuuväylä on valmis, nosta leikkuuyksiköt napauttamalla leikkuunohjausvipua taaksepäin ennen leikkuualueelta poistumista.
Tee pisaran muotoinen käännös seuraavaa ajoa varten.
Laske kaikki leikkuuyksiköt automaattisesti painamalla leikkuunohjausvipua leikkuualueella ja jatka leikkuuta.
Hiukkassuodatin (DPF) suodattaa pakokaasusta nokea.
Hiukkassuodattimen regeneraatioprosessi käyttää moottorin pakokaasun lämpöä, jota katalysaattori nostaa, kun se muuntaa kertynyttä nokea tuhkaksi.
Pidä seuraavat seikat mielessä, jotta hiukkasuodatin pysyy puhtaana:
Käytä moottoria täydellä nopeudella mahdollisuuksien mukaan, jotta hiukkassuodatin puhdistaa itsensä paremmin.
Käytä sopivaa moottoriöljyä.
Käytä moottoria mahdollisimman vähän joutokäynnillä.
Käytä vain erittäin vähärikkistä dieselpolttoainetta.
Pidä hiukkassuodattimen toiminta mielessä koneen käytön ja huollon aikana. Moottorin kuormitus tuottaa yleensä riittävän pakokaasujen lämpötilan hiukkassuodattimen regeneraatioon.
Important: Noen kertymistä hiukkassuodattimeen voidaan vähentää käyttämällä moottoria mahdollisimman vähän joutokäynnillä tai alhaisella nopeudella.
Pakokaasujen lämpötila on korkea (noin 600 °C) hiukkassuodattimen regeneraation aikana. Kuumat pakokaasut saattavat vahingoittaa käyttäjää tai sivullisia.
Älä käytä moottoria suljetussa tilassa.
Varmista, että pakokaasujärjestelmän lähellä ei ole syttyviä materiaaleja.
Varmista, että kuuma pakokaasu ei osu pintoihin, joita korkea lämpötila voi vahingoittaa.
Älä kosketa kuumaa pakokaasujärjestelmän osaa.
Älä seiso koneen pakoputken lähellä.
| Kuvake | Kuvakkeen määritelmä |
![]() | • Pysäköinti- tai palautusregeneraatiokuvake – regenerointia pyydetään. |
| • Suorita regeneraatio välittömästi. | |
![]() | • Regeneraatio on kuitattu, ja pyyntöä käsitellään. |
![]() | • Regeneraatio on käynnissä, ja pakokaasun lämpötila on koholla. |
![]() | • Typpioksidipäästöjen seurantajärjestelmän toimintahäiriö. Kone on huollettava. |
| Regeneraatiotyyppi | Hiukkassuodattimen regeneraatiota aiheuttavat olosuhteet | Hiukkassuodattimen käytön kuvaus |
|---|---|---|
| Passiivinen | Tehdään koneen normaalin käytön aikana suurella moottorin nopeudella tai kuormituksella | • Tietokeskuksessa ei näy passiivisen regeneraation kuvaketta. |
| • Passiivisen regeneraation aikana hiukkassuodatin käsittelee kuumia pakokaasuja, hapettaa haitallisia päästöjä ja polttaa nokea tuhkaksi. | ||
| Apu | Tehdään moottorin alhaisen nopeuden tai kuormituksen takia tai tietokoneen havaitessa hiukkassuodattimen alkavan tukkeutua noesta | • Tietokeskuksessa ei näy apuregeneraation kuvaketta. |
| • Apuregeneraation aikana moottorin tietokone säätää moottorin asetuksia pakokaasujen lämpötilan nostamista varten. | ||
| Nollaus | Tapahtuu 100 tunnin välein | • Kun korkean pakokaasujen lämpötilan
kuvake näkyy
tietokeskuksessa, regeneraatio on käynnissä. |
| Tapahtuu myös, jos moottorin normaali toiminta ylittää sallitun suodattimeen kertyneen nokimäärän | ||
| • Nollausregeneraation aikana moottorin tietokone ylläpitää normaalia suurempaa moottorin nopeutta suodattimen regeneraation varmistamiseksi. |
| Regeneraatiotyyppi | Hiukkassuodattimen regeneraatiota aiheuttavat olosuhteet | Hiukkassuodattimen käytön kuvaus |
|---|---|---|
| Pysäköinti | Tapahtuu, koska tietokone päättelee, että automaattinen hiukkassuodattimen puhdistus ei ole ollut riittävä. | • Kun nollaus odottaa- /
pysäköintiregeneraation tai palautusregeneraation kuvake näkyy tai regeneraatiota
pyydetään. |
| Tapahtuu myös silloin, kun käyttäjä käynnistää pysäköintiregeneraation | ||
| Voi tapahtua, koska regeneraation esto on aloitettu ja se on poistanut automaattisen hiukkassuodattimen puhdistuksen käytöstä | • Suorita pysäköintiregeneraatio mahdollisimman pian, jotta palautusregeneraatiota ei tarvita. | |
| Voi johtua väärän polttoaineen tai moottoriöljyn käytöstä | • Pysäköintiregeneraatio kestää 30–60 minuuttia. | |
| • Polttoainesäiliössä täytyy olla vähintään neljäsosan verran polttoainetta. | ||
| • Kone on pysäköitävä pysäköintiregeneraatiota varten. | ||
| Palautus | Tapahtuu, koska pysäköidyn palautuksen pyyntö on ohitettu, jolloin hiukkassuodatin voi olla vaarallisen tukossa | • Kun nollaus odottaa- / pysäköintiregeneraation
tai palautusregeneraation kuvake näytetään, palautusregeneraatiota
pyydetään. |
| • Palautusregeneraatio kestää enintään kolme tuntia. | ||
| • Polttoainesäiliön täytyy olla vähintään puoliksi täynnä. | ||
| • Kone on pysäköitävä palautusregeneraatiota varten. |
Vieritä PääVALIKOSSA alas kohtaan HUOLTO ja paina valintapainiketta.
Vieritä kohdassa HUOLTO kohtaan DPF REGENERATION (Hiukkassuodattimen regeneraatio) ja paina valintapainiketta.
Valitse tarvitsemasi regenerointitoiminto.

AvaaAvaa DPF REGENERATION (Hiukkassuodattimen regeneraatio) ‑valikko ja vieritä kohtaan LAST REGEN (Edellinen regeneraatio).
Valitse LAST REGEN (Edellinen regeneraatio) -vaihtoehto.
Määritä LAST REGEN (Edellinen regeneraatio) -kentässä, kuinka monta tuntia olet käyttänyt moottoria edellisen nollaus-, pysäköinti- tai palautusregeneraation jälkeen.
Palaa paluupainikkeella DPF REGENERATION (Hiukkassuodattimen regeneraatio) ‑näyttöön.

Nollausregeneraatio tuottaa enemmän moottorin pakokaasuja. Jos käytät laitetta puiden, pensaiden, korkean ruohon tai muiden lämpötilaherkkien kasvien tai materiaalien ympärillä, voit estää moottorin tietokonetta suorittamasta nollausregeneraatiota INHIBIT REGEN (Estä regeneraatio) -asetuksella.
Note: INHIBIT REGEN (Estä regeneraatio) -vaihtoehtoa käytetään aina, kun konetta huolletaan suljetussa tilassa.
Note: Jos asetat tietokeskuksen estämään regeneraation, tietokeskus näyttää ilmoituksen 15 minuutin välein, kun moottori pyytää nollausregeneraatiota.
Important: Kun sammutat moottorin ja käynnistät sen uudelleen, Estä regeneraatio -asetus on oletusarvoisesti POIS.
AvaaAvaa DPF REGENERATION (Hiukkassuodattimen regeneraatio) ‑valikko ja vieritä kohtaan INHIBIT REGEN (Estä regeneraatio).
Valitse INHIBIT REGEN (Estä regeneraatio) -vaihtoehto.
Vaihda regeneraation eston asetukseksi POIS tai PääLLä.
Varmista, että koneen polttoainesäiliössä on tarpeeksi polttoainetta suoritettavan regeneraatiotyypin mukaan:
Pysäköintiregeneraatio: Varmista, että polttoainesäiliössä on vähintään neljäsosan verran polttoainetta ennen pysäköintiregeneraatiota.
Palautusregeneraatio: Varmista, että polttoainesäiliö on vähintään puoliksi täynnä ennen palautusregeneraatiota.
Siirrä kone ulos alueelle, jossa ei ole syttyviä materiaaleja tai esineitä, joita korkea lämpötila voi vahingoittaa.
Pysäköi kone tasaiselle alustalle, siirrä kaikki säätimet VAPAA-asentoon, vapauta voimanulosotto ja laske leikkuuyksiköt.
Kytke seisontajarru ja anna moottorin saavuttaa alhainen joutokäyntinopeus.
Kun moottorin tietokone pyytää pysäköintiregeneraatiota, seuraa tietokeskuksessa näkyviä ohjeita:
Important: Koneen tietokone peruu hiukkassuodattimen regeneraation, jos lisäät moottorin nopeutta alhaiselta joutokäynniltä tai vapautat seisontajarrun.
AvaaAvaa DPF REGENERATION (Hiukkassuodattimen regeneraatio) ‑valikko ja vieritä kohtaan PARKED REGEN (Pysäköintiregeneraatio) tai RECOVERY REGEN (Palautusregeneraatio).
Valitse PARKED REGEN (Pysäköintiregeneraatio) tai RECOVERY REGEN (Palautusregeneraatio).
Note: Palautusregeneraation aloittaminen edellyttää, että syötät oikean PIN-koodin.
Varmista REGEN PARAMETERS (Regeneroinnin parametrit) -näytössä, että polttoainetta on ¼ säiliön tilavuudesta, jos suoritat pysäköintiregeneraatiota, tai ½ säiliön tilavuudesta, jos suoritat palautusregeneraatiota. Varmista, että seisontajarru on kytketty ja moottorin nopeus on asetettu alhaiselle joutokäynnille. Jatka painamalla valintapainiketta.
Jatka INITIATE DPF REGEN (Käynnistä hiukkassuodattimen regeneraatio) -näytössä painamalla seuraava-painiketta.
Tietokeskus näyttää viestin INITIATE DPF REGEN (Käynnistä hiukkassuodattimen regeneraatio).
Note: Peru regeneraatio tarvittaessa painamalla peruutuskuvaketta.
Tietokeskuksessa näkyy aikaa jäljellä -viesti.
Tietokeskus näyttää alkunäytön,
ja regeneraation kuittauskuvake tulee näkyviin
.
Note: Kun hiukkassuodattimen regeneraatio on käynnissä,
tietokeskuksessa näkyy korkean pakokaasujen lämpötilan
kuvake
.
Kun moottorin tietokone saa valmiiksi pysäköinti- tai palautusregeneraation, tietokeskuksessa näkyy ilmoitus. Poistu alkunäyttöön painamalla mitä tahansa painiketta.
Note: Jos regeneraatio ei valmistu, seuraa ilmoituksia ja poistu alkunäyttöön painamalla mitä tahansa painiketta.
Käynnissä olevan pysäköinti- tai palautusregeneraation voi peruuttaa PARKED REGEN CANCEL (Pysäköintiregeneraation peruutus)- tai RECOVERY REGEN CANCEL (Palautusregeneraation peruutus) -asetuksella.
AvaaAvaa DPF REGENERATION (Hiukkassuodattimen regeneraatio) ‑valikko ja vieritä kohtaan PARKED REGEN (Pysäköintiregeneraatio) tai RECOVERY REGEN (Palautusregeneraatio).
Peruuta pysäköintiregeneraatio tai palautusregeneraatio painamalla valintapainiketta.

Leikkuukuviota on vaihdettava usein, jotta vältetään samaan suuntaan toistuvan leikkuun aiheuttamat leikkuujäljen ongelmat. Tämä on tehokkain tapa estää aaltokuvioiden muodostuminen.
Lisätietoja on After-cut Appearance Troubleshooting Guide -oppaassa osoitteessa www.Toro.com.
Jotta nurmeen saadaan ammattimaisen suorat linjat ja raidat, joita tietyt käyttökohteet edellyttävät, etsi puu tai muu kaukana oleva kohde ja aja suoraan sitä kohti.
Leikkuuyksiköihin voidaan kiinnittää kiinnipultattavat levittimet. Levittimet toimivat hyvin silloin, kun ruohoa leikataan niin säännöllisesti, että kerralla leikataan korkeintaan 25 mm ruohoa. Jos leikataan liian pitkää ruohoa levittimien ollessa kiinnitettyinä, jälki saattaa huonontua ja kone saattaa tuntua vaativan enemmän tehoa nurmen leikkaamiseen. Levittimet sopivat hyvin myös lehtien silppuamiseen syksyllä.
Leikkaa yhden leikkuun aikana korkeintaan noin 25 mm tai kolmasosa ruohon korkeudesta. Poikkeuksellisen rehevää ja tiheää ruohikkoa leikattaessa leikkuukorkeutta voidaan joutua korottamaan.
Terävä terä leikkaa puhtaasti repimättä tai silppuamatta ruohoa tylsän terän lailla. Repimisen ja silppuamisen seurauksena ruoho muuttuu ruskeaksi reunoilta, kasvu heikentyy ja alttius taudeille kasvaa. Varmista, että terä on hyvässä kunnossa ja että siipi on oikein. Katso kohta Terän tarkastus ja teroitus.
Varmista, että leikkuukotelot ovat hyvässä kunnossa. Oikaise mahdolliset kotelon osien taipumat, jotta terän kärkien ja kotelon etäisyys on oikea. Varmista, että missään rullissa ja kääntyvissä nivelissä ei ole välystä, jotta nurmivahingot ja huono leikkuujälki voidaan estää.
Pese kone leikkuun jälkeen huolellisesti puutarhaletkun avulla mutta ilman suutinta, jottei liiallinen vedenpaine aiheuttaisi veden pääsyä laitteen sisälle tai vaurioittaisi tiivisteitä tai laakereita. Varmista, että jäähdyttimessä ja öljynjäähdyttimessä ei ole likaa tai ruohosilppua. Tarkasta puhdistuksen jälkeen, että koneessa ei ole hydraulinestevuotoja ja että hydrauliosat ja mekaaniset osat eivät ole vaurioituneet tai kuluneet. Tarkista myös leikkuuyksikön terien terävyys.
Sammuta moottori, irrota virta-avain ja odota, että kaikki liikkuvat osat pysähtyvät, ennen kuin poistut käyttäjän paikalta. Anna koneen jäähtyä ennen sen säätöä, huoltoa, puhdistusta tai varastointia.
Vähennä tulipalon vaaraa poistamalla ruoho ja leikkuujäte leikkuuyksiköistä, käyttöpyöristä, äänenvaimentimista, jäähdytyssäleiköistä ja moottoritilasta. Puhdista öljy- ja polttoaineroiskeet.
Jos leikkuuyksiköt ovat kuljetusasennossa, käytä mekaanista varmistuslukkoa (jos saatavilla), ennen kuin jätät koneen ilman valvontaa.
Anna moottorin jäähtyä, ennen kuin varastoit laitteen suljettuun tilaan.
Irrota virta-avain ja sulje polttoaineen sulkuventtiili (jos asennettuna) ennen koneen varastointia tai kuljetusta.
Älä säilytä konetta tai polttoainesäiliötä tilassa, jossa on avotuli, kipinöitä tai varmistusliekki (esimerkiksi vedenlämmitin tai muu vastaava laite).
Huolla ja puhdista turvavyöt tarpeen mukaan
Irrota virta-avain ja sulje polttoaineen sulkuventtiili (jos asennettuna) ennen koneen varastointia tai kuljetusta.
Ole varovainen lastatessasi konetta perävaunuun tai kuorma-autoon.
Käytä täysleveää ramppia lastatessasi konetta perävaunuun tai kuorma-autoon.
Kiinnitä kone tiukasti.
Hätätilanteessa konetta voidaan liikuttaa eteenpäin avaamalla hydraulisessa säätötilavuuspumpussa oleva ohitusventtiili ja työntämällä tai hinaamalla konetta.
Important: Konetta ei saa työntää tai hinata nopeammin kuin 3–4,8 km/h. Suuremmalla nopeudella vaihteistoon voi tulla sisäisiä vaurioita.Ohitusventtiilien on oltava auki ja jarrun vapautettuna aina, kun konetta työnnetään tai hinataan.
Avaa istuimen jalustan salpa ja kallista istuin auki.
Paikanna ohitusventtiili istuimen alta ja hydrostaatin päältä (Kuva 37).

Löysää venttiileitä 3 kierrosta, jolloin öljyn ohivirtaus alkaa.
Note: Koska neste ohitetaan, konetta voidaan liikuttaa hitaasti vaurioittamatta vaihteistoa.
Paikanna jarrun vapautuksen lohko oikean eturenkaan läheltä ja hydraulisäiliön takaa (Kuva 38).

Aseta räikän tai vastaavan esineen pitkä pää, pidä lohkon musta nuppi sisällä ja pumppaa lohkoa kolme kertaa. Kun jarrua pumpattaessa tuntuu huomattava vastus, jarru vapautuu.
Important: Älä pumppaa lohkoa, kun sen pumppaaminen ei enää onnistu vaivatta. Jos lohkoa pumpataan liikaa, voi syntyä vaurioita.
Note: Kun lohkoon on kertynyt paine, jarru vapautuu noin 60 minuutin ajaksi. Vapauta jarru tarvittaessa uudelleen 60 minuutin kuluttua pumppaamalla lohkoa.
Työnnä tai hinaa konetta.
Kytke jarru vetämällä musta nuppi esiin tai käynnistämällä moottori.
Note: Jarru nollautuu automaattisesti, kun moottori käynnistetään, eikä mustaa nuppia tarvitse vetää esiin.
Sulje ohitusventtiilit. Kiristä venttiilit momenttiin 11 N·m.
Important: Varmista, että ohitusventtiilit on suljettu ennen koneen käytön aloittamista. Jos moottoria käytetään ohitusventtiilin ollessa auki, vaihteisto ylikuumenee.
Note: Koneen vasen ja oikea puoli määritellään normaalista käyttöasennosta käsin.
Suorita seuraavat toimenpiteet ennen käyttäjän paikalta poistumista:
Pysäköi kone tasaiselle alustalle.
Vapauta voimanulosotto ja laske lisälaitteet alas.
Kytke seisontajarru.
Sammuta moottori ja irrota virta-avain.
Odota, että kaikki liikkuvat osat ovat pysähtyneet.
Käytä asianmukaista vaatetusta, mukaan lukien silmiensuojaimia, pitkälahkeisia housuja ja lujatekoisia liukastumisen estäviä jalkineita. Pidä kädet, jalat, vaatteet, korut ja pitkät hiukset etäällä liikkuvista osista.
Jos jätät avaimen virtalukkoon, joku voi vahingossa käynnistää moottorin ja vahingoittaa vakavasti lähellä olijoita. Irrota avain virtalukosta ennen huoltoa.
Anna koneen osien jäähtyä ennen huollon suorittamista.
Jos leikkuuyksiköt ovat kuljetusasennossa, käytä mekaanista varmistuslukkoa (jos varusteena), ennen kuin jätät koneen ilman valvontaa.
Jos mahdollista, älä huolla konetta moottorin ollessa käynnissä. Pysy etäällä liikkuvista osista.
Käytä moottoria vain tiloissa, joissa on hyvä ilmanvaihto. Pakokaasut sisältävät hiilimonoksidia, joka on hengenvaarallinen hengitettäessä.
Tue kone pukeilla, kun työskentelet koneen alla.
Vapauta paine varovasti osista, joihin on varastoitunut energiaa.
Pidä kaikki koneen osat hyvässä kunnossa ja kaikkien laitteiden kiinnitykset ja erityisesti terien kiinnikkeet tiukalla.
Vaihda kaikki kuluneet tai vaurioituneet tarrat.
Käytä vain Toro-alkuperäisvaraosia, jotta kone toimii turvallisesti ja parhaalla mahdollisella tavalla. Muiden valmistajien varaosat voivat osoittautua vaarallisiksi, ja niiden käyttö voi johtaa tuotteen takuun raukeamiseen.
| Huoltoväli | Huoltotoimenpide |
|---|---|
| Ensimmäisen käyttötunnin jälkeen |
|
| 10 ensimmäisen käyttötunnin jälkeen |
|
| Aina ennen käyttöä tai päivittäin |
|
| 50 käyttötunnin välein |
|
| 100 käyttötunnin välein |
|
| 200 käyttötunnin välein |
|
| 250 käyttötunnin välein |
|
| 400 käyttötunnin välein |
|
| 800 käyttötunnin välein |
|
| 1000 käyttötunnin välein |
|
| 2000 käyttötunnin välein |
|
| 3000 käyttötunnin välein |
|
| Ennen varastointia |
|
| Kahden vuoden välein |
|
Important: Jos huollat konetta ja käytät moottoria pakokaasut ulos rakennuksesta vievä poistokanava asennettuna, aseta regeneraation eston asetukseksi PääLLä. Katso kohta Regeneraation eston asettaminen.
Ota tästä sivusta kopioita.
| Tarkistettavat kohdat | Viikolle: | ||||||
|---|---|---|---|---|---|---|---|
| Ma | Ti | Ke | To | Pe | La | Su | |
| Tarkista turvajärjestelmän toiminta. | |||||||
| Tarkista jarrujen toiminta. | |||||||
| Tarkista moottorin öljypinta ja polttoainemäärä. | |||||||
| Tyhjennä veden/polttoaineen erotin. | |||||||
| Tarkista ilmansuodattimen rajoitinilmaisin. | |||||||
| Tarkista, ettei jäähdyttimessä ja säleikössä ole roskia. | |||||||
| Kuuntele, kuuluuko moottorista epätavallisia käyntiääniä.1 | |||||||
| Tarkista, kuuluuko käytön aikana epätavallisia ääniä. | |||||||
| Tarkista hydraulinesteen määrä. | |||||||
| Tarkista hydraulisuodattimen ilmaisin. 2 | |||||||
| Tarkista, ettei hydrauliletkuissa ole vaurioita. | |||||||
| Tarkista nestevuodot. | |||||||
| Tarkista rengaspaine. | |||||||
| Tarkista mittareiden toiminta. | |||||||
| Tarkista leikkuukorkeussäätö. | |||||||
| Tarkista terien kunto. | |||||||
| Tarkista kaikkien rasvanippojen voitelu. 3 | |||||||
| Korjaa maalipinnan vauriot. | |||||||
|
1. Tarkista hehkutulppa ja ruiskutussuuttimet, jos käynnistys on hidas, savua on liikaa tai käyntiääni on karkea. 2. Tarkista moottorin käydessä ja öljyn ollessa käyttölämpötilassa. 3. Välittömästi jokaisen pesun jälkeen luettelon mukaisesta huoltovälistä riippumatta. |
|||||||
| Tarkastuksen suoritti: | ||
| Vika | Päivämäärä | Huomio |
| 1 | ||
| 2 | ||
| 3 | ||
| 4 | ||
| 5 | ||
| 6 | ||
| 7 | ||
| 8 | ||
Note: Kytkentä- ja hydraulikaavion voi tarvittaessa ladata maksuttomasti osoitteesta www.Toro.com etsimällä oman laitteen kotisivulla olevasta opaslinkistä.
| Huoltoväli | Huoltotoimenpide |
|---|---|
| Aina ennen käyttöä tai päivittäin |
|
Pysäköi kone tasaiselle alustalle.
Kytke seisontajarru.
Vapauta voimanulosotto.
Siirrä leikkuunohjausvipu LEIKKUUASENTOON.
Sammuta moottori ja irrota virta-avain.
Odota, kunnes kaikki liikkuvat osat ovat pysähtyneet.
Anna moottorin jäähtyä.
Käännä istuinta hieman ja nosta etukannatintanko ulos pidätinuran syvennyksestä.
Laske istuinta varovasti, kunnes se lukittuu paikalleen.
Note: Tue kone pukeilla, kun työskentelet koneen alla.
Käytä seuraavia kohtia koneen nostamiseen:

Etuosa: etuakseliputkessa olevien tunkin kannattimien aukot (Kuva 40).
Takaosa: taka-akseliputki.
| Huoltoväli | Huoltotoimenpide |
|---|---|
| 50 käyttötunnin välein |
|
Jos konetta käytetään normaaleissa olosuhteissa, voitele kaikki laakerit ja holkit määritettyjen huoltovälien mukaisesti litiumpohjaisella yleisrasvalla nro 2. Voitele laakerit ja holkit välittömästi jokaisen pesun jälkeen, luettelon mukaisesta huoltovälistä riippumatta.
Rasvanippojen sijainnit ja määrät ovat seuraavat:
Pumpun vetoakselin U-liitos (3) – Kuva 41

Leikkuuyksikön nostovarsien sylinterit (2/kpl) – Kuva 42

Nostovarren tapit (1 kussakin) – Kuva 42
Leikkuuyksikön kannatinrungon nivel (1/kpl) – Kuva 43

Nostovarren nivelakseli (1/kpl) – Kuva 44

Akselin olkatappi (1) – Kuva 45

Ohjaussylinterin pallonivelet (2) ja taka-akseli (1) – Kuva 46

Leikkuuyksikön kara-akselin laakerit (2/leikkuuyksikkö) – Kuva 47
Note: Kumpaa tahansa nippaa voidaan käyttää sen mukaan, kumpaan on helpompi ulottua. Pumppaa rasvaa nippaan, kunnes sitä alkaa tulla hiukan karakotelon pohjasta (leikkuuyksikön alla).

Takarullan laakerit (2/leikkuuyksikkö) – Kuva 48

Note: Varmista, että kunkin rullan kannattimen voitelu-ura kohdistuu rulla-akselin kummassakin päässä olevaan voiteluaukkoon. Uran ja aukon kohdistamista helpottaa rullan akselin toisessa päässä oleva kohdistusmerkki.
Sammuta moottori ja irrota virta-avain ennen öljyn tarkistusta tai lisäystä kampikammioon.
Älä muuta kierrosnopeussäätimen nopeutta tai käytä moottoria ylikierroksilla.
| Huoltoväli | Huoltotoimenpide |
|---|---|
| 400 käyttötunnin välein |
|
Tarkista, että ilmanottojärjestelmässä ei ole vuotoja, vaurioita tai löysiä letkunkiristimiä. Älä käytä viallista ilmansuodatinta.
Huolla ilmanpuhdistimen suodatin vain silloin, kun huoltoilmaisin edellyttää sitä. Ilmansuodattimen tarpeeton vaihtaminen vain kasvattaa mahdollisuutta, että moottoriin pääsee likaa suodattimen irrotuksen yhteydessä.
Important: Varmista, että suojus on asetettu oikein, että se on tiiviisti ilmanpuhdistimen rungon ympärillä ja että kuminen poistoventtiili osoittaa alaspäin, eli kello viiden ja seitsemän välille päästä katsottuna.


Toro Premium -moottoriöljyä on saatavana valtuutetulta Toro-jälleenmyyjältä (viskositeettiluokitus 15W-40 tai 10W-30).
Käytä vähintään seuraavien määritysten mukaista korkealaatuista, vähätuhkaista moottoriöljyä:
API-huoltoluokitus CJ-4 tai korkeampi
ACEA-huoltoluokitus E6
JASO-huoltoluokitus DH-2
Important: Jos käytetään moottoriöljyä, jonka luokitus ei ole API CJ-4 tai korkeampi, ACEA E6 tai JASO DH-2, hiukkassuodatin saattaa tukkeutua tai moottori vahingoittua.
Käytä seuraavaa moottoriöljyn viskositeettiluokitusta:
Suositus: SAE 15W-40 (yli -18 °C) F)
Vaihtoehto: SAE 10W-30 tai 5W-30 (kaikki lämpötilat)
| Huoltoväli | Huoltotoimenpide |
|---|---|
| Aina ennen käyttöä tai päivittäin |
|
Moottori toimitetaan kampikammio öljyllä täytettynä, mutta öljymäärä on kuitenkin tarkistettava ennen moottorin ensimmäistä käynnistystä ja sen jälkeen.
Important: Tarkista moottoriöljy päivittäin. Jos moottoriöljyn määrä on mittatikun Full-merkin yläpuolella, moottoriöljyyn on ehkä sekoittunut polttoainetta.Jos moottoriöljyn määrä on Full-merkin yläpuolella, vaihda moottoriöljy.
Paras aika tarkistaa moottoriöljy on moottorin ollessa viileä ennen päivän ensimmäistä käynnistystä. Jos moottori on ollut käynnissä, anna öljyn valua takaisin öljypohjaan ainakin 10 minuutin ajan ennen tarkistusta. Jos öljyn taso on mittatikun Add-merkinnän kohdalla tai sen alapuolella, lisää öljyä mittatikun Full-merkintään saakka.Älä täytä moottoria liian täyteen öljyä.
Important: Pidä moottoriöljyn määrä mittatikun ylä- ja alarajojen välissä. Moottori saattaa pysähtyä, jos öljyä on sitä käytettäessä liian vähän tai liian paljon.
Pysäköi kone tasaiselle alustalle.
Tarkista moottoriöljyn määrä (Kuva 50).


Note: Kun käytät eri öljyä, tyhjennä kaikki vanha öljy kampikammiosta ennen uuden öljyn lisäämistä.
Noin 5,2 litraa suodattimen kanssa
| Huoltoväli | Huoltotoimenpide |
|---|---|
| 250 käyttötunnin välein |
|
Käynnistä moottori ja anna sen käydä viiden minuutin ajan, jotta öljy lämpenee.
Pysäköi kone tasaiselle alustalle, sammuta moottori, irrota virta-avain ja odota, että kaikki liikkuvat osat ovat pysähtyneet, ennen kuin poistut käyttäjän paikalta.
Vaihda moottoriöljy ja suodatin (Kuva 51).


Lisää öljyä kampikammioon.
Tässä käyttöoppaassa on yksityiskohtaisemmat polttoaineen ja polttoainejärjestelmän huoltotiedot kuin Yanmar®-moottorin käyttöoppaassa, joka on polttoainetta ja polttoaineen huoltoa koskeva yleisopas.
On tärkeää ymmärtää, että polttoainejärjestelmän huolto, polttoaineen säilytys ja polttoaineen laatu edellyttävät toimenpiteitä, jotta käyttökatkokset ja suuret moottorin korjaukset voidaan välttää.
Polttoainejärjestelmä noudattaa tiukimpia valmistustoleransseja päästöjen ja ohjainten vaatimusten vuoksi. Dieselpolttoaineen laatu ja puhtaus ovat entistä tärkeämpiä dieselmoottoreissa nykypäivänä käytettävän korkeapaineisen yhteispaineruiskutusputkiston (HPCR) polttoaineen ruiskutusjärjestelmän pitkän käyttöiän vuoksi.
Important: Polttoainejärjestelmässä oleva vesi tai ilma vaurioittaa moottoria! Älä oleta, että uusi polttoaine olisi puhdasta. Varmista, että polttoaine on peräisin laadukkaalta toimittajalta. Säilytä polttoainetta oikein ja kuluta se 180 päivän sisällä.
Important: Jos polttoainesuodattimen vaihtoa, polttoainejärjestelmän huoltoa ja polttoaineen säilytystä koskevia ohjeita ei noudateta, moottorin polttoainejärjestelmä voi vikaantua ennenaikaisesti. Suorita kaikki polttoainejärjestelmän huoltotoimet ohjeistetuin aikavälein tai aina, kun polttoaineeseen pääsee epäpuhtauksia tai sen laatu on heikko.
Polttoaineen asianmukainen säilytys on tärkeää moottorin kannalta. Polttoaineen varastointisäiliöiden asianmukainen huolto usein unohdetaan, mikä johtaa epäpuhtauksien pääsemiseen koneeseen toimitettuun polttoaineeseen.
Hanki vain sen verran polttoainetta, minkä kulutat seuraavien 180 päivän kuluessa. Älä käytä polttoainetta, jota on säilytetty yli 180 päivän ajan. Näin polttoaineeseen pääsee vähemmän vettä ja muita epäpuhtauksia.
Jos vettä ei poisteta varastointisäiliöstä tai koneen polttoainesäiliöstä, säiliö tai polttoainejärjestelmän osat voivat ruostua tai likaantua. Homeesta, bakteereista tai sienistä säiliöön syntyvä liete rajoittaa virtausta ja tukkii suodattimen ja polttoaineruiskuttimet.
Seuraa säiliön polttoaineen laatua tarkistamalla polttoaineen varastointisäiliö ja koneen polttoainesäiliö säännöllisesti.
Varmista, että polttoaine on peräisin laadukkaalta toimittajalta.
Jos varastointisäiliössä tai koneen polttoainesäiliössä on vettä tai epäpuhtauksia, korjaa ongelma suorittamalla kaikki polttoainejärjestelmän huoltotoimet yhteistyössä polttoaineen toimittajan kanssa.
Älä säilytä dieselpolttoainetta säiliöissä, jotka on valmistettu sinkkipäällysteisistä osista.

| Huoltoväli | Huoltotoimenpide |
|---|---|
| Aina ennen käyttöä tai päivittäin |
|
Tyhjennä vesi polttoaineen-/vedenerottimesta kuvan mukaisesti (Kuva 53).

Esitäytä suodatin ja letkut korkeapainepumppuun. Katso kohta Polttoainejärjestelmän esitäyttö.
| Huoltoväli | Huoltotoimenpide |
|---|---|
| 400 käyttötunnin välein |
|
Vaihda suodatin kuvan mukaisesti (Kuva 54).

Esitäytä suodatin ja letkut korkeapainepumppuun. Katso kohta Polttoainejärjestelmän esitäyttö.
| Huoltoväli | Huoltotoimenpide |
|---|---|
| 400 käyttötunnin välein |
|
Puhdista polttoainesuodatinpään ympäristö (Kuva 55).

Irrota suodatin ja puhdista suodatinpään asennuspinta (Kuva 55).
Note: Puhdista suodatinpää puhtaalla liinalla.
Voitele suodattimen tiiviste puhtaalla voitelevalla moottoriöljyllä. Katso lisätietoja moottorin käyttöoppaasta.
Asenna kuiva suodatinkotelo käsin, kunnes tiiviste koskettaa suodatinpäätä. Kierrä sitten vielä puoli kierrosta.
Esitäytä suodatin ja letkut korkeapainepumppuun. Katso kohta Polttoainejärjestelmän esitäyttö.
Käynnistä moottori ja tarkista uudelleen, ettei suodatinpään alueella ole vuotoja.
| Huoltoväli | Huoltotoimenpide |
|---|---|
| 800 käyttötunnin välein |
|
| Ennen varastointia |
|
Tyhjennä ja puhdista polttoainesäiliö aikataulun mukaisten huoltovälien ulkopuolella, jos polttoainejärjestelmä likaantuu tai jos kone on tarkoitus varastoida pitkäksi aikaa. Huuhtele säiliö puhtaalla polttoaineella.
Esitäytä suodatin ja letkut korkeapainepumppuun. Katso kohta Polttoainejärjestelmän esitäyttö.
| Huoltoväli | Huoltotoimenpide |
|---|---|
| 400 käyttötunnin välein |
|
Tarkasta, ettei polttoaineputkissa ole haurastumia, vaurioita tai löysiä liitäntöjä.
Vaihda kaikki kuluneet kiristimet ja letkut.
Note: Jos vaihdat polttoaineletkuja, esitäytä polttoainejärjestelmä. Katso kohta Polttoainejärjestelmän esitäyttö.
| Huoltoväli | Huoltotoimenpide |
|---|---|
| 3000 käyttötunnin välein |
|
Tietoja hapetuskatalysaattorin ja hiukkassuodattimen nokisuodattimen purkamisesta ja kokoamisesta on huolto-oppaan moottoria koskevassa kohdassa.
Ota yhteys valtuutettuun Toro-jälleenmyyjään hapetuskatalysaattorin ja nokisuodattimen varaosia tai huoltoa varten.
Ota yhteys valtuutettuun Toro-jälleenmyyjään moottorin ECU:n nollausta varten puhtaan hiukkassuodattimen asennuksen jälkeen.
Esitäytä polttoainejärjestelmä seuraavien tilanteiden jälkeen:
Polttoainesuodatin vaihdetaan.
Vedenerotin tyhjennetään jokaisen käytön jälkeen tai päivittäin.
Polttoaine on lopussa.
Polttoaineletku vaihdetaan tai polttoainejärjestelmä avataan mistä tahansa syystä.
Esitäytä polttoainejärjestelmä seuraavasti:
Important: Älä esitäytä polttoainejärjestelmää pyörittämällä moottoria käynnistysmoottorilla.
Varmista, että polttoainesäiliössä on polttoainetta.
Esitäytä suodatin ja letkut korkeapainepumppuun noudattamalla seuraavia vaiheita, jotta ehkäistään pumpun kuluminen ja vahingoittuminen:
Käännä virta-avain KäYNNISSä-asentoon 15–20 sekunniksi.
Käännä virta-avain PYSäYTYS-asentoon 30–40 sekunniksi.
Note: Näin elektroninen ohjausyksikkö sammuu.
Käännä virta-avain KäYNNISSä-asentoon 15–20 sekunniksi.
Tarkista suodatin ja letkut vuotojen varalta.
Käynnistä moottori ja tarkista, että järjestelmässä ei ole vuotoja.
Irrota akun kytkennät ennen kuin korjaat konetta. Irrota ensin miinusnavan akkukenkä ja vasta sitten plusnavan akkukenkä. Kytke ensin plusnavan akkukenkä ja vasta sitten miinusnavan akkukenkä.
Lataa akku avoimessa tilassa, jossa on hyvä ilmanvaihto, kaukana kipinöistä ja avotulesta. Irrota laturin virtajohto ennen kuin kytket laturin akkuun tai irrotat sen akusta. Käytä suojavaatetusta ja eristettyjä työkaluja.
| Huoltoväli | Huoltotoimenpide |
|---|---|
| 50 käyttötunnin välein |
|
Suorita seuraavat akun huoltotoimenpiteet:
Tarkasta akun kunto
Puhdista akku (tarvittaessa)
Note: Puhdista akku pesemällä koko kotelo liuoksella, jossa on ruokasoodaa ja vettä. Huuhtele puhtaalla vedellä.
Tarkista akkukaapelien kytkennät ja päällystä akkunavat ja kaapeliliittimet Grafo 112X -pintasuojarasvalla tai vaseliinilla, jotta ne eivät ruostu.
Important: Ennen kuin hitsaat konetta, irrota miinuskaapeli akusta, jotta sähköjärjestelmä ei vaurioidu. Lisäksi moottorin, tietokeskuksen ja koneen ohjainten kytkennät on irrotettava ennen koneen hitsaamista.
Sulakerasia (Kuva 57) sijaitsee istuimen alla. Sulakkeiden kuvaukset löytyvät kohdasta Kuva 59.
Avaa istuimen jalustan salpa, kallista istuimen jalusta auki ja tue se kannatintangoilla.

Vaihda palanut sulake tyypiltään ja ampeeriluvultaan vastaavaan sulakkeeseen.

Käännä istuin ja istuimen jalusta kiinni ja kiinnitä salvalla.


Akun latauksen yhteydessä syntyy räjähdysherkkiä kaasuja.
Älä tupakoi akun lähettyvillä. Älä päästä kipinöitä tai liekkejä kosketuksiin akun kanssa.
Important: Pidä akku täysin ladattuna. Tämä on erityisen tärkeää siksi, että näin ehkäistään akun vahingoittuminen, kun lämpötila on alle 0° C.
Puhdista akun navat ja kotelo ulkopuolelta.
Note: Kytke akkulaturin johtimet akun napoihin ennen laturin kytkemistä virtalähteeseen.
Tarkista, kumpi akun navoista on plusnapa ja kumpi miinusnapa.
Kytke akkulaturin plusjohdin akun plusnapaan (Kuva 60).

Kytke akkulaturin miinusjohdin akun miinusnapaan (Kuva 60).
Kytke akkulaturi virtalähteeseen ja lataa akku.
Important: Älä lataa akkua liikaa.
Kun akku on ladattu täyteen, irrota laturi virtalähteestä. Irrota sitten laturin johtimet akun navoista (Kuva 60).
| Huoltoväli | Huoltotoimenpide |
|---|---|
| Ensimmäisen käyttötunnin jälkeen |
|
| 10 ensimmäisen käyttötunnin jälkeen |
|
| 250 käyttötunnin välein |
|
Kiristä etuakselin navan mutterit momenttiin 407–542 N·m.
Jos koneessa on CrossTrax®-ominaisuus, kiristä taka-akselin navan mutterit momenttiin 366–447 N·m.

| Huoltoväli | Huoltotoimenpide |
|---|---|
| 800 käyttötunnin välein |
|
Käännä ohjauspyörää niin, että takapyörät osoittavat suoraan eteenpäin.
Löysää raidetangon molemmissa päissä olevia vastamuttereita (Kuva 62).
Note: Raidetangon päässä, jossa on ulkoinen ura, on vasemmanpuoleiset kierteet.

Kierrä raidetankoa avaimen aukosta.
Mittaa takapyörien välinen etäisyys akselin korkeudelta takapyörien edestä ja takaa.
Note: Etäisyyden tulisi olla takapyörien etuosassa alle 6 mm pyörien takaosassa mitatusta etäisyydestä.
Toista tarvittaessa.
Jäähdytysneste on myrkyllistä. Pidä poissa lasten ja lemmikkieläinten ulottuvilta.
Paineella suihkuava kuuma jäähdytysneste, kuuma jäähdytin ja sitä ympäröivät osat voivat aiheuttaa vakavia palovammoja.
Anna moottorin jäähtyä ainakin 15 minuuttia ennen jäähdyttimen korkin irrottamista.
Käytä korkkia käsitellessäsi liinaa ja aukaise korkki hitaasti, jotta paine pääsee pois.
Älä käytä konetta, jos suojukset eivät ole paikoillaan.
Pidä sormet, kädet ja vaatteet etäällä pyörivästä tuulettimesta ja käyttöhihnasta.
Jäähdytysnestesäiliö on täytetty tehtaalla veden ja etyleeniglykolipohjaisen käyttöikää pidentävän jäähdytysnesteen seoksella (seossuhde 50:50).
Important: Käytä vain kaupallisesti saatavia jäähdytysnesteitä, jotka täyttävät Käyttöikää pidentävien jäähdytysnesteiden vaatimukset -taulukossa luetellut määritykset.Älä käytä koneessa tavallista (vihreää) epäorgaaniseen happotekniikkaan (IAT) perustuvaa jäähdytysnestettä. Älä sekoita tavallista jäähdytysnestettä ja käyttöikää pidentävää jäähdytysnestettä keskenään.
|
Etyleeniglykolijäähdytysnesteen tyyppi |
Korroosionestoaineen tyyppi |
|
Käyttöikää pidentävät jäätymisenestoaineet |
Orgaaninen happotekniikka (OAT) |
|
Important: Älä yritä erottaa tavallista (vihreää) epäorgaaniseen happotekniikkaan (IAT) perustuvaa ja käyttöikää pidentävää jäähdytysnestetyyppiä toisistaan värin perusteella.Jäähdytysnestevalmistajat voivat värjätä käyttöikää pidentävää jäähdytysnestettä joillakin seuraavista väreistä: punainen, vaaleanpunainen, oranssi, keltainen, sininen, sinivihreä, violetti ja vihreä. Käytä jäähdytysnestettä, joka täyttää Käyttöikää pidentävien jäähdytysnesteiden vaatimukset -taulukossa luetellut määritykset. |
|
|
ATSM International |
SAE International |
|
D3306 ja D4985 |
J1034, J814 ja 1941 |
Important: Jäähdytysneste on sekoitettava veteen, ja seoksen suhteen on oltava 50/50.
Suositus: kun sekoitukseen käytetään jäähdytysnestetiivistettä, se on sekoitettava tislattuun veteen.
Suositeltu vaihtoehto: jos tislattua vettä ei ole saatavilla, käytä tiivisteen sijaan valmiiksi sekoitettua jäähdytysnestettä.
Vähimmäisvaatimus: jos tislattua vettä ja valmiiksi sekoitettua jäähdytysnestettä ei ole saatavilla, sekoita jäähdytysnestetiiviste puhtaaseen juomakelpoiseen veteen.
| Huoltoväli | Huoltotoimenpide |
|---|---|
| Aina ennen käyttöä tai päivittäin |
|
Jäähdytysjärjestelmä on täytetty veden ja pysyvän etyleeniglykolipakkasnesteen seoksella (seossuhde 50:50). Jäähdytysjärjestelmän tilavuus on 9,5 litraa.
Tarkista paisuntasäiliön jäähdytysnesteen määrä (Kuva 63).
Note: Jäähdytysnestetason on oltava säiliön reunassa olevien merkkien sisällä.

Jos jäähdytysnestettä on liian vähän, irrota paisuntasäiliön korkki ja lisää nestettä. Älä täytä liikaa.
Asenna paisuntasäiliön korkki.
| Huoltoväli | Huoltotoimenpide |
|---|---|
| Aina ennen käyttöä tai päivittäin |
|
| 100 käyttötunnin välein |
|
| Kahden vuoden välein |
|
Poista roskat säleiköstä, jäähdyttimestä ja öljynjäähdyttimestä päivittäin. (Puhdista useammin likaisissa olosuhteissa.)
| Huoltoväli | Huoltotoimenpide |
|---|---|
| 10 ensimmäisen käyttötunnin jälkeen |
|
| 100 käyttötunnin välein |
|
Note: Hihnan kireys on oikea, kun hihna painuu 10 mm hihnapyörien puolivälistä, kun sitä painetaan 44 N:n voimalla.
Jos painuma ei ole 10 mm, löysää laturin kiinnityspultteja (Kuva 66).

Löysää tai kiristä laturin hihnaa ja kiristä pultit.
Varmista oikea kireys tarkistamalla hihnan painuma uudelleen.
Jos nestettä pääsee ihon alle, hakeudu välittömästi lääkäriin. Lääkärin on poistettava neste kirurgisesti muutaman tunnin sisällä.
Varmista, että kaikki hydrauliletkut ja -putket ovat hyvässä kunnossa ja että kaikki hydrauliputkien liitokset ja kiinnitykset ovat tiukalla, ennen kuin lisäät hydraulijärjestelmän painetta.
Pidä keho ja kädet kaukana vuotavista rei’istä ja suuttimista, joista suihkuaa korkeapaineista hydraulinestettä.
Etsi hydraulinestevuotoja pahvin tai paperin avulla.
Poista paine varovasti hydraulijärjestelmästä, ennen kuin huollat järjestelmää.
Säiliö on täytetty tehtaalla korkealaatuisella hydraulinesteellä. Tarkista hydraulinesteen taso ennen moottorin ensimmäistä käynnistystä ja sen jälkeen päivittäin. Katso kohta Hydraulinesteen määrän tarkastus.
Suositeltu hydraulineste: Toro PX Extended Life Hydraulic Fluid (saatavana 19 litran astioissa tai 208 litran tynnyreissä).
Note: Kun koneessa käytetään suositeltua nestettä, neste ja suodatin voidaan vaihtaa harvemmin.
Vaihtoehtoiset hydraulinesteet: Jos Toro PX Extended Life Hydraulic Fluid -nestettä ei ole saatavana, voidaan käyttää muita tavallisia, öljypohjaisia hydraulinesteitä, jotka täyttävät kaikki jäljempänä luetellut vaatimukset (ominaisuudet ja standardit). Älä käytä synteettistä nestettä. Pyydä voiteluaineiden jälleenmyyjältä neuvoja sopivan tuotteen valitsemiseen.
Note: Toro ei vastaa vääränlaisten nesteiden käytöstä aiheutuneista vaurioista, joten käytä vain sellaisten tunnettujen valmistajien tuotteita, joiden luokituksiin voi luottaa.
| Ominaisuudet: | ||
| Viskositeetti, ASTM D445 | cSt / 40 °C 44–48 | |
| Viskositeetti-indeksi, ASTM D2270 | 140 tai korkeampi | |
| Jähmepiste, ASTM D97 | -37 °C – -45 °C | |
| Standardit: | Eaton Vickers 694 (I-286-S, M-2950-S/35VQ25 tai M-2952-S) | |
Note: Monet hydraulinesteet ovat lähes värittömiä, mikä vaikeuttaa vuotojen toteamista. Hydraulinesteelle tarkoitettua punaista värilisäainetta on saatavana 20 ml:n pulloissa. Yksi pullo riittää 15–22 litralle hydraulinestettä. Tilaa valtuutetulta Toro-jälleenmyyjältäsi, osanro 44-2500.
Important: Toro Premium Synthetic Biodegradable Hydraulic Fluid on ainoa Toron hyväksymä luonnossa hajoava synteettinen neste. Neste on yhteensopiva Toro-hydraulijärjestelmissä käytettyjen elastomeerien kanssa, ja sitä voidaan käyttää useissa lämpötiloissa. Neste on yhteensopiva perinteisten mineraaliöljyjen kanssa, mutta paras mahdollinen luonnossa hajoavuus ja suorituskyky saavutetaan huuhtelemalla perinteinen neste perusteellisesti pois hydraulijärjestelmästä. Öljyä on saatavana 19 litran astioissa tai 208 litran tynnyreissä valtuutetulta Toro-jälleenmyyjältä.
| Huoltoväli | Huoltotoimenpide |
|---|---|
| Aina ennen käyttöä tai päivittäin |
|
| 200 käyttötunnin välein |
|
Sijoita kone tasaiselle alustalle, laske leikkuupöydät alas ja käännä virta-avain PYSäYTYS-asentoon.
Tarkista hydraulinesteen määrä (Kuva 67).


| Huoltoväli | Huoltotoimenpide |
|---|---|
| 800 käyttötunnin välein |
|
| 2000 käyttötunnin välein |
|
| Kahden vuoden välein |
|
Hydraulinestetilavuus: 56,7 l
Jos neste saastuu, ota yhteys Toro-jälleenmyyjään, sillä koko järjestelmä on huuhdeltava. Saastunut neste näyttää maitomaiselta tai mustalta puhtaaseen öljyyn verrattuna.
Käännä virta-avain PYSäYTYS-asentoon ja nosta konepelti.
Aseta suuri tyhjennysastia hydraulinestesäiliön pohjaan kiinnitetyn liittimen alle (Kuva 68).

Irrota letku liittimen pohjasta ja anna hydraulinesteen valua tyhjennysastiaan.
Asenna letku, kun hydraulinestettä ei enää valu.
Täytä säiliö hydraulinesteellä (Kuva 67).
Important: Käytä vain ohjeissa mainittuja hydraulinesteitä. Muut nesteet saattavat vahingoittaa järjestelmää.
Laita säiliön korkki paikalleen.
Käännä virta-avain KäYNNISSä-asentoon ja käynnistä moottori. Käytä kaikkia hydraulisia laitteita, jotta hydraulineste leviää koko järjestelmään, ja tarkista vuotojen varalta.
Käännä virta-avain PYSäYTYS-asentoon.
Tarkista hydraulinesteen määrä ja lisää nestettä mittatikun Full-merkintään asti.
Important: Älä täytä liikaa.
| Huoltoväli | Huoltotoimenpide |
|---|---|
| 800 käyttötunnin välein |
|
| 1000 käyttötunnin välein |
|
Hydraulijärjestelmässä on huoltovälin ilmaisin (Kuva 69). Katso ilmaisinta moottorin käydessä. Sen on oltava vihreällä alueella. Kun ilmaisin on punaisella alueella, vaihda hydraulisuodattimet.

Important: Muiden suodattimien käyttö saattaa mitätöidä joidenkin osien takuun.
Sijoita kone tasaiselle alustalle, laske leikkuupöydät alas, käännä virta-avain PYSäYTYS-asentoon, kytke seisontajarru ja irrota avain.
Vaihda molemmat hydraulisuodattimet (Kuva 70).


Käännä virta-avain KäYNNISSä-asentoon, käynnistä moottori ja anna sen käydä noin kaksi minuuttia, jotta kaikki ilma purkautuu järjestelmästä.
Käännä virta-avain PYSäYTYS-asentoon ja tarkista, ettei järjestelmässä ole vuotoja.
| Huoltoväli | Huoltotoimenpide |
|---|---|
| Aina ennen käyttöä tai päivittäin |
|
| Kahden vuoden välein |
|
Suorita kaikki tarvittavat korjaukset ennen koneen käyttöä.
Paineella suihkuava hydraulineste voi läpäistä ihon ja aiheuttaa vammoja.
Jos nestettä joutuu ihon alle, hakeudu välittömästi lääkäriin.
Varmista, että kaikki hydrauliletkut ja -putket ovat hyvässä kunnossa ja että kaikki hydrauliputkien liitokset ja liittimet ovat tiukalla, ennen kuin lisäät hydraulijärjestelmän painetta.
Pidä keho ja kädet kaukana vuotavista rei’istä ja suuttimista, joista suihkuaa korkeapaineista hydraulinestettä.
Etsi hydraulinestevuotoja pahvin tai paperin avulla.
Poista paine varovasti hydraulijärjestelmästä, ennen kuin huollat järjestelmää.
Testaa hydraulipiirien paine hydraulijärjestelmän testiporttien avulla. Neuvoja saa valtuutetulta Toro-jälleenmyyjältä.
Alla olevassa luettelossa on hydrauliputkiston solenoidien eri toimintojen tunniste ja kuvaus. Kunkin solenoidin on saatava virtaa, jotta toiminto toimisi.
| Solenoidi | Toiminto |
|---|---|
| PRV2 | Etuleikkuripiiri |
| PRV1 | Takaleikkuripiiri |
| PRV | Leikkuupöytien nosto/lasku |
| S1 | Laske leikkuupöydät |
| S2 | Laske leikkuupöydät |
Pysäköi kone tasaiselle alustalle, laske leikkuuyksiköt maahan, käännä virta-avain PYSäYTYS-asentoon ja kytke seisontajarru.
Kytke hydraulimoottori irti ja irrota se leikkuuyksiköstä (Kuva 71). Peitä karan pää, jotta se ei likaannu.

Irrota lukitussokka, joka kiinnittää leikkuupöydän kannatinrungon nostovarren saranatappiin (Kuva 72).

Kieritä leikkuuyksikkö pois ajoyksiköstä.
Pysäköi kone tasaiselle alustalle ja käännä virta-avain PYSäYTYS-asentoon.
Siirrä leikkuuyksikkö ajoyksikön eteen oikeaan kohtaan.
Liu’uta leikkuupöydän kannatinrunko nostovarren saranatappiin ja kiinnitä lukitussokalla (Kuva 72).
Asenna hydraulimoottori leikkuupöytään (Kuva 71). Varmista, että O-rengas on paikallaan ja että se on ehjä.
Rasvaa kara.
Tarkista eturulla kulumien varalta ja että se ei huoju liikaa eikä juutu kiinni. Rulla tai sen osat on huollettava tai vaihdettava, jos jokin näistä ongelmista ilmenee.
Irrota rullan kiinnityspultti (Kuva 73).
Aseta rullan kotelon päähän pistepuikko ja irrota vastapäisen puolen laakeri napauttamalla vuorotellen laakerin sisäkehän vastakkaisia puolia. Sisäkehän reunasta on oltava näkyvissä 1,5 mm.

Irrota toinen laakeri työntämällä.
Tarkista, että rullan kotelo, laakerit ja laakerin välikappale ovat ehjät (Kuva 73). Vaihda vaurioituneet osat ja asenna eturulla uudelleen.
Asenna ensimmäinen laakeri rullan koteloon (Kuva 73). Paina pelkästään ulompaa kehää tai sisä- ja ulkokehää yhtä voimakkaasti.
Asenna välikappale (Kuva 73).
Asenna toinen laakeri rullan koteloon (Kuva 73). Paina sisä- ja ulkokehää yhtä voimakkaasti, kunnes sisäkehä koskettaa välikappaletta.
Asenna rullakokoonpano leikkuuyksikön runkoon.
Tarkista, että rullakokoonpanon ja rullan leikkuuyksikön runkoon kiinnittävien kannattimien välys on enintään 1,5 mm. Jos välys on yli 1,5 mm, säädä välys asentamalla riittävästi ⅝ tuuman aluslaattoja.
Important: Jos rullakokoonpano kiinnitetään siten, että välys on yli 1,5 mm, laakeriin kohdistuva sivuttainen rasitus voi rikkoa sen.
Kiristä kiinnityspultti momenttiin 108 N·m.
Terä on tarkistettava säännöllisesti kulumisen ja vaurioiden varalta.
Ole varovainen, kun tarkastat teriä. Kiedo terien ympärille esimerkiksi kangas tai käytä käsineitä ja noudata varovaisuutta teriä huoltaessasi. Terät saa ainoastaan vaihtaa tai teroittaa. Niitä ei saa suoristaa eikä hitsata.
Ole varovainen käsitellessäsi moniteräisiä koneita, sillä yhden terän kääntäminen saattaa kääntää myös muita teriä.
Vaakatasoleikkuupöydän leikkuukorkeudeksi asennetaan tehtaalla 5 cm ja terän kaltevuudeksi 7,9 mm. Vasemman ja oikean puolen korkeudet ovat tehdasasetuksen mukaan 0,7 mm:n sisällä toisistaan.
Leikkuupöytä on suunniteltu niin, että terään kohdistuvat iskut eivät väännä koteloa. Jos terä osuu kiinteään esineeseen, tarkista, että terä ei ole vaurioitunut ja että terätaso on asetuksen mukainen.
Irrota hydraulimoottori leikkuupöydästä ja irrota sitten leikkuupöytä ajoneuvosta.
Aseta leikkuupöytä tasaiselle pöydälle nostolaitteen tai vähintään kahden henkilön avulla.
Merkitse terän toinen pää maalikynällä tai tussilla. Tarkista kaikki korkeusasetukset tämän terän avulla.
Aseta merkityn terän pään leikkuusärmä kello 12:n asentoon (suoraan eteenpäin leikkuusuuntaan) (Kuva 74) ja mittaa etäisyys pöydän pinnasta leikkuusärmään.

Käännä terän merkitty pää kello 3:n ja kello 9:n asentoon (Kuva 74) ja mittaa etäisyydet.
Vertaa kello 12:n asennon mitattua korkeutta leikkuukorkeusasetukseen. Näiden on oltava 0,7 mm:n sisällä toisistaan. Kello kolmen ja kello yhdeksän etäisyyksien on oltava 1,6–6,0 mm suuremmat kuin kello 12 asennon ja 1,6–6,0 mm:n sisällä toisistaan.
Note: Jos jokin mitoista on rajojen ulkopuolella, siirry kohtaan Terätason säätö.
Aloita etummaisesta asetuksesta (muuta yksi kannatin kerrallaan).
Irrota leikkuukorkeuden kannatin (etummainen, vasen tai oikea) leikkuupöydän rungosta (Kuva 75).
Käytä halutun korkeusasetuksen saavuttamiseen leikkuupöydän rungon ja kannattimen välissä 1,5 mm:n välilevyjä ja/tai 0,7 mm:n välilevyä (Kuva 75).

Asenna leikkuukorkeuskannatin leikkuupöydän runkoon ja aseta jäljelle jääneet välilevyt leikkuukorkeuskannattimen alle.
Kiinnitä kuusiopultti/välikappale ja laippamutteri.
Note: Kuusiopultti ja välikappale on kiinnitetty toisiinsa kierrelukitusaineella, jotta välikappale ei pääse putoamaan leikkuupöydän rungon sisään.
Tarkista korkeus kello 12:n asennossa ja säädä tarvittaessa.
Määritä, onko säädettävä vain toista leikkuukorkeuden kannatinta vai molempia (oikeaa ja vasenta). Jos kello kolmen tai yhdeksän asennon puoli on 1,6–6,0 mm korkeammalla kuin uusi etukorkeus, kyseistä puolta ei tarvitse säätää. Säädä toinen puoli 1,6–6,0 mm:n sisälle oikein säädetystä puolesta.
Säädä oikean ja/tai vasemman puolen leikkuukorkeuskannattimet toistamalla vaiheet 1–3.
Kiristä lukkopultit ja laippamutterit.
Tarkista asentojen kello 12, 3 ja 9 korkeudet uudelleen.
Vaihda terä, jos se osuu kiinteään esineeseen tai jos se on epätasapainossa tai taipunut. Käytä aina alkuperäisiä Toro-vaihtoteriä, jotta turvallisuus ja suorituskyky olisivat parhaat mahdolliset.
Pysäköi kone tasaiselle alustalle, nosta leikkuuyksikkö kuljetusasentoon, kytke seisontajarru, sammuta moottori ja irrota virta-avain.
Note: Tue tai lukitse leikkuuyksikkö siten, ettei se pääse vahingossa putoamaan alas.
Tartu terän päähän liinan tai paksun hansikkaan avulla.
Irrota teräpultti, nurmisuojakupu ja terä kara-akselista (Kuva 76).

Asenna terä, nurmisuojakupu ja teräpultti ja kiristä teräpultti momenttiin 115–149 N∙m.
Important: Terän kaarevan puolen on osoitettava leikkuuyksikön sisäpuolta kohti, jotta leikkuujäljestä tulee moitteeton.
Note: 7Jos terä on osunut vieraaseen esineeseen, kiristä kaikki karapyörän mutterit momenttiin 115–149 N·m.
Nosta leikkuupöytä kuljetusasentoon, käännä avain virtalukossa PYSäYTYS-asentoon ja kytke seisontajarru.
Tue leikkuupöytä, ettei se pääse vahingossa putoamaan.
Tarkasta terän leikkuusärmät huolellisesti, varsinkin kohdat, joissa terän tasaiset ja käyrät osat kohtaavat (Kuva 77).
Note: Tarkista terä ennen koneen käyttöä, koska hiekka ja hankaavat materiaalit voivat kuluttaa metallia, jolla terän tasaiset ja käyrät osat liittyvät toisiinsa.
Vaihda terä, jos siinä on kulumisen merkkejä (Kuva 77). Katso kohta Terätason tarkastus.
Jos terän annetaan kulua, siiven ja terän tasaisen osan väliin muodostuu ura (Kuva 77). Terästä voi lopulta irrota pala, joka voi sinkoutua kotelon alta ja aiheuttaa vakavan loukkaantumisen.
Terä on tarkistettava säännöllisesti kulumisen ja vaurioiden varalta.
Kulunut tai vaurioitunut terä on aina vaihdettava.

Tarkista kaikkien terien leikkuusärmät. Teroita leikkuusärmät, jos ne ovat tylsät tai urautuneet. Teroita vain leikkuusärmän yläosa ja säilytä alkuperäinen leikkuukulma terävyyden varmistamiseksi (Kuva 78).
Teroita tylsästä tai urautuneesta terästä vain leikkuusärmän yläosa ja säilytä alkuperäinen leikkuukulma (Kuva 78).
Note: Terä säilyttää tasapainonsa, kun molemmista leikkuusärmistä poistetaan metallia yhtä paljon.

Tarkista terän suoruus ja yhdensuuntaisuus asettamalla terä tasaiselle pinnalle ja tarkistamalla sen päät.
Note: Terän päiden on oltava hiukan keskikohtaa alempana ja leikkuusärmän on oltava terän takareunaa alempana. Tällaisen terän leikkuujälki on hyvä, ja se vaatii vain vähän moottoritehoa. Jos terän päät ovat ylempänä kuin keskikohta tai jos leikkuusärmä on ylempänä kuin takareuna, terä on vääntynyt tai kiero, ja se on vaihdettava.

Asenna terä, siipipuoli kohti leikkuupöytää, sekä nurmisuojakupu ja teräpultti. Kiristä teräpultti momenttiin 115–149 N·m.
Sammuta moottori, irrota virta-avain ja odota, että kaikki liikkuvat osat pysähtyvät, ennen kuin poistut käyttäjän paikalta. Anna koneen jäähtyä ennen sen säätöä, huoltoa, puhdistusta tai varastointia.
Älä säilytä konetta tai polttoainesäiliötä tilassa, jossa on avotuli, kipinöitä tai varmistusliekki (esimerkiksi vedenlämmitin tai muu vastaava laite).
Important: Älä puhdista konetta suolapitoisella tai kierrätetyllä vedellä.
Puhdista ajoyksikkö, leikkuuyksiköt ja moottori huolellisesti.
Tarkista rengaspaine. Täytä kaikki ajoyksikön renkaat paineeseen 0,83–1,03 bar.
Tarkista, etteivät kiinnikkeet ole löysällä, ja kiristä tarvittaessa.
Rasvaa kaikki rasvanipat ja nivelet. Pyyhi pois ylimääräinen voiteluaine.
Hio varovasti ja maalaa korjausmaalilla maalipinnat, jotka ovat naarmuuntuneet, lohkeilleet tai ruostuneet. Korjaa kaikki metallirungossa olevat kolhut.
Huolla akku ja kaapelit seuraavasti:
Irrota akkuliittimet akun navoista.
Note: Irrota ensin miinusnavan akkukenkä ja vasta sitten plusnavan akkukenkä. Kytke ensin plusnavan akkukenkä ja vasta sitten miinusnavan akkukenkä.
Puhdista akku, akkukengät ja navat teräsharjalla ja ruokasoodaliuoksella.
Voitele kaapeliliittimet ja akun navat Grafo 112X -suojarasvalla (osanumero 505-47) tai vaseliinilla ruostumisen ehkäisemiseksi.
Lataa akku hitaasti 60 päivän välein 24 tunnin ajan, jotta akkuun ei muodostu lyijysulfaattia.
Tyhjennä moottoriöljy öljysäiliöstä ja asenna tyhjennystulppa paikalleen.
Irrota ja hävitä öljynsuodatin. Asenna uusi öljynsuodatin.
Lisää öljysäiliöön ilmoitettu määrä moottoriöljyä.
Käännä virta-avain KäYNNISSä-asentoon, käynnistä moottori ja käytä sitä joutokäynnillä noin kahden minuutin ajan.
Käännä virta-avain PYSäYTYS-asentoon.
Tyhjennä kaikki polttoaine perusteellisesti polttoainesäiliöstä ja letkuista sekä polttoainesuodatin-/vedenerotinkokoonpanosta.
Huuhtele polttoainesäiliö tuoreella ja puhtaalla dieselpolttoaineella.
Varmista kaikki polttoainejärjestelmän liitännät.
Puhdista ja huolla ilmanpuhdistinjärjestelmä perusteellisesti.
Tiivistä ilmanpuhdistimen imuaukko sekä pakoaukko säänkestävällä teipillä.
Tarkista pakkassuojaus ja lisää pakkasnestettä alueella odotettavissa olevan alimman lämpötilan mukaan.
Jos leikkuuyksikkö irrotetaan ajoyksiköstä pidemmäksi aikaa, suojaa kara pölyltä ja kosteudelta asentamalla karan päälle karatulppa.