| Bakım Servisi Aralıkları | Bakım Prosedürü |
|---|---|
| Her kullanımdan önce veya günlük |
|
Bu makine, ticari uygulamalarda profesyonel, özel anlaşmalı operatörler tarafından kullanılmak üzere tasarlanmış binmeli, döner bıçaklı bir çim biçme makinesidir. Öncelikle parklar, spor sahaları ve ticari alanlardaki bakımlı çim alanlardaki çimleri kesmek için tasarlanmıştır. Bu ürünün kullanım amacı dışında kullanılması size ve çevrenizdekilere zarar verebilir.
Ürünü kullanmayı ve bakımlarını yapmayı öğrenmek ve olası yaralanmalar ile maddi hasarları önlemek için bu bilgileri dikkatle okuyun. Ürünü doğru ve emniyetli bir şekilde kullanmak sizin sorumluluğunuzdur.
Ürün emniyeti ve kullanımıyla ilgili eğitim materyalleri ile aksesuar bilgilerine erişmek, bayi bulmak veya ürününüzü kaydettirmek için www.Toro.com adresine gidin.
Servise, orijinal Toro parçalarına veya ek bilgiye ihtiyaç duyduğunuz takdirde Yetkili bir Servis Merkeziyle ya da Toro Müşteri Hizmetleriyle iletişim kurun ve ürünün model ve seri numaralarını hazır bulundurun. Şekil 1, model ve seri numaralarının ürün üzerindeki yerini belirtir. Bu numaraları, ilgili alana yazın.
Important: Garanti, yedek parça ve diğer ürün bilgilerine erişmek için, seri numarası etiketindeki (varsa) QR kodunu mobil aygıtınızla taratabilirsiniz.

Bu kılavuzda ve makinede görülen emniyet uyarısı sembolü (Şekil 2), kazaları engellemek adına uymanız gereken önemli emniyet mesajlarını belirtir.

Emniyet uyarısı sembolü, sizi güvenli olmayan eylem veya durumlara karşı uyaran bilgilerin üstünde yer alır. Sembolün ardından TEHLİKE, UYARI veya DİKKAT gibi ifadeler gelir.
TEHLİKE önlenmediği takdirde ağır yaralanma veya ölümle sonuçlanacak yakın bir tehlike durumunu belirtir.
UYARI, önlenmediği takdirde ağır yaralanma veya ölümle sonuçlanabilecek potansiyel bir tehlike durumunu belirtir.
DİKKAT, önlenmediği takdirde hafif veya orta seviyeli yaralanmayla sonuçlanabilecek potansiyel bir tehlike durumunu belirtir.
Bu kılavuzda, bilgileri vurgulamak için iki farklı sözcük daha kullanılır. Önemli sözcüğü bazı özel mekanik bilgilere dikkat çeker, Not sözcüğü ise dikkate alınması gereken genel bilgileri vurgular.
Bu ürün, ilgili tüm Avrupa direktiflerine uygundur. Detaylı bilgi için, ayrı olarak verilen Ürün Uygunluk Beyanı (DOC) sayfasını inceleyin.
Kaliforniya Kamu Kaynakları Yasası Bölüm 4442 veya 4443 uyarınca, motorun, Bölüm 4442'de belirtildiği gibi iyi çalışır durumdaki bir kıvılcım tutucuyla donatılmadığı veya yangının önlenmesine uygun bir şekilde üretilip tasarlanmadığı takdirde orman, çalı veya çimle kaplı bir yerde kullanılması veya çalıştırılması yasaktır.
Ekteki motor kullanıcı kılavuzu, ABD Çevre Koruma Ajansı (EPA) ve emisyon sistemleri, bakım ve garanti ile ilgili Kaliforniya Emisyon Kontrol Yönetmeliği hakkında bilgi vermek üzere sunulmuştur. Yedek parçalar motorun üreticisi kanalıyla sipariş edilebilir.
Bu ürün, ilgili tüm Avrupa direktiflerine uygundur. Detaylı bilgi için, ayrı olarak verilen Ürün Uygunluk Beyanı (DOC) sayfasını inceleyin.
Bu makine bir telematik cihazı ile donatılmışsa, cihazı etkinleştirme talimatları için yetkili Toro distribütörünüze başvurun.
CALIFORNIA
Öneri 65 Uyarısı
Dizel motor egzozu ve içerdiği bazı maddelerin Kaliforniya Eyaleti tarafından kansere, doğuştan rahatsızlıklara ve başka zararlara neden olduğu kayda geçirilmiştir.
Akü kutup başları, uçları ve ilgili aksesuarlar Kaliforniya Eyaleti tarafından kansere ve başka zararlara neden olan kimyasal maddeler olarak kayda geçirilmiş kurşun ve kurşun bulunduran bileşenler içermektedir. Dokunduktan sonra ellerinizi yıkayın.
Bu ürünün kullanılması, Kaliforniya Eyaleti'nce kansere, doğum kusurlarına ve üreme sorunlarına yol açtığı bilinen kimyasallara maruz kalınmasına neden olabilir.
Bu ürün, kişinin elleri ve ayaklarını koparabilir veya cisimler fırlatabilir. Ciddi kişisel yaralanmaları önlemek için daima tüm güvenlik talimatlarına uyun.
Motoru çalıştırmadan önce bu Kullanıcı Kılavuzu’nu okuyun ve içeriğini özümseyin.
Makineyi kullanırken tüm dikkatinizi işinize verin. Dikkatinizi dağıtabilecek başka şeylerle ilgilenmeyin, aksi takdirde yaralanma veya maddi hasar meydana gelebilir.
Tüm koruyucular ve diğer güvenlik parçaları mevcut ve düzgün çalışır durumda olmadıkça makineyi çalıştırmayın.
Ellerinizi ve ayaklarınızı döner parçalardan uzak tutun. Boşaltma açıklıklarından uzak durun.
Çocukları ve çevredekileri çalışma alanından uzak tutun. Çocukların makineyi çalıştırmasına asla izin vermeyin.
Operatör konumundan ayrılmadan önce makinenin motorunu kapatın, anahtarını çıkarın ve hareketin tamamen durmasını bekleyin. Ayarlama, bakım, temizleme veya saklama öncesinde makinenin soğumasına izin verin.
Bu makinenin hatalı kullanılması veya hatalı
bakımı yaralanmaya yol açabilir. Yaralanma riskini
azaltmak için bu emniyet talimatlarına her zaman uyun
ve Dikkat, Uyarı veya Tehlike anlamına gelen emniyet
uyarısı sembolüne
çok dikkat edin.
Bu talimatlara uyulmaması, yaralanma veya ölümle
sonuçlanabilir.
![]() |
Tehlike potansiyeli barındıran tüm noktalara, kullanıcının kolayca görebileceği emniyet etiketleri ve talimatları yerleştirilmiştir. Hasar gören veya kaybolan etiketleri yenisiyle değiştirin. |

















CE İşaretli Makineler


Note: Makinenin sağ ve sol taraflarını, normal çalışma konumuna göre belirleyin.
Kullanmadan önce lastik hava basıncını kontrol edin; bkz. Lastik Hava Basıncı Kontrolü.
Important: İyi bir kesim kalitesi ve optimum makine performansı sağlamak için tüm lastiklerde basıncı koruyun. Lastikleri gereğinden az şişirmeyin.
Motoru çalıştırmadan önce motor yağı seviyesini kontrol edin; bkz. Motor Yağı Seviyesinin Kontrolü.
Motoru çalıştırmadan önce hidrolik sıvısı seviyesini kontrol edin; bkz. Hidrolik Sıvısı Seviyesinin Kontrol Edilmesi.
Motoru çalıştırmadan önce soğutma sistemini kontrol edin; bkz. Soğutma Sisteminin Kontrolü.
Kullanmadan önce makineyi gresleyin; bkz. Yatakların ve Burçların Yağlanması. Makinenin gerektiği gibi greslenmemesi kritik parçaların erken arızalanmasına neden olur.
Teslim bloklarını kesim ünitelerinden çıkarın ve atın.
Teslim pimlerini kesim ünitesi süspansiyon kollarından çıkarın ve atın.
Note: Teslim pimleri, teslimat sürecinde kesim ünitelerini sabitler; makineyi çalıştırmadan önce bunları çıkarın.
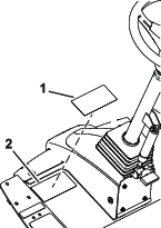
Kontrol kolunun pozisyonunu en rahat edeceğiniz şekilde ayarlayabilirsiniz.
Kontrol kolunu tespit braketine (Şekil 3) sabitleyen 2 cıvatayı gevşetin.

Kontrol kolunu istenen konuma çevirin ve 2 cıvatayı sıkın.
Makine yazılımını CE moduna ayarlamak için yetkili Toro distribütörünüze danışın.
Bu prosedür için gerekli parçalar:
| Kaput mandalı tertibatı | 1 |
| Rondela | 1 |
Mandalı açın ve kaputu kaldırın.
Lastik halkayı kaputun sol tarafındaki delikten (Şekil 4) çıkarın.

Somunu kaput mandalı tertibatından (Şekil 5) çıkarın.

Kaputun dış tarafında, mandalın kanca ucunu kaputtaki delikten geçirin ve lastik sızdırmazlık rondelasının kaputun (Şekil 5) dış tarafında kaldığından emin olun.
Kaputun iç tarafında, metal rondelayı mandalın üzerine yerleştirin, mandalı somunla sabitleyin ve mandalın kilitlendiğinde tutucu kaideye kenetlendiğinden emin olun.
Note: Kaput mandalını kullanmak için ekteki kaput mandalı anahtarından yararlanın.
Bu prosedür için gerekli parçalar:
| CE etiketi | 1 |
| Üretim yılı etiketi | 1 |
| Uyarı etiketi | 1 |
Kaputun kaput kilidi yanındaki kısmını silme alkolüyle ıslatılmış temiz bir bezle silin ve kaputu kurumaya bırakın (Şekil 6).

CE etiketinin arkasını çıkarın.
Etiketi kaputa yapıştırın.
Seri plakasının yanındaki braket kısmını silme alkolüyle ıslatılmış temiz bir bezle silin ve braketi kurumaya bırakın (Şekil 7).

Üretim yılı etiketinin arkasını çıkarın.
Etiketi taban braketine yapıştırın.
Uyarı etiketinin yüzeyini silme alkolüyle ıslatılmış temiz bir bezle silin ve etiketi kurumaya bırakın (Şekil 8).

CE uyarı etiketinin arkasını çıkarın.
CE uyarı etiketini mevcut etiketin üzerine yapıştırın.
İsteğe bağlı arka silindir sıyırıcı, en iyi şekilde sıyırıcı ile silindir arasında 0,5 ila 1 mm’lik pürüzsüz bir boşluk olduğunda çalışır.
Gresörlüğü ve montaj vidasını (Şekil 9) gevşetin.

Çubukla silindir arasında 0,5 ila 1 mm boşluk elde edene kadar sıyırıcıyı yukarı veya aşağı kaydırın.
Gresörlüğü sıkın ve vidalarını sırayla 41 N∙m torkla sıkın.
Doğru malçlama deflektörü için yetkili Toro distribütörünüzle görüşün.
Haznenin arka duvarındaki ve sol duvarındaki montaj deliklerindeki kalıntıları iyice temizleyin.
Malçlama deflektörünü arkadaki açıklığa takın ve 5 flanş başlı cıvata (Şekil 10) ile sabitleyin.

Malçlama deflektörünün bıçağın ucuna temas etmediğinden ve arka hazne duvarının yüzeyi içinde çıkıntı yapmadığından emin olun.
Yükseltilmiş bıçağın malçlama deflektörü ile birlikte kullanılması, bıçağın kırılmasına neden olarak kişisel yaralanma veya ölüme yol açabilir.
Yükseltilmiş bıçağı deflektörle birlikte kullanmayın.



Note: Bu makinede motor devrini kontrol etmek için bir kol veya anahtar yoktur.
Kesim ünitelerini döndürmeye başlamak için PTO devreye girdiğinde, makine motor devrini otomatik olarak yüksek rölantiye çıkarır ve kesim üniteleri devreden çıkana kadar orada tutar.
PTO devrede değilken, makinenin gaz kontrol mekanizması, tıpkı bir otomobilin gaz kontrol mekanizması gibi, hareket pedalının konumuna bağlıdır.
PTO şalteri devredeyken, makine ÇIM BIçME modundadır; maksimum hız sınırlandırılmadığında bu modda 13 km/saate kadar bir hıza ulaşabilirsiniz.
PTO şalteri devrede değilken (Şekil 11), makine TAşıMA modundadır; maksimum hız sınırlandırılmadığında bu modda 16 km/saate kadar bir hıza ulaşabilirsiniz.
Note: Bilgi Merkezindeki korumalı menüleri kullanarak her mod için maksimum hızları ayarlayabilirsiniz.

Park frenini devreye sokmak için, (Şekil 11) konsol üzerindeki anahtarı ileri konuma getirin. Ayarlandığında, anahtar üzerindeki kırmızı ışık yanar. Park frenini devre dışı bırakmak için düğmeyi geri konuma getirin.
Park freni anahtarı etkinleştirildiğinde, hareket pedalının konumundan bağımsız olarak hareket hızı otomatik olarak düşer ve makine durur durmaz park freni devreye girer.
Motor durdurulduktan ve makine hareketsiz hale geldikten sonra, park freni anahtarının konumuna bakılmaksızın park freni devreye girer.
Direksiyonu kendinize yaklaştırmak için ayak pedalına basın, direksiyon kulesini kendinize doğru en rahat konuma çekin ve pedalı bırakın (Şekil 12). Direksiyonu kendinizden uzaklaştırmak için, ayak pedalına basın ve direksiyon istediğiniz çalışma konumuna ulaştığında bırakın.
Bu kol (Şekil 11) kesim ünitelerini kaldırır ve indirir.
Kesim ünitelerini indirmek için kolu ileri itin. PTO şalteri ENGAGED (Etkinleştirilmiş) durumda iken, makine MOW (Çim Biçme) modundadır ve kesim üniteleri indirildiğinde dönmeye başlar.
Note: Kesim ünitelerini, bu üniteleri çalıştırmak için PTO şalterini etkin duruma getirdikten sonra indirdiğinizden emin olun. Kesim ünitelerini PTO şalterini etkin duruma getirmeden önce indirirseniz, üniteler dönmeye başlamaz.
Kesim ünitelerini tamamen kaldırmak için kolu geriye doğru çekin. Kesim üniteleri kaldırıldığında ve PTO şalteri devreden çıkarıldığında, makine TAşıMA moduna geçer.
Anahtarlı şalterin (Şekil 11) 3 pozisyonu vardır: KAPALı, AçıK/ÖN ISıTMA ve BAşLATMA.
Farları yakmak için anahtarı yukarı konuma getirin (Şekil 11).
Hidrolik filtre kısıtlama göstergesi, hidrolik filtrelerin değiştirilmesi gerektiğinde sizi uyarır; bkz. Hidrolik Filtrelerinin Değiştirilmesi

Priz (Şekil 15) elektronik cihazlar için kullanılabilecek 12 V’luk bir güç kaynağıdır.


Koltuğu ileri ve geri doğru hareket ettirmek için koltuk konumu kolunu (Şekil 16) kullanın. Koltuk konumunu kilitlemek için kolu serbest bırakın.
Ağırlık göstergesi penceresinde ağırlığınız görüntülenene kadar ağırlık ayarlama düğmesini döndürün.
Koltuk yüksekliğini değiştirmek için yükseklik ayarlama düğmesini döndürün.
Bilgi Merkezi LCD ekranı, makinenin çalışma durumu, çeşitli arıza teşhis bilgileri ve diğer bazı bilgiler gibi makineniz hakkında çeşitli bilgiler sunar (Şekil 11).
Görüntülenen ekranlar, seçtiğiniz düğmelere bağlıdır. Her bir düğmenin amacı, o anda neye ihtiyaç duyulduğuna bağlı olarak değişebilir.
Note: Tasarım ve teknik özellikler önceden haber verilmeden değiştirilebilir.

| Açıklama | Şekil 17 referans | Boyut veya Ağırlık |
| Toplam yükseklik | A | 217 cm |
| Tekerlek açıklığı (lastik göbekleri arası mesafe) arka | B | 185 cm |
| Toplam genişlik (taşıma konumu) | C | 231 cm |
| Toplam genişlik (çim biçme konumu) | D | 247 cm |
| Aks mesafesi | E | 152 cm |
| Toplam uzunluk (taşıma konumu) | F | 315 cm |
| Toplam uzunluk (çim biçme konumu) | G | 315 cm |
| Yakıt deposu kapasitesi | 53 litre | |
| Taşıma hızı | 0 ila 16 km/s | |
| Çim biçme hızı | 0 ila 13 km/s | |
| Net ağırlık (kesme gövdeleri ve sıvılar dahil) | 1492 kg |
Makinenin işlevlerini geliştirmek ve çoğaltmak için makineyle birlikte kullanılabilecek çeşitli Toro onaylı ek parça ve aksesuarlar mevcuttur. Onaylanmış tüm ek parça ve aksesuarların bir listesi için Yetkili Toro Bayinize veya distribütörünüze ulaşın ya da www.Toro.com adresine gidin.
Makinenin en yüksek performansı sergilemesi ve emniyet sertifikası geçerliliğinin korunması için sadece orijinal Toro yedek parça ve aksesuarlarını kullanın. Başka üreticilerin ürettiği yedek parça ve aksesuarlar tehlike yaratabilir ve bunların kullanılması ürün garantisini geçersiz kılabilir.
Note: Makinenin sağ ve sol taraflarını, normal çalışma konumuna göre belirleyin.
Çocukların ve eğitimsiz kişilerin makineyi kullanmalarına veya bakım yapmalarına asla izin vermeyin. Yerel yönetmelikler operatör yaşını sınırlandırabilir. Makine sahibi, tüm operatör ve bakım teknisyenlerinin eğitimini sağlamaktan sorumludur.
Ekipmanı güvenli şekilde çalıştırmayı, operatör kontrollerini ve güvenlik işaretlerini öğrenin.
Operatör konumundan ayrılmadan önce makinenin motorunu kapatın, anahtarını çıkarın ve hareketin tamamen durmasını bekleyin. Ayarlama, bakım, temizleme veya saklama öncesinde makinenin soğumasına izin verin.
Makineyi hızla durdurmayı ve motorunu kapatmayı öğrenin.
Operatörün mevcudiyet kontrollerinin, güvenlik anahtarlarının ve koruyucuların takılı ve düzgün çalışır durumda olduğundan emin olun. Bunlar düzgün çalışmıyorsa makineyi çalıştırmayın.
Biçmeye başlamadan önce, bıçakların, bıçak cıvatalarının ve kesme tertibatının iyi çalışır durumda olduğundan emin olmak için makineyi kontrol edin. Dengeyi korumak için aşınmış veya hasarlı bıçakları ve cıvataları takımlar halinde değiştirin.
Makineyi kullanacağınız alanı inceleyin ve makinenin fırlatabileceği tüm nesnelerden temizleyin.
Bu ürün, elektromanyetik alan oluşturur. İmplante edilebilen elektronik tıbbi cihazlar takıyorsanız bu ürünü kullanmadan önce bir sağlık uzmanına danışın.
Yakıtı kullanırken son derece dikkatli olun. Yakıt yanıcıdır ve buharı da patlayıcıdır.
Tüm sigara, puro, pipo ve diğer tutuşturucu kaynakları söndürün.
Sadece onaylanmış bir yakıt kabı kullanın.
Motor çalışırken veya sıcakken yakıt kapağını çıkarmayın veya yakıt deposunu doldurmayın.
Yakıt ekleme veya boşaltma işlemlerini kapalı bir alanda yapmayın.
Makineyi veya yakıt kabını bir açık alev veya kıvılcımın bulunduğu yerlerde ve su ısıtıcılarda veya diğer cihazlarda bulunan tipte bir tutuşturma alevinin bulunduğu yerlerde depolamayın.
Yere yakıt dökerseniz, motoru çalıştırmayı denemeyin; yakıt buharı yok olana kadar herhangi bir ateşleme kaynağını etkinleştirmekten kaçının.
53 litre
Important: Sadece ultra düşük kükürtlü dizel yakıt kullanın. Daha yüksek kükürtlü yakıtlar dizel oksitleme katalizörünü bozar, bu da çalışma sorunlarına yol açar ve motor bileşenlerinin hizmet ömrünü kısaltır.Aşağıdaki tedbirlere uymamak motora hasar verebilir.
Dizel yakıt yerine asla kerosen veya benzin kullanmayın.
Dizel yakıtı asla kerosen veya kullanılmış motor yağıyla karıştırmayın.
Yakıtı asla iç kısmı çinko kaplamalı kaplarda saklamayın.
Yakıt katkıları kullanmayın.
Setan Derecesi: 45 veya üzeri
Kükürt İçeriği: Ultra düşük kükürt (<15 ppm)
| Dizel yakıt özellikleri | Konum |
| ASTM D975 | ABD |
| No. 1-D S15 | |
| No. 2-D S15 | |
| EN 590 | Avrupa Birliği |
| ISO 8217 DMX | Uluslararası |
| JIS K2204 Derece No. 2 | Japonya |
| KSM-2610 | Kore |
Sadece temiz ve yeni dizel yakıt veya biyodizel yakıt kullanın.
Yakıtın tazeliğini koruması için, daima en fazla 180 gün içinde kullanılacak miktarlarda yakıt satın alın.
-7°C’nin üzerindeki sıcaklıklarda yaz tipi dizel yakıt (No. 2-D), bu sıcaklığın altında ise kış tipi dizel yakıt (No. 1-D veya No. 1-D/2-D karışımı) kullanın.
Note: Daha düşük sıcaklıklarda kış sınıfı yakıt kullanılması daha düşük bir parlama noktası ve daha iyi soğukta akma özellikleri sağlar, bu da hem motoru çalıştırmayı kolaylaştırır hem de yakıt filtresinin tıkanmasını azaltır.-7°C'nin üzerindeki sıcaklıklarda yaz sınıfı yakıt kullanılması yakıt pompası ömrünün uzatılmasına katkıda bulunur ve kış sınıfı yakıta kıyasla daha yüksek güç elde edilmesine yardımcı olur.
Bu makine B20’ye kadar (%20 biyodizel,%80 petrodizel) biyodizel karıştırılmış yakıt da kullanabilir.
Kükürt İçeriği: Ultra düşük kükürt (<15 ppm)
Biyodizel yakıt özellikleri: ASTM D6751 veya EN14214
Karıştırılmış yakıt özellikleri: ASTM D975, EN590 veya JIS K2204
Important: Yakıtın petrodizel kısmı ultra düşük kükürtlü olmalıdır.
Aşağıdaki önlemleri dikkate alın:
Biyodizel yakıt karışımları boyalı yüzeylere hasar verebilir.
Soğuk havalarda B5 (%5 biyodizel içeriği) veya daha düşük oranlı bir karışım kullanın.
Yakıtla temas eden sızdırmazlık ögeleri, hortumlar ve contalar zamanla bozulabileceğinden bunları düzenli olarak gözden geçirin.
Biyodizel karışımlarına geçildikten bir süre sonra yakıt filtresinin tıkanması normaldir.
Biyodizel hakkında detaylı bilgi için yetkili Toro distribütörüne danışın.


Depoya, deponun (dolum boynunun değil) en üst kısmının 6 ila 13 mm altına kadar 2-D Numara dizel yakıt doldurun.
Note: Mümkünse her kullanımdan sonra yakıt tankını doldurun, bu sayede yakıt deposunda yoğuşma oluşumu en aza indirilecektir.
Motoru çalıştırıp makineyi kullanmadan önce, motor karterindeki yağ seviyesini kontrol edin; bkz. Motor Yağı Seviyesinin Kontrolü.
Motoru çalıştırıp makineyi kullanmadan önce soğutma sistemini kontrol edin; bkz. Soğutma Sisteminin Kontrolü.
Motoru çalıştırıp makineyi kullanmadan önce, hidrolik sistemi kontrol edin; bkz. Hidrolik Sıvısı Seviyesinin Kontrol Edilmesi.
Su ayırıcıdaki suyu veya diğer kirleticileri boşaltın; bkz. Yakıt/Su Ayırıcıdaki Suyun Boşaltılması.
| Bakım Servisi Aralıkları | Bakım Prosedürü |
|---|---|
| Her kullanımdan önce veya günlük |
|
Ön ve arka lastiklerdeki doğru hava basıncı 83 ila 103 kPa’dır (12 ila 15 psi).
Important: İyi bir kesim kalitesi ve optimum makine performansı sağlamak için tüm lastiklerde basıncı koruyun. Lastikleri gereğinden az şişirmeyin.Makineyi çalıştırmadan önce tüm lastiklerdeki hava basıncını kontrol edin.

| Bakım Servisi Aralıkları | Bakım Prosedürü |
|---|---|
| İlk saatten sonra |
|
| İlk 10 saatten sonra |
|
| Her 250 saatte |
|
Bijon somunlarının uygun torkta sıkılmaması tekerleğin arızalanmasına veya kaybedilmesine yol açabilir ve bu da kişisel yaralanmaya neden olabilir.
Ön ve arka tekerlek bijonlarını önerilen bakım aralıklarında 94 ila 122 N·m torkla sıkın.
Important: Kesim üniteleri genellikle aynı tezgah ayarına sahip bir silindirik kesim ünitesinden yaklaşık 6 mm daha alçak bir kesim yapar. Kesim ünitesinin tezgah ölçümünü, aynı alanda kesim yapan silindirik kesim ünitelerinden 6 mm daha yüksek ayarlamak gerekebilir.
Important: Kesim ünitesinin makineden çıkarılması arka kesim ünitelerine erişimi büyük ölçüde kolaylaştırır. Kesim ünitelerini indirin ve Şekil 20 içinde gösterilen bu cıvataları ve pimleri sökerek kesim ünitelerini çerçevelerden çıkarın.

Makineyi düz bir zemine park edin, park frenini etkinleştirin, kesim ünitesini zemine indirin, motoru kapatın ve anahtarı çıkartın.
Şekil 21‘de gösterildiği şekilde; her bir kesme yüksekliği braketini kesme yüksekliği plakasına (önde ve iki yanda) sabitleyen cıvatayı gevşetin.
Öncelikle ön tarafı ayarlayarak cıvatayı sökün.

Bir yandan hazneyi desteklerken ara parçayı (Şekil 21) çıkarın.
Hazneyi istenen kesme yüksekliğine getirin ve belirlenen kesme yüksekliği deliği ve yuvasına (Şekil 22) bir ara parça takın.

Kılavuzlu plakayı ara parçası ile aynı hizaya getirin.
Cıvatayı takıp parmakla sıkın.
Her bir yanı ayarlamak için 4 ila 7 arası adımları tekrarlayın.
Her üç cıvatayı 41 N∙m tork ile sıkın. Her zaman ilk önce öndeki cıvatayı sıkın.
Note: 3,8 cm’den daha büyük ayarlamalarda (örn. kesme yüksekliği 3,1’den 7 cm’e çıkarılacağı zaman), yapışma olmaması için bir ara yüksekliğe geçici montaj yapılması gerekebilir.
| Bakım Servisi Aralıkları | Bakım Prosedürü |
|---|---|
| Her kullanımdan önce veya günlük |
|
Emniyet kilidi anahtarlarının bağlantısı kesilir veya anahtarlar hasar görürse makine beklenmedik biçimde çalışarak yaralanmaya yol açabilir.
Emniyet kilidi anahtarlarını kurcalamayın.
Her gün makineyi çalıştırmadan önce emniyet kilidi anahtarlarının çalışıp çalışmadığını kontrol edin ve hasarlı anahtarları değiştirin.
Important: Makineniz emniyet kilidi anahtar testlerinde başarısız olursa yetkili Toro distribütörüne başvurun.
Makineyi yavaşça açık bir alana alın.
Kesim ünitelerini indirin, motoru kapatın ve park frenini etkinleştirin.
Kullanıcı koltuğuna oturun.
Park frenini etkinleştirin.
DISENGAGE (Devre dışı bırak) konumuna getirmek için PTO şalterine basın.
Hareket pedalına basın.
Anahtarı MARş konumuna döndürün.
Note: Hareket pedalı basılıyken motor çalışmamalıdır.
Kullanıcı koltuğuna oturun.
PTO şalterini yukarı çekerek ENGAGE (Etkinleştir) konumuna getirin.
Anahtarı MARş konumuna döndürün.
Note: PTO şalteri ENGAGE (Etkinleştir) konumundayken motor çalışmamalıdır.
Kullanıcı koltuğuna oturun.
DISENGAGE (Devre dışı bırak) konumuna getirmek için PTO şalterine basın.
Motoru çalıştırın.
PTO şalterini yukarı çekerek ENGAGE (Etkinleştir) konumuna getirin.
PTO'yu devreye sokmak için kesim ünitelerini indirin.
Koltuktan kalkın.
Note: Operatör koltuğundan kalktığınızda PTO çalışmamalıdır.
Note: Gereksiz aşınmayı önlemek için, bu test sırasında kesim ünitelerinin birkaç saniyeden fazla dönmesine izin vermeyin.
Kullanıcı koltuğuna oturun.
Park frenini etkinleştirin.
DISENGAGE (Devre dışı bırak) konumuna getirmek için PTO şalterine basın.
Motoru çalıştırın.
Hareket pedalına basın.
Note: Park freni devredeyken hareket pedalına bastığınızda makine tepki vermemelidir. Bilgi Merkezinde bir bilgi mesajı görünmelidir.
Kullanıcı koltuğuna oturun.
Motoru çalıştırın.
Park frenini devre dışı bırakın.
Koltuktan kalkın.
Note: Operatör koltuğundan kalktığınızda, park freni şalterindeki kırmızı ışık yanarak park freninin devrede olduğunu göstermelidir.
Kullanıcı koltuğuna oturun.
Motoru çalıştırın.
Kesim ünitelerinin taşıma konumuna kaldırıldığından emin olun.
Koltuktan kalkın.
Kesim ünitelerini indirin.
Note: Siz operatör koltuğunda oturmazken, kesim üniteleri indirilmemelidir.
| Bakım Servisi Aralıkları | Bakım Prosedürü |
|---|---|
| Her kullanımdan önce veya günlük |
|
Kesim ünitesi etkinleştirme anahtarı kapatıldıktan sonra yaklaşık 5 saniye içinde kesim ünitesinin bıçakları tamamen durmalıdır.
Note: Toz ve döküntülerin etrafa saçılmasını önlemek için kesim ünitelerinin temiz bir çim veya sert yüzey üzerine indirildiğinden emin olun.
Çalışma esnasında ikinci bir kişi kesim ünitesinden en az 6 m uzakta durmalı ve kesim ünitelerinden 1'indeki bıçakları izlemelidir.
Kesim üniteleri devreye girmiş ve tam hızda dönerken, PTO şalterini devreden çıkarın ve bıçakların tamamen durması için geçen süreyi kaydedin.
Note: Bu süre 7 saniyeden fazlaysa, fren valfinin ayarlanması gerekir. Bu ayarın yapılması konusunda yardım için yetkili Toro distribütörünüzü arayın.
Bu bıçak hemen her koşulda mükemmel kaldırma etkisi ve dağılım sağlamak üzere tasarlanmıştır. Daha fazla veya daha az kaldırma ve boşaltma hızı gerekiyorsa, farklı bir bıçak düşünün.
Özellikler: Çoğu durumda mükemmel kaldırma ve dağılım
Bıçak genellikle en iyi performansı düşük kesme yüksekliklerinde (1,9 ila 6,4 cm) sergiler.
Özellikler:
Daha düşük kesme yüksekliklerinde bile daha fazla boşaltma.
Boşaltmada daha az sola atma eğilimi, bunker’lara ve fairway’lere daha temiz bir görünüm kazandırır.
Düşük yüksekliklerde ve yoğun çimde daha düşük güç gereksinimi.
Bıçak genellikle daha yüksek kesme işlemlerinde (7 ila 10 cm) daha iyi bir performans sergiler.
Özellikler:
Daha fazla kaldırma etkisi ve daha yüksek boşaltma hızı
Daha yüksek kesme işlemlerinde seyrek veya gevşek çimleri önemli ölçüde toplar
Islak veya yapışkan kırpıntıların daha verimli bir şekilde boşaltılması kesim ünitesindeki tıkanıklığı azaltır.
Çalışması için daha fazla beygir gücü gerekir
Sola doğru boşaltma yapma eğilimindedir ve daha düşük kesme yüksekliklerinde yığılma yapma eğilimi gösterir
Malçlama deflektörü ile birlikte yükseltilmiş bir bıçak kullanılması, bıçağın kırılmasına neden olarak kişisel yaralanma veya ölüme yol açabilir.
Yükseltilmiş bıçağı malçlama deflektörüyle birlikte kullanmayın.
Bu bıçak, yaprakların kusursuz biçimde malçlanması için tasarlanmıştır.
| Açılı Kanatlı Bıçaklar | Yüksek kaldırmalı, Paralel Kanatlı Bıçak(Malçlama deflektörüyle birlikte kullanmayın) (CE uyumlu değildir) | Malçlama Deflektörü | Silindir Sıyırıcı | |
| Çim Kesme: 1,9 ila 4,4 cm kesme yüksekliği | Çoğu uygulama için önerilir | Hafif veya seyrek çimlerde işe yarayabilir | Haftada en az 3 kez biçilen ve çim sapının 1/3’ünden daha azının kesildiği kuzey tipi çimlerde dağılım ve kesme sonrası performansını arttırdığı kanıtlanmıştır. Yüksek kaldırmalı, paralel kanatlı bıçağı kullanmayın | Silindirlerde çok miktarda çim biriktiğinde veya büyük, düz çim yığınları görüldüğünde kullanın. Sıyırıcılar bazı uygulamalarda yığılmayı arttırabilir. |
| Çim Kesme: 5 ila 6,4 cm kesme yüksekliği | Yoğun veya gür çimler için önerilir | Hafif veya seyrek çim için önerilir | ||
| Çim Kesme: 7 ila 10 cm kesme yüksekliği | Gür çimlerde işe yarayabilir | Çoğu uygulama için önerilir | ||
| Yaprak Malçlama | Malçlama deflektörü ile birlikte kullanılması önerilir | İzin Verilmez | Sadece kombine kanatlı veya açılı kanatlı bıçak kullanın | |
| Artıları | Düşük kesme yüksekliğinde bile boşaltma yapar; bunker’lar ve fairway’lere daha temiz bir görünüm kazandırır; daha düşük güç gerektirir | Daha fazla kaldırma etkisi ve daha yüksek boşaltma hızı; daha yüksek kesme işlemlerinde seyrek veya gevşek çimleri toplar; ıslak veya yapışkan kırpıntılar daha verimli bir şekilde boşaltılır | Bazı çim kesme uygulamalarında dağılımı ve görünümü iyileştirebilir; yaprak malçlama için çok uygundur | Belirli uygulamalarda silindirde birikmeyi azaltır |
| Eksileri | Yüksek kesme uygulamalarında çimleri iyi kaldırmaz; ıslak veya yapışkan çim haznede birikebilir ve bu da kesme kalitesini düşürüp daha fazla güç ihtiyacı doğurur | Bazı uygulamalarda çalışmak için daha fazla güç gerektirir; gür çimde daha düşük kesme yüksekliğinde yığılma yapabilir; malçlama deflektörü ile kullanılmamalıdır | Deflektör yerindeyken çok fazla çim çıkarmaya çalışırsanız, çim haznede birikir |
Ekranda, makinenin çalışma durumu, çeşitli arıza teşhis bilgileri ve diğer bazı bilgiler gibi makineniz hakkında çeşitli bilgiler gösterilir. Ekran, birden fazla sayfa içerir. Ekran düğmelerinden herhangi birine basarak ve ardından uygun yön okunu seçerek sayfalar arasında istediğiniz zaman geçiş yapabilirsiniz.

Note: Her bir düğmenin amacı, o anda neye ihtiyaç duyulduğuna bağlı olarak değişebilir. Her düğme, o anki işlevini gösteren bir simgeyle işaretlenir.
![]() | Saat ölçer |
![]() | Servis zamanı geldi. |
![]() | Motor devri durumu (dev/dak) |
![]() | Sanal pedal durdurma ayarları |
![]() | Kızdırma bujileri aktif. |
![]() | Operatör koltuğunda oturuyor olmalıdır. |
![]() | Park freni etkindir. |
![]() | Motor soğutma suyu sıcaklığı (°C veya °F) |
![]() | Hareket veya Hareket Pedalı |
![]() | Motoru çalıştırın. |
![]() | Hız sabitleyici devreye girer. |
![]() | Motor |
![]() | Isınma modu |
![]() | Beklemeyi sıfırla rejenerasyon talebi |
| Park halinde veya geri kazanım amaçlı rejenerasyon talebi | |
![]() | Park halinde veya geri kazanım amaçlı bir rejenerasyon devam ediyor. |
![]() | Yüksek egzoz sıcaklığı |
![]() | NOx kontrolü arıza tespit arızası; makineyi tekrar servise götürün ve yetkili Toro distribütörünüzle görüşün (U ve sonrası yazılım sürümü). |
![]() | Kuyruk mili (PTO) devre dışı. |
![]() | PTO açık. |
![]() | Akü |
![]() | Yakıt seviyesi |
![]() | Yakıt azaldı. |
![]() | Uyarı |
![]() | Aktif |
![]() | Aktif değil |
![]() | Önceki |
![]() | Sonraki |
![]() | Artır |
![]() | Azalt |
![]() | Önceki ekran |
![]() | Sonraki ekran |
![]() | Değeri artır |
![]() | Değeri düşür |
![]() | Menü |
![]() | Yukarı/aşağı kaydırma |
![]() | Sola/sağa kaydırma |
![]() | Kilitli |
Yalnızca
parola girilerek erişilebilir
Bilgi Merkezi menü sistemine erişmek için, ana ekrandayken menü erişim düğmesine basın. Ana menüye yönlendirilirsiniz. Menülerdeki seçeneklere genel bir bakış için aşağıdaki tabloları inceleyin:
| Ana Menü—Menü Öğesi | Açıklama |
| Faults (Arızalar) | Arızalar menüsü, son makine arızalarının bir listesini sunar. Arızalar menüsü ve orada yer alan bilgiler hakkında daha fazlasını öğrenmek için Servis Kılavuzuna veya yetkili Toro Distribütörünüze başvurun. |
| Service (Servis) | Servis Menüsü; toplam kullanım saati, sayaçlar ve diğer benzer değerler gibi makineyle ilgili bazı bilgiler sunar. |
| Diagnostics (Arıza Teşhis) | Arıza Teşhis menüsü, her bir makine anahtarının, sensörünün ve kontrol çıkışının durumunu görüntüler. Hangi makine kontrollerinin AçıK hangilerinin KAPALı olduğunu hızlıca gösteren bu menüyü kullanarak bazı sorunları giderebilirsiniz. |
| Settings (Ayarlar) | Ayarlar menüsü, ekrandaki konfigürasyon değişkenlerini kişiselleştirmenize ve değiştirmenize imkan tanır. |
| Machine Settings (Makine Ayarları) | Makine Ayarları menüsü ivme, hız ve karşı ağırlık eşiklerini ayarlamanıza olanak tanır. |
| About (Hakkında) | Hakkında menüsü, makinenizin model numarasını, seri numarasını ve yazılım sürümünü gösterir. |
| Service (Servis)—Menü Öğesi | Açıklama |
| Hours (Saatler) | Makinenin, motorun ve PTO’nun açık olduğu toplam saat sayısının yanı sıra makinenin nakliyede geçirdiği toplam saat sayısını ve servis zamanını gösterir. |
| Counts (Sayımlar) | Makinede gerçekleşen sayımları gösterir. |
| Service Throttle (Servis Gaz Kontrol Mekanizması) | Servis Gaz Kontrol Mekanizmasını açar ve kapatır. Makinenin atölyede yeniden konumlandırılması gibi servisle ilgili bazı işlemler için otomotiv tarzı gaz kontrol mekanizmasını manuel olarak geçersiz kılınmasına olanak tanır. |
| Service RPM (Servis Devri) | Servis devrini (dev/dak) ayarlar. |
Traction Pedal (Hareket Pedalı) ![]() | |
Traction Pump (Çekiş Pompası) ![]() | |
Virtual Speed Sensor (Sanal Hız Sensörü) ![]() | |
| DPF Regeneration (DPF Rejenerasyonu) | Dizel partikül filtresi rejenerasyon seçeneği ile DPF alt menülerini içerir |
| Arıza Tespit—Menü Öğesi | Açıklama |
| Deck (Gövde) | Kesim ünitelerinin yükseltilmesi ve alçaltılması için giriş ve çıkışları gösterir. |
| Traction (Çekiş) | Hareket pedalı için girişleri ve çıkışları gösterir. |
| Cutting Units (Kesim Üniteleri) | Kesim ünitelerinin kaldırılması ve indirilmesi için girdileri, niteleyici değerleri ve çıktıları gösterir. |
| PTO | PTO devresinin etkinleştirilmesi için girdileri, niteleyici değerleri ve çıktıları gösterir. |
| Engine (Motor) | Motorun çalıştırılması için girdileri, niteleyici değerleri ve çıktıları gösterir |
CAN Statistics (CAN İstatistikleri) ![]() | CAN için giriş ve çıkışları gösterir. |
| Ayarlar—Menü Öğesi | Açıklama |
| Enter PIN (PIN Girin) | Şirketinizin bir PIN koduyla yetkilendirdiği bir kişinin (denetmen/bakım teknisyeni) korumalı menülere erişebilmesine imkan tanır. |
| Backlight (Arka Plan Aydınlatması) | LCD ekranın parlaklığını kontrol eder. |
| Language (Dil) | Bilgi Merkezinde kullanılan dili kontrol eder*. |
| Font Size (Yazı Tipi Boyutu) | Ekrandaki yazı tipinin boyutunu kontrol eder. |
| Units (Birimler) | Bilgi Merkezi’nde kullanılan birimleri kontrol eder (İngiliz veya Metrik). |
Protected Menus (Korunan Menüler) ![]() | Şirketinizin bir parolayla yetkilendirdiği bir kişinin korumalı menülere erişebilmesine imkan tanır |
Protect Settings (Ayarları Koru) ![]() | Korunan ayarlardaki değerlerin değiştirilebilmesine imkan tanır. |
Note: Makine Ayarları menüsü yalnızca PIN girildiğinde gösterilecektir.
Makine Ayarları—Menü Öğesi![]() | Açıklama |
Mow Speed (Çim Biçme Hızı) | Çim biçme sırasındaki maksimum hızı kontrol eder (düşük aralık). |
Transport Speed (Taşıma Hızı) ![]() | Taşıma sırasındaki maksimum hızı kontrol eder (yüksek aralık). |
Smart Power (Akıllı Güç) ![]() | Akılı Gücü açar ve kapatır. |
Counterbalance (Karşı Ağırlık) | Kesim üniteleri tarafından uygulanan karşı ağırlık miktarını kontrol eder. |
Acceleration (İvme) ![]() | Düşük, Orta ve Yüksek ayarları, hareket pedalını hareket ettirdiğinizde hareket hızının ne kadar hızlı tepki göstereceğini kontrol eder. |
Protected
under Protected Menus (Korumalı Menüler Altında
Korunuyor)—sadece parola girilerek erişilebilir
| About (Hakkında)—Menü Öğesi | Açıklama |
| Model | Makinenin model numarasını gösterir. |
| SN (Seri Numarası) | Makinenin seri numarasını gösterir. |
| Machine Controller Revision (Makine Kontrol Ünitesi Versiyonu) | Ana kontrol ünitesinin yazılım versiyonunu gösterir. |
| S/W Revision (Yazılım Versiyonu) | Birincil kontrol ünitesinin yazılım versiyonunu gösterir. |
InfoCenter Revision (Bilgi Merkezi Versiyonu) ![]() | Bilgi Merkezi’nin yazılım versiyonunu gösterir |
Bilgi Merkezinin SETTINGS (Ayarlar) menüsünde ayarlanabilir çalışma yapılandırması ayarları vardır. Bu ayarları kilitlemek için PROTECTED MENU (Korumalı Menü) öğesini kullanın.
Note: Teslimat sırasında, ilk parola distribütörünüz tarafından programlanır.
Note: Makinenizin varsayılan parolası 0000 veya 1234'tür.Parolanızı değiştirdiyseniz ve unuttuysanız, destek almak için yetkili Toro distribütörünüze danışın.
MAIN MENU (Ana Menü)'de ekranı aşağıya, SETTINGS (Ayarlar) menüsüne kaydırın ve sağ düğmeye (Şekil 24) basın.

SETTINGS (Ayarlar) menüsünde, ENTER PIN (PIN Gir) seçeneğine ilerleyin ve seçme düğmesine (Şekil 25A) basın.

PIN kodunu girmek için doğru birinci hane görüntülenene kadar yukarı/aşağı gezinme düğmelerine basın, ardından sağ gezinme düğmesine basarak bir sonraki haneye geçin (Şekil 25B ve Şekil 25C). Son hane girilene kadar bu adımı tekrarlayın.
Seçme düğmesine basın.
Note: Ekran parolayı kabul eder ve korumalı menünün kilidi açılırsa, ekranın sağ üst köşesinde “PIN” sözcüğü gösterilir.
Korumalı menüyü kilitlemek için, anahtar düğmesini OFF (Kapalı) konumuna ve ardından ON (Açık) konumuna çevirin.
SETTINGS (Ayarlar) bölümünde PROTECT SETTINGS (Ayarları Koru) seçeneğine gidin.
PIN kodu girmeden ayarları görüntülemek
ve değiştirmek için, seçme düğmesini
kullanarak PROTECT SETTINGS (Ayarları
Koru) öğesini
(Kapalı) olarak değiştirin.
Ayarları bir PIN kodu ile görüntülemek
ve değiştirmek için, seçme düğmesini
kullanarak PROTECT SETTINGS (Ayarları
Koru) öğesini
(Açık) konumuna getirin, PIN kodunu
ayarlayın ve kontak anahtarını OFF (Kapalı) konumuna ve ardından ON (Açık) konumuna çevirin.
Servis zamanı sayacı, planlanmış bir bakım prosedürü gerçekleştirildikten sonra servis zamanı saatlerini sıfırlar.
SETTINGS (Ayarlar) bölümünde ENTER PIN (PIN Gir) seçeneğine kaydırın ve seçme düğmesine basın.
PIN girin; Korumalı Menülere Erişim bölümüne bakın.
SERVICE (Servis) bölümünde HOURS (Saatler) öğesine gidin ve seçme düğmesine basın.
SERVICE DUE (Servis Zamanı) seçeneğine kaydırın.
Note: Servis zamanı gelmişse, SERVICE DUE (Servis Zamanı) öğesinin yanında NOW (Şimdi) ibaresi görünür.
Servis aralığını vurgulu hale getirin ve seçme düğmesine basın.
Note: Servis aralığı (250 Saat, 500 Saat vb.) SERVICE DUE (Servis Zamanı) öğesinin yanında gösterilir. Servis aralığı, korumalı bir menü öğesidir.
RESET SERVICE TIMER? (SERVİS ZAMANI SAYACI SIFIRLANSIN MI?) ekranı belirdiğinde, YES (EVET) için seçme düğmesine veya NO (HAYIR) için geri düğmesine basın.
YES (Evet) seçeneğini seçtiğinizde aralık ekranı temizlenir ve tekrar servis saatleri seçimlerine dönülür.
Seçili ayar, hareket hızı çubuk grafiğinde, hız sabitleyici kontrolü ve pedal durdurma ayarları ile birlikte X olarak görüntülenir. Çubuktaki X, maksimum hızın süpervizör tarafından sınırlandırıldığını gösterir (Şekil 29).
Note: Bu ayar bellekte saklanır ve siz değiştirene kadar hareket hızına uygulanır.
MACHINE SETTINGS (Makine Ayarları) bölümünde MOW SPEED (Çim Biçme Hızı) seçeneğine kaydırın.
Maksimum çim biçme hızını 0,8 km/saatlik adımlarla 1,6 ile 12,9 km/saat arasında ayarlamak için sol ve sağ gezinme düğmelerini kullanın.
Seçili ayar, hareket hızı çubuk grafiğinde, hız sabitleyici kontrolü ve pedal durdurma ayarları ile birlikte X olarak görüntülenir. Çubuktaki X, maksimum hızın süpervizör tarafından sınırlandırıldığını gösterir (Şekil 29).
Note: Bu ayar bellekte saklanır ve siz değiştirene kadar hareket hızına uygulanır.
MACHINE SETTINGS (Makine Ayarları) bölümünde TRANSPORT SPEED (Taşıma Hızı) seçeneğine kaydırın.
Maksimum taşıma hızını 0,8 km/saatlik adımlarla 8,0 ile 16,0 km/saat arasında ayarlamak için sol ve sağ gezinme düğmelerini kullanın.
SETTINGS (Ayarlar) bölümünde SMART POWER (Akıllı Güç) seçeneğine kaydırın.
ON (Açık) ve OFF (Kapalı) arasında geçiş yapmak için sağdaki gezinme düğmesine basın.
MACHINE SETTINGS (Makine Ayarları) bölümünde COUNTERBALANCE (Karşı Ağırlık) seçeneğine gidin.
Karşı ağırlığı seçmek ve LOW (Düşük), MEDIUM (Orta) ve HIGH (Yüksek) ayarlar arasında geçiş yapmak için sağdaki gezinme düğmesine basın.
MACHINE SETTINGS (Makine Ayarları) bölümünde ACCELERATION (İvme) seçeneğine gidin.
LOW (Düşük), MEDIUM (Orta) ve HIGH (Yüksek) arasında geçiş yapmak için sağdaki düğmeye basın.
Note: Makineyi daha rahat işletmek amacıyla, başarıyla tamamlanmış son sıfırlama rejenerasyonundan, park halinde rejenerasyondan veya geri kazanım amaçlı rejenerasyondan itibaren motorun 50 saatten uzun çalışmış olması şartıyla, kurum yükü %100'e ulaşmadan önce park halinde rejenerasyon gerçekleştirmeyi tercih edebilirsiniz.
Motor rejenerasyon kontrolünün mevcut durumunu ve mevcut kurum seviyesini görüntülemek için Teknisyen menüsünü kullanın.
SETTINGS (Ayarlar) bölümünde DPF REGENERATION (DPF Rejenerasyonu) seçeneğine gidin ve seçme düğmesine basın.
DPF REGENERATION (DPF Rejenerasyonu) içinde TECHNICIAN (Teknisyen) öğesine gidin ve seçme düğmesine basın.


Yanıp sönen kırmızı—aktif arıza
Sabit kırmızı—aktif uyarı
Sabit mavi—kalibrasyon/diyalog mesajları
Sabit yeşil—normal çalışma
Bu makine, hareket pedalını boşa döndürdüğünüzde dinamik olarak fren yapacak ve duracaktır.
Note: Yumuşak bir yavaşlama için, ayağınızı kullanarak hareket pedalını yavaşça boşa alın. Özellikle hemen durmanız gerekmedikçe, ayağınızı pedaldan bir anda çekip boş konuma geri dönmesine izin vermeyin.
Makine, maksimum taşıma hızı olan 16 km/saat hızda yaklaşık 3,7 m sonra tamamen durmalıdır.
Düz, kuru asfaltta 3,7 m arayla başlangıç ve bitiş noktaları belirleyin.
Makineyi maksimum 16 km/saat taşıma hızında sürün ve 3,7 m'lik aralığın başlangıcında ayağınızı pedaldan kaldırın.
Makinenin son işarete (3,7 m) 0,6 m mesafede durup durmadığını kontrol edin.
Makinenin durma mesafesi bu aralığın 0,6 m içinde değilse Toro distribütörünüzle iletişime geçin.
Taşıma Modunda Geri Vites Hızı
Süpervizör tarafından ayarlanan maksimum taşıma hızı 8,0 km/saatin üzerindeyse, maksimum geri vites hızı 8,0 km/saattir.
Süpervizör tarafından ayarlanan maksimum taşıma hızı 8,0 km/saat veya altındaysa, maksimum geri vites hızı süpervizör tarafından ayarlanan taşıma hızına eşittir.
Çim Biçme Modunda Geri Vites Hızı
Süpervizör tarafından ayarlanan maksimum çim biçme hızı 6,4 km/saatin üzerindeyse, maksimum geri vites hızı 6,4 km/saattir.
Süpervizör tarafından ayarlanan maksimum çim biçme hızı 6,4 km/saat veya altındaysa, maksimum geri vites hızı süpervizör tarafından ayarlanan taşıma hızına eşittir.
Bu makine tahmini hareket hızlarını saatte kilometre (km/sa) veya saatte mil (mph) olarak gösterir.
Anlık hız, hız sabitleyici ve sanal pedal durdurma ekranlarının sol üst köşesinde görüntülenir.
Çim biçme işlemi sırasında hareket hızları tahmin edilir ve 8,0 km/sa hızda en doğru olacak şekilde kalibre edilir. Göstergedeki hızlar, kuru ve düz asfaltta sürüş sırasında ekran hızının 0,8 km/sa üzerinde veya altında iken kesin hız değerleridir.
Makinenin gözlemlenen hızları, göstergedeki hızlardan 2,4 km/saatin üzerinde bir sapma gösteriyorsa yetkili Toro distribütörünüzle iletişime geçin.
Makine soğuk havada çalıştırıldığında, ısınma modu motor çalıştırıldıktan sonra kısa bir süre için motor devrini düşük rölantide sınırlayarak makinenin soğuk yağ ile çalıştırılmasından kaynaklanabilecek olası parça hasarlarını önler.
Bilgi Merkezi ekranındaki kar tanesi simgesi
ısınma modunun
etkin olduğunu gösterir. Isınma süresinin
sonuna kadar makineyi hareket ettirmeyin.
Makine sahibi/operatör, yaralanma veya maddi hasara yol açabilecek kazaları önleyebilir ve önlemekle sorumludur.
Göz koruyucu, uzun pantolon, kaymaz ayakkabı ve kulak koruyucu gibi uygun kişisel koruyucu donanımlar kullanın. Uzun saçı bağlayın, bol kıyafet giymeyin, sarkan takılar takmayın. Tozlu çalışma koşullarında bir toz maskesi takın.
Hasta, yorgun veya alkol/uyuşturucu etkisi altındayken makineyi çalıştırmayın.
Makineyi kullanırken tüm dikkatinizi işinize verin. Dikkatinizi dağıtabilecek başka şeylerle ilgilenmeyin, aksi takdirde yaralanma veya maddi hasar meydana gelebilir.
Motoru çalıştırmadan önce tüm tahrik düzeneklerinin boşta ve park freninin etkin olduğundan ve çalışma pozisyonunda olduğunuzdan emin olun.
Makinenin üzerinde yolcu taşımayın ve çevredeki kişileri ve çocukları çalışma alanından uzak tutun.
Çukurlardan ve gizli tehlikelerden uzak durmak için makineyi sadece görüşün iyi olduğu ortamlarda kullanın.
Islak çimleri biçmekten kaçının. Çekiş gücünün azalması, makinenin kaymasına neden olabilir.
Ellerinizi ve ayaklarınızı döner parçalardan uzak tutun. Boşaltma açıklıklarından uzak durun.
Geriye doğru gitmeden önce, yolun açık olduğundan emin olmak için arkanıza ve aşağıya bakın.
Keskin virajlara, çalılara, ağaçlara veya görüşünüzü kısıtlayabilecek diğer nesnelere yaklaşırken çok dikkatli olun.
Çim biçmediğiniz zamanlarda bıçakları durdurun.
Bir nesneye çarptıktan sonra veya makinede anormal bir titreşim olursa parçaları incelemeden önce makineyi durdurun, anahtarı çıkarın ve tüm hareketli parçaların durmasını bekleyin. Çalışmaya devam etmeden önce gerekli tüm onarımları yapın.
Makineyle viraj dönerken veya yollardan ve kaldırımlardan geçerken yavaşlayın ve dikkatli olun. Daima geçiş hakkını diğer araçlara verin.
Kesim yüksekliğini ayarlamadan önce (çalışma pozisyonunda ayarlayabildiğiniz durumlar haricinde) kesim ünitesine bağlı tahrik mekanizmasını devre dışı bırakın, motoru kapatın, anahtarı çıkarın ve tüm hareketli parçaların durmasını bekleyin.
Motoru, sadece iyi havalandırılan alanlarda çalıştırın. Egzoz gazları, solunduğunda ölümcül bir gaz olan karbon monoksit içerir.
Çalışan bir makineyi asla başıboş bırakmayın.
Operatör konumundan ayrılmadan önce şunları yapın:
Makineyi düz bir zemine park edin.
Kuyruk milini devreden çıkarın ve ek parçaları indirin.
Park frenini etkinleştirin.
Motoru kapatın ve anahtarı çıkarın.
Tüm hareketlerin durmasını bekleyin.
Makineyi sadece görüş imkanının iyi olduğu ortamlarda kullanın. Yıldırım riski bulunan durumlarda makineyi çalıştırmayın.
Makineyi bir çekme aracı olarak kullanmayın.
Yalnızca Toro tarafından onaylanmış aksesuarları, eklentileri ve yedek parçaları kullanın.
Hız sabitleyiciyi (varsa) yalnızca makineyi açık, düz ve engel bulunmayan; makinenin herhangi bir müdahale olmaksızın sabit bir hızda hareket edebileceği alanlarda kullanın.
ROPS tamamlayıcı ve etkili bir güvenlik tertibatıdır.
Hiçbir ROPS bileşenini makineden çıkarmayın.
Emniyet kemerinin makineye bağlı olduğundan emin olun.
Kemer kayışını çekerek gövdenizin önünden geçirin ve koltuğun diğer tarafındaki tokaya takın.
Emniyet kemerini çıkarmak için kemeri tutun, kemeri salmak için toka düğmesine basın ve kemeri otomatik geri çekileceği kısma kadar sürükleyin. Acil bir durumda kemeri hızlıca çıkarabileceğinizden emin olun.
Yer seviyesinden yüksekteki engellere karşı dikkatli olun ve bunlara temas etmeyin.
ROPS’u düzenli aralıklarla hasara karşı inceleyerek ve tüm montaj bağlantı elemanlarını sıkı tutarak güvenle çalışır durumda tutun.
Hasarlı ROPS bileşenlerini değiştirin. Onları onarmayın veya üzerlerinde değişiklik yapmayın.
Toro tarafından takılmış bir kabin, denge çubuğudur.
Her zaman emniyet kemerinizi takın.
Eğimli araziler araç hakimiyetinin kaybedilmesine ve aracın devrilmesine neden olabilir ve bu da ağır yaralanma veya ölüme yol açabilir. Eğimli arazilerde güvenli bir şekilde çalışmak sizin sorumluluğunuzdur. Makineyi eğimli arazilerde kullanırken daha da dikkatli olun.
Eğimin, makinenin çalışması açısından güvenli olup olmadığını belirlemek için saha koşullarını değerlendirin ve sahada önceden keşif yapın. Bu incelemeyi yaparken mantıklı düşünün ve doğru kararlar vermeye dikkat edin.
Makinenin yokuşlarda kullanımı ve makineyi o gün, o bölgedeki koşullarda kullanıp kullanamayacağınızı belirlemek için dikkate almanız gereken kullanım koşulları ile ilgili bilgi edinmek için aşağıdaki yokuş talimatlarını inceleyin. Arazi yapısındaki değişiklikler, makinenin eğimli yerlerde çalışma şeklinde değişikliğe neden olabilir.
Makineyi eğimli arazilerde çalıştırmaktan, durdurmaktan veya manevra yaptırmaktan kaçının. Ani hız veya yön değişiklikleri yapmaktan kaçının. Yavaş ve kademeli dönüşler yapın.
Makinenin çekişinde, direksiyonunda veya dengesinde bir sorun hissederseniz makineyi kullanmayı bırakın.
Hendek, çukur, derin tekerlek izi, tümsek ve kaya gibi engelleri veya diğer gizli tehlikeleri kaldırın veya işaretleyin. Uzun çimler bazı engelleri gizleyebilir. Engebeli arazi makinenin devrilmesine yol açabilir.
Islak çimde, eğimli arazilerde veya yokuş aşağı kullanırken makinenin çekiş gücünün azalabileceğini unutmayın. Çeker tekerleklerde çekiş kaybı aracın kaymasına ve fren ve direksiyonun işe yaramaz hale gelmesine neden olabilir.
Makineyi düşük banketler, hendekler, yapay setler, tehlikeli sulak alanlar veya diğer tehlikelerin yakınında kullanırken çok dikkatli olun. Tekerleklerden biri güçsüz bir zeminden geçerse veya zemin çökerse makine aniden devrilebilir. Makine ile olası bir tehlike kaynağı arasında güvenli bir mesafe belirleyin.
Eğimin dibindeki tehlikeleri önceden tespit edin. Tehlikeler varsa, yokuştaki çimleri yürüyerek kontrol edilen bir makineyle biçin.
Yokuşlarda çalışırken, mümkünse kesim ünitesini/ünitelerini toprağa indirilmiş halde tutun. Yokuşlarda çalışırken kesim ünitesinin/ünitelerinin kaldırılması, makinenin dengesini kaybetmesine neden olabilir.
Çim toplama sistemleri veya diğer ek parçalarla çalışırken çok dikkatli olun. Bunlar makinenin dengesini değiştirebilir ve kontrol kaybına neden olabilir.
Bu makinede otomotiv tarzı bir gaz kontrol mekanizması bulunur. Bu mekanizma, hareket pedalı tarafından kontrol edilir.
Makinede ayrı bir gaz anahtarı veya gaz kolu bulunmaz.
Ayağınızı hareket pedalından çektiğinizde makine dinamik olarak duracak şekilde fren yapar.
Pedal kontrolleri, reaktif ancak stabil bir tepki sağlamak üzere optimize edilmiştir ve böylece zorlu araziler üzerinde tutarlı kontrol elde ederken hızlı, yumuşak frenleme yapabilirsiniz.
Taşıma sırasında hareket pedalı bir arabanınkine benzer şekilde çalışır ve hareket pedalı konumuna bağlı olarak motor devrini ve hareket hızını değiştirebilir.
Çim biçme sırasında motor devri otomatik olarak yüksek rölantiye çıkar.
Motor düşük bir rölantideyse kesim ünitelerini kaldırma veya hareket pedalına basma gibi işlevler motor devrini minimum çalışma hızına çıkarır ve işlevi gerçekleştirmek için gerekli gücü sağlar.
Makine rölanti süresini, dizel partikül filtresi (DPF) rejenerasyonu için önerildiği şekilde sınırlandırın. Uzun süre rölantide kalmaması için makineyi kapatın.
PIN korumalı menü ayarlarındaki maksimum hız değerleri, süpervizör tarafından makinenin maksimum hareket hızını sınırlandırmak üzere ayarlanır.
Ulaşılabilecek hareket pedalı kullanımı, hız sabitleyici ve pedal durdurma hareket hızlarının tümü PIN korumalı menüde ayarlanan maksimum hız değerleri tarafından sınırlanır.
Önünüze bir engel çıkarsa kesim ünitelerini kaldırın veya etrafında biçme işlemi gerçekleştirin.
Makineyi çalışma alanları arasında taşırken, PTO'yu kapatın ve kesim ünitelerini tamamen yukarı konuma kaldırın. Bu, hareket pedalının bir arabanınki gibi çalışmasını sağlar.
Zorlu alanlarda her zaman yavaş sürün.
Makineyi asla sürüş halindeyken kapatmayın.
Makinenin özelliklerine aşina olmak üzere makineyi kullanım pratiği yapın.
Kesim ünitelerini kaldırın, park frenini devre dışı bırakın, ileri hareket pedalına basın ve dikkatli bir şekilde açık bir alana sürün.
Hidrostatik bir şanzımanı ve bazı çim bakım makinelerinden farklı özellikleri olduğu için, makineyi sürme pratiği yapın.
İleri ve geri gitme ile makineyi çalıştırma ve durdurma pratiği yapın. Makineyi durdurmak için ayağınızı hareket pedalından çekin ve BOş konuma dönmesini bekleyin.
Note: Makine ile yokuş aşağı giderken durmak için geri hareket pedalını kullanmanız gerekebilir.
Hızlı bir şekilde durmak için ayağınızı hareket pedalından çekin.
Kesim üniteleri kaldırılmış ve indirilmiş konumdayken engellerin etrafından sürüş pratiği yapın. Makineye veya kesim ünitelerine hasar vermemek için dar nesneler arasında sürüş yaparken dikkatli olun.
Hareket pedalı, makinenin ileri ve geri hızını kontrol eder ve boşa aldığınızda dinamik frenlemeyi kontrol eder.
Bu makine otomotiv tarzı bir gaz ayar mekanizması ile donatılmıştır; motor devri ve makine hızı pedal hareketine tepki verir.
Taşıma sırasında hareket pedalı bir arabanınkine benzer şekilde çalışır ve hareket pedalı konumuna bağlı olarak motor devrini ve hareket hızını değiştirebilir.
Çim biçme sırasında makine otomatik olarak yüksek rölantiye geçerek çim biçme performansını optimize eder ve hareket pedalı yalnızca hareket hızını kontrol eder.
Pedala ileriye veya geriye doğru ne kadar çok basarsanız makine o kadar hızlı hareket eder.
Makineyi taşıma veya çim biçme işlemleri sırasında yavaş bir şekilde durdurmak için, ayağınızı kullanarak hareket pedalını dilediğiniz hızda boş konuma döndürün.
Maksimum frenlemeyi etkinleştirmek için ayağınızı hareket pedalından çekin ve boş konuma dönmesini bekleyin. Makine, dinamik olarak duracak şekilde fren yapar.
Bu hareket sistemi, operatör konforu ve saha koşullarına göre ivme ayarlarını özelleştirmenize olanak tanır. Ayarları değiştirmek için bkz. İvme Modunun Açıklaması.

Sanal pedal durdurma (VPS) özelliği, hem çim biçme hem de taşıma aralığı için geçici maksimum hareket hızı sınırları ayarlamanıza olanak tanır.
Bu özelliğe erişmek ana menüsüden (Şekil 29) Bilgi Merkezi yukarı veya aşağı gezinme düğmesini seçin.
Maksimum hareket hızını konfor seviyenize veya yaptığınız uygulamaya uyacak şekilde ayarlamak için VPS'yi kullanın.
VPS hız sınırını, süpervizör korumalı maksimum hareket hızının üzerinde olacak şekilde ayarlayamazsınız.
VPS geçici bir ayardır. Anahtar OFF (kapalı) konumuna getirildiğinde, bu özellik süpervizörün hız ayarlarına geri döner.
Hareket hızı süpervizör tarafından korumalı menü ayarlarında veya sizin tarafınızdan VPS aracılığıyla değiştirildiğinde, hareket pedalı otomatik olarak boş ile yeni maksimum hız ayarı arasındaki tam pedal strokunun kullanılacağı şekilde yeniden programlanır.
Maksimum hareket hızı ayarlarının düşürülmesi, çekiş sistemini hassas bir şekilde kontrol etmenizi sağlar.

VPS'yi kullanırken, aşağıdaki görevler için maksimum hızı geçici olarak düşürün:
Fairway'de temizlik amaçlı çim biçme işlemi yaparken.
Makineyi bakım atölyesi içinde veya yakınında çalıştırırken.
Makineyi bir römorka yüklerken.
Note: Daha düşük bir maksimum hız, bu görevleri yerine getirirken daha iyi kontrol sağlar.
Hız sabitleyici anahtarı, istenen yürüyüş hızının korunması için hız sabitleyiciyi kilitler. Anahtarın arka tarafına bastığınızda hız sabitleyici kapatılır, anahtar orta konumdayken hız sabitleyici etkinleştirilir ve anahtarın ön tarafı da istenen yürüyüş hızını belirler.
Hız sabitleyici etkinleştirildikten ve hız ayarlandıktan (Şekil 30) sonra sabitleyicinin hız ayarını yapmak için Bilgi Merkezini kullanın (Şekil 30 ve Şekil 31).
Hız sabitleyiciyi devre dışı bırakmak için aşağıdaki talimatları izleyin:
Taşıma aralığındayken, geri hareket pedalına basın, park frenini etkinleştirin veya hız sabitleme düğmesini OFF (Kapalı) konumuna getirin.
Çim biçme aralığındayken, geri hareket pedalına basın, park frenini etkinleştirin, PTO'yu devreden çıkarın veya hız sabitleyici düğmesini OFF (Kapalı) konumuna getirin.
Note: Hız sabitleyicinin devre dışı bırakılması, makinenin dinamik olarak duracak şekilde fren yapması sonucunu doğurur. Sürüş sırasında hız sabitleyiciyi devreden çıkarmak isterseniz, hız sabitleyiciden manuel hız kontrolüne yumuşak bir geçiş için hareket pedalına basın.

Çok fazla engel bulunmayan uzun mesafeler için bir sabit hız belirleyin.
Zorlu arazilerde hızı kontrol etmek için Bilgi Merkezini kullanın.
Etrafta dönme için hız sabitleyiciyi şu şekilde kullanın:
Çim biçme işlemi sırasında, biçme geçişlerinin sonunda geri dönmek için güvenli ve rahat bir hız ayarı belirleyin.
Çim biçme geçişi sırasında çim biçme hızını yükseltmek için hareket pedalına basın.
Sonraki çim biçme geçişi için dönüş yaparken ayağınızı pedaldan çekin.
Makine düşük hız sabitleyici ayarına inecek şekilde yavaşlar, böylece sabit bir hızda verimli şekilde etrafta dönüş gerçekleştirebilirsiniz.
Dönüş manevrası tamamlandıktan sonra, bir sonraki biçme geçişi için makine hızını artırmak üzere hareket pedalını kullanın.
Bu özellik, hareket pedalı NEUTRAL (Boş) konumunda değilken makinenin hareket hızının ne kadar çabuk değiştireceğini belirler.
Note: Makine hareket halindeyken ayağınızı hareket pedalından çekip NEUTRAL (Boş) konumuna dönmesine izin verirseniz, frenleme profili devreye girer. Frenleme profili her zaman aynıdır ve ivme modu özelliği ile kişiselleştirilemez.
İvme modunu değiştirmek için Bilgi Merkezinde korumalı menülere girin. İvme modu, aşağıdaki 3 konuma sahiptir:
Düşük—Minimum sertlikte hızlanma ve yavaşlama
Orta (varsayılan)—Orta derecede hızlanma ve yavaşlama
Yüksek—Maksimum sertlikte hızlanma ve yavaşlama
Karşı ağırlık sistemi, kesim ünitesi kaldırma silindirlerindeki hidrolik karşı basıncı korur. Karşı ağırlık sistemi, hareket basıncını gerçek zamanlı olarak izler; hareket özellikleri ve kesim sonrası görünümü optimize etmek için kaldırma silindiri karşı basıncını dinamik olarak değiştirir. Karşı ağırlık basıncı, çoğu çimen koşullarında optimum kesim sonrası görünüm ve hareket özelliklerini sağlayacak şekilde fabrikada ayarlanmıştır. Karşı ağırlık ayarını düşürmek daha dengeli bir kesim ünitesi sağlarken hareket özelliklerini düşürebilir. Karşı ağırlık ayarını yükseltmek makinenin hareket kapasitesini artırmasına karşılık kesim sonrası görünümün kalitesini düşürebilir; bkz. Karşı Ağırlık Ayarının Değiştirilmesi.
Özelleştirilebilir karşı ağırlık ayarı kontrolleri aşağıdaki şekildedir:
Düşük—Kesim ünitelerine en yüksek miktarda ağırlık uygulanırken tahrik tekerleklerine en düşük ağırlık uygulanır
Orta—Kesim ünitelerine ve tahrik tekerleklerine orta düzeyde ağırlık uygulanır
Yüksek—Kesim ünitelerine en düşük miktarda ağırlık uygulanırken makine tahrik tekerleklerine en yüksek ağırlık uygulanır
Kesme ünitesinin karşı ağırlık (yukarı kaldırma) miktarını geçerli çim biçme koşullarınıza uyacak şekilde değiştirebilirsiniz.
Makineyi düz bir zemine park edin, kesim ünitelerini indirin, kontaktaki anahtarı OFF (Kapalı) konuma getirin ve park frenini etkinleştirin.
Kontaktaki anahtarı RUN (Çalıştır) konumuna getirin.
Bilgi Merkezi Ayarlar Menüsü’nü aşağıya kaydırarak Counterbalance (Karşı Ağırlık) bölümüne gidin.
Karşı ağırlığı seçmek ve düşük, orta ve yüksek ayarlar arasında geçiş yapmak için sağ düğmeye basın.
Note: Ayarlamayı tamamladıktan sonra, makineyi bir test alanına götürün ve yeni ayarla çalıştırın. Yeni karşı ağırlık ayarı geçerli kesme yüksekliğini değiştirebilir.
Smart Power sayesinde operatörün yüksek yük koşullarındayken motor devrini dinlemesine gerek kalmaz. Smart Power, motorun yüksek kesim koşullarında durmasını engellemek için makine hızını otomatik olarak kontrol eder ve kesim performansını optimize eder.
Note: Smart Power özelliği varsayılan olarak AçıK konumdadır.
Important: Motoru ilk kez çalıştırıyorsanız, yakıtın bitmesi nedeniyle motor durduysa veya yakıt sisteminde bakım yaptıysanız, motor çalıştırılmadan önce yakıt sistemi otomatik olarak içindeki havayı boşaltır.
Koltuğa oturun, ayağınızı hareket pedalından çekerek NEUTRAL (Boş) konumuna getirin, park frenini çekin ve PTO şalterinin DISENGAGED (Devre Dışı) konumunda olduğundan emin olun.
Kontaktaki anahtarı RUN (Çalıştır) konumuna getirin.
Buji göstergesi sönünce kontaktaki anahtarı MARş konumuna getirin. Motor çalışınca anahtarı hemen bırakın ve ÇALışMA konumuna gelmesini sağlayın.
Motoru ısınana kadar düşük rölanti devrinde çalıştırın.
Tüm kontrolleri NEUTRAL (Boş) konumuna getirin, park frenini etkinleştirin ve motorun düşük rölanti devrine ulaşmasını bekleyin.
Important: Tam yükle çalışmadan sonra motoru kapatmadan önce 5 dakika rölantide bırakın. Bunun yapılmaması motor parçalarına zarar verebilir.
Anahtarlı şalterde KAPALı konumuna getirip anahtarı çıkarın.
Motoru çalıştırın, freni devreden çıkarın, PTO şalterini devreden çıkarın ve kesim ünitelerini kaldırın.
Hareket pedalını arabadaki gaz pedalı gibi kullanarak makineyi çim biçme alanına sürün.
PTO şalterini ENGAGE (Etkinleştir) konumuna çekin.
Makineyi sürmeye başlayın ve kesim ünitelerini yalnızca tüm kesim üniteleri çim biçme alanının üzerinde iken indirin.
Alandaki çimi biçmeye başlayın.
Bir biçme işlemini tamamladığınızda, çim biçme alanından ayrılmadan önce kesim ünitelerini kaldırmak için indirme kontrol kolunu geriye doğru ittirin.
Sonraki geçişiniz için hızla hazırlanmak üzere gözyaşı şeklinde bir dönüş gerçekleştirin.
Çim biçme alanında tüm kesim ünitelerini otomatik olarak indirmek ve biçmeye devam etmek için indirme kontrol kolunu bastırın.
Dizel partikül filtresi (DPF) motor egzozundaki kurumu temizler.
DPF rejenerasyon işleminde, motor egzozundan gelen ısı bir katalizör vasıtasıyla artırılarak kurum küle dönüştürülür.
DPF'yi temiz tutmak için aşağıdakileri unutmayın:
DPF'nin kendi kendini temizlemesini desteklemek için motoru mümkün olduğunca tam motor devrinde çalıştırın.
Doğru motor yağını kullanın.
Motoru rölantide çalıştırdığınız süreyi en aza indirin.
Sadece ultra düşük kükürt içerikli dizel yakıt kullanın.
Makinenizi, DPF işlevini dikkate alarak çalıştırın ve bakımlarını yapın. Motor yük altındayken genellikle DPF rejenerasyonu için yeterli düzeyde bir egzoz sıcaklığı üretir.
Important: DPF'de daha az kurum birikmesi için, motoru rölantide çalıştırdığınız süreyi en aza indirin veya motoru düşük devirde çalıştırın.
DPF rejenerasyonu sırasında egzoz gazı sıcaklığı çok yüksektir (yaklaşık 600°C). Sıcak egzoz gazı size veya başkalarına zarar verebilir.
Motoru kapalı bir alanda çalıştırmayın.
Egzoz sisteminin etrafında yanıcı madde bulunmadığından emin olun.
Sıcak egzoz gazının ısıdan zarar görebilecek yüzeylere temas etmediğinden emin olun.
Sıcak bir egzoz sistemi bileşenine dokunmayın.
Makinenin egzoz borusunun yakınında veya çevresinde durmayın.
| Simge | Simge Açıklaması |
![]() | • Park halinde veya geri kazanım amaçlı rejenerasyon simgesi - Rejenerasyon talep edildi. |
| • Rejenerasyonu hemen gerçekleştirin. | |
![]() | • Rejenerasyon onaylanmış ve talep işleniyor. |
![]() | • Rejenerasyon işlemi devam ediyor ve egzoz sıcaklığı yüksek. |
![]() | • NOx kontrol sistemi arızası; makine servis istiyor. |
| Rejenerasyon Türü | DPF rejenerasyonuna yol açan koşullar | DPF çalışma tanımı |
|---|---|---|
| Pasif | Makinenin yüksek motor devri veya yüksek motor yüküyle normal çalışması sırasında meydana gelir | • Bilgi Merkezi, pasif rejenerasyonu belirten bir simge göstermez. |
| • Pasif rejenerasyon sırasında, DPF yüksek ısılı egzoz gazlarını işler, zararlı emisyonları oksitler ve kurumu yakarak küle dönüştürür. | ||
| Destek | Düşük motor devri veya düşük motor yükü nedeniyle ya da bilgisayar DPF'nin kurumla tıkanmaya başladığını tespit ettikten sonra meydana gelir | • Bilgi Merkezi, destek rejenerasyonunu belirten bir simge göstermez. |
| • Destek rejenerasyonu sırasında motor bilgisayarı motor ayarlarını egzoz sıcaklığı yükseltilecek biçimde ayarlar. | ||
| Sıfırla | 100 saatte bir gerçekleşir | • Bilgi Merkezinde yüksek egzoz sıcaklığı
simgesi gösterilmişse,
devam eden bir rejenerasyon var demektir. |
| Ayrıca, normal motor çalışması sırasında filtre içinde birikmesine izin verilen kurum miktarı aşılırsa da meydana gelir | ||
| • Sıfırlama rejenerasyonu sırasında motor bilgisayarı, filtrenin rejenerasyonunu sağlamak için motoru yüksek devirde tutar. |
| Rejenerasyon Türü | DPF rejenerasyonuna yol açan koşullar | DPF çalışma tanımı |
|---|---|---|
| Park halinde | Bilgisayarın otomatik DPF temizliğini yeterli bulmaması halinde meydana gelir. | • Sıfırlama-bekleme/park
halinde veya geri kazanım amaçlı rejenerasyon
simgesi veya
bir rejenerasyon talep edildiğinde. |
| Ayrıca bir park halinde rejenerasyon işlemi başlatmanız halinde de meydana gelir | ||
| Rejenerasyonu önle komutu devreye sokulduğu ve bu da otomatik DPF temizliğinin gerçekleşmesini engellediği için görülebilir | • Geri kazanım amaçlı rejenerasyon ihtiyacı ortaya çıkmasını önlemek için en kısa sürede park halinde rejenerasyon gerçekleştirin. | |
| Hatalı yakıt veya motor yağı kullanılmasından kaynaklanabilir | • Park halinde rejenerasyonun tamamlanması 30 ila 60 dakika sürer. | |
| • Yakıt deposunun en az 1/4'ü dolu olmalıdır. | ||
| • Park halinde rejenerasyon gerçekleştirmek için makineyi park etmeniz gerekir. | ||
| Geri Kazanım | DPF'nin kritik şekilde tıkanmasına izin verecek şekilde, park halinde geri kazanım talebinin göz ardı edilmesi nedeniyle meydana gelir | • Sıfırlama-bekleme/park halinde
veya geri kazanım amaçlı rejenerasyon simgesi , bir geri kazanım
rejenerasyonu talep edildiğinde. |
| • Geri kazanım amaçlı rejenerasyonun tamamlanması 3 saate kadar sürer. | ||
| • Makinenin yakıt deposunun en az 1/2'si dolu olmalıdır. | ||
| • Geri kazanım amaçlı rejenerasyon gerçekleştirmek için makineyi park etmeniz gerekir. |
MAIN MENU (Ana Menü)'de SERVICE (Servis) bölümüne gidin ve seçme düğmesine basın.
SERVICE (Servis) bölümünde DPF REGENERATION (DPF Rejenerasyonu) seçeneğine kaydırın ve seçme düğmesine basın.
İhtiyacınız olan rejenerasyon fonksiyonunu seçin.

DPF REGENERATION (DPF Rejenerasyonu) menüsüne girin ve LAST REGEN (Son Rejenerasyon) seçeneğine kaydırın.
LAST REGEN (Son Rejenerasyon) girişini seçin.
Son sıfırlama rejenerasyonundan, park halinde rejenerasyondan veya geri kazanım amaçlı rejenerasyondan itibaren motoru kaç saat çalıştırdığınızı hesaplamak için SON REJENERASYON alanını kullanın.
DPF REGENERATION (DPF rejenerasyonu) ekranına dönmek için geri düğmesini seçin.

Sıfırlama rejenerasyonu yüksek miktarda motor egzoz gazı üretir. Makineyi ağaçların, çalıların,uzun otların veya sıcaklığa hassas başka bitki veya malzemelerin çevresinde çalıştırıyorsanız, motor bilgisayarının bir sıfırlama rejenerasyonu yapmasını önlemek için INHIBIT REGEN (Rejenerasyonu Önle) ayarını kullanabilirsiniz.
Note: Makine üzerinde kapalı bir alanda bakım yapılırken mutlaka INHIBIT REGEN (Rejenerasyonu Önle) seçeneği kullanılır.
Note: Bilgi Merkezini rejenerasyonun önleneceği biçimde ayarlarsanız, motor bir sıfırlama rejenerasyonu yapılmasını talep ederken Bilgi Merkezinde 15 dakikada bir bir uyarı gösterilir.
Important: Motoru kapatıp tekrar çalıştırdığınızda, rejenerasyonu önle ayarı tekrar KAPALı seçeneğine sıfırlanır.
DPF REGENERATION (DPF Rejenerasyonu) menüsüne girin ve INHIBIT REGEN (Rejenerasyonu Önle) seçeneğine gidin.
INHIBIT REGEN (Rejenerasyonu Önle) girişini seçin.
Rejenerasyon önleme ayarını OFF (Kapalı) durumundan ON (Açık) durumuna getirin.
Makinenin yakıt deposunda, gerçekleştirmek istediğiniz rejenerasyon türüne uygun miktarda yakıt olduğundan emin olun:
Park Halinde Rejenerasyon: Park halinde rejenerasyon gerçekleştirmeden önce yakıt deposunun 1/4'ünün dolu olduğunu kontrol edin.
Geri Kazanım Amaçlı Rejenerasyon: Geri kazanım amaçlı rejenerasyon gerçekleştirmeden önce yakıt deposunun 1/2'sinin dolu olduğunu kontrol edin.
Makineyi yanıcı maddelerden veya ısıdan zarar görebilecek eşyalardan uzak bir alana taşıyın.
Makineyi düz bir zemine park edin, tüm kumandaları NEUTRAL (BOŞ) konumuna getirin, PTO'yu devreden çıkarın ve kesim ünitelerini indirin.
Park frenini çekin ve motorun düşük rölanti devrine ulaşmasını bekleyin.
Motor bilgisayarı tarafından bir park rejenerasyonu talep edildiğinde, Bilgi Merkezindeki mesajları izleyin.
Important: Motor devrini düşük rölantiden yükseğe getirir veya park frenini serbest bırakırsanız bilgisayar DPF rejenerasyonunu iptal eder.
DPF REGENERATION (DPF Rejenerasyonu) menüsüne girin ve PARKED REGEN (Park Halinde Rejenerasyon) veya RECOVERY REGEN (Geri Kazanım Amaçlı Rejenerasyon) seçeneğine gidin.
PARKED REGEN (Park Halinde Rejenerasyon) girişini veya RECOVERY REGEN (Geri Kazanım Amaçlı Rejenerasyon) girişini seçin.
Note: Bir geri kazanım amaçlı rejenerasyon başlatmak için doğru PIN kodunu girmeniz gerekir.
REGEN PARAMETERS (Rejenerasyon Parametreleri) ekranına bakarak, park halinde rejenerasyon gerçekleştiriyorsanız 1/4 depo yakıtınız veya geri kazanım amaçlı rejenerasyon gerçekleştiriyorsanız 1/2 depo yakıtınız olduğunu doğrulayın. Park freninin etkin olduğunu ve motor devrinin düşük rölantiye ayarlandığını doğrulayın. Devam etmek için seçme düğmesine basın.
INITIATE DPF REGEN (DPF Rejenerasyonu Başlat) ekranında, devam etmek için sonraki düğmeyi seçin.
Bilgi Merkezi ekranında INITIATE DPF REGEN (DPF Rejenerasyonu Başlatılıyor) mesajı gösterilir.
Note: Gerekirse, rejenerasyon işlemini iptal etmek için iptal simgesine basın.
Bilgi Merkezi, tamamlanma süresi mesajını gösterir.
Bilgi Merkezinde ana ekran görüntülenir
ve rejenerasyon onayı simgesi belirir
.
Note: DPF rejenerasyonu devam ederken Bilgi Merkezi ekranında
yüksek egzoz gazı sıcaklığı
simgesi
gösterilir.
Motor bilgisayarı bir park halinde veya geri kazanım amaçlı rejenerasyonu tamamladığında, Bilgi Merkezinde bir uyarı gösterilir. Ana ekrana çıkmak için herhangi bir düğmeye basın.
Note: Rejenerasyon işlemi tamamlanamazsa, tavsiyeleri izleyin ve ana ekrana çıkmak için herhangi bir düğmeye basın.
Devam eden bir park halinde veya geri kazanım amaçlı rejenerasyon işlemini iptal etmek için PARKED REGEN CANCEL (Park Halinde Rejenerasyonu İptal Et) veya RECOVERY REGEN CANCEL (Geri Kazanım Amaçlı Rejenerasyonu İptal Et) ayarını kullanın.
DPF REGENERATION (DPF Rejenerasyonu) menüsüne girin ve PARKED REGEN (Park Halinde Rejenerasyon) veya RECOVERY REGEN (Geri Kazanım Amaçlı Rejenerasyon) seçeneğine kaydırın.
Bir Park Halinde Rejenerasyon veya Geri Kazanım Amaçlı Rejenerasyon işlemini iptal etmek için seçme düğmesine basın.

Çimin tekrar tekrar aynı yönde biçilmesinden kaynaklanan kötü görünümü en aza indirmek için çim biçme desenlerini sık sık değiştirin. Bu, düzensiz bir görünüm ortaya çıkmasını engellemek için en etkili yoldur.
www.Toro.com adresinde yer alan Kesim Sonrası Görünüm Sorun Giderme Kılavuzuna başvurun.
Profesyonel bir düz kesim ve bazı uygulamalarda arzu edilen mükemmel çizgileri elde etmek için uzakta bir ağaç veya nesne bulun ve düz bir şekilde ona doğru sürün.
Kesim üniteleri için cıvatalı malçlama deflektörleri bulunur. Malçlama deflektörü, düzenli olarak bakım yapılan alanlarda kesim başına 25 mm'den fazlasını almamak konusunda başarılıdır. Malçlama deflektörü takılıyken büyüyen çimleri çok fazla kestiğinizde kesim sonrası görünüm bozulur ve alanda çim biçmek için gereken güç miktarı yükselir. Malçlama deflektörü aynı zamanda sonbaharda dökülen yaprakları kırkma konusunda da başarılıdır.
Kesme işlemi sırasında çim sapının en fazla yaklaşık 25 mm veya 1/3’ünü alın. Aşırı gür ve yoğun çimde, kesme yüksekliği ayarınızı arttırmanız gerekebilir.
Kör bıçakların aksine, keskin bir bıçak çim saplarını temiz bir şekilde; koparmadan veya parçalamadan keser. Koparma ve parçalama, çimin kenarlarında kahverengileşmeye yol açar. Bu ise çimin büyümesini yavaşlatır ve hastalıklara maruz kalma riskini artırır. Bıçağın iyi durumda olduğundan ve kanatlarının tam olduğundan emin olun; bkz. Bıçağın Kontrolü ve Bilenmesi.
Kesim haznelerinin iyi durumda olduğundan emin olun. Bıçak ucunun/hazne açıklığının doğru olduğundan emin olmak için bıçak haznelerindeki eğiklikleri düzeltin. Çim biçilen alana hasar vermemek veya kesim sonrasında kötü bir görünümle karşılaşmamak için hiçbir rulmanda ve döner mafsalda oynama olmadığından emin olun.
Çim biçtikten sonra, kirlenmeyi engellemek ve aşırı su basıncının conta ve yataklara hasar vermemesi için makineyi başlık kullanmadan bir bahçe hortumuyla iyice yıkayın. Radyatörde ve yağ soğutucuda kir veya çim kırpıntıları bulunmadığından emin olun. Temizlikten sonra makineyi olası hidrolik sıvısı sızıntılarına, hasarlara veya hidrolik ve mekanik bileşen aşınmalarına karşı gözden geçirin ve kesim ünitelerinin keskinliğini kontrol edin.
Operatör konumundan ayrılmadan önce makinenin motorunu kapatın, anahtarını çıkarın ve hareketin tamamen durmasını bekleyin. Ayarlama, bakım, temizleme veya saklama öncesinde makinenin soğumasına izin verin.
Yangınları önlemek adına kesim üniteleri, tahrik sistemleri, susturucular, soğutma ekranları ve motor bölmesinde çimen veya kir birikintisi olmadığından emin olun. Dökülen yağ veya yakıtı temizleyin.
Kesim üniteleri taşıma konumundaysa, başından ayrılmadan önce makineyi (varsa) pozitif mekanik kilit ile kilitleyin.
Makineyi herhangi bir kapalı mekanda depolamadan önce motorun soğumasını bekleyin.
Makineyi depoya kaldırmadan veya başka bir araçla taşımadan önce anahtarı çıkarın ve yakıt akışını (varsa) kesin.
Makineyi veya yakıt kabını asla bir su ısıtıcısı veya diğer cihazlarda bulunan tipte açık alev, kıvılcım veya tutuşturma alevlerinin bulunduğu yerlerde depolamayın.
Emniyet kemerlerini koruyun ve gerektiğinde temizleyin
Makineyi depoya kaldırmadan veya başka bir araçla taşımadan önce anahtarı çıkarın ve (varsa) yakıt akışını kesin.
Makineyi bir römork veya kamyona yüklerken ya da römorktan veya kamyondan indirirken dikkatli olun.
Makineyi bir römork veya kamyona yüklerken tam genişlikte rampalar kullanın.
Makineyi sıkıca bağlayın.
Acil bir durumda, değişken hacimli hidrolik pompadaki baypas valfini çalıştırıp makineyi iterek veya çekerek makineyi ileriye hareket ettirebilirsiniz.
Important: Makineyi 3 ila 4,8 km/s’den daha hızlı itmeyin veya çekmeyin. Daha yüksek bir hızda iter veya çekerseniz, şanzıman iç mekanizmasında hasar oluşabilir.Makineyi iterken veya çekerken baypas valfleri açık olmalı ve fren serbest bırakılmalıdır.
Koltuk kaidesinin mandalını açın ve koltuğu eğerek açık duruma getirin.
Koltuğun altında, hidrostatın (Şekil 37) üstündeki baypas valfini bulun.

Yağın dahili olarak baypas edilmesini sağlamak için valfleri 3 tur gevşetin.
Note: Sıvı baypas yaptığı için, makine şanzımana zarar vermeden yavaşça hareket ettirilebilir.
Ön sağ lastiğin yanında, hidrolik deposunun arkasındaki fren bırakma manifoldunu bulun (Şekil 38).

Bir cırcır anahtarın veya benzer bir nesnenin uzun ucunu içeri sokun, manifold üzerindeki siyah düğmeyi tutun ve manifoldu 3 kez pompalayın. Pompalama sırasında önemli bir direnç oluştuğunda fren serbest kalır.
Important: Pompalama hareketi zorlaştığında manifoldu pompalamayı bırakın. Manifoldun aşırı pompalanması hasara neden olabilir.
Note: Manifoldda basınç oluştuğunda, fren yaklaşık 60 dakika boyunca serbest kalacaktır. 60 dakika sonra gerekirse manifoldu pompalayarak freni tekrar serbest bırakın.
Makineyi itin veya çekin.
Siyah düğmeyi dışarı doğru çekerek veya motoru çalıştırarak freni ayarlayın.
Note: Motoru çalıştırdığınızda fren otomatik olarak tekrar ayarlanır ve siyah düğmeyi dışarı çekmeniz gerekmez.
Baypas valflerini kapatın. Valfleri 11 N∙m torkla sıkın.
Important: Makineyi çalıştırmaya başlamadan önce baypas valflerinin kapalı olduğundan emin olun. Motorun açık bir baypas valfi ile çalıştırılması şanzımanın aşırı ısınmasına neden olur.
Note: Makinenin sağ ve sol taraflarını, normal çalışma konumuna göre belirleyin.
Operatör konumundan ayrılmadan önce şunları yapın:
Makineyi düz bir zemine park edin.
Kuyruk milini devreden çıkarın ve ek parçaları indirin.
Park frenini etkinleştirin.
Motoru kapatın ve anahtarı çıkarın.
Tüm hareketlerin durmasını bekleyin.
Göz koruyucu, uzun pantolon ve kaymaz ayakkabı gibi uygun kişisel koruyucu donanımları giyin. Elleri, ayakları, kıyafetleri, takıları ve uzun saçı hareketli parçalardan uzak tutun.
Eğer anahtarı kontakta unutursanız, birisi yanlışlıkla motoru başlatabilir ve sizi ve çevrenizdekileri ciddi şekilde yaralayabilir. Bakım yapmadan önce anahtarı kontaktan çıkarın.
Bakım yapmadan önce makine bileşenlerinin soğumasını bekleyin.
Kesim üniteleri taşıma konumundaysa, başından ayrılmadan önce makineyi pozitif mekanik kilitle (varsa) kilitleyin.
Mümkünse, motor çalışırken bakım yapmayın. Hareketli parçalardan uzak durun.
Motoru, sadece iyi havalandırılan alanlarda çalıştırın. Egzoz gazları, solunduğunda ölümcül bir gaz olan karbon monoksit içerir.
Makinenin altında çalışırken makineyi krikolarla destekleyin.
Enerji depolanmış bileşenlerdeki basıncı dikkatle boşaltın.
Makinenin tüm parçalarını sorunsuz çalışır ve başta bıçak ek parça donanımları olmak üzere tüm donanımların vida ve somunlarını sıkılı durumda tutun.
Aşınmış veya hasar görmüş etiketleri yenileriyle değiştirin.
Makinenin güvenli biçimde optimum performans göstermesi için yalnızca orijinal Toro yedek parçalarını kullanın. Başka üreticilerin ürettiği yedek parçalar tehlike yaratabilir ve bunların kullanılması ürün garantisini geçersiz kılabilir.
| Bakım Servisi Aralıkları | Bakım Prosedürü |
|---|---|
| İlk saatten sonra |
|
| İlk 10 saatten sonra |
|
| Her kullanımdan önce veya günlük |
|
| Her 50 saatte |
|
| Her 100 saatte |
|
| Her 200 saatte |
|
| Her 250 saatte |
|
| Her 400 saatte |
|
| Her 800 saatte |
|
| Her 1000 saatte |
|
| Her 2000 saatte |
|
| Her 3000 saatte |
|
| Depolamadan önce |
|
| Her 2 yılda |
|
Important: Makinede bakım yapıyorsanız ve motoru bir motor egzoz gazı boşaltma kanalıyla kullanıyorsanız, Rejenerasyonu Engelle ayarını AÇIK konumuna getirin; bkz. Rejenerasyon Önlemenin Ayarlanması.
Düzenli kullanım için bu sayfanın kopyasını alın.
| Bakım Kontrol Ögesi | Hafta: | ||||||
|---|---|---|---|---|---|---|---|
| Pzt. | Sal. | Çar. | Per. | Cum. | Cts. | Paz. | |
| Emniyet kilidinin çalışıp çalışmadığını kontrol edin. | |||||||
| Frenin çalışıp çalışmadığını kontrol edin. | |||||||
| Motor yağ ve yakıt seviyesini kontrol edin. | |||||||
| Su/yakıt ayırıcısını boşaltın. | |||||||
| Hava-filtre-kısıtlama göstergesini kontrol edin. | |||||||
| Radyatör ve elekte döküntü olup olmadığını kontrol edin. | |||||||
| Motorda olağan dışı ses olup olmadığını kontrol edin.1 | |||||||
| Çalışırken olağan dışı ses olup olmadığını kontrol edin. | |||||||
| Hidrolik sistem sıvısı seviyesini kontrol edin. | |||||||
| Hava filtre göstergesini kontrol edin. 2 | |||||||
| Hidrolik hortumlarını hasara karşı kontrol edin. | |||||||
| Sıvı sızıntısı olup olmadığını kontrol edin. | |||||||
| Lastik hava basıncını kontrol edin. | |||||||
| Göstergenin çalışıp çalışmadığını kontrol edin. | |||||||
| Yükseklik ayarını kontrol edin | |||||||
| Bıçakların durumunu kontrol edin | |||||||
| Yağlama için tüm gresörlükleri kontrol edin 3 | |||||||
| Boya hasarlarını düzeltin. | |||||||
|
1. Çalıştırmada güçlük, aşırı duman veya çalışırken titreşim varsa kızdırma bujisi ve enjektör memelerini kontrol edin. 2. Motor çalışırken ve yağ çalışma sıcaklığındayken kontrol edin 3. Her yıkamadan hemen sonra, belirtilen aralığa bakılmaksızın |
|||||||
| Kontrolü yapan: | ||
| Öge | Tarih | Bilgi |
| 1 | ||
| 2 | ||
| 3 | ||
| 4 | ||
| 5 | ||
| 6 | ||
| 7 | ||
| 8 | ||
Note: www.Toro.com adresine gidip ana sayfadaki Kılavuzlar bağlantısına tıklayarak elektrik veya hidrolik şemasının ücretsiz bir kopyasını indirebilirsiniz.
| Bakım Servisi Aralıkları | Bakım Prosedürü |
|---|---|
| Her kullanımdan önce veya günlük |
|
Makineyi düz bir zemine park edin.
Park frenini etkinleştirin.
PTO’yu devre dışı bırakın.
Biçme gövdesi indirme/kaldırma kontrolünü MOW (Çim Biçme) konumuna getirin.
Motoru kapatın ve anahtarı çıkarın.
Tüm hareketlerin durmasını bekleyin.
Motorun soğumasını bekleyin.
Koltuğu biraz döndürün ve kasa tutma çubuğunu koltuk desteği yuvasının oluğundan çıkarın.
Koltuğu, yerine sıkıca kilitlenene kadar dikkatle indirin.
Note: Makinenin altında çalışırken makineyi krikolarla destekleyin.
Makineyi kaldırma noktası olarak şuraları kullanın:

Ön—Ön aks borusunun kriko braketleri (Şekil 40).
Arka—Arka aks borusu.
| Bakım Servisi Aralıkları | Bakım Prosedürü |
|---|---|
| Her 50 saatte |
|
Makineyi normal kullanım koşullarında kullanıyorsanız, tüm yatak ve burçları 2 numara lityum gres kullanarak belirtilen bakım aralığında yağlayın. Yatakları ve burçları, belirtilen aralığa bakmaksızın, her yıkamadan hemen sonra yağlayın.
Gresörlük konumları ve miktarları aşağıdaki gibidir:
Pompa tahrik mili U bağlantısı (3)—Şekil 41

Kesim ünitesi kaldırma kolu silindirleri (2’şer adet)—Şekil 42

Kaldırma kolu pivotları (1’er adet)—Şekil 42
Kesim ünitesi taşıyıcı şasi pivotu (1’er adet)—Şekil 43

Kaldırma kolu pivot şaftı (1’er adet)—Şekil 44

Aks direksiyon mili (1)—Şekil 45

Direksiyon silindiri bilyeli mafsalları (2) ve arka aks (1)—Şekil 46

Kesim ünitesi mili yatakları (kesim ünitesi başına 2)—Şekil 47
Note: Bu iki bağlantı parçasından hangisine daha kolay erişebiliyorsanız onu kullanabilirsiniz. Bağlantı parçasına, az bir miktarı mil gövdesinin alt kısmında (kesim ünitesinin altında) görünene kadar gres pompalayın.

Arka rulman yatakları (kesim ünitesi başına 2 adet)—Şekil 48

Note: Her bir rulman yatağındaki gres oluğunun, rulman milinin her iki ucundaki gres deliği ile aynı hizada olduğundan emin olun. Oluk ve deliğin hizalanmasına yardımcı olmak için, rulman milinin 1 ucunda da bir hizalama işareti bulunur.
Yağı kontrol etmeden veya kartere yağ eklemeden önce motoru kapatın ve anahtarı çıkartın.
Regülatör hızını değiştirmeyin veya motoru yüksek devirde çalıştırmayın.
| Bakım Servisi Aralıkları | Bakım Prosedürü |
|---|---|
| Her 400 saatte |
|
Tüm emme sistemini sızıntı, hasar veya gevşek hortum kelepçelerine karşı kontrol edin. Hasarlı hava filtrelerini kullanmayın.
Hava temizleyicisi filtresine sadece servis göstergesi yandığında bakım yapın. Hava filtresinin gerektiğinden önce değiştirilmesi, filtre çıkarıldığında motora kir girme olasılığını arttırmakta başka bir işe yaramaz.
Important: Kapağın doğru şekilde oturduğundan, hava filtresi gövdesiyle sıkıca kenetlendiğinden ve lastik çıkış valfinin aşağıya dönük (uçtan bakıldığında saat 5 ila saat 7 bir pozisyonda) olduğundan emin olun.


Yetkili Toro distribütörünüzde, 15W-40 veya 10W-30 viskozite sınıfı Toro Premium Motor Yağı bulabilirsiniz.
Aşağıdaki özellikleri karşılayan veya bunları aşan, yüksek kaliteli, düşük küllü bir motor yağı kullanın:
API servis kategorisi CJ-4 veya üzeri
ACEA servis kategorisi E6
JASO servis kategorisi DH-2
Important: API CJ-4 veya üzeri, ACEA E6 ya da JASO DH-2 dışında motor yağı kullanılması dizel partikül filtresinin tıkanmasına veya motor hasarına yol açabilir.
Aşağıdaki viskozite sınıfından bir motor yağı kullanın:
Tercih edilen yağ: SAE 15W-40 (0°F'den yüksek)
Alternatif yağ: SAE 10W-30 veya 5W-30 (tüm sıcaklıklar)
| Bakım Servisi Aralıkları | Bakım Prosedürü |
|---|---|
| Her kullanımdan önce veya günlük |
|
Ürün, motor karterinde bir miktar yağ ile teslim edilir; ancak, motorun ilk çalıştırılmasından önce ve sonra yağ seviyesi kontrol edilmelidir.
Important: Motor yağı seviyesini her gün kontrol edin. Motor yağı seviyesi seviye çubuğundaki Tam işaretinin üzerindeyse motor yağı yakıtla seyrelmiş olabilir.Motor yağı seviyesi Tam işaretinin üzerindeyse motor yağını kontrol edin.
Motor yağını kontrol etmek için en uygun zaman, motor gün içinde ilk kez kullanılmadan öncesidir. Motoru çalıştırdıysanız, motor yağı seviyesini kontrol etmeden önce, yağın kartere geri akması için en az 10 dakika bekleyin. Yağ seviyesi yağ çubuğundaki Ekle (Add) işaretinde veya altındaysa, yağ seviyesi Tam (Full) işaretine gelene kadar yağ ekleyin. Motora aşırı yağ doldurmayın.
Important: Motor yağı seviyesini, yağ seviyesi çubuğundaki yüksek ve düşük sınırları arasında tutun; çok fazla veya çok az yağ bulunması motorun arızalanmasına yol açabilir.
Makineyi düz bir zemine park edin.
Motor yağı seviyesini kontrol edin (Şekil 50).


Note: Farklı bir yağ kullanacağınız zaman, yeni yağı eklemeden önce karterdeki eski yağı tamamen boşaltın.
Filtreyle birlikte yaklaşık 5,2 litre
| Bakım Servisi Aralıkları | Bakım Prosedürü |
|---|---|
| Her 250 saatte |
|
Motoru çalıştırın ve yağın ısınması için 5 dakika çalışmaya bırakın.
Makine düz bir zemine park edilmiş olarak motoru kapatın, anahtarı çıkarın ve makinenin başından ayrılmadan önce tüm hareketli parçaların durmasını bekleyin.
Motor yağı ve filtresini değiştirin (Şekil 51).


Kartere yağ ekleyin.
Bu Kullanım Kılavuzu, yakıt ve yakıt bakımıyla ilgili genel amaçlı bir referans olan Yanmar® motor Kullanım Kılavuzundan daha ayrıntılı yakıt ve yakıt sistemi bakım bilgileri içerir.
Arıza sürelerinden ve kapsamlı motor onarımlarından kaçınmak için yakıt sistemi bakımı, yakıt depolama ve yakıt kalitesine dikkat etmeniz gerektiğini asla unutmamalısınız.
Emisyon ve kontrol gereklilikleri nedeniyle, yakıt sistemi son derece dar toleranslar aralıklarına tabidir. Dizel motorlarda kullanılan günümüzün Yüksek Basınçlı Common Rail (HPCR) yakıt enjeksiyon sisteminin uzun ömürlü olması için dizel yakıt kalitesi ve temizliği daha önemlidir.
Important: Yakıt sistemindeki su veya hava motorunuza zarar verir! Her yeni yakıtın temiz olduğunu varsaymayın. Yakıtınızın kaliteli bir tedarikçiden alındığından emin olun, yakıtınızı doğru şekilde depolayın ve yakıtı aldıktan sonraki 180 gün içinde tüketin.
Important: Yakıt filtresinin değiştirilmesi, yakıt sistemi bakımı ve yakıt depolama prosedürlerine uymazsanız, motor yakıt sistemi zamanından önce arızalanabilir. Tüm yakıt sistemine belirtilen aralıklarla bakım uygulayın; ayrıca yakıtın kirlendiği veya yakıt kalitesinin düşük olduğu durumlarda da bakım yapın.
Yakıtın uygun şekilde depolanması motorunuz için kritik önem taşır. Yakıt depolama tankları söz konusu olduğunda uygun bakım prosedürleri genellikle göz ardı edilir ve bu da makineye kirli yakıt verilmesine yol açar.
Sadece 180 gün içinde tüketeceğiniz kadar yakıt alın. 180 günden uzun süredir depoda duran yakıtları kullanmayın. Bu, yakıtta su ve diğer kirleticiler bulunma olasılığını büyük ölçüde düşürür.
Depolama tankında veya makinenin yakıt deposunda su bulunması, depolama tankında ve yakıt sistemi bileşenlerinde paslanmaya veya kirlenmeye yol açabilir. Küf, bakteri veya mantardan oluşan depo çamuru, akışı kısıtlar ve filtre ile yakıt enjektörlerini tıkar.
Depodaki yakıt kalitesini izlemek için yakıt depolama tankınızı ve makine yakıt tankını düzenli olarak inceleyin.
Yakıtınızın kaliteli bir tedarikçiden geldiğinden emin olun.
Depolama tankınızda veya makine yakıt deposunda su veya kirletici maddeler bulursanız, sorunu gidermek için yakıt sağlayıcınızla koordine olun ve yakıt sistemini komple bakımdan geçirin.
Dizel yakıtı çinko kaplamalı bileşenlerden yapılmış tanklarda veya bidonlarda depolamayın.

| Bakım Servisi Aralıkları | Bakım Prosedürü |
|---|---|
| Her kullanımdan önce veya günlük |
|
Şekil 53 şeklinde gösterildiği gibi yakıt/su ayırıcıdan suyu boşaltın.

Filtre ve hatları, yüksek basınç pompasına alıştırın; bkz. Yakıt Sisteminin Çalışmaya Hazırlanması.
| Bakım Servisi Aralıkları | Bakım Prosedürü |
|---|---|
| Her 400 saatte |
|
Filtreyi Şekil 54 ile gösterildiği şekilde değiştirin.

Filtre ve hatları, yüksek basınç pompasına alıştırın; bkz. Yakıt Sisteminin Çalışmaya Hazırlanması.
| Bakım Servisi Aralıkları | Bakım Prosedürü |
|---|---|
| Her 400 saatte |
|
Yakıt filtresi kapağının (Şekil 55) etrafını temizleyin.

Filtreyi çıkarın ve filtre kapağı montaj yüzeyini temizleyin (Şekil 55).
Note: Temiz bir bez kullanarak filtre kapağını temizleyin.
Filtre contasını temiz motor yağıyla yağlayın; detaylı bilgi için motorun kullanma kılavuzuna bakın.
Kuru filtre kabını, conta ile filtre kapağı temas edene kadar elinizle takın, ardından 1/2 tur daha döndürün.
Filtre ve hatları, yüksek basınç pompasına alıştırın; bkz. Yakıt Sisteminin Çalışmaya Hazırlanması.
Motoru çalıştırın ve tekrar filtre kapağının etrafında sızıntı olup olmadığını kontrol edin.
| Bakım Servisi Aralıkları | Bakım Prosedürü |
|---|---|
| Her 800 saatte |
|
| Depolamadan önce |
|
Belirtilen bakım aralığına ek olarak, yakıt sistemi kirlenirse veya makineyi uzun süre saklıyorsanız da depoyu boşaltın ve temizleyin. Depoyu temizlemek için temiz yakıt kullanın.
Filtre ve hatları, yüksek basınç pompasına alıştırın; bkz. Yakıt Sisteminin Çalışmaya Hazırlanması.
| Bakım Servisi Aralıkları | Bakım Prosedürü |
|---|---|
| Her 400 saatte |
|
Yakıt hatlarında bozulma, hasar veya gevşek bağlantı olup olmadığını kontrol edin.
Bozulmuş kelepçeleri veya hortumları değiştirin.
Note: Herhangi bir yakıt borusunu değiştirirseniz, yakıt sistemini tekrar çalışmaya hazır hale getirmek için alıştırın; bkz. Yakıt Sisteminin Çalışmaya Hazırlanması.
| Bakım Servisi Aralıkları | Bakım Prosedürü |
|---|---|
| Her 3000 saatte |
|
Dizel oksitleme katalizörünün ve DPF kurum filtresinin sökülmesi ve takılması hakkında bilgi almak için Servis Kılavuzunun Motor bölümüne bakın.
Dizel oksitleme katalizörü ve kurum filtresinin yedek parçaları veya bakım işleri konusunda yetkili Toro distribütörünüzle iletişime geçin.
Temiz bir DPF taktıktan sonra motor ECU ünitesini sıfırlamak için yetkili Toro distribütörünüzle iletişim kurun.
Aşağıdaki senaryolardan sonra yakıt sistemini hazırlayın:
Yakıt filtresinin değiştirilmesi.
Her kullanımdan sonra veya günlük olarak su separatörünün boşaltılması.
Yakıtın bitmesi.
Bir yakıt hortumunun değiştirilmesi veya herhangi bir nedenle yakıt sisteminin içinin açılması.
Yakıt sistemini çalışmaya hazırlamak için aşağıdaki adımları gerçekleştirin:
Important: Yakıt sistemini hazırlamak amacıyla motoru krankla çalıştırmak için marş motorunu kullanmayın.
Yakıt deposunda yakıt olduğunu kontrol edin.
Pompanın aşınmasını veya hasar görmesini önlemek amacıyla filtre ve hatları yüksek basınç pompasına alıştırmak için aşağıdaki adımları uygulayın:
Anahtarı 15 - 20 saniyeliğine AçıK konumuna getirin.
Anahtarı 30 - 40 saniyeliğine KAPALı konumuna getirin.
Note: Bu yapıldığında ECU ünitesinin gücü kesilir.
Anahtarı 15 - 20 saniyeliğine AçıK konumuna getirin.
Filtre ve hortumların çevresinde sızıntı kontrolü yapın.
Motoru çalıştırın ve sızıntı olup olmadığını kontrol edin.
Makineyi tamir etmeden önce akünün bağlantısını kesin. İlk önce negatif kutbun, son olarak da pozitif kutbun bağlantısını kesin. İlk önce pozitif kutbu, son olarak da negatif kutbu bağlayın.
Aküyü, kıvılcım ve alevlerden uzak, iyi havalandırılan, açık bir ortamda şarj edin. Aküyü bağlamadan veya bağlantısını ayırmadan önce şarj cihazının fişini çekin. Koruyucu kıyafet giyin ve yalıtımlı aletler kullanın.
| Bakım Servisi Aralıkları | Bakım Prosedürü |
|---|---|
| Her 50 saatte |
|
Aküye bakım yapmak için şu işlemleri gerçekleştirin:
Akünün durumunu kontrol edin
Aküyü temizleyin (gerekirse)
Note: Aküyü temizlemek için kutunun tamamını karbonatlı suyla yıkayın. Temiz suyla durulayın.
Akünün kablo bağlantılarını kontrol edinve korozyonu önlemek için akü bağlantı uçları ile kablo konnektörlerini Grafo 112X (yüzey) gresiyle veya petrol jelatiniyle kaplayın.
Important: Makinede kaynak yapmadan önce, elektrik sistemine zarar vermemek için negatif kabloları aküden çıkarın. Ayrıca, makinede kaynak yapmadan önce motor, Bilgi Merkezi ve makine denetleyicilerin bağlantılarını kesmeniz gerekir.
Sigorta bloku (Şekil 57), koltuğun altında yer alır. Her bir sigortanın açıklaması için bkz. Şekil 59.
Koltuk kaidesinin mandalını açın, koltuk kaidesini eğerek açık duruma getirin ve tutma çubuklarıyla destekleyin.

Açık sigortayı aynı tip ve amper değerine sahip yenisiyle değiştirin.

Koltuğu ve koltuk kaidesini döndürerek kapatın ve kaidenin mandallarını kapatın.


Akü şarj edilirken patlayıcı gazlar açığa çıkar.
Akünün yakınında sigara içmeyin ve kıvılcım ve alevlerin aküye yaklaşmasına izin vermeyin.
Important: Aküyü daima dolu tutun. Bu, özellikle sıcaklık 0°C’nin altına düştüğünde akünün zarar görmesini önlemek açısından önemlidir.
Akü kutusunun dışını ve akü kutup başlarını temizleyin.
Note: Şarj cihazını elektrik kaynağına bağlamadan önce, akü şarj cihazının uçlarını akü kutuplarına bağlayın.
Aküye bakın ve pozitif ve negatif akü kutuplarını belirleyin.
Akü şarj cihazının pozitif kablosunu akünün pozitif kutbuna (Şekil 60) bağlayın.

Şarj cihazının negatif kablosunu akünün negatif kutbuna (Şekil 60) bağlayın.
Akü şarj cihazını elektrik kaynağına bağlayın ve aküyü şarj edin.
Important: Aküyü aşırı şarj etmeyin.
Akü tamamen şarj olduğunda, şarj cihazını elektrik kaynağından çıkarın ve ardından da şarj cihazının kablolarını akü kutuplarından çıkarın (Şekil 60).
| Bakım Servisi Aralıkları | Bakım Prosedürü |
|---|---|
| İlk saatten sonra |
|
| İlk 10 saatten sonra |
|
| Her 250 saatte |
|
Ön aks kovanı somunlarını 407 ila 542 N·m torkla sıkın.
Makinenizde CrossTrax® özelliği varsa, arka aks kovanı somunlarını 366 ila 447 N·m torkla sıkın.

| Bakım Servisi Aralıkları | Bakım Prosedürü |
|---|---|
| Her 800 saatte |
|
Direksiyon simidini arka tekerlekler düz ileri bakacak şekilde döndürün.
Bağlantı çubuğunun (Şekil 62) her iki ucundaki sıkıştırma somunu gevşetin.
Note: Bağlantı çubuğunun dıştan oluklu ucu soldan dişlidir.

Cıvata anahtarı yuvasını kullanarak bağlantı çubuğunu döndürün.
Arka tekerleklerin önü ile arkasındaki mesafeyi aks yüksekliğinden ölçün.
Note: Arka tekerleklerin ön kısmındaki mesafe, tekerleklerin arka kısmında ölçülen mesafeden 6 mm daha az olmalıdır.
İşlemi gerektiği gibi tekrarlayın.
Motor soğutma sıvısının yutulması zehirlenmeye neden olabilir; çocuklardan ve evcil hayvanlardan uzak tutun.
Sıcak ve basınçlı soğutma sıvısının dışarı akması veya sıcak bir radyatöre ve çevresindeki parçalara dokunulması ciddi yanıklara neden olabilir.
Radyatör kapağını çıkarmadan önce mutlaka en az 15 dakika motorun soğumasını bekleyin.
Radyatör kapağını açarken bir bez kullanın ve buharın çıkmasına izin vermek için kapağı yavaşça açın.
Kapaklar yerinde değilken makineyi çalıştırmayın.
Parmaklarınızı, ellerinizi ve giysilerinizi dönen fan ve tahrik kayışından uzak tutun.
Soğutma sıvısı haznesi fabrikada 50/50 oranında su ve etilen glikol bazlı uzun ömürlü soğutma sıvısıyla doldurulur.
Important: Sadece, Uzun Ömürlü Soğutma Sıvısı Standartları tablosunda belirtilen özellikleri karşılayan, piyasada satılan soğutma sıvıları kullanın.Makinenizde konvansiyonel (yeşil) inorganik asit teknolojili (IAT) soğutma sıvısı kullanmayın. Konvansiyonel soğutma sıvısını uzun ömürlü soğutma sıvısıyla karıştırmayın.
|
Etilen Glikol Soğutma Sıvısı Tipi |
Korozyon Önleyici Tip |
|
Uzun ömürlü antifriz |
Organik asit teknolojisi (OAT) |
|
Important: Konvansiyonel (yeşil) inorganik asit teknolojili (IAT) soğutma sıvısı ile uzun ömürlü soğutma sıvısı arasındaki farkı belirlemek için soğutma sıvısının rengini referans almayın.Soğutma sıvısı üreticileri, uzun ömürlü soğutma sıvılarını kırmızı, pembe, turuncu, sarı, mavi, camgöbeği, mor ve yeşil renge boyayabilmektedirler. Uzun Ömürlü Soğutma Sıvısı Standartları tablosunda belirtilen özellikleri karşılayan soğutma sıvıları kullanın. |
|
|
ATSM International |
SAE International |
|
D3306 ve D4985 |
J1034, J814 ve 1941 |
Important: Soğutma sıvısı konsantrasyonu, 50/50 oranında bir su/soğutma sıvısı karışımı olmalıdır.
Tercih Edilen: Bir konsantrattan soğutma sıvısı karıştıracağınız zaman bunu damıtılmış suyla karıştırın.
Tercih Edilen Seçenek: Damıtılmış su yoksa, konsantrat yerine bir ön karışım soğutma sıvısı kullanın.
Asgari Gereklilik: Damıtılmış su ve ön karışım soğutma sıvısı yoksa, konsantre soğutma sıvısını içilebilir temiz suyla karıştırın.
| Bakım Servisi Aralıkları | Bakım Prosedürü |
|---|---|
| Her kullanımdan önce veya günlük |
|
Soğutma sistemi, %50 su %50 etilen glikol çözeltili kalıcı antifrizden oluşan bir karışımla doldurulur. Soğutma sisteminin kapasitesi 9,5 l’dir.
Genleşme kabındaki (Şekil 63) soğutma sıvısı seviyesini kontrol edin.
Note: Soğutucu seviyesi, kabın yan tarafındaki işaretlerin arasında olmalıdır.

Soğutma suyu seviyesi düşükse, genleşme kabının kapağını çıkarın ve sisteme takviye yapın. Aşırı doldurmayın.
Genleşme kabının kapağını takın.
| Bakım Servisi Aralıkları | Bakım Prosedürü |
|---|---|
| Her kullanımdan önce veya günlük |
|
| Her 100 saatte |
|
| Her 2 yılda |
|
Elekteki ve radyatördeki/yağ soğutucudaki kalıntıları her gün giderin (kirli çalışma koşullarında daha sık temizlik yapın).
Kontak yuvasındaki anahtarı KAPALı konumuna getirip anahtarı çıkarın.
Motor alanındaki tüm kalıntıları iyice temizleyin.
Kelepçenin mandalını açın ve arka eleği döndürerek açın (Şekil 64).

Radyatör ve yağ soğutucunun (Şekil 65) her iki tarafını da basınçlı havayla iyice temizleyin.

Eleği kapatın ve mandalı sabitleyin.
| Bakım Servisi Aralıkları | Bakım Prosedürü |
|---|---|
| İlk 10 saatten sonra |
|
| Her 100 saatte |
|
Note: Kayışın doğru gerdirilmesi için, kayışa tam kasnakların ortasından 44 N kuvvet uygulanınca 10 mm'lik bir bükülme oluşmasına imkan tanıyın.
Bükülme 10 mm değilse alternatör montaj cıvatalarını gevşetin (Şekil 66).

Alternatör-kayış gerginliğini artırın veya azaltın ve cıvataları sıkın.
Gerginliğin doğru olduğunu teyit etmek için kayış bükülmesini tekrar kontrol edin.
Hidrolik sıvısı cildinize nüfuz ederse derhal tıbbi yardım alın. Nüfuz eden hidrolik sıvısı bir doktor tarafından birkaç saat içinde çıkarılmalıdır.
Hidrolik sistemine basınç uygulamadan önce tüm hidrolik sıvısı hortumlarının ve hatlarının iyi durumda, hidrolik bağlantıları ile bağlantı parçalarının ise yeterince sıkı olduğundan emin olun.
Vücudunuzu ve ellerinizi, yüksek basınçlı hidrolik sıvısı çıkaran pim deliklerinden veya nozullardan uzak tutun.
Sızan hidrolik sıvılarını temizlemek için bir karton veya kağıt kullanın.
Hidrolik sisteminde herhangi bir iş yapmaya başlamadan önce sistemdeki tüm basıncı emniyetli bir şekilde boşaltın.
Hazne, fabrikada yüksek kaliteli hidrolik sıvısıyla doldurulur. Her gün motoru çalıştırmadan önce ve sonra hidrolik sıvısının seviyesini kontrol edin; bkz. Hidrolik Sıvısı Seviyesinin Kontrol Edilmesi.
Önerilen hidrolik sıvı: Toro PX Uzun Ömürlü Hidrolik Sıvısı; 19 litre kova veya 208 litre bidon seçenekleri mevcuttur.
Note: Önerilen yedek sıvıyı kullanan makineler daha az sıvı ve filtre değişimi gerektirir.
Alternatif hidrolik sıvıları: Toro PX Uzun Ömürlü Hidrolik Sıvısı mevcut değilse, aşağıdaki tüm malzeme özellikleri için belirtilen aralıkta yer alan ve endüstri standartlarını karşılayan özelliklere sahip başka bir geleneksel, petrol bazlı hidrolik sıvısı kullanabilirsiniz. Sentetik sıvılar kullanmayın. Uygun ürünü belirlemek için yağlama maddesi distribütörünüze danışın.
Note: Toro, uygun olmayan muadil ürünler kullanılması sonucu ortaya çıkabilecek hasarlarla ilgili hiçbir sorumluluk kabul etmez. Bu nedenle ürünler sadece tavsiyelerinin arkasında durabilecek güvenilir üreticilerin ürünlerini kullanın.
| Malzeme Özellikleri: | ||
| Viskozite, ASTM D445 | 40°C’de 44 ila 48 santistok (cSt) | |
| Viskozite Endeksi ASTM D2270 | 140 veya daha yüksek | |
| Akma Noktası, ASTM D97 | -37°C ila -45°C arası | |
| Endüstri Özellikleri: | Eaton Vickers 694 (I-286-S, M-2950-S/35VQ25 veya M-2952-S) | |
Note: Hidrolik sıvılarının büyük bir kısmı renksiz olduğundan, olası sızıntıları tespit edebilmek zordur. Hidrolik sıvıları için, 20 ml şişeler halinde satılan bir kırmızı boya katkısı vardır. 15 ila 22 litre hidrolik sıvısı için bir şişe yeterli olacaktır. Yetkili Toro distribütörünüze 44-2500 parça numarasıyla sipariş edebilirsiniz.
Important: Toro Premium Sentetik Biyobozunur Hidrolik Sıvısı, Toro tarafından onaylanan tek sentetik biyobozunur sıvıdır. Bu sıvı, Toro hidrolik sistemlerinde kullanılan elastomerlerle uyumludur ve çok çeşitli sıcaklıklar için uygundur. Bu sıvı geleneksel mineral yağlarla uyumludur, ancak maksimum biyobozunurluk ve performans için hidrolik sistemi geleneksel sıvıdan olabildiğince arındırılmalıdır. Bu yağ, 19 litre kova veya 208 litre bidon seçenekleri ile yetkili Toro distribütörünüzde bulunabilir.
| Bakım Servisi Aralıkları | Bakım Prosedürü |
|---|---|
| Her kullanımdan önce veya günlük |
|
| Her 200 saatte |
|
Makineyi düz bir zemine götürün, biçme gövdelerini indirin ve kontaktaki anahtarı KAPALı konuma getirin.
Hidrolik sıvısı seviyesini (Şekil 67) kontrol edin.


| Bakım Servisi Aralıkları | Bakım Prosedürü |
|---|---|
| Her 800 saatte |
|
| Her 2000 saatte |
|
| Her 2 yılda |
|
Hidrolik Sıvı Kapasitesi: 56,7 l
Sıvı kirlenirse, sistemin yıkanması gerekeceğinden Toro Distribütörünüze başvurun. Kirlenmiş bir sıvı temiz bir yağa kıyasla sütümsü bir dokuda veya siyah renkte olur.
Kontaktaki anahtarı KAPALı konumuna getirip kaputu kaldırın.
Hidrolik sıvısı deposunun (Şekil 68) alt kısmına monte bağlantı parçasının altına büyük bir tahliye kabı yerleştirin.

Hortumu bağlantı parçasının altından ayırın ve hidrolik sıvının tahliye kabına akmasına izin verin.
Hidrolik sıvısı tamamen boşaldıktan sonra hortumu takın.
Depoyu hidrolik sıvısıyla (Şekil 67) doldurun.
Important: Yalnızca belirtilen hidrolik sıvılarını kullanın. Diğer sıvılar sistemde hasara neden olabilir.
Depo kapağını takın.
Kontaktaki anahtarı AçıK konuma getirin, motoru çalıştırın, tüm hidrolik kontrollerini kullanarak hidrolik sıvısının sisteme yayılmasını sağlayın ve sızıntı olup olmadığını kontrol edin.
Kontaktaki anahtarı KAPALı konuma getirin.
Hidrolik sıvısının seviyesini kontrol edin ve seviye çubuğundaki Dolu işaretine ulaşana kadar takviye edin.
Important: Aşırı doldurmayın.
| Bakım Servisi Aralıkları | Bakım Prosedürü |
|---|---|
| Her 800 saatte |
|
| Her 1000 saatte |
|
Hidrolik sistemde bir bakım aralığı göstergesi (Şekil 69) bulunur. Motor çalışırken, göstergeye bakın; yeşil bölgede olmalıdır. Gösterge kırmızı bölgede ise hidrolik filtrelerini değiştirin.

Important: Başka filtrelerin kullanılması, bazı bileşenlerin garantisini geçersiz kılabilir.
Makineyi düz bir zemine götürün, biçme gövdelerini indirin, kontaktaki anahtarı KAPALı konuma getirin ve park frenini etkinleştirin ve anahtarı çıkarın.
Her iki hidrolik filtresini birden (Şekil 70) değiştirin.


Kontaktaki anahtarı AçıK konuma getirin, motoru çalıştırın ve sistemdeki havanın boşalması için yaklaşık 2 dakika çalışır halde bekletin.
Kontaktaki anahtarı KAPALı konuma getirip sızıntı kontrolü yapın.
| Bakım Servisi Aralıkları | Bakım Prosedürü |
|---|---|
| Her kullanımdan önce veya günlük |
|
| Her 2 yılda |
|
Çalışmaya başlamadan önce gerekli tüm onarımları yapın.
Aniden boşalan basınçlı hidrolik sıvısı cilde nüfuz edebilir ve yaralanmaya yol açabilir.
Hidrolik sıvısı cildinize nüfuz ederse derhal tıbbi yardım alın.
Hidrolik sistemine basınç uygulamadan önce tüm hidrolik sıvısı hortumlarının ve hatlarının iyi durumda, hidrolik bağlantıları ile bağlantı parçalarının ise yeterince sıkı olduğundan emin olun.
Vücudunuzu ve ellerinizi, yüksek basınçlı hidrolik sıvısı çıkaran pim deliklerinden veya nozullardan uzak tutun.
Sızan hidrolik sıvılarını temizlemek için bir karton veya kağıt kullanın.
Hidrolik sisteminde herhangi bir iş yapmaya başlamadan önce sistemdeki tüm basıncı emniyetli bir şekilde boşaltın.
Hidrolik devrelerdeki basıncı test etmek için hidrolik sistem test portlarını kullanın. Yardım için yetkili Toro distribütörünüze başvurun.
Hidrolik manifoldundaki solenoidlerin farklı işlevlerini tanımak ve açıklamak için aşağıdaki listeyi kullanın. İlgili işlevin gerçekleşebilmesi için her bir solenoide enerji verilmelidir.
| Solenoid | İşlev |
|---|---|
| PRV2 | Ön çim biçme makinesi devresi |
| PRV1 | Arka çim biçme makinesi devresi |
| PRV | Biçme gövdelerini kaldırma/indirme |
| S1 | Biçme gövdelerini indirme |
| S2 | Biçme gövdelerini indirme |
Makineyi düz bir zemine götürün, biçme gövdelerini yere indirin, kontaktaki anahtarı KAPALı konuma getirin ve park frenini etkinleştirin.
Hidrolik motorun bağlantısını kesin ve kesim ünitesinden ayırın (Şekil 71). Kirlenmeyi önlemek için milin üstünü örtün.

Gövde taşıyıcı şasisini kaldırma kolu döner pimine (Şekil 72) sabitleyen dingil pimini çıkarın.

Kesim ünitesini yuvarlayarak çekiş ünitesinden uzaklaştırın.
Makineyi düz bir zemine götürün ve kontaktaki anahtarı KAPALı konuma getirin.
Kesim ünitesini, çekiş ünitesinin önüne gelecek şekilde konumlandırın.
Gövde taşıyıcı şasisini kaldırma kolu döner piminin üzerine gelecek şekilde kaydırın ve dingil pimi (Şekil 72) ile sabitleyin.
Hidrolik motoru gövdeye (Şekil 71) monte edin. O halkanın yerinde olduğundan ve hasar görmediğinden emin olun.
Mili gresleyin.
Ön silindirde aşınma, aşırı yalpalama veya yapışma olup olmadığını kontrol edin. Bunlardan herhangi biri mevcutsa silindiri veya bileşenlere bakım uygulayın veya bunları değiştirin.
Silindir montaj cıvatasını çıkarın (Şekil 73).
Silindir muhafazasının ucundan bir delgeç sokun ve iç yatak yuvasının karşı tarafına hafifçe vurarak karşı taraftaki yatağı dışarı çıkarın. İç yatak yuvasının 1,5 mm’lik bir kısmı açığa çıkmalıdır.

İkinci yatağı bastırarak dışarı doğru itin.
Silindir muhafazasında, yataklarda ve yatak ara parçasında hasar (Şekil 73) olup olmadığını kontrol edin. Hasarlı bileşenleri değiştirin ve monte edin.
Birinci yatağı silindir muhafazasına (Şekil 73) doğru bastırın. Sadece dış yatağa veya eşit olarak iç ve dış yatağa baskı uygulayın.
Ara parçayı takın (Şekil 73).
İkinci yatağı silindir muhafazasına (Şekil 73) doğru bastırın. İç yatak ara parçaya temas edene kadar iç ve dış yatağa eşit olarak baskı uygulayın.
Silindir tertibatını kesim ünitesi şasisine monte edin.
Silindir tertibatı ile kesim ünitesi şasisinin silindir montaj braketleri arasında en fazla 1,5 mm boşluk olduğunda emin olun. Boşluk 1,5 mm’den fazla ise uygun mesafeyi elde edecek sayıda ⅝ inç çaplı rondela takın.
Important: Silindir tertibatının 1,5 mm’den büyük bir boşlukla sabitlenmesi yatak üzerinde yan yük oluşturur ve yatağın erken arızalanmasına neden olabilir
Montaj cıvatasını 108 N∙m torkla sıkın.
Bıçağı, aşınma veya hasara karşı düzenli aralıklarla kontrol edin.
Bıçakları kontrol ederken dikkatli olun. Bıçaklara bakım uygularken bıçakları sarın veya eldiven giyin ve dikkatli olun. Bıçakları yalnızca değiştirin veya bileyin; bıçakları asla düzleştirmeyin veya kaynak yapmayın.
Çok bıçaklı makinelerde, bir bıçağın dönmesi diğer bıçakların da dönmesine neden olabileceğinden dikkatli olun.
Döner gövde, fabrika çıkışı 5 cm kesme yüksekliği ve 7,9 mm bıçak aralığı ayarlarıyla gelir. Sol ve sağ yükseklikler de birbirinden ±0,7 mm farklı olacak şekilde önceden ayarlanmıştır.
Biçme gövdesi, haznede deformasyon olmadan bıçak darbelerine dayanacak şekilde tasarlanmıştır. Katı bir cisme çarpılırsa, bıçakta hasar ve bıçak hattında bozulma olup olmadığını kontrol edin.
Hidrolik motoru biçme gövdesinden ve biçme gövdesini de traktörden çıkarın.
Bir vinç kullanarak (veya en az 2 kişi çalışarak) kesme hattını düz bir masanın üzerine yerleştirin.
Bıçağın 1 ucunu bir boya kalemi veya markörle işaretleyin. Tüm yükseklikleri kontrol etmek için bıçağın bu ucunu kullanın.
Bıçağın işaretli ucunun kesici kenarını saat 12 yönünde (doğrudan biçme yönünde) konumlandırın (Şekil 74) ve masadan bıçağın kesici kenarına kadar olan yüksekliği ölçün.

Bıçağın işaretli ucunu saat 3 ve 9 yönlerine döndürün (Şekil 74) ve yükseklikleri ölçün.
Saat 12 yönünde ölçülen yüksekliği kesme yüksekliği ayarıyla karşılaştırın. Bu değer 0,7 mm aralığında olmalıdır. Saat 3 ve 9 yükseklikleri saat 12 ayarından 1,6 ila 6,0 mm daha yüksek olmalı ve aralarında da 1,6 ila 6,0 mm fark bulunmalıdır.
Note: Bu ölçümlerden herhangi biri spesifikasyon dahilinde değilse, Bıçak Hattının Ayarlanması adımına geçin.
Ön ayar ile başlayın (her seferinde 1 braketi değiştirin).
Kesme yüksekliği braketini (ön, sol veya sağ) gövde şasisinden (Şekil 75) çıkarın.
İstenilen yükseklik ayarını (Şekil 75) elde etmek için, gövde şasisi ile braket arasında 1,5 mm şim ve/veya 0,7 mm şim olacak şekilde ayarlayın.

Kesme yüksekliği braketini, kalan şimler kesme yüksekliği braketinin altına monte edilmiş olarak, gövde şasisine takın.
Soket başlı cıvatayı/ara parçasını ve flanş somununu sabitleyin.
Note: Ara parçanın gövde şasisinin içine düşmemesi için soket başlı cıvata/ara parçası diş kilitleme yapıştırıcısı ile birbirine tutturulur.
Saat 12'nin yüksekliğini doğrulayın ve gerekirse ayarlayın.
Kesme yüksekliği braketlerinden sadece 1’inin mi veya her ikisinin (sağ ve sol) birden mi ayarlanmasının gerektiğini belirleyin. Saat 3 veya 9 tarafı yeni ön yükseklikten 1,6 ila 6,0 mm daha yüksek ise o taraf için herhangi bir ayarlama gerekmez. Diğer tarafı, doğru tarafla arasında 1,6 ila 6,0 mm fark olacak şekilde ayarlayın.
1 ila 3 arası adımları tekrarlayarak sağ ve/veya sol kesme yüksekliği braketlerini ayarlayın.
Taşıyıcı cıvatalarını ve flanş somunlarını sabitleyin.
Bir kez daha, saat 12, 3 ve 9 yüksekliklerini doğrulayın.
Bıçağı; sert bir nesneye çarparsa, dengesizse veya eğrilmişse değiştirin. Güvenlik ve optimum performans için daima orijinal Toro yedek bıçakları kullanın.
Makineyi düz bir zemine park edin, kesim ünitesini taşıma konumuna kaldırın, park frenini etkinleştirin, motoru kapatın ve anahtarı çıkartın.
Note: Yanlışlıkla düşmesini önlemek için kesim ünitesini takozlayın veya kilitleyin.
Bıçağın ucunu bir bez veya kalın dolgulu eldiven kullanarak tutun.
Bıçak cıvatasını, yüzey koruyucu kapağı ve bıçağı, milden (Şekil 76) çıkarın.

Bıçağı, yüzey koruyucu kapağı ve bıçak cıvatasını takın ve bıçak cıvatasını 115 ila 149 N∙m torkla sıkın.
Important: Düzgün bir kesme işlemi için, bıçağın kavisli kısmı kesim ünitesinin içine doğru bakmalıdır.
Note: 7Yabancı bir cisme çarpmanız halinde, tüm silindir-kasnak somunlarını 115 ila 149 N∙m torkla sıkın.
Makineyi düz bir zemine park edin, biçme gövdelerini indirin, kontaktaki anahtarı KAPALı duruma getirin ve park frenini etkinleştirin.
Yanlışlıkla düşmesini önlemek için biçme gövdesini takozlayın.
Bıçağın kesici uçlarını; özellikle de bıçağın düz ve kavisli parçalarının buluştuğu noktaları (Şekil 77) dikkatlice inceleyin.
Note: Kum ve aşındırıcı maddeler bıçağın düz ve kavisli parçalarını bağlayan metali yıpratabileceğinden, makineyi kullanmadan önce bıçağı kontrol edin.
Aşınma tespit ederseniz (Şekil 77) bıçağı değiştirin; bkz. Bıçak Hattının Kontrolü.
Bıçağın aşınmasına izin verilirse, bıçağın kanat kısmıyla ve düz kısmı (Şekil 77) arasında bir yarık oluşacaktır. Bu ise bıçağın bir parçasının kırılıp mahfazanın altından dışarı fırlayarak sizi veya çevredekileri ciddi biçimde yaralamasına neden olabilir.
Bıçağı, aşınma veya hasara karşı düzenli aralıklarla kontrol edin.
Aşınmış veya hasarlı bıçakları mutlaka değiştirin.

Tüm bıçakların kesici kenarlarını kontrol edin. Körleşmiş veya çentikli hale gelmişlerse kesici kenarları bileyin. Kesici kenarın yalnızca üst kısmını bileyin ve keskin olduğundan emin olmak için orijinal kesme açısını koruyun (Şekil 78).
Körelmiş veya çentikli hale gelmiş ise orijinal kesme açısını koruyarak yalnızca üst kesici kenarı bileyin (Şekil 78).
Note: Her iki kesici kenardan aynı miktarda metal eksiltilirse bıçak dengeli kalacaktır.

Bıçağın düz ve paralel olduğundan emin olmak için bıçağı düz bir yüzeye koyun ve uç kısımlarını kontrol edin.
Note: Bıçağın uçlarını orta kısımdan biraz daha alta ve kesici kenarı da topuktan (yani kesici kenarın sapa en yakın kısmından) daha alta gelecek şekilde yerleştirin. Bu bıçak kaliteli bir kesim sağlar ve minimum motor gücü gerektirir. Buna karşılık uç kısımları orta kısmından daha yüksek veya kesici kenarı topuk kısmından daha yüksek olan bıçaklar ise eğrilir veya bükülür ve değiştirilmesi gerekir.

Bıçağı, kanat kısmı yüzey koruyucu kapak ve bıçak cıvatası ile birlikte biçme gövdesine bakacak şekilde takın. Bıçak cıvatasını 115 ila 149 N∙m torkla sıkın.
Operatör konumundan ayrılmadan önce makinenin motorunu kapatın, anahtarını çıkarın ve hareketin tamamen durmasını bekleyin. Ayarlama, bakım, temizleme veya saklama öncesinde makinenin soğumasına izin verin.
Makineyi veya yakıt kabını bir açık alev veya kıvılcımın bulunduğu yerlerde ve su ısıtıcılarda veya diğer cihazlarda bulunan tipte bir tutuşturma alevinin bulunduğu yerlerde depolamayın.
Important: Makineyi temizlemek için kuyu suyu veya geri dönüştürülmüş su kullanmayın.
Çekiş ünitesini, kesim ünitelerini ve motoru iyice temizleyin.
Lastik hava basıncını kontrol edin. Tüm çekiş ünitesi lastiklerini 83 ila 103 kPa (12 ila 15 psi) basınçla şişirin.
Tüm bağlantı elemanlarını gevşekliğe karşı kontrol edin ve gerekirse sıkın.
Tüm gresörlükleri ve döner noktaları yağlayın. Yağ artıklarını silerek temizleyin.
Boyalı alanlardaki çizik, pürüzlü veya paslı noktaları hafifçe zımparalayın ve boyasını rötuşlayın. Metal gövdede göçük varsa onarın.
Aküye ve kablolara aşağıdaki şekilde bakım uygulayın:
Akü kutup başlarını akü kutuplarından çıkarın.
Note: Her zaman ilk önce negatif kutbun, son olarak da pozitif kutbun bağlantısını kesin. Her zaman ilk önce pozitif kutbu, son olarak da negatif kutbu bağlayın.
Aküyü, bağlantı uçlarını ve kutupları bir tel fırça ve karbonat çözeltisi ile temizleyin.
Korozyonu önlemek için Kablo uçlarına ve akü kutuplarına Grafo 112X kaplama gresi (Parça No. 505-47) veya vazelin sürün.
Aküde kurşun sülfat oluşumunu önlemek için aküyü 60 günde bir 24 saat boyunca yavaşça şarj edin.
Motorun yağ haznesindeki yağı boşaltın ve tahliye tapasını geri takın.
Yağ filtresini çıkarın ve atın. Yeni yağ filtresini takın.
Yağ haznesini belirtilen miktarda motor yağı ile doldurun.
Kontaktaki anahtarı AçıK konuma getirin, motoru çalıştırın ve yaklaşık 2 dakika rölantide çalışır halde bekletin.
Kontaktaki anahtarı KAPALı konuma getirin.
Yakıt deposu, hatlar ve yakıt filtresi/su ayırıcı tertibatındaki yakıtı tamamen boşaltın.
Yakıt deposunu temiz, taze mazotla yıkayın.
Tüm yakıt sistemi bağlantılarını sabitleyin.
Hava filtresi tertibatını iyice temizleyin ve bakımını yapın.
Hava filtresi girişini ve egzoz çıkışını, hava koşullarına dayanıklı bir bantla kapatın.
Antifriz korumasını kontrol edin ve bölgenizde beklenen minimum sıcaklığa göre gerektiği kadar takviye edin.
Bir kesme ünitesi bir süreliğine çekiş ünitesinden ayrılacaksa, mili toz ve sudan korumak için milin üst kısmına bir mil tapası takın.