| Cadenza di manutenzione | Procedura di manutenzione |
|---|---|
| Prima di ogni utilizzo o quotidianamente |
|
Questo è un tosaerba dotato di postazione per l'operatore e lame rotanti, pensato per essere utilizzato da professionisti e operatori del verde in applicazioni commerciali. Il suo scopo principale è quello di tagliare l'erba di parchi, campi sportivi e aree verdi commerciali. L'utilizzo di questo prodotto per scopi non conformi alle funzioni per cui è stato concepito può essere pericoloso per voi e gli astanti.
Leggete attentamente il presente manuale al fine di utilizzare e mantenere correttamente il prodotto ed evitare infortuni e danni. Siete responsabili dell'utilizzo del prodotto in maniera corretta e sicura.
Visitate il sito www.Toro.com per ottenere materiali di formazione sulla sicurezza e il funzionamento dei prodotti, informazioni sugli accessori, assistenza nella localizzazione di un rivenditore o per registrare il vostro prodotto.
Per assistenza, ricambi originali Toro o ulteriori informazioni, rivolgetevi a un Distributore Toro autorizzato o ad un Centro Assistenza Toro ed abbiate sempre a portata di mano il numero del modello ed il numero di serie del prodotto. La Figura 1 indica la posizione del numero del modello e del numero di serie sul prodotto. Scrivete i numeri negli spazi previsti.
Important: Con il vostro dispositivo mobile, potete scansionare il codice QR sull'adesivo del numero di serie (se in dotazione) per accedere a informazioni su garanzia, ricambi e altre informazioni sui prodotti.

Il simbolo di avviso di sicurezza (Figura 2) che compare sia in questo manuale sia sulla macchina richiama la vostra attenzione su importanti messaggi di sicurezza di cui dovrete seguire le indicazioni per evitare incidenti.

Il simbolo di avvertimento compare sopra l'informazione che vi avverte di azioni o situazioni non sicure ed è seguito dalla parola PERICOLO, AVVERTENZA o ATTENZIONE.
PERICOLO indica una situazione di pericolo imminente che, se non evitata, determina la morte o gravi infortuni.
AVVERTENZA indica una situazione di pericolo potenziale che, se non evitata, potrebbe determinare la morte o gravi infortuni.
ATTENZIONE indica una situazione di pericolo potenziale che, se non evitata, potrebbe determinare la morte o lievi infortuni.
Per evidenziare le informazioni vengono utilizzate anche altre due parole. Importante: indica informazioni meccaniche di particolare importanza; Nota evidenzia informazioni generali di particolare rilevanza.
Questo prodotto è conforme a tutte le direttive europee pertinenti. Per informazioni dettagliate, consultate la Dichiarazione di Conformità (DICO) specifica del prodotto, fornita a parte.
Costituisce una trasgressione al Codice delle Risorse Pubbliche della California, Sezione 4442 o 4443, utilizzare o azionare questo motore su terreno forestale, sottobosco o prateria a meno che non sia dotato di parascintille, come definito nella Sezione 4442, mantenuto in efficace stato di funzionamento, o a meno che il motore sia realizzato, attrezzato o mantenuto per la prevenzione di incendi.
Il manuale d'uso del motore allegato fornisce informazioni sull'Environmental Protection Agency (EPA) degli Stati Uniti e sul regolamento del Controllo delle Emissioni dello stato della California riguardante sistemi di emissione, manutenzione e garanzia. I ricambi possono essere ordinati tramite il produttore del motore.
Questo prodotto è conforme a tutte le direttive europee pertinenti. Per informazioni dettagliate vedere la Dichiarazione di Conformità (DICO) specifica del prodotto, fornita a parte.
Se questa macchina è dotata di un dispositivo telematico, fate riferimento al vostro distributore Toro autorizzato per le istruzioni di attivazione del dispositivo.
CALIFORNIA
Avvertenza norma "Proposition 65"
I gas di scarico dei motori Diesel e alcuni dei loro elementi costitutivi sono noti allo Stato della California come cancerogeni e responsabili di difetti congeniti ed altri problemi riproduttivi.
I poli delle batterie, i morsetti e gli accessori attinenti contengono piombo e relativi composti, sostanze chimiche che nello Stato della California sono considerate cancerogene e causa di anomalie della riproduzione. Lavate le mani dopo aver maneggiato la batteria.
L'utilizzo del presente prodotto potrebbe esporre a sostanze chimiche che nello Stato della California sono considerate cancerogene e causa di anomalie congenite o di altre problematiche della riproduzione.
Questo prodotto è in grado di amputare mani e piedi, e di scagliare oggetti. Rispettate sempre tutte le norme di sicurezza per evitare gravi lesioni personali.
Leggete attentamente il contenuto di questo Manuale dell'operatore prima di avviare il motore.
Prestate la massima attenzione mentre utilizzate la macchina. Per evitare il rischio di lesioni personali o danni materiali, non impegnatevi in attività che possano causare distrazioni.
Non utilizzate la macchina senza che tutti gli schermi e gli altri dispositivi di protezione siano montati e funzionanti.
Tenete mani e piedi a distanza dalle parti rotanti. Restate lontani dall'apertura di scarico.
Tenete lontani le persone presenti e i bambini dall'area di lavoro. Non consentite mai che l'uso della macchina a ragazzi e bambini.
Spegnete il motore, togliete la chiave e attendete che tutte le parti in movimento si arrestino prima di abbandonare la posizione dell'operatore. Lasciate raffreddare la macchina prima di eseguire interventi di regolazione, manutenzione, pulizia o prima del rimessaggio.
L'errato utilizzo o l'errata manutenzione di questa
macchina può causare infortuni. Per ridurre il rischio di incidenti,
rispettate le seguenti norme di sicurezza e fate sempre attenzione
al simbolo di avviso di sicurezza
che riporta l'indicazione di Attenzione,
Avvertenza o Pericolo – istruzioni per la sicurezza personale.
Il mancato rispetto di queste istruzioni può provocare lesioni
personali anche fatali.
![]() |
Gli adesivi di sicurezza e quelli con le istruzioni sono chiaramente visibili e sono affissi accanto a zone particolarmente pericolose. Sostituite eventuali adesivi danneggiati o mancanti. |

















Macchine CE


Note: Stabilite i lati sinistro e destro della macchina rispetto alla normale posizione di guida.
Controllate la pressione degli pneumatici prima dell'uso; vedere Controllo della pressione degli pneumatici.
Important: Per garantire un’ottima qualità di taglio e le prestazioni previste per questa macchina, mantenete la pressione in tutti gli pneumatici. Non usate una insufficiente pressione di gonfiaggio degli pneumatici.
Controllate il livello dell'olio motore prima dell'avviamento del motore; vedere Controllo del livello dell'olio motore.
Controllate il livello del fluido idraulico prima dell'avviamento del motore; vedere Controllo del livello del fluido idraulico.
Controllate l'impianto di raffreddamento prima di avviare il motore; vedere Verifica dell'impianto di raffreddamento.
Ingrassate la macchina prima dell'uso; vedere Ingrassaggio di cuscinetti e boccole. In caso di mancato corretto ingrassaggio della macchina, si verificherà l'avaria prematura di componenti importanti.
Rimuovete il materiale d'imballaggio dagli apparati di taglio e scartatelo.
Rimuovete i perni di spedizione dai bracci di sostegno degli apparati di taglio e scartateli.
Note: I perni di spedizione servono a stabilizzare gli apparati di taglio durante la spedizione; rimuoveteli prima di utilizzare la macchina.
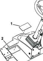
Potete regolare la posizione del braccio di comando al fine di ottenere un comfort migliore.
Allentate i due bulloni che fissano il braccio di comando alla staffa di bloccaggio (Figura 3).

Girate il braccio di comando nella posizione richiesta e serrate i due bulloni.
Contattate il distributore Toro autorizzato di zona per configurare il software della macchina in base alla modalità CE.
Parti necessarie per questa operazione:
| Gruppo del fermo del cofano | 1 |
| Rondella | 1 |
Sbloccate il cofano e alzatelo.
Togliete l'anello passacavi in gomma dal foro nel lato sinistro del cofano (Figura 4).

Togliete il dado dal gruppo del fermo del cofano (Figura 5).

Dall’esterno del cofano, inserite il lato gancio del fermo attraverso il foro presente nel cofano e assicuratevi che la rondella di tenuta in gomma rimanga sul lato esterno del cofano (Figura 5).
Dall’interno del cofano, inserite la rondella in metallo sul fermo, fissate il fermo con il dado e assicuratevi che il fermo si inserisca nell'arresto del telaio quando è chiuso.
Note: Per aprire e chiudere il fermo del cofano usate l’apposita chiave a corredo.
Parti necessarie per questa operazione:
| Adesivo CE | 1 |
| Adesivo dell'anno di produzione | 1 |
| Adesivo di avvertenza | 1 |
Utilizzate alcol etilico e un panno pulito per ripulire l’area del cofano accanto al blocco del cofano e lasciate asciugare il cofano (Figura 6).

Rimuovere la pellicola dall’adesivo CE.
Applicate l’adesivo al cofano.
Utilizzate alcol etilico e un panno pulito per ripulire l’area della staffa a pavimento accanto alla targa del numero di serie e lasciate asciugare la staffa (Figura 7).

Rimuovere la pellicola dall’adesivo dell’anno di produzione.
Applicate l’adesivo alla staffa a pavimento.
Utilizzate alcol etilico e un panno pulito per ripulire la superficie dell’adesivo di avvertenza e lasciate asciugare l’adesivo (Figura 8).

Rimuovere la pellicola dall’adesivo di avvertenza CE.
Applicate l’adesivo di avvertenza CE sopra l’adesivo esistente.
Il raschiarulli posteriore opzionale funziona meglio quando tra di esso e il rullo vi è una distanza, costante da lato a lato, compresa tra 0,5 e 1 mm.
Allentate il raccordo d'ingrassaggio e la vite di montaggio (Figura 9).

Fate oscillare il raschiarulli su o giù fino a ottenere una distanza compresa tra 0,5 e 1 mm tra la barra e il rullo.
Serrate il raccordo d'ingrassaggio e la vite a 41 N∙m, agendo alternativamente sull'uno e sull'altra.
Contattate il vostro distributore Toro autorizzato per il deflettore per mulching corretto.
Eliminate completamente i detriti dai fori di montaggio sulle pareti posteriore e sinistra dell’alloggiamento.
Montate il deflettore per mulching nell'apertura posteriore e fissatelo con 5 bulloni a testa flangiata (Figura 10).

Verificate che il deflettore per mulching non interferisca con la punta della lama e non penetri nella parete posteriore dell’alloggiamento.
L'utilizzo di una lama per alto sollevamento con il deflettore per mulching può causare la rottura della lama e provocare infortuni o la morte.
Non usate la lama ad alto sollevamento insieme al deflettore.



Note: Questa macchina non è dotata di una leva o un interruttore per il controllo del regime del motore.
Quando la PDF viene innestata per iniziare a far girare gli apparati di taglio, la macchina cambia automaticamente il regime del motore portandolo al minimo superiore e mantenendolo fino a quando non vengono disinnestati gli apparati di taglio.
Quando la PDF non è innestata, l'acceleratore della macchina dipende dalla posizione del pedale di comando della trazione, proprio come l'acceleratore di un'auto.
Il pedale di comando della trazione (Figura 12) controlla il funzionamento in marcia avanti e retromarcia. Premete la parte superiore del pedale per fare marcia avanti, e la parte inferiore per la retromarcia.
Note: In situazioni di frenata di emergenza, togliete il piede dal pedale della trazione, quindi spingete in avanti l'interruttore del freno di stazionamento (Figura 11).
Quando l'interruttore della PDF è innestato, la macchina si trova in modalità TOSATURA, che vi consente di raggiungere i 13 km/h se la velocità massima non è limitata.
Quando l'interruttore della PDF non è innestato (Figura 11), la macchina si trova in modalità TRASFERIMENTO, che vi consente di raggiungere i 16 km/h se la velocità massima non è limitata.
Note: Utilizzate i menu protetti dell'InfoCenter per impostare la velocità massima per ciascuna modalità.

Per innestare il freno di stazionamento, (Figura 11) spingete in avanti l'interruttore sulla plancia. All'inserimento del freno, si accenderà la luce rossa dell'interruttore. Per rilasciare il freno di stazionamento, spingete all'indietro l'interruttore.
L'attivazione dell'interruttore del freno di stazionamento riduce automaticamente la velocità di trazione, a prescindere dalla posizione del pedale di comando della trazione, e innesta il freno di stazionamento non appena la macchina si arresta.
Una volta che il motore è stato spento e la macchina non si muove più, viene innestato il freno di stazionamento, a prescindere dalla posizione dell'interruttore del freno di stazionamento.
Per inclinare il volante verso di voi premete il pedale, tirate il volante verso di voi nella posizione più comoda e rilasciate il pedale (Figura 12). Per allontanare da voi il volante premete il pedale e rilasciatelo quando il volante raggiunge la posizione di guida desiderata.
Questa leva (Figura 11) solleva e abbassa gli apparati di taglio.
Per abbassare gli apparati di taglio, spingete la leva in avanti. Quando l'interruttore della PDF è INNESTATO, la macchina si trova in modalità TOSATURA e gli apparati di taglio inizieranno a ruotare quando abbassati.
Note: Assicuratevi di abbassare gli apparati di taglio dopo aver innestato l'interruttore della PDF per avviare gli apparati di taglio. Se abbassate gli apparati di taglio prima di aver innestato l'interruttore della PDF, gli apparati di taglio non inizieranno a girare.
Per sollevare completamente gli apparati di taglio, tirate indietro la leva. Quando gli apparati di taglio sono sollevati e l'interruttore della PDF è disinnestato, la macchina si trova in modalità TRASFERIMENTO.
L'interruttore di accensione (Figura 11) ha 3 posizioni: SPEGNIMENTO, ACCENSIONE/PRERISCALDAMENTO e AVVIAMENTO.
Spingete l'interruttore in alto per accendere i fari (Figura 11).
L'indicatore di ostruzione del filtro idraulico vi avvisa quando i filtri idraulici devono essere sostituiti; fate riferimento a Sostituzione dei filtri idraulici.

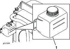
La presa elettrica (Figura 15) è un'alimentazione a 12 V per apparecchiature elettroniche.


Tirate la leva di posizionamento del sedile (Figura 16) per spostare il sedile in avanti e indietro. Lasciate andare la leva per bloccare il sedile in posizione.
Ruotate la manopola di regolazione del peso fino a quando il vostro peso non viene visualizzato nella finestra dell’indicatore del peso.
Ruotate la manopola di regolazione dell’altezza per modificare l’altezza del sedile.
Il display LCD InfoCenter mostra i dati relativi alla macchina, come lo stato operativo, le varie diagnostiche e altre informazioni sulla macchina stessa (Figura 11).
Le schermate che vengono visualizzate dipendono dai pulsanti selezionati. Lo scopo di ogni pulsante può variare a seconda della necessità del momento.
Note: Specifiche e disegno sono soggetti a variazioni senza preavviso.

| Descrizione | Figura 17 riferimento | Dimensioni o peso |
| Altezza totale | A | 217 cm |
| Carreggiata (da centro a centro degli pneumatici) posteriore | B | 185 cm |
| Larghezza complessiva (posizione di trasferimento) | C | 231 cm |
| Larghezza complessiva (posizione di tosatura) | D | 247 cm |
| Interasse | E | 152 cm |
| Lunghezza complessiva (posizione di trasferimento) | F | 315 cm |
| Lunghezza complessiva (posizione di tosatura) | G | 315 cm |
| Capacità del serbatoio del carburante | 53 litri | |
| Velocità di trasferimento | 0-16 km/h | |
| Velocità di lavoro | 0-13 km/h | |
| Peso netto (con apparati di taglio e fluidi) | 1492 kg |
Per ottimizzare e ampliare le applicazioni della macchina, è disponibile una gamma di attrezzi e accessori approvati da Toro per l'uso con la macchina. Richiedete la lista degli attrezzi ed accessori approvati ad un Centro Assistenza Toro o ad un Distributore autorizzati, oppure visitate www.Toro.com
Per garantire prestazioni ottimali e mantenere sempre la macchina in conformità alle norme di sicurezza, utilizzate esclusivamente ricambi e accessori originali Toro. Ricambi e accessori di altri produttori potrebbero risultare pericolosi e il loro impiego potrebbe far decadere la garanzia del prodotto.
Note: Stabilite i lati sinistro e destro della macchina rispetto alla normale posizione di guida.
Non consentite l'uso e la manutenzione della macchina a ragazzi, bambini o adulti senza adeguata formazione. Le normative locali possono imporre limiti all'età dell'operatore. Il proprietario è responsabile della formazione di tutti gli operatori e i meccanici.
Familiarizzate con il funzionamento sicuro dell'apparecchiatura, dei comandi dell'operatore e degli adesivi di sicurezza.
Spegnete il motore, togliete la chiave e attendete che tutte le parti in movimento si arrestino prima di abbandonare la posizione dell'operatore. Lasciate raffreddare la macchina prima di eseguire interventi di regolazione, manutenzione, pulizia o prima del rimessaggio.
Imparate come arrestare la macchina e spegnere rapidamente il motore.
Verificate che i comandi di presenza dell'operatore, gli interruttori di sicurezza e le protezioni siano fissati e correttamente funzionanti. Se non funzionano correttamente, non azionate la macchina.
Prima della tosatura, ispezionate sempre la macchina per accertarvi che le lame, i bulloni delle lame e i gruppi di taglio siano in condizioni di funzionamento ottimali. Sostituite in serie lame e bulloni usurati o danneggiati per mantenere il bilanciamento.
Ispezionate l'area dove utilizzerete la macchina e rimuovete tutti gli oggetti che potrebbero essere scagliati via dalla macchina.
Questo prodotto genera un campo elettromagnetico. Se indossate un dispositivo medico elettronico impiantabile, consultate il vostro medico prima di utilizzare il prodotto.
Prestate estrema cautela quando maneggiate il carburante. È infiammabile e produce vapori esplosivi.
Spegnete sigarette, sigari, pipe e altre fonti di ignizione.
Utilizzate soltanto taniche per carburanti approvate.
Non rimuovete il tappo del carburante e non rabboccate il serbatoio del carburante mentre il motore è in funzione o è caldo.
Non rabboccate e non spurgate il carburante in uno spazio chiuso.
Non rimessate la macchina o la tanica del carburante in luoghi in cui siano presenti fiamme aperte, scintille o spie, come uno scaldabagno o altri apparecchi.
I casi di fuoriuscite di carburante, non tentate di avviare il motore ed evitate di creare fonti di ignizione fino a quando i vapori di carburante non si siano dissipati.
53 litri
Important: Utilizzate solamente gasolio con un contenuto di zolfo molto bassa. Il carburante con valori superiori di zolfo degrada il catalizzatore dell'ossidazione del diesel (DOC), causando problemi operativi e abbreviando la durata operativa dei componenti del motore.La mancata osservanza delle seguenti precauzioni può danneggiare il motore.
Non utilizzate mai cherosene o benzina al posto di carburante diesel.
Non miscelate mai cherosene o olio motore già usato con il gasolio.
Non conservate mail il carburante in contenitori con rivestimento interno in zinco.
Non utilizzate additivi per il carburante.
Valore nominale di cetano: 45 o superiore
Contenuto di zolfo: zolfo ultra basso (<15 ppm)
| Specifiche del carburante diesel | Posizione |
| ASTM D975 | USA |
| N. 1-D S15 | |
| N. 2-D S15 | |
| EN 590 | Unione europea |
| ISO 8217 DMX | Internazionale |
| JIS K2204 grado n. 2 | Giappone |
| KSM-2610 | Corea |
Utilizzate solo carburante diesel o carburanti biodiesel freschi e puliti.
Acquistate il carburante in quantità tali che ne consentano il consumo entro 180 giorni in modo da garantirne la freschezza.
Utilizzate gasolio per uso estivo (n. 2-D) a temperature superiori a -7 °C e gasolio per uso invernale (n. 1-D o miscela n. 1-D/2-D) a temperature inferiori a -7 °C.
Note: L'uso di carburante per uso invernale a basse temperature assicura un punto di infiammabilità inferiore e caratteristiche di flusso a freddo che agevolano l'avvio e riducono la chiusura del filtro del carburante.L'uso del carburante per uso estivo a temperature superiori a -7 °C contribuisce a una più lunga durata della pompa del carburante e a una maggiore potenza rispetto al carburante per uso invernale.
Questa macchina può anche funzionare con una miscela di biodiesel fino a B20 (20% biodiesel, 80% gasolio).
Contenuto di zolfo: zolfo ultra basso (<15 ppm)
Specifiche del carburante biodiesel: ASTM D6751 o EN 14214
Specifiche della miscela di carburante: ASTM D975, EN 590 o JIS K2204
Important: La porzione di diesel deve avere un contenuto ultra basso di zolfo.
Prendete le seguenti precauzioni:
Le miscele di biodiesel possono danneggiare le superfici verniciate.
In caso di condizioni atmosferiche fredde utilizzate miscele B5 (contenuto di biodiesel pari al 5%) o inferiori.
Monitorate le guarnizioni di tenuta, i flessibili e le guarnizioni a contatto con il carburante, poiché con il tempo potrebbero degradarsi.
Dopo la conversione a miscele di biodiesel può verificarsi una chiusura del filtro del carburante.
Contattate il vostro distributore Toro autorizzato per ulteriori informazioni sul biodiesel.


Rabboccate il serbatoio fino a circa 6-13 cm sotto la parte superiore del serbatoio, non nel collo del bocchettone, con gasolio numero 2-D.
Note: Se possibile, rabboccate sempre i serbatoi del carburante dopo l'uso; in tal modo ridurrete al minimo l'accumulo di condensa all'interno del serbatoio.
Prima di avviare il motore e di utilizzare la macchina, controllate il livello dell'olio nella coppa; vedere Controllo del livello dell'olio motore.
Prima di avviare il motore e di utilizzare la macchina, controllate l'impianto di raffreddamento; vedere Verifica dell'impianto di raffreddamento.
Prima di avviare il motore e di utilizzare la macchina, controllate l'impianto idraulico; vedere Controllo del livello del fluido idraulico.
Spurgate l'acqua e altre sostanze contaminanti dal separatore di condensa; fate riferimento a Spurgo della condensa dal separatore di condensa/carburante.
| Cadenza di manutenzione | Procedura di manutenzione |
|---|---|
| Prima di ogni utilizzo o quotidianamente |
|
La giusta pressione dell'aria negli pneumatici anteriori e posteriori è compresa tra 0,83 e 1,03 bar.
Important: Per garantire un'ottima qualità di taglio e le prestazioni previste per questa macchina, mantenete la pressione in tutti gli pneumatici. Non usate una insufficiente pressione di gonfiaggio degli pneumatici.Verificate la pressione dell'aria in tutti gli pneumatici prima di utilizzare la macchina.

| Cadenza di manutenzione | Procedura di manutenzione |
|---|---|
| Dopo la prima ora |
|
| Dopo le prime 10 ore |
|
| Ogni 250 ore |
|
Il mancato serraggio dei dadi delle ruote alla coppia prevista può causare guasti o la perdita di una ruota, pregiudicando l’integrità fisica delle persone.
Serrate i dadi delle ruote anteriori e posteriori a 94-122 N·m agli intervalli di manutenzione raccomandati.
Important: Gli apparati di taglio spesso falciano a un'altezza di circa 6 mm inferiore a quella di un apparato di taglio a cilindri con la stessa impostazione di riferimento. Può essere necessario impostare la misura di riferimento degli apparati di taglio a 6 mm al di sopra di quella degli apparati di taglio a cilindri per la stessa zona.
Important: Grazie alla possibilità di staccare l'apparato di taglio dalla macchina è molto più facile accedere agli apparati posteriori. Abbassate gli apparati di taglio e rimuovete gli apparati di taglio dai telai rimuovendo i bulloni e i perni mostrati nella Figura 20.

Parcheggiate la macchina su terreno pianeggiante, inserite il freno di stazionamento, abbassate l’apparato di taglio a terra, spegnete il motore e togliete la chiave.
Allentate il bullone che fissa ogni staffa dell'altezza di taglio alla relativa piastra (lati anteriore e laterali), come illustrato nella Figura 21.
Rimuovete i bulloni iniziando da quello dell'elemento di regolazione anteriore.

Supportate l’alloggiamento e togliete il distanziale (Figura 21).
Spostate l’alloggiamento all’altezza di taglio opportuna e montate il distanziale nel foro e nella scanalatura dell’altezza di taglio prescelta (Figura 22).

Posizionate la piastra forata in linea con il distanziale.
Montate il bullone serrandolo a mano.
Ripetete i passi da 4 a 7 per regolare ciascun lato.
Serrate tutti e 3 i bulloni a 41 N∙m. Serrate sempre per primo il bullone anteriore.
Note: Nel caso di regolazioni di oltre 3,8 cm, per impedire il grippaggio è talvolta necessario assemblare provvisoriamente l'apparato ad un’altezza intermedia (ad es. variando l'altezza di taglio da 3,1 a 7 cm).
| Cadenza di manutenzione | Procedura di manutenzione |
|---|---|
| Prima di ogni utilizzo o quotidianamente |
|
Se gli interruttori di sicurezza sono scollegati o guasti, la macchina può muoversi improvvisamente e causare incidenti.
Non manomettete i microinterruttori di sicurezza.
Il funzionamento degli interruttori di interblocco deve essere controllato ogni giorno; prima di azionare la macchina, sostituite eventuali interruttori guasti.
Important: Se la vostra macchina non supera qualsiasi controllo dei microinterruttori, contattate il vostro distributore Toro autorizzato.
Guidate lentamente la macchina in una zona aperta.
Abbassate gli apparati di taglio, spegnete il motore e inserite il freno di stazionamento.
Sedetevi sul sedile dell'operatore.
Innestate il freno di stazionamento.
Premete l’interruttore della PDF in posizione di DISINNESTO.
Premete il pedale della trazione.
Ruotate la chiave in posizione di AVVIAMENTO.
Note: Il motore non deve avviarsi mentre il pedale di comando della trazione è premuto.
Sedetevi sul sedile dell'operatore.
Tirate l'interruttore della PDF in posizione di INNESTO.
Ruotate la chiave in posizione di AVVIAMENTO.
Note: Il motore non dovrebbe avviarsi con l’interruttore della PDF in posizione di INNESTO.
Sedetevi sul sedile dell'operatore.
Premete l’interruttore della PDF in posizione di DISINNESTO.
Avviate il motore.
Tirate l'interruttore della PDF in posizione di INNESTO.
Abbassate gli apparati di taglio per innestare la PDF.
Alzatevi dal sedile.
Note: La PDF non dovrebbe funzionare quando non siete sul sedile dell’operatore.
Note: Non lasciate che gli apparati di taglio ruotino per più di un paio di secondi durante questa prova per evitare un'usura non necessaria.
Sedetevi sul sedile dell'operatore.
Innestate il freno di stazionamento.
Premete l’interruttore della PDF in posizione di DISINNESTO.
Avviate il motore.
Premete il pedale della trazione.
Note: La macchina non deve rispondere quando premete il pedale della trazione mentre il freno di stazionamento è inserito. Nell'InfoCenter deve comparire un messaggio di avviso.
Sedetevi sul sedile dell'operatore.
Avviate il motore.
Disinnestate il freno di stazionamento.
Alzatevi dal sedile.
Note: La luce rossa dell'interruttore del freno di stazionamento si deve accendere se abbandonate il sedile dell'operatore, indicando che il freno di stazionamento è innestato.
Sedetevi sul sedile dell'operatore.
Avviate il motore.
Assicuratevi che gli apparati di taglio siano sollevati in posizione di trasferimento.
Alzatevi dal sedile.
Abbassate gli apparati di taglio.
Note: Gli apparati di taglio non devono abbassarsi quando non siete sul sedile dell’operatore.
| Cadenza di manutenzione | Procedura di manutenzione |
|---|---|
| Prima di ogni utilizzo o quotidianamente |
|
Le lame degli apparati di taglio devono arrestarsi completamente circa 5 secondi dopo la chiusura dell’interruttore d’innesto degli apparati di taglio.
Note: Assicuratevi di abbassare gli apparati di taglio su tappeto erboso pulito o su una superficie solida pulita, per evitare di scagliare polvere e detriti.
Chiedete a una persona di mettersi dietro agli apparati di taglio, a 6 metri o più di distanza, e di guardare le lame di uno degli apparati di taglio.
Mentre gli apparati di taglio sono innestati e stanno girando a piena velocità, disinnestate l'interruttore della PDF e misurate il tempo necessario perché le lame si fermino completamente.
Note: Se il tempo supera 7 secondi, occorre regolare la valvola di frenatura. Contattate il vostro distributore Toro autorizzato per ricevere assistenza nell'effettuare questa regolazione.
Questa lama è stata progettata per fornire un sollevamento e una dispersione eccellenti in quasi tutte le condizioni possibili. Qualora siano necessari un sollevamento e una velocità di scarico maggiori o minori, utilizzate lame diverse.
Caratteristiche: Sollevamento e dispersione eccellenti nella maggior parte delle condizioni
In linea di massima la lama offre le migliori prestazioni alle altezze di taglio inferiori da 1,9 a 6,4 cm.
Caratteristiche:
Lo scarico rimane più regolare con altezze di taglio inferiori.
Lo scarico tende meno a gettare sulla sinistra, e produce quindi un aspetto più pulito attorno a bunker e fairway.
Utilizza meno energia ad altezze inferiori e con tappeti erbosi fitti.
In linea di massima la lama offre le migliori prestazioni ad altezze di taglio superiori comprese tra 7 e 10 cm.
Caratteristiche:
Maggiore sollevamento e velocità di scarico più elevata
L’erba rada o floscia viene raccolta più agevolmente ad altezze di taglio superiori
Lo sfalcio bagnato o vischioso viene scaricato con maggiore efficienza, riducendo gli accumuli nell'apparato di taglio.
Richiede una maggiore potenza per funzionare
Tende a scaricare più a sinistra, e talvolta tende a ranghinare ad altezze di taglio inferiori
L'utilizzo della lama per alto sollevamento con il deflettore per mulching può causare la rottura della lama, causando infortuni o la morte.
Non usate la lama ad alto sollevamento insieme al deflettore per mulching.
Questa lama è stata progettata per eseguire un mulching eccellente.
| Lama a costa angolata | Lama a costa parallela per alto sollevamento(Non utilizzare con il deflettore per mulching) (Non conforme CE) | Deflettore per mulching | Raschiarullo | |
| Taglio dell'erba: altezza di taglio da 1,9 a 4,4 cm | Consigliata per la maggioranza delle applicazioni | Può funzionare bene con tappeti erbosi leggeri o radi | Ha dimostrato di migliorare la dispersione e la resa dell’erba tipica dei freddi climi settentrionali tosati almeno 3 volte la settimana, quando viene falciato meno di un terzo del filo d’erba. Non utilizzare con la lama a costa parallela per alto sollevamento | Utilizzatelo ogniqualvolta sono visibili accumuli di erba sui rulli o grandi blocchi piatti di erba. Con alcune applicazioni, i raschiarulli possono aumentare il deposito di mucchi di erba tagliata. |
| Taglio dell'erba: altezza di taglio da 5 a 6,4 cm | Consigliata per tappeti erbosi fitti o lussureggianti | Consigliata per tappeti erbosi leggeri o radi | ||
| Taglio dell'erba: altezza di taglio da 7 a 10 cm | Può funzionare bene su tappeti erbosi lussureggianti | Consigliata per la maggioranza delle applicazioni | ||
| Mulching | Consigliata per l'impiego col deflettore per mulching | Vietato | Usare soltanto con lama a costa combinata o angolata | |
| Pro | Scarico uniforme con altezza di taglio inferiore; aspetto più pulito attorno a bunker e fairway; minori requisiti di potenza | Maggiore sollevamento e velocità di scarico più elevata; l'erba rada o floscia viene raccolta più agevolmente ad altezze di taglio superiori; lo sfalcio bagnato o vischioso viene scaricato con maggiore efficienza | Può migliorare la dispersione e l'aspetto di certi tagli; ottimo per il mulching delle foglie | In alcune applicazioni riduce i depositi sui rulli. |
| Contro | Non solleva bene l'erba nelle applicazioni con altezze di taglio elevate; l’erba bagnata o vischiosa tende a depositarsi nell’alloggiamento, con conseguente qualità di taglio scadente e maggiore consumo | Con alcune applicazioni necessita di più potenza; tende a ranghinare ad altezze di taglio inferiori con tappeti erbosi fitti; non utilizzare con il deflettore per mulching. | Se cercate di rimuovere troppa erba con il deflettore montato, lo sfalcio si accumula nell'alloggiamento |
Il display mostra i dati relativi alla macchina, come lo stato operativo, le varie diagnostiche e altre informazioni sulla macchina stessa. Sul display sono presenti varie schermate. In qualsiasi momento potete passare da una schermata all'altra premendo uno dei pulsanti del display e selezionando la freccia di direzione appropriata.

Note: Lo scopo di ogni pulsante può variare a seconda della necessità del momento. Ogni pulsante è contrassegnato con un'icona che ne visualizza la funzione corrente.
![]() | Contaore |
![]() | Manutenzione prevista. |
![]() | Indicatore del regime motore (giri/min) |
![]() | Impostazioni di arresto pedale virtuale |
![]() | Le candele sono attive |
![]() | L'operatore deve essere seduto alla guida |
![]() | Il freno di stazionamento è inserito |
![]() | Temperatura del refrigerante motore (°C o °F) |
![]() | Trazione o pedale di comando della trazione |
![]() | Avviate il motore. |
![]() | Il comando elettronico della velocità è inserito |
![]() | Motore |
![]() | Modalità riscaldamento |
![]() | Richiesta di rigenerazione di ripristino/stand by |
| Richiesta di rigenerazione parcheggiata o di recupero | |
![]() | È in corso una rigenerazione parcheggiata o di recupero |
![]() | Temperatura di scarico elevata |
![]() | Avaria diagnostica controllo NOx; riportate la macchina all'officina e contattate il vostro distributore Toro autorizzato (versione software U e successive) |
![]() | La presa di forza è disabilitata |
![]() | La presa di forza è innestata |
![]() | Batteria |
![]() | Livello del carburante |
![]() | Livello di carburante basso. |
![]() | Avvertenza |
![]() | Attivo |
![]() | Inattivo |
![]() | Precedente |
![]() | Successiva |
![]() | Aumento |
![]() | Riduzione |
![]() | Schermata precedente |
![]() | Schermata successiva |
![]() | Aumenta valore |
![]() | Riduci valore |
![]() | Menu |
![]() | Scorri in su/giù |
![]() | Scorri a sinistra/destra |
![]() | Bloccato |
Accessibile
solo inserendo il PIN
Per accedere al sistema di menu InfoCenter, premete il pulsante di accesso ai menu dalla schermata principale. Si passa così al Menu principale. Consultate le tabelle seguenti per un riepilogo delle opzioni disponibili nei menu:
| Menu principale – Voce menu | Descrizione |
| Faults | Il menu Faults (Guasti) contiene un elenco dei guasti recenti della macchina. Consultate il Manuale di manutenzione o contattate il distributore Toro autorizzato per maggiori informazioni sul menu Faults (Guasti) e sulle informazioni in esso contenute. |
| Service | Il menu Service (Manutenzione) contiene dati sulla macchina, come il contatore delle ore di utilizzo e altri valori analoghi. |
| Diagnostics | Il menu Diagnostics (Diagnostica) mostra lo stato di ogni interruttore, sensore e uscita di controllo della macchina. Si può utilizzare per risolvere determinate problematiche in quanto indica rapidamente quali comandi della macchina sono ATTIVI e quali sono INATTIVI. |
| Settings | Il menu Settings (Impostazioni) consente di personalizzare e modificare le opzioni di configurazione sul display. |
| Machine Settings | Il menu Machine Settings (Impostazioni macchina) consente di regolare le soglie di accelerazione, velocità e contrappeso. |
| About | Il menu About (Informazioni) elenca il numero del modello, il numero di serie e la versione software della macchina. |
| Service – Voce menu | Descrizione |
| Hours | Riporta il numero totale di ore di funzionamento di macchina, motore e PDF, nonché il numero di ore di trasporto della macchina e la manutenzione prevista. |
| Counts | Riporta i vari conteggi a cui è stata sottoposta la macchina. |
| Acceleratore di manutenzione | Attiva e disattiva l'acceleratore di manutenzione. Consente l'esclusione manuale dell'acceleratore in stile automobilistico per alcune attività legate alla manutenzione, come il riposizionamento della macchina in officina. |
| RPM Manutenzione | mposta i giri/min di manutenzione. |
Traction Pedal ![]() | |
Traction Pump ![]() | |
Virtual Speed Sensor ![]() | |
| DPF Regeneration | Opzione di rigenerazione del filtro antiparticolato diesel e sottomenu FAP |
| Diagnostics - Voce menu | Descrizione |
| Deck | Indica entrate e uscite per sollevare e abbassare gli apparati di taglio. |
| Traction (Trazione) | Indica entrate e uscite per il pedale di comando della trazione. |
| Cutting Units | Indica entrate, qualificatori e uscite per sollevare e abbassare gli apparati di taglio. |
| PTO | Indica entrate, qualificatori e uscite per abilitare il circuito PDF. |
| Engine | Indica entrate, qualificatori e uscite per avviare il motore |
CAN Statistics (Statistiche CAN) ![]() | Indica entrate e uscite del CAN. |
| Settings – Voce menu | Descrizione |
| Enter PIN (inserire PIN) | Consente a una persona autorizzata dalla vostra azienda (sovrintendente/meccanico) e in possesso del codice PIN di accedere ai menu protetti. |
| Backlight (Retroilluminazione) | Imposta la luminosità del display LCD. |
| Language | Imposta la lingua usata nell'InfoCenter*. |
| Font Size | Imposta le dimensioni dei caratteri sul display. |
| Units | Imposta le unità di misura usate nell'InfoCenter (sistema metrico o anglosassone). |
Protected Menus (Menu protetti) ![]() | Consente a una persona autorizzata dalla vostra azienda e in possesso del codice PIN di accedere ai menu protetti |
Protect Settings ![]() | Consente di modificare le impostazioni protette. |
Note: Il menu Machine Settings (Impostazioni della macchina) viene visualizzato solo dopo l'inserimento del PIN.
Machine Settings – Voce menu![]() | Descrizione |
Mow Speed ![]() | Controlla la velocità massima di lavoro (range basso). |
Transport Speed ![]() | Controlla la velocità massima di trasporto (range superiore). |
Smart Power ![]() | Accensione/spegnimento di Smart Power. |
Counterbalance ![]() | Controlla la quantità di contrappeso applicata agli apparati di taglio. |
Acceleration ![]() | Le impostazioni minima, media e massima controllano la rapidità di reazione della velocità di trazione quando spostate il pedale della trazione. |
Impostazioni
protette nei menu Protected – Accessibili solo inserendo il
PIN
| Informazioni – Voce menu | Descrizione |
| Model (Modello) | Elenca il numero di modello della macchina. |
| SN (Numero di serie) | Elenca il numero di serie della macchina. |
| Machine Controller Revision (Revisione del controller della macchina) | Elenca la revisione software del controller master. |
| S/W Revision (Revisione software) | Elenca la versione software del controller principale. |
InfoCenter Revision (Revisione dell’InfoCenter) ![]() | Riporta la versione software dell'InfoCenter. |
Ci sono impostazioni di configurazione operative che sono regolabili all’interno del menu SETTINGS (IMPOSTAZIONI) dell’InfoCenter. Per bloccare queste impostazioni, utilizzate il PROTECTED MENU (MENU PROTETTO).
Note: Al momento della consegna, la password iniziale è programmata dal distributore.
Note: Il codice PIN predefinito per la vostra macchina è 0000 o 1234.Se avete modificato il codice PIN e lo avete dimenticato, contattate il vostro distributore Toro autorizzato per assistenza.
Dal MAIN MENU (MENU PRINCIPALE), scorrete verso il basso fino al menu SETTINGS (IMPOSTAZIONI) e premete il pulsante seleziona (Figura 24).

Nel menu SETTINGS (IMPOSTAZIONI), scorrete fino alla voce ENTER PIN (INSERISCI PIN) e premete il pulsante seleziona (Figura 25A).

Per inserire il codice PIN, premete i pulsanti di navigazione su/giù finché non compare la prima cifra del numero corretto, quindi premete il pulsante di navigazione destro per passare alla cifra successiva (Figura 25B e Figura 25C). Ripetete questo passaggio fino all'inserimento dell'ultima cifra.
Premete il pulsante seleziona.
Note: Se il sistema ha accettato il codice PIN e il menu protetto è stato sbloccato, viene visualizzata la parola “PIN” nell'angolo in alto a destra della schermata.
Per bloccare il menu protetto, girate l'interruttore a chiave in posizione di SPEGNIMENTO e poi in posizione di ACCENSIONE.
Nel menu SETTINGS (IMPOSTAZIONI), scorrete in basso fino alla voce PROTECT SETTINGS (PROTEZIONE IMPOSTAZIONI).
Per visualizzare e modificare le impostazioni senza
inserire un codice PIN, utilizzate il pulsante seleziona per impostare PROTECT SETTINGS (PROTEZIONE IMPOSTAZIONI) su
(disattiva).
Per visualizzare e modificare le impostazioni con
un codice PIN, utilizzate il pulsante seleziona per impostare PROTECT SETTINGS (PROTEZIONE IMPOSTAZIONI) su
(attiva), impostate il codice
PIN e girate la chiave nell'interruttore di accensione in posizione
di SPEGNIMENTO e poi in posizione di ACCENSIONE.
Il timer della revisione azzera le ore mancanti per la revisione dopo che è stata effettuata una procedura di manutenzione programmata.
Nel menu SETTINGS (IMPOSTAZIONI) , scorrete fino alla voce ENTER PIN (INSERISCI PIN) e premete il pulsante seleziona.
Inserite il PIN; fate riferimento ad Accesso ai menu protetti.
Nel menu SERVICE (REVISIONE) , scorrete fino alla voce HOURS (ORE) e premete il pulsante seleziona.
Scorrete in basso fino alla voce SERVICE DUE (REVISIONE).
Note: Se è tempo della revisione, accanto a SERVICE DUE (REVISIONE) comparirà il termine NOW (ORA).
Selezionate l’intervallo di revisione e premete il pulsante seleziona.
Note: L'intervallo di revisione (250 ore, 500 ore, e così via) si trova accanto alla voce SERVICE DUE (REVISIONE). L’intervallo di revisione è una voce del menu protetto.
Quando viene visualizzata la schermata RESET SERVICE TIMER? (REIMPOSTARE TIMER DELLA REVISIONE?), premete il pulsante seleziona per CONFERMARE o il pulsante indietro per ANNULLARE.
Dopo aver CONFERMATO, la schermata dell’intervallo scompare e si ritorna alle selezioni delle ore prima della manutenzione.
L'impostazione selezionata viene visualizzata come una X nel grafico della barra di velocità della trazione insieme alle impostazioni di comando elettronico della velocità e arresto a pedale. Una X in una barra mostra che la velocità massima è limitata dal supervisore (Figura 29).
Note: Questa impostazione viene mantenuta in memoria e applicata alla velocità di trazione fino a quando non la si cambia.
Nel menu MACHINE SETTINGS (IMPOSTAZIONI MACCHINA), scorrete fino a MOW SPEED.
Utilizzate i pulsanti di spostamento destro e sinistro per aumentare la velocità di falciatura massima in incrementi di 0,8 km/h tra 1,6 e 12,9 km/h.
L'impostazione selezionata viene visualizzata come una X nel grafico della barra di velocità della trazione insieme alle impostazioni di comando elettronico della velocità e arresto a pedale. Una X in una barra mostra che la velocità massima è limitata dal supervisore (Figura 29).
Note: Questa impostazione viene mantenuta in memoria e applicata alla velocità di trazione fino a quando non la si cambia.
Nel menu MACHINE SETTINGS (IMPOSTAZIONI MACCHINA), scorrete fino a TRANSPORT SPEED.
Utilizzate i pulsanti di spostamento destro e sinistro per aumentare la velocità di trasferimento massima in incrementi di 0,8 km/h tra 8,0 e 16,0 km/h.
Nel menu SETTINGS (IMPOSTAZIONI), scorrete in basso fino alla voce SMART POWER.
Premete il pulsante di navigazione destro per passare da ACCENSIONE a SPEGNIMENTO.
Nel menu MACHINE SETTINGS (IMPOSTAZIONI MACCHINA), scorrete fino a COUNTERBALANCE.
Premete il pulsante di spostamento destro per selezionare il contrappeso e selezionare le impostazioni LOW (BASSO), MEDIUM (MEDIO) o HIGH (ALTO).
Nel menu MACHINE SETTINGS (IMPOSTAZIONI MACCHINA), scorrete fino ad ACCELERATION.
Premete il pulsante di spostamento destro per commutare tra LOW (MINIMA), MEDIUM (MEDIA) e HIGH (MASSIMA).
Note: Per questioni di comodità operativa potete decidere di eseguire una rigenerazione parcheggiata prima che il carico di fuliggine raggiunga il 100%, purché il motore sia stato in funzione per oltre 50 ore dall'ultima rigenerazione di ripristino, parcheggiata o di recupero andata a buon fine.
Utilizzate il menu Technician (Tecnico) per visualizzare lo stato attuale del controllo di rigenerazione del motore e il livello di fuliggine attuale.
Nel menu SETTINGS (IMPOSTAZIONI), scorrete fino alla voce DPF REGENERATION (RIGENERAZIONE DEL DPF) e premete il pulsante seleziona.
Nel menu DPF REGENERATION (RIGENERAZIONE DEL DPF), scorrete fino alla voce TECHNICIAN (TECNICO) e premete il pulsante seleziona.


Rossa lampeggiante: guasto presente
Rossa fissa: avviso presente
Blu fissa: messaggi di taratura/dialogo
Verde fissa: funzionamento normale
Questa macchina frena dinamicamente fino ad arrestarsi quando riportate il pedale di comando della trazione in posizione di folle.
Note: Per una decelerazione morbida, accompagnate lentamente con il piede il pedale di comando della trazione in posizione di folle. Non togliete il piede dal pedale e lasciate che scatti in posizione di folle, a meno che non vogliate fermarvi rapidamente.
La macchina deve arrestarsi completamente entro circa 3,7 m alla velocità massima di trasferimento di 16 km/h.
Su asfalto piano e asciutto, segnate l'inizio e la fine dei 3,7 m.
Fate raggiungere alla macchina la velocità massima di trasferimento di 16 km/h e togliete il piede dal pedale una volta raggiunto il segno di inizio dei 3,7 m.
Controllate che la macchina si fermi entro 0,6 m dal segno di fine dei 3,7 m.
Se la distanza di arresto della macchina non è entro 0,6 m da tale distanza, contattate il vostro distributore Toro.
Velocità di trasferimento in retromarcia
Se la velocità massima di trasferimento impostata dal supervisore è superiore a 8,0 km/h, la velocità massima di retromarcia è di 8,0 km/h.
Se la velocità massima di trasferimento impostata dal supervisore è pari o inferiore a 8,0 km/h, la velocità massima di retromarcia è pari alla velocità di trasferimento impostata dal supervisore.
Velocità di lavoro in retromarcia
Se la velocità massima di lavoro impostata dal supervisore è superiore a 6,4 km/h, la velocità massima di retromarcia è di 6,4 km/h.
Se la velocità massima di lavoro impostata dal supervisore è pari o inferiore a 6,4 km/h, la velocità massima di retromarcia è pari alla velocità di trasferimento impostata dal supervisore.
Questa macchina mostra la velocità di trazione stimata in chilometri all'ora (km/h) o miglia all'ora (mph).
La velocità istantanea è visualizzata nell'angolo in alto a sinistra delle schermate di controllo elettronico della trazione e di arresto del pedale virtuale.
La velocità di trazione è stimata e calibrata per essere il più precisa possibile a 8,0 km/h durante la tosatura. La velocità visualizzata è precisa quando è maggiore o minore di 0,8 km/h rispetto alla velocità visualizzata durante la guida su asfalto piano e asciutto.
Contattate il vostro distributore Toro autorizzato se la velocità della macchina osservata devia di più di 2,4 km/h dalla velocità visualizzata.
Quando avviate la macchina a basse temperature, la modalità riscaldamento limita il regime del motore tenendolo alla minima inferiore per un breve periodo di tempo dopo l'avvio del motore, impedendo potenziali danni ai componenti dati dall'uso della macchina mentre l'olio è freddo.
L'attivazione della modalità riscaldamento è
indicata dalla presenza di un'icona a forma di fiocco di neve
sullo schermo dell'InfoCenter.
Non utilizzate la macchina fino a quando non è terminato il
periodo di riscaldamento.
Il proprietario/operatore è tenuto a evitare incidenti che possano causare lesioni personali o danni materiali.
Indossate un abbigliamento idoneo, inclusi occhiali di protezione, pantaloni lunghi, calzature antiscivolo robuste e protezioni per le orecchie. Legate i capelli lunghi e non indossate indumenti larghi o gioielli pendenti. Indossate una mascherina antipolvere in ambienti di lavoro polverosi.
Non utilizzate la macchina se siete malati, stanchi o sotto l'effetto di alcol o droghe.
Prestate la massima attenzione mentre utilizzate la macchina. Non svolgete nessuna attività che vi possa distrarre; in caso contrario potrebbero verificarsi infortuni o danni.
Prima di avviare il motore, accertatevi che tutte le trasmissioni siano in posizione di folle, che il freno di stazionamento sia innestato e che vi troviate nella posizione operativa.
Non trasportate passeggeri sulla macchina e tenete lontane le persone presenti e i bambini dall'area operativa.
Utilizzate la macchina solo in buone condizioni di visibilità, in modo tale da poter evitare buche o pericoli nascosti.
Evitate la tosatura sull'erba bagnata. La trazione ridotta può causare lo slittamento della macchina.
Tenete mani e piedi a distanza dalle parti rotanti. Restate lontani dall'apertura di scarico.
Prima di fare marcia indietro, guardate indietro e abbassate lo sguardo per accertarvi che il percorso sia libero.
Prestate attenzione quando vi avvicinate ad angoli ciechi, cespugli, alberi o altri oggetti che possano ostacolare la visuale.
Fermate le lame ogni volta che non state effettuando la tosatura.
Spegnete la macchina, togliete la chiave e attendete che tutte le parti in movimento si arrestino prima di ispezionare l'attrezzo dopo avere urtato un oggetto o in caso di vibrazioni anomale della macchina. Effettuate tutte le riparazioni necessarie prima di riprendere le operazioni.
Rallentate e fate attenzione quando eseguite curve o attraversate strade e marciapiedi con la macchina. Date sempre la precedenza.
Disinnestate la trasmissione all'apparato di taglio, spegnete il motore, togliete la chiave e attendete che si arresti ogni movimento prima di regolare l'altezza di taglio (a meno che non possiate regolarla dalla posizione operativa).
Azionate il motore solo in aree ben ventilate. I gas di scarico possono contenere monossido di carbonio, che è letale se inalato.
Non lasciate incustodita la macchina in funzione.
Prima di abbandonare la posizione dell'operatore, effettuate le seguenti operazioni:
Parcheggiate la macchina su terreno pianeggiante.
Disinnestate la presa di forza e abbassate al suolo l'attrezzatura.
Inserite il freno di stazionamento.
Spegnete il motore e togliete la chiave.
Attendete che tutte le parti in movimento si arrestino.
Utilizzate la macchina solo quando la visibilità è ottimale. Non utilizzate la macchina se c'è rischio di fulmini.
Non usate la macchina come veicolo di traino.
Utilizzate solo accessori, attrezzi e ricambi approvati da Toro.
Utilizzate la trazione elettronica (se presente) solo quando potete utilizzare la macchina in un'area aperta e pianeggiante, priva di ostacoli e dove la macchina possa procedere a velocità costante, senza interruzioni.
Il sistema di protezione antiribaltamento (ROPS) è un dispositivo di sicurezza integrato ed efficace.
Non rimuovete alcuno dei componenti del sistema di protezione antiribaltamento (ROPS) dalla macchina.
Accertatevi che la cintura di sicurezza sia fissata alla macchina.
Tirate la cinghia della cintura sulle ginocchia e allacciatela all'alloggiamento sull'altro lato del sedile.
Per scollegare la cintura di sicurezza, tenetela ferma, premete il pulsante sull'alloggiamento per rilasciarla e guidatela nell'apertura di ritrazione automatica. Accertatevi di poter rilasciare rapidamente la cintura in caso di emergenza.
Verificate con attenzione l'eventuale presenza di ostacoli al di sopra della macchina e non entrate a contatto con tali ostacoli.
Mantenete il sistema di protezione antiribaltamento (ROPS) in condizioni operative sicure effettuando periodicamente ispezioni accurate e accertandovi che i fermi di montaggio siano stretti.
Sostituite i componenti del sistema di protezione antiribaltamento (ROPS) danneggiati. Non effettuate riparazioni o modifiche.
Una cabina installata da Toro è un roll bar.
Mettete sempre la cintura di sicurezza.
Le pendenze sono un importante fattore che influisce su incidenti causati da perdita di controllo e ribaltamento che possono provocare lesioni personali gravi o fatali. Siete responsabili del funzionamento sicuro in pendenza. L'utilizzo della macchina in pendenza richiede un livello di attenzione superiore.
Valutate le condizioni del sito per determinare se la pendenza è sicura per l'utilizzo della macchina, effettuando anche un sopralluogo del sito. Basatevi sempre su buon senso e giudizio quando effettuate questa ricognizione.
Consultate le istruzioni relative alle pendenze elencate di seguito per l'utilizzo della macchina in pendenza e per determinare se potete utilizzare la macchina nelle condizioni di un particolare giorno e su un particolare sito. I cambiamenti del terreno possono determinare un cambiamento del funzionamento in pendenza della macchina.
Evitate di avviare, arrestare o sterzare quando la macchina procede in pendenza. Evitate repentini cambiamenti di velocità o direzione. Svoltate lentamente e in maniera graduale.
Non azionate la macchina in condizioni in cui la trazione, la sterzata o la stabilità possono essere compromessi.
Rimuovete o segnalate le ostruzioni, come fossati, buche, solchi, dossi, rocce o altri pericoli nascosti. L'erba alta può nascondere ostacoli. Su terreni accidentati la macchina potrebbe ribaltarsi.
Siate consapevoli che l'utilizzo della macchina su erba bagnata, trasversalmente su pendenze o in discesa può causare una perdita di trazione della macchina. La perdita di trazione delle ruote motrici può comportare uno slittamento e una perdita di capacità frenante e sterzante.
Prestate estrema cautela durante l'utilizzo della macchina in prossimità di scarpate, fossati, terrapieni, zone d'acqua pericolose o altri pericoli. La macchina potrebbe ribaltarsi improvvisamente nel caso in cui una ruota supera il ciglio o se il ciglio cede. Individuate un margine di sicurezza tra la macchina ed eventuali pericoli.
Individuate i pericoli alla base della pendenza. In presenza di pericoli, tosate il terreno in pendenza con una macchina a spinta.
Se possibile, tenete abbassati gli apparati di taglio a terra durante l'uso della macchina in pendenza. Il sollevamento degli apparati di taglio durante l'uso in pendenza può causare l'instabilità della macchina.
Prestate estrema cautela con i sistemi di raccolta dello sfalcio o altri attrezzi. Tali attrezzi possono influire sulla stabilità della macchina e farvi perdere il controllo.
Questa macchina è dotata di acceleratore in stile automobilistico controllato dal pedale della trazione.
Questa macchina non è dotata di un interruttore dell'acceleratore o di una leva dell'acceleratore separati.
Quando togliete il piede dal pedale della trazione, la macchina frena dinamicamente fino ad arrestarsi.
I comandi a pedale sono ottimizzati per fornire una risposta reattiva ma stabile, consentendovi di mantenere un controllo uniforme su terreno accidentato e, al contempo, una frenata rapida e fluida.
Durante il trasferimento, il pedale della trazione funzionerà come in un'auto e cambierà il regime del motore e della trazione a seconda della posizione del pedale della trazione.
Durante la tosatura, il regime del motore verrà automaticamente aumentato al minimo superiore.
Se il motore si trova alla minima inferiore, l'esecuzione di una funzione come il sollevamento degli apparati di taglio o la pressione del pedale di trazione aumenta il regime del motore a una velocità operativa minima, fornendo potenza sufficiente ad eseguire la funzione in modo efficiente.
Limitate la durata del minimo della macchina come raccomandato per la rigenerazione del filtro antiparticolato diesel (FAP). Spegnete la macchina per evitare una durata prolungata del minimo.
Le velocità massime impostate nelle impostazioni del menu protetto da PIN sono definite dal supervisore per limitare la velocità massima di trazione della macchina.
Le velocità di utilizzo del pedale di trazione, comando elettronico della velocità e arresto a pedale sono tutte limitate dalle velocità massime impostate nel menu protetto da PIN.
Se vi imbattete in un ostacolo, sollevate gli apparati di taglio o tosatevi attorno.
Quando trasferite la macchina tra zone di lavoro, spegnete la PDF e sollevate gli apparati di taglio alla posizione massima. Questo fa sì che il pedale della trazione funzioni come in un'auto.
Guidate sempre lentamente in zone accidentate.
Non spegnete mai la macchina mentre la guidate.
Per familiarizzare con le caratteristiche della macchina, esercitatevi nell'utilizzo della macchina.
Sollevate gli apparati di taglio, disinserite il freno di stazionamento, premete il pedale della trazione in avanti e guidate con cautela verso un'area aperta.
Esercitatevi a guidare la macchina poiché è dotata di trasmissione idrostatica e le sue funzionalità possono differire da quelle di altre macchine per la manutenzione dei tappeti erbosi.
Esercitatevi a fare marcia avanti e la retromarcia, e ad avviare e fermare la macchina. Per fermare la macchina togliete il piede dal pedale della trazione e lasciate che il pedale ritorni in FOLLE.
Note: Quando procedete in discesa con la macchina, potreste avere bisogno di usare il pedale di retromarcia per fermarvi.
Togliete il piede dal pedale di comando della trazione per fermarvi rapidamente.
Esercitatevi a guidare attorno ad ostacoli, con gli apparati di taglio sollevati ed abbassati. Prestate la massima attenzione quando guidate fra spazi limitati, al fine di non danneggiare la macchina o gli apparati di taglio.
Il pedale di comando della trazione controlla la velocità in marcia avanti e retromarcia della macchina e la frenata dinamica quando si ritorna in folle.
La macchina è dotata di un acceleratore in stile automobilistico: il regime del motore e la velocità della macchina rispondono al movimento del pedale.
Durante il trasferimento, il pedale della trazione funzionerà come in un’auto e cambierà il regime del motore e della trazione a seconda della posizione del pedale della trazione.
Durante la tosatura, il motore aumenta automaticamente la velocità al minimo superiore per ottimizzare le prestazioni di tosatura e il pedale di trazione controlla solo la velocità di trazione.
Più lontano si spinge il pedale in marcia avanti o in retromarcia, più veloce sarà il movimento della macchina.
Per controllare la macchina fino a un arresto uniforme durante il trasferimento o la tosatura, utilizzate il piede per riportare il pedale della trazione in folle alla velocità desiderata.
Per innestare la massima frenata, togliete il piede dal pedale della trazione, lasciando che torni in folle. La macchina frenerà dinamicamente fino ad arrestarsi.
Questo sistema di trazione vi consente di personalizzare le impostazioni di accelerazione in base al comfort dell’operatore e alle condizioni del campo. Fate riferimento a Descrizione della modalità di accelerazione per la modifica delle impostazioni.

La funzionalità arresto del pedale virtuale consente di impostare i limiti massimi temporanei della velocità di trazione sia per l'intervallo di falciatura sia per quello di trasferimento.
Per accedere a questa funzionalità, utilizzate il pulsante di spostamento su o giù dell'InfoCenter dal menu principale (Figura 29).
Utilizzate l'arresto del pedale virtuale per regolare la velocità di trazione massima secondo le vostre preferenze o l'applicazione specifica.
Non è possibile impostare un limite di velocità dell'arresto del pedale virtuale superiore alla velocità di trazione massima protetta impostata dal supervisore.
L'arresto del pedale virtuale è un'impostazione temporanea. Questa funzionalità torna alle impostazioni di velocità del supervisore quando la chiave viene spostata in posizione di SPEGNIMENTO.
Quando la velocità di trazione viene modificata dal supervisore nelle impostazioni del menu protetto o da voi tramite l'arresto del pedale virtuale, il pedale di comando della trazione viene automaticamente riprogrammato in modo che utilizzi l'intera corsa del pedale tra la posizione di folle e la nuova velocità massima impostata.
Impostare una velocità di trazione massima inferiore vi consente di controllare con precisione il sistema di trazione.

Quando utilizzate l'arresto del pedale virtuale, abbassate temporaneamente la velocità massima per le seguenti attività:
Passata di rifinitura sul fairway.
Utilizzo della macchina all'interno o nei pressi della rimessa.
Caricamento della macchina su un rimorchio.
Note: Una velocità massima inferiore consente un maggiore controllo della macchina durante queste attività.
Il comando elettronico della velocità blocca il controllo della velocità per mantenere la velocità di trasferimento desiderata. Premendo la parte posteriore dell'interruttore si spegne il comando elettronico della velocità, la posizione centrale dell'interruttore consente la funzione di comando elettronico della velocità, mentre la parte anteriore dell'interruttore imposta la velocità di trasferimento desiderata.
Una volta inserito il comando elettronico della velocità e regolata la velocità (Figura 30), utilizzate l’InfoCenter per regolare l’impostazione della velocità del comando elettronico della velocità (Figura 30 e Figura 31).
Per disinnestare il comando elettronico della velocità, effettuate quanto segue:
In modalità di trasferimento, premete il pedale di trazione in retromarcia, innestate il freno di stazionamento o premete l’interruttore di comando elettronico della velocità in posizione di SPEGNIMENTO.
In modalità di tosatura, premete il pedale di trazione in retromarcia, innestate il freno di stazionamento, disinnestate la PDF o premete l’interruttore di comando elettronico della velocità in posizione di SPEGNIMENTO.
Note: Disinnestare il comando elettronico della velocità farà frenare dinamicamente la macchina fino al suo arresto. Se desiderate disinnestare il controllo elettronico della velocità mentre continuate a guidare, premete il pedale della trazione per una transizione fluida dal comando elettronico della velocità al controllo manuale della velocità.

Impostate una velocità di crociera per le lunghe distanze senza troppi ostacoli.
Su terreno accidentato, utilizzate l'InfoCenter per controllare la velocità.
Utilizzate il comando elettronico della velocità per le manovre come segue:
Mentre effettuate la tosatura, impostate una velocità confortevole e sicura per le inversioni al termine delle passate di tosatura.
Premete il pedale della trazione per aumentare la velocità per la tosatura durante la passata di tosatura.
Togliete il piede dal pedale durante l'inversione per la passata di tosatura successiva.
La macchina rallenterà all'impostazione bassa del comando elettronico della velocità, permettendovi di effettuare una manovra efficiente a velocità costante.
Dopo l'inversione, utilizzate il pedale della trazione per aumentare la velocità della macchina per la passata di tosatura successiva.
Questa caratteristica determina quanto velocemente la macchina cambia velocità di trazione quando il pedale di comando della trazione non si trova in posizione di FOLLE.
Note: Se togliete il piede dal pedale di comando della trazione, lasciandolo tornare in posizione di FOLLE mentre la macchina si sta muovendo, viene attivato il profilo di frenata. Il profilo di frenata è sempre lo stesso e non può essere personalizzato tramite la modalità di accelerazione.
Accedete ai menu protetti nell'InfoCenter per cambiare la modalità di accelerazione. La modalità di accelerazione presenta le 3 seguenti posizioni:
Bassa: accelerazione e decelerazione più moderate
Media (predefinita): accelerazione e decelerazione intermedie
Alta: accelerazione e decelerazione più intense
Il sistema di contrappeso mantiene la contropressione idraulica sui cilindri di sollevamento dell’apparato di taglio. Il sistema di contrappeso monitora la pressione di trazione in tempo reale, modificando dinamicamente la contropressione del cilindro di sollevamento per ottimizzare la capacità di trazione e l’aspetto dopo il taglio. La pressione del contrappeso è stata impostata in stabilimento per garantire l'equilibrio ottimale tra aspetto dopo il taglio e capacità di trazione nella maggiore parte delle condizioni del tappeto erboso. La riduzione del contrappeso impostato può migliorare la stabilità dell’apparato di taglio, ma ridurre la capacità di trazione. L'aumento dell'impostazione del contrappeso può aumentare la capacità di trazione, ma potrebbe ridurre la qualità dell'aspetto finale dopo il taglio; fate riferimento a Modifica delle impostazioni di contrappeso.
I comandi delle impostazioni personalizzabili di contrappeso sono i seguenti:
Minima – la quantità massima di peso sugli apparati di taglio e il peso minimo sulle ruote di trasmissione
Media – peso medio sugli apparati di taglio e sulle ruote di trasmissione
Massima – la quantità minima di peso sugli apparati di taglio e il peso massimo sulle ruote di trasmissione della macchina
Potete modificare la quantità di contrappeso degli apparati di taglio necessaria (sollevamento) per soddisfare le vostre condizioni di tosatura attuali.
Parcheggiate la macchina su una superficie pianeggiante, abbassate i piatti di taglio, girate la chiave nell'interruttore in posizione di SPEGNIMENTO e inserite il freno di stazionamento.
Girate la chiave nell'interruttore in posizione di FUNZIONAMENTO.
Nel menu Impostazioni dell'InfoCenter, scorrete fino a Contrappeso.
Premete il tasto destro per selezionare il contrappeso e modificare le impostazioni in basso, medio e alto.
Note: Una volta completata la regolazione, portate la macchina in un'area di prova e utilizzatela con la nuova impostazione. La nuova impostazione di contrappeso potrebbe modificare l'altezza di taglio effettiva.
Con Smart Power l'operatore non dovrà servirsi dell'udito per capire se il motore è sotto sforzo. Lo Smart Power impedisce al motore di impantanarsi in condizioni di manto erboso denso controllando automaticamente la velocità della macchina e ottimizzando le prestazioni di taglio.
Note: La funzionalità Smart Power è ON (attivata) come predefinita.
Important: L’impianto di alimentazione viene spurgato automaticamente prima di avviare il motore se è la prima volta che lo avviate, se il motore si è spento per mancanza di carburante o dopo interventi di manutenzione dell’impianto di alimentazione.
Sedetevi ma non mettete il piede sul pedale della trazione, in modo che sia in posizione di FOLLE; inserite il freno di stazionamento e verificate che l'interruttore della PDF si trovi in posizione DISINNESTATA.
Girate la chiave nell'interruttore in posizione di FUNZIONAMENTO.
Quando l'intensità della spia della candela a incandescenza si affievolisce, girate la chiave nell'interruttore in posizione di AVVIAMENTO. Rilasciate immediatamente la chiave quando il motore si avvia e lasciate che torni in posizione di FUNZIONAMENTO.
Fate girare il motore alla minima inferiore finché non si sarà riscaldato.
Portate tutti i comandi in FOLLE, innestate il freno di stazionamento e lasciate che il motore raggiunga il minimo inferiore.
Important: Al termine di un'operazione a pieno carico, lasciate girare il motore al minimo per cinque minuti prima di spegnerlo. In caso contrario, potreste danneggiare dei componenti del motore.
Girate la chiave nell'interruttore in posizione di SPEGNIMENTO e togliete la chiave.
Avviate il motore, disinnestate il freno e l'interruttore della PDF e sollevate gli apparati di taglio.
Utilizzando il pedale della trazione come un pedale dell'acceleratore su un'auto, guidate la macchina sull'area di tosatura.
Tirate l'interruttore della PDF in posizione di INNESTO.
Iniziate a guidare la macchina e abbassate gli apparati di taglio solo quando tutti gli apparati di taglio si trovano sull'area di tosatura.
Iniziate a tosare l'area.
Quando completate una passata di tosatura, spostate all'indietro la leva di comando Abbassamento/Sollevamento per sollevare gli apparati di taglio prima di lasciare l'area di tosatura.
Curvate seguendo una traiettoria approssimativamente a forma di goccia per allinearvi per la passata successiva.
Premete la leva di comando Abbassamento/Sollevamento per abbassare automaticamente tutti gli apparati di taglio nell'area di tosatura e proseguire con la tosatura.
Il filtro antiparticolato (DPF) rimuove la fuliggine dal gas di scarico del motore.
Il processo di rigenerazione del DPF utilizza il calore proveniente dallo scarico del motore che viene amplificato dal catalizzatore per ridurre la fuliggine accumulata in cenere.
Per mantenere pulito il DPF occorre tenere a mente quanto segue.
Fate girare il motore al regime massimo tutte le volte che è possibile per favorire l'autopulizia del DPF.
Utilizzate olio motore appropriato.
Riducete il più possibile la quantità di tempo con il motore al minimo.
Utilizzate solo diesel con bassissimo tenore di zolfo.
Azionate la vostra macchina e manutenetela tenendo presente la funzione del DPF. Il motore sotto carico produce in genere una temperatura di scarico idonea alla rigenerazione del DPF.
Important: Riducete il più possibile la quantità di tempo con il motore al minimo, oppure azionate il motore a basso regime per contribuire a ridurre l'accumulo di fuliggine nel DPF.
Durante la rigenerazione DPF, la temperatura di scarico è molto alta (circa 600 °C. Il gas di scarico caldo può causare danni a voi o ad altre persone.
Non azionate il motore in un'area chiusa.
Accertatevi che non vi siano materiali infiammabili in prossimità del sistema di scarico.
Accertatevi che il gas di scarico caldo non venga a contatto con superfici che potrebbero venire danneggiate dal calore.
Non toccate un componente del sistema di scarico caldo.
Non posizionatevi vicino o attorno al tubo di scarico della macchina.
| Icona | Definizione delle icone |
![]() | • Icona Rigenerazione parcheggiata o di recupero: la rigenerazione è necessaria. |
| • Eseguite immediatamente la rigenerazione. | |
![]() | • La rigenerazione è stata riconosciuta e la richiesta è in elaborazione. |
![]() | • La rigenerazione è in corso e la temperatura di scarico è elevata. |
![]() | • Avaria del sistema di controllo NOx; la macchina necessita di assistenza. |
| Tipo di rigenerazione | Condizioni che causano la rigenerazione del FAP | Descrizione del funzionamento del DPF |
|---|---|---|
| Passivo | Si verifica durante il normale funzionamento della macchina ad alto regime del motore o ad alto carico del motore | • L'InfoCenter non visualizza un'icona indicante la rigenerazione passiva. |
| • Durante la rigenerazione passiva, il FAP tratta gas di scarico con temperatura elevata, ossidando le emissioni nocive e bruciando la fuliggine in cenere. | ||
| Assistito | Si verifica a causa del basso regime del motore, basso carico del motore o quando il computer rileva la crescente ostruzione del FAP da parte della fuliggine | • L'InfoCenter non visualizza un'icona indicante la rigenerazione assistita. |
| • Durante la rigenerazione assistita, il computer del motore regola le impostazioni del motore al fine di aumentare la temperatura di scarico. | ||
| Ripristino | Ha luogo ogni 100 ore | • Quando nell'InfoCenter viene visualizzata
l'icona della temperatura di scarico elevata , è in corso una
rigenerazione. |
| Ha luogo anche quando a fronte di un normale funzionamento del motore la quantità di fuliggine accumulata supera quella consentita all'interno del filtro. | ||
| • Durante la rigenerazione di recupero, il computer del motore mantiene elevati i giri del motore per garantire la rigenerazione del filtro. |
| Tipo di rigenerazione | Condizioni che causano la rigenerazione del FAP | Descrizione del funzionamento del DPF |
|---|---|---|
| Parcheggiata | Ha luogo perché il computer stabilisce che la pulizia automatica del DPF è insufficiente. | • Quando viene visualizzata l'icona
della rigenerazione di ripristino in stand by o della rigenerazione
parcheggiata o di recupero è necessario procedere alla rigenerazione. |
| Ha luogo anche perché avviate una rigenerazione parcheggiata. | ||
| Può aver luogo perché è stata avviata l'inibizione della rigenerazione che ha disattivato la pulizia automatica del DPF | • Effettuate la rigenerazione parcheggiata appena possibile per evitare la necessità di una rigenerazione di recupero. | |
| Potrebbe essere dovuta all'uso di un carburante o un olio motore non corretti | • Il completamento di una rigenerazione parcheggiata richiede da 30 a 60 minuti. | |
| • Il serbatoio deve contenere almeno 1/4 di carburante. | ||
| • Dovete parcheggiare la macchina per effettuare una rigenerazione parcheggiata. | ||
| Recupero | Ha luogo perché la richiesta di rigenerazione parcheggiata è stata ignorata, consentendo al DPF di raggiungere un punto critico di intasamento. | • Quando viene visualizzata l'icona della
rigenerazione di ripristino in stand by o della rigenerazione parcheggiata
o di recupero , è necessario procedere alla rigenerazione di recupero. |
| • Il completamento di una rigenerazione di recupero richiede fino a 3 ore. | ||
| • La macchina deve avere almeno ½ serbatoio di carburante. | ||
| • Dovete parcheggiare la macchina per effettuare una rigenerazione di recupero. |
Dal MAIN MENU (MENU PRINCIPALE), scorrete verso il basso fino alla voce SERVICE (REVISIONE) e premete il pulsante seleziona.
Nel menu SERVICE (REVISIONE), scorrete fino alla voce DPF REGENERATION (RIGENERAZIONE DEL DPF) e premete il pulsante seleziona.
Selezionate la funzione di rigenerazione desiderata.

Accedete al menu DPF REGENERATION (RIGENERAZIONE DEL DPF) e scorrete fino all'opzione LAST REGEN (ULTIMA RIGENERAZIONE).
Selezionate la voce LAST REGEN (ULTIMA RIGENERAZIONE).
Utilizzate il campo LAST REGEN per sapere per quante ore è stato in funzione il motore dall’ultima rigenerazione di ripristino, parcheggiata o di recupero.
Usate il pulsante indietro per tornare alla schermata DPF REGENERATION (RIGENERAZIONE DEL DPF).

Una rigenerazione di ripristino produce un'elevata quantità di scarichi. Se state utilizzando la macchina vicino ad alberi, cespugli, erba alta o a piante e materiali sensibili alla temperatura, potete usare l'impostazione INHIBIT REGEN (Inibisci rigenerazione) per impedire al computer del motore di eseguire una rigenerazione di ripristino.
Note: L'opzione INHIBIT REGEN viene utilizzata sempre quando si esegue la manutenzione in un'area chiusa.
Note: Se è impostato per inibire la rigenerazione, ogni 15 minuti l’InfoCenter visualizza un avviso mentre il motore richiede una rigenerazione di ripristino.
Important: Quando spegnete e riavviate il motore, l’inibizione della rigenerazione si imposta di default su SPEGNIMENTO.
Accedete al menu DPF REGENERATION (RIGENERAZIONE DEL DPF) e scorrete in basso fino all'opzione INHIBIT REGEN (INIBISCI RIGENERAZIONE).
Selezionate la voce INHIBIT REGEN.
Modificate l'impostazione di inibizione della rigenerazione da OFF a ON.
Accertatevi che la macchina abbia carburante sufficiente nel serbatoio per il tipo di rigenerazione che eseguite:
Parked Regeneration (Rigenerazione parcheggiata): Accertatevi di avere 1/4 di serbatoio di carburante prima di eseguire la rigenerazione assistita.
Recovery Regeneration (Rigenerazione di recupero): Accertatevi di avere 1/2 serbatoio di carburante prima di eseguire la rigenerazione di recupero.
Spostate la macchina all'aperto, lontano da materiali combustibili o da cose che il calore potrebbe danneggiare.
Parcheggiate la macchina su una superficie pianeggiante, portate tutti i comandi in posizione di FOLLE, disinnestate la PDF e abbassate gli apparati di taglio.
Innestate il freno di stazionamento e lasciate che il motore raggiunga il minimo inferiore.
Quando il computer del motore richiede una rigenerazione parcheggiata, seguite le indicazioni dei messaggi dell'InfoCenter.
Important: Se aumentate il regime del motore oltre il minimo inferiore oppure disinserite il freno di stazionamento, il computer della macchina cancella la rigenerazione DPF.
Accedete al menu DPF REGENERATION (RIGENERAZIONE DEL DPF) e scorrete verso il basso fino all'opzione PARKED REGEN (RIGENERAZIONE PARCHEGGIATA) o RECOVERY REGEN (RIGENERAZIONE DI RECUPERO).
Selezionate la voce PARKED REGEN o RECOVERY REGEN.
Note: L'avvio di una rigenerazione di recupero richiede l'inserimento del codice PIN.
Nella schermata REGEN PARAMETERS (PARAMETRI RIGENERAZIONE) verificate che, se state eseguendo una rigenerazione parcheggiata, il serbatoio sia pieno di carburante per 1/4 della sua capacità o, se state eseguendo una rigenerazione di recupero, sia pieno di carburante per la metà della sua capacità. Verificate che il freno di stazionamento sia inserito e che la velocità del motore sia impostata sul minimo inferiore. Premete il pulsante seleziona per continuare.
Nella schermata INITIATE DPF REGEN (AVVIO RIGENERAZIONE DPF) selezionate il pulsante successiva per continuare.
L’InfoCenter visualizza il messaggio INITIATE DPF REGEN (AVVIO RIGENERAZIONE DPF).
Note: Se opportuno, selezionate l'icona annulla per annullare il processo di rigenerazione.
L’InfoCenter visualizza il messaggio relativo al tempo di completamento.
L’InfoCenter visualizza la schermata Home e
l’icona di acquisizione della rigenerazione (
).
Note: Mentre è in corso la rigenerazione DPF l’InfoCenter
visualizza l’icona della temperatura di scarico elevata
.
Dopo che il computer del motore ha terminato una rigenerazione parcheggiata o di recupero, sull'InfoCenter viene visualizzato un avviso. Premete qualsiasi pulsante per uscire dalla schermata Home.
Note: Se non riuscite a completare la rigenerazione, seguite gli avvisi e premete uno qualsiasi dei pulsanti per uscire dalla schermata Home.
Usate l’impostazione PARKED REGEN CANCEL (Annulla rigenerazione parcheggiata) o RECOVERY REGEN CANCEL (Annulla rigenerazione di recupero) per annullare un processo di rigenerazione parcheggiata o di recupero in esecuzione.
Accedete al menu DPF REGENERATION (RIGENERAZIONE DEL DPF) e scorrete fino all'opzione PARKED REGEN (RIGENERAZIONE PARCHEGGIATA) o RECOVERY REGEN (RIGENERAZIONE DI RECUPERO).
Premete il pulsante seleziona per annullare una rigenerazione parcheggiata o di recupero.

Modificate spesso gli schemi di tosatura per ridurre al minimo i problemi di aspetto dopo il taglio dovuti agli interventi ripetuti in un'unica direzione. Questo è il modo più efficace per impedire la formazione di increspature.
Fate riferimento alla Guida alla risoluzione dei problemi dopo il taglio, disponibile sul sito www.Toro.com.
Per ottenere un taglio professionale in linea retta e le strisce richieste in alcuni casi, scegliete un albero o un altro oggetto lontano e guidate diritti verso di esso.
Sono disponibili deflettori imbullonati per mulching per gli apparati di taglio. I deflettori per mulching sono molto efficaci quando mantenete il tappeto erboso a intervalli regolari, per evitare di falciare più di 25 mm di crescita per taglio. Quando sono montati i deflettori di mulching e lo sfalcio tagliato è troppo lungo, l'aspetto del tappeto erboso tosato può deteriorare e si registra un aumento della potenza di taglio del tappeto erboso. I deflettori di mulching sono efficaci anche per trinciare le foglie in autunno.
Durante la tosatura, rimuovete un'altezza dell'erba non superiore a circa 25 mm o 1/3 dell'altezza del filo d'erba. Nel caso di tappeti erbosi lussureggianti e fitti è talvolta necessario sollevare l'altezza di taglio alla regolazione.
La lama affilata falcia con precisione, senza strappare o sminuzzare i fili d'erba come nel caso delle lame smussate. Quando l'erba viene strappata o spezzata, tende a scurirsi all'estremità; questo ne indebolisce la crescita e aumenta la vulnerabilità alle malattie. Verificate che la lama sia in buone condizioni e che la costa sia intatta; fate riferimento a Controllo e affilatura della lama.
Verificate che gli alloggiamenti di taglio siano in buono stato. Raddrizzate i componenti nell'alloggiamento che si sono eventualmente piegati, per mantenere la corretta luce fra la punta della lama e l'alloggiamento. Assicuratevi che tutti i rulli e i giunti articolati non presentino gioco per evitare danni al tappeto erboso o un aspetto dopo il taglio di scarsa qualità.
Dopo la tosatura, lavate accuratamente la macchina con un tubo di gomma da giardino, senza ugello, in modo da evitare la contaminazione e danni alle guarnizioni e ai cuscinetti causati da una pressione eccessiva dell'acqua. Verificate che il radiatore ed il radiatore dell'olio siano esenti da morchia e sfalcio. Terminata la pulizia, ispezionate la macchina per accertare che non vi siano perdite di fluido idraulico, danni o usura dei componenti idraulici o meccanici e controllate l'affilatura delle lame degli apparati di taglio.
Spegnete il motore, togliete la chiave e attendete che tutte le parti in movimento si arrestino prima di abbandonare la posizione dell'operatore. Lasciate raffreddare la macchina prima di eseguire interventi di regolazione, manutenzione, pulizia o prima del rimessaggio.
Per contribuire a ridurre il rischio di incendi, accertatevi che gli apparati di taglio, gli scarichi, le griglie di raffreddamento e il vano motore non presentino accumuli di erba o detriti. Pulite eventuali fuoriuscite di olio o carburante.
Se gli apparati di taglio sono in posizione di trasferimento, utilizzate il blocco meccanico positivo (se disponibile) prima di lasciare la macchina incustodita.
Lasciate raffreddare il motore prima di riporre la macchina in un ambiente chiuso.
Togliete la chiave (se in dotazione) e interrompete l'erogazione di carburante prima di rimessare o trainare la macchina.
Non depositate mai la macchina o la tanica del carburante in presenza di fiamme libere, scintille o spie (ad es. vicino a uno scaldabagno o altre apparecchiature).
Effettuate la manutenzione e la pulizia della/e cintura/e di sicurezza, se necessario
Togliete la chiave e interrompete l’erogazione di carburante (se presente) prima di rimessare o trasportare la macchina.
Prestate la massima attenzione durante il carico e lo scarico della macchina da un rimorchio o da un autocarro.
Utilizzate rampe a tutta larghezza per caricare la macchina su un rimorchio o un autocarro.
Fissate la macchina in sicurezza.
In caso di emergenza, potete spostare la macchina in avanti azionando la valvola di bypass situata nella pompa idraulica a portata variabile e spingendo o trainando la macchina.
Important: Non spingete né trainate la macchina a velocità superiori a 3-4,8 km/h. Se spingete o trainate a velocità maggiore, la trasmissione interna può danneggiarsi.Le valvole di bypass devono essere aperte e il freno dev'essere rilasciato ogni volta che spingete o trainate la macchina.
Sbloccate la base del sedile e inclinate il sedile, aprendolo.
Individuate la posizione delle valvole di bypass sotto al sedile e sopra all'idrostato (Figura 37).

Allentate le valvole di tre giri per lasciare bypassare l'olio all'interno.
Note: Dal momento che il fluido viene bypassato, potete spostare lentamente la macchina senza danneggiare la trasmissione.
Individuate la posizione del collettore di rilascio del freno vicino alla ruota anteriore destra e dietro al serbatoio idraulico (Figura 38).

Inserite l'estremità lunga di una chiave a cricchetto o di un oggetto simile, tenete premuta la manopola nera contro il collettore e pompate il collettore tre volte. Non appena viene rilevata una resistenza significativa durante il pompaggio, il freno viene rilasciato.
Important: Non pompate il collettore una volta che il pompaggio presenta una certa resistenza. Pompare il collettore in modo eccessivo può causare dei danni.
Note: Una volta creata della pressione nel collettore, il freno sarà rilasciato per circa 60 minuti. Se necessario, dopo 60 minuti è possibile rilasciare nuovamente il freno pompando il collettore.
Spingete o trainate la macchina.
Innestate il freno tirando la manopola nera o avviando il motore.
Note: Il freno si reimposta automaticamente quando avviate il motore, senza che sia necessario tirare la manopola nera.
Chiudete le valvole di bypass. Serrate le valvole a 11 N∙m.
Important: Assicuratevi che le valvole di bypass siano chiuse prima di utilizzare la macchina. Se fate girare il motore con la valvola di bypass aperta, la trasmissione si surriscalda.
Note: Stabilite i lati sinistro e destro della macchina rispetto alla normale posizione di guida.
Prima di abbandonare la posizione dell'operatore, effettuate le seguenti operazioni:
Parcheggiate la macchina su terreno pianeggiante.
Disinnestate la presa di forza e abbassate al suolo l'attrezzatura.
Inserite il freno di stazionamento.
Spegnete il motore e togliete la chiave.
Attendete che ogni movimento si arresti.
Indossate indumenti appropriati, incluse protezioni per gli occhi, pantaloni lunghi e calzature antiscivolo robuste. Tenete mani, piedi, indumenti, gioielli e capelli lunghi lontano dalle parti in movimento.
Se lasciate la chiave nell'interruttore, qualcuno potrebbe accidentalmente avviare il motore e ferire gravemente voi o altre persone. Togliete la chiave dall'interruttore prima di eseguire qualunque intervento di manutenzione.
Lasciate che i componenti della macchina si raffreddino prima di eseguire la manutenzione.
Se gli apparati di taglio sono in posizione di trasferimento, utilizzate il blocco meccanico positivo (se in dotazione) prima di lasciare la macchina incustodita.
Se possibile, non effettuate la manutenzione con il motore in funzione. Tenetevi a distanza dalle parti in movimento.
Azionate il motore solo in aree ben ventilate. I gas di scarico possono contenere monossido di carbonio, che è letale se inalato.
Sostenete la macchina con cavalletti metallici ogni qualvolta lavorate sotto la macchina.
Scaricate con cautela la pressione dai componenti che hanno accumulato energia.
Mantenete tutte le parti della macchina in buone condizioni di funzionamento e tutti i componenti adeguatamente serrati, soprattutto la bulloneria degli accessori delle lame.
Sostituite tutti gli adesivi consumati o danneggiati.
Per garantire prestazioni sicure e ottimali della macchina, adoperate solo ricambi Toro originali. L'uso di ricambi di altri costruttori può essere pericoloso e può annullare la garanzia del prodotto.
| Cadenza di manutenzione | Procedura di manutenzione |
|---|---|
| Dopo la prima ora |
|
| Dopo le prime 10 ore |
|
| Prima di ogni utilizzo o quotidianamente |
|
| Ogni 50 ore |
|
| Ogni 100 ore |
|
| Ogni 200 ore |
|
| Ogni 250 ore |
|
| Ogni 400 ore |
|
| Ogni 800 ore |
|
| Ogni 1000 ore |
|
| Ogni 2000 ore |
|
| Ogni 3000 ore |
|
| Prima del rimessaggio |
|
| Ogni 2 anni |
|
Important: Se state eseguendo la manutenzione della macchina e il motore funziona con un condotto di estrazione dello scarico, impostate la funzione di inibizione della rigenerazione su ON; fate riferimento a Impostazione dell’inibizione della rigenerazione.
Fotocopiate questa pagina e utilizzatela quando opportuno.
| Punto di verifica per la manutenzione | Per la settimana di: | ||||||
|---|---|---|---|---|---|---|---|
| Lun | Mar | Mer | Gio | Ven | Sab | Dom | |
| Controllate il funzionamento degli interruttori a interblocchi di sicurezza. | |||||||
| Verificate il funzionamento dei freni. | |||||||
| Controllate il livello dell'olio motore e del carburante. | |||||||
| Spurgate il separatore di condensa/carburante. | |||||||
| Controllate l'indicatore di ostruzione del filtro dell'aria. | |||||||
| Verificate che non vi siano detriti nel radiatore o nella griglia. | |||||||
| Controllate i rumori insoliti del motore.1 | |||||||
| Controllate eventuali rumori insoliti di funzionamento. | |||||||
| Controllate il livello del fluido dell'impianto idraulico. | |||||||
| Controllate l'indicatore del filtro idraulico. 2 | |||||||
| Verificate che i tubi idraulici flessibili non siano danneggiati. | |||||||
| Verificate che non ci siano perdite di liquido. | |||||||
| Controllate la pressione degli pneumatici. | |||||||
| Verificate il funzionamento degli strumenti. | |||||||
| Controllate la regolazione dell'altezza di taglio | |||||||
| Controllate le condizioni delle lame | |||||||
| Controllate tutti i raccordi di ingrassaggio per la lubrificazione 3 | |||||||
| Ritoccate la vernice danneggiata. | |||||||
|
1. Controllate la candela a incandescenza e gli ugelli dell'iniettore in caso di avviamento difficile, fumo eccessivo o funzionamento anomalo del motore. 2. Controllate a motore acceso e con l'olio a temperatura di servizio 3. Immediatamente dopo ogni lavaggio, a prescindere dalla cadenza indicata |
|||||||
| Ispezione eseguita da: | ||
| Art. | Data | Informazioni |
| 1 | ||
| 2 | ||
| 3 | ||
| 4 | ||
| 5 | ||
| 6 | ||
| 7 | ||
| 8 | ||
Note: Per scaricare una copia gratuita dello schema elettrico o idraulico visitate il sito www.Toro.com e cercate la vostra macchina al link Manuali sulla home page.
| Cadenza di manutenzione | Procedura di manutenzione |
|---|---|
| Prima di ogni utilizzo o quotidianamente |
|
Parcheggiate la macchina su terreno pianeggiante.
Inserite il freno di stazionamento.
Disinnestate la PDF.
Spostate il comando di sollevamento/tosatura inferiore in posizione di TOSATURA.
Spegnete il motore e togliete la chiave.
Attendete che tutte le parti si arrestino.
Lasciate raffreddare il motore.
Fate ruotare leggermente il sedile e sollevate l’asta di sostegno anteriore estraendola dall’intaccatura dell’asola di supporto del sedile.
Abbassate con attenzione il sedile fino a quando non si blocca in modo sicuro.
Note: Sostenete la macchina con cavalletti metallici ogni qualvolta lavorate sotto la macchina.
Utilizzate le seguenti parti della macchina come punti di sollevamento:

Anteriore - le staffe del martinetto del tubo dell’asse anteriore (Figura 40).
Posteriore - l’asse del tubo posteriore.
| Cadenza di manutenzione | Procedura di manutenzione |
|---|---|
| Ogni 50 ore |
|
Se azionate la macchina in condizioni normali, utilizzate grasso a base di litio n. 2 per lubrificare tutti i cuscinetti e le boccole all'intervallo di manutenzione specificato. Lubrificate cuscinetti e boccole immediatamente dopo ogni lavaggio, a prescindere dalla cadenza indicata.
Posizione e numero di raccordi per ingrassaggio:
Giunto ad U del semiasse fra motore e pompa (3)–Figura 41

Cilindri del braccio di sollevamento degli apparati di taglio (2 ciascuno) – Figura 42

Perni orientabili del braccio di sollevamento (1 ciascuno) – Figura 42
Perno orientabile del telaio portante degli apparati di taglio (1 ciascuno) - Figura 43

Albero di articolazione del braccio di sollevamento (1 ciascuno) – Figura 44

Perno sterzante del ponte (1)–Figura 45

Giunti a sfera del cilindro di sterzo (2) e assale posteriore (1) – Figura 46

Cuscinetti dell'asse del mandrino dell'apparato di taglio (2 per apparato di taglio) – Figura 47
Note: Potete utilizzare qualsiasi raccordo, in base a quale è più accessibile. Pompate il grasso nel raccordo finché non fuoriesce leggermente dalla base della sede del mandrino (sotto l’apparato di taglio).

Cuscinetti a rulli posteriori (2 per apparato di taglio) – Figura 48

Note: Assicuratevi che la scanalatura di ingrassaggio in ogni supporto del rullo sia allineata con il foro di ingrassaggio di ogni estremità dell'albero del rullo. Per rendere più semplice l'allineamento di scanalatura e foro è presente un apposito segno su 1 estremità dell'albero del rullo.
Prima di controllare l'olio o di rabboccare la coppa, spegnete il motore e togliete la chiave.
Non cambiate la velocità del regolatore e non utilizzate il motore a velocità eccessiva.
| Cadenza di manutenzione | Procedura di manutenzione |
|---|---|
| Ogni 400 ore |
|
Verificate che l'intero sistema di presa d'aria non sia danneggiato, non accusi perdite e che le fascette stringitubo non siano allentate. Non usate filtri dell'aria avariati.
Effettuate la manutenzione del filtro dell'aria quando l'indicatore lo richiede. Sostituendo il filtro dell'aria prima del necessario si aumenta il rischio che la morchia penetri nel motore quando si toglie il filtro.
Important: Assicuratevi che il coperchio sia correttamente in sede, che sia sigillato sul corpo del filtro e che la valvola di uscita in gomma sia disposta in giù, tra le ore 5 e le ore 7 vista dall'estremità.


L'olio motore premium Toro è disponibile presso il vostro distributore Toro autorizzato nei gradi di viscosità 15W-40 o 10W-30.
Utilizzate olio motore di alta qualità e basso contenuto di cenere che soddisfi o superi le seguenti specifiche:
Categoria API Service CJ-4 o superiori
Categoria ACEA Service E6
Categoria JASO Service DH-2
Important: L'utilizzo di olio motore diverso da API CJ-4 o superiori, ACEA E6 o JASO DH-2 può causare l'otturazione del filtro antiparticolato o danni al motore.
Utilizzate il seguente grado di viscosità dell'olio motore:
Olio di preferenza: SAE 15W-40 (sopra -18 ° F)
Olio alternativo: SAE 10W-30 o 5W-30 (tutte le temperature)
| Cadenza di manutenzione | Procedura di manutenzione |
|---|---|
| Prima di ogni utilizzo o quotidianamente |
|
Al momento della fornitura la coppa del motore contiene dell'olio, il cui livello deve tuttavia essere controllato prima e dopo il primo avvio del motore.
Important: Controllate l'olio motore quotidianamente. Se il livello dell'olio è superiore alla tacca di pieno sull'asta di livello, l'olio motore potrebbe essere diluito con carburante;Se il livello dell'olio motore è superiore alla tacca di pieno, occorre cambiare l'olio motore.
Il momento migliore per controllare l'olio del motore è a motore freddo prima che venga avviato per la giornata. Se è già stato avviato, lasciate che l'olio ritorni nel pozzetto per almeno 10 minuti prima di controllarlo. Se il livello dell'olio è pari o sotto la tacca di aggiunta sull'asta, aggiungere olio fino a portarne il livello alla tacca di pieno. Non riempite eccessivamente il motore d'olio
Important: Tenete il livello dell'olio motore tra i limiti superiore e inferiore sull'asta di livello; il motore potrebbe subire guasti se lo lasciate in funzione con troppo o troppo poco olio.
Parcheggiate la macchina su terreno pianeggiante.
Controllate il livello dell'olio motore (Figura 50).


Note: Quando utilizzate un olio differente dal precedente, drenate completamente l'olio usato dalla coppa prima di aggiungere quello nuovo.
Circa 5,2 litri con il filtro.
| Cadenza di manutenzione | Procedura di manutenzione |
|---|---|
| Ogni 250 ore |
|
Avviate il motore e lasciatelo in moto per circa 5 minuti per far riscaldare l'olio.
Prima di scendere dalla postazione di guida, con la macchina parcheggiata su una superficie pianeggiante, spegnete il motore, togliete la chiave di accensione e attendete che si fermino tutte le parti in movimento.
Sostituite l’olio motore e il filtro (Figura 51).


Rabboccate la coppa con olio adatto.
Il presente Manuale dell'operatore contiene informazioni più dettagliate relative alla manutenzione del carburante e dell'impianto del carburante rispetto al Manuale del proprietario del motore Yanmar®, contenente solo informazioni generali relative al carburante e alla manutenzione del carburante.
È importante comprendere l'importanza della manutenzione dell'impianto del carburante, della conservazione del carburante e della qualità del carburante per evitare tempi di inattività e interventi importanti di riparazione del motore.
L'impianto del carburante presenta tolleranze estremamente ridotte per via dei requisiti relativi alle emissioni e ai controlli. La qualità e la pulizia del gasolio sono più importanti per la longevità dei moderni sistemi di iniezione di carburante common rail ad alta pressione (HPCR) per i motori a gasolio.
Important: Acqua o aria nell'impianto del carburante danneggiano il motore! Non date per scontato che il carburante nuovo sia pulito. Accertatevi che il vostro carburante provenga da un fornitore di qualità, conservate il carburante in modo corretto e utilizzatelo entro 180 giorni.
Important: Nel caso in cui non seguiate le procedure per la sostituzione del filtro carburante, la manutenzione dell'impianto del carburante e la conservazione del carburante, l'impianto del carburante potrebbe guastarsi prematuramente. Effettuate tutte le operazioni di manutenzione dell'impianto del carburante secondo gli intervalli specificati o qualora il carburante sia contaminato o di bassa qualità.
Una corretta conservazione del carburante è fondamentale per mantenere il motore in buono stato. Una corretta manutenzione dei serbatoi di stoccaggio del carburante spesso è sottovalutata e causa la contaminazione del carburante erogato alla macchina.
Acquisite solo il carburante sufficiente per il consumo entro 180 giorni. Non utilizzate carburante stoccato per oltre 180 giorni. Ciò aiuta a ridurre la presenza di acqua e altri agenti contaminanti all'interno del carburante.
Se non rimuovete l'acqua dal serbatoio di stoccaggio o dal serbatoio del carburante della macchina, potrebbe prodursi ruggine o contaminazione nel serbatoio di stoccaggio e nei componenti dell'impianto del carburante. La fanghiglia nel serbatoio formatasi a causa di muffa, batteri o funghi restringe il flusso e ostruisce il filtro e gli iniettori del carburante.
Ispezionate regolarmente il serbatoio di stoccaggio del carburante e il serbatoio del carburante della macchina per monitorare la qualità del carburante nel serbatoio.
Accertatevi che il carburante provenga da un fornitore di qualità.
Se individuate dell'acqua o degli agenti contaminanti all'interno del serbatoio di stoccaggio del carburante o del serbatoio della macchina, risolvete il problema assieme al vostro fornitore di carburante ed effettuate tutte le operazioni di manutenzione dell'impianto del carburante.
Non stoccate gasolio in serbatoi o taniche realizzati con componenti placcati in zinco.

| Cadenza di manutenzione | Procedura di manutenzione |
|---|---|
| Prima di ogni utilizzo o quotidianamente |
|
Spurgate l'acqua dal separatore carburante/acqua come illustrato nella Figura 53.

Innescate il filtro e le linee alla pompa ad alta pressione; fate riferimento a Innesco dell'impianto del carburante.
| Cadenza di manutenzione | Procedura di manutenzione |
|---|---|
| Ogni 400 ore |
|
Sostituite il filtro come illustrato nella Figura 54.

Innescate il filtro e le linee alla pompa ad alta pressione; fate riferimento a Innesco dell'impianto del carburante.
| Cadenza di manutenzione | Procedura di manutenzione |
|---|---|
| Ogni 400 ore |
|
Pulite le superfici circostanti la testa del filtro del carburante (Figura 55).

Togliete il filtro e pulite la superficie di montaggio della testa del filtro (Figura 55).
Note: Utilizzate un panno pulito per ripulire la testa del filtro.
Lubrificate la guarnizione del filtro con olio motore di lubrificazione pulito; fate riferimento al manuale d'uso del motore per ulteriori informazioni.
Montate a mano la scatola del filtro asciutto finché la guarnizione non tocca la testa del filtro, quindi ruotatela di un altro mezzo giro.
Innescate il filtro e le linee alla pompa ad alta pressione; fate riferimento a Innesco dell'impianto del carburante.
Avviate il motore e ispezionate nuovamente per escludere fuoriuscite attorno alla testa del filtro.
| Cadenza di manutenzione | Procedura di manutenzione |
|---|---|
| Ogni 800 ore |
|
| Prima del rimessaggio |
|
Oltre all'intervallo di manutenzione indicato, eseguite questa operazione se l'impianto di alimentazione viene contaminato o se la macchina non sarà utilizzata per un lungo periodo. Utilizzate del carburante pulito per lavare il serbatoio.
Innescate il filtro e le linee alla pompa ad alta pressione; fate riferimento a Innesco dell'impianto del carburante.
| Cadenza di manutenzione | Procedura di manutenzione |
|---|---|
| Ogni 400 ore |
|
Controllate i tubi di alimentazione per accertarvi dell'assenza di deterioramenti, danni o raccordi allentati.
Sostituite eventuali serratubi o tubi danneggiati.
Note: Innescate l'impianto del carburante nel caso in cui sostituiate dei tubi di alimentazione; fate riferimento a Innesco dell'impianto del carburante.
| Cadenza di manutenzione | Procedura di manutenzione |
|---|---|
| Ogni 3000 ore |
|
Fate riferimento alla sezione Motore nel Manuale di manutenzione per le informazioni su smontaggio e montaggio del catalizzatore di ossidazione diesel e del filtro antifuliggine del FAP.
Contattate il vostro distributore Toro autorizzato per i ricambi o la manutenzione del catalizzatore di ossidazione diesel e il filtro antifuliggine.
Contattate il vostro distributore Toro autorizzato per resettare l'ECU del motore dopo l'installazione di un FAP pulito.
Innescate l’impianto del carburante a seguito di queste situazioni:
Sostituzione del filtro del carburante.
Spurgo del separatore di condensa dopo ciascun utilizzo o giornalmente.
Esaurimento del carburante.
Sostituzione di un tubo del carburante o apertura dell'impianto del carburante per un qualsiasi motivo.
Per innescare l’impianto del carburante eseguite i passaggi seguenti:
Important: Non utilizzate il motorino di avviamento del motore per innestare il motore per l'innesco dell'impianto di carburante.
Verificate che il serbatoio contenga carburante.
Effettuate i seguenti passaggi per innescare il filtro e le linee alla pompa ad alta pressione per evitare usura o danni alla pompa:
Girate la chiave in posizione di ACCENSIONE per 15-20 secondi.
Girate la chiave in posizione di SPEGNIMENTO per 30-40 secondi.
Note: Questo consente di spegnere l’ECU.
Girate la chiave in posizione di ACCENSIONE per 15-20 secondi.
Ispezionate per escludere fuoriuscite attorno al filtro e ai flessibili.
Avviate il motore e verificate che non ci siano fuoriuscite.
Scollegate la batteria prima di riparare la macchina. Scollegate prima il morsetto negativo, poi quello positivo. Collegate prima il morsetto positivo, poi quello negativo.
Caricate la batteria in un'area aperta e ben ventilata, lontano da fiamme e scintille. Togliete la spina del caricabatterie prima di collegare o scollegare la batteria. Indossate indumenti di protezione e adoperare utensili isolati.
| Cadenza di manutenzione | Procedura di manutenzione |
|---|---|
| Ogni 50 ore |
|
Eseguite le seguenti operazioni per la manutenzione della batteria:
Controllate le condizioni della batteria
Pulite la batteria (se necessario)
Note: Per pulire la batteria, lavate la scatola completa con una soluzione di bicarbonato di sodio e acqua. Risciacquate con acqua pulita.
Controllate gli attacchi del cavo della batteria e, per impedire la corrosione, ricoprite i morsetti della batteria e i connettori dei cavi con grasso di rivestimento Grafo 112X oppure vaselina.
Important: Prima di effettuare interventi di saldatura sulla macchina, scollegate il cavo negativo dalla batteria per evitare di danneggiare l’impianto elettrico. Inoltre, dovete scollegare il motore, l'InfoCenter e i controller della macchina prima di effettuare operazioni di saldatura sulla macchina.
Il portafusibili (Figura 57) si trova sotto il sedile. Fate riferimento alla Figura 59 per una descrizione di ciascun fusibile.
Sbloccate la base del sedile, inclinate la base del sedile aprendola e sostenetela con le aste di sostegno.

Sostituite il fusibile aperto con uno dello stesso tipo e amperaggio.

Ruotate il sedile e la base in posizione chiusa e bloccate la base.


Durante la ricarica della batteria, si sviluppano gas esplosivi.
Non fumate nelle adiacenze della batteria e tenete scintille e fiamme lontano dalla batteria.
Important: La batteria deve essere completamente carica. Questo aspetto è particolarmente importante per non danneggiare la batteria qualora la temperatura scenda sotto 0 ℃.
Pulite la parte esterna della scatola della batteria e i poli della batteria.
Note: Collegate i cavi di ricarica ai poli della batteria prima di collegare il caricabatterie all'alimentazione.
Osservate la batteria e individuate i poli positivo e negativo.
Collegate il cavo di ricarica positivo al polo positivo della batteria (Figura 60).

Collegate il cavo di ricarica negativo al polo negativo della batteria (Figura 60).
Collegate il caricabatteria all'alimentazione elettrica e caricate la batteria.
Important: Non sovraccaricatela.
Quando la batteria è completamente carica, staccate il caricabatterie dalla presa elettrica e scollegate i cavi di ricarica dai poli della batteria (Figura 60).
| Cadenza di manutenzione | Procedura di manutenzione |
|---|---|
| Dopo la prima ora |
|
| Dopo le prime 10 ore |
|
| Ogni 250 ore |
|
Serrate i dadi dei mozzi dell'asse anteriore a un valore compreso tra 407 e 542 N·m.
Se la vostra macchina è dotata della funzionalità CrossTrax®, serrate i dadi dei mozzi dell'asse posteriore a un valore compreso tra 366 e 447 N·m.

| Cadenza di manutenzione | Procedura di manutenzione |
|---|---|
| Ogni 800 ore |
|
Girate il volante in modo che le ruote posteriori siano diritte.
Allentate il controdado da ciascun lato del tirante (Figura 62).
Note: La filettatura dell'estremità del tirante con l'intaglio esterno è sinistrorsa.

Fate girare il tirante usando l'intaglio per chiave.
Misurate la distanza davanti e dietro le ruote posteriori all’altezza dell’assale.
Note: La distanza anteriore delle ruote posteriori deve essere inferiore di 6 mm rispetto alla distanza posteriore.
All’occorrenza, ripetete l’operazione.
L'ingestione di refrigerante del motore può causare avvelenamento, per cui tenetelo fuori dalla portata di bambini e animali domestici.
Se viene scaricato refrigerante caldo sotto pressione o si tocca il radiatore o le parti adiacenti calde, possono verificarsi gravi ustioni.
Lasciate sempre raffreddare il motore per almeno 15 minuti prima di rimuovere il tappo del radiatore.
Aprite il tappo del radiatore con uno straccio, agendo lentamente per lasciare fuoriuscire il vapore.
Non usate la macchina se le coperture non sono montate.
Tenete dita, mani e abiti lontano dalla ventola e dalla cinghia di trasmissione quando girano.
Il serbatoio del refrigerante è riempito in fabbrica con una soluzione al 50/50 di acqua e refrigerante a lunga durata a base di glicole etilenico.
Important: Utilizzate solo refrigeranti disponibili in commercio conformi alle specifiche elencate nella tabella Standard per refrigeranti a lunga durata.Non utilizzate refrigerante tradizionale (verde) con tecnologia ad acidi inorganici (IAT) nella vostra macchina. Non miscelate refrigerante tradizionale con refrigerante a lunga durata.
|
Tipologia di refrigerante con glicole etilenico |
Tipologia con inibitore della corrosione |
|
Antigelo a lunga durata |
Tecnologia con acidi organici (OAT) |
|
Important: Non basatevi sul colore del refrigerante per individuare la differenza tra refrigerante tradizionale (verde) con tecnologia agli acidi inorganici (IAT) e refrigerante a lunga durata.I produttori di refrigerante possono colorare il refrigerante a lunga durata in una delle seguenti tinte: rosso, rosa, arancione, giallo, blu, verde acqua, viola e verde. Utilizzate refrigeranti conformi alle specifiche elencate nella tabella Standard per refrigeranti a lunga durata. |
|
|
ATSM Internazionale |
SAE internazionale |
|
D3306 e D4985 |
J1034, J814 e 1941 |
Important: La concentrazione di refrigerante dovrebbe corrispondere a una miscela 50/50 di refrigerante e acqua.
Consiglio: Quando miscelate il refrigerante da un concentrato, utilizzate acqua distillata
Scelta consigliata: Se non disponete di acqua distillata, utilizzate un refrigerante premiscelato invece di un concentrato.
Requisito minimo: Se non disponete di acqua distillata e di refrigerante premiscelato, miscelate refrigerante concentrato con acqua potabile pulita.
| Cadenza di manutenzione | Procedura di manutenzione |
|---|---|
| Prima di ogni utilizzo o quotidianamente |
|
Il sistema di raffreddamento contiene una soluzione di 50% acqua e 50% antigelo glicole etilenico permanente. L'impianto di raffreddamento ha una capacità di 9,5 litri.
Controllate il livello di refrigerante nel serbatoio di espansione (Figura 63).
Note: Il livello di refrigerante deve essere compreso tra i segni previsti sul lato del serbatoio.

Se il livello del refrigerante è basso, togliete il tappo dal serbatoio di espansione e rabboccate. Non riempite troppo.
Montate il tappo del serbatoio di espansione.
| Cadenza di manutenzione | Procedura di manutenzione |
|---|---|
| Prima di ogni utilizzo o quotidianamente |
|
| Ogni 100 ore |
|
| Ogni 2 anni |
|
Eliminate ogni giorno i detriti dalla griglia posteriore e dal radiatore/refrigeratore dell'olio (con maggiore frequenza in ambienti poco puliti).
Girate la chiave nell'interruttore di accensione in posizione di SPEGNIMENTO e togliete la chiave.
Pulite accuratamente tutti i detriti attorno al motore.
Sbloccate il morsetto e aprite la griglia posteriore (Figura 64).

Pulite accuratamente entrambi i lati del radiatore e del refrigeratore dell'olio (Figura 65) utilizzando aria compressa.

Chiudete la griglia e fissate con il fermo.
| Cadenza di manutenzione | Procedura di manutenzione |
|---|---|
| Dopo le prime 10 ore |
|
| Ogni 100 ore |
|
Note: Per la tensione corretta della cinghia, consentite uno scostamento di 10 mm quando viene applicata sulla cinghia una forza pari a 44 N a metà tra le pulegge.
Se l'inflessione non è di 10 mm, allentate i bulloni di fissaggio dell'alternatore (Figura 66).

Aumentate o riducete la tensione della cinghia dell'alternatore e serrate i bulloni.
Controllate di nuovo l’inflessione della cinghia per accertare che sia esatta.
Se il fluido penetra nella pelle, rivolgetevi immediatamente a un medico. Il fluido idraulico penetrato sotto la pelle deve essere asportato da un medico entro poche ore.
Prima di mettere l'impianto sotto pressione, accertatevi che tutti i circuiti e i tubi dell'olio idraulico siano in buone condizioni e che tutte le connessioni e i raccordi idraulici siano serrati saldamente.
Tenete corpo e mani lontano da perdite filiformi o da ugelli che emettono fluido idraulico pressurizzato.
Usate carta o cartone per individuare eventuali perdite di fluido idraulico.
Rilasciate in maniera sicura la pressione dall'impianto idraulico prima di eseguire qualunque intervento sull'impianto.
Il serbatoio viene rifornito in fabbrica con liquido idraulico di qualità elevata. Controllate il livello del fluido idraulico prima di avviare il motore per la prima volta e in seguito ogni giorno; fate riferimento a Controllo del livello del fluido idraulico.
Fluido idraulico consigliato: Toro PX Extended Life Hydraulic Fluid (fluido idraulico per prolungare la durata); disponibile in fustini da 19 litri o in contenitori da 208 litri.
Note: Una macchina che utilizza il fluido di ricambio raccomandato richiede cambi meno frequenti di fluido e filtro.
Fluidi idraulici alternativi: qualora il fluido Toro PX Extended Life non fosse disponibile, si potranno utilizzare altri fluidi idraulici di tipo tradizionale a base di petrolio con specifiche che rientrino nell'intervallo indicato per tutte le seguenti proprietà materiali e siano conformi agli standard di settore. Non usate fluidi sintetici. Il distributore di lubrificanti vi consiglierà sulla scelta di un prodotto soddisfacente.
Note: Toro non si assume alcuna responsabilità per danni causati da sostituzioni non idonee, pertanto si raccomanda di utilizzare solo prodotti di costruttori di buona reputazione, che rispondano delle proprie raccomandazioni.
| Proprietà materiali: | ||
| Viscosità, ASTM D445 | cSt a 40 °C da 44 a 48 | |
| Indice di viscosità ASTM D2270 | 140 o superiore | |
| Punto di scorrimento, ASTM D97 | da -37 °C a -45 °C | |
| Caratteristiche industriali: | Eaton Vickers 694 (I-286-S, M-2950-S/35VQ25 o M-2952-S) | |
Note: Molti fluidi idraulici sono praticamente incolori, e rendono difficile il rilevamento di fuoriuscite. Un additivo con colorante rosso per il fluido idraulico è disponibile in flaconi da 20 ml. Una confezione è sufficiente per 15–22 litri di fluido idraulico. Per ottenerlo, ordinate il n. cat. 44-2500 presso il Distributore Toro autorizzato di zona.
Important: Toro Premium Synthetic Biodegradable Hydraulic Fluid è l'unico fluido biodegradabile sintetico approvato da Toro. Questo fluido è compatibile con gli elastomeri utilizzati negli impianti idraulici Toro ed è adatto ad una vasta gamma di temperature. Questo fluido è compatibile con oli minerali tradizionali; tuttavia, per ottenere la massima biodegradabilità e i migliori risultati, occorre lavare accuratamente l’impianto idraulico eliminando il fluido tradizionale. L'olio è disponibile in fustini da 19 litri o in contenitori da 208 litri del vostro distributore Toro autorizzato.
| Cadenza di manutenzione | Procedura di manutenzione |
|---|---|
| Prima di ogni utilizzo o quotidianamente |
|
| Ogni 200 ore |
|
Posizionate la macchina su una superficie pianeggiante, abbassate i piatti di taglio, girate la chiave nell'interruttore in posizione di SPEGNIMENTO.
Controllate il livello del fluido idraulico (Figura 67).


| Cadenza di manutenzione | Procedura di manutenzione |
|---|---|
| Ogni 800 ore |
|
| Ogni 2000 ore |
|
| Ogni 2 anni |
|
Capacità del fluido idraulico: 56,7 litri
Nel caso in cui il fluido sia contaminato, rivolgetevi al vostro distributore Toro, che provvederà al lavaggio dell'impianto. L’olio contaminato ha un aspetto lattiginoso o nero a confronto dell’olio pulito.
Girate la chiave nell'interruttore in posizione di SPEGNIMENTO e sollevate il cofano.
Collocate una bacinella di grandi dimensioni sotto il raccordo previsto sulla base del serbatoio del fluido idraulico (Figura 68).

Scollegate il flessibile dalla base del raccordo e lasciate fuoriuscire il fluido idraulico nella bacinella.
Quando il fluido idraulico sarà completamente scaricato, montate il flessibile.
Riempite il serbatoio di fluido idraulico (Figura 67).
Important: Usate soltanto i fluidi idraulici specificati. Altri fluidi possono danneggiare l'impianto.
Montate il tappo sul serbatoio.
Ruotate la chiave in posizione di ACCENSIONE per avviare il motore, attivate tutti i comandi idraulici per distribuire il fluido attraverso l’impianto e verificate l'assenza di perdite.
Girate la chiave nell'interruttore in posizione di SPEGNIMENTO.
Controllate il livello del fluido idraulico e rabboccate fino a raggiungere la tacca “Full” (pieno) e quella “Add” (aggiunta) sull'asta di livello.
Important: Non riempite troppo.
| Cadenza di manutenzione | Procedura di manutenzione |
|---|---|
| Ogni 800 ore |
|
| Ogni 1000 ore |
|
L'impianto idraulico è provvisto di indicatore della cadenza di manutenzione (Figura 69). A motore acceso, osservate l'indicatore, che deve trovarsi nella zona verde. Quando l'indicatore si trova nella zona rossa, cambiate i filtri idraulici.

Important: L’uso di altri filtri può invalidare la garanzia di alcuni componenti.
Posizionate la macchina su una superficie pianeggiante, abbassate i piatti di taglio, girate la chiave nell'interruttore in posizione di SPEGNIMENTO, inserite il freno di stazionamento e rimuovete la chiave.
Sostituite entrambi i filtri idraulici (Figura 70)


Girate la chiave in posizione di ACCENSIONE, avviate il motore e lasciatelo in funzione per circa 2 minuti per spurgare l'aria dall'impianto.
Girate la chiave nell'interruttore in posizione di SPEGNIMENTO e verificate l'assenza di perdite.
| Cadenza di manutenzione | Procedura di manutenzione |
|---|---|
| Prima di ogni utilizzo o quotidianamente |
|
| Ogni 2 anni |
|
Riattate completamente prima di usare la macchina.
Se il fluido idraulico fuoriesce sotto pressione, può penetrare la pelle e causare infortuni.
Se il fluido viene iniettato nella pelle, rivolgetevi immediatamente ad un medico.
Verificate che tutti i tubi e i flessibili dell'olio idraulico siano in buone condizioni e che tutte le connessioni e i raccordi idraulici siano saldamente serrati, prima di mettere l'impianto sotto pressione.
Tenete corpo e mani lontano da perdite filiformi o da ugelli che emettono fluido idraulico pressurizzato.
Usate carta o cartone per individuare eventuali perdite di fluido idraulico.
Rilasciate in maniera sicura la pressione dall'impianto idraulico prima di eseguire qualunque intervento sull'impianto.
I fori di controllo dell’impianto idraulico servono per verificare la pressione dei circuiti idraulici. Contattate il vostro distributore Toro autorizzato per ricevere assistenza.
Utilizzate la seguente lista per identificare e descrivere le varie funzioni dei solenoidi nel collettore idraulico. Ciascun solenoide deve essere eccitato per attivare la funzione.
| Solenoide | Funzione |
|---|---|
| PRV2 | Circuito apparato di taglio anteriore |
| PRV1 | Circuito apparato di taglio posteriore |
| PRV | Sollevamento/abbassamento apparati di taglio |
| S1 | Abbassamento apparati di taglio |
| S2 | Abbassamento apparati di taglio |
Posizionate la macchina su una superficie pianeggiante, abbassate gli apparati di taglio a terra, girate la chiave nell'interruttore in posizione di SPEGNIMENTO e inserite il freno di stazionamento.
Scollegate e staccate il motore idraulico dall’apparato di taglio (Figura 71). Coprite la parte superiore del fusello per impedire che venga contaminato.

Togliete l’acciarino che fissa il telaio portante del piatto di taglio al perno di articolazione del braccio di sollevamento (Figura 72).

Allontanate l'apparato di taglio dal trattorino.
Posizionate la macchina su una superficie pianeggiante, girate la chiave nell'interruttore in posizione di SPEGNIMENTO.
Collocate l'apparato di taglio in posizione, davanti all'unità motrice.
Fate scorrere il telaio portante del piatto di taglio sul perno orientabile del braccio di sollevamento e fissatelo con l'acciarino (Figura 72).
Montate il motore idraulico sul piatto di taglio (Figura 71). Verificate che l’O-ring sia in sede e non sia danneggiato.
Lubrificate il fusello.
Ispezionate il rullo anteriore per verificarne l'eventuale usura, vibrazione eccessiva o grippaggio. Aggiustate o sostituite il rullo o i suoi componenti qualora siano presenti le suddette condizioni.
Rimuovete il bullone di montaggio del rullo (Figura 73).
Inserite il cacciachiodi nell’estremità dell’alloggiamento del rullo, e spingete fuori il cuscinetto opposto picchiettando alternativamente sul lato opposto della pista interna del cuscinetto. Il bordo della pista interna dovrebbe sporgere di 1,5 mm.

Spingete fuori il secondo cuscinetto.
Verificate la presenza di eventuali danni sull'alloggiamento, sui cuscinetti e sul distanziale del cuscinetto del rullo (Figura 73). Sostituite tutti i componenti danneggiati e procedete con il loro montaggio.
Montate il primo cuscinetto premendolo nell'alloggiamento all'interno del rullo (Figura 73). Premete soltanto sulla pista esterna o, in misura uguale, sulla pista interna ed esterna.
Inserite il distanziale (Figura 73).
Montate il secondo cuscinetto premendolo nell'alloggiamento all'interno del rullo (Figura 73). Premete in misura uguale sulla pista interna ed esterna, fino a quando la pista interna non tocca il distanziale.
Montate il gruppo del rullo sul telaio dell’apparato di taglio.
Verificate che lo spazio tra il gruppo del rullo e le relative staffe di montaggio sul telaio dell’apparato di taglio non superi gli 1,5 mm. Se lo spazio supera gli 1,5 mm, montate un numero di rondelle diametro ⅝" sufficiente a ridurlo.
Important: Se si fissa il gruppo del rullo mantenendo una distanza tra questo e le staffe di montaggio maggiore di 1,5 mm, sul cuscinetto si genera un carico laterale che può provocare rapidamente la rottura del cuscinetto stesso
Serrate il bullone di montaggio a 108 N∙m.
Controllate la lama a intervalli regolari, per accertarvi che non sia consumata o danneggiata.
Prestate la massima attenzione quando controllate le lame. Durante gli interventi di manutenzione, avvolgete le lame o indossate guanti adatti allo scopo, prestando molta attenzione. Le lame possono essere solo affilate o sostituite, ma non raddrizzate né saldate.
Su macchine multilama, tenete presente che la rotazione di una lama può provocare la rotazione di altre lame.
Il piatto di taglio rotante è preimpostato in fabbrica all’altezza di taglio di 5 cm, con un angolo di spoglia della lama di 7,9 mm. L’altezza sinistra e destra sono preimpostate con uno scarto di ± 0,7 mm fra di loro.
Il piatto di taglio è in grado di far fronte ad urti della lama senza deformazione dell’alloggiamento. In caso di urti contro corpi solidi, verificate se la lama ha subito danni, e la precisione del piano della lama.
Staccate il motore idraulico dal piatto di taglio, e quest’ultimo dal trattorino.
Utilizzate un paranco (o almeno 2 persone) per collocare il piatto di taglio su un banco piano.
Marcate una estremità della lama con un pennarello o un marcatore. Controllate tutte le altezze utilizzando questa estremità della lama.
Orientate il tagliente dell'estremità marcata della lama sulle ore 12 (esattamente in avanti, nel senso di falciatura) (Figura 74) e misurate l'altezza tra il banco e il tagliente della lama.

Ruotate l'estremità marcata della lama sulle ore 3 e sulle ore 9 (Figura 74) e misurate le rispettive altezze.
Confrontate l'altezza misurata sulle ore 12 con l'impostazione dell'altezza di taglio. Dovrebbe essere compresa entro gli 0,7 mm. Le altezze misurate a ore 3 e a ore 9 dovrebbero essere superiori all'impostazione delle ore 12 di 1,6-6,0 mm e differire tra loro di 1,6-6,0 mm.
Note: Se una qualsiasi di queste misurazioni non soddisfa le specifiche, passate alla fase Regolazione del piano della lama.
Iniziate con la regolazione anteriore (cambiate una staffa per volta).
Togliete la staffa dell’altezza di taglio (anteriore, sinistra o destra) dal telaio del piatto di taglio (Figura 75).
Regolate gli spessori di 1,5 mm e/o 0,7 mm fra il telaio del piatto di taglio e la staffa per ottenere l’impostazione dell’altezza desiderata (Figura 75).

Montate la staffa dell’altezza di taglio sul telaio del piatto di taglio, lasciando gli spessori rimasti sotto la staffa.
Fissate l'insieme bullone a brugola/distanziale e il dado flangiato.
Note: L'insieme bullone a brugola/distanziale è tenuto unito da un adesivo bloccafiletti Loctite per evitare che il distanziale cada dentro il telaio del piatto di taglio.
Verificate l'altezza a ore 12 e regolatela, se necessario.
Stabilite se occorre regolare una o entrambe (destra e sinistra) le staffe dell’altezza di taglio. Se l'altezza del lato ore 3 o del lato ore 9 è maggiore della nuova altezza anteriore di 1,6-6,0 mm, non è necessario regolare l'altezza di tale lato. Regolate l'altezza dell'altro lato in modo tale che differisca da quella del lato conforme di 1,6-6,0 mm.
Regolate le staffe dell'altezza di taglio destra e/o sinistra ripetendo i passi dall'1 al 3.
Fissate i bulloni a testa tonda e i dadi flangiati.
Verificate di nuovo le altezze nelle posizioni a ore 12, 3 e 9.
Sostituite la lama se colpisce un corpo solido, se è sbilanciata o curva. Utilizzate solo lame di ricambio originali Toro per garantire sicurezza e prestazioni ottimali.
Parcheggiate la macchina su terreno pianeggiante, sollevate l’apparato di taglio alla posizione di trasferimento, inserite il freno di stazionamento, spegnete il motore e togliete la chiave.
Note: Bloccate o serrate l’apparato di taglio per impedire che cada accidentalmente.
Afferrate l’estremità della lama con un cencio o un guanto bene imbottito.
Togliete il bullone, la coppa antistrappo e la lama dall’asse del perno (Figura 76).

Montate la lama, la coppa antistrappo e il bullone della lama e serrate quest'ultimo a un valore compreso tra 115 e 149 N∙m.
Important: Perché tagli correttamente, il lato curvo della lama deve essere rivolto verso l'interno dell'apparato di taglio.
Note: 7Dopo avere urtato un corpo estraneo, serrate tutti i dadi della puleggia del mandrino a un valore compreso tra 115 e 149 N·m.
Sollevate l'apparato di taglio nella posizione di trasferimento, girate la chiave nell'interruttore di accensione in posizione di SPEGNIMENTO e innestate il freno di stazionamento.
Bloccate il piatto di taglio per impedire che cada accidentalmente.
Verificate accuratamente i taglienti, con particolare attenzione ai punti d'incontro delle sezioni piatta e curva della lama (Figura 77).
Note: Sabbia e materiali abrasivi possono consumare il metallo che connette le sezioni piatta e curva della lama, per cui si consiglia di controllare la lama prima di usare la macchina.
Se riscontrate segni di usura (Figura 77), sostituite la lama; fate riferimento a Controllo del piano della lama.
Se continuate ad usare la lama usurata, si forma una scanalatura tra la costa e la sezione piatta della lama (Figura 77). Alla fine, un pezzo di lama può staccarsi e venire lanciato dal sottoscocca, con il rischio di ferire gravemente voi o gli astanti.
Controllate la lama ad intervalli regolari, per accertare che non sia consumata o danneggiata.
Se la lama è consumata o danneggiata, sostituitela.

Controllate i taglienti di tutte le lame, e affilateli se fossero ottusi o scheggiati. Affilate soltanto la parte superiore del tagliente e mantenete l’angolo di taglio originale per garantire l’affilatezza (Figura 78).
Se smussato o scheggiato, affilate soltanto la parte superiore del tagliente e mantenete l'angolo di taglio originale (Figura 78).
Note: La lama rimane bilanciata soltanto se viene rimossa una quantità uguale di metallo da entrambi i taglienti.

Per verificare se la lama è diritta e parallela, appoggiatela su un piano orizzontale e controllatene le estremità.
Note: Posizionate le estremità della lama leggermente più basse del centro e il tagliente più basso del calcio. Questa lama effettua tagli di ottima qualità, con un minimo di potenza del motore. Al contrario, se le estremità della lama sono più alte del centro, o se il tagliente è più alto del calcio, la lama è piegata o svergolata, e deve essere sostituita.

Montate la lama con la costa rivolta verso il piatto di taglio, servendovi della coppa antistrappo e del bullone della lama. Serrate il bullone della lama tra 115 e 149 N∙m.
Spegnete il motore, togliete la chiave e attendete che tutte le parti in movimento si arrestino prima di abbandonare la posizione dell'operatore. Lasciate raffreddare la macchina prima di eseguire interventi di regolazione, manutenzione, pulizia o prima del rimessaggio.
Non rimessate la macchina o la tanica del carburante in luoghi in cui siano presenti fiamme aperte, scintille o spie, come uno scaldabagno o altri apparecchi.
Important: Non utilizzate acqua salmastra o rigenerata per pulire la macchina.
Pulite accuratamente il trattorino, gli elementi di taglio e il motore.
Controllate la pressione degli pneumatici. Gonfiate tutti gli pneumatici del trattorino a un valore compreso tra 0,83 e 1,03 bar.
Controllate tutti gli elementi di fissaggio per eventuali allentamenti; all'occorrenza serrateli.
Lubrificate con grasso tutti i raccordi di ingrassaggio e i punti di articolazione. Tergete il lubrificante superfluo.
Carteggiate leggermente e ritoccate le aree verniciate graffiate, scheggiate o arrugginite. Riparate ogni intaccatura nel metallo.
Revisionate la batteria e i cavi come segue:
togliete i morsetti della batteria dai poli;
Note: Scollegate sempre prima il morsetto negativo, per ultimo quello positivo. Collegate sempre prima il morsetto positivo, per ultimo quello negativo.
Pulite la batteria, i morsetti e i poli con una spazzola metallica e una soluzione di bicarbonato di sodio;
per impedire la corrosione, ricoprite i morsetti e i poli della batteria con grasso di rivestimento Grafo 112X (numero cat. 505-47) o vaselina
per impedire la solfatazione di piombo della batteria, caricatela lentamente ogni 60 giorni per 24 ore.
Spurgate l'olio del motore dalla coppa e montate il tappo di spurgo.
Togliete il filtro dell'olio e scartatelo. Montate un nuovo filtro dell'olio.
Riempite la coppa dell'olio con la giusta quantità di olio motore.
Girate la chiave nell'interruttore in posizione di ACCENSIONE, avviate il motore e lasciatelo in funzione al minimo per circa 2 minuti.
Girate la chiave nell'interruttore in posizione di SPEGNIMENTO.
Spurgate tutto il carburante dal serbatoio del carburante, dai tubi di alimentazione e dal filtro del carburante/separatore di condensa.
Lavate il serbatoio del carburante con gasolio nuovo e pulito.
Fissate tutti i raccordi dell'impianto di carburante.
Pulite accuratamente il gruppo filtro dell'aria e revisionatelo.
Sigillate l'entrata del filtro dell'aria e l'uscita di scarico con un nastro resistente agli agenti atmosferici.
Verificate la protezione antigelo, e rabboccate per far fronte alla temperatura minima prevista nella vostra zona.
Se un apparato di taglio rimane staccato dal trattorino per un periodo prolungato, montate in cima all’alberino un tappo per proteggerlo da polvere e acqua.