| Intervalo de assistência | Procedimento de manutenção |
|---|---|
| Em todas as utilizações ou diariamente |
|
Esta máquina é um cortador de relva com transporte de utilizador e lâmina rotativa destinada a ser utilizada por operadores profissionais contratados em aplicações comerciais. Foi principalmente concebida para cortar a relva em parques, campos desportivos e relvados comerciais bem mantidos. Se a máquina for utilizada para um fim diferente da sua utilização prevista, poderá pôr em perigo o utilizador e outras pessoas.
Leia estas informações cuidadosamente para saber como utilizar o produto, como efetuar a sua manutenção de forma adequada, evitar ferimentos pessoais e danos no produto. A utilização correta e segura do produto é da exclusiva responsabilidade do utilizador.
Visite www.Toro.com para mais informações sobre produtos e acessórios, para obter o contacto de um distribuidor ou registar o seu produto.
Sempre que necessitar de assistência, peças genuínas Toro ou informações adicionais, entre em contacto com um representante de assistência autorizado ou com a assistência ao cliente Toro, indicando os números de série e modelo do produto. A Figura 1 mostra onde se encontram os números de série e modelo do produto. Escreva os números no espaço fornecido.
Important: Com o seu dispositivo móvel, pode ler o código QR no autocolante do número de série (se equipado) para aceder à garantia, peças e outras informações do produto.

O símbolo de alerta de segurança (Figura 2) mostrado neste manual e na máquina identifica mensagens de segurança importantes que têm de ser seguidas para evitar acidentes.

O símbolo de alerta de segurança surge acima de informações que o alertam para ações ou situações inseguras e será seguido pela palavra PERIGO, AVISO ou CUIDADO.
PERIGO indica uma situação de risco eminente que, se não for evitada, irá resultar em morte ou ferimento grave.
AVISO indica uma situação de risco potencial que, se não for evitada, pode resultar em morte ou ferimento grave.
CUIDADO indica uma situação de risco potencial que, se não for evitada, poderá resultar em ferimento leve ou moderado.
Neste manual são ainda utilizados dois termos para identificar informações importantes. A palavra Importante chama a atenção para informações especiais de ordem mecânica e a palavra Nota sublinha informações gerais que requerem especial atenção.
Este produto cumpre todas as diretivas europeias relevantes. Para mais informações, consulte a folha de Declaração de conformidade em separado, específica do produto.
Utilizar ou operar o motor em qualquer terreno com floresta, arbustos ou relva é uma violação da secção 4442 ou 4443 do código de recursos públicos da Califórnia exceto se o motor estiver equipado com uma proteção contra chamas, como definido na secção 4442, mantido em boas condições ou o motor for construído equipado e mantido para a prevenção de fogo.
O Manual do proprietário do motor é fornecido para informações acerca do sistema de emissões, manutenção e garantia da US Environmental Protection Agency (EPA) e regulamento de controlo de emissões da Califórnia. A substituição pode ser solicitada através do fabricante do motor.
Este produto cumpre todas as diretivas europeias relevantes. Para mais informações, consulte a folha de Declaração de conformidade em separado, específica do produto.
Se esta máquina estiver equipada com um equipamento de telemática, consulte o seu distribuidor autorizado da Toro para obter instruções quanto à ativação do dispositivo.
CALIFÓRNIA
Proposição 65 Aviso
É do conhecimento do Estado da Califórnia que os gases de escape a alguns dos componentes deste veículo contêm químicos que podem provocar cancro, defeitos congénitos ou outros problemas reprodutivos.
Os pólos, terminais e restantes acessórios da bateria contêm chumbo e derivados de chumbo; é do conhecimento do Estado da Califórnia que estes químicos podem provocar cancro e problemas reprodutivos. Lave as mãos após a utilização.
É do conhecimento do Estado da Califórnia que a utilização deste produto pode causar exposição a químicos que podem provocar cancro, defeitos congénitos ou outros problemas reprodutivos.
Este produto é capaz de amputar mãos e pés e projetar objetos. Respeite sempre todas as instruções de segurança, de modo a evitar ferimentos pessoais graves.
Leia e compreenda o conteúdo deste Manual do utilizador antes de ligar o motor.
Tenha toda a atenção durante a operação da máquina. Não faça qualquer atividade que cause distrações; caso contrário, podem ocorrer ferimentos ou danos materiais.
Não opere a máquina sem que todos os resguardos e outros dispositivos protetores de segurança estejam instalados e a funcionar corretamente na máquina.
Mantenha as mãos e os pés longe de peças em rotação. Mantenha-se afastado da abertura de descarga.
Mantenha as crianças e outras pessoas afastadas da área de funcionamento. Nunca permita que crianças utilizem a máquina.
Desligue o motor, retire a chave e aguarde até que todo o movimento pare, antes de sair da posição de operação. Deixe a máquina arrefecer antes de a ajustar, lhe fazer a manutenção, limpar ou armazenar.
A utilização ou manutenção inadequada
desta máquina pode provocar ferimentos. De modo a reduzir o
risco de ferimentos, deverá respeitar estas instruções
de segurança e prestar sempre atenção ao símbolo
de alerta de segurança
, que indica Cuidado, Aviso ou Perigo –
instrução de segurança pessoal. O não
cumprimento destas instruções pode resultar em ferimentos
pessoais ou mesmo em morte.
![]() |
Os autocolantes de segurança e instruções estão facilmente visíveis para o operador e situam-se próximos das zonas de potencial perigo. Substitua todos os autocolantes danificados ou perdidos. |

















Máquinas CE


Note: Determine os lados direito e esquerdo da máquina a partir da posição normal de utilização.
Verifique a pressão dos pneus; consulte Verificação da pressão dos pneus.
Important: Mantenha a pressão em todos os pneus, de modo a garantir uma boa qualidade de corte e um desempenho adequado da máquina. Não encha de menos os pneus.
Verifique o nível de óleo do motor antes de ligar o motor; consulte Verificação do nível de óleo do motor.
Verifique o nível de óleo hidráulico antes de ligar o motor, consulte Verificação do nível do fluido hidráulico.
Verifique o sistema de arrefecimento antes de ligar o motor; consulte Verificação do sistema de arrefecimento.
Lubrifique a máquina antes da utilização; consulte Lubrificação dos rolamentos e casquilhos. Não realizar uma lubrificação adequada pode causar uma falha prematura de peças vitais.
Retire e deite fora os blocos de transporte das unidades de corte.
Retire e deite fora os pinos de transporte dos braços de suspensão da unidade de corte.
Note: Os pinos de transporte estabilizam as unidades de corte durante o transporte; remova-as antes de operar a máquina.
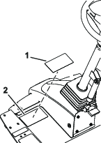
Pode ajustar a posição do braço de controlo para maior conforto.
Solte os dois parafusos que prendem o braço de controlo ao suporte de retenção (Figura 3).

Rode o braço de controlo até à posição desejada e aperte os dois parafusos.
Contacte o seu representante autorizado Toro para configurar o software da máquina para o modo CE.
Peças necessárias para este passo:
| Trinco do capot | 1 |
| Anilha | 1 |
Destranque e levante o capot.
Retire o olhal de borracha do orifício do lado esquerdo do capot (Figura 4).

Retire a porca do trinco do capot (Figura 5).

No lado de fora do capot, insira a extremidade do gancho do trinco através do orifício no capot e certifique-se de que a anilha com vedante de borracha fica do lado de fora do capot (Figura 5).
No lado de dentro do capot, insira a anilha de metal no trinco, prenda a anilha com a porca e certifique-se de que o trinco encaixa na estrutura quando é bloqueado.
Note: Utilize a chave do trinco do capot fornecida para operar o trinco do capot.
Peças necessárias para este passo:
| Autocolante CE | 1 |
| Autocolante do ano de fabrico | 1 |
| Autocolante de aviso | 1 |
Utilize álcool e um pano limpo para limpar a área do capot junto à fechadura do capot e deixe secar o capot (Figura 6).

Retire a parte de trás do autocolante CE.
Aplique os autocolantes no capot.
Utilize álcool e um pano limpo para limpar a área do suporte do piso junto à placa do número de série e deixe secar o suporte (Figura 7

Retire a parte de trás do autocolante do ano de fabrico.
Aplique o autocolante no suporte do piso.
Utilize álcool e um pano limpo para limpar a superfície do autocolante de aviso e deixe o autocolante secar (Figura 8).

Retire a parte de trás do autocolante de aviso CE.
Aplique o autocolante de Aviso CE sobre o autocolante existente.
O raspador do rolo traseiro opcional funciona melhor quando houver uma folga uniforme de 0,5 a 1 mm entre o raspador e o rolo.
Desaperte o bocal de lubrificação e o parafuso de fixação (Figura 9).

Deslize o raspador para cima ou para baixo até obter uma folga de 0,5 a 1 mm entre a barra e o rolo.
Aperte o bocal de lubrificação e aperte com uma força de 41 N·m em sequência alternada.
Contacte o distribuidor Toro autorizado para obter o abafador de cobertura (mulch) correto.
Remova todos os detritos dos orifícios de montagem nas paredes traseira e esquerda da câmara.
Instale o abafador de cobertura (mulch) na abertura traseira e fixe-o com cinco parafusos com cabeça flangeada (Figura 10).

Verifique se o abafador de cobertura (mulch) não toca nas pontas da lâmina e não fica a pressionar a face interna da parede da câmara traseira.
Utilizar uma lâmina de alta elevação com o abafador de mulch pode fazer com que a lâmina parta, provocando lesões graves ou morte.
Não utilize a lâmina de grande elevação com o abafador.



Note: Esta máquina não tem uma alavanca ou interruptor para controlar a velocidade do motor.
Quando a tomada de força é engatada para iniciar o girar das unidades de corte, a máquina muda automaticamente a velocidade do motor para ralenti alto e mantém-se até as unidades de corte serem desengatadas.
Quando a tomada de força (PTO) não está engatada, a aceleração da máquina depende da posição do pedal de tração, à semelhança de um carro.
O pedal de tração (Figura 12) permite controlar o avanço e recuo da máquina. Pressione a zona superior do pedal para deslocar a máquina para a frente e a zona inferior para deslocar a máquina para trás.
Note: Em situações de travagem de emergência, retire o pé do pedal de tração e, em seguida, rode o interruptor do travão de estacionamento para a frente (Figura 11).
Quando o interruptor da tomada de força está engatado, a máquina está no modo MOW (corte), que lhe permite conduzir até 13 km/h quando a velocidade máxima não é limitada.
Quando o interruptor da tomada de força está desengatado (Figura 11), a máquina está no modo TRANSPORT (transporte), que lhe permite conduzir até 16 km/h quando a velocidade máxima não é limitada.
Note: Utilize os menus protegidos do InfoCenter para definir a velocidade máxima de cada modo.

Para engatar o travão de estacionamento, (Figura 11) gire o interruptor para a frente, na consola. A luz vermelha do interruptor ligar-se-á quando estiver pronto. Para libertar o travão de estacionamento, gire o interruptor para trás.
Acionar o interruptor do travão de estacionamento faz com que a tração desacelere automaticamente, independentemente da posição do pedal de tração, e engate o travão de estacionamento. assim que a máquina parar.
Quando o motor se desligar e a máquina estiver parada, o travão de estacionamento engata, independentemente da posição do interruptor do travão de estacionamento.
Para inclinar o volante na sua direção, carregue no pedal, puxe o volante para si para a posição mais confortável e, em seguida, solte o pedal (Figura 12). Para afastar o volante de si, pressione o pedal e liberte-o quando o volante atingir a posição de operação que deseja.
Esta alavanca (Figura 11) sobe e desce as unidades de corte.
Para baixar as unidades de corte, empurre a alavanca para a frente. Quando a tomada de força estiver ENGAGED (engatada), a máquina está no modo MOW (corte), e as unidades de corte começarão a girar quando descidas.
Note: Certifique-se de que desce as unidades de corte após o interruptor da tomada de força ter sido engatado para iniciar as unidades e corte. Quando desce as unidades de corte antes de engatar a tomada de força, as unidades de corte não começam a girar.
Para subir as unidades de corte, puxe a alavanca para trás. Quando as unidades de corte estão levantadas e a tomada de força está deengatada, a máquina está no modo TRANSPORT (transporte).
A ignição (Figura 11) tem 3 posições: DESLIGAR, LIGAR/PREAQUECIMENTO e ARRANQUE.
Gire o interruptor para cima para ligar os faróis (Figura 11).
O indicador de restrição do filtro hidráulico alerta quando os filtros hidráulicos têm de ser mudados; consulte Substituição dos filtros hidráulicos.

O ponto de corrente (Figura 15) é uma fonte de alimentação de 12 V para dispositivos eletrónicos.


Puxe a alavanca de posição do banco (Figura 16) para mover o banco para a frente e para trás. Solte a alavanca para bloquear a posição do banco.
Rode o manípulo de ajuste de peso até que o seu peso seja mostrado na janela do indicador de peso.
Rode o manípulo de ajuste de altura para alterar a altura do banco.
O ecrã LCD InfoCenter mostra informações acerca da máquina, por exemplo, o estado de operação e vários diagnósticos e outras informações acerca da máquina (Figura 11).
Os ecrãs que surgem dependem dos botões que selecionar. O objetivo de cada botão pode mudar, dependendo do que é requerido no momento.
Note: As especificações e o desenho do produto estão sujeitos a alterações sem aviso prévio.

| Descrição | Figura 17 referência | Dimensão ou Peso |
| Altura total | A | 217 cm |
| Rasto da roda (centro do pneu para o centro) traseira | B | 185 cm |
| Largura total (posição de transporte) | C | 231 cm |
| Largura total (posição de corte) | D | 247 cm |
| Distância entre os eixos | E | 152 cm |
| Comprimento total (posição de transporte) | F | 315 cm |
| Comprimento total (posição de corte) | G | 315 cm |
| Capacidade do depósito de combustível | 53 litros | |
| Velocidade de transporte | 0–16 km/h | |
| Velocidade de corte | 0–13 km/h | |
| Peso líquido (com plataformas de corte e fluidos) | 1492 kg |
Está disponível uma seleção de engates e acessórios aprovados pela Toro para utilização com a máquina, para melhorar e expandir as suas capacidades. Contacte o seu representante ou distribuidor de assistência autorizado ou vá a www.Toro.com para obter uma lista de todos os engates e acessórios aprovados.
Para se certificar do máximo desempenho e da continuação da certificação de segurança da máquina, utilize apenas acessórios e peças sobressalentes genuínos da Toro. Os acessórios e peças sobressalentes produzidos por outros fabricantes poderão tornar-se perigosos e a sua utilização pode anular a garantia do produto.
Note: Determine os lados direito e esquerdo da máquina a partir da posição normal de utilização.
Nunca permita que crianças ou pessoal não qualificado utilizem ou procedam à assistência técnica da máquina. Os regulamentos locais podem determinar restrições relativamente à idade do operador. A formação de todos os operadores e mecânicos é da responsabilidade do proprietário.
Familiarize-se com o funcionamento seguro do equipamento, com os controlos do utilizador e com os sinais de segurança.
Desligue o motor, retire a chave e aguarde até que todo o movimento pare, antes de sair da posição de operação. Deixe a máquina arrefecer antes de a ajustar, lhe fazer a manutenção, limpar ou armazenar.
Saiba como parar a máquina e desligar o motor rapidamente.
Verifique se os controlos de presença do operador, os interruptores de segurança e os resguardos estão corretamente montados e a funcionar corretamente. Não utilize a máquina se estes componentes não estiverem a funcionar corretamente.
Antes do corte, inspecione sempre a máquina para assegurar que as lâminas, os parafusos das lâminas e as unidades de corte estão em bom estado de funcionamento. Substitua as lâminas e os parafusos gastos ou danificados em grupos para manter o equilíbrio.
Inspecione a área onde vai utilizar a máquina e remova todos os objetos que a máquina possa projetar.
Este produta gera um campo eletromagnético. Se usar algum dispositivo médico eletrónico implantável, consulte um profissional de saúde antes de utilizar este produto.
Tenha muito cuidado quando manusear combustível. Este combustível é inflamável e os seus vapores são explosivos.
Apague todos os cigarros, charutos, cachimbos e outras fontes de ignição.
Utilize apenas recipientes aprovados para combustível.
Não retire a tampa do depósito nem encha o depósito enquanto o motor se encontrar em funcionamento ou estiver quente.
Não adicione ou retire combustível num espaço fechado.
Nunca guarde a máquina ou o recipiente de combustível num local onde existam chamas abertas, faíscas ou luzes piloto, como junto de uma caldeira ou outros aparelhos.
Em caso de derrame de combustível, não tente ligar o motor; evite criar qualquer fonte de ignição até os vapores do combustível se terem dissipado.
53 litros
Important: Utilize apenas gasóleo com ultra baixo conteúdo de enxofre. O combustível com taxas mais elevadas de enxofre degrada o catalisador de oxidação diesel (DOC), o que causa problemas operacionais e encurta a vida útil entre manutenções dos componentes do motor.A não observação das seguintes precauções pode danificar o motor.
Nunca utilize querosena nem gasolina em vez de gasóleo.
Nunca misture querosena nem óleo do motor com o gasóleo.
Nunca guarde o combustível em recipientes com revestimento interior de zinco.
Não utilize aditivos de combustível.
Classificação de cetanos: 45 ou superior
Teor de enxofre: ultra baixo conteúdo de enxofre (<15 ppm)
| Especificações do gasóleo | Local |
| ASTM D975 | EUA |
| N.º 1-D S15 | |
| N.º 2-D S15 | |
| EN 590 | União Europeia |
| ISO 8217 DMX | Internacional |
| JIS K2204 classificação n.º 2 | Japão |
| KSM-2610 | Coreia |
Utilize apenas gasóleo limpo ou biodiesel.
Adquira combustível em quantidades que possam ser usadas no prazo de 180 dias para assegurar a pureza do combustível.
Utilize gasóleo de verão (N.º 2-D) a temperaturas superiores a -7°C e gasóleo de inverno (N.º 1-D ou mistura N.º 1-D/2-D) abaixo de -7°C.
Note: A utilização de gasóleo de inverno a temperaturas inferiores proporciona um ponto de inflamação mais baixo e características de fluxo frio que facilitam o arranque e reduzem a obstrução do filtro de combustível.A utilização de gasóleo de verão acima de -7°C contribui para uma maior duração da bomba de combustível e maior potência quando comparado com o gasóleo de inverno.
Esta máquina também pode usar um combustível com mistura de biodiesel até B20 (20% biodiesel, 80% gasóleo).
Teor de enxofre: ultra baixo conteúdo de enxofre (<15 ppm)
Especificações do biodiesel: ASTM D6751 ou EN 14214
Especificações da mistura de combustível: ASTM D975, EN 590 ou JIS K2204
Important: A parte de gasóleo tem de ser de ultra baixo teor de enxofre.
Tome as seguintes precauções:
As misturas de biodiesel podem danificar as superfícies pintadas.
Utilize misturas B5 (conteúdo de biodiesel de 5%) ou inferiores no tempo frio.
Verifique os vedantes, tubos e juntas em contacto com o combustível, uma vez que podem degradar-se ao longo do tempo.
Pode ocorrer obstrução do filtro durante algum tempo após mudar para misturas de biodiesel.
Contacte o distribuidor autorizado Toro para obter mais informação sobre biodiesel.


Encha o depósito de combustível com gasóleo n.º 2-D até 6 a 13 mm abaixo do topo do depósito, não do tubo de enchimento.
Note: Se possível, encha o depósito de combustível após cada utilização; isto minimiza uma eventual formação de condensação dentro do depósito.
Antes de ligar o motor e utilizar máquina, verifique o nível do óleo no cárter do motor; consulte Verificação do nível de óleo do motor.
Antes de ligar o motor e utilizar a máquina, verifique o sistema de arrefecimento; consulte Verificação do sistema de arrefecimento.
Antes de ligar o motor e utilizar a máquina, verifique o sistema hidráulico; consulte Verificação do nível do fluido hidráulico.
Retire a água ou outro tipo de contaminação do separador de água diariamente; consulte Remoção de água do separador de água/combustível.
| Intervalo de assistência | Procedimento de manutenção |
|---|---|
| Em todas as utilizações ou diariamente |
|
A pressão de ar correta nos pneus dianteiros e traseiros é de 0,83 a 1,03 bar.
Important: Mantenha a pressão em todos os pneus, de modo a garantir uma boa qualidade de corte e um desempenho adequado da máquina. Não encha de menos os pneus.Verifique a pressão do ar em todos os pneus antes de utilizar a máquina.

| Intervalo de assistência | Procedimento de manutenção |
|---|---|
| Após a primeira hora |
|
| Após as pimeiras 10 horas |
|
| A cada 250 horas |
|
Se não mantiver um aperto das porcas das rodas adequado, poderá perder uma das rodas e provocar lesões graves.
Aperte as porcas das rodas dianteiras e traseiras com 94 a 122 N·m nos intervalos de manutenção recomendados.
Important: As unidades de corte cortam aproximadamente 6 mm abaixo, em comparação com uma unidade de corte com cilindros, que tenha o mesmo ajuste. Pode ser necessário ajustar a unidade de corte para 6 mm acima do valor de ajuste dos cilindros que cortam na mesma área.
Important: O acesso às unidades de corte traseiras é bastante melhorado se retirar a unidade de corte da máquina. Desça as unidades de corte e remova as unidades de corte das estruturas, removendo os parafusos e pinos mostrados na Figura 20.

Estacione a máquina numa superfície plana, engate o travão de estacionamento, desça a unidade de corte, desligue o motor e retire a chave.
Desaperte o parafuso que prende o suporte da altura de corte à placa da altura de corte (frente e de cada lado), conforme se mostra na Figura 21.
Comece pelo ajuste dianteiro, retire o parafuso.

Enquanto estiver suportar a câmara, retire o espaçador (Figura 21).
Mova a câmara para a altura de corte desejada e instale o espaçador no orifício e ranhura da altura de corte designada (Figura 22).

Alinhe a placa roscada com o espaçador.
Coloque o parafuso e a porca apertados à mão.
Repita os passos 4 a 7 para cada ajuste lateral.
Aperte os três parafusos com uma força de 41 N∙m. Aperte sempre o parafuso da frente primeiro.
Note: Os ajustes de mais de 3,8 cm podem exigir a montagem temporária numa altura intermédia para evitar encravamento (por exemplo, passar de uma altura de corte de 3,1 a 7 cm).
| Intervalo de assistência | Procedimento de manutenção |
|---|---|
| Em todas as utilizações ou diariamente |
|
A máquina poderá arrancar inesperadamente se os interruptores de bloqueio de segurança se encontrarem desligados ou danificados e provocar lesões.
Não desative os interruptores de bloqueio.
Verifique o funcionamento dos interruptores de bloqueio diariamente e substitua todos os interruptores danificados antes de utilizar a máquina.
Important: Se a sua máquina falhar em alguma das verificações do interruptor de segurança, contacte o seu distribuidor Toro autorizado.
Conduza a máquina lentamente para uma zona aberta.
Desça as unidades de corte, desligue o motor e engate o travão de estacionamento.
Sente-se no banco do operador.
Engate o travão de estacionamento.
Pressione o interruptor PTO para a posição DESENGATAR.
Pressione o pedal de tração.
Rode a chave para a posição INICIAR.
Note: O motor não deve arrancar com o pedal de tração premido.
Sente-se no banco do operador.
Prima o interruptor da PTO para a posição ENGAGE (engatar).
Rode a chave para a posição INICIAR.
Note: O motor não deve arrancar com o interruptor da PTO na posição ENGATAR.
Sente-se no banco do operador.
Prima o interruptor da PTO para a posição DISENGAGE (desengatar).
Ligue o motor.
Prima o interruptor da PTO para a posição ENGAGE (engatar).
Baixe as unidades de corte para engatar a PTO.
Levante-se do banco.
Note: A PTO não deve funcionar quando se está fora do lugar do operador.
Note: Não permita que as unidades de corte rodem mais que alguns segundos durante este teste para evitar desgaste desnecessário.
Sente-se no banco do operador.
Engate o travão de estacionamento.
Prima o interruptor da PTO para a posição DISENGAGE (desengatar).
Ligue o motor.
Prima o pedal de tração.
Note: Não deve haver qualquer resposta da máquina quando premir o pedal de tração enquanto o travão de estacionamento está engatado. Uma mensagem de aviso deverá aparecer no InfoCenter.
Sente-se no banco do operador.
Ligue o motor.
Desengate o travão de estacionamento.
Levante-se do banco.
Note: A luz vermelha do interruptor do travão de estacionamento deve ligar-se quando está fora do banco do operador, indicando que o travão de estacionamento está engatado.
Sente-se no banco do operador.
Ligue o motor.
Certifique-se de que as unidades de corte estão levantadas, na posição de transporte.
Levante-se do banco.
Baixe as unidades de corte.
Note: As unidades de corte não devem baixar quando está fora do banco do operador.
| Intervalo de assistência | Procedimento de manutenção |
|---|---|
| Em todas as utilizações ou diariamente |
|
As lâminas da unidade de corte param por completo em aproximadamente 5 segundos depois de desligar o interruptor de desengate das unidades de corte.
Note: Certifique-se de que as unidades de corte estão assentes numa secção limpa de relva ou numa superfície sólida para evitar a projeção de poeira e detritos.
Peça a uma segunda pessoa que se coloque afastado da unidade de corte pelo menos 6 m e que observe as lâminas de uma das unidades de corte.
Quando as unidades de corte estão engatadas e a girar na velocidade máxima, desengate o interruptor da tomada de força e registe o tempo que as lâminas demoram a parar completamente.
Note: Se demorarem mais de 7 segundos, as válvulas de travagem necessitam de ser ajustadas. Solicite a assistência do distribuidor autorizado Toro ao fazer este ajuste.
Esta lâmina foi concebida para proporcionar excelente elevação e dispersão praticamente em qualquer condição. Se for necessária maior ou menor elevação e velocidade de descarga, pondere utilizar uma lâmina diferente.
Atributos Excelente elevação e dispersão na maioria das condições
Geralmente, a lâmina funciona melhor com alturas de corte inferiores – 1,9 a 6,4 cm.
Atributos:
A descarga é mais uniforme com alturas de corte inferiores.
A descarga tem menor tendência para desviar para a esquerda, dando um aspeto mais limpo aos bancos de areia e relvados.
Não necessita de tanta potência quando definir alturas de corte inferiores e quando a relva for densa.
Geralmente, a lâmina funciona melhor com alturas de corte superiores – 7 a 10 cm.
Atributos:
Maior capacidade de elevação e descargas mais rápidas
A relva dispersa ou a erva pouco rija é colhida mais facilmente com alturas de corte superiores
As aparas de relva molhadas ou pegajosas são deitadas fora com mais eficiência, diminuindo os problemas de congestionamento sob a unidade de corte.
Necessita de mais potência para funcionar
Tem tendência para fazer descargas mais para a esquerda e pode criar um amontoado de erva com as alturas de corte inferiores
Utilizar uma lâmina de alta elevação com o abafador de cobertura (mulch) pode fazer com que a lâmina parta, provocando lesões graves ou morte.
Não utilize a lâmina de grande elevação com o abafador de mulch.
Esta lâmina foi concebida para proporcionar excelente acumulação de folhas.
| Aba inclinada | Aba paralela de alta elevação(não utilizar com o abafador de mulch) (sem conformidade CE) | Abafador de cobertura (mulch) | Raspador do rolo | |
| Corte da relva: altura de corte de 1,9 a 4,4 cm | Recomendado para a maioria das aplicações | Pode resultar bem no corte de erva fina ou relva dispersa | Melhora os resultados de dispersão e o desempenho pós-corte nos relvados do Norte, que são cortados pelo menos três vezes por semana; menos de 1/3 da erva é retirada durante a operação de corte. Não utilizar com aba paralela de alta elevação | Utilize sempre que os rolos começarem a ficar com relva ou se virem grandes pedaços acumulados de relva. Os raspadores podem aumentar a acumulação de relva em certas aplicações. |
| Corte da relva: altura de corte de 5 a 6,4 cm | Recomendado para erva espessa ou relva densa | Recomendado para erva fina ou relva dispersa | ||
| Corte da relva: altura de corte de 7 a 10 cm | Pode resultar bem no corte de relva densa | Recomendado para a maioria das aplicações | ||
| Cobertura (mulch) de folhas | Recomendado para utilizar com o abafador de cobertura (mulch) | Não permitido | Utilize apenas com a combinação de lâmina de aba ou lâmina de aba inclinada | |
| Prós | Descarga uniforme a altura de corte inferior; relvados em redor de bancos de areia e fairways mais bem cuidados, menor consumo de energia | Maior capacidade de elevação e descargas mais rápidas; relva dispersa ou a erva pouco rija é colhida com uma altura de corte superior. As aparas de relva molhadas ou pegajosas são deitadas fora com eficiência. | Pode melhorar a dispersão e o aspeto em determinadas aplicações de corte de relva. Muito bom para cobertura (mulch) de folhas. | Reduz a acumulação no rolo em determinadas aplicações. |
| Contras | Não levanta bem a relva em aplicações de altura de corte elevada; a erva molhada ou pegajosa tem tendência a acumular-se na câmara, originando um corte de má qualidade e sendo necessário mais potência. | Necessita de mais potência em algumas aplicações. Tendência para criar um amontoado de erva quando definir uma altura de corte inferior para cortar relva densa. Não utilize com o abafador de cobertura (mulch). | A relva acumula-se na câmara, se tentar retirar demasiada relva com o abafador instalado |
O ecrã InfoCenter mostra informações acerca da máquina, como o estado de operação, vários diagnósticos e outras informações acerca da máquina. Existem vários ecrãs de informações. Pode alternar entre ecrãs a qualquer altura pressionando qualquer um dos botões do InfoCenter e, em seguida, selecionando a seta direcional adequada.

Note: O objetivo de cada botão pode mudar, dependendo do que é requerido no momento. Cada botão terá a indicação de um ícone apresentando a função atual.
![]() | Conta-horas |
![]() | Manutenção em atraso. |
![]() | O estado da velocidade do motor (RPM) |
![]() | Definições da paragem de pedal virtual |
![]() | As velas de incandescência estão ativas. |
![]() | O utilizador tem de se sentar no banco. |
![]() | O travão de estacionamento está engatado. |
![]() | Temperatura do líquido de arrefecimento do motor (°C ou °F) |
![]() | Tração ou Pedal de tração |
![]() | Ligue o motor. |
![]() | O controlo de cruzeiro está acionado. |
![]() | Motor |
![]() | Modo de aquecimento |
![]() | Pedido de regeneração rearmada-paragem |
| Pedido de regeneração em estacionamento ou de recuperação | |
![]() | Está a ser processada uma regeneração em estacionamento ou de recuperação |
![]() | Temperatura de escape elevada |
![]() | Avaria do diagnóstico de controlo NOx; conduza a máquina novamente para a oficina e contacte o distribuidor autorizado da Toro (versão de software U e posterior). |
![]() | A tomada de força está desativada. |
![]() | A tomada de força está ligada. |
![]() | Bateria |
![]() | Nível de combustível |
![]() | Combustível baixo. |
![]() | Aviso |
![]() | Ativo |
![]() | Inativo |
![]() | Anterior |
![]() | Seguinte |
![]() | Aumentar |
![]() | Diminuir |
![]() | Ecrã anterior |
![]() | Ecrã seguinte |
![]() | Aumentar valor |
![]() | Diminuir valor |
![]() | Menu |
![]() | Deslizar para cima/baixo |
![]() | Deslizar para a esquerda/direita |
![]() | Bloqueado |
Acessível
apenas com introdução do PIN
Para aceder ao sistema de menus InfoCenter, pressione o botão de acesso ao menu quando está no Menu principal. Isto vai levá-lo ao Menu principal. Consulte as tabelas seguintes para obter uma sinopse das opções disponíveis dos menus:
| Menu principal – item de menu | Descrição |
| Avarias | O menu Avarias contém uma lista das falhas recentes da máquina. Consulte o Manual de manutenção ou contacte o seu distribuidor Toro autorizado para mais informações acerca do menu de falhas e as informações aqui contidas. |
| Manutenção | O menu Manutenção contém informações sobre a máquina como, por exemplo, contadores das horas de utilização e outros números semelhantes. |
| Diagnósticos | O menu Diagnósticos apresenta o estado de cada interruptor, sensor e saída de controlo da máquina. Pode utilizar isto para solucionar determinados problemas, uma vez que o informa rapidamente que comandos da máquina estão LIGADOS e quais estão DESLIGADOS. |
| Definições | O menu Definições permite-lhe personalizar e modificar as variáveis de configuração do ecrã. |
| Definições da máquina | O menu Definições da máquina permite-lhe ajustar a aceleração, a velocidade e os limites de contrapesos. |
| Acerca | O menu Acerca indica o número do modelo, número de série e versão de software da sua máquina. |
| Manutenção – item de menu | Descrição |
| Hours | Indica o número total de horas em que a máquina, o motor e a tomada de força estiveram a funcionar, bem como o número de horas em que a máquina foi transportada e assistência devida. |
| Counts | Indica as várias contagens que a máquina efetuou. |
| Acelerador em manutenção | Liga e desliga o acelerador em manutenção. Permite a sobreposição manual do acelerador do tipo automóvel para algumas atividades relacionadas com a manutenção, tais como reposicionar a máquina na oficina. |
| RPM de manutenção | Define as RPM em manutenção. |
Traction Pedal ![]() | |
Traction Pump ![]() | |
Virtual Speed Sensor ![]() | |
| DPF Regeneration | Opção de regeneração do filtro de partículas de gasóleo (DPF) e submenus do DPF |
| Diagnósticos – item de menu | Descrição |
| Plataforma | Indica os dados de introdução e saída para elevar e descer as unidades de corte. |
| Traction | Indica os dados de introdução e saída do pedal de tração. |
| Unidades de corte | Indica os dados de introdução, qualificação e saída para elevar e descer as unidades de corte. |
| PTO | Indica os dados de introdução, qualificação e saída para permitir o circuito da tomada de força. |
| Motor | Indica os dados de introdução, qualificação e saída para ligar o motor |
CAN Statistics ![]() | Indica os dados de introdução e saída para ligar o CAN. |
| Definições – item de menu | Descrição |
| Introduzir PIN | Permite que uma pessoa (supervisor/mecânico) autorizada pela sua empresa tenha acesso a menus protegidos utilizando o PIN. |
| Retroiluminação | Controla o brilho do ecrã LCD. |
| Idioma | Controla o idioma utilizado no InfoCenter*. |
| Tamanho da fonte | Controla o tamanho da fonte do ecrã. |
| Unidades | Controla as unidades utilizadas no InfoCenter (imperiais ou métricas). |
Menus protegidos ![]() | Permite que uma pessoa autorizada pela sua empresa tenha acesso a menus protegidos utilizando o PIN. |
Proteger config. ![]() | Permite alterar as definições nas definições protegidas. |
Note: As Definições da máquina só serão mostradas quando introduzir o PIN.
Definições da máquina –
item de menu![]() | Descrição |
Mow Speed ![]() | Controla a velocidade máxima enquanto está a cortar (gama baixa). |
Transport Speed ![]() | Controla a velocidade máxima enquanto está em transporte (gama alta). |
Smart Power ![]() | Liga/desliga a definição de Smart Power (alimentação inteligente). |
Counterbalance ![]() | Controla a quantidade de contrapeso aplicado pelas unidades de corte.. |
Acceleration ![]() | As definições Low (baixa), Medium (média) o e High (alta) controlam a rapidez com que a velocidade de tração reage quando move o pedal de tração. |
Protegido
em Menus protegidos – acessível apenas com introdução
do PIN
| Acerca – item de menu | Descrição |
| Model | Indica o número do modelo da máquina. |
| SN | Indica o número de série da máquina. |
| Machine Controller Revision | Indica a revisão de software do controlador principal. |
| S/W Revision | Indica a revisão de software do controlador principal. |
InfoCenter Revision ![]() | Indica a revisão de software do InfoCenter. |
Há definições de configuração de funcionamento que são ajustáveis no menu DEFINIçõES do InfoCenter. Para bloquear estas definições utilize o item MENU PROTEGIDO.
Note: No momento da entrega, é programada a palavra-passe inicial pelo distribuidor.
Note: O PIN por defeito vindo de fábrica para a sua máquina é 0000 ou 1234.Se alterar o PIN e se tiver se esquecido do mesmo, contate o seu distribuidor autorizado da Toro.
A partir do MENU PRINCIPAL, percorra até ao menu de DEFINIçõES e prima o botão de seleção (Figura 24).

No menu DEFINIçõES, deslize até INTRODUZIR PIN e prima o botão de seleção (Figura 25A).

Para introduzir o PIN, prima os botões de navegação cima/baixo até surgir o primeiro dígito correto e depois prima o botão direito para avançar para o próximo dígito (Figura 25B e Figura 25C). Repita este passo até inserir o último dígito.
Prima o botão de seleção.
Note: Se o ecrã aceitar o PIN e o menu protegido tiver sido desbloqueado, é apresentada a palavra “PIN” no canto superior direito do ecrã.
Para bloquear o menu protegido, rode o interruptor da ignição para a posição OFF (desligar) e depois para a posição ON (ligar).
Em DEFINIçõES, percorra até ao menu DEFINIçõES DE PROTEçãO.
Para ver e alterar as definições sem
introduzir um código PIN, utilize o botão de seleção
para alterar as DEFINIçõES DE PROTEçãO para
(Off,
desligar).
Para ver e alterar as definições com
um código PIN, utilize o botão de seleção
para alterar as DEFINIçõES DE PROTEçãO para
(On,
ligar), defina o código PIN e rode a chave para a posição OFF (desligar) e, em seguida, para a posição ON (ligar).
O temporizador de manutenção obrigatória repõe as horas de manutenção obrigatórias após ser realizada uma manutenção prevista.
No menu DEFINIçõES, deslize até INTRODUZIR PIN e prima o botão de seleção.
Introduza o PIN; consulte Accessing Protected Menus (acesso aos menus protegidos).
No menu MANUTENçãO, deslize até HOURS e prima o botão de seleção.
Percorra até SERVICE DUE (manutenção obrigatória)
Note: Se o prazo tiver expirado, aparecerá NOW (agora) junto de SERVICE DUE.
Destaque o intervalo de manutenção e prima o botão direito.
Note: O intervalo de manutenção (250 horas, 500 horas, etc.) está localizado junto de SERVICE DUE. O intervalo de manutenção é um item de menu protegido.
Quando o ecrã RESET SERVICE TIMER? (repor o temporizador de manutenção) aparecer, clique no botão de seleção para YES (sim) ou no botão de retroceder para NO (não).
Depois de selecionar YES, o ecrã de intervalo é reposto e volta para as seleções das horas de manutenção.
A definição selecionada é mostrada como um X no gráfico da barra de velocidade de tração juntamente com as definições de controlo de cruzeiro e batente do pedal. Um X numa barra mostra que a velocidade máxima é limitada pelo supervisor (Figura 29).
Note: Esta definição é retida na memória e aplicada à velocidade de tração até que a altere.
Em DEFINIçõES DA MáQUINA, percorra até MOW SPEED.
Utilize os botões de navegação esquerdo e direito para aumentar a velocidade de corte máxima em incrementos de 0,8 km/h entre 1,6 e 12,9 km/h.
A definição selecionada é mostrada como um X no gráfico da barra de velocidade de tração juntamente com as definições de controlo de cruzeiro e batente do pedal. Um X numa barra mostra que a velocidade máxima é limitada pelo supervisor (Figura 29).
Note: Esta definição é retida na memória e aplicada à velocidade de tração até que a altere.
Em DEFINIçõES DA MáQUINA, percorra até TRANSPORT SPEED.
Utilize os botões de navegação esquerdo e direito para aumentar a velocidade de transporte máxima em incrementos de 0,8 km/h entre 8,0 e 16,0 km/h.
Em DEFINIçõES, percorra até SMART POWER.
Prima o botão de navegação direito para alternar entre ON e OFF (ligar e desligar).
Em DEFINIçõES DA MáQUINA, percorra até COUNTERBALANCE.
Prima o botão de navegação direito para selecionar o contrapeso e alterar entre as definições LOW, MEDIUM e HIGH (baixo, médio e alto).
Em DEFINIçõES DA MáQUINA, percorra até ACCELERATION.
Prima o botão de navegação direito para alternar entre LOW, MEDIUM e HIGH (baixo, médio e alto).
Note: Para um funcionamento mais conveniente, poderá preferir efetuar uma regeneração em estacionamento antes que a fuligem atinja os 100%, desde que o motor tenha trabalhado mais de 50 horas desde a última regeneração de recuperação, em estacionamento ou de reposição bem-sucedida.
Utilize o Technician Menu (menu técnico) para ver o estado atual do controlo de regeneração do motor e ver o nível de fuligem indicado.
No menu DEFINIçõES, deslize até DPF REGENERATION e prima o botão de seleção.
No menu DPF REGENERATION, deslize até TECHNICIAN e prima o botão de seleção.


Vermelho intermitente – falha ativa
Vermelho — aviso ativo
Azul — mensagem de diálogo/calibragem
Verde — funcionamento normal
Esta máquina irá travar de forma dinâmica e parar quando colocar o pedal de tração em ponto-morto.
Note: Para uma desaceleração suave, utilize o seu pé para controlar cuidadosamente o pedal de tração até à posição de ponto-morto. Não retire o seu pé do pedal e permita que volte para a posição de ponto-morto a menos que deseja parar rapidamente.
A máquina deve ficar completamente imóvel em cerca de 3,7 m à velocidade de transporte máxima de 16 km/h.
Numa superfície plana e seca, coloque uma marca de começo e fim de 3,7 m.
Conduza a máquina à velocidade de transporte máxima de 16 km/h e remova o pé no início da marca de 3,7 m.
Verifique se a máquina para a menos de 0,6 m do fim da marca (3,7 m).
Entre em contacto com o seu distribuidor da Toro se a distância de paragem da máquina não corresponder a 0,6 m desta distância.
Velocidade de transporte em marcha-atrás
Se a velocidade de transporte máxima definida pelo supervisor for superior a 8,0 km/h, a velocidade máxima em marcha-atrás é 8,0 km/h.
Se a velocidade de transporte máxima definida pelo supervisor for 8,0 km/h ou inferior, a velocidade máxima em marcha atrás é igual à velocidade de transporte definida pelo supervisor.
Velocidade de corte em marcha-atrás
Se a velocidade de corte máxima definida pelo supervisor for superior a 6,4 km/h, a velocidade máxima em marcha-atrás é 6,4 km/h.
Se a velocidade de corte máxima definida pelo supervisor for 6,4 km/h ou inferior, a velocidade máxima em marcha atrás é igual à velocidade de transporte definida pelo supervisor.
Esta máquina exibe as velocidades de tração estimadas em quilómetros por hora (km/h) ou milhas por hora (mph).
A velocidade instantânea é exibida no canto superior esquerdo dos ecrãs do controlo de cruzeiro e do pedal de paragem virtual.
As velocidades de tração são estimadas e calibradas para serem mais precisas a 8 km/h enquanto corte. As velocidades exibidas são precisas a 0,8 km/h acima ou abaixo da velocidade exibida enquanto conduz numa superfície seca e plana.
Entre em contacto com o seu distribuidor autorizado da Toro se as velocidades da máquina observadas divergirem mais de 2,4 km das velocidades exibidas.
Quando liga a máquina em condições atmosféricas frias, o modo de aquecimento limita a velocidade do motor a ralenti baixo durante um curto período após o arranque do motor, evitando potenciais danos aos componentes devido ao óleo frio da máquina.
Um ícone de floco de neve
presente no InfoCenter
indica quando o modo de aquecimento está ativo. Não
opere a máquina até que esta termine o período
de aquecimento.
O proprietário/operador pode prevenir e é responsável por acidentes que possam causar ferimentos pessoais ou danos materiais.
Utilize vestuário adequado, incluindo proteção visual, calças compridas, calçado resistente antiderrapante e proteções para os ouvidos. Prenda cabelo comprido e não utilize vestuário solto ou joias pendentes. Utilize uma máscara antipoeira em condições de trabalho poeirentas.
Nunca utilize a máquina se se sentir cansado, doente ou sob o efeito de álcool ou drogas.
Tenha toda a atenção durante a operação da máquina. Não faça qualquer atividade que cause distrações; caso contrário, podem ocorrer ferimentos ou danos materiais.
Antes de ligar o motor, certifique-se de que as transmissões estão em Ponto morto, o travão de estacionamento está engatado e coloque-se na posição de operação.
Não transporte passageiros na máquina e mantenha as crianças e outras pessoas afastadas da área de operação.
Utilize a máquina apenas quando tiver boa visibilidade para evitar buracos ou outros perigos não visíveis.
Evite cortar relva molhada. Uma redução da tração poderá fazer com que a máquina derrape.
Mantenha as mãos e os pés longe de peças em rotação. Mantenha-se afastado da abertura de descarga.
Antes de recuar, olhe para trás e para baixo para ter a certeza de que o caminho está desimpedido.
Tome todas as precauções necessárias quando se aproximar de esquinas sem visibilidade, arbustos, árvores ou outros objetos que possam obstruir o seu campo de visão.
Pare as lâminas sempre que não estiver a cortar.
Pare a máquina, retire a chave e aguarde que todas as peças móveis parem antes de inspecionar o acessório depois de atingir um objeto ou se existir uma vibração anormal na máquina. Efetue todas as reparações necessárias antes de retomar o funcionamento.
Abrande e tome as precauções necessárias quando virar e atravessar estradas e passeios com a máquina. Dê sempre prioridade.
Desengate a transmissão para a unidade de corte, desligue o motor, retire a chave e aguarde que todas as peças móveis parem antes de ajustar a altura de corte (exceto se a puder ajustar a partir da posição de operação).
Opere o motor apenas em áreas bem ventiladas. Os gases de exaustão contêm monóxido de carbono, que é letal se inalado.
Nunca deixe a máquina em funcionamento sem vigilância.
Antes de sair da posição de operador, faça o seguinte:
Estacione a máquina numa superfície plana.
Desative a tomada de força e desça os acessórios.
Engate o travão de estacionamento.
Desligue o motor e retire a chave.
Aguarde que todo o movimento pare.
A utilização da máquina deve ser efetuada apenas com boa visibilidade. Não opere a máquina quando existir risco de relâmpagos.
Não use a máquina como um veículo de reboque.
Utilize apenas acessórios, engates e peças de substituição aprovados pela Toro.
Utilize o cruise control (se equipado) apenas quando puder operar a máquina numa área aberta e plana, livre de obstáculos e onde a máquina se possa mover a uma velocidade constante, sem interrupções.
O ROPS é um dispositivo integral e de segurança efetiva.
Não retire nenhum dos componentes ROPS da máquina.
Certifique-se de que o cinto está preso à máquina.
Puxe o cinto sobre o regaço e encaixe o cinto na fivela no outro lado do banco.
Para retirar o cinto de segurança, segure no cinto, pressione o botão da fivela para libertar o cinto e guie o cinto para a abertura de auto-retração. Certifique-se de que consegue soltar rapidamente o cinto numa situação de emergência.
Verifique cuidadosamente se existem obstruções suspensas e não entre em contacto com elas.
Mantenha o ROPS em boas condições de funcionamento inspecionando-o regularmente para verificar se há danos e mantenha apertadas todos os fixadores.
Substitua os componentes danificados do ROPS. Não os repare ou modifique.
Uma cabina instalada pela Toro é uma barra de segurança.
Use sempre o cinto de segurança.
Os declives são um dos principais fatores que contribuem para a perda de controlo e acidentes de capotamento que podem resultar em ferimentos graves ou morte. Você é responsável pelo funcionamento seguro em declives. Operação da máquina em qualquer declive requer cuidado adicional.
Avalie as condições do local para determinar se o declive é seguro para o funcionamento da máquina, incluindo vigilância do local. Utilize sempre o bom senso e capacidade crítica ao efetuar esta avaliação.
Consulte as instruções de operação da máquina em declives indicadas em seguida e determine se pode operar a máquina nas condições desse dia e desse local. As alterações no terreno podem dar origem a uma alteração da operação da máquina em declives.
Evite arrancar, parar ou virar em declives. Evite alterações súbitas na velocidade ou direção. Faça as curvas lenta e gradualmente.
Não utilize a máquina em condições nas quais a tração, a viragem ou a estabilidade possam ser postas em causa.
Remova ou assinale obstruções como valas, buracos, sulcos, lombas, pedras ou outros perigos escondidos. A relva alta pode esconder obstruções. O terreno desnivelado pode fazer capotar a máquina.
Esteja atento ao funcionamento da máquina em relva molhada, ao atravessar declives ou a descer – a máquina poderá perder tração. A perda de tração das rodas dianteiras pode resultar em derrapagem e perda de capacidade de travagem e de controlo da direção.
Tenha uma especial atenção quando utilizar a máquina perto de declive acentuados, valas, margens, perigos junto à água ou outros. A máquina poderá capotar repentinamente se uma roda resvalar ou se o piso ceder. Estabeleça uma área de segurança entre a máquina e qualquer perigo.
Identifique os perigos na base do declive. Se houver perigos, corte o declive com uma máquina controlada por operador apeado.
Se possível, mantenha a(s) unidade(s) de corte descida(s) para o solo enquanto estiver a trabalhar em inclinações. Elevar a)s) unidade(s) de corte enquanto a máquina estiver a operar em inclinações pode causar instabilidade da máquina.
Tenha cuidados redobrados com os sistemas de recolha de relva ou outros engates. Estes poderão afetar a estabilidade da máquina e provocar a perda de controlo.
Esta máquina possui um acelerador do estilo automóvel que é controlado pelo pedal de tração.
Esta máquina não tem um interruptor de acelerador separado nem alavanca de acelerador.
Quando remove o pé do pedal de tração, a máquina trava de forma dinâmica até parar.
Os controlos do pedal são otimizados para fornecer uma resposta reativa, mas estável, permitindo manter um controlo consistente em terreno irregular, assim como uma travagem rápida e suave.
Durante o transporte, o pedal de tração funciona de forma semelhante à de um automóvel e altera a velocidade do motor e da tração dependendo da posição do pedal de tração.
Durante o corte, a velocidade do motor aumenta automaticamente para ralenti elevado.
Se o motor se encontrar a ralenti reduzido, realizar uma função como elevar as unidades de corte ou pressionar o pedal de tração aumenta a velocidade do motor para uma velocidade de trabalho mínima, fornecendo uma potência suficiente para realizar de forma eficiente a função.
Limite o tempo de paragem da máquina como recomendado para a regeneração do filtro de partículas diesel (DPF). Desligue a máquina para evitar um tempo de paragem alargado.
As velocidades máximas definidas nas definições do menu protegido com PIN são introduzidas pelo supervisor para limitar a velocidade máxima de tração da máquina.
A utilização alcançável das velocidades do pedal de tração, controlo de cruzeiro e batente do pedal são limitadas pelas velocidades máximas definidas no menu protegido por PIN.
Se houver algum obstáculo, eleve as unidades de corte ou corte à volta dele.
Ao transportar a máquina entre áreas de trabalho, desligue a PTO e eleve as unidades de corte para a posição totalmente elevada. Isto permite que o pedal de tração opere como um automóvel.
Conduza sempre devagar em terrenos acidentados.
Nunca desliga a máquina enquanto a conduz.
Para se familiarizar com as funções da máquina, pratique o funcionamento da máquina.
Levante as unidades de corte, desengate o travão de estacionamento, pise o pedal de tração e conduza em direção a um espaço aberto.
Treine a condução da máquina, pois tem transmissão hidrostática e as suas funções podem diferir da maioria das outras máquinas de manutenção de relvados.
Pratique a marcha para a frente e para trás, e como ligar e desligar a máquina. Para parar a máquina, retire o pé do pedal de tração e deixe–o regressar à posição PONTO MORTO.
Note: Quando descer uma encosta na máquina, pode ser necessário utilizar o pedal de inversão de marcha para parar.
Remova o seu pé do pedal de tração para parar rapidamente.
Pratique a condução em redor de obstáculos com as unidades de corte em cima e em baixo. Tenha cuidado ao conduzir por entre objetos estreitos para que não danifique nem a máquina nem as unidades de corte.
Este pedal de tração controla a velocidade para a frente e para trás da máquina e o travão dinâmico quando o repõe em ponto-morto.
Esta máquina está equipada com um acelerador de estilo automóvel — a velocidade do motor e da máquina respondem ao movimento do pedal.
Durante o transporte, o pedal de tração funciona de forma semelhante à de um automóvel e altera a velocidade do motor e da tração dependendo da posição do pedal de tração.
Durante o corte, o motor aumenta automaticamente para ralenti elevado para otimizar o desempenho e o pedal de tração apenas controla a velocidade de tração.
Quanto mais pressionar o pedal para a frente ou para trás, mais rápido a máquina se move.
Para controlar a máquina para uma paragem suave durante o transporte ou corte, utilize o pé para levar o pedal de tração para ponto morto à taxa desejada.
Para engatar a travagem máxima, retire o pé do pedal de tração, permitindo que regresse a ponto morto. A máquina irá travar de forma dinâmica até parar.
Este sistema de tração permite personalizar as definições de aceleração para conforto do operador e segundo as condições do campo. Consulte Compreender o modo de aceleração para alterar as definições.

A funcionalidade de paragem de pedal virtual (VPS) permite-lhe definir limites da velocidade da tração máximos e temporários para as gamas de corte e transporte.
Para aceder a esta funcionalidade, selecione os botões de navegação cima ou baixo do InfoCenter a partir do menu principal (Figura 29).
Utilize a VPS para ajustar a velocidade de tração máxima para corresponder ao seu nível de conforto ou à utilização em questão.
Não pode ajustar o limite de velocidade da VPS para uma velocidade mais rápida que a definida pelo supervisor.
A VPS é uma configuração temporária. Esta funcionalidade é reposta para as configurações definidas pelo supervisor quando a chave é colocada na posição OFF (desligada).
Quando a velocidade da tração é alterada pelo supervisor nas definições do menu protegido ou por si através da VPS, o pedal de tração é reprogramado automaticamente para controlar totalmente o pedal entre ponto-morto e a nova definição de velocidade máxima.
Baixar as definições da velocidade da tração máxima permite-lhe controlar o sistema de tração com precisão.

Enquanto utiliza a VPS, baixe temporariamente a velocidade máxima para as seguintes tarefas:
Cortar o cleanup pass do fairway.
Utilizar a máquina junto da oficina de manutenção.
Carregar a máquina num atrelado.
Note: Uma velocidade máxima menor permite-lhe ter mais controlo enquanto efetua estas tarefas.
O interruptor de controlo de cruzeiro bloqueia no controlo de cruzeiro para manter a velocidade desejada. Pressionando na parte traseira do interruptor desliga o controlo de cruzeiro, a posição do meio do interruptor permite a função de controlo de cruzeiro e a parte frontal do interruptor define a velocidade desejada.
Depois de o interruptor de controlo de cruzeiro ser ativado e a velocidade ser definida na consola (Figura 30), utilize o InfoCenter para ajustar a definição de velocidade do controlo de cruzeiro (Figura 30 e Figura 31).
Para desengatar o controlo de cruzeiro utilize o seguinte:
Quando na gama de transporte, pressione o pedal de tração de marcha-atrás, engate o travão de estacionamento ou prima o interruptor de controlo de cruzeiro para a posição OFF (desligar).
Na gama de corte, pressione o pedal de tração, engate o travão de estacionamento, desengate a tomada de força ou prima o interruptor de controlo de cruzeiro para a posição DESLIGAR.
Note: Desengatar o controlo de cruzeiro faz com que a máquina trave de forma dinâmica até parar. Se desejar desengatar o controlo de cruzeiro enquanto conduz, pressione o pedal de tração para uma transição suave do controlo de cruzeiro para o controlo de velocidade manual.

Definir um controlo de cruzeiro para longas distâncias sem muitos obstáculos.
Em terrenos difíceis, utilize o InfoCenter para controlar a velocidade.
Utilize o controlo de cruzeiro para viragens da seguinte forma:
Quando cortar, defina uma velocidade confortável e segura para mudar de direção no fim de cada passagem de corte.
Pressione o pedal de tração para aumentar a velocidade para cortar durante a passagem de corte.
Retire o pé do pedal quando virar para a seguinte passagem de corte.
A máquina abranda para a definição de controlo de cruzeiro baixa, permitindo-lhe realizar uma viragem eficiente a uma velocidade constante.
Depois da viragem, utilize o pedal de tração para aumentar a velocidade da máquina para a passagem de corte seguinte.
Esta funcionalidade determina o quão rápido a máquina muda de velocidade de tração quando o pedal de tração não está na posição NEUTRAL (ponto-morto).
Note: Se tirar o seu pé do pedal de tração, permitindo que volte para a posição NEUTRAL (ponto-morto) enquanto a máquina está em movimento, o perfil de travagem é engatado. O perfil de travagem é sempre o mesmo e não pode ser personalizado pela funcionalidade do modo de aceleração.
Entre nos menus protegidos no InfoCenter para alterar o modo de aceleração. O modo de aceleração tem as 3 posições seguintes:
Baixo — acelereção menos agressiva e desaceleração
Médio (predefinido) — aceleração média e desaceleração
Alto — acelereção mais agressiva e desaceleração
O sistema de contrapeso mantém a contrapressão hidráulica nos cilindros de elevação da unidade de corte. O sistema de contrapeso verifica a pressão de tração em tempo real, alterando de forma dinâmica a pressão do cilindro de elevação para otimizar a capacidade de tração e o aspeto após o corte. A pressão do contrapeso foi configurada em fábrica para obter um equilíbrio ideal do aspeto após o corte e capacidade de tração na maioria das condições do relvado. Diminuir o contrapeso pode produzir uma unidade de corte mais estável, mas pode diminuir a capacidade de tração. Aumentar o contrapeso pode aumentar a capacidade de tração, mas pode reduzir a qualidade da aparência após o corte; consulte Alteração dos valores de contrapeso.
Os controlos da definição de contrapeso personalizáveis são os seguintes:
Baixo – a maior quantidade de peso nas unidades de corte e o menor peso nas rodas
Médio – peso médio nas unidades de corte e nas rodas
Alto – a menor quantidade de peso nas unidades de corte e o maior peso nas rodas
Pode alterar o valor do contrapeso necessário na unidades de corte (elevação para cima) para fazer face às suas condições de corte.
Estacione a máquina numa superfície nivelada, baixe as plataformas de corte, rode a chave para a posição DESLIGAR e engate o travão de estacionamento.
Rode a chave para a posição FUNCIONAMENTO.
No menu Definições do InfoCenter, percorra até Contrapeso.
Pressione o botão direito para selecionar contrapeso e alterar entre definições de alto, médio e baixo.
Note: Após concluir o ajuste, mova a máquina para uma área de teste e opere a máquina com a nova configuração. A nova configuração de contrapeso pode alterar a altura de corte efetiva.
Com o Smart Power, o utilizador não precisa de estar atento à velocidade do motor em condições de carga difíceis. Smart Power impede o atolamento do motor em condições de corte difíceis ao controlar automaticamente a velocidade da máquina e ao otimizar o desempenho de corte.
Note: Por predefinição, a definição Smart Power está LIGADA.
Important: O sistema de combustível purga automaticamente antes de pôr o motor a trabalhar se estiver a ligar o motor pela primeira vez, se o motor tiver desligado devido a falta de combustível ou se tiver efetuado manutenção no sistema de combustível.
Sente-se no banco, mantenha o seu pé afastado do pedal de tração, ou seja, na posição NEUTRAL (ponto-morto), engate o travão de estacionamento e certifique-se de que o interruptor da tomada de força (PTO) está na posição DISENGAGED (desengatar).
Rode a chave no interruptor para a posição FUNCIONAMENTO.
Quando a luz indicadora das velas apagar, rode a chave para a posição ARRANCAR. Liberte imediatamente a chave quando o motor arrancar, deixando-a regressar à posição FUNCIONAMENTO.
Ponha o motor a trabalhar a uma velocidade de ralenti baixa até aquecer.
Desloque todos os controlos para a posição NEUTRAL (ponto-morto), engate o travão de estacionamento e permita que o motor alcance a velocidade de ralenti baixo.
Important: Deixe o motor a funcionar ao ralenti durante 5 minutos antes de o desligar, depois de uma operação com a carga total. Não respeitar as instruções pode danificar componentes do motor.
Rode a chave no interruptor para a posição DESLIGAR e retire a chave.
Ligue o motor, desengate o travão, desengate o interruptor da tomada de força e eleve as unidades de corte.
Utilizando o pedal de tração como um pedal de acelerador num automóvel, conduza a máquina para a área de corte.
Coloque o interruptor da PTO na posição ENGAGE (engatar).
Comece a conduzir a máquina e desça as unidades de corte apenas quando todas as unidades de corte estiverem por cima da área de corte.
Comece a cortar a área.
Quando concluir uma passagem de corte, toque na alavanca de controlo inferior para trás para subir as unidades de corte antes de abandonar a área de corte.
Efetue uma volta em forma de gota para alinhar rapidamente para a próxima passagem.
Prima a alavanca de controlo inferior para descer automaticamente todas as unidades na área de corte e continuar a cortar.
O filtro de partículas diesel (FPD) remove a fuligem do escape do motor.
O processo de regeneração do FPD utiliza o calor da exaustão do motor que é aumentado pelo catalisador para reduzir a fuligem acumulada em cinzas.
Para manter o FPD limpo, lembre-se do seguinte:
Faça funcionar o motor a velocidade total quando possível para promover a autolimpeza do FPD.
Utilize o óleo de motor correto.
Minimize a quantidade de tempo que mantém o motor ao ralenti.
Utilize gasóleo com ultra baixo teor de enxofre.
Opere e faça a manutenção da sua máquina tendo em mente a função do FPD. O motor sob carga geralmente produz temperatura de exaustão adequadas para a regeneração do FPD.
Important: Minimize a quantidade de tempo que o motor está ao ralenti ou opere o motor a velocidade reduzida para ajudar a reduzir a acumulação de fuligem no FPD.
A temperatura de escape é quente (aproximadamente 600°C durante a regeneração do FPD. Os gases quentes do escape podem feri-lo a si ou a outras pessoas.
Não opere o motor numa área fechada.
Certifique-se de que não existem materiais inflamáveis em redor do sistema de escape.
Certifique-se de que o gás quente de escape não entra em contacto com superfícies que possam ser danificadas pelo calor.
Não toque num componente do sistema de escape que esteja quente.
Não se aproxime do tubo de escape da máquina.
| Ícone | Definição do ícone |
![]() | • Ícone de regeneração estacionada ou de recuperação – é solicitada a regeneração. |
| • Proceda de imediato à regeneração. | |
![]() | • Uma regeneração é reconhecida e solicitada no processo. |
![]() | • Uma regeneração está a decorrer e a temperatura de escape é elevada. |
![]() | • Avaria do sistema de controlo NOx; a máquina necessita de assistência. |
| Tipo de regeneração | Condições que causam a regeneração do DPF | Descrição da operação DPF |
|---|---|---|
| Passiva | Ocorre durante o funcionamento normal da máquina a uma velocidade do motor elevada ou com carga de motor elevada | • O InfoCenter não mostra um ícone relativo à regeneração passiva. |
| • Durante a regeneração passiva, o filtro de partículas de gasóleo processa gases de escape muito quentes, ao oxidar as emissões nocivas e reduzir a fuligem a cinzas. | ||
| Assistida | Ocorre devido a velocidade do motor baixa, a carga do motor baixa ou após o computador detetar que o FPD está a ficar obstruído com fuligem | • O InfoCenter não mostra um ícone que indica regeneração assistida. |
| • Durante a regeneração assistida, o computador do motor ajusta as definições do motor para aumentar a temperatura de escape. | ||
| Rearmada | Ocorre a cada 100 horas | • Quando o ícone da temperatura de
escape elevada surge no InfoCenter, está em curso uma regeneração. |
| Também ocorre se o funcionamento normal do motor ultrapassa a quantidade normal de acumulação de fuligem dentro do filtro | ||
| • Durante a regeneração rearmada, o computador do motor mantém uma velocidade do motor elevada para assegurar a regeneração do filtro. |
| Tipo de regeneração | Condições que causam a regeneração do DPF | Descrição da operação FPD |
|---|---|---|
| Em estacionamento | Ocorre porque o computador determina que a limpeza automática do FPD não foi suficiente. | • Quando surge o ícone
de regeneração rearmada-paragem/estacionada ou de recuperação é solicitada uma
regeneração. |
| Também ocorre quando inicia uma regeneração estacionada. | ||
| Pode ocorrer porque inibir regeneração foi iniciado e foi desativada a limpeza automática. | • Efetue a regeneração em estacionamento assim que possível para evitar uma regeneração de recuperação. | |
| Pode resultar da utilização de óleo do motor ou combustível incorretos | • A regeneração em estacionamento demora entre 30 a 60 minutos. | |
| • Tem de ter, pelo menos, ¼ do depósito do combustível cheio. | ||
| • Tem de estacionar a máquina para efetuar uma regeneração em estacionamento. | ||
| Recuperação | Ocorre porque o pedido de uma regeneração estacionada foi ignorado, permitindo a que o FPD fique entupido de forma crítica | • Quando surge o ícone de regeneração
rearmada-paragem/estacionada ou de recuperação é solicitada uma
regeneração de recuperação. |
| • A regeneração de recuperação demora cerca de 3 horas. | ||
| • Tem de ter, pelo menos, ½ do depósito do combustível cheio. | ||
| • Tem de estacionar a máquina para efetuar uma regeneração de recuperação. |
A partir do MENU PRINCIPAL, deslize até MANUTENçãO e prima o botão de seleção.
No menu MANUTENçãO, deslize até DPF REGENERATION e prima o botão de seleção.
Selecione a função de regeneração que precisa.

Aceda ao menu DPF REGENERATION e deslize até LAST REGEN (última regeneração).
Selecione a entrada LAST REGEN.
Utilize o campo LAST REGEN para determinar quantas horas o motor trabalhou desde a última regeneração de recuperação, em estacionamento ou rearmada.
Selecione o botão de retroceder para voltar para o ecrã DPF REGENERATION.

Uma regeneração rearmada produz um escape elevado do motor. Se estiver a operar a máquina perto de árvores, arbustos, relva alta ou outras plantas ou materiais sensíveis à temperatura, pode utilizar a definição de INHIBIT REGEN (inibir regeneração) para evitar que o computador do motor realize uma regeneração rearmada.
Note: A opção de INHIBIT REGEN é sempre utilizada quando está a ser realizada manutenção na máquina numa área fechada.
Note: Se definir o InfoCenter para inibir a regeneração, o InfoCenter mostra um aviso a cada 15 minutos enquanto o motor solicitar uma regeneração rearmada.
Important: Quando desligar o motor e o voltar a ligar, a configuração Inibir regeneração está definida para DESLIGAR.
Aceda ao menu DPF REGENERATION e deslize até INHIBIT REGEN (inibir regeneração).
Selecione a entrada de INHIBIT REGEN.
Altere a definição de inibir regeneração de OFF to ON.
Certifique-se de que a máquina tem combustível no depósito suficiente para o tipo de regeneração que vai efetuar:
Regeneração em estacionamento: certifique-se de que tem ¼ do depósito de combustível cheio antes de efetuar a regeneração.
Regeneração de recuperação: certifique-se de que tem ½ depósito de combustível cheio antes de efetuar a regeneração.
Mova a máquina para o exterior para uma área afastada de materiais ou itens combustíveis que possam ficar danificados pelo calor.
Pare a máquina numa superfície nivelada, desloque todos os comandos para a posição NEUTRAL, desengate a tomada de força e baixe as unidades de corte.
Engate o travão de estacionamento e permita que o motor alcance a velocidade de ralenti baixo.
Quando é solicitada uma regeneração estacionada pelo computador do motor, siga as mensagens do InfoCenter.
Important: O computador da máquina cancela a regeneração do FPD, se aumentar a velocidade do motor de ralenti baixo ou soltar o travão de estacionamento.
Aceda ao menu DPF REGENERATION e deslize até PARKED REGEN (regeneração em estacionamento) ou RECOVERY REGEN (regeneração de recuperação).
Selecione a entrada de PARKED REGEN ou de RECOVERY REGEN.
Note: Iniciar uma regeneração de recuperação exige que introduza o PIN correto.
No ecrã REGEN PARAMETERS, verifique se tem 1/4 do depósito de combustível, se for efetuar a regeneração em estacionamento, ou 1/2 depósito de combustível, se for efetuar a regeneração de recuperação. Verifique se o travão de estacionamento está engatado e a velocidade do motor está em ralenti baixo. Prima o botão de seleção para continuar.
No ecrã de INITIATE DPF REGEN (iniciar regeneração do FPD), selecione o botão seguinte para continuar.
O InfoCenter apresenta a mensagem INITIATING DPF REGEN (iniciar regeneração do FPD).
Note: Se necessário, prima o ícone de cancelar para cancelar o processo de regeneração.
O InfoCenter apresenta a mensagem do tempo até à conclusão.
O InfoCenter mostra o ecrã inicial e surge
o ícone de reconhecimento de regeneração
.
Note: Enquanto a regeneração do filtro de partículas
diesel decorre, o InfoCenter apresenta o ícone de elevada temperatura
de escape
.
Quando o computador do motor conclui uma regeneração estacionada ou de recuperação, o InfoCenter mostra um aviso. Pressione qualquer botão para sair para o ecrã inicial.
Note: Se a regeneração não concluir, siga o aviso e pressione qualquer botão para sair para o ecrã inicial.
Utilize a definição PARKED REGEN CANCEL (cancelar regeneração em estacionamento) ou RECOVERY REGEN CANCEL (cancelar regeneração de recuperação) para cancelar um processo de regeneração em estacionamento ou de recuperação em execução.
Aceda ao menu DPF REGENERATION e deslize até PARKED REGEN (regeneração em estacionamento) ou RECOVERY REGEN (regeneração de recuperação).
Prima o botão de seleção para cancelar uma Parked Regen (regeneração em estacionamento) ou uma Recovery Regen (regeneração de recuperação).

Mude os padrões de corte frequentemente para minimizar o aspeto após o corte induzido pelo corte repetitivo na mesma direção. Este é o método mais eficiente para evitar ondulações.
Consulte o Guia de resolução de problemas de aspeto após o corte disponível em www.Toro.com.
Para obter um corte profissional, direito e riscado, desejado em alguns casos e para determinados fins, concentre-se numa árvore ou em outro objeto distante e dirija-se para lá em linha reta.
Estão disponíveis abafadores de cobertura (mulch) aparafusados para as unidades de corte. Os abafadores de cobertura (mulch) têm um bom desempenho quando a relva é tratada segundo um calendário regular, a fim de evitar retirar mais do que 2,5 cm da relva crescida. Quando cortar demasiado a altura da relva com os abafadores de cobertura (mulch) instalados, a aparência do relvado após o corte pode deteriorar-se e observar-se um aumento da potência do corte. Os abafadores também têm um bom desempenho na trituração de folhas durante o outono.
Não retire mais de cerca de 25 mm ou ⅓ das folhas da relva ao cortar. Em casos de relva excecionalmente viçosa e densa, poderá ter de aumentar a altura de corte.
Uma lâmina afiada, ao contrário de uma lâmina em mau estado, corta de forma mais eficaz, sem danificar ou rasgar a relva. Quando se rasga ou danifica a relva, esta fica castanha nas extremidades, cresce irregularmente e torna-se mais suscetível a doenças. Certifique-se de que a lâmina está em boas condições e de que a aba está inteira; consulte a Verificação e afiação da lâmina.
Certifique-se de que as câmaras de corte estão em boas condições. Endireite quaisquer componentes da câmara que estejam dobrados, para corrigir a folga entre a ponta da lâmina e a câmara. Assegure que todos os rolos e articulações não têm folgas para evitar danos no relvado e uma má aparência após o corte.
Depois de cortar, lave totalmente a máquina com uma mangueira sem agulheta para evitar contaminar e danificar os vedantes e os rolamentos devido ao excesso de pressão da água. Certifique-se de que o radiador e refrigerador do óleo não se sujam nem acumulam restos de relva. Após a limpeza, inspecione a máquina para verificar a existência de eventuais fugas de fluido hidráulico, danos ou desgaste nos componentes hidráulicos e mecânicos e verifique o estado da lâmina da unidade de corte.
Desligue o motor, retire a chave e aguarde até que todo o movimento pare antes de sair da posição de operação. Deixe a máquina arrefecer antes de a ajustar, lhe fazer a manutenção, limpar ou armazenar.
Para prevenir incêndios, certifique-se de que as unidades de corte, transmissões, redes de arrefecimento, e compartimentos do motor estão livres de relva e acumulação de detritos. Limpe as zonas que tenham óleo ou combustível derramado.
Se as unidades de corte estiverem na posição de transporte, utilize o bloqueio mecânico positivo (se disponível) antes de abandonar a máquina.
Espere que o motor arrefeça antes de armazenar a máquina em ambiente fechado.
Retire a chave e desligue o sistema de combustível (se equipado) antes do armazenamento ou transporte da máquina.
Nunca guarde a máquina ou o recipiente de combustível num local onde exista chama aberta, faísca ou luz piloto, como junto de uma caldeira ou outros aparelhos.
Mantenha e limpe o(s) cinto(s) de segurança, como necessário
Retire a chave e desative o sistema de combustível (se equipado) antes do armazenamento ou transporte da máquina.
Tome todas as precauções necessárias quando colocar ou retirar a máquina de um reboque ou camião.
Utilize rampas de largura total para carregar a máquina num reboque ou camião.
Prenda bem a máquina.
Em caso de emergência, a máquina pode ser deslocada para a frente, ativando a válvula de derivação na bomba hidráulica de deslocação variável e empurrando ou rebocando a máquina.
Important: Não empurre nem reboque a máquina a uma velocidade superior a 3–4,8 km/h. Se empurrar ou rebocar a uma velocidade superior, o sistema interno da transmissão pode sofrer danos.As válvulas de purga devem ser abertas, e o travão libertado, sempre que empurrar ou rebocar a máquina.
Solte o banco e incline-o para a frente.
Localize a válvula de purga por baixo do banco e por cima do hidróstato (Figura 37).

Desaperte as válvulas com 3 voltas para permitir a passagem do óleo internamente.
Note: Após este procedimento, torna-se possível deslocar lentamente a máquina sem danificar a transmissão.
Localize o coletor de libertação do travão, junto do pneu frontal direito e por trás do depósito hidráulico (Figura 38).

Insira a extremidade comprida de uma catraca ou objeto semelhante, ou um objeto semelhante, segure o manípulo preto do coletor, e a bombeie o coletor 3 vezes. Assim que existir uma resistência substancial ao bombear, o travão é libertado.
Important: Não bombeie o coletor após não ser tão fácil bombear. Pode provocar danos se o coletor for demasiado bombeado.
Note: Uma vez que for criada pressão no coletor, o travão será libertado por cerca de 60 minutos. Se necessário, após 60 minutos, liberte o travão novamente, bombeando o coletor.
Empurre ou reboque a máquina.
Configure o travão puxando o manípulo preto para for ou ligando o motor.
Note: O travão reinicia automaticamente quando inicia o motor e não precisa de puxar o manípulo preto para fora.
Feche a válvula de purga. Aperte as válvulas com 11 N∙m.
Important: Certifique-se de que as válvulas de derivação estão fechadas antes de operar a máquina. Ligar o motor com uma válvula de derivação aberta provoca o sobreaquecimento da transmissão.
Note: Determine os lados direito e esquerdo da máquina a partir da posição normal de utilização.
Antes de sair da posição de operador, faça o seguinte:
Estacione a máquina numa superfície plana.
Desative a tomada de força e desça os acessórios.
Engate o travão de estacionamento.
Desligue o motor e retire a chave.
Aguarde que todo o movimento pare.
Use vestuário apropriado, incluindo proteção visual, calças compridas, e calçado resistente e antiderrapante. Mantenha as mãos, pés, vestuário, joias, e cabelos compridos afastadas de componentes em movimento.
Se deixar a chave na ignição, alguém pode ligar acidentalmente o motor e feri-lo a si ou às pessoas que se encontrarem próximo da máquina. Retire a chave da ignição antes de fazer qualquer revisão.
Deixe os componentes da máquina arrefecerem antes de proceder à manutenção.
Se as unidades de corte estiverem na posição de transporte, utilize o bloqueio mecânico positivo (se equipado) antes de abandonar a máquina.
Se possível, não faça manutenção com o motor em funcionamento. Mantenha-se longe das peças móveis.
Opere o motor apenas em áreas bem ventiladas. Os gases de exaustão contêm monóxido de carbono, que é letal se inalado.
Apoie a máquina com macacos sempre que trabalhar debaixo da máquina.
Cuidadosamente, liberte a pressão dos componentes com energia acumulada.
Mantenha todas as peças da máquina em boas condições de trabalho e as partes corretamente apertadas, especialmente as partes do engate da lâmina.
Substitua todos os autocolantes gastos ou danificados.
Para assegurar o desempenho seguro e ideal da máquina, utilize apenas peças sobressalentes originais da Toro. As peças sobressalentes produzidas por outros fabricantes poderão tornar-se perigosas e a sua utilização pode anular a garantia do produto.
| Intervalo de assistência | Procedimento de manutenção |
|---|---|
| Após a primeira hora |
|
| Após as pimeiras 10 horas |
|
| Em todas as utilizações ou diariamente |
|
| A cada 50 horas |
|
| A cada 100 horas |
|
| A cada 200 horas |
|
| A cada 250 horas |
|
| A cada 400 horas |
|
| A cada 800 horas |
|
| A cada 1000 horas |
|
| A cada 2000 horas |
|
| A cada 3000 horas |
|
| Antes do armazenamento |
|
| Cada 2 anos |
|
Important: Se estiver a efetuar a manutenção da máquina e colocar o motor a trabalhar com um tubo de extração do escape do motor, defina a inibição da regeneração para LIGAR; consulte Configuração da inibição da regeneração.
Copie esta página para uma utilização de rotina.
| Verificações de manutenção | Para a semana de: | ||||||
|---|---|---|---|---|---|---|---|
| 2ª | Ter. | Qua. | Qui. | Sex. | Sáb. | Dom. | |
| Verifique o funcionamento do sistema de segurança. | |||||||
| Verifique o funcionamento dos travões. | |||||||
| Verifique o óleo do motor e o nível do combustível. | |||||||
| Efetue a drenagem do separador de combustível/água. | |||||||
| Verifique o indicador de restrição do filtro de ar. | |||||||
| Verifique se existem detritos no radiador e no painel. | |||||||
| Procure ruídos estranhos no motor.1 | |||||||
| Verifique os ruídos estranhos de funcionamento. | |||||||
| Verifique o nível de fluido do sistema hidráulico. | |||||||
| Verifique o indicador do filtro hidráulico. 2 | |||||||
| Verifique se as mangueiras hidráulicas se encontram danificadas. | |||||||
| Verifique se há fuga de fluidos. | |||||||
| Verifique a pressão dos pneus. | |||||||
| Verifique o funcionamento do painel de instrumentos. | |||||||
| Verifique o ajuste da altura do corte | |||||||
| Verifique o estado das lâminas | |||||||
| Verifique todos os bocais de lubrificação 3 | |||||||
| Retoque a pintura danificada. | |||||||
|
1. Em caso de arranque difícil, verifique as velas de incandescência e os injetores; poderá ainda verificar-se alguma produção excessiva de fumo ou um funcionamento irregular da máquina. 2. Verifique com o motor ligado e com o óleo à temperatura de funcionamento 3. Imediatamente após cada lavagem, independentemente do intervalo previsto |
|||||||
| Inspeção executada por: | ||
| Item | Data | Informação |
| 1 | ||
| 2 | ||
| 3 | ||
| 4 | ||
| 5 | ||
| 6 | ||
| 7 | ||
| 8 | ||
Note: Transfira uma cópia gratuita dos esquemas elétricos ou hidráulicos visitando www.Toro.com e procurando a sua máquina a partir da hiperligação de manuais na página inicial.
| Intervalo de assistência | Procedimento de manutenção |
|---|---|
| Em todas as utilizações ou diariamente |
|
Estacione a máquina numa superfície nivelada.
Engate o travão de estacionamento.
Desengate a PTO.
Desloque a alavanca de controlo de corte/subida para a posição de CORTE.
Desligue o motor e retire a chave.
Aguarde que todas as peças em movimento parem.
Deixe arrefecer o motor.
Rode ligeiramente o banco e levante a barra de apoio frontal da ranhura de suporte do banco.
Cuidadosamente desça o banco até prender em segurança.
Note: Apoie a máquina com macacos sempre que trabalhar debaixo da máquina.
Utilize os seguintes como pontos de elevação da máquina:

Frente – os suportes do macaco do tubo do eixo dianteiro (Figura 40).
Traseira – tubo do eixo traseiro.
| Intervalo de assistência | Procedimento de manutenção |
|---|---|
| A cada 50 horas |
|
Se utilizar a máquina em condições normais, utilize lubrificante de lítio n.º 2 para lubrificar todos os rolamentos e casquilhos no intervalo de manutenção especificado. Lubrifique os rolamentos e casquilhos imediatamente após cada lavagem, independentemente do intervalo previsto.
A localização dos bocais de lubrificação e as quantidades são as seguintes:
Junta em U do veio propulsor da bomba (3) – Figura 41

Cilindros do braço de elevação da unidade de corte (2 cada) – Figura 42

Articulações do braço de elevação (1 cada) – Figura 42
Estrutura de suporte da articulação da unidade de corte (1 de cada) – Figura 43

Eixo das articulações do braço de elevação (1 cada) – Figura 44

Articulação do direção do eixo (1 cada) – Figura 45

Rótulas do cilindro de direção (2) e eixo traseiro (1) – Figura 46

Rolamentos do eixo da unidade de corte (2 por cada unidade de corte) – Figura 47
Note: Pode utilizar qualquer um dos bocais, o que for mais acessível. Injete o lubrificante no bocal, até aparecer uma pequena quantidade no fundo da cobertura do eixo (debaixo da unidade de corte).

Rolamentos do cilindro traseiro (2 por cada unidade de corte) – Figura 48

Note: Certifique-se de que a ranhura de lubrificação em cada montagem do rolo está alinhada com o orifício de lubrificação em cada extremidade do veio do rolo. Para ajudar a alinhar a ranhura e o orifício, existe também uma marca de alinhamento numa extremidade do veio do rolo.
Desligue o motor e retire a chave antes de verificar ou adicionar óleo ao cárter.
Não altere os valores do acelerador nem acelere o motor excessivamente.
| Intervalo de assistência | Procedimento de manutenção |
|---|---|
| A cada 400 horas |
|
Verifique todo o sistema de admissão para ver se tem fugas, se está danificado ou se há braçadeiras de tubos soltas. Não utilize um filtro de ar danificado.
Faça a manutenção ao filtro de ar apenas quando o indicador de manutenção o exigir. Mudar o filtro de ar antes de ser necessário apenas aumenta a possibilidade de entrar sujidade no motor quando se retira o filtro.
Important: Certifique-se de que a cobertura é corretamente posicionada, veda com o corpo do filtro de ar e a válvula de saída de borracha está numa posição descendente – aproximadamente entre cerca das 5:00 a 7:00 quando vista da extremidade.


O óleo de motor premium Toro encontra-se disponível no seu distribuidor Toro autorizado no grau de viscosidade 15W-40 ou 10W-30.
Utilize óleo de motor de alta qualidade com nível baixo de cinzas que satisfaça ou ultrapasse as seguintes especificações:
Categoria API CJ-4 ou superior
Categoria ACEA E6
Categoria JASO DH-2
Important: Utilizar óleo de motor que não seja API CJ-4 ou superior, ACEA E6 ou JASO DH-2 pode fazer com que o filtro de partículas de gasóleo fique entupido ou danifique o motor.
Utilize o seguinte grau de viscosidade do óleo de motor:
Óleo preferido: SAE 15W-40 (acima de -18°C)
Óleo alternativo: SAE 10W-30 ou 5W-30 (todas as temperaturas)
| Intervalo de assistência | Procedimento de manutenção |
|---|---|
| Em todas as utilizações ou diariamente |
|
O motor já é enviado com óleo no cárter; no entanto, o nível de óleo deverá ser verificado antes e depois de ligar o motor pela primeira vez.
Important: Verifique o nível de óleo do motor diariamente. Se o nível de óleo do motor estiver acima da marca Cheio na vareta, o óleo do motor pode diluir-se com o combustível;Se o nível de óleo do motor estiver acima da marca Cheio na vareta, mude o óleo do motor.
A melhor altura para verificar o nível de óleo do motor será quando o motor estiver frio antes do dia de trabalho começar. Se já tiver funcionado, espere 10 minutos até o óleo voltar para o reservatório e verifique depois. Se o nível de óleo estiver exatamente na marca ou abaixo da marca Adicionar na vareta, adicione óleo até o nível atingir a marca Cheio. Não encha muito o motor com óleo.
Important: Mantenha o nível de óleo do motor entre os limites superior e inferior na vareta; o motor pode falhar se trabalhar com demasiado ou com pouco óleo.
Estacione a máquina numa superfície plana.
Verifique o nível de óleo do motor (Figura 50).


Note: Quando utilizar um óleo diferente deve esvaziar todo o óleo existente no cárter antes de adicionar óleo novo.
Cerca de 5,2 litros com o filtro.
| Intervalo de assistência | Procedimento de manutenção |
|---|---|
| A cada 250 horas |
|
Ligue o motor e deixe-o funcionar durante cerca de 5 minutos para aquecer.
Com a máquina estacionada numa superfície nivelada, desligue o motor, retire a chave e espere até todas as partes em movimento pararem antes de sair da posição de funcionamento.
Substitua o filtro e o óleo do motor (Figura 51).


Junte óleo ao cárter.
Este Manual do utilizador contém informações mais detalhadas sobre o combustível e o sistema de combustível do que o Manual do proprietário do motor Yanmar®, que constitui uma referência de caráter geral em relação ao combustível e a respetiva manutenção.
Certifique-se de que compreende que a manutenção do sistema de combustível, o armazenamento do combustível e a qualidade do combustível requerem o seu cuidado para evitar inatividade da máquina e reparações extensas do motor.
O sistema de combustível apresenta tolerâncias mínimas devido aos requisitos de emissões e controlo. A qualidade e pureza do gasóleo é mais importante para a durabilidade do sistema atual de injeção de combustível common rail de alta pressão utilizado nos motores a gasóleo.
Important: A presença de água ou ar no sistema de combustível danificará o seu motor! Não parta do pressuposto de que o combustível novo é limpo. Certifique-se de que o seu combustível é de um fornecedor de qualidade, armazene-o de forma adequada e utilize-o num prazo de 180 dias.
Important: Se não seguir os procedimentos para a substituição do filtro de combustível, manutenção do sistema de combustível e armazenamento do combustível, o sistema de combustível do motor poderá avariar prematuramente. Efetue toda a manutenção do sistema de combustível em intervalos específicos ou quando o combustível está contaminado ou é de baixa qualidade.
É essencial para o seu motor que armazene o combustível de forma adequada. A manutenção adequada de depósitos de armazenamento de combustível é frequentemente negligenciada, o que resulta na contaminação do combustível que é posteriormente injetado na máquina.
Apenas adquira combustível que irá utilizar no prazo de 180 dias. Não utilize combustível que tenha estado armazenado por mais de 180 dias. Este cuidado ajuda a eliminar água e outros contaminantes no combustível.
Se não retirar a água do depósito de armazenamento ou do depósito de combustível da máquina, pode criar ferrugem ou contaminação no depósito de armazenamento e nos componentes do sistema de combustível. Os resíduos no depósito desenvolvidos através de bolor, bactérias ou fungos restringem a circulação e entopem o filtro e os injetores de combustível.
Inspecione o seu depósito de armazenamento de combustível e o depósito de combustível da máquina com regularidade para monitorizar a qualidade do combustível presente no depósito.
Certifique-se de que o combustível é adquirido num fornecedor de qualidade.
Se encontrar água ou contaminantes no seu depósito de armazenamento ou no depósito de combustível da máquina, consulte o seu fornecedor de combustível para resolver o problema e efetuar a manutenção completa do sistema de combustível.
Não armazene gasóleo em depósitos ou recipientes fabricados com componentes galvanizados.

| Intervalo de assistência | Procedimento de manutenção |
|---|---|
| Em todas as utilizações ou diariamente |
|
Drenar água do separador de água-combustível como se mostra na Figura 53.

Prepare o filtro e as linhas para a bomba de alta pressão; consulte a Ferração do sistema de combustível.
| Intervalo de assistência | Procedimento de manutenção |
|---|---|
| A cada 400 horas |
|
Substituir a correia como se mostra na Figura 54.

Prepare o filtro e as linhas para a bomba de alta pressão; consulte a Ferração do sistema de combustível.
| Intervalo de assistência | Procedimento de manutenção |
|---|---|
| A cada 400 horas |
|
Limpe a zona em torno da cabeça do filtro de combustível (Figura 55).

Retire o filtro e limpe a superfície de montagem da cabeça do filtro (Figura 55).
Note: Utilize um pano limpo para a cabeça do filtro.
Lubrifique a junta do filtro com óleo de motor lubrificante limpo; consulte o Manual do proprietário do motor para informação adicional.
Monte o recipiente seco do filtro, manualmente, até que a junta entre em contacto com a cabeça do filtro, rodando em seguida o filtro mais ½ volta.
Prepare o filtro e as linhas para a bomba de alta pressão; consulte a Ferração do sistema de combustível.
Ligue o motor e verifique se há fugas em redor da cabeça do filtro.
| Intervalo de assistência | Procedimento de manutenção |
|---|---|
| A cada 800 horas |
|
| Antes do armazenamento |
|
Para além do intervalo de manutenção indicado, deverá drenar e lavar o depósito se o sistema de combustível ficar contaminado ou se guardar a máquina por um período prolongado. Utilize combustível limpo para lavar o depósito.
Prepare o filtro e as linhas para a bomba de alta pressão; consulte a Ferração do sistema de combustível.
| Intervalo de assistência | Procedimento de manutenção |
|---|---|
| A cada 400 horas |
|
Verifique os tubos de combustível quanto a sinais de deterioração, danos ou ligações soltas.
Substitua quaisquer braçadeiras ou tubos deteriorados.
Note: Ferre o sistema de combustível se substituir quaisquer ligações do sistema de combustível; consulte a secção Ferração do sistema de combustível.
| Intervalo de assistência | Procedimento de manutenção |
|---|---|
| A cada 3000 horas |
|
Consulte a secção Motor no Manual de manutenção para obter mais informações sobre desmontagem e montagem do catalisador de oxidação diesel e do filtro de fuligem do DPF.
Entre em contacto com o seu distribuidor autorizado da Toro para mais informações sobre o catalisador de oxidação diesel e peças de substituição ou manutenção do filtro de fuligem.
Contacte o seu distribuidor Toro autorizado para repor a ECU do motor depois de instalar um DPF limpo.
Ferre o sistema de combustível, após os seguintes cenários:
Substituir o filtro de combustível.
Drenar o separador de água após cada utilização ou diariamente
Ficar sem combustível
Substituir o tubo de combustível ou abrir o sistema de combustível por alguma razão.
Para ferrar o sistema de combustível, realize os seguintes passos:
Important: Não utilize o motor de arranque do motor para pôr o motor a trabalhar para ferrar o sistema de combustível.
Certifique-se de que há combustível no depósito de combustível.
Realize os seguintes passos para preparar o filtro e as linhas para a bomba de alta pressão para evitar desgaste ou dano na bomba.
Rode a chave da ignição para a posição LIGAR durante 15 a 20 segundos.
Rode a chave da ignição para a posição DESLIGAR durante 30 a 40 segundos.
Note: Isto permite a ECU desligar.
Rode a chave da ignição para a posição ON (ligar) durante 15 a 20 segundos.
Verifique se há fugas em redor do filtro e tubos.
Ligue o motor e verifique se existem fugas.
Desligue a bateria antes de reparar a máquina. Desligue o terminal negativo em primeiro lugar e o terminal positivo no final. Ligue o terminal positivo em primeiro lugar e o terminal negativo no final.
Carregue a bateria num espaço aberto e bem ventilado, longe de faíscas e chamas. Retire a ficha do carregador da tomada antes de o ligar ou desligar da bateria. Utilize roupas adequadas e ferramentas com isolamento.
| Intervalo de assistência | Procedimento de manutenção |
|---|---|
| A cada 50 horas |
|
Realize as tarefas seguintes para fazer a manutenção da bateria:
Verificar o estado da bateria
Limpar a bateria (se for necessário)
Note: Para limpar a bateria, deverá lavar toda a caixa com uma solução de bicarbonato de sódio e água. Enxague com água limpa.
Verifique as ligações dos cabos da bateria e revista os bornes da bateria e conectores dos cabos com Grafo 112X (lubrificante) ou vaselina para evitar a corrosão.
Important: Antes de efetuar qualquer soldagem na máquina, deverá desligar o cabo negativo da bateria, de modo a evitar quaisquer danos no sistema elétrico. Também tem de desligar o motor, o InfoCenter e os controladores da máquina antes de efetuar soldagem na máquina.
O bloco de fusíveis (Figura 57) encontra-se debaixo do banco. Consulte Figura 59 para obter uma descrição de cada fusível.
Desencaixe a base do banco, incline a base aberta do banco, e apoie-a com as barras de apoio.

Substitua o fusível queimado por um fusível do mesmo tipo e mesma amperagem.

Rode o banco e a base do banco até fechar, e tranque a base.


O carregamento da bateria gera gases que podem provocar explosões.
Não fume perto da bateria e evite fazer faíscas ou chamas perto da mesma.
Important: Mantenha a bateria carregada. Este procedimento torna-se especialmente importante quando a temperatura desce abaixo dos 0°C.
Limpe o exterior da caixa da bateria e os polos da bateria.
Note: Ligue os cabos do carregador da bateria aos bornes da bateria antes de ligar o carregador à fonte elétrica.
Observe a bateria e identifique os polos da bateria positivo e negativo.
Ligue o cabo positivo do carregador da bateria ao polo positivo da bateria (Figura 60).

Ligue o cabo negativo do carregador da bateria ao polo negativo da bateria (Figura 60).
Ligue o carregador da bateria à fonte elétrica e carregue a bateria.
Important: Não carregue demasiado a bateria.
Quando a bateria estiver totalmente carregada, desligue o carregador da fonte elétrica e em seguida desligue os cabos do carregador dos polos da bateria (Figura 60).
| Intervalo de assistência | Procedimento de manutenção |
|---|---|
| Após a primeira hora |
|
| Após as pimeiras 10 horas |
|
| A cada 250 horas |
|
Apertar as porcas do cubo do eixo frontal com 407 a 542 N∙m.
Se a sua máquina tiver a funcionalidade CrossTrax®, apertar as porcas do cubo do eixo traseiro com 366 a 447 N∙m.

| Intervalo de assistência | Procedimento de manutenção |
|---|---|
| A cada 800 horas |
|
Rode o volante de modo a que as rodas traseiras fiquem a direito.
Desaperte a porca de bloqueio em cada extremidade da barra de direção (Figura 62).
Note: A extremidade da barra de direção com a ranhura externa é uma rosca esquerda.

Utilizando uma ranhura de chave, rode a barra de direção.
Meça a distância na dianteira e traseira dos pneus traseiros à altura do eixo.
Note: A distância nas rodas dianteiras e traseiras deve ser inferior a 6 mm da distância medida na traseira das rodas.
Repita o procedimento, conforme necessário.
Ingerir líquido de refrigeração do motor pode ser tóxico; Mantenha as crianças e os animais de estimação afastados.
O derrame de líquido de refrigeração quente pressurizado ou o contacto com o radiador quente e peças adjacentes pode provocar queimaduras graves.
Deixe sempre o motor arrefecer pelo menos 15 minutos antes de retirar a tampa do radiador.
Use um trapo quando abrir o tampão do radiador, fazendo-o lentamente para permitir a saída do vapor.
Não conduza a máquina sem as tampas estarem no lugar.
Mantenha os dedos, mãos e roupa afastados do movimento rotativo da ventoinha e da correia da transmissão.
O reservatório do líquido de arrefecimento é cheio de fábrica com uma solução 50/50 de água e líquido de arrefecimento Extended Life à base de etilenoglicol.
Important: Utilize apenas líquidos de arrefecimento disponíveis comercialmente que cumpram as especificações indicadas na Tabela de normas do líquido de arrefecimento Extended Life.Não utilize líquido de arrefecimento de tecnologia de ácido inorgânico (IAT) convencional (verde) na sua máquina. Não misture líquido de arrefecimento convencional com líquido de arrefecimento Extended Life.
|
Tipo de líquido de arrefecimento de etilenoglicol |
Tipo de inibidor de corrosão |
|
Anti-congelante Extended life |
Tecnologia de ácido orgânico (OAT) |
|
Important: Não confie na cor do líquido de arrefecimento para identificar a diferença entre líquido de arrefecimento de tecnologia de ácido inorgânico (IAT) convencional (verde) e líquido de arrefecimento Extended Life.Os fabricantes de líquido de arrefecimento podem adicionar corante ao líquido de arrefecimento Extended Life numa das seguintes cores: vermelho, rosa, laranja, amarelo, azul, verde azulado, violeta e verde. Utilize apenas líquidos de arrefecimento que cumpram as especificações indicadas na Tabela de normas do líquido de arrefecimento Extended Life. |
|
|
ATSM International |
SAE International |
|
D3306 e D4985 |
J1034, J814 e 1941 |
Important: A concentração de líquido de arrefecimento deve ser uma mistura 50/50 de líquido de arrefecimento para água.
Preferido: Ao misturar líquido de arrefecimento a partir de concentrado, misturar com água destilada.
Opção preferida: Se não estiver disponível água destilada, utilize um líquido de arrefecimento pré-misturado em vez de concentrado.
Requisito mínimo: Se não estiver disponível água destilada nem líquido de arrefecimento pré-misturado, misture líquido de arrefecimento concentrado com água potável.
| Intervalo de assistência | Procedimento de manutenção |
|---|---|
| Em todas as utilizações ou diariamente |
|
O sistema de arrefecimento está cheio com uma solução de 50/50 de água e anticongelante etileno glicol. A capacidade do sistema de refrigeração é de aproximadamente 9,5 litros.
Verifique o nível de líquido de arrefecimento do depósito secundário (Figura 63).
Note: Este deve situar-se entre as marcas existentes no exterior do depósito.

Se o nível do líquido de arrefecimento do motor estiver baixo, retire o tampão do depósito de expansão e encha o sistema. Não encha demasiado.
Coloque o tampão do depósito de expansão.
| Intervalo de assistência | Procedimento de manutenção |
|---|---|
| Em todas as utilizações ou diariamente |
|
| A cada 100 horas |
|
| Cada 2 anos |
|
Retire diariamente os detritos do painel, do dispositivo de arrefecimento do óleo e do radiador ou com mais frequência em condições de muita sujidade).
Rode a chave da ignição para a posição DESLIGAR e retire a chave.
Limpe cuidadosamente todos os detritos da área do motor.
Desprenda a braçadeira e articule para abrir o painel traseiro (Figura 64).

Limpe bem ambos os lados do radiador e do dispositivo de arrefecimento de óleo (Figura 65) com ar comprimido.

Feche o painel e prenda o trinco.
| Intervalo de assistência | Procedimento de manutenção |
|---|---|
| Após as pimeiras 10 horas |
|
| A cada 100 horas |
|
Note: Para uma tensão da correia adequada, deverá permitir um desvio de 10 mm quando for aplicada uma força de 44 N numa zona intermédia da correia entre as duas polias.
Se a deslocação obtida não for igual a 10 mm, deve desapertar os parafusos de montagem do alternador (Figura 66).

Aumente ou diminua a tensão da correia do alternador e aperte os parafusos.
Verifique uma vez mais a deslocação da correia para se certificar de que a tensão está correta.
Em caso de penetração do fluido na pele, consulte imediatamente um médico. O fluido penetrado deve ser removido cirurgicamente dentro de algumas horas por um médico.
Certifique-se de que todas as tubagens e mangueiras do fluido hidráulico se encontram bem apertadas e em bom estado de conservação antes de colocar o sistema sob pressão.
Mantenha os seus corpo e mãos longe de fugas ou bicos que projetem fluido hidráulico sob pressão.
Utilize um pedaço de cartão ou papel para detetar fugas do fluido hidráulico.
Alivie com segurança toda a pressão do sistema hidráulico antes de executar qualquer trabalho neste sistema.
O reservatório é enchido na fábrica com fluido hidráulico de qualidade superior. Verifique o nível de fluido hidráulico antes de ligar o motor pela primeira vez e diariamente a partir daí; consulte Verificação do nível do fluido hidráulico.
Fluido hidráulico recomendado: Fluido hidráulico Toro PX Extended Life; disponível em recipientes de 19 litros ou tambores de 208 litros.
Note: Uma máquina que utilize o fluido de substituição recomendado requer substituições de fluido e filtro menos frequentes.
Fluidos hidráulicos alternativos: Se o fluido hidráulico Toro PX Extended Life não estiver disponível, pode utilizar outro fluido hidráulico convencional à base de petróleo que possua especificações abrangidas pelo intervalo indicado para todas as propriedades dos materiais seguintes e que cumpra as normas da indústria. Não utilize fluido sintético. Consulte o seu distribuidor de lubrificantes para identificar um produto satisfatório.
Note: A Toro não assume a responsabilidade por danos causados devido ao uso de substitutos inadequados, pelo que recomendamos a utilização exclusiva de produtos de fabricantes com boa reputação no mercado.
| Propriedades do material: | ||
| Viscosidade, ASTM D445 | cSt a 40°C 44 até 48 | |
| Índice de viscosidade ASTM D2270 | 140 ou superior | |
| Ponto de escoamento, ASTM D97 | -37°C a -45°C | |
| Especificações industriais: | Eaton Vickers 694 (I-286-S, M-2950-S/35VQ25 ou M-2952-S) | |
Note: A maioria dos fluidos são incolores, o que dificulta a deteção de fugas. Encontra-se à sua disposição um aditivo vermelho para o fluido hidráulico, em recipientes de 20 ml. Um recipiente é suficiente para 15 a 22 litros de fluido hidráulico. Poderá encomendar a peça n.º 44-2500 ao seu distribuidor Toro.
Important: Toro Premium Synthetic Biodegradable Hydraulic Fluid é o único fluido sintético biodegradável aprovado pela Toro. Este fluido é compatível com os elastómeros utilizados nos sistemas hidráulicos da Toro e é adequado a uma vasta gama de condições térmicas. Este fluido é compatível com óleos minerais convencionais, mas para um desempenho e biodegradabilidade máximos, deve remover totalmente o fluido convencional do sistema hidráulico. O óleo está disponível em recipientes de 19 litros ou tambores de 208 litros junto do seu distribuidor autorizado Toro.
| Intervalo de assistência | Procedimento de manutenção |
|---|---|
| Em todas as utilizações ou diariamente |
|
| A cada 200 horas |
|
Posicione a máquina numa superfície nivelada, baixe as plataformas de corte e rode a chave para a posição DESLIGAR.
Verifique o nível de fluido hidráulico (Figura 67).


| Intervalo de assistência | Procedimento de manutenção |
|---|---|
| A cada 800 horas |
|
| A cada 2000 horas |
|
| Cada 2 anos |
|
Capacidade de fluido hidráulico: 56,7 litros
Se o fluido tiver sido contaminado, deverá entrar em contacto com o seu distribuidor Toro para efetuar uma lavagem do sistema. O fluido contaminado tem uma aparência leitosa ou negra quando comparado com óleo limpo.
Rode a chave para a posição DESLIGAR e eleve o capot.
Coloque um recipiente de escoamento grande debaixo da união presa à parte de baixo do reservatório do fluido hidráulico (Figura 68).

Desligue a tubagem da parte de baixo da união e deixe o fluido hidráulico escorrer para o recipiente.
Instale o tubo quando o fluido hidráulico parar de escorrer.
Encha o reservatório com fluido hidráulico (Figura 67).
Important: Utilize apenas os fluidos hidráulicos especificados. A utilização de outros fluidos poderá danificar o sistema.
Em seguida, volte a montar a tampa do reservatório.
Rode a chave para a posição LIGAR para ligar o motor, utilize todos os comandos hidráulicos, de modo a distribuir o fluido hidráulico por todo o sistema e verifique se há fugas.
Rode a chave para a posição DESLIGAR.
Verifique o nível de fluído hidráulico e adicione fluido suficiente para elevar o nível até à marca Cheio na vareta.
Important: Não encha demasiado.
| Intervalo de assistência | Procedimento de manutenção |
|---|---|
| A cada 800 horas |
|
| A cada 1000 horas |
|
O sistema hidráulico encontra-se equipado com um indicador do intervalo de assistência (Figura 69). Com o motor ligado, consulte o indicador. Deve estar na zona verde. Quando o indicador estiver na zona vermelha, deve substituir os filtros hidráulicos.

Important: A utilização de outros filtros poderá anular a garantia de alguns componentes.
Coloque a máquina numa superfície nivelada, baixe as plataformas de corte, rode a chave para a posição DESLIGAR, engate o travão de mão e retire a chave da ignição.
Substitua ambos os filtros hidráulicos (Figura 70).


Rode a chave para a posição LIGAR, ligue o motor e deixe funcionar a máquina durante dois minutos para eliminar o ar do sistema.
Rode a chave para a posição DESLIGAR e retire a chave. Verifique se há fugas.
| Intervalo de assistência | Procedimento de manutenção |
|---|---|
| Em todas as utilizações ou diariamente |
|
| Cada 2 anos |
|
Efetue todas as reparações necessárias antes de utilizar a máquina.
O fluido hidráulico que sai sob pressão pode penetrar na pele e provocar lesões.
Em caso de penetração do fluido na pele, consulte imediatamente um médico.
Certifique-se de que todos os tubos e tubos hidráulicos se encontram em bom estado de conservação e que todas as ligações e uniões hidráulicas estão bem apertadas antes de colocar o sistema sob pressão.
Mantenha os seus corpo e mãos longe de fugas ou bicos que projetem fluido hidráulico sob pressão.
Utilize um pedaço de cartão ou papel para detetar fugas do fluido hidráulico.
Alivie com segurança toda a pressão do sistema hidráulico antes de executar qualquer trabalho neste sistema.
Utilize as portas de teste do sistema hidráulico para testar a pressão nos circuitos hidráulicos. Contacte o distribuidor Toro autorizado para obter ajuda.
Utilize a lista seguinte para identificar e descrever as diferentes funções dos solenóides no coletor hidráulico. Cada solenóide deve ser ativado de forma a que a função possa ocorrer.
| Solenóide | Função |
|---|---|
| PRV2 | Circuito do cortador frontal |
| PRV1 | Circuito do cortador traseiro |
| PRV | Elevar/Descer as plataformas de corte |
| S1 | Desça as plataformas de corte |
| S2 | Desça as plataformas de corte |
Posicione a máquina numa superfície nivelada, baixe as unidades de corte para o solo, rode a chave para a posição DESLIGAR e engate o travão de mão.
Desligue e retire o motor hidráulico da unidade de corte (Figura 71). Cubra a parte superior do eixo para não o sujar.

Retire o pino de sujeição que fixa a estrutura de suporte da plataforma ao pino da articulação do braço de elevação (Figura 72).

Afaste a unidade de corte da unidade de tração.
Coloque a máquina numa superfície nivelada, baixe as unidades de corte, rode a chave para a posição DESLIGAR e retire a chave da ignição.
Mova a unidade de corte para a posição em frente da unidade de tração.
Deslize a estrutura de suporte da plataforma para o pino da articulação do braço de elevação e prenda-a com o pino de sujeição (Figura 72).
Instale o motor hidráulico na plataforma (Figura 71). Verifique se o anel de retenção está posicionado corretamente e não está danificado.
Lubrifique o eixo.
Verifique se o rolo dianteiro está desgastado, oscila demasiado ou encrava. Faça a manutenção ou substitua o rolo ou respetivos componentes, se detetar uma destas situações.
Retire o parafuso de montagem do rolo (Figura 73).
Na estrutura do rolo, retire o rolamento que está à frente, batendo alternadamente nas extremidades da calha interna do rolamento. Deverá existir um rebordo de 1,5 mm da calha interna exposto.

Empurre o segundo rolamento para fora.
Verifique se a estrutura dos rolamentos, os rolamentos e o espaçador de rolamentos estão danificados (Figura 73). Substitua os componentes danificados e volte a montá-los.
Introduza o primeiro rolamento na estrutura do rolo (Figura 73). Empurre só a calha externa ou, então, exerça o mesmo tipo de pressão nas calhas interna e externa.
Coloque o espaçador (Figura 73)
Introduza o segundo rolamento na estrutura do rolo (Figura 73). Exerça o mesmo tipo de pressão nas calhas interna e externa até a calha interna entrar em contacto com o espaçador.
Instale o conjunto do rolo na estrutura da unidade de corte.
Verifique se a folga não excede 1,5 mm entre o conjunto do rolo e os suportes de montagem do cilindro da estrutura da unidade de corte. Se existir uma folga de mais de 1,5 mm, coloque anilhas com diâmetro de ⅝ pol. suficientes para compensar a inclinação.
Important: Fixar o conjunto do rolo com uma folga superior a 1,5 mm cria uma carga lateral no rolamento e pode levar a falha prematura do rolamento
Fixe o parafuso de montagem com uma força de 108 N·m.
Inspecione periodicamente se a lâmina apresenta sinais de desgaste ou outros danos.
Tome todas as precauções necessárias quando efetuar a verificação das lâminas. Envolva as lâminas ou utilize luvas e tome todas as precauções necessárias quando efetuar a manutenção das lâminas. Substitua ou afie apenas as lâminas, não as endireite ou solde.
Em máquinas multilâminas, esteja atento ao facto de que a rotação de uma lâmina pode provocar a rotação das restantes.
A plataforma rotativa vem previamente configurada pelo fabricante com uma altura de corte de 5 cm e inclinação da lâmina de 7,9 mm. As alturas do lado esquerdo e direito também vêm previamente configuradas para estarem até ± 0,7 mm uma da outra.
A plataforma de corte foi concebida para suportar os impactos da lâmina sem que a câmara seja danificada. Se um objeto sólido bater na lâmina, verifique se esta ficou danificada e se a plaina continua em boas condições de funcionamento.
Retire o motor hidráulico da plataforma de corte e retire a plataforma do trator.
Utilize um guindaste (ou o mínimo de duas pessoas) e ponha a plataforma de corte numa mesa plana.
Marque uma extremidade da lâmina com uma caneta ou um marcador. Utilize esta extremidade da lâmina para verificar todas as alturas.
Posicione a extremidade de corte da extremidade marcada da lâmina nas 12 horas (a direito na direção do corte) (Figura 74) e meça a altura da mesa à extremidade de corte da lâmina.

Rode a extremidade marcada da lâmina para as posições das 3 horas e das 9 horas (Figura 74) e meça as alturas.
Compare a altura medida no sentido das 12 horas com a definição da altura de corte. Deverá encontrar-se até 0,7 mm. As alturas das 3 horas e das 9 horas devem ser 1,6 a 6,0 mm mais altas do que a definição das 12 horas e até 6,0 mm uma da outra.
Note: Se alguma destas medidas não se encontrar dentro do especificado, vá para Ajuste da plaina da lâmina.
Comece pelo ajuste na parte dianteira (mude um suporte de cada vez).
Retire o suporte da altura de corte (frente, esquerda ou direita) da estrutura da plataforma (Figura 75).
Ajuste os calços de 1,5 mm e/ou de 0,7 mm entre a estrutura da plataforma e o suporte para obter a definição de altura pretendida (Figura 75).

Instale o suporte da altura de corte na estrutura da plataforma; instale os calços restantes debaixo do suporte da altura de corte.
Prenda o parafuso de cabeça de encaixe/espaçador e a porca flangeada.
Note: O parafuso de cabeça de encaixe e o espaçador são unidos com adesivo de roscas para evitar que o espaçador caia no interior da estrutura da plataforma.
Verifique a altura no sentido das 12 horas e faça os devidos ajustes, se necessário.
Determine se é necessário ajustar apenas um ou ambos os suportes da altura de corte (esquerdo e direito). Se o lado das 3 horas ou das 9 horas estiver 1, 6 a 6,0 mm mais alto do que a nova altura dianteira, não é necessário qualquer ajuste para esse lado. Ajuste o outro lado para estar a 1,6 a 6,0 mm do lado correto.
Ajuste os suportes da altura de corte do lado direito e/ou esquerdo repetindo os passos 1 a 3.
Fixe os parafusos da carroçaria e porcas flangeadas.
Volte a verificar as alturas nos sentidos das 12, 3 e 9 horas.
Substitua a lâmina se esta atingir um objeto sólido ou se se encontrar desequilibrada ou deformada. Utilize sempre lâminas sobressalentes genuínas Toro para garantir um desempenho seguro e eficaz.
Estacione a máquina numa superfície nivelada, eleve a unidade de corte para a posição de transporte, engate o travão de mão, desligue o motor e retire a chave da ignição.
Note: Bloqueie a unidade de corte para não cair acidentalmente.
Fixe a extremidade da lâmina utilizando um pedaço de tecido ou uma luva grossa.
Retire o parafuso da lâmina, o recipiente antidanos e lâmina do eixo (Figura 76).

Instale a lâmina, recipiente antidanos e parafuso da lâmina e aperte o parafuso da lâmina com 115 a 149 N·m.
Important: A parte curva da lâmina tem de estar virada para o interior da unidade de corte para assegurar uma boa capacidade de corte.
Note: 7Depois de bater num objeto estranho aperte todas as porcas das polias do veio com 115 a 149 N·m.
Eleve a unidades de corte para a posição de transporte, rode a chave da ignição para a posição DESLIGAR e engate o travão de estacionamento.
Bloqueie a unidade de corte de modo a evitar que esta caia acidentalmente.
Examine cuidadosamente as extremidades da lâmina, prestando especial atenção à zona onde se encontram as partes curvas e planas da lâmina (Figura 77).
Note: Verifique o estado da lâmina antes da operação de corte, pois a areia e outros materiais abrasivos podem ter desgastado o metal que liga as partes curva e plana da lâmina.
Se verificar que esta zona se encontra desgastada (Figura 77), substitua a lâmina; consulte Inspeção da plaina da lâmina.
Se a lâmina continuar a sofrer este tipo de desgaste irá formar-se uma ranhura entre a aba e a parte plana da lâmina (Figura 77). Eventualmente, pode soltar-se algum pedaço da lâmina e projetar-se, ferindo-o a si ou a qualquer pessoa próxima.
Inspecione periodicamente se a lâmina apresenta sinais de desgaste.
Substitua sempre as lâminas desgastadas ou danificadas.

Inspecione as extremidades de corte de todas as lâminas. Afie as extremidades de corte se estas apresentarem sinais de desgaste ou ranhuras. Afie apenas a zona superior da parte cortante e mantenha o ângulo de corte original para garantir que está afiada (Figura 78).
Se apresentar sinais de desgaste ou ranhuras, afie apenas a zona superior da parte cortante enquanto mantém o ângulo de corte original (Figura 78).
Note: A lâmina mantém o equilíbrio se for retirada a mesma quantidade de metal de ambas as partes cortantes.

Para verificar se a lâmina está direita e paralela, deite-a numa superfície nivelada e verifique as respetivas extremidades.
Note: Posicione as extremidades da lâmina ligeiramente abaixo da parte central e a extremidade de corte abaixo da parte posterior da lâmina. Esta lâmina produz uma boa qualidade de corte e exige uma potência mínima do motor. Por outro lado, se uma lâmina tiver as extremidades acima da parte central ou se uma extremidade de corte estiver acima da parte posterior da lâmina, isso significa que a lâmina está dobrada ou deformada, devendo ser substituída.

Instale a lâmina, com a aba voltada para a plataforma de corte, com o recipiente antidanos e o parafuso da lâmina. Aperte o parafuso da lâmina com uma força de 115 a 149 N∙m.
Desligue o motor, retire a chave e aguarde até que todo o movimento pare, antes de sair da posição de operação. Deixe a máquina arrefecer antes de a ajustar, lhe fazer a manutenção, limpar ou armazenar.
Nunca guarde a máquina ou o recipiente de combustível num local onde existam chamas abertas, faíscas ou luzes piloto, como junto de uma caldeira ou outros aparelhos.
Important: Não utilize água salobra ou recuperada para limpar a máquina.
Limpe bem a unidade de tração, unidades de corte e motor.
Verifique a pressão dos pneus. Encha todos os pneus de tração com 0,83 a 1,03 bar.
Verifique todos os dispositivos de fixação para ver se estão soltos e aperte-os conforme necessário.
Lubrifique todos os bocais de lubrificação e pontos de articulação. Limpe a massa lubrificante em excesso.
Lixe e retoque todas as zonas riscadas, estaladas ou enferrujadas. Efetue a reparação de todas as mossas existentes no corpo metálico.
Efetue a manutenção da bateria e dos cabos da seguinte forma:
Retire os terminais dos bornes da bateria.
Note: Desligue sempre o terminal negativo em primeiro lugar e o terminal positivo no final. Ligue sempre o terminal positivo em primeiro lugar e o terminal negativo no final.
Limpe a bateria, terminais e polos com uma escova de arame e uma solução de bicarbonato de sódio.
Cubra os terminais do cabo e os pólos da bateria com lubrificante Grafo 112X (peça nº 505-47) ou vaselina para evitar qualquer corrosão.
Carregue a bateria lentamente durante 24 horas, de 2 em 2 meses, para evitar a sulfatização do chumbo da bateria.
Drene o óleo do motor do recipiente e coloque o tampão de escoamento.
Retire o filtro do óleo. Coloque um novo filtro de óleo.
Encha o cárter do óleo com a quantidade designada de óleo do motor.
Rode a chave para a posição LIGAR, ligue o motor e faça-o funcionar ao ralenti durante aproximadamente dois minutos.
Rode a chave para a posição DESLIGAR.
Drene completamente todo o combustível do depósito de combustível, tubos e conjunto do separador do filtro de combustível/água.
Lave o depósito de combustível com gasóleo novo e limpo.
Aperte todas as uniões do sistema de combustível.
Limpe e efetue a manutenção da estrutura do filtro de ar.
Vede a entrada do filtro de ar e a saída de gases com fita impermeável.
Verifique a proteção anticongelante e adicione conforme necessário para a temperatura mínima prevista para a zona.
Se uma unidade de corte for separada da unidade de tração durante algum tempo, instale o bujão do eixo na parte superior do próprio eixo para protegê-lo de poeiras e da água.