Note: 要安装本套件,必须首先在机器上安装制动和信号灯套件(用于 Workman GTX 型号的 Toro 零件号为 140-4785)和 LED 认证套件(用于 Workman GTX 和 MDX 型号的 Toro 零件号为 147-2798)。
将机器停在水平地面上。
接合驻车刹车。
关闭机器并拔下钥匙。
清空并升起货斗。
断开电池的连接。

此程序中需要的物件:
| 喇叭罩 | 1 |
| 标贴 | 1 |
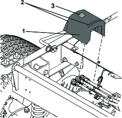
向上提起机罩两侧橡胶闩锁上的手柄,提起机罩。

拆下并保管将喇叭固定至机器机架的紧固件。断开喇叭端子。
将标贴安装在喇叭罩上。
将线束插入穿过罩上的孔,然后连接至喇叭端子。
用保管的紧固件安装带罩的喇叭。

此程序中需要的物件:
| 保险丝盒盖子 | 1 |
| 套环 | 1 |
拆下并保管将保险丝盒固定至机器机架的紧固件。
切断套环,将线束安装至保险丝盒附近。
将线束和套环安装在保险丝盒盖子上。

用保管的紧固件将保险丝盒和保险丝盒盖子安装到机架上。

此程序中需要的物件:
| 座椅开关 | 1 |
| 座椅开关线束 | 1 |
| 座椅开关线束(仅限 MDX 型号) | 1 |
| 橡胶塞(仅限 MDX 型号) | 1 |
| 抽芯铆钉(1/4 英寸)(仅限 MDX 型号) | 1 |

在驾驶员座椅底座上钻一个孔(102 mm)。

将座椅开关安装在驾驶员座椅的下方,并旋转以将其锁定到位。

将跳线线束 4 针接头连接至座椅开关接头。将 2 针接头连接至座椅开关线束。
将座椅开关线束放在车身面板后面,沿着机架中的主线束,沿着机器的下方,进入仪表板后面的空间。安装推销式扎带。
在线束标签(正极和负极)之前,将 2 个线束末端与从座椅开关线束到 USB 端子的母接头连接起来.根据线束标签,将另外 2 个线束末端与前往机器线束的公接头连接起来。

在仪表板上钻一个孔(19 mm)

安装指示灯,安装随附的锁紧螺母。
将指示灯接头连接至座椅开关线束接头。
用抽芯铆钉将橡胶塞安装至座椅开关支架。
将座椅开关支架安装到驾驶员座椅下方。
将座椅开关安装在驾驶员座椅的下方,并旋转以将其锁定到位。

拆下座椅底座侧面板。
将跳线线束 4 针接头连接至座椅开关。
将座椅开关线束 2 针接头穿过钻孔,连接至跳线线束接头。
将座椅开关线束放在车身面板后面,沿着机架中的主线束,沿着机器的下方,进入仪表板后面的空间。安装推销式扎带。
将侧面板装回机器上。
在线束标签(正极和负极)之前,将 2 个线束末端与从座椅开关线束到 USB 端子的母接头连接起来.根据线束标签,将另外 2 个线束末端与前往机器线束的公接头连接起来。

在仪表板上钻一个孔(19 mm)

将指示灯装入仪表板,将其连接至机器线束。
此程序中需要的物件:
| 马达盖 | 1 |
| 大扎带(132cm) | 2 |
| 高压标贴 | 1 |
将高压标贴安装到马达盖上。
将马达盖安装到马达上,并安装 2 条大扎带。

此程序中需要的物件:
| 编织管包裹材料 | 1 |
| 扎带 | 45 |
测量所覆盖的高压线束的长度。
根据所测量的长度切断编织管包裹材料。
安装编织管包裹材料,在末端以及线束弯曲的地方使用扎带进行固定。


此程序中需要的物件:
| 接地线束 | 1 |
| 接地螺钉(可能不需要) | 2 |
| 扎带(仅限 MDX 型号) | 2 |
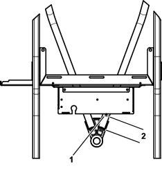
为接地线束钻一个孔(3.5 mm)。

在 2 个接地螺钉位置钻一个孔(3.5 mm)。

拆下预安装的接地螺钉和接地线,将螺钉和接地端子重新安装到新钻孔位置。

布置接地线束,然后将接地螺钉和接地线重新安装到新钻孔位置。

为接地线束钻一个孔(3.5 mm)。

在 2 个接地螺钉位置钻一个孔(3.5 mm)。

如图所示布置接地线束。
将接地线端子堆叠,并用接地螺钉固定在机架上新钻孔处。将接地线端子安装在中部机架槽和右后机架新钻孔处。

将负极电池接线连接到电池和电池开关。

安装座椅、关闭机罩并放下货斗;请参阅机器 操作员手册。
将点火钥匙开关转至开启位置。当不坐在座椅上时,仪表板上的座椅开关灯应亮起。坐在驾驶座上时,它应该关闭。