| 整備間隔 | 整備手順 |
|---|---|
| 使用するごとまたは毎日 |
|
この機械は回転刃を使用するリール式乗用グリーンモアであり、そのような業務に従事するプロのオペレータが運転操作することを前提として製造されています。この製品は、適切な管理を受けている芝生の刈り込みに使用することを主たる目的とする機械です。このマシンは本来の目的から外れた使用をすると運転者本人や周囲の人間に危険な場合があります。
この説明書を読んで製品の運転方法や整備方法を十分に理解し、他人に迷惑の掛からない、適切で安全な方法でご使用ください。この製品を適切かつ安全に使用するのはお客様の責任です。
安全上の注意事項、取扱い説明書、アクセサリについての資料、代理店の検索、製品のご登録などについては www.Toro.com へ。
整備について、また純正部品についてなど、分からないことはお気軽に弊社正規代理店におたずねください。お問い合わせの際には、必ず製品のモデル番号とシリアル番号をお知らせください。図 1にモデル番号とシリアル番号を刻印した銘板の取り付け位置を示します。いまのうちに番号をメモしておきましょう。
Important: シリアル番号デカルについている QR コード(無い場合もあります)をモバイル機器でスキャンすると、製品保証、パーツその他の製品情報にアクセスできます。

この説明書では、危険についての注意を促すための警告記号(図 2)を使用しております。これらは死亡事故を含む重大な人身事故を防止するための注意ですから、必ずお守りください。

この他に2つの言葉で注意を促しています。重要 は製品の構造などについての注意点を、注はその他の注意点を表しています。
この製品は、関連するEU規制に適合しています。詳細については、DOC シート(規格適合証明書)をご覧ください。
カリフォルニア州の森林地帯・潅木地帯・草地などでこの機械を使用する場合には、エンジンに同州公共資源法第4442章に規定される正常に機能するスパークアレスタが装着されていること、エンジンに対して森林等の火災防止措置をほどこされていることが義務づけられており、これを満たさない機械は、第4442章または4443章違犯となります。
エンジンの保守整備のため、および米国環境保護局(EPA)並びにカリフォルニア州排ガス規制に関連してエンジンマニュアルを同梱しております。エンジンマニュアルはエンジンのメーカーから入手することができます。
カリフォルニア州
第65号決議による警告
カリフォルニア州では、この製品に使用されているエンジンの排気には発癌性や先天性異常などの原因となる物質が含まれているとされております。
バッテリーやバッテリー関連製品には鉛が含まれており、カリフォルニア州では発ガン性や先天性異常を引き起こす物質とされています。取り扱い後は手をよく洗ってください。
米国カリフォルニア州では、この製品を使用した場合、ガンや先天性異常などを誘発する物質に触れる可能性があるとされております。
このマシンは手足を切断したり物をはね飛ばしたりする能力があります。
エンジンを始動する前に必ずこのオペレーターズマニュアルをお読みになり、内容をよく理解してください。
このマシンを運転する時は常に十分な注意を払ってください。運転中は運転操作に集中してください;注意散漫は事故の大きな原因となります。
マシンの可動部の近くには絶対に手足を近づけないでください。
ガードなどの安全保護機器が正しく機能していない時は、運転しないでください。
作業場所に、無用の大人、子供、ペットなどを近づけないでください。絶対に子供に運転させないでください。
運転位置を離れる時は、マシンを停止させ、キーを抜き取り、各部の動作が完全に停止したのを確認してください。調整、整備、洗浄、格納などは、マシンが十分に冷えてから行ってください。
間違った使い方や整備不良は人身事故などの原因となります。事故を防止するため、以下に示す安全上の注意や安全注意標識
のついている遵守事項は必ずお守りください
「注意」、「警告」、および「危険」 の記号は、人身の安全に関わる注意事項を示しています。これらの注意を怠ると死亡事故などの重大な人身事故が発生する恐れがあります。
![]() |
危険な部分の近くには、見やすい位置に安全ラベルや指示ラベルを貼付しています。破損したりはがれたりした場合は新しいラベルを貼付してください。 |













バッテリーを充電する; バッテリーを充電するを参照。
この作業に必要なパーツ
| キャリッジボルト(5/16" x ¾") | 2 |
| ナット(5/16") | 2 |
運転席の後ろに、端子を機体の前に向けてバッテリーを取り付ける(図 3)。
スタータからの赤い(+)ケーブルを(+)端子に固定する(図 3)。キャリッジボルトとナットで固定する。
Important: 運転席を一番後ろの位置にセットしたときに運転席がケーブルに干渉しないことを確認する。干渉するとトラブルの原因になる。
バッテリーの端子に金属製品や車体の金属部分が触れるとショートを起こして火花が発生する。それによって水素ガスが爆発を起こし人身事故に至る恐れがある。
バッテリーの取り外しや取り付けを行うときには、端子と金属を接触させないように注意する。
バッテリーの端子と金属を接触させない。

黒いケーブル(エンジンベースから)はバッテリーのマイナス(-)端子に固定する。キャリッジボルトとナットで固定する。
バッテリーケーブルの接続手順が不適切であるとケーブルがショートを起こして火花が発生する。それによって水素ガスが爆発を起こし人身事故に至る恐れがある。
ケーブルを取り外す時は、必ずマイナス(黒)ケーブルから取り外す。
ケーブルを取り付ける時は、必ずプラス(赤)ケーブルから取り付け、それからマイナス(黒)ケーブルを取り付ける。
両方の端子にワセリンなどを塗る。
バッテリークランプとワッシャを取り付け、蝶ナットで固定する(図 3)。
プラス(+)端子に カバーをかぶせて終了。
この作業に必要なパーツ
| ボルト(½" x 1¾") | 2 |
| ボルト(½" x 1½") | 6 |
| ナット(½") | 8 |
機体右側にあるジャッキパッドを支えているねじとナットを取り外す。
ROPS バー(図 4)を、取り付けブラケットにセットして取り付け穴をそろえる。

ROPSの左側を取り付けブラケットに固定する;ボルト(½" x 1½")4本とロックナットを使用する(図 4)。
ボルト・ナットを91-115 N·m(9.3-11.8 kg.m = 67-85 ft-lb)にトルク締めする。
ROPSバーの右側、および先ほど取り外したジャッキパッドを、取り付けブラケットに固定する;ボルト(½" x 1½")2本、ボルト(½" x 1¾")2本、ロックナットを使用し、図 4に示すように取り付ける。
ボルト・ナットを91-115 N·m(9.3-11.8 kg.m = 67-85 ft-lb)にトルク締めする。
シートベルトを着用せずに万一横転事故を起こすと車両から投げ出されて大けがをする危険がある。
運転中はシートベルトを常時着用すること。
この作業に必要なパーツ
| カッティングユニット | 3 |
| 集草バスケット | 3 |
Important: リールモータをホルダー(保管位置)に入れたままでサスペンションを「移動走行」位置にしないでください。モータやホースが破損する恐れがあります。
Note: 研磨、刈高調整などを行うときには、リールモータをサポートチューブ(フレーム前部と機体側部)に入れておくとホースを保護することができます。
カッティングユニットをカートンから取り出す。カッティングユニットに同梱されているオペレーターズマニュアルに従って、希望の設定に組み立て、調整を行う。
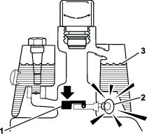
カッティングユニットをプルフレームの下に引き入れ、 吊り輪(フック)を昇降アームに引っかける(図 5)。

スリーブをボールジョイントの位置まで引き戻し、レシーバーをカッティングユニットのボールスタッドに引っ掛ける。スリーブから手を離すとスタッドとジョイントが結合してロックする(図 6)。

バスケットをプルフレームに取り付け、プルフレームのジャムナットをゆるめ、ボールソケットを調整して、バスケットの縁からリール刃までの距離を 6-13 mm にする。
Note: これにより、刈り込み中にカッティングユニットが集草箱に押されてアームから外れることがなくなります。
Note: 集草バスケットのリップが、両側ともリールの刃から等距離となるようにしてください。リールに近すぎるとカッティングユニットを上げた時や下げた時にリールに接触する可能性があります。
ソケットの口をボールスタッドに向けてソケットをボールジョイントに嵌め、ジャムナットを締めて固定する (図 7)。

リールモータ取り付けボルトのねじの頭が、それぞれおよそ 13 mm 突き出した状態になるようにすること(図 8)。

モータのスプラインシャフトにきれいなグリスを塗る。
モータのフランジがスタッドをかわすようにモータを右回しにひねり、そこから左にひねってフランジをスタッドに嵌めてモータを取り付ける。
取り付けボルトを締め付ける(図 8)。
芝刈り作業時に列を揃えやすいように、2番と3番の集草バスケットに以下のようなマークを入れておきます:
各バスケットの外側のエッジから、127 mm を測る。
その位置に白色テープか白ペンキで集草箱の縁と平行に目印を入れる(図 9)。

この作業に必要なパーツ
| 後ウェイトキット(P/N 100-6442;別途購入のこと) | 1 |
| 塩化カルシウム 19.5 kg(別途調達のこと) | 1 |
| 後ウェイトキットのパーツ番号(P/N 99-1645;3WDキットを取り付けている場合には別途購入の上取り付ける) | 1 |
この機械はANSI規格B71.4-2017およびEN ISO 5395:2013 規格に適合する製品として製造されています(ただし後輪に後ウェイトキット(P/N 100-6442)を搭載し、塩化カルシウムバラスト 19.5kg を充填することが条件です)。3 輪駆動キットを搭載している場合には、後ホイールに取りつけるウェイトキットを P/N 100-6442 ではなく P/N 99–1645 にしてください。
Important: 塩化カルシウムを搭載してターフで作業中に万一パンクした場合は、直ちにマシンをターフの外へ退避させてください。そして、ターフへの被害を防止するため、塩化カルシウム液がこぼれた場所に十分な散水を行ってください。
この作業に必要なパーツ
| CE ガードキット:P/N 04440(別売) | 1 |
CE ガードキットを取り付ける;CE ガードキットの、「グリーンズマスター 3150- 2輪駆動トラクションユニットへの取り付け」 を参照。
この作業に必要なパーツ
| 警告デカル(P/N 136-8505) | 1 |
| CE マークデカル | 1 |
| 製造年デカル | 1 |
CE 地域内でこのマシンを使用する場合には、CE ガードキットを取り付けた後に、以下の作業を行ってください:
CE 警告ステッカー(P/N 136–8505)を、既存の警告ステッカー(P/N 136–8506)の上から貼り付ける。

CE マークステッカーと製造年ステッカーを、フットレストサポートにあるシリアル番号プレートの近くに貼りつける(図 11)。

タイヤは空気圧を高くして出荷しています。運転前に正しいレベルに下げてください;タイヤ空気圧を点検するを参照。
ブレーキの慣らし掛けを行う;ブレーキの慣らし掛けを行うを参照。

ブレーキペダル(図 13)を踏み込むと、前輪のブレーキが作動して停止します。
ブレーキを掛けるには、ブレーキペダルをしっかり踏み込んだ状態でブレーキタブ(図 13)を踏み込みます。ブレーキペダルをもう一度踏み込むと解除されます。本機を離れるときには必ず駐車ブレーキを掛けてください。
スロットルレバー(図 15)はエンジンの回転速度(rpm)を制御するものです。スロットルコントロールを高速方向へ動かすとエンジンの速度が上がり、低速方向に動かすとエンジンの速度が下がります(エンジンは停止しません)。

低温時のエンジン始動には、チョークレバーを前に倒して(図 15)CLOSED 位置とし、チョークを閉じます。エンジンが始動したら、エンジンがスムーズに回転を続けられるようにチョークレバーを調整してください。チョークはなるべく早く OPEN 位置に戻すようにしてください。エンジンが温かい時にはチョーク操作は不要です。
このスイッチ(図 15)は、リークディテクタのアラームと遅延時間を点検するスイッチです。
アワーメータ(図 15)は、本機の積算運転時間を表示します。アワーメータはキースイッチをON位置にすると作動を開始します。
運転席の左側にあります(図 16)。レバーのロックを外すと、前後10 cm の位置調整が可能になります。

刈り込み時にこのレバー(図 17)を前に倒すとリールが下降して回転を開始します。レバーを引くとリールは上昇して停止します。刈り込み作業中、カッティングユニットを上昇させずにリールだけを止めたい場合にはレバーを軽く引いてください。その後にレバーを軽く前に倒せばリールは再び回転を開始します。

モードレバー(図 17)は、2種類の走行モード位置とニュートラル位置とがあります。走行中に「芝刈り走行」から「移動走行」へ、またその逆へ(ニュートラルで止めずに)切り替えることができます。マシンを損傷する心配はありません。
後位置:ニュートラル:バックラップ位置
中位置:芝刈り位置
前位置:現場間の移動走行位置
スイッチ(図 17)にキーを差し込んで右へSTART位置まで回すとエンジンが始動します。エンジンが始動したらキーから手を放すと、キーは自動的にON位置に動きます。エンジンを停止させるには、キーを左に回してSTOP位置にしてください。
レバー(図 18)を前に倒してゆるめるとハンドルの高さ調整ができます。後ろに倒すと調整が固定されます。

ノブ(図 19)の肩がハンドルアームのノッチをクリアするまでノブをゆるめると、ノブの肩をアームのノッチに整列させた状態でハンドルアームの高さを調整できるようになります。調整ができたらノブを締めて調整を固定してください。

格納時やトレーラなどで長距離を輸送する場合には、燃料タンク下部にある燃料バルブ(図 20)を閉じてください。

バックラップレバー(図 21)は、リール回転許可レバー(ジョイスティック)およびリール回転速度コントロールと共に、リールをバックラップするときに使用します。

リール速度コントロール(図 21)は、リールの回転速度を調整します。
Note: 仕様および設計は予告なく変更される場合があります。
| 刈り幅 | 150 cm |
| ホイールトレッド | 126 cm |
| ホイールベース | 119 cm |
| 全長 | 229 cm |
| 全幅 | 177 cm |
| 全高 | 189 cm |
| 純重量 | 493 kg |
トロが認定した各種のアタッチメントやアクセサリがそろっており、マシンの機能をさらに広げることができます。詳細は弊社の正規サービスディーラ、または代理店へお問い合わせください;弊社のウェブサイト www.Toro.com でもすべての認定アタッチメントとアクセサリをご覧になることができます。
いつも最高の性能と安全性を維持するために、必ずToroの純正部品をご使用ください。他社の部品やアクセサリを御使用になると危険な場合があり、製品保証を受けられなくなる場合がありますのでおやめください。
Note: 前後左右は運転位置からみた方向です。
子供やトレーニングを受けていない大人には、絶対に運転や整備をさせないでください。地域によってはマシンのオペレータに年齢制限を設けていることがありますのでご注意ください。オーナーは、オペレータ全員にトレーニングを受講させる責任があります。
安全な運転操作、各部の操作方法や安全標識などに十分慣れておきましょう。
運転席を離れる前に、マシンを停止し、キーを抜き取り、機械の動きが完全に停止したのを確認する。調整、整備、洗浄、格納などは、機体が十分に冷えてから行ってください。
緊急停止方法に慣れておきましょう。
オペレータコントロールやインタロックスイッチなどの安全装置が正しく機能しているか、またガードなどの安全保護具が外れたり壊れたりしていないか点検してください。これらが正しく機能しない時には機械を使用しないでください。
使用前に必ず、カッティングユニットの点検を行ってください。
これからマシンで作業する場所をよく確認し、マシンに巻き込まれそうなものはすべて取り除きましょう。
燃料の取り扱いに際しては安全に特にご注意ください。燃料は引火性が高く、気化すると爆発する可能性があります。
燃料取り扱い前に、引火の原因になり得るタバコ、パイプなど、すべての火気を始末してください。
燃料の保管は必ず認可された容器で行ってください。
エンジン回転中などエンジンが高温の時には、燃料タンクのふたを開けたり給油したりしないでください。
締め切った場所では燃料の補給や抜き取りをしないでください。
ガス湯沸かし器のパイロット火やストーブなど裸火や火花を発するものがある近くでは、マシンや燃料容器を保管・格納しないでください。
燃料がこぼれたら、エンジンを始動せずにマシンを別の場所に動かし、気化した燃料ガスが十分に拡散するまで引火の原因となるものを近づけないでください。
燃料タンク容量:26.6 リットル
推奨燃料:オクタン価 87 以上の無鉛ガソリンを使ってください(オクタン価評価法は(R+M)/2 を採用)。
エタノール: エタノールを添加(10% まで)したガソリン、MTBE(メチル第3ブチルエーテル)添加ガソリン(15% まで)を使用することが可能です。エタノールとMTBEとは別々の物質です。エタノール添加ガソリン(15% 添加=E15)は使用できません。
エタノール含有率が 10% を超えるガソリンは絶対に使用してはなりません:たとえば E15(含有率 15%)、E20(含有率 20%)、E85(含有率 85%がこれにあたります。
メタノールを含む燃料は使用できません。
燃料タンクや保管容器でガソリンを冬越しさせないでください。 冬越しさせる場合には必ずスタビライザ(品質安定剤)を添加してください。
ガソリンにオイルを混合しないでください。
機械の性能を十分発揮させるために、きれいで新しい(購入後30日以内)燃料を使ってください。
これらの燃料を使用した場合には性能が十分に発揮されず、エンジンに損傷が発生する恐れがあり、仮にそのようなトラブルが発生しても製品保証の対象とはなりません。
Important: エタノール系、メタノール系のスタビライザはご使用にならないでください。アルコール系のスタビライザ(エタノールまたはメタノールを基材としたもの)は使わないでください。
燃料キャップの周囲をきれいに拭いてキャップを外す(図 22)。

燃料を補給する時は、タンク上面から約 25 mm 下まで入れる。
これは、温度が上昇して燃料が膨張したときにあふれないように空間を確保するためである。燃料タンク一杯に入れないこと。
給油が終わったらキャップを締める。
Note: カチッという音が聞こえればキャップは確実にしまっています。
こぼれた燃料はふき取る。
| 整備間隔 | 整備手順 |
|---|---|
| 使用するごとまたは毎日 |
|
毎日の運転前に以下の作業を行ってください:
エンジンオイルの量を点検する;エンジンオイルを点検するを参照。
油圧オイルの量を点検する;油圧オイルの量を点検するを参照。
リールとベッドナイフの刃合わせを点検する;リールとベッドナイフの摺り合わせを点検するを参照。
タイヤ空気圧を点検する;タイヤ空気圧を点検するを参照。
オーナーやオペレータは自分自身や他の安全に責任があり、オペレータやユーザーの注意によって物損事故や人身事故を防止することができます。
作業にふさわしい服装をし、安全めがね、長ズボン、頑丈で滑りにくい安全な靴、および聴覚保護具を着用してください。長い髪は束ねてください。ゆるい装飾品やだぶついた服は身に着けないでください。
疲れている時、病気の時、アルコールや薬物を摂取した時は運転しないでください。
このマシンを運転する時は常に十分な注意を払ってください。運転中は運転操作に集中してください;注意散漫は事故の大きな原因となります。
エンジンを掛ける前に、全部の駆動装置がニュートラルであること、駐車ブレーキが掛かっていることを確認し、運転席に着席してください。
散布車には人を乗せないでください。
作業場所に、無用の大人、子供、ペットなどを近づけないでください。周囲が無人でない場合は、集草バスケットを取り付けた上で、安全に十分注意してください。
運転は、穴や障害物を確認できる十分な照明のもとで行ってください。
ぬれた芝の刈り込みは避けてください。接地力が落ちてスリップする危険が高くなります。
カッティングユニットに手足を近づけないでください。
バックするときには、足元と後方の安全に十分な注意を払ってください。
見通しの悪い曲がり角や、茂み、立ち木などの障害物の近くでは安全に十分注意してください。
刈り込み中以外は必ずカッティングユニットを止めておいてください。
旋回するときや道路や歩道を横切るときなどは、減速し周囲に十分な注意を払ってください。常に道を譲る心掛けを。
エンジンは換気の十分確保された場所で運転してください。排気ガスには致死性ガスである一酸化炭素が含まれています。
エンジンの掛かっているマシンからは離れないでください。
運転位置を離れる前に:
平らな場所に駐車する。
カッティングユニットを床面まで下降させユニットの動作が停止したことを確認する。
駐車ブレーキを掛ける。
エンジンを止め、キーを抜き取る。
全ての動きが停止するのを待つ。
マシンの運転は十分な視界の確保ができる適切な天候条件のもとで行ってください。落雷の危険がある時には運転しないでください。
POPS 構成物は一切マシンから外さないでください。
必ずシートベルトを着用し、緊急時にはシートベルトを迅速に外せるよう練習しておいてください。
運転時には必ずシートベルトを着用してください。
頭上の障害物に注意し、これらに衝突しないように注意してください。
ROPS自体に損傷がないか、また、取り付け金具がゆるんでいないか、定期的に十分に点検を行い、万一の際に確実に役立つようにしておいてください。
ROPS が破損した場合はすべて新しいものに交換してください。修理したり改造しての使用はしないでください。
斜面はスリップや転倒などを起こしやすく、これらは重大な人身事故につながります。斜面での安全運転はオペレータの責任です。どんな斜面であっても、通常以上に十分な注意が必要です。
斜面については、実地の測定を含めてオペレータ自身が調査を行い、安全に作業ができるかどうかを判断してください。この調査においては、常識を十分に働かせてください。
以下に挙げる、斜面で運転する場合の安全上の注意を必ず読んで内容をしっかり理解してください。実際に運転する前に、現場の状態をよく観察し、その日その場所でこのマシンで安全に作業ができるかどうかを判断してください。同じ斜面上であっても、地表面の条件が変われば運転条件が変わります。
斜面での発進・停止・旋回は避けてください。急に方向を変えたり急な加速やブレーキ操作をしないでください。旋回は速度を落としてゆっくりと行ってください。
走行、ステアリング、安定性などに疑問がある場合には運転しないでください。
隠れた穴、わだち、盛り上がり、石などの見えない障害は、取り除く、目印を付けるなどして警戒してください。深い芝生に隠れて障害物が見えないことがあります。不整地ではマシンが転倒する可能性があります。
ぬれ芝、急斜面など滑りやすい場所で運転すると滑って制御できなくなる危険があります。駆動力を失うと、スリップを起こしたりブレーキや舵取りができなくなる恐れがあります。
段差、溝、盛り土、水などの近では安全に十二分の注意を払ってください。万一車輪が段差や溝に落ちたり、地面が崩れたりすると、マシンが瞬時に転倒し、非常に危険です。必ず安全距離を確保してください。
斜面に入る前に、安全の判断をしてください。乗用の刈り込みマシンで斜面を刈り込むことに危険が感じられる場合は歩行型のマシンをお使いください。
斜面では可能なかぎりカッティングユニットを地表面まで下げておいてください。斜面上でカッティングユニットを上昇させると機体が不安定になる恐れがあります。
集草装置などのアタッチメントを取り付けての作業には十分な注意を払ってください。アタッチメントによってマシンの安定性が変わり、安全限界が変わる場合がありますからご注意ください。
慣らし運転期間中のオイル交換や初期整備作業については、機械に付属のエンジンマニュアルを参照してください。
運転開始直後 8 運転時間を慣らし運転期間とします。
この期間中の取り扱いは、本機のその後の信頼性を確保する上で非常に重要ですから、各機能や動作を入念に観察し、小さな異常でも早期に発見・解決しておいてください。また、この期間中はオイル漏れや部品のゆるみの点検を頻繁におこなってください。
Note: 芝刈機の下に物が落ちていないか確認してください。
着席し、駐車ブレーキが掛かっていること、芝刈りレバーが解除になっていること、モードレバーがニュートラル位置にあることを確認する。
走行ペダルから足を外し、ペダルがニュートラル位置にあることを確認する。
エンジンが冷えている時のみチョークを引いて ON位置にする。スロットルレバーをハーフスロットルにセットする。
エンジンを始動し、エンジンがスムーズに回転を続けられるように調整する。
なるべく早く OFF 位置に戻すようにする。
Note: エンジンが温かい時にはチョークは不要です。
エンジン始動後、以下を点検する:
スロットルレバーをFAST位置にセットする。
モードレバーを刈り込み(MOW) 位置に動かし、芝刈りレバーを前に倒してみる。
全部のカッティングユニットが降下・回転すれば正常です。
刈り込みレバーを引いてカッティングユニットを一番高い位置(移動走行位置)まで上昇下降させる。
カッティングユニットが上昇を開始すると同時に回転を停止すれば正常です。カッティングユニットが完全に上昇する前にレバーから手を離すと、カッティングユニットの上昇が止まり、リールも止まったままとなります。
駐車ブレーキを掛け、エンジンを止める。
各集草箱のリップとリールとが接触していないか確認してください。
接触している場合には、プルアームを調整してください;カッティングユニットを取り付けるを参照。
オイル漏れがないか点検し、もしフィッティング部からオイルがにじんでいる場合にはフィッティングを締め付ける。
Note: マシンが新しく、ベアリングやリールがまだ十分になじんでいない間は、スロットルをFASTにセットした状態でこの点検を行う必要があります。慣らし運転期間終了後は回転速度を下げて点検できるようになります。
Note: オイル漏れが止まらない場合にはトロ社代理店に連絡し、部品交換など適切な措置をしてもらってください。
Important: 慣らし運転期間中は、モータやホイールのシールから、短期間、ごく少量のオイルがにじむことがあります。これはシールに適切な潤滑を与えるためであり、異常ではありません。
スロットルレバーをFAST位置にセットする。
芝刈りレバーを軽く前に倒す。
全部のカッティングユニットが降下して回転すれば正常。
Note: カッティングユニットが降下するためには、モードレバーを中(刈り込み)位置にしておく必要があります。
芝刈りレバーを後ろに引いてみる。
カッティングユニットが停止し、一番上(移動位置)まで上昇すれば正常。
機体が動かないようにブレーキを掛けた状態で、走行ペダルを前進側と後退側に踏み込んでみる。
上記を約 1-2 分間行う。モードレバーをニュートラル位置に戻し、駐車ブレーキを掛け、エンジンを停止する。
オイル漏れがないか点検し、フィッティング部からオイルがにじんでいる場合にはフィッティングを締め付ける。
Note: マシンが新しく、ベアリングやリールがまだ十分になじんでいない間は、スロットルをFASTにセットした状態でこの点検を行う必要があります。慣らし運転期間終了後は回転速度を下げて点検できるようになります。
Note: オイル漏れが止まらない場合にはトロ社代理店に連絡し、部品交換など適切な措置をしてもらってください。
Important: 慣らし運転期間中は、モータやホイールのシールから、短期間、ごく少量のオイルがにじむことがあります。これはシールに適切な潤滑を与えるためであり、異常ではありません。
スロットルレバーを低速位置にし、芝刈りレバーを手前に引き、モードレバーをニュートラル位置にする。
その後にキーをOFFにしてエンジンを停止させてください。事故防止のため、キーは抜き取っておく。
長期間保管する場合には燃料バルブを閉じておく。
| 整備間隔 | 整備手順 |
|---|---|
| 使用するごとまたは毎日 |
|
インタロックスイッチは安全装置であり、これを取り外すと予期せぬ人身事故が起こり得る。
インタロックスイッチをいたずらしないこと。
作業前にインタロックスイッチの動作を点検し、不具合があれば作業前に交換修理すること。
安全インタロックは、人身事故や車両を損傷するなどの危険が存在する場合に強制的に運転を停止してオペレータや機械を保護する安全装置です。
以下の条件がそろっていないとインタロックが作動し、エンジンを始動することができません:
走行ペダルがニュートラル位置にある。
モードレバーがニュートラル位置にある。
以下の条件がそろっていないとインタロックが作動し、走行することができません:
駐車ブレーキが掛かっていない。
運転席に着席している。
モードレバーが刈り込み位置か移動走行位置にセットされている。
モードレバーが刈り込み位置にない場合はインタロックが作動し、リールが回転しません。
| 整備間隔 | 整備手順 |
|---|---|
| 使用するごとまたは毎日 |
|
以下の要領で、インタロックの動作を毎日確認してください:
着席し、走行ペダルがニュートラル位置、モードレバーがニュートラル位置、駐車ブレーキが掛かっていることを確認する。
走行ペダルを踏み込んで前進または後退を試みます。
インタロックによりペダルが動かないのが正常。正しく動作しないのはインタロックの故障であるから直ちに修理する。
着席し、走行ペダルがニュートラル位置、モードレバーがニュートラル位置、駐車ブレーキが掛かっていることを確認する。
モードレバーを刈り込み位置または移動走行位置にセットして、エンジン始動操作を行う。
エンジンが始動できないのが正常。正しく動作しないのはインタロックの故障であるから直ちに修理する。
着席し、走行ペダルがニュートラル位置、モードレバーがニュートラル位置、駐車ブレーキが掛かっていることを確認する。
エンジンを始動し、モードレバーを芝刈りまたは移動走行位置にする。
インタロックが適切に機能してエンジンが停止するのが正常。
正しく動作しないのはインタロックの故障であるから直ちに修理する。
着席し、走行ペダルがニュートラル位置、モードレバーがニュートラル位置、駐車ブレーキが掛かっていることを確認する。
エンジンを掛ける。
駐車ブレーキを解除し、機能レバーを刈り込み位置にして、運転席から立ち上がる。
インタロックが適切に機能してエンジンが停止するのが正常。正しく動作しないのはインタロックの故障であるから直ちに修理する。
着席し、走行ペダルがニュートラル位置、モードレバーがニュートラル位置、駐車ブレーキが掛かっていることを確認する。
エンジンを掛ける。
この状態から芝刈りレバーを「芝刈り」位置に切り換えてカッティングユニットを降下させる。カッティングユニットは降下するが回転しないのが正常。
回転するのはインタロックの故障です;原因を究明し、修正してください。
カッティングユニットが完全上昇位置にあることを確認する。
モードレバーを移動走行位置にする。
下り斜面ではブレーキを使用して車両を確実に制御してください。
ラフな場所に入る時やアンジュレーションを渡る時には必ず走行速度を落としてください。
本機の車両感覚(車幅)をマスターしましょう。狭い場所での無理な通り抜けを避けましょう。ぶつけて破損するのは時間と費用のロスです。
Important: 作業中にリークディテクタ(搭載されている場合)のアラームが鳴ったり、オイル漏れに気づいたら、直ちにカッティングユニットを上昇させ、グリーンから退避してください。そしてオイル漏れの原因を確かめ、修理を行ってください。
実際にグリーンで刈り込みを行う前に、広い場所で基本的な運転操作(走行、停止、カッティングユニットの上昇、下降、旋回動作など)をよく練習してください。
グリーンに異物が落ちていないことを確認し、カップから旗を抜き、刈り込みの方向を決めます。刈り込みの方向は、前回の刈り込みの方向をもとにして決めます。いつも前回とは違う方向から刈るようにすると、芝が一定方向に寝てしまわないのできれいに刈ることができます。
エンジンはフルスロットル、モードは芝刈りモードでグリーンに入ります。
グリーンの一方の縁から刈り始め、細長いじゅうたんを敷くつもりで真っ直ぐに進んでください。
Note: このパターンで作業すると、無駄な重なりをなくし、固結を最小限に抑えながら、美しい縞模様を作ることができます。
集草バスケットの先端がグリーンの縁に掛かったところで芝刈りレバーを前に倒します。
Note: これによりカッティングユニットが芝面に下降しリールが回転を始めます。
Important: 中央ユニットはやや遅れて動作を開始しますので、練習によってこのタイミングを早くつかんで、仕上げの外周刈りの手間を最小限にしましょう。
Note: 中央ユニットの遅れには、油圧オイルの温度により多少のずれがあります。油圧オイルが低温の時は遅れが長めになります。温度が上昇するにつれて遅れは短くなります。
行きと帰りでのオーバーラップができるだけ小さくなるように運転します。
Note: グリーン内をぶれずにきれいに直進し、刈り込みの済んだ列との距離を一定に保って走るためには、車体前方 1.8 から 3 m のところに視線を置いて、刈り込み済みの済んでいる列にラインを合わせるようにするのがコツです(図 24)。ハンドルを目印にして距離を合わせても良いでしょう。その場合、ハンドルの縁と本機前方の目標ラインとを重ねて見ながら運転します。
集草バスケットの先端がグリーンの縁に掛かったところで芝刈りレバーを軽く引いて、全部のカッティングユニットが上昇するまで保持します。これによりリールの回転は停止し、カッティングユニットが上昇します。
Important: このタイミングを間違うとグリーンのエッジ部分を刈り込んでしまいます。またカッティングユニットを降ろすタイミングが遅いと外周近くに刈り残しを作ってしまいます。タイミングを早くつかんでください。
U ターンするとき、一旦反対側にハンドルを切ってから旋回すると、楽に、しかも効率良く回ることができて次の列そろえが楽になります。反対側に軽く振ってから旋回すると雨だれ形の旋回(図 23)になって、スムーズに次の列に入ることができます。

Note: できるだけ小さな半径でターンをする方が刈り込みを能率よく行うことができますが、芝草が弱っている時などは大きな半径で優しく回ってください。

Note: ハンドルは自動的には元の位置に戻りません。
Important: 絶対に、カッティングユニットを作動させたままでグリーンの上に停止してはいけません。ターフが損傷します。また、湿ったグリーンの上で長時間停車するとタイヤ跡が残ることがあります。
最後にグリーンの外周を刈ります。これも前回と反対の方向から刈るようにしましょう。
Note: 外周刈りの時は、スロットルレバーで走行速度を調整しましょう。これによってグリーンの内部とクリップが揃うようになり、タイヤ跡ができにくくなる可能性もあります。
Note: 常に天候や芝状態を考慮すること、毎回刈り込みの方向を変えることが大切です。
外周刈りが終わったら芝刈りコントロールレバーを軽く引いてカッティングユニットを停止させ、グリーンの外へ出ます。全部のカッティングユニットがグリーンの外に出たらカッティングユニットを上昇させます。
Note: このようにすれば、グリーンの上に刈りかすがこぼれ落ちません。
旗を戻して終了です。
全部の集草箱を空にしてから、次のグリーンに移動します。
Note: 湿った重い刈りかすを入れたまま移動すると機体やエンジン、油圧系、ブレーキなどに無用な負荷がかかるので避けてください。
運転席を離れる前に、エンジンを停止し、キーを抜き取り、機械の動きが完全に停止したのを確認する。調整、整備、洗浄、格納などは、機体が十分に冷えてから行ってください。
火災防止のため、カッティングユニットや駆動部の周囲に、草や木の葉、ホコリなどが溜まらないようご注意ください。オイルや燃料がこぼれた場合はふき取ってください。
格納保管中やトレーラで輸送中は、燃料バルブを閉じておいてください。
移動走行時など、刈り込みなどの作業をしていない時には、アタッチメントの駆動を解除しておいてください。
閉めきった場所に本機を格納する場合は、機械が十分冷えていることを確認する。
必要に応じてシートベルトの清掃と整備を行ってください。
ガス湯沸かし器のパイロット火やストーブなど裸火や火花を発するものがある近くでは、マシンや燃料容器を保管・格納しないでください。
この機械の牽引は、必ず牽引装置(ヒッチ)を装備した車両で行ってください。牽引される側の機械は、ヒッチポイントでのみ連結してください。
メーカーが決めた牽引時の重量制限や斜面での牽引制限を守ってください。斜面などでは、牽引される側の機械の重量によって運転制御ができなくなる危険があります。
牽引される側の機械には絶対に子供などを乗せないでください。
牽引は低速で行い、停止距離を十分にとってください。
緊急時には、0.4 km 程度までは本機を牽引して移動することができます。
Important: 駆動系に損傷を与える恐れがあるので、牽引速度は、3-5 km/h までとしてください。移動距離が 0.4 km を超える場合は、トラックやトレーラに積んで移送してください。
油圧ポンプについているバイパスバルブを探し出す(図 25)。

バルブを左に3回転させてバルブを開く。
エンジンを掛ける前にバイパスバルブを閉じて、12 N·m(1.2 kg.m = 9 ft-lb)にトルク締めすること。
Important: バイパスバルブを開けたままでエンジンを掛けないこと。
| 整備間隔 | 整備手順 |
|---|---|
| 使用するごとまたは毎日 |
|
芝刈り作業が終わったら、ホースと水道水で洗車をしますが、水圧が高いとシールやベアリングに浸水しますからノズルは使用しないでください。高温のエンジンや、配線部分には水を掛けないでください。
洗浄後は以下の作業を行ってください:
各部の磨耗・損傷、油圧機器や可動部の状態などの点検を行ってください。
カッティングユニットの切れ具合を点検してください。
ブレーキシャフトアセンブリは、SAE 30 を塗りつけるか、スプレー式の潤滑剤を使って滑らかな動きの確保と防錆を行ってください。
トレーラやトラックに芝刈り機を積み降ろすときには安全に十分注意してください。
積み込みには、機体と同じ幅のある歩み板を使用してください。
荷台に載せたら、ストラップ、チェーン、ケーブル、ロープなどで機体を確実に固定してください。機体の前後に取り付けた固定ロープは、どちらも、機体を外側に引っ張るように配置してください (図 26)。

適切な保守整備を行わないと車両が故障・破損したり、搭乗者や周囲の人間まで巻き込む人身事故を起こす恐れがある。
マニュアルに記載された作業を行って、マシンをいつも適切な状態に維持することが重要である。
Note: 前後左右は運転位置からみた方向です。
Note: www.Toro.com から、この機械に関する配線図と油圧回路図をダウンロードすることができます。弊社ホームページからマニュアルへのリンクをご活用ください。
Important: エンジンの整備に関しての詳細は、付属のエンジンマニュアルを参照してください。
始動キーをつけたままにしておくと、誰でもいつでもエンジンを始動させることができ、危険である。
整備・調整作業の前には必ずエンジンを停止し、キーを抜いておくこと。点火コードが点火プラグに触れないように十分離しておくこと。
運転席を離れる前に:
平らな場所に駐車する。
カッティングユニットを停止させる。
駐車ブレーキを掛ける。
エンジンを止め、キーを抜き取る。
全ての動きが停止するのを待つ。
保守作業は、各部が十分冷えてから行ってください。
可能な限り、エンジンを回転させながらの整備はしないでください。可動部に近づかない。
機体の下で作業する場合には、必ずジャッキスタンドで機体を確実に支える。
機器類を取り外すとき、スプリングなどの力が掛かっている場合があります。
マシン各部が良好な状態にあり、ボルトナット類が十分にしまっているか常に点検してください。
読めなくなったデカルは貼り替えてください。
マシンの性能を完全に引き出し、かつ安全にお使いいただくために、交換部品は純正品をお使いください。他社の部品を御使用になると危険な場合があり、製品保証を受けられなくなる場合がありますのでおやめください。
| 整備間隔 | 整備手順 |
|---|---|
| 使用開始後最初の 1 時間 |
|
| 使用開始後最初の 10 時間 |
|
| 使用開始後最初の 50 時間 |
|
| 使用するごとまたは毎日 |
|
| 50運転時間ごと |
|
| 100運転時間ごと |
|
| 200運転時間ごと |
|
| 800運転時間ごと |
|
| 1000運転時間ごと |
|
| 2000運転時間ごと |
|
| 1年ごと |
|
| 2年ごと |
|
このページをコピーして使ってください。
| 点検項目 | 第 週 | ||||||
|---|---|---|---|---|---|---|---|
| 月 | 火 | 水 | 木 | 金 | 土 | 日 | |
| インタロックの動作を点検する。 | |||||||
| 計器類の動作を確認する | |||||||
| リークディテクタの動作を確認する。 | |||||||
| ブレーキの動作を確認する。 | |||||||
| 燃料残量を確認する。 | |||||||
| 油圧オイルの量を点検する。 | |||||||
| エンジンオイルの量を点検する。 | |||||||
| エンジン冷却フィンの汚れを落とす。 | |||||||
| エアフィルタとプレクリーナを点検する。 | |||||||
| エンジンからの異常音がないか点検する。 | |||||||
| リールとベッドナイフの摺り合わせを点検する。 | |||||||
| 油圧ホースの磨耗損傷を点検する。 | |||||||
| オイル漏れなど。 | |||||||
| タイヤ空気圧を点検する。 | |||||||
| 刈高の調整の点検する。 | |||||||
| グリスアップ。1 | |||||||
| 刈り込み、昇降、ブレーキの各リンクの潤滑を行う。 | |||||||
| 塗装傷のタッチアップ | |||||||
|
1. 車体を水洗いしたときは整備間隔に関係なく直ちにグリスアップする。 |
|||||||
| 点検担当者名: | ||
| 内容 | 日付 | 記事 |
Note: 座席を頻繁に付け外しする場合には、ロールピンの代わりに Rキーピン(P/N 3290-467)を使用すると便利です。
シートアセンブリを外してバルブブロックに手が届くようにします。
ラッチを外し、座席を倒して支持棒で固定する。
座席下のワイヤハーネスのコネクタ(2個)を外す。
座席を降ろし、回転軸を固定しているロールピンを抜き取る(図 27)。

座席ピボット軸を左側にずらす。
座席を前方に動かして機体から取り外す。
取り付けは上記と逆の手順で行う。
機体を適切に支えておかないと、何かの弾みに機体が落下する可能性があり極めて危険である。
整備作業に掛かる前に、ジャッキスタンドや角材などで機体を確実に支えること。
ジャッキを掛ける前にカッティングユニットを降下させてください。ジャッキアップ箇所は以下の通りです:
右側:ジャッキパッド部分と、 ROPS(横転保護バー)のサポートブラケットの近く(図 28)
左側:ステップの下
後部:キャスタフォーク

| 整備間隔 | 整備手順 |
|---|---|
| 50運転時間ごと |
|
定期的に、No.2リチウム系汎用グリスを注入します。
グリスアップ箇所は以下の通りです:
後ローラハブアセンブリ(3輪駆動キットを搭載している場合には、後ホイールのローラクラッチと外部ボールベアリング;1か所)(図 29)

ステアリングフォークのシャフト:1か所(図 30)
ステアリングシリンダロッドの端部(図 30)

昇降アームのピボット(3か所)とピボットヒンジ(3か所)(図 31)

プルフレームのシャフトとローラ:12 か所(図 32)

ステアリングシリンダの端部(図 33)

昇降シリンダ:3か所(図 34)

走行ペダル (図 35)



異物を押し込んでしまわないよう、グリスニップルをきれいに拭く。
ベアリング(又はブッシュ)からグリスがはみ出てくるのが見えるまで注入する。はみ出したグリスはふき取る。
カッティングユニットを外した時にはリールモータのスプラインシャフトと昇降アームとにグリスを塗布する。
芝刈り作業後の水洗いが終わったら、ピボット部にはSAE 30 エンジンオイルか潤滑剤(WD40)を塗布または吹き付けする。
エンジンオイルの点検や補充は、エンジンを止めて行ってください。
エンジンのガバナの設定を変えたり、エンジンの回転数を上げすぎたりしないでください。
| 整備間隔 | 整備手順 |
|---|---|
| 50運転時間ごと |
|
| 100運転時間ごと |
|
エアクリーナのカバーを清掃する(図 38)。

ロック用クリップを取り、エアクリーナカバーを外す。
エレメントをエアクリーナに固定している蝶ナットを外す(図 39)。
スポンジ(図 39)を点検し、汚れていればペーパーエレメントから外す。以下の要領で丁寧に清掃してください:
スポンジを温水と液体洗剤で押し洗いする。スポンジを軽くもみ洗いして汚れを落とす。
洗い上がったら、きれいなウェスにはさんで水分を取る。ウェスをよく押して水分を十分に取る。
Important: 乾かす時には絞らない。ひねるとスポンジが破れるので注意する。

ペーパーエレメントの状態を点検するエレメントの平たい面を軽く叩いて汚れを落とす。汚れがひどければ交換する。
スポンジ、ペーパーエレメント、蝶ナット、カバーを元通りに取り付ける。
Important: エレメントを外したままでエンジンを運転しないこと。エンジンに大きな損傷が起きる場合があります。
エンジンにはオイルを入れて出荷していますが、初回運転の前後に必ずエンジンオイルの量を確認してください。
API 規格:SJ またはそれ以上
オイルの粘度:SAE 30
Note: 高品質のエンジンオイルを使用してください。
| 整備間隔 | 整備手順 |
|---|---|
| 使用するごとまたは毎日 |
|
平らな場所に駐車し、エンジンを停止し、キーを抜き取る。
ディップスティックを回して抜き、ウェスで一度きれいに拭く。
補給口にディップスティックを差し込んでねじ部を最後まで締めこむ(図 40)。

首から引き抜いて油量を点検する。
オイルの量が不足している場合は、バルブカバーについている補給口のキャップを取り、ディップスティックの FULL マークまで補給する。
補給するときは、ディップスティックで確認しながら少量ずつ入れる。
Important: 入れすぎないように注意してください。
補給口のキャップとディップスティックを取り付ける。
| 整備間隔 | 整備手順 |
|---|---|
| 100運転時間ごと |
|
エンジンオイル容量: 1.4 リットル(フィルタを含む)
ドレンプラグ (図 41) を外してオイルを容器に受ける。

ドレンプラグのねじ山をきれいにして PTFE シーラントを巻き付ける(図 41)。
オイルフィルタ(図 41)を外す。
新しいフィルタのガスケットに薄くエンジンオイルを塗る。
ガスケットがアダプタに当たるまで手でオイルフィルタをねじ込み、そこから更に 3/4-1 回転増し締めする。
Important: フィルタを締めすぎないように注意してください。
クランクケースにオイルを入れる;エンジンオイルの仕様とエンジンオイルを点検するを参照。
廃油は適切な方法で処理する。
| 整備間隔 | 整備手順 |
|---|---|
| 1000運転時間ごと |
|
点火プラグの種類:: Champion RC 14YC
エアギャップの値:0.76 mm
点火プラグを外した時にエンジン内部に異物が落ちないように、プラグの周囲をきれいに清掃する。
プラグから点火コードを外し、プラグを外す。
電極(側面と中央)と碍子の状態を点検する。
Important: 汚れその他の不具合のある点火プラグは交換してください。点火プラグにサンドブラストをかけたり、ナイフ状のもので削ったり、ワイヤブラシで清掃したりしないでください;プラグに残った細かい破片がシリンダ内に落ちる恐れがあります。
図 42のように、電極間のエアギャップを 0.76 mm に調整する。

点火プラグとガスケットシールを元通りに取り付け、23 N·m(2.3 kg.m=200 in-lb)にトルク締めする。
| 整備間隔 | 整備手順 |
|---|---|
| 800運転時間ごと |
|
インラインタイプの燃料フィルタが、燃料タンクとキャブレタの間に設置してあります(図 43)。
燃料は非常に引火・爆発しやすい物質である。発火したり爆発したりすると、やけどや火災などを引き起こす。
燃料タンクからの燃料の抜き取りはエンジンが冷えてから行う。この作業は必ず屋外の広い場所で行う。こぼれた燃料はふき取る。
燃料取り扱い中は禁煙を厳守し、火花や炎を絶対に近づけない。
| 整備間隔 | 整備手順 |
|---|---|
| 2年ごと |
|
劣化・破損状況やゆるみが発生していないかを調べてください。
マシンの整備や修理を行う前に、バッテリーの接続を外してください。バッテリーの接続を外すときにはマイナスケーブルを先に外し、次にプラスケーブルを外してください。接続するときにはプラスを先に接続し、次にマイナスを接続してください。
バッテリーの充電は、火花や火気のない換気の良い場所で行ってください。バッテリーと充電器の接続や切り離しを行うときは、充電器をコンセントから抜いておいてください。また、安全な服装を心がけ、工具は確実に絶縁されたものを使ってください。
バッテリーの端子に金属製品や車体の金属部分が触れるとショートを起こして火花が発生する。それによって水素ガスが爆発を起こし人身事故に至る恐れがある。
バッテリーの取り外しや取り付けを行うときには、端子と金属を接触させないように注意する。
バッテリーの端子と金属を接触させない。
バッテリーからマイナスケーブル(黒)を外し、次にプラスケーブル(赤)外す(図 44)。

バッテリーケーブルの接続ルートが不適切であるとケーブルがショートを起こして火花が発生する。それによって水素ガスが爆発を起こし人身事故に至る恐れがある。
ケーブルを取り外す時は、必ずマイナス(黒)ケーブルから取り外す。
固定具とバッテリークランプを外してバッテリーを取り出す。
充電器に接続し、充電電流を 2-4 A にセットする。液温 16°Cのときの電解液の比重が 1.250 になり、全部のセルから泡が十分に立つようになるまで、充電電流 4A で最低2時間程度、または充電電流 2A で最低4時間程度、充電を行う。
充電中は爆発性のガスが発生する。
充電中は絶対禁煙を厳守。バッテリーに火気を近づけない。
Important: 充電時間が不足しているとバッテリーの寿命が短くなる可能性があります。
充電が終わったらチャージャをコンセントから抜き、バッテリー端子からはずす。
バッテリートレイの上にバッテリーを置き、先ほど取り外したクランプと固定具で固定する。
プラス(赤)ケーブルをバッテリーのプラス(+)端子に接続し、次にマイナス(黒)ケーブルをバッテリーのマイナス(-)端子に接続して、先ほど外したボルトとナットで固定する(図 44)。ショート防止のために(+)端子にゴムキャップをかぶせる。
バッテリーケーブルの接続ルートが不適切であるとケーブルがショートを起こして火花が発生する。それによって水素ガスが爆発を起こし人身事故に至る恐れがある。
ケーブルを取り付ける時は、必ずプラス(赤)ケーブルから取り付け、それからマイナス(黒)ケーブルを取り付ける。
マシンに搭載されているヒューズは座席下にあります(図 45)。

| 整備間隔 | 整備手順 |
|---|---|
| 使用するごとまたは毎日 |
|
タイヤ空気圧はターフのコンディションに合わせて適宜変えてください:適正範囲の最低値は 0.55 bar(0.56 kg/cm12=8 psi)、最高値は 0.83 bar(0.84 kg/cm2=12 psi)です。
後輪の空気圧も適宜変えてください:最低値は0.55 bar(0.56 kg/cm2=8 psi)、最高値は 1.03 bar(10.5 kg/cm2=15 psi)です。
| 整備間隔 | 整備手順 |
|---|---|
| 使用開始後最初の 1 時間 |
|
| 使用開始後最初の 10 時間 |
|
| 200運転時間ごと |
|
適切なトルク締めを怠ると車輪の脱落や破損から人身事故につながる恐れがあります。
各ホイールナットを所定のトルクに適切な締め付け順序を守って締め付ける。
ホイールナットの規定トルク:95-122 N·m(9.7-12.5 kg.m = 70-90 ft-lb)
Note: 均等な締め付けになるようにクロスパターンで少しずつ締め付けてください。
走行ペダルをニュートラル位置にしても本機が動きだすようでしたら、ニュートラル復帰メカニズムを調整します。
どちらか一方の前輪を浮かして機体を支える。
Note: 3 輪駆動キットを搭載している場合には、後ホイールも浮かせてブロックしてください。
エンジンを始動し、スロットルを SLOW にセットし、浮かせている前輪が回転しないことを確認する。
車輪が回転している場合には、エンジンを止め、以下の手順で調整する:
走行ケーブルを油圧トランスミッションのバルクヘッドに取り付けているジャムナット(図 46)を両方ともゆるめる。調整ができるよう、ジャムナットは十分に、また均等にゆるめること。

Note: 偏芯ナットをトランスミッション上部に止めているナット(図 46)をゆるめる。
機能コントロールレバーをニュートラルにセットし、スロットルを SLOW 位置にする。
エンジンを掛ける。
どちらにも車輪が回らないように偏芯ナットを回して調整する。
調整ができたら固定ナットを締める(図 46)。
スロットルSLOW およびFAST 位置で調整が正しいことを確認する。
バルクヘッドのそれぞれの側から、ロックナットを均等に締め付けて、ケーブルを固定する(図 46)。ケーブルをねじらないように注意すること。
Note: モードレバーがニュートラル位置のときにケーブルが緊張していると、芝刈りモードや移動走行モードに切り換えたときにペダルを踏まなくても走り出してしまいます。
走行ペダルは最高速度を出せるように出荷時に調整されていますが、一杯に踏んでいるのにペダルストップに当たらないようになったら調整が必要です。また、最高速度を下げたい場合にも調整を行います。
モードレバーを移動走行位置にセットし、ペダルを一杯に踏み込めば最高速度となります。ケーブルに張力が掛かる前にペダルがストップ(図 47)に当たる場合には調整が必要です。

モードレバーを移動走行位置にセットし、ペダルストップを固定しているロックナットをゆるめる(図 47)。
ペダルストップを締め込んで、走行ペダルから離す。
ペダルに軽く力を掛けながら、ペダルストップの位置の微調整を行い、調整ができたらロックナットで調整を固定する。
Important: ケーブルのテンションを確認してください。テンションが強すぎるとケーブルの寿命が短くなります。
ペダルを踏み、ペダルストップを固定しているロックナットをゆるめる。
希望する速度になるまでペダルストップをゆるめる。
ロックナットで調整を固定する。
出荷時設定:6.1km/h
走行ペダルの側面ついているトラニオンボルトのジャムナットをゆるめる(図 48)。

トラニオンボルトを右に回すほど刈り込み速度が遅くなり、左へ回すほど早くなる。
調整ができたらトラニオンボルトを回さないように注意しながらジャムナットを締め、走行速度をチェックする。必要に応じてこの操作を繰り返す。
| 整備間隔 | 整備手順 |
|---|---|
| 1年ごと |
|
ブレーキをしっかりと掛け、その状態のままで、刈り込み速度で走行し、ブレーキが過熱して臭気がしてきたら終了します。慣らし掛け終了後にブレーキの調整が必要になる場合があります:ブレーキの調整を参照。
両輪を均等に調整できるよう、機体両側にブレーキ調整ロッドがついています。
走行中にブレーキペダルを踏み、両輪が均等に制動されるか調べる。
狭い場所や人の近くでのブレーキテストは大変危険である。
ブレーキ調整の前後に行うテストは、必ず人や障害物のない平坦で広い場所で行うこと。
ブレーキが左右均等に掛からない場合は以下の手順で調整する:
Important: 一年に一度、ブレーキの慣らし掛けを行ってください;ブレーキの慣らし掛けを行うを参照。
本機のカッティングユニット昇降回路にはフローコントロールバルブ(図 50)がついています。このバルブは出荷時に約3 回転の開度に調整されていますが、作動油の温度、作業速度などにより調整が必要になる場合があります。以下の手順で調整します:
Note: 油圧オイルの温度が十分上昇してから調整にかかってください。
座席下にあるフローコントロールバルブを探し出す(図 50)。


フローコントロールバルブの調整ノブについているジャムナットをゆるめる。
フローコントロールバルブの調整は以下の手順で行う:
カッティングユニットの降下が遅すぎる場合は、ノブを左に回し、
降下が早すぎる場合は、ノブを右に回す。
Note: ノブは 1/32-1/16 回転以内で調整可能である。
調整を確認し、必要に応じてステップ3を繰り返し、適切に調整できたらジャムナットを締める。
上昇位置(移動走行時)における前カッティングユニットの高さを調整するには、昇降シリンダを調整します。
万一、油圧オイルが体内に入ったら、直ちに専門医の治療を受けてください。万一、油圧オイルが体内に入った場合には、この種の労働災害に経験のある施設で数時間以内に外科手術を受ける必要があります。
油圧装置を作動させる前に、全部のラインコネクタが適切に接続されていること、およびラインやホースの状態が良好であることを確認してください。
油圧のピンホールリークやノズルからは作動油が高圧で噴出しているので、絶対に手などを近づけないでください。
リークの点検には新聞紙やボール紙を使用すること。
油圧関係の整備を行う時は、内部の圧力を確実に解放すること。
Important: 使用しているオイルの種類に関わらず、外気温が29°Cを超える地域や、フェアウェイ刈りやバーチカットなどに使用するときには、オイルクーラキット(P/N 105-8339)を取り付けてください。
油圧オイル溜めに高品質の油圧オイルを満たして出荷しています。初めての運転の前に必ず油量を確認し、その後は毎日点検してください;油圧オイルの量を点検するを参照。
交換用の推奨油圧オイル:Toro PX Extended Life Hydraulic Fluid(19 リットル缶または208 リットル缶)。
Note: 推奨オイルを使用するとオイルやフィルタ交換の回数を減らすことができます。
使用可能な他のオイル:Toro PX Extended Life Hydraulic Fluidが入手できない場合は、以下に挙げる特性条件および産業規格を満たす石油系の油圧オイルを使用することができます。合成オイルは使用しないでください。オイルの専門業者と相談の上、適切なオイルを選択してください:
Note: 不適切なオイルの使用による損害については弊社は責任を持ちかねますので、品質の確かな製品をお使い下さる様お願いいたします。
| 物性: | ||
| 粘度, ASTM D445 | cSt @ 40°C 44-48 | |
| 粘性インデックス ASTM D2270 | 140 以上 | |
| 流動点 ASTM D97 | -37°C--45°C | |
| 産業規格: | Eaton Vickers 694 (I-286-S, M-2950-S/35VQ25 or M-2952-S) | |
Note: 多くの油圧オイルはほとんど無色透明であり、そのためオイル洩れの発見が遅れがちです。油圧オイル用の着色剤(20 ml 瓶)をお使いいただくと便利です。1瓶で 15-22 リットルのオイルに使用できます。パーツ番号は P/N 44-2500; ご注文は Toro 代理店へ。
Important: トロ・プレミアム合成生分解油圧作動液は、トロ社がこの製品への使用を認めた唯一の合成生分解オイルです。このオイルは、トロ社の油圧装置で使用しているエラストマーに悪影響を与えず、また広範囲な温度帯での使用が可能です。このオイルは通常の鉱物性オイルと互換性がありますが、十分な生分解性を確保し、オイルそのものの性能を十分に発揮させるためには、通常オイルと混合せず、完全に入れ替えて使用することが望まれます。この生分解オイルは、モービル代理店にて 19 リットル缶または 208 リットル缶でお求めになれます。
平らな場所に駐車する。
Note: マシンが使用直後でなく、油圧オイルが冷えた状態であることを確認してください。
マシンの油圧オイルタンクで、油圧オイルの量を確認する。
補助油圧オイルタンクに油量確認窓がついている場合は、そこで確認し(図 54)ステップ 5 に進んでください。
Note: オイル量が点検窓の 2 本の線の間にあればよい。
補助油圧オイルタンクに油量確認窓がついていない場合は、マシン上部にあるディップスティックを探し出し(図 54)ステップ 3 に進んでください。

ディップスティックを抜き、ウェスで一度きれいに拭いてから、もう一度タンクに差し込む。
ディップスティックを抜いて油量を点検する。オイル量が2本のマークの間にあれば油量は適正である。油量が 2 つのマークの間にない場合は適正量に調整する(図 55)。

油圧オイルタンクのキャップを外し、適切な油圧オイルを、ディップスティックまたは点検窓の2本の線の間にくるまでゆっくりと補給する。
Important: 油圧回路の汚染を防止するため、オイルの缶を開ける前に、缶のふたの表面をきれいに拭ってください。また、給油ホースやロートなども汚れがないようにしてください。
Note: 油圧オイルを混ぜないでください。
給油が終わったらキャップを締める。
Note: 油圧系の目視点検は入念に行ってください。オイル漏れ、接続部のゆるみ、部品の欠落、ラインの配置などに問題がないか、油圧システムを点検する。修正が必要であれば行う。
| 整備間隔 | 整備手順 |
|---|---|
| 800運転時間ごと |
|
| 1000運転時間ごと |
|
| 2000運転時間ごと |
|
油圧オイルの量:25.7 リットル
オイルが汚染された場合は内部のフラッシュ洗浄作業が必要となります。 Toro 代理店にご相談ください。汚染されたオイルは乳液状になったり黒ずんだ色になったりします。
フィルタ容器の周辺をウェスできれいにぬぐう(図 56)。フィルタの下に廃油受けを置いてフィルタを外す。

Note: オイルを抜かずにフィルタのみを交換する場合には、フィルタに入るラインを外して栓をしてください。
フィルタにオイルを入れ、ガスケットをオイルで湿し、ガスケットがフィルタヘッドに当たるまで手で回し入れる。その状態からさらに ¾ 回転締め付ける。
油圧オイルタンクに油圧オイルを入れる;油圧作動液の仕様と油圧オイルの量を点検する を参照。
エンジンを始動させ、3-5分間のアイドリングを行ってオイルを全体に行き渡らせ、内部にたまっているエアを逃がす。エンジンを停止させ、オイル量を調べる。
使用済みオイルとフィルタは適切に処分する。
| 整備間隔 | 整備手順 |
|---|---|
| 使用するごとまたは毎日 |
|
油圧ライン・油圧ホースにオイル漏れ、ねじれ、支持部のゆるみ、磨耗、フィッティングのゆるみ、風雨や薬品による劣化などがないか毎日点検してください。異常を発見したら必ず運転を行う前に修理してください。
リークディテクタシステムは、油圧オイルのリークを早期に発見し、オペレータに知らせます。メインタンクの中のオイルの量が 118-177 ml 少なくなると、タンク内部にあるフロートスイッチが作動します。1秒後にアラームが作動してオペレータに異常の発生を知らせます(図 59)。油圧オイルは運転中の温度上昇によって膨張しますが、この膨張分は補助タンクに逃がされ、主タンク内のオイルレベルは常に一定に保持されます。そして、エンジンを停止させると、逃がされていたオイルがメインタンクに戻されます。



始動スイッチをON 位置とし、リークディテクタスイッチを後ろに倒して保持する。1秒後にアラームが鳴れば正常である。
リークディテクタスイッチから手を離す。
始動キーをON 位置にセットする。エンジンは始動させない。
油圧オイルタンクの首から油圧タンク用ブリーザを取り外す。
汚れのついていない鉄の棒やねじ回しなどをタンクの首から差し込んで、スイッチのフロート(図 60)を押し下げる:一秒後にアラームがなれば正常。

押さえていたフロートを離す:アラームが停止すれば正常。
油圧オイルタンクにキャップを取り付ける。
始動キーをOFF 位置にもどして終了。
リークディテクタのアラームが鳴るのは:
118-177 ml のオイル漏れが発生した。
メインタンクの中のオイルの温度が下がったために、メインタンク内部のオイルの体積が 118-177 ml 少なくなった。
アラームがなったら作業をできるだけ早く中止してオイル漏れがないか点検してください。グリーンで作業中にアラームが鳴った場合には、まずグリーンから退避してください。リークを放置したまま作業を続行しないでください。
オイル漏れが発見されず、誤報が疑われる場合には、車両のスイッチを一度 OFF にしてください。1-2 分すればオイル量が安定します。そして安全な場所でもう一度リークのないのを確認してから作業を再開してください。
オイル体積の減少による誤警報は、作業後に長時間のアイドリングをしているときに起こりやすいのです。また、油圧系に大きな負担を掛けた後に軽い作業に切り換えた場合にも、誤警報が起こりやすくなります。誤警報を避けるには、一度エンジンを停止させてしまうのが確実です。
磨耗したり破損したりしたリール刃や下刃は使用中に割れて破片が飛び出す場合があり、これが起こるとオペレータや周囲の人間に多大の危険を及ぼし、最悪の場合には死亡事故となる。
リール刃や下刃が磨耗や破損していないか定期的に点検すること。
刃を点検する時には安全に十分注意してください。必ず手袋を着用してください。リールと下刃は研磨するか交換するかのみ行い、たたいて修復したり溶接したりしないでください。
複数のカッティングユニットを持つマシンでは、1つのリールを回転させると他のカッティングユニットのリールも回転する場合がありますから注意してください。
| 整備間隔 | 整備手順 |
|---|---|
| 使用するごとまたは毎日 |
|
前日の調子に関係なく、毎日、芝刈り作業を行う前に、各カッティングユニットのリールとベッドナイフの接触状態を点検してください。リールと下刃の全長にわたって軽い接触があれば適正です。カッティングユニットのオペレーターズマニュアルを参照。
一定で、クオリティの高いカットを行い、均一な刈り上がり(見映え)を作るには、リール速度コントロール(運転席左側のカバーの下にあるマニホルドブロックについている)を正しく設定しておく必要があります。調整は以下の手順で行います:
バックラップ中にリールに触れると大けがをする。
リールその他の可動部に手指や衣類等を近づけないよう注意すること。
エンジンが動いている間は、止まったリールを絶対に手や足で回そうとしないこと。
平らな場所に駐車し、カッティングユニットを降下させ、エンジンを停止し、キーを抜き取り、駐車ブレーキを掛ける。
運転席を倒して、支持棒で支える(図 64)。

バックラップしたい各カッティングユニットのリールと下刃をバックラップ用に設定する;カッティングユニットのオペレーターズマニュアルを参照。
バックラップレバーを逆転R位置にセットする(図 65)。


リール速度ノブを 1 にセットする(図 65)。
エンジンを始動し、アイドル回転にセットする。
Important: バックラップ中はエンジンの速度を変えないでください。リールが停止する場合があります。バックラップはアイドル速度以外では行わないこと。
モードレバーをニュートラルにセットし、昇降レバーを前に倒すとバックラップが始まる。
長い柄のブラシを使ってラッピングコンパウンドを塗布しながらラッピングを続ける。どんな場合でも短い柄のブラシは使用しないこと。
リールが停止したり回転にムラがある場合は、速度設定を上げて回転を安定させてからもとの速度(或いは希望速度)に戻す。
バックラップ中にカッティングユニットを調整する必要が生じた場合は、モードレバーを後ろに引き、エンジンを停止させて、調整を行う。調整が終ったら4-8を行う。
バックラップするユニット全部に上記手順4-8を行う。
バックラップが終了したら、バックラップレバーを通常の刈り込み位置Fに戻し、カッティングユニットの速度コントロールを希望する位置にセットし、運転席を元にもどして固定し、カッティングユニットに付いているコンパウンドを完全に落とす。必要に応じてリールと下刃のすり合わせを調整する。
Important: バックラップレバーを F 位置に戻さないと、カッティングユニットの上昇などの操作をすることができません。
マシンを停止させ、キーを抜き取り、各部の動作が完全に停止したのを確認してから運転位置を離れる。調整、整備、洗浄、格納などは、マシンが十分に冷えてから行ってください。
ガス湯沸かし器のパイロット火やストーブなど裸火や火花を発するものがある近くでは、機械や燃料容器を保管・格納しないでください。
長期間にわたって保管する場合には以下のような作業を行ってください:
エンジンを停止させ、キーを抜き取り、各部が完全に停止し、機体が十分に冷えたを確認してから格納する。
機体からゴミや刈りかすをきれいに取り除く。必要に応じてリールやベッドナイフの研磨を行う(カッティングユニットのオペレーターズマニュアルを参照のこと)。ベッドナイフやリールの刃にはさび止めを塗布する。グリスアップと機体各部の潤滑を行う;グリスアップを行うのページを参照。
タイヤに重量がかからないように完全にブロックする。
油圧オイルとフィルタを交換する。油圧ラインやフィッティングを注意深く点検し、必要に応じて交換する; 油圧オイルの点検と交換 と 油圧ラインとホースの点検を参照。
燃料タンクの内部清掃を行う。エンジンを始動し、燃料切れで自然に停止させる。燃料フィルタを交換する;燃料フィルタの交換を参照。
エンジンがまだ暖かいうちに、エンジンオイルを抜き取る。新しいオイルを入れる;エンジンオイルについてを参照。
点火プラグを外し、SAE 30 オイルをシリンダ内に30ml 流し込み、クランクをゆっくり回転させて内部にオイルを十分に行き渡らせる。点火プラグを交換する;点火プラグの交換を参照。
シリンダ、エンジン、フィン、ブロアハウジングなどをきれいに清掃する。
バッテリーを取り外して完全充電する;バッテリーを充電するを参照。充電終了後は、機体に取り付けて保存しても、機体から外したままで保存してもよい。機体に取り付けて保存する場合は、ケーブルを外しておいてください。温度が高いとバッテリーは早く放電しますので、涼しい場所を選んで保管してください。
可能であれば暖かで乾燥した場所で保管する。