| Wartungsintervall | Wartungsmaßnahmen |
|---|---|
| Bei jeder Verwendung oder täglich |
|
Dieser Aufsitzgrünsmäher mit Messerspindeln sollte nur von geschulten Facharbeitern in gewerblichen Anwendungen eingesetzt werden. Er ist hauptsächlich für das Mähen von Gras auf gepflegten Grünflächen gedacht. Wenn diese Maschine für einen anderen Zweck als vorgesehen eingesetzt wird, kann das für Sie und andere Personen gefährlich sein.
Lesen Sie diese Informationen sorgfältig durch, um sich mit dem ordnungsgemäßen Einsatz und der Wartung des Geräts vertraut zu machen und Verletzungen und eine Beschädigung des Geräts zu vermeiden. Sie tragen die Verantwortung für einen ordnungsgemäßen und sicheren Einsatz des Geräts.
Besuchen Sie www.toro.com hinsichtlich Sicherheitstipps, Schulungsunterlagen, Zubehörinformationen, Standort eines Händlers oder Registrierung des Produkts.
Wenden Sie sich grundsätzlich an einen offiziellen Toro-Vertragshändler, wenn Sie eine Serviceleistung, Originalersatzteile von Toro oder weitere Informationen benötigen. Haben Sie dafür die Modell- und Seriennummern der Maschine griffbereit. In Bild 1 ist angegeben, wo an dem Produkt die Modell- und die Seriennummer angebracht sind. Tragen Sie hier die Modell- und Seriennummern des Geräts ein.
Important: Scannen Sie mit Ihrem Mobilgerät den QR-Code auf dem Seriennummernaufkleber (falls vorhanden), um auf Garantie-, Ersatzteil- oder andere Produktinformationen zuzugreifen.

In dieser Anleitung werden potenzielle Gefahren angeführt, und Sicherheitshinweise werden vom Sicherheitswarnsymbol (Bild 2) gekennzeichnet. Dieses Warnsymbol weist auf eine Gefahr hin, die zu schweren oder tödlichen Verletzungen führen kann, wenn Sie die empfohlenen Sicherheitsvorkehrungen nicht einhalten.

In dieser Anleitung werden zwei Begriffe zur Hervorhebung von Informationen verwendet. Wichtig weist auf spezielle mechanische Informationen hin, und Hinweis hebt allgemeine Informationen hervor, die Ihre besondere Beachtung verdienen.
Dieses Produkt erfüllt alle relevanten europäischen Richtlinien; weitere Details finden Sie in der produktspezifischen Konformitätserklärung (DOC).
Entsprechend dem California Public Resource Code Section 4442 oder 4443 ist der Einsatz des Motors in bewaldeten oder bewachsenen Gebieten ohne richtig gewarteten und funktionsfähigen Funkenfänger, wie in Section 4442 definiert, oder ohne einen Motor verboten, der nicht für die Brandvermeidung konstruiert, ausgerüstet und gewartet ist.
Die beiliegende Motoranleitung enthält Angaben zu den Emissionsbestimmungen der US Environmental Protection Agency (EPA) und den Kontrollvorschriften von Kalifornien zu Emissionsanlagen, der Wartung und Garantie. Sie können einen Ersatz beim Motorhersteller anfordern.
KALIFORNIEN
Warnung zu Proposition 65
Die Motorauspuffgase dieses Produkts enthalten Chemikalien wirken laut den Behörden des Staates Kalifornien krebserregend, verursaschen Geburtsschäden oder andere Defekte des Reproduktionssystems.
Batteriepole, -klemmen und -zubehör enthalten Blei und Bleibestandteile. Dies sind Chemikalien, die laut den Behörden des Staates Kalifornien krebserregend sind und zu Erbschäden führen können. Waschen Sie sich nach dem Umgang mit diesen Materialien die Hände.
Bei Verwendung dieses Produkts sind Sie ggf. Chemikalien ausgesetzt, die laut den Behörden des Staates Kalifornien krebserregend wirken, Geburtsschäden oder andere Defekte des Reproduktionssystems verursachen.
Dieses Produkt kann Hände und Füße amputieren und Gegenstände aufschleudern.
Lesen und verstehen Sie vor dem Anlassen des Motors den Inhalt dieser Bedienungsanleitung.
Konzentrieren Sie sich immer bei der Verwendung der Maschine. Tun Sie nichts, was Sie ablenken könnte, sonst können Verletzungen oder Sachschäden auftreten.
Halten Sie Hände und Füße von beweglichen Teilen fern.
Bedienen Sie die Maschine niemals, wenn nicht alle Schutzvorrichtungen und Abdeckungen angebracht und funktionstüchtig sind.
Halten Sie Unbeteiligte und Kinder vom Arbeitsbereich fern. Die Maschine darf niemals von Kindern betrieben werden.
Stellen Sie vor dem Verlassen des Fahrersitzes die Maschine ab, ziehen Sie den Schlüssel ab und warten Sie, bis alle beweglichen Teile zum Stillstand gekommen sind. Lassen die Maschine abkühlen, bevor Sie sie einstellen, warten, reinigen, oder einlagern.
Der unsachgemäße Einsatz oder die falsche Wartung
dieser Maschine kann zu Verletzungen führen. Befolgen Sie zur
Verringerung des Verletzungsrisikos diese Sicherheitshinweise und
beachten Sie das Warnsymbol
mit der Bedeutung Achtung, Warnung
oder Gefahr – Sicherheitsrisiko. Wenn diese Hinweise nicht beachtet
werden, kann es zu schweren bis tödlichen Verletzungen kommen.
![]() |
Die Sicherheits- und Bedienungsaufkleber sind für den Bediener gut sichtbar und befinden sich in der Nähe der möglichen Gefahrenbereiche. Tauschen Sie beschädigte oder verloren gegangene Aufkleber aus. |













Laden Sie den Akku auf; siehe Aufladen des Akkus.
Für diesen Arbeitsschritt erforderliche Teile:
| Schlossschraube (5/16" x ¾") | 2 |
| Mutter (⁵⁄₁₆") | 2 |
Setzen Sie die Batterie hinter den Sitz ein. Die Batteriepole sollten zur Vorderseite der Maschine zeigen (Bild 3).
Schließen Sie das Pluskabel der Batterie (rot) vom Startermagnet an den positiven Pol (+) der Batterie an (Bild 3). Befestigen Sie sie mit einer Schlossschraube und einer Mutter.
Important: Achten Sie darauf, dass das Kabel nicht den Sitz berührt, wenn der Sitz ganz nach hinten gestellt ist, da das Kabel ansonsten abgenutzt oder beschädigt werden kann.
Akkupole und Metallwerkzeuge können an metallischen Teilen Kurzschlüsse verursachen, was Funken erzeugen kann. Funken können zum Explodieren der Gase im Akku führen und Verletzungen verursachen.
Beim Aus- und Einbau des Akkus verhindern, dass Akkupole mit Metallteilen der Maschine in Kontakt kommen.
Vermeiden Sie Kurzschlüsse zwischen metallischen Werkzeugen, den Akkupolen und metallischen Maschinenteilen.

Schließen Sie das schwarze Erdkabel (vom Motorunterteil) an den negativen Pol (-) der Batterie an. Befestigen Sie sie mit einer Schlossschraube und einer Mutter.
Das unsachgemäße Verlegen der Batteriekabel kann zu Schäden an der Maschine und den Kabeln führen und Funken erzeugen. Funken können zum Explodieren der Batteriegase führen, was Verletzungen zur Folge haben kann.
Trennen Sie immer das Minuskabel (Schwarz) ab, bevor Sie das Pluskabel (Rot) abtrennen.
Schließen Sie immer das Pluskabel (Rot) an, bevor Sie das Minuskabel (Schwarz) anschließen.
Überziehen Sie beide Pole mit Vaseline.
Montieren Sie die Batterieklemme und die Scheiben und ziehen Sie sie mit den Flügelmuttern an (Bild 3).
Setzen Sie die Polabdeckung auf den positiven (+) Batteriepol.
Für diesen Arbeitsschritt erforderliche Teile:
| Schraube (½" x 1¾") | 2 |
| Schraube (½" x 1½") | 6 |
| Mutter (½") | 8 |
Entfernen Sie die Schrauben und Muttern, die das Steckpolster an der rechten Seite der Maschine stützen.
Senken Sie den Überrollbügel (Bild 4) auf die Befestigungshalterungen ab. Fluchten Sie die Befestigungslöcher aus.

Befestigen Sie die linke Seite des Überrollbügels mit vier Schrauben (½" x 1½") und Sicherungsmuttern an der Befestigungshalterung (Bild 4).
Ziehen Sie die Befestigungen mit 91-115 N∙m an.
Befestigen Sie die rechte Seite des Überrollbügels und das vorher entfernte Steckpolster mit zwei Schrauben (½" x 1½"), zwei Schrauben (½" x 1¾") und Sicherungsmuttern an der Befestigungshalterung, wie in Bild 4 abgebildet.
Ziehen Sie die Befestigungen mit 91-115 N∙m an.
Wenn Sie den Sicherheitsgurt nicht bei der Verwendung des Fahrzeugs anlegen, können Sie bei einem Überschlagen vom Sitz geschleudert und verletzt werden.
Legen Sie immer den Sicherheitsgurt an.
Für diesen Arbeitsschritt erforderliche Teile:
| Schneideinheit | 3 |
| Grasfangkorb | 3 |
Important: Heben Sie die Federung nicht auf die Transportstellung an, wenn sich die Spindelmotoren in den Haltern im Maschinenrahmen befinden. Die Motoren oder Schläuche könnten beschädigt werden.
Note: Lagern Sie die Spindelmotoren der Schneideinheit in den Stützrohren an der Vorderseite und an der Seite der Maschine, um die Schläuche beim Schärfen, Einstellen der Schnitthöhe und Durchführen von Wartungsmaßnahmen an den Schneideinheiten nicht zu beschädigen.
Nehmen Sie die Schneideinheiten aus den Kartons heraus. Lesen Sie in der Bedienungsanleitung der Schneideinheit nach, wie Sie sie zusammenbauen und einstellen.
Schieben Sie die Schneideinheit unter den Zugrahmen, während Sie den Hubhaken am Hubarm einhaken (Bild 5).

Schieben Sie die Hülse an jeder Kugellageraufnahme zurück und haken Sie die Aufnahme in den Kugelbolzen der Schneideinheit ein. Lösen Sie die Hülse, sodass sie über den Bolzen geht und die Teile miteinander verbindet (Bild 6).

Befestigen Sie die Körbe an den Zugrahmen, lockern die Klemmmuttern an den Zugarmen und stellen die Kugelhülsen so ein, dass ein Spiel von sechs mm bis 13 mm zwischen der Korblippe und den Spindelmessern besteht.
Note: So wird verhindert, dass der Korb die Schneideinheit nach vorne kippt, wodurch sich die Hubrolle beim Mähen vom Hubarm lösen würde.
Note: Stellen Sie sicher, dass sich die Korblippe an allen Spindeln über die gesamte Breite im gleichen Abstand zu den Messerspindeln befindet. Wenn der Abstand zwischen Korb und Spindel zu gering ist, kann der Korb die Spindelmessen berühren, wenn die Schneideinheit angehoben oder abgesenkt wird.
Richten Sie die Innensechskante der Kugelgelenke so aus, dass die offene Seite des Sechskants zum Kugelbolzen zentriert ist; ziehen Sie die Klemmmuttern an, um die Innensechskante zu arretieren (Bild 7).

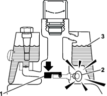
Lassen Sie ungefähr 13 mm Gewinde an jedem Befestigungsbolzen des Spindelmotors sichtbar (Bild 8).

Schmieren Sie Keilwelle des Motors mit sauberem Fett ein.
Montieren Sie den Motor; drehen Sie ihn nach rechts, damit die Motorflansche nicht die Bolzen berühren; drehen Sie den Motor dann nach links, bis die Flansche ganz um die Bolzen liegen.
Ziehen Sie die Befestigungsschrauben fest (Bild 8).
Für das Ausrichten der Maschine für aufeinanderfolgende Mähvorgänge sollten Sie Folgendes an den Fangkörben der Schneideinheiten 2 und 3 ausführen:
Messen Sie ungefähr 12,7 cm von der äußeren Kante jedes Korbs.
Bringen Sie einen Streifen weißen Isolierbands an jedem Korb an, oder zeichnen Sie eine Linie. Das Isolierband bzw. die Linie sollte parallel mit der äußeren Kante jedes Korbs verlaufen (Bild 9).

Für diesen Arbeitsschritt erforderliche Teile:
| Heckballast (Bestellnummer 100-6442) – separat erhältlich | 1 |
| 19,5 kg Kalziumchlorid (separat erhältlich) | 1 |
| Heckballast (Bestellnummer 99-1645) – separat erhältlich, wenn der Dreiradantrieb installiert ist | 1 |
Diese Maschine entspricht dem ANSI-Standard B71.4-2017 und EN ISO 5395:2013, wenn der Heckballast (Bestellnummer 100-6442) und 19,5 kg Kalziumchlorid als Ballast für das Hinterrad verwendet wird. Wenn Sie einen Dreiradantrieb installieren, verwenden Sie den Heckballast (Bestellnummer 99-1645) statt der Bestellnummer 100-6442.
Important: Fahren Sie die Maschine so schnell wie möglich von der Grünfläche, wenn ein mit Kalziumchlorid gefüllter Reifen platt wird. Begießen Sie den betroffenen Bereich unverzüglich mit reichlich Wasser, um eine Beschädigung der Grünfläche zu vermeiden.
Für diesen Arbeitsschritt erforderliche Teile:
| CE-Schutzblech―Bestellnummer 04440 (separat erhältlich) | 1 |
Montieren Sie das CE-Schutzblech, siehe Installationsanweisungen für das CE-Schutzblech für die Zugmaschine Greensmaster 3150- mit Zweiradantrieb.
Für diesen Arbeitsschritt erforderliche Teile:
| Warnaufkleber (Bestellnummer 136-8505) | 1 |
| CE-Kennzeichnungsaufkleber | 1 |
| Herstellungsjahr-Aufkleber | 1 |
Wenn Sie diese Maschine in einem Land nutzen, in dem die CE-Normen gelten, führen Sie die folgenden Schritte durch, nachdem Sie die CE-Schutzvorrichtung an der Maschine installiert haben:
Überkleben Sie den vorhandenen Warnaufkleber (Bestellnummer 136-8506 mit dem CE-konformen Warnaufkleber (Bestellnummer 136-8505) an der Maschine.

Bringen Sie den CE-Kennzeichnungsaufkleber und den Aufkleber für das Herstellungsjahr in der Nähe der Seriennummernplatte an der Fußplattform-Stütze an (Bild 11).

Die Reifen sind ab Werk für den Versand mit einem überhöhten Luftdruck aufgepumpt. Reduzieren Sie den Reifendruck auf den richtigen Wert, bevor Sie die Maschine starten, siehe Prüfen des Reifendrucks.
Polieren der Bremsen, siehe Polieren der Bremsen.

Das Fahrpedal (Bild 13) erfüllt drei Funktionen: Die Vorwärts- und die Rückwärtsbewegung und das Stoppen der Maschine. Drücken Sie die Oberseite des Pedals nach unten, um vorwärts zu fahren und die Unterseite, um rückwärts zu fahren oder das Stoppen beim Vorwärtsfahren zu unterstützen. Lassen Sie das Pedal zum Stoppen der Maschine in die NEUTRAL-Stellung zurückgehen. Legen Sie die Ferse des Fußes nicht auf dem Rückwärtspedal ab, wenn Sie vorwärts fahren (Bild 14).


Treten Sie auf das Bremspedal (Bild 13), um die Maschine durch Aktivieren der Vorderradbremsen anzuhalten.
Treten Sie zum Aktivieren der Bremsen das Bremspedal durch, treten Sie dann auf die Feststellbremsnase (Bild 13). Treten Sie auf das Bremspedal, um die Nase zu lösen. Aktivieren Sie die Feststellbremse, bevor Sie die Maschine verlassen.
Mit dem Gasbedienungshebel (Bild 15) steuern Sie die Motordrehzahl. Wenn Sie die Gasbedienung zur SCHNELL-Einstellung verschieben, erhöht sich die Motordrehzahl; wenn Sie sie zur LANGSAM-Einstellung verschieben, verringert sich die Motordrehzahl, der Motor wird jedoch nicht abgestellt.

Zum Anlassen eines kalten Motors schieben Sie den Chokehebel (Bild 15) nach vorne in die GESCHLOSSENE Stellung; hiermit wird Vergaserchoke geschlossen. Stellen Sie nach dem Anlassen des Motors den Choke so ein, dass der Motor ruhig läuft. Öffnen Sie den Choke so bald wie möglich. Ziehen Sie den Hebel nach hinten in die GEöFFNETE Stellung. Ein bereits warmer Motor erfordert keine oder fast keine Starthilfe.
Mit diesem Schalter (Bild 15) prüfen Sie die Funktion des Alarms für das Ölleck-Warnsystem und die Zeitverzögerung.
Der Betriebsstundenzähler (Bild 15) zeigt die Stunden an, die der Motor gelaufen hat. Er wird aktiviert, wenn Sie das Zündschloss in die EIN-Stellung drehen.
Der Sitzeinstellhebel befindet sich an der linken Seite des Sitzes (Bild 16). Wenn Sie den Hebel bewegen, wird er entriegelt und Sie können den Sitz 10 cm nach vorne und hinten verstellen.

Wenn Sie den Hebel für das Anheben, Absenken bzw. Mähen (Bild 17) während des Mähens nach vorne schieben, werden die Schneideinheiten abgesenkt und die Spindeln gestartet. Ziehen Sie den Hebel zurück, um die Spindeln abzustellen und die Schneideinheiten anzuheben. Sie können die Spindeln durch kurzes Zurückziehen des Hebels und anschließendem Loslassen des Hebels abstellen, ohne die Schneideinheiten anzuheben.

Der Funktionsschalthebel (Bild 17) weist zwei Fahrgeschwindigkeitsstellungen und eine Leerlaufstellung auf. Sie können den Schalthebel von Mähen auf Transport oder Transport auf Mähen (nicht in den Leerlauf) stellen, während Sie mit der Maschine fahren.
HINTERE Stellung – Neutralstellung; verwenden Sie diese Einstellung, wenn Sie die Spindeln läppen wollen
MITTLERE Stellung – verwenden Sie diese Einstellung zum Mähen
VORDERE Stellung – verwenden Sie diese Einstellung, wenn Sie mit der Maschine zu den Einsatzorten fahren
Stecken Sie den Schlüssel in das Zündschloss (Bild 17) und drehen Sie ihn nach rechts in die Start-Stellung, um den Motor anzulassen. Lassen Sie den Schlüssel sofort nach dem Start des Motors los. Der Schlüssel geht in die EIN-Stellung. Drehen Sie den Schlüssel gegen den Uhrzeigersinn in die STOPP-Stellung, um den Motor abzustellen.
Drehen Sie den Hebel (Bild 18) nach vorne, um die Einstellung zu lösen. Verstellen Sie das Lenkrad nach oben oder unten, um eine komfortable Stellung zu erzielen. Drehen Sie den Hebel dann nach hinten, um die Einstellung zu arretieren.

Lösen Sie das Handrad (Bild 19) bis die Schulter des Handrads aus den Kerben im Lenkarm herausragt. Heben Sie den Lenkarm auf die gewünschte Stellung an oder senken ihn ab. Fluchten Sie dabei die Schulter des Handrads mit der Kerbe im Lenkarm aus. Ziehen Sie das Handrad an, um die Einstellung zu arretieren.

Schließen Sie den Kraftstoffhahn (Bild 20) unter dem Kraftstofftank, wenn Sie die Maschine einlagern oder auf einem Pritschenwagen oder Anhänger transportieren.

Mit dem Läpphebel (Bild 21) und dem Hebel zum Anheben, Absenken bzw. Mähen und dem Spindeldrehzahlregler läppen Sie die Spindeln.

Mit der Spindelgeschwindigkeitsregelung (Bild 21) stellen Sie die Drehzahl für die Spindeln ein.
Note: Technische und konstruktive Änderungen vorbehalten.
| Schnittbreite | 150 cm |
| Radspur | 126 cm |
| Radstand | 119 cm |
| Gesamtlänge | 229 cm |
| Gesamtbreite | 177 cm |
| Gesamthöhe | 189 cm |
| Nettogewicht | 493 kg |
Ein Sortiment an Originalanbaugeräten und -zubehör von Toro wird für diese Maschine angeboten, um den Funktionsumfang des Geräts zu erhöhen und zu erweitern. Eine Liste der zugelassenen Anbaugeräte und Zubehörteile erhalten Sie bei Ihrem offiziellen Toro-Vertragshändler oder finden Sie unter www.Toro.com.
Verwenden Sie, um die optimale Leistung und Sicherheit zu gewährleisten, nur Originalersatzteile und -zubehörteile von Toro. Ersatzteile und Zubehör anderer Hersteller können gefährlich sein und eine Verwendung könnte die Garantie ungültig machen.
Note: Bestimmen Sie die linke und rechte Seite der Maschine anhand der üblichen Einsatzposition.
Kinder oder nicht geschulte Personen dürfen die Maschine weder verwenden noch warten. Örtliche Vorschriften bestimmen u. U. das Mindestalter von Benutzern. Der Besitzer ist für die Schulung aller Bediener und Mechaniker verantwortlich.
Machen Sie sich mit dem sicheren Betrieb der Maschine sowie den Bedienelementen und Sicherheitssymbolen vertraut.
Aktivieren Sie die Feststellbremse, schalten Sie die Maschine aus, ziehen den Schlüssel ab und warten Sie, bis alle beweglichen Teile zum Stillstand gekommen sind, bevor Sie den Fahrersitz der Maschine verlassen. Lassen Sie die Maschine abkühlen, bevor Sie diese einstellen, warten, reinigen oder einlagern.
Sie müssen wissen, wie Sie die Maschine schnell anhalten und die Maschine abstellen können.
Prüfen Sie, ob alle Sitzkontaktschalter, Sicherheitsschalter, und Schutzvorrichtungen montiert und funktionsfähig sind. Verwenden Sie die Maschine nur, wenn sie richtig funktioniert.
Überprüfen Sie vor jedem Mähen die Maschine und stellen Sie sicher, dass die Schneideinheiten funktionsfähig sind.
Prüfen Sie den Arbeitsbereich gründlich und entfernen Sie alle Objekte, die von der Maschine aufgeschleudert werden könnten.
Seien Sie besonders vorsichtig beim Umgang mit Kraftstoff. Kraftstoff ist brennbar und die Dämpfe sind explosiv.
Machen Sie alle Zigaretten, Zigarren, Pfeifen und andere Zündquellen aus.
Verwenden Sie nur einen vorschriftsmäßigen Benzinkanister.
Entfernen Sie nie den Tankdeckel oder füllen den Kraftstofftank, wenn der Motor läuft oder heiß ist.
Füllen Sie Kraftstoff nicht in einem geschlossenen Raum auf oder lassen ihn ab.
Lagern Sie die Maschine oder den Benzinkanister nie an Orten mit offener Flamme, Funken oder Zündflamme, z. B. Warmwasserbereiter, oder anderen Geräten.
Versuchen Sie niemals, bei Kraftstoffverschüttungen den Motor anzulassen. Vermeiden Sie Zündquellen, bis die Verschüttung verdunstet ist.
Fassungsvermögen des Kraftstofftanks: 26,6 Liter
Empfohlener Kraftstoff: Bleifreies Benzin mit einer Mindestoktanzahl von 87 ((R+M)/2) verwenden.
Ethanol: Kraftstoff, der mit 10 % Ethanol oder 15 % MTBE (Volumenanteil) angereichert ist, ist auch geeignet. Ethanol und MTBE sind nicht identisch. Benzin mit 15 % Ethanol (E15) per Volumenanteil kann nicht verwendet werden.
Verwenden Sie nie Benzin, das mehr als 10 % Ethanol (Volumenanteil) enthält, z. B. E15 (enthält 15 % Ethanol), E20 (enthält 20 % Ethanol) oder E85 (enthält bis zu 85 % Ethanol).
Verwenden Sie keinen methanolhaltigen Kraftstoff.
Lagern Sie keinen Kraftstoff im Kraftstofftank oder in Kraftstoffbehältern über den Winter, wenn Sie keinen Kraftstoffstabilisator verwenden.
Vermischen Sie nie Benzin mit Öl.
Die besten Ergebnisse erhalten Sie, wenn Sie nur sauberen, frischen Kraftstoff (höchstens 30 Tage alt) verwenden.
Die Verwendung von nicht zugelassenem Benzin kann zu Leistungsproblemen und/oder Motorschäden führen, die ggf. nicht von der Garantie abgedeckt sind.
Important: Verwenden Sie, abgesehen von Kraftstoffstabilisator, keine weiteren Kraftstoffzusätze. Verwenden Sie keine Kraftstoffstabilisatoren auf Alkoholbasis wie Ethanol, Methanol oder Isopropanol.
Reinigen Sie den Bereich um den Tankdeckel und nehmen Sie den Deckel ab (Bild 22).

Füllen Sie den vorgegebenen Kraftstoff in den Tank, bis der Stand 25 mm unter der Unterseite des Einfüllstutzens liegt.
Dieser Platz im Tank ermöglicht es dem Kraftstoff, sich auszudehnen. Füllen Sie den Kraftstofftank nicht ganz auf.
Schrauben Sie den Deckel wieder auf.
Note: Sie hören einen Klick, wenn der Deckel einrastet.
Wischen Sie verschütteten Kraftstoff auf.
| Wartungsintervall | Wartungsmaßnahmen |
|---|---|
| Bei jeder Verwendung oder täglich |
|
Führen Sie die folgenden Maßnahmen durch, bevor Sie die Maschine täglich starten:
Prüfen Sie den Motorölstand, siehe Prüfen des Motoröls.
Prüfen Sie den Stand des Getriebeöls, siehe Prüfen des Hydraulikölstands.
Prüfen Sie die Einstellung der Spindel zum Untermesser, siehe Prüfen des Kontakts zwischen Spindel und Untermesser.
Prüfen Sie den Reifendruck, siehe Prüfen des Reifendrucks.
Der Besitzer bzw. Bediener ist für Unfälle oder Verletzungen von Dritten sowie Sachschäden verantwortlich und kann diese verhindern.
Tragen Sie geeignete Kleidung, u. a. eine Schutzbrille, lange Hosen, rutschfeste Arbeitsschuhe und einen Gehörschutz. Binden Sie lange Haare hinten zusammen und tragen Sie keinen Schmuck oder weite Kleidung.
Setzen Sie die Maschine nicht ein, wenn Sie müde oder krank sind oder unter Alkohol- oder Drogeneinfluss stehen.
Konzentrieren Sie sich immer bei der Verwendung der Maschine. Tun Sie nichts, was Sie ablenken könnte, sonst können Verletzungen oder Sachschäden auftreten.
Stellen Sie vor dem Anlassen des Motors sicher, dass alle Antriebe in der Neutralstellung sind, dass die Feststellbremse aktiviert ist und Sie in der Bedienungsposition sind.
Nehmen Sie nie Mitfahrer auf der Maschine mit.
Halten Sie Unbeteiligte und Kinder vom Arbeitsbereich fern. Wenn Kollegen vor Ort sind, gehen Sie vorsichtig vor und stellen Sie sicher, dass die Grasfangkörbe an der Maschine installiert sind.
Setzen Sie die Maschine nur bei guten Sichtverhältnissen ein, um Löcher sowie andere verborgene Gefahren zu vermeiden.
Vermeiden Sie ein Mähen auf nassem Gras. Bei reduzierter Bodenhaftung kann die Maschine ins Rutschen geraten.
Halten Sie Ihre Hände und Füße von den Schneideinheiten fern.
Schauen Sie hinter sich und nach unten, um vor dem Rückwärtsfahren sicherzustellen, dass der Weg frei ist.
Seien Sie vorsichtig, wenn Sie sich unübersichtlichen Kurven, Sträuchern, Bäumen und anderen Objekten nähern, die Ihre Sicht behindern können.
Stellen Sie die Schneideinheiten ab, wenn Sie nicht mähen.
Fahren Sie beim Wenden und beim Überqueren von Straßen und Gehsteigen mit der Maschine langsam und vorsichtig. Geben Sie immer Vorfahrt.
Betreiben Sie den Motor nur in gut belüfteten Bereichen. Die Abgase enthalten Kohlenmonoxid, das beim Einatmen tödlich ist.
Lassen Sie niemals eine laufende Maschine unbeaufsichtigt zurück.
Vor dem Verlassen der Bedienposition:
Stellen Sie die Maschine auf einer ebenen Fläche ab.
Senken Sie die Schneideinheiten auf den Boden ab und stellen Sie sicher, dass sie ausgekoppelt sind.
Aktivieren Sie die Feststellbremse.
Stellen Sie den Motor ab und ziehen Sie den Schlüssel ab.
Warten Sie, bis alle beweglichen Teile zum Stillstand gekommen sind.
Setzen Sie die Maschine nur bei guten Sichtverhältnissen und geeigneten Witterungsbedingungen ein. Verwenden Sie die Maschine nie bei möglichen Gewittern.
Entfernen Sie die Komponenten des Überrollschutzes nicht von der Maschine.
Stellen Sie sicher, dass Sie Ihren Sicherheitsgurt angelegt haben und ihn in einem Notfall schnell lösen können.
Legen Sie immer den Sicherheitsgurt an.
Achten Sie immer auf hängende Objekte und berühren Sie sie nicht.
Halten Sie den Überrollschutz in einem sicheren Betriebszustand, überprüfen Sie ihn regelmäßig auf Beschädigungen und halten Sie alle Befestigungen angezogen.
Tauschen Sie alle beschädigten Teile des Überrollschutzes aus. Führen Sie keine Reparaturen oder Modifikationen daran aus.
Hanglagen sind eine wesentliche Ursache für den Verlust der Kontrolle und Umkippunfälle, die zu schweren ggf. tödlichen Verletzungen führen können. Sie sind für den sicheren Einsatz an Hanglagen verantwortlich. Das Einsetzen der Maschine an jeder Hanglage erfordert große Vorsicht.
Evaluieren Sie das Gelände, einschließlich einer Ortsbegehung, um zu ermitteln, ob die Maschine sicher auf der Hanglage eingesetzt werden kann. Setzen Sie immer gesunden Menschenverstand ein, wenn Sie diese Ortsbegehung durchführen.
Lesen Sie die unten aufgeführten Anweisungen für Hanglagen, wenn Sie die Maschine an Hanglagen einsetzen. Prüfen Sie vor dem Einsatz der Maschine die Bedingungen an der Arbeitsstelle, um zu ermitteln, ob Sie die Maschine in diesen Bedingungen an diesem Tag und an diesem Ort verwenden können. Veränderungen im Gelände können zu einer Veränderung in der Neigung für den Betrieb der Maschine führen.
Vermeiden Sie das Anfahren, Anhalten oder Wenden der Maschine an Hanglagen. Vermeiden Sie plötzliche Geschwindigkeits- oder Richtungsänderungen. Wenden Sie möglichst langsam und vorsichtig.
Benutzern Sie die Maschine niemals unter Bedingungen, bei der die Bodenhaftung, das Lenkverhalten oder die Stabilität des Fahrzeugs gefährdet werden.
Entfernen oder markieren Sie Hindernisse, u. a. Gräben, Löcher, Rillen, Bodenwellen, Steine oder andere verborgene Gefahren. Hohes Gras kann Hindernisse verdecken. Die Maschine könnte sich in unebenem Terrain überschlagen.
Beim Arbeiten auf nassem Gras, Überqueren von steilen Hanglagen oder beim Fahren hangabwärts kann die Maschine die Bodenhaftung verlieren. Wenn die Antriebsräder die Bodenhaftung verlieren, kann die Maschine rutschen und zu einem Verlust der Bremsleistung und Lenkung führen.
Gehen Sie beim Einsatz der Maschine in der Nähe von Abhängen, Gräben, Böschungen, Gewässern oder anderen Gefahrenstellen besonders vorsichtig vor. Die Maschine kann sich plötzlich überschlagen, wenn ein Rad über den Rand fährt oder die Böschung nachgibt. Halten Sie stets einen Sicherheitsabstand von der Maschine zur Gefahrenstelle ein.
Achten Sie auf Gefahren unten am Hang. Mähen Sie die Hanglage mit einer handgeführten Maschine, wenn Gefahren vorhanden sind.
Halten Sie die Schneideinheiten, sofern möglich, beim Einsatz der Maschine an Hanglagen abgesenkt. Das Anheben der Schneideinheiten bei Mäharbeiten an Hanglagen kann zu einer Instabilität der Maschine führen.
Passen Sie besonders mit Heckfangsystemen oder anderen Anbaugeräten auf. Diese Geräte können die Stabilität der Maschine ändern und zu einem Verlust der Fahrzeugkontrolle führen.
Weitere Angaben zum in der Einfahrzeit empfohlenen Ölwechsel und den Wartungsarbeiten finden Sie in der mit der Maschine ausgelieferten Motorbedienungsanleitung.
Die Einfahrzeit beträgt nur 8 Betriebsstunden.
Da die ersten Betriebsstunden für die zukünftige Zuverlässigkeit der Maschine sehr wichtig sind, überwachen Sie die Funktionen und die Leistung sorgfältig, damit Sie kleine Fehler, die zu großen Reparaturen führen können, erkennen und beheben. Prüfen Sie die Maschine in der Einfahrzeit oft auf Öllecks, lose Schrauben oder andere Fehlfunktionen.
Note: Achten Sie darauf, dass der Bereich unter dem Rasenmäher keine Fremdkörper aufweist.
Setzen Sie sich auf den Sitz, arretieren Sie die Feststellbremse, kuppeln den Schalthebel für das Anheben, Absenken bzw. Mähen aus und schieben Sie den Funktionsschalthebel in die LEERLAUF-Stellung.
Stellen Sie sicher, dass der Fuß nicht auf dem Fahrpedal ist, und dass das Pedal in die NEUTRAL-Stellung geht.
Schieben Sie den Chokehebel auf die EIN-Stellung (nur beim Starten eines kalten Motors) und den Gasbedienungshebel auf die MITTLERE Stellung.
Stellen Sie nach dem Anlassen des Motors den Choke so ein, dass der Motor ruhig läuft.
Öffnen Sie den Choke so bald wie möglich. Ziehen Sie ihn nach hinten in die AUS-Stellung.
Note: Ein bereits warmer Motor erfordert keine oder fast keine Starthilfe.
Prüfen Sie die Maschine nach dem Starten des Motors mit den folgenden Verfahren:
Stellen Sie den Gasbedienungshebel in die SCHNELL-Stellung.
Schieben Sie den Gasbedienungshebel in die MäH-Stellung und schieben Sie den Schalthebel für das Anheben, Absenken bzw. Mähen nach vorne, um die Spindeln kurzzeitig zu aktivieren.
Die Schneideinheiten sollten sich absenken und alle Spindeln sollten sich drehen.
Schieben Sie den Schalthebel für das Anheben, Absenken bzw. Mähen nach hinten, bis die Schneideinheiten ganz in die Transportstellung angehoben sind.
Die Schneideinheiten drehen sich nicht mehr, sobald sie angehoben werden. Wenn Sie den Hebel loslassen, bevor die Schneideinheiten ganz angehoben sind, werden sie nicht weiter angehoben; die Schneideinheiten drehen sich jedoch nicht mehr.
Aktivieren Sie die Feststellbremse und stellen Sie den Motor ab.
Prüfen Sie die Lippe jedes Grasfangkorbs, um sicherzustellen, dass sie nicht beim Betrieb mit der Spindel in Kontakt kommt.
Wenn Sie einen Kontakt feststellen, stellen Sie die Zugarme ein, siehe Montieren der Schneideinheiten.
Prüfen Sie auf Hydrauliköllecks und ziehen Sie ggf. hydraulische Anschlussstücke an.
Note: Wenn die Maschine neu ist, und die Lager und Spindeln fest angezogen sind, müssen Sie für diese Prüfung die SCHNELL-Stellung des Gasbedienungshebels verwenden. Eine schnelle Gasbedienung-Einstellung ist ggf. nach der Einfahrzeit nicht mehr erforderlich.
Note: Wenn Sie weiterhin Öllecks feststellen, wenden Sie sich an den offiziellen Toro-Vertragshändler, der ggf. auch Ersatzteile beschafft.
Important: Ein bisschen Öl an den Motor- und Raddichtungen ist normal. Die Dichtungen müssen für einen ordnungsgemäßen Betrieb etwas geschmiert werden.
Stellen Sie den Gasbedienungshebel in die SCHNELL-Stellung.
Schieben Sie den Schalthebel für das Anheben und Absenken bzw. Mähen vorübergehend nach vorne.
Die Schneideinheiten sollten sich absenken und alle Spindeln sollten sich drehen.
Note: Der Funktionshebel sollte sich in der mittleren (Mäh-) Stellung befinden, wenn sich die Spindeln beim Absenken der Schneideinheiten drehen sollen.
Schieben Sie den Schalthebel für das Anheben und Absenken bzw. Mähen nach hinten.
Die Spindeln der Schneideinheit sollten stoppen, und die Schneideinheiten sollten zur vollständigen Transportstellung angehoben werden.
Betätigen Sie das Bremspedal, sodass sich die Maschine nicht bewegt, und bewegen Sie das Fahrpedal durch die Vorwärts- und Rückwärtsstellungen.
Wiederholen Sie den obigen Schritt für eine bis zwei Minuten. Stellen Sie den Funktionsschalthebel in die NEUTRAL-Stellung, arretieren die Feststellbremse und stellen Sie den Motor ab.
Prüfen Sie auf Hydrauliköllecks und ziehen Sie ggf. leckende hydraulische Anschlussstücke an.
Note: Wenn die Maschine neu ist, und die Lager und Spindeln fest angezogen sind, müssen Sie für diese Prüfung die SCHNELL-Stellung des Gasbedienungshebels verwenden. Eine schnelle Gasbedienung-Einstellung ist ggf. nach der Einfahrzeit nicht mehr erforderlich.
Note: Wenn Sie weiterhin Öllecks feststellen, wenden Sie sich an den offiziellen Toro-Vertragshändler, der ggf. auch Ersatzteile beschafft.
Important: Ein bisschen Öl an den Motor- und Raddichtungen ist normal. Die Dichtungen müssen für einen ordnungsgemäßen Betrieb etwas geschmiert werden.
Stellen Sie den Gasbedienungshebel in die LANGSAM-Stellung, ziehen Sie den Schalthebel für das Anheben, Absenken bzw. Mähen nach hinten und schieben den Funktionsschalthebel in die NEUTRAL-Stellung.
Drehen Sie den Zündschlüssel in die AUS-Stellung, um den Motor abzustellen. Ziehen Sie den Zündschlüssel ab, um einem versehentlichen Anlassen vorzubeugen.
Schließen Sie den Kraftstoffhahn vor der Einlagerung der Maschine.
| Wartungsintervall | Wartungsmaßnahmen |
|---|---|
| Bei jeder Verwendung oder täglich |
|
Wenn die Sicherheitsschalter abgeklemmt oder beschädigt werden, kann die Maschine auf eine unerwartete Weise funktionieren, was Verletzungen verursachen kann.
An den Sicherheitsschaltern dürfen keine Veränderungen vorgenommen werden.
Prüfen Sie deren Funktion täglich und tauschen Sie alle defekten Schalter vor der Inbetriebnahme der Maschine aus.
Die Sicherheitsschalter sollen den Betrieb der Maschine in Situationen verhindern, um Sie vor Verletzungen und die Maschine vor Beschädigungen zu schützen.
Die Sicherheitsschalter stellen sicher, dass der Motor nur in den folgenden Situationen angelassen werden kann:
Das Fahrpedal ist in der NEUTRAL-Stellung.
Der Funktionsschalthebel ist in der NEUTRAL-Stellung ist.
Die Sicherheitsschalter stellen sicher, dass die Maschine nur in den folgenden Situationen bewegt werden kann:
Die Feststellbremse ist deaktiviert.
Setzen Sie sich auf den Sitz.
Der Funktionsschalthebel ist in der MäH- oder TRANSPORT-Stellung.
Die Sicherheitsschalter verhindern das Aktivieren der Spindeln, wenn der Funktionsschalthebel nicht in der MäH-Stellung ist.
| Wartungsintervall | Wartungsmaßnahmen |
|---|---|
| Bei jeder Verwendung oder täglich |
|
Führen Sie die folgenden Systemprüfungen täglich durch, um ein ordnungsgemäßes Funktionieren des Sicherheitsschalters zu gewährleisten.
Setzen Sie sich auf den Sitz, stellen das Fahrpedal in die NEUTRAL-Stellung, schieben den Funktionsschalthebel in die NEUTRAL-Stellung und aktivieren die Feststellbremse.
Versuchen Sie das Fahrpedal nach vorne oder hinten zu bewegen.
Das Pedal sollte sich nicht durchtreten lassen, d. h. das Sicherheitssystem funktioniert ordnungsgemäß. Beheben Sie das Problem, wenn die Sicherheitsschalter nicht einwandfrei funktionieren.
Setzen Sie sich auf den Sitz, stellen das Fahrpedal in die NEUTRAL-Stellung, schieben den Funktionsschalthebel in die NEUTRAL-Stellung und aktivieren die Feststellbremse.
Schieben Sie den Funktionsschalthebel in die MäH- oder TRANSPORT-Stellung und versuchen Sie, den Motor anzulassen.
Der Motor sollte nicht anspringen, d. h. die Sicherheitsschalter funktionieren ordnungsgemäß. Beheben Sie das Problem, wenn die Sicherheitsschalter nicht einwandfrei funktionieren.
Setzen Sie sich auf den Sitz, stellen das Fahrpedal in die NEUTRAL-Stellung, schieben den Funktionsschalthebel in die NEUTRAL-Stellung und aktivieren die Feststellbremse.
Lassen Sie den Motor an und schieben den Funktionsschalthebel in die MäH- oder TRANSPORT-Stellung.
Der Motor sollte abstellen, d. h. die Sicherheitsschalter funktionieren ordnungsgemäß.
Beheben Sie das Problem, wenn die Sicherheitsschalter nicht einwandfrei funktionieren.
Setzen Sie sich auf den Sitz, stellen das Fahrpedal in die NEUTRAL-Stellung, schieben den Funktionsschalthebel in die NEUTRAL-Stellung und aktivieren die Feststellbremse.
Lassen Sie den Motor an.
Lösen Sie die Feststellbremse, stellen den Funktionsschalthebel in die MäH-Stellung und stehen Sie vom Sitz auf.
Der Motor sollte abstellen, d. h. die Sicherheitsschalter funktionieren ordnungsgemäß. Beheben Sie das Problem, wenn die Sicherheitsschalter nicht einwandfrei funktionieren.
Setzen Sie sich auf den Sitz, stellen das Fahrpedal in die NEUTRAL-Stellung, schieben den Funktionsschalthebel in die NEUTRAL-Stellung und aktivieren die Feststellbremse.
Lassen Sie den Motor an.
Schieben Sie den Schalthebel für das Anheben, Absenken bzw. Mähen nach vorne, um die Schneideinheiten abzusenken. Die Schneideinheiten sollten sich absenken, jedoch nicht drehen.
Wenn sie sich drehen, funktionieren die Sicherheitsschalter nicht richtig; beheben Sie das Problem, bevor Sie die Maschine verwenden.
Stellen Sie sicher, dass die Schneideinheiten ganz angehoben sind.
Stellen Sie den Funktionsschalthebel in die TRANSPORT-Stellung.
Verlangsamen Sie mit den Bremsen die Maschine, wenn Sie steile Hänge runterfahren, um die Kontrolle nicht zu verlieren.
Nähern Sie sich unebenen Bereichen immer mit verringerter Geschwindigkeit und durchqueren Sie hügelige Bereiche mit größter Vorsicht.
Machen Sie sich mit der Breite der Maschine vertraut. Versuchen Sie nicht, zwischen eng zusammenstehenden Objekten durchzufahren, um teure Beschädigungen und Ausfallzeiten zu vermeiden.
Important: Wenn der Alarm des Ölleck-Warnsystems ertönt (sofern Ihr Modell damit ausgerüstet ist) oder Sie beim Mähen einen Ölfleck auf dem Grün entdecken, heben Sie die Schneideinheiten an, fahren umgehend vom Grün und stoppen die Maschine abseits vom Grün. Ermitteln Sie die Ursache für die undichte Stelle und beheben Sie das Problem.
Bevor Sie Grüns mähen, sollten Sie in einem freien Bereich die grundlegenden Funktionen der Maschine üben (das Starten und Stoppen der Maschine, das Anheben und Absenken der Schneideinheiten, das Wenden der Maschine).
Prüfen Sie das Grün auf Schmutz, entfernen Sie Fähnchen aus ihren Löchern und bestimmen die günstigste Mährichtung. Orientieren Sie sich dabei an der letzten Mährichtung. Variieren Sie bei aufeinanderfolgenden Mähvorgängen immer die Muster, damit die Grashalme weniger dazu neigen, sich flachzulegen und deshalb nicht so leicht zwischen den Messerspindeln und dem Untermesser eingeklemmt werden.
Fahren Sie mit Vollgas auf dem Grün. Der Funktionsschalthebel sollte in der MäH-Stellung und die Gasbedienung sollte auf Vollgas sein.
Fangen Sie an einer Kante des Grüns an, sodass Sie streifenweise mähen können.
Note: Die Bodenverdichtung wird dadurch auf ein Minimum gehalten, und Sie erhalten ein attraktives Muster auf den Grüns.
Drücken Sie den Schalthebel für das Anheben, Absenken bzw. Mähen nach vorne, wenn die Vorderkanten der Grasfangkörbe die äußere Kante des Grüns überquert haben.
Note: Die Schneideinheiten werden auf die Grünfläche abgesenkt, und die Spindeln starten.
Important: Die mittlere Schneideinheit wird kurz nach den Frontschneideinheiten abgesenkt und angehoben; Sie sollten daher üben, um den Mähprozess mit so wenig Zeitverlust wie möglich zu gestalten.
Note: Die Dauer der Verzögerung zum Anheben und Absenken der mittleren Schneideeinheit ist von der Temperatur der Hydraulikflüssigkeit abhängig. Kalte Hydraulikflüssigkeit führt zu einer längeren Verzögerung. Mit steigender Temperatur wird die Verzögerungszeit kürzer.
Wenn Sie zurückfahren, sollte der neue Mähdurchgang den vorherigen ein klein wenig überlappen.
Note: Damit Sie in einer möglichst geraden Linie über die Grüns fahren und einen gleichmäßigen Abstand zum zuvor gemähten Bereich einhalten, sollten Sie sich eine imaginäre Sichtlinie ungefähr 1,8 m bis 3 m vor der Maschine bis zum Rand des noch ungemähten Teil des Grüns vorstellen (Bild 24). Schließen Sie die äußere Kante des Lenkrads in die Sichtlinie mit ein, d. h. halten Sie die Kante des Lenkrads mit einer Stelle ausgefluchtet, die immer im gleichen Abstand von der Vorderseite der Maschine bleibt.
Ziehen Sie den Schalthebel für das Anheben, Absenken bzw. Mähen zurück, wenn die Vorderseite der Körbe die Kante des Grüns überqueren, und halten Sie den Hebel gedrückt, bis die Schneideinheiten angehoben sind. Die Spindeln werden gestoppt, und die Schneideinheiten werden angehoben.
Important: Dieser Schritt muss unbedingt zeitgenau ausgeführt werden, damit Sie nicht in die Kanten des Grüns schneiden, aber so viel wie möglich des Grüns schneiden, um die zu schneidende Grasmenge um die äußere Peripherie zu minimieren.
Verkürzen Sie die Betriebszeit und vereinfachen Sie das Ausrichten für den nächsten Durchgang, indem Sie die Maschine vorübergehend in die entgegengesetzte Richtung und dann in die Richtung des ungemähten Teils drehen. Führen Sie eine tränenförmige Wende durch (Bild 23), um die Maschine schnell für den nächsten Durchgang auszurichten.

Note: Die Wende sollte so kurz wie möglich ausfallen, außer in warmem Wetter, wenn ein größerer Kreis Abschürfungen der Grünfläche vermeidet.

Note: Das Lenkrad geht nach einer Wende nicht in die Ausgangsstellung zurück.
Important: Halten Sie die Maschine niemals mit laufenden Schneideinheitspindeln auf einem Grün an, da die Grünfläche beschädigt werden kann. Wenn Sie die Maschine auf einem nassen Grün stoppen, können die Räder Markierungen oder Abdrücke hinterlassen.
Schließen Sie das Mähen des Grüns durch Mähen der äußeren Peripherie ab. Achten Sie darauf, dass Sie die Schnittrichtung vom letzten Mähdurchgang ändern.
Note: Stellen Sie die Motordrehzahl mit der Gasbedienung ein, wenn Sie die Peripherie mähen. Der Schnitt wird dann auf die Grüns abgestimmt, und Sie können ggf. die Dreifachringe verringern.
Note: Berücksichtigen Sie immer das Wetter und den Zustand der Grünfläche und ändern Sie immer die Schneidrichtung vom letzten Mähen.
Kippen Sie nach dem Mähen der äußeren Peripherie den Hebel zum Anheben, Absenken bzw. Mähen nach hinten, um die Spindeln anzuhalten; fahren Sie dann vom Grün. Heben Sie die Schneideinheiten an, wenn alle Schneideinheiten nicht mehr auf dem Grün sind.
Note: Dieser Schritt verringert die Anzahl der auf dem Grün zurückgelassenen Grasklumpen.
Stellen Sie das Fähnchen zurück.
Leeren Sie die Grasfangkörbe vollständig, bevor Sie mit der Maschine auf das nächste Grün fahren.
Note: Schweres, nasses Schnittgut stellt eine übermäßige Belastung der Körbe dar und erhöht das Gewicht der Maschine unnötigerweise. Dies wiederum erhöht die Belastung der Maschinensysteme (z. B. Motor, Hydraulikanlage und Bremsen).
Aktivieren Sie die Feststellbremse, stellen Sie den Motor ab, ziehen Sie den Schlüssel ab und warten Sie, bis alle beweglichen Teile zum Stillstand gekommen sind, bevor Sie den Fahrersitz verlassen. Lassen die Maschine abkühlen, bevor Sie sie einstellen, warten, reinigen, oder einlagern.
Entfernen Sie Gras und Schmutz von den Schneideinheiten und Antrieben, um einem Brand vorzubeugen. Wischen Sie Öl- und Kraftstoffverschüttungen auf.
Schließen Sie den Kraftstoffhahn, wenn Sie die Maschine einlagern oder schleppen.
Kuppeln Sie den Antrieb des Anbaugerätes aus, wenn Sie die Maschine schleppen oder nicht verwenden.
Lassen Sie die Maschine abkühlen, bevor Sie die Maschine in einem geschlossenen Raum lagern.
Den/die Sicherheitsgurt(e) bei Bedarf warten und reinigen.
Lagern Sie weder die Maschine noch den Kraftstoffkanister in der Nähe von offenen Flammen, Funken oder Zündflammen wie z. B. bei einem Heizkessel oder sonstigen Geräten.
Schleppen Sie nur mit einer Maschine ab, die eine Anhängerkupplung hat. Befestigen Sie abgeschleppte Geräte nur an der Anhängerkupplung.
Halten Sie die Empfehlungen des Herstellers hinsichtlich Gewichtslimits für geschleppte Geräte und Schleppen an Hanglagen ein. Auf Hängen kann das Gewicht des angehängten Geräts zu einem Verlust der Haftung und Kontrolle führen.
Halten Sie Kinder und andere Personen immer von angehängten Geräten fern.
Fahren Sie langsam und berücksichtigen den längeren Bremsweg, wenn Sie mit einem angehängten Gerät fahren.
Im Notfall können Sie die Maschine über eine Strecke von 0,4 km abschleppen.
Important: Schleppen Sie die Maschine höchstens mit einer Geschwindigkeit von 3 bis 5 km/h ab, damit der Antrieb nicht beschädigt wird. Wenn Sie die Maschine über eine längere Strecke (über 0,4 km) bewegen müssen, transportieren Sie auf einem Pritschenwagen oder Anhänger.
Ermitteln Sie das Sicherheitsventil an der Pumpe (Bild 25).

Öffnen Sie das Sicherheitsventil, indem Sie es 3 Umdrehungen gegen den Uhrzeigersinn drehen.
Ziehen Sie das Sicherheitsventil vor dem Starten des Motors fest und ziehen Sie das Ventil mit 12 N·m an.
Important: Starten Sie den Motor nie, wenn das Sicherheitsventil noch offen steht.
| Wartungsintervall | Wartungsmaßnahmen |
|---|---|
| Bei jeder Verwendung oder täglich |
|
Waschen Sie die Maschine nach dem Mähen gründlich mit einem Gartenschlauch ohne Spritzdüse. Dadurch vermeiden Sie, dass ein zu hoher Wasserdruck zur Verunreinigung und Beschädigung der Dichtungen und Lager führt. Waschen Sie einen warmen Motor oder elektrische Verbindungen niemals mit Wasser.
Führen Sie folgende Schritte nach dem Reinigen der Maschine aus:
Kontrollieren Sie die Maschine auf mögliche Öllecks und Beschädigungen oder Abnutzung der hydraulischen und mechanischen Komponenten.
Kontrollieren Sie die Schärfe der Schneideinheiten.
Fetten Sie die Bremswelle mit SAE 30 Öl oder Sprühschmiermittel, um Korrosion vorzubeugen und um eine zufriedenstellende Leistung der Maschine beim nächsten Mähen zu gewährleisten.
Gehen Sie beim Verladen und Abladen der Maschine auf einen/von einem Anhänger oder Pritschenwagen vorsichtig vor.
Verwenden Sie Rampe über die ganze Breite, wenn Sie die Maschine auf einen Anhänger oder Pritschenwagen laden.
Befestigen Sie die Maschine sicher mit Gurten, Ketten, Kabeln oder Seilen. Die vorderen und hinteren Gurte sollten nach unten und außerhalb der Maschine verlaufen (Bild 26).

Eine falsche Wartung kann zu einem frühzeitigen Ausfall der Maschinensysteme führen und Sie oder Unbeteiligte verletzen.
Warten Sie die Maschine regelmäßig und in einem guten Zustand, gemäß diesen Anweisungen.
Note: Bestimmen Sie die linke und rechte Seite der Maschine anhand der üblichen Einsatzposition.
Note: Laden Sie ein kostenfreies Exemplar des elektrischen oder hydraulischen Schaltbilds von www.Toro.com herunter und suchen Sie Ihre Maschine vom Link für die Bedienungsanleitungen auf der Homepage.
Important: Weitere Informationen zu Wartungsarbeiten finden Sie in der Motorbedienungsanleitung.
Wenn Sie den Zündschlüssel im Zündschloss stecken lassen, könnte eine andere Person den Motor versehentlich anlassen und Sie und Unbeteiligte schwer verletzen.
Ziehen Sie vor dem Beginn von Wartungsarbeiten den Schlüssel aus dem Zündschloss und schließen Sie den Zündkerzenstecker ab. Schieben Sie außerdem den Kerzenstecker zur Seite, damit er nicht versehentlich die Zündkerze berührt.
Bevor Sie den Fahrerstand verlassen, gehen Sie wie folgt vor:
Stellen Sie die Maschine auf einer ebenen Fläche ab.
Kuppeln Sie die Schneideinheit aus.
Aktivieren Sie die Feststellbremse.
Stellen Sie den Motor ab und ziehen Sie den Schlüssel ab.
Warten Sie, bis alle beweglichen Teile zum Stillstand gekommen sind.
Lassen Sie alle Maschinenteile abkühlen, ehe Sie mit Wartungsarbeiten beginnen.
Führen Sie Wartungsarbeiten möglichst nicht bei laufendem Motor durch. Fassen Sie keine beweglichen Teile an.
Stützen Sie die Maschine mit Achsständern ab, wenn Sie Arbeiten unter der Maschine ausführen.
Lassen Sie den Druck aus Maschinenteilen mit gespeicherter Energie vorsichtig ab.
Halten Sie alle Teile der Maschine in gutem Betriebszustand und alle Befestigungen angezogen.
Ersetzen Sie abgenutzte und beschädigte Aufkleber.
Verwenden Sie nur Originalersatzteile von Toro, um eine sichere und optimale Leistung zu gewährleisten. Ersatzteile anderer Hersteller können gefährlich sein und eine Verwendung könnte die Garantie ungültig machen.
| Wartungsintervall | Wartungsmaßnahmen |
|---|---|
| Nach der ersten Betriebsstunde |
|
| Nach 10 Betriebsstunden |
|
| Nach 50 Betriebsstunden |
|
| Bei jeder Verwendung oder täglich |
|
| Alle 50 Betriebsstunden |
|
| Alle 100 Betriebsstunden |
|
| Alle 200 Betriebsstunden |
|
| Alle 800 Betriebsstunden |
|
| Alle 1000 Betriebsstunden |
|
| Alle 2000 Betriebsstunden |
|
| Jährlich |
|
| Alle 2 Jahre |
|
Kopieren Sie diese Seite für regelmäßige Verwendung.
| Wartungsprüfpunkt | Für KW: | ||||||
|---|---|---|---|---|---|---|---|
| Mo | Di | Mi | Do | Fr | Sa | So | |
| Prüfen Sie die Funktion der Sicherheitsschalter. | |||||||
| Prüfen Sie die Funktion der Instrumente. | |||||||
| Prüfen Sie den Alarm des Ölleck-Warnsystems. | |||||||
| Prüfen Sie die Funktion der Bremsen. | |||||||
| Prüfen Sie den Kraftstoffstand. | |||||||
| Prüfen Sie den Stand des Hydrauliköls. | |||||||
| Prüfen Sie den Motorölstand. | |||||||
| Reinigen Sie die Motorkühlrippen. | |||||||
| Prüfen Sie den Vorreiniger des Luftfilters. | |||||||
| Achten Sie auf ein ungewöhnliches Motorgeräusch. | |||||||
| Prüfen Sie die Einstellung der Spindel zum Untermesser. | |||||||
| Prüfen Sie die Hydraulikschläuche auf Defekte. | |||||||
| Prüfen Sie die Dichtheit. | |||||||
| Prüfen Sie den Reifendruck. | |||||||
| Prüfen Sie die Schnitthöheneinstellung. | |||||||
| Fetten Sie alle Schmiernippel ein.1 | |||||||
| Schmieren Sie das Mäh-, Hub- und Bremsgestänge ein. | |||||||
| Bessern Sie alle Lackschäden aus. | |||||||
|
1. Unmittelbar nach jeder Wäsche, ungeachtet des aufgeführten Intervalls |
|||||||
| Inspiziert durch: | ||
| Punkt | Datum | Informationen |
Note: Wenn Sie den Sitz häufig entfernen, können Sie den Rollstift durch einen R-Schlüsselstift (Bestellnummer 3290-467) ersetzen.
Entfernen Sie den Sitz, um leichter an den Ventilblock der Maschine zu gelangen.
Entriegeln Sie den Sitz und heben ihn an; befestigen Sie ihn mit der Stützstange.
Schließen Sie die beiden Kabelbaumanschlüsse unter dem Sitz ab.
Klappen Sie den Sitz herunter und entfernen den Rollstift, mit dem die Sitzgelenkstange am Rahmen befestigt ist (Bild 27).

Schieben Sie die Sitzgelenkstange nach links.
Bewegen Sie den Sitz nach vorne und heben Sie ihn aus der Maschine.
Gehen Sie zum Montieren des Sitzes in umgekehrter Reihenfolge vor.
Wenn die Maschine ungenügend abgestützt ist, kann sie herunterfallen und Sie oder andere Personen verletzen.
Stützen Sie vor dem Ausführen von Wartungsarbeiten die Maschine mit Achsständer oder Holzblöcken ab.
Senken Sie vor dem Aufbocken (Anheben) der Maschine die Schneideinheiten ab. Hebestelle:
Rechte Seite: Unter dem Steckpolster und neben der Stützhalterung des Überrollschutzes (Bild 28)
Linke Seite: Unter dem Trittbrett
Hinten: An der Laufradgabel

| Wartungsintervall | Wartungsmaßnahmen |
|---|---|
| Alle 50 Betriebsstunden |
|
Fetten Sie die Schmiernippel regelmäßig mit Nr. 2 Allzweckschmierfett auf Lithiumbasis ein.
Die Schmiernippel befinden sich an folgenden Stellen:
Heckrollennabe, oder bei einem Dreiradantrieb, Rollenkupplungen des Hinterrads und externes Kugellager (1) (Bild 29)

Lenkgabelwelle (1) (Bild 30)
Ende der Lenkzylinderstange (Bild 30)

Hubarmgelenk (3) und Schwenkscharnier (3) (Bild 31)

Zugrahmenwelle und Rolle (12) (Bild 32)

Ende des Lenkzylinders (Bild 33)

Hubzylinder (3) (Bild 34)

Fahrpedal (Bild 35)

Geschwindigkeitsschaltgestänge (Bild 36 und Bild 37).


Wischen Sie die Schmiernippel ab, um das Eindringen von Fremdkörpern in die Lager und Büchsen zu vermeiden.
Pumpen Sie Schmiermittel in die Lager oder Stellschrauben, bis das Schmiermittel sichtbar ist. Wischen Sie überflüssiges Fett ab.
Fetten Sie die Keilwelle des Spindelmotors und den Hubarm ein, wenn Sie die Schneideinheit zur Wartung entfernen.
Tröpfeln Sie täglich nach der Reinigung einige Tropfen SAE 30 oder Sprühöl (WD 40) auf alle Drehpunkte.
Stellen Sie den Motor grundsätzlich vor dem Prüfen des Ölstands oder Auffüllen des Kurbelgehäuses mit Öl ab.
Ändern Sie nicht die Geschwindigkeit des Drehzahlreglers oder überdrehen den Motor.
| Wartungsintervall | Wartungsmaßnahmen |
|---|---|
| Alle 50 Betriebsstunden |
|
| Alle 100 Betriebsstunden |
|
Reinigen Sie die Luftfilterabdeckung (Bild 38).

Lösen Sie die Verschlussclips und entfernen die Luftfilterabdeckung.
Entfernen Sie die Flügelmutter, mit der die Einsätze am Luftfiltergehäuse befestigt sind (Bild 39).
Nehmen Sie einen verschmutzten Schaumeinsatz vorsichtig vom Papiereinsatz ab (Bild 39). Reinigen Sie ihn gründlich wie folgt:
Waschen Sie den Schaumeinsatz in einer warmen Seifenlauge. Drücken Sie ihn, um den Schmutz zu entfernen.
Trocknen Sie den Einsatz, indem Sie ihn in einen sauberen Lappen einwickeln. Drücken Sie den Lappen mit dem darin befindlichen Schaumeinsatz, um diesen zu trocknen.
Important: Wringen Sie den Schaumeinsatz beim Trocknen nicht aus, da der Schaum reißen kann.

Prüfen Sie den Zustand des Papiereinsatzes. Reinigen Sie ihn durch leichtes Klopfen auf eine flache Oberfläche, oder ersetzen Sie ihn.
Bringen Sie den Schaumeinsatz, den Papiereinsatz, die Flügelmutter und die Luftfilterabdeckung an.
Important: Lassen Sie den Motor nie ohne Luftfiltereinsatz laufen, sonst resultiert daraus ein extremer Motorverschleiß und mit Wahrscheinlichkeit ein Motorschaden.
Der Motor wird ab Werk mit Öl im Kurbelgehäuse ausgeliefert. Überprüfen Sie jedoch den Ölstand vor und nach dem ersten Anlassen des Motors.
API-Ölwartungsklassifikation: SJ oder höher.
Ölviskosität: SAE 30
Note: Verwenden Sie nur waschaktives Öl guter Qualität.
| Wartungsintervall | Wartungsmaßnahmen |
|---|---|
| Bei jeder Verwendung oder täglich |
|
Parken Sie die Maschine auf einer ebenen Fläche, stellen den Motor ab und ziehen den Schlüssel ab.
Schrauben Sie den Peilstab auf, nehmen Sie ihn heraus und wischen Sie ihn mit einem sauberen Lappen ab.
Führen Sie den Peilstab in den Füllstutzen wieder ein und schrauben Sie den Peilstab auf den Füllstutzen auf (Bild 40).

Schrauben Sie den Peilstab auf, nehmen Sie ihn heraus und prüfen den Ölstand.
Wenn der Ölstand niedrig ist, nehmen Sie den Fülldeckel von der Ventilabdeckung ab und gießen Öl über die Ventilabdeckung in den Motor, bis der Ölstand die VOLL-Markierung am Peilstab erreicht.
Gießen Sie Öl langsam ein und prüfen Sie den Ölstand häufig während des Füllens.
Important: Füllen Sie nicht zu viel Motoröl ein.
Setzen Sie den Fülldeckel und den Peilstab ein.
| Wartungsintervall | Wartungsmaßnahmen |
|---|---|
| Alle 100 Betriebsstunden |
|
Motorölmenge: 1,4 l mit Filter
Entfernen Sie die Ablassschraube (Bild 41) und lassen Sie das Öl in die Auffangwanne ab.

Reinigen Sie das Gewinde der Ölablassschraube, bringen Sie etwas PTFE-Dichtmittel auf und schrauben Sie die Ablassschraube wieder auf (Bild 41).
Entfernen Sie den Ölfilter (Bild 41).
Ölen Sie die neue Dichtung am Ölfilter leicht mit frischem Öl ein.
Schrauben Sie den Ölfilter mit der Hand auf den Motor, bis die Dichtung den Filteradapter berührt; ziehen Sie den Filter dann um eine weitere Dreiviertel- bis ganze Umdrehung an.
Important: Ziehen Sie den Ölfilter nicht zu fest.
Füllen Sie Öl in das Kurbelgehäuse, siehe Motorölangaben und Prüfen des Motoröls.
Entsorgen Sie den Ölfilter und das Altöl ordnungsgemäß.
| Wartungsintervall | Wartungsmaßnahmen |
|---|---|
| Alle 1000 Betriebsstunden |
|
Zündkerzentyp: Champion RC 14YC
Elektrodenabstand: 0,76 mm
Reinigen Sie den Bereich um die Zündkerzen, sodass kein Schmutz in den Zylinder fallen kann.
Ziehen Sie die Zündkerzenstecker ab und entfernen die Zündkerzen.
Prüfen Sie den Zustand der Seitenelektrode, der zentralen Elektrode und der Isolierung um die zentrale Elektrode, um sicherzustellen, dass nirgendwo Defekte aufgetreten sind.
Important: Eine gespaltene oder verschmutzte Zündkerze muss ausgewechselt werden. Elektroden dürfen nicht sandgestrahlt, abgekratzt oder mit einer Drahtbürste gereinigt werden, da sich Grobstaub so nach und nach von der Zündkerze lösen könnte und in den Zylinder fallen würde.
Stellen Sie den Abstand zwischen der mittleren und seitlichen Elektrode auf 0,76 mm ein, wie in Bild 42 dargestellt.

Schrauben Sie eine Zündkerze und die zugehörige Dichtung ein und ziehen Sie diese bis auf ein Drehmoment von 23 N·m an.
| Wartungsintervall | Wartungsmaßnahmen |
|---|---|
| Alle 800 Betriebsstunden |
|
Der Kraftstofffilter befindet sich in der Kraftstoffleitung zwischen dem Tank und dem Vergaser (Bild 43).
Unter bestimmten Bedingungen ist Kraftstoff extrem leicht entflammbar und hochexplosiv. Feuer und Explosionen durch Kraftstoff können Verbrennungen und Sachschäden verursachen.
Lassen Sie den Kraftstoff aus dem Kraftstofftank ab, wenn der Motor kalt ist. Tun Sie das im Freien auf einem freien Platz. Wischen Sie verschütteten Kraftstoff auf.
Rauchen Sie nie beim Ablassen von Kraftstoff und halten diesen von offenen Flammen und aus Bereichen fern, in denen Benzindämpfe durch Funken entzündet werden könnten.
Schließen Sie den Kraftstoffhahn (Bild 43).

Legen Sie eine Ablaufwanne unter den Filter, lockern die Schlauchklemme an der Vergaserseite des Filters und ziehen die Kraftstoffleitung vom Filter ab (Bild 43).
Lösen Sie die andere Schlauchklemme und entfernen den Filter (Bild 43).
Montieren Sie den neuen Filter so am Filterkörper, dass der Pfeil weg vom Kraftstofftank ausgerichtet ist.
| Wartungsintervall | Wartungsmaßnahmen |
|---|---|
| Alle 2 Jahre |
|
Prüfen Sie die Kraftstoffleitungen auf Verschleiß, Defekte oder lockere Anschlüsse.
Klemmen Sie vor dem Durchführen von Reparaturen an der Maschine den Akku ab. Klemmen Sie immer zuerst die Minusklemme und dann die Plusklemme ab. Schließen Sie immer zuerst den Pluspol und dann den Minuspol an.
Laden Sie den Akku in offenen, gut gelüfteten Bereichen und nicht in der Nähe von Funken und offenem Feuer. Stecken Sie das Ladegerät aus, ehe Sie die Batterie anschließen oder abklemmen. Tragen Sie Schutzkleidung und verwenden Sie isoliertes Werkzeug.
Akkupole und Metallwerkzeuge können an metallischen Teilen Kurzschlüsse verursachen, was Funken erzeugen kann. Funken können zum Explodieren der Gase im Akku führen und Verletzungen verursachen.
Beim Aus- und Einbau des Akkus verhindern, dass Akkupole mit Metallteilen der Maschine in Kontakt kommen.
Vermeiden Sie Kurzschlüsse zwischen metallischen Werkzeugen, den Akkupolen und metallischen Maschinenteilen.
Klemmen Sie das Minuskabel (schwarz) und dann das Pluskabel (rot) von der Batterie ab (Bild 44).

Das unsachgemäße Verlegen des Akkukabels kann zu Schäden am Traktor und den Kabeln führen, und es können Funken erzeugt werden. Funken können zum Explodieren der Akkugase führen, was Verletzungen zur Folge haben kann.
Trennen Sie immer das Minuskabel (Schwarz) ab, bevor Sie das Pluskabel (Rot) abtrennen.
Nehmen Sie die Befestigungen und Akkuklemmen ab und heben Sie das Akku heraus.
Schließen Sie ein Akkuladegerät mit zwei bis vier Ampere an die Akkupole an. Laden Sie das Akku für mindestens zwei Stunden mit vier Ampere oder für vier Stunden mit zwei Ampere auf, bis das spezifische Gewicht mindestens 1,250 und die Temperatur mindestens 16 °C beträgt; die Gasentwicklung sollte in allen Zellen ungehindert sein.
Beim Laden des Akkus werden Gase erzeugt, die explodieren können.
Rauchen Sie nie in der Nähe des Akkus und halten Sie Funken und offene Flammen vom Akku fern.
Important: Wenn Sie das Akku nicht für die oben angegebene Mindestdauer aufladen, können Sie die Nutzungsdauer des Akkus verkürzen.
Wenn das Akku ganz aufgeladen ist, schließen Sie das Ladegeräts von der Stromzufuhr und den Akkupolen ab.
Setzen Sie das Akku auf das Akkufach und befestigen es mit den vorher entfernten Befestigungen und der Akkuklemme.
Klemmen Sie zuerst das Pluskabel (Rot) am Pluspol (+) der Batterie und dann das Minuskabel (Schwarz) am Minuspol (-) der Batterie an (Bild 44), verwenden Sie dabei die zuvor entfernten Kopfschrauben und Muttern. Ziehen Sie die Gummimuffe über den Pluspol, um Kurzschlüssen vorzubeugen.
Das unsachgemäße Verlegen des Akkukabels kann zu Schäden am Traktor und den Kabeln führen, und es können Funken erzeugt werden. Funken können zum Explodieren der Batteriegase führen, was Verletzungen zur Folge haben kann.
Schließen Sie immer das Pluskabel (Rot) an, bevor Sie das Minuskabel (Schwarz) anschließen.
Die Sicherungen der Elektroanlage der Maschine befinden sich unter dem Sitz (Bild 45).

| Wartungsintervall | Wartungsmaßnahmen |
|---|---|
| Bei jeder Verwendung oder täglich |
|
Variieren Sie den Reifendruck der Vorderräder abhängig vom Zustand der Grünfläche. Von einem Minimum von 0,55 bar bis zu einem Maximum von 0,83 bar.
Variieren Sie den Reifendruck der Hinterräder von einem Minimum von 0,55 bar bis zu einem Maximum von 1,03 bar.
| Wartungsintervall | Wartungsmaßnahmen |
|---|---|
| Nach der ersten Betriebsstunde |
|
| Nach 10 Betriebsstunden |
|
| Alle 200 Betriebsstunden |
|
Wenn Sie die Radmuttern nicht fest genug ziehen, können Verletzungen daraus resultieren.
Ziehen Sie die Radmuttern in den angegebenen Intervallen bis auf den korrekten Drehmomentwert an.
Drehmoment der Radmuttern: 95–122 N·m.
Note: Ziehen Sie die Radmuttern in einem Sternmuster an, um eine gleichmäßige Kraftverteilung sicherzustellen.
Wenn die Maschine kriecht, wenn das Fahrpedal in der LEERLAUF-Stellung ist, stellen Sie die Leerlaufstellung ein.
Bocken Sie den Rahmen auf, sodass ein Vorderrad angehoben ist.
Note: Wenn die Maschine einen Dreiradantrieb hat, heben Sie das Hinterrad an und blockieren es.
Lassen Sie den Motor an, stellen Sie die Gasbedienung in die LANGSAM-Stellung und stellen sicher, dass das Vorderrad Bodenfreiheit hat und sich nicht dreht.
Wenn sich das Rad dreht, stellen Sie den Motor ab und gehen folgendermaßen vor:
Lösen Sie beide Klemmmuttern, mit denen der Fahrantriebs-Bowdenzug am Schott am Hydrostat befestigt ist (Bild 46). Achten Sie darauf, dass die Klemmmuttern gleichmäßig gelockert sind und eine ausreichende Einstellung ermöglichen.

Note: Lösen Sie die Mutter, mit der der Exzenter oben am Hydrostat befestigt ist (Bild 46).
Stellen Sie den Funktionsschalthebel in die LEERLAUF-Stellung und den Gasbedienungshebel in die LANGSAM-Stellung.
Lassen Sie den Motor an.
Drehen Sie den Exzenter, bis kein Kriechen in jeder Richtung auftritt.
Ziehen Sie die Mutter fest, wenn sich das Rad nicht mehr dreht, um den Exzenter und die Einstellung zu arretieren (Bild 46).
Überprüfen Sie die Einstellung mit dem Gasbedienungshebel in der LANGSAM- und SCHNELL-Stellung.
Ziehen Sie die Sicherungsmuttern, mit denen der Bowdenzug am Schott befestigt ist, gleichmäßig von der Innenseite des Schotts fest (Bild 46). Verdrehen Sie nicht den Bowdenzug.
Note: Sollte eine Kabelspannung bestehen, wenn der Funktionsschalthebel in der LEERLAUF-Stellung ist, kann die Maschine kriechen, wenn der Schalthebel in die MäH- oder TRANSPORT-Stellung geschoben wird.
Das Fahrpedal wird im Werk auf die maximale Transportgeschwindigkeit eingestellt. Eine Einstellung ist jedoch erforderlich, wenn das Pedal vor dem Erreichen des Pedalanschlags Vollgas erreicht, oder wenn Sie eine geringere Transportgeschwindigkeit wünschen.
Stellen Sie den Funktionsschalthebel in die TRANSPORT-Stellung und treten Sie auf das Fahrpedal, um die maximale Transportgeschwindigkeit zu erreichen. Wenn das Pedal den Anschlag erreicht (Bild 47), bevor das Kabel gespannt ist, führen Sie folgende Einstellungsschritte aus:

Stellen Sie den Funktionsschalthebel in die TRANSPORT-Stellung lösen Sie die Sicherungsmutter, mit der der Pedalanschlag an der Bodenplatte befestigt ist (Bild 47).
Ziehen Sie den Pedalanschlag fest, bis er das Fahrpedal nicht mehr berührt.
Belasten Sie weiterhin leicht das Fahrpedal und stellen den Pedalanschlag so ein, dass er die Pedalstange berührt. Ziehen Sie die Muttern fest.
Important: Die Kabelspannung darf nicht zu hoch sein, da dies die Nutzungsdauer des Kabels verringert.
Treten Sie auf das Fahrpedal und lösen die Sicherungsmutter, mit der der Pedalanschlag an der Bodenplatte befestigt ist.
Lösen Sie den Pedalanschlag, bis Sie die gewünschte Transportgeschwindigkeit erreichen.
Ziehen Sie die Sicherungsmutter fest, um den Pedalanschlag zu arretieren.
Werkseinstellung: 6,1 km/h
Lösen Sie die Klemmmutter an der Drehzapfenkopfschraube an der Seite des Fahrpedals (Bild 48).

Drehen Sie die Drehzapfenkopfschraube nach links, um die Mähgeschwindigkeit zu erhöhen, oder nach rechts, um sie zu verringern.
Ziehen Sie die Klemmmutter ohne Drehen der Drehzapfenkopfschraube an und prüfen Sie die Fahrgeschwindigkeit. Wiederholen Sie die Schritte bei Bedarf.
| Wartungsintervall | Wartungsmaßnahmen |
|---|---|
| Jährlich |
|
Drücken Sie für das Polieren der Bremsen die Bremsen ganz durch und fahren die Maschine mit der Mähgeschwindigkeit, bis die Bremsen heiß sind. Sie stellen das durch den Geruch fest. Sie müssen die Bremsen ggf. nach dem Einfahrzeitraum einstellen, siehe Einstellen der Bremsen.
An beiden Seiten der Maschine befindet sich eine Bremseinstellstange, sodass Sie die Bremsen gleichmäßig einstellen können.
Wenn Sie mit Transportgeschwindigkeit vorwärts fahren und das Bremspedal betätigen, sollten beide Räder gleichmäßig abbremsen.
Wenn Sie die Bremsen in einem beengten Bereich testen, in dem sich andere Personen aufhalten, könnten diese verletzt werden.
Testen Sie die Bremsen vor und nach dem Einstellen immer in einem weitläufigen, offenen und flachen Bereich, in dem sich keine Personen aufhalten und der keine Hindernisse aufweist.
Wenn die Bremsen nicht gleichmäßig bremsen, stellen Sie die Bremsen wie folgt ein:
Entfernen Sie den Splint und Lastösenbolzen, um die Bremsstangen abzuschließen (Bild 49).

Lockern Sie die Klemmmutter und stellen den Lastösenbolzen entsprechend ein (Bild 49).
Bringen Sie den Lastösenbolzen am Bremsbügel an (Bild 49).
Wenn Sie das Bremspedal betätigen, sollte das Pedal 13 bis 26 mm Spiel haben, bevor die Bremsbacken die Bremstrommeln berühren. Bei Bedarf den Lastösenbolzen des Bremsbügels justieren, um diese Einstellung zu erreichen.
Wenn Sie mit Transportgeschwindigkeit vorwärts fahren und das Bremspedal betätigen, sollten beide Bremsen gleichmäßig abbremsen. Stellen Sie diese bei Bedarf ein.
Important: Polieren Sie die Bremsen jährlich; siehe Abschnitt Polieren der Bremsen.
Der Hydraulikkreis zum Heben/Absenken der Schneideinheit besitzt ein Flusssteuerungsventil (Bild 50). Dieses Ventil wird ab Werk um ungefähr drei Umdrehungen geöffnet. Zum Ausgleichen unterschiedlicher Hydrauliköltemperaturen und Mähgeschwindigkeiten usw. müssen Sie dieses Ventil jedoch u. U. einstellen.
Note: Stellen Sie das Flusssteuerungsventil erst ein, wenn das Hydrauliköl die normale Betriebstemperatur erreicht hat.
Lokalisieren Sie das Flusssteuerungsventil unter dem Sitz )Bild 50).


Lösen Sie die Klemmmutter am Einstellhandrad des Flusssteuerungsventils.
Stellen Sie das Flusssteuerungsventil wie folgt ein:
Drehen Sie das Einstellhandrad gegen den Uhrzeigersinn, wenn sich die mittlere Schneideinheit zu spät absenkt oder
Drehen Sie das Einstellhandrad im Uhrzeigersinn, wenn sich das mittlere Schneidwerk zu früh absenkt.
Note: Drehen Sie die Ventile höchstens um eine 1/32 bis 1/16 Umdrehung.
Prüfen Sie Ihre Einstellung und wiederholen Sie bei Bedarf Schritt 3, ziehen Sie nach Abschluss die Klemmmutter fest.
Sie können die vorderen Hubzylinder einstellen, um die Höhe der Frontschneideinheiten in der angehobenen Stellung (Transport) einzustellen.
Senken Sie die Mähwerke auf den Boden ab.
Entfernen Sie die Schrauben, mit denen die Abdeckplatte des Hubzylinders befestigt ist, die Sie von den Stützhalterungen des Chassis einstellen (Bild 51).

Lockern Sie die Klemmmutter, mit der der Lastösenbolzen am Zylinder der Schneideinheit befestigt ist, den Sie einstellen möchten (Bild 52).

Entfernen Sie den Haltering und den Lastösenbolzen (Bild 52)
Drehen Sie den Lastösenbolzen so lange, bis Sie die gewünschte Höhe erzielt haben (Bild 53).

Befestigen Sie das Lastösen-Anschlussstück mit dem Lastösenbolzen und Haltering am Hubarm und ziehen Sie die Klemmmutter fest (Bild 52 und Bild 53).
Befestigen Sie die Abdeckplatte und Schrauben, die Sie in Schritt 2 entfernt haben.
Suchen Sie beim Einspritzen unter die Haut sofort einen Arzt auf. In die Haut eingedrungene Flüssigkeit muss sie innerhalb weniger Stunden von einem Arzt entfernt werden.
Stellen Sie sicher, dass alle Hydraulikschläuche und -leitungen in gutem Zustand und alle Hydraulikverbindungen und -anschlussstücke fest angezogen sind, bevor Sie die Hydraulikanlage unter Druck setzen.
Halten Sie Ihren Körper und Ihre Hände von Nadellöchern und Düsen fern, aus denen Hydrauliköl unter hohem Druck ausgestoßen wird.
Gehen Sie hydraulischen Undichtheiten nur mit Pappe oder Papier nach.
Lassen Sie den Druck in der Hydraulikanlage auf eine sichere Art und Weise ab, bevor Sie irgendwelche Arbeiten an der Hydraulikanlage durchführen.
Important: Außerdem sollten Sie, unabhängig vom verwendeten Hydrauliköl, in jeder Zugmaschine, die nicht nur für das Mähen von Grüns, für das Vertikutieren oder in Umgebungstemperaturen über 29 °C eingesetzt wird, einen Ölkühler (Bestellnummer 105-8339) einbauen.
Der Behälter wird im Werk mit hochwertigem Hydrauliköl gefüllt. Prüfen Sie den Stand des Hydrauliköls vor dem ersten Anlassen des Motors und dann täglich; siehe Prüfen des Hydraulikölstands.
Empfohlenes Hydrauliköl: Toro PX Extended Life Hydraulic Fluid; erhältlich in 19-l-Eimern oder 208-l-Fässern.
Note: An einer Maschine, die mit dem empfohlenen Ersatzhydrauliköl befüllt wird, muss weniger häufig ein Öl- oder Filterwechsel durchgeführt werden.
Ersatzölsorten: Wenn das Toro PX Extended Life Hydraulic Fluid nicht erhältlich ist, können Sie andere handelsübliche, auf Erdöl basierende, Hydraulikflüssigkeiten verwenden, dessen Spezifikationen für alle folgenden Materialeigenschaften im aufgeführten Bereich liegen und die Industrienormen erfüllen. Kein synthetisches Öl verwenden. Wenden Sie sich an den Ölhändler, um einen entsprechenden Ersatz zu finden.
Note: Toro haftet nicht für Schäden, die aus einer unsachgemäßen Substitution entstehen. Verwenden Sie also nur Erzeugnisse namhafter Hersteller, die für die Qualität ihrer Produkte garantieren.
| Materialeigenschaften: | ||
| Viskosität, ASTM D445 | cSt @ 40 °C, 44 bis 48 | |
| Viskositätsindex ASTM D2270 | 140 oder höher | |
| Stockpunkt, ASTM D97 | -34 °C bis -45 °C | |
| Branchenspezifikationen: | Eaton Vickers 694 (I-286-S, M-2950-S/35VQ25 oder M-2952-S) | |
Note: Viele Hydraulikölsorten sind fast farblos, was das Erkennen von undichten Stellen erschwert. Als Beimischmittel für das Hydrauliköl können Sie ein rotes Färbmittel in 20 ml Flaschen kaufen. Eine Flasche reicht für 15-22 l Hydrauliköl. Sie können es unter der Teilenummer 44-2500 über Ihren Toro-Vertragshändler beziehen.
Important: Das synthetische und biologisch abbaubare Hydrauliköl Toro Premium ist das einzige von Toro zugelassene synthetische biologisch abbaubare Hydrauliköl. Dieses Öl ist mit den Elastomeren kompatibel, die in den Hydraulikanlagen von Toro verwendet werden, und eignet sich für viele Klimata. Dieses Öl ist mit konventionellen Mineralölen kompatibel. Sie sollten die Hydraulikanlage jedoch gründlich spülen, um das konventionelle Öl zu entfernen, um die beste biologische Abbaubarkeit und Leistung zu erhalten. Das Öl ist in Behältern mit 19 l oder Fässern mit 208 l vom Mobil-Händler erhältlich.
Stellen Sie die Maschine auf eine ebene Fläche.
Note: Stellen Sie sicher, dass die Maschine abgekühlt ist, sodass das Öl kühl ist.
Prüfen Sie den Stand des Hydrauliköls gemäß dem Behälter an Ihrer Maschine.
Wenn der Hilfshydraulikbehälter ein Schauglas hat, prüfen Sie den Stand dort (Bild 54) und gehen Sie auf Schritt 5.
Note: Wenn der Ölstand zwischen den zwei Markierungen am Schauglas liegt, ist der Stand ausreichend.
Wenn der Hilfshydraulikbehälter kein Schauglas hat, ermitteln Sie den Peilstab an der Oberseite der Maschine (Bild 54) und gehen Sie auf Schritt 3.

Nehmen Sie den Peilstab heraus und wischen Sie ihn mit einem sauberen Lappen ab; schrauben Sie den Peilstab dann wieder in den Behälter ein.
Nehmen Sie den Peilstab wieder heraus und prüfen Sie den Ölstand. Wenn er zwischen den zwei Markierungen am Peilstab liegt, ist der Stand ausreichend. Wenn der Ölstand nicht zwischen den Markierungen liegt, füllen Sie den Ölstand entsprechend auf (Bild 55).

Nehmen Sie den Deckel vom Hydraulikölbehälter ab und füllen Sie langsam qualitativ hochwertiges Hydrauliköl ein, bis der Ölstand zwischen den zwei Markierungen am Schauglas oder Peilstab liegt.
Important: Reinigen Sie die Oberseite der Hydraulikölkanister, bevor Sie diese durchstechen, um eine Verunreinigung der Anlage zu vermeiden. Achten Sie darauf, dass der Einfüllstutzen und der Trichter sauber sind.
Note: Mischen Sie nie Hydrauliköle.
Schrauben Sie den Deckel wieder auf.
Note: Schauen Sie sich die hydraulischen Komponenten genau an. Prüfen Sie sie auf undichte Stellen, lose Befestigungen, fehlende Teile oder falsch verlegte Leitungen. Nehmen Sie die erforderlichen Reparaturen vor.
| Wartungsintervall | Wartungsmaßnahmen |
|---|---|
| Alle 800 Betriebsstunden |
|
| Alle 1000 Betriebsstunden |
|
| Alle 2000 Betriebsstunden |
|
Fassungsvermögen der Hydraulikanlage: 25,7 l
Wenn das Öl verunreinigt ist, wenden Sie sich an Ihren autorisierten Toro-Vertragshändler, um die Anlage zu spülen. Verunreinigtes Öl sieht im Vergleich zu sauberem Öl milchig oder schwarz aus.
Reinigen Sie den Anbaubereich des Filters (Bild 56). Stellen Sie eine Auffangwanne unter den Filter und entfernen den Filter.

Note: Wenn Sie das Öl nicht ablassen, trennen Sie die zum Filter führende Hydraulikleitung ab und setzen einen Stöpsel auf.
Füllen Sie den Ersatzfilter mit dem entsprechenden Hydrauliköl, fetten Sie die Dichtung ein und drehen den Filter mit der Hand, bis die Dichtung den Filterkopf berührt. Ziehen Sie ihn dann um eine weitere Dreiviertelumdrehung an.
Füllen Sie den Hydraulikbehälter mit Hydrauliköl, siehe Hydrauliköl – technische Angaben und Prüfen des Hydraulikölstands.
Starten Sie die Maschine und lassen Sie den Motor für drei bis fünf Minuten im Leerlauf laufen, um das Öl zu verteilen und eingeschlossene Luft aus der Anlage zu entfernen. Stellen Sie den Motor ab und prüfen Sie den Ölstand.
Entsorgen Sie das Öl und den Filter ordnungsgemäß.
| Wartungsintervall | Wartungsmaßnahmen |
|---|---|
| Bei jeder Verwendung oder täglich |
|
Prüfen Sie die Hydraulikleitungen und Schläuche täglich auf Dichtheit, geknickte Leitungen, lockere Verbindungen, Verschleiß, lockere Schellen, Witterungseinflüsse und chemische Schäden. Führen Sie alle erforderlichen Reparaturen vor der Inbetriebnahme durch.
Das Ölleck-Warnsystem soll Ihnen beim frühzeitigen Erkennen von Hydrauliköl-Lecks helfen. Wenn der Ölstand im Haupthydraulikbehälter um 118 ml bis 177 ml absinkt, schließt sich der Schwimmerschalter im Behälter. Nach einer Sekunde weist ein Alarm den Bediener auf diese Situation hin (Bild 59). Bei einer Ausdehnung des Öls aufgrund einer normalen Wärmeentwicklung beim Einsatz der Maschine läuft das Öl in den Hilfsöltank über. Dieses Öl läuft beim Abschalten der Zündung wieder in den Hauptbehälter.



Drehen Sie den Zündschlüssel in die EIN-Stellung. Schieben Sie den Schalter des Ölleck-Warnsystems nach hinten und halten ihn fest. Nach einer Sekunde sollte ein Alarm ertönen.
Lassen Sie den Schalter des Ölleck-Warnsystems los.
Stellen Sie die Zündung in die EIN-Stellung. Lassen Sie den Motor nicht an.
Nehmen Sie den Hydraulikbehälterentlüfter vom Füllstutzen am Behälter ab.
Stecken Sie eine saubere Stange oder einen Schraubenzieher in den Einfüllstutzen des Behälters und drücken Sie den Schwimmerschalter (Bild 60) leicht nach unten. Der Alarm sollte nach einer Sekunde ertönen.

Lassen Sie den Schwimmer los: Der Alarm sollte verstummen.
Befestigen Sie den Deckel vom Hydraulikbehälter.
Stellen Sie die Zündung in die AUS-Stellung.
Der Alarm des Ölleck-Warnsystems kann aus einem der folgenden Gründe ertönen:
Ein Leck von 118 ml bis 177 ml ist aufgetreten.
Der Ölstand im Hauptbehälter ist aufgrund des Zusammenziehens von Öl beim Abkühlen um 118 ml bis 177 ml reduziert.
Wenn der Alarm ertönt, sollten Sie die Maschine umgehend abstellen und auf undichte Stellen prüfen. Wenn der Alarm beim Einsatz auf einem Grün ertönt, sollten Sie zuerst vom Grün runterfahren. Ermitteln Sie die Ursache für das Leck und beheben sie, bevor Sie weiterarbeiten.
Wenn Sie kein Leck finden und einen falschen Alarm vermuten, stellen Sie die Zündung in die AUS-Stellung und lassen die Maschine für eine bis zwei Minuten stehen, damit sich die Ölstände stabilisieren können. Starten Sie dann die Maschine und setzen sie in einem unempfindlichen Bereich ein, um zu prüfen, dass keine Lecks bestehen.
Falsche Alarme, die aufgrund von einem Zusammenziehen des Öls auftreten, können auftreten, wenn Sie die Maschine nach dem Einsatz lange im Leerlauf laufen lassen. Ein falscher Alarm kann auch auftreten, wenn Sie die Maschine längere Zeit oft eingesetzt haben, und sie jetzt nicht so oft einsetzen. Stellen Sie den Motor ab und lassen Sie ihn nicht für längere Zeit im Leerlauf laufen, um falsche Alarme zu vermeiden.
Ein abgenutztes oder beschädigtes Messer oder Untermesser kann zerbrechen und Teile davon herausgeschleudert werden, und Sie oder Unbeteiligte treffen und schwere oder tödliche Verletzungen verursachen.
Prüfen Sie die Messer und Untermesser regelmäßig auf Abnutzung oder Beschädigungen.
Kontrollieren Sie die Messer vorsichtig. Lassen Sie bei der Wartung dieser Teile große Vorsicht walten, und tragen Sie Handschuhe. Die Spindeln und Untermesser sollten nur ersetzt oder geläppt werden; sie dürfen keinesfalls geglättet oder geschweißt werden.
Achten Sie bei Maschinen mit mehreren Schneideinheiten darauf, wenn Sie eine Schneideinheit drehen, dass sich dadurch die anderen Spindeln in den anderen Schneideinheiten mitdrehen können.
| Wartungsintervall | Wartungsmaßnahmen |
|---|---|
| Bei jeder Verwendung oder täglich |
|
Prüfen Sie täglich vor dem Einsatz der Maschine den Kontakt zwischen Spindel und Untermesser, unabhängig von der vorher erzielten Schnittqualität. Über die gesamte Länge der Spindel und des Untermessers muss es zu einem leichten Kontakt zwischen beiden kommen, siehe Bedienungsanleitung der Schneideinheit.
Sie erzielen nur eine gleichmäßige, hochwertige Schnittqualität und ein gleichmäßiges Schnittbild, wenn die Spindeldrehzahl (am Verteilerblock unter der Abdeckung links vom Sitz) richtig eingestellt ist. So stellen Sie die Bedienelemente für die Spindeldrehzahl ein:
Legen Sie die Schnitthöhe fest, auf die die Schneideinheiten eingestellt sind.
Wählen Sie die gewünschte Fahrgeschwindigkeit, die am besten für die Bedingungen geeignet ist.
Lesen Sie die korrekte Spindeldrehzahl-Einstellung für die Schneideinheiten mit 5, 8, 11 oder 14 Messern in der nachfolgenden Tabelle ab (Bild 61).

Klappen Sie den Bedienersitz hoch und stützen Sie ihn mit der Stützstange ab (Bild 62).

Stellen Sie die Spindeldrehzahl durch Drehen des Bedienelement-Handrads für die Spindeldrehzahl (Bild 63) ein, bis der Anzeigepfeil auf die Nummer zeigen, die Sie in Schritt 3 festgelegt haben.


Note: Sie können die Spindelgeschwindigkeit erhöhen oder verringern, um Rasenbedingungen auszugleichen.
Kontakt mit den Spindeln oder anderen beweglichen Teilen kann zu Verletzungen führen.
Halten Sie Ihre Hände und Bekleidung fern von den Spindeln oder anderen beweglichen Teilen.
Versuchen Sie nie, die Spindeln per Hand oder Fuß in Gang zu bringen, während der Motor läuft.
Stellen Sie die Maschine auf einer ebenen Fläche ab, senken die Schneideinheiten ab, stellen den Motor ab, ziehen Sie den Zündschlüssel ab und aktivieren die Feststellbremse.
Klappen Sie den Bedienersitz hoch und stützen Sie ihn mit der Stützstange ab (Bild 64).

Stellen Sie zuerst den Abstand zwischen Spindel und Untermesser für das Feinschleifen aller Schneideinheiten ein, die Sie läppen, siehe Bedienungsanleitung der Schneideinheit.
Drehen Sie den Läpphebel in die R-Stellung (Bild 65).


Drehen Sie das Handrad für die Spindeldrehzahl auf die Einstellung 1 (Bild 65).
Lassen Sie den Motor an und lassen ihn mit niedriger Drehzahl laufen.
Important: Das Verändern der Motordrehzahl beim Läppen kann zum Festfahren der Spindeln führen. Läppen Sie Spindeln nur im Leerlauf.
Stellen Sie den Mäh-/Transporthebel in die NEUTRAL-Stellung und schieben den Hebel zum Absenken, Anheben bzw. Mähen nach vorne, um das Läppen der Spindel zu starten.
Tragen Sie Schleifpaste mit einer langstieligen Bürste auf. Verwenden Sie nie eine Bürste mit kurzem Stiel.
Wenn die Spindeln beim Läppen anhalten oder ungleichmäßig laufen, wählen Sie eine höhere Spindeldrehzahl, bis sich die Geschwindigkeit stabilisiert. Stellen Sie die Spindeldrehzahl dann wieder auf die Stellung 1 oder auf die gewünschte Drehzahl.
Wenn Sie die Schneideinheiten beim Läppen einstellen möchten, schalten Sie die Spindeln ab, indem Sie den Hebel zum Absenken, Anheben bzw. Mähen nach hinten ziehen und den Motor abstellen. Wiederholen Sie nach dem Abschluss der Einstellungen die Schritte 4 bis 8.
Wiederholen Sie die Schritte 4 bis 8 für alle Schneideinheiten, die Sie läppen.
Stellen Sie nach dem Läppen den Läppriegel in die F-Stellung, stellen Sie das Handrad für die Spindeldrehzahl auf die gewünschte Einstellung, klappen Sie den Sitz herunter und waschen Sie die Schleifpaste von den Schneideinheiten ab. Stellen Sie den Kontakt zwischen Schneideinheitspindel und Untermesser nach Bedarf ein.
Important: Wenn Sie den Läppschalter nicht in die F-Stellung zurückstellen, können die Schneideinheiten weder richtig angehoben noch eingesetzt werden.
Stellen Sie vor dem Verlassen des Fahrersitzes die Maschine ab, ziehen Sie den Schlüssel ab und warten Sie, bis alle beweglichen Teile zum Stillstand gekommen sind. Lassen Sie die Maschine abkühlen, bevor Sie diese einstellen, warten, reinigen oder einlagern.
Lagern Sie die Maschine oder den Benzinkanister nie an Orten mit offener Flamme, Funken oder Zündflamme, z. B. Warmwasserbereiter, oder anderen Geräten.
Wenn Sie die Maschine längere Zeit einlagern möchten, sollten Sie die folgenden Schritte vor der Einlagerung ausführen:
Stellen den Motor ab, ziehen den Schlüssel ab und warten Sie, bis alle beweglichen Teile zum Stillstand gekommen sind. Lassen Sie die Maschine abkühlen, bevor Sie diese verstauen.
Entfernen Sie Schmutz und Schnittgutrückstände von der Maschine. Schärfen Sie die Spindel und die Untermesser bei Bedarf; siehe die Bedienungsanleitung der Schneideinheit. Behandeln Sie die Untermesser und Messerspindeln mit einem Rostschutzmittel. Schmieren und fetten Sie alle Schmierstellen ein. Siehe Einfetten der Maschine.
Bocken Sie die Räder auf, um das Gewicht von den Reifen zu nehmen.
Lassen Sie das Hydrauliköl auslaufen und ersetzen das Öl und den Hydraulikölfilter; prüfen Sie die Hydraulikleitungen und Anschlussstücke. Tauschen Sie bei Bedarf aus; siehe Warten des Hydrauliköls und Prüfen der Hydraulikleitungen und -schläuche.
Entleeren Sie den Kraftstofftank. Lassen Sie den Motor laufen, bis der Motor aus Kraftstoffmangel stoppt. Tauschen Sie den Kraftstofffilter aus, siehe Austauschen des Kraftstofffilters.
Lassen Sie das Öl aus dem Kurbelgehäuse ablaufen, wenn der Motor warm gelaufen ist. Füllen Sie das Kurbelgehäuse mit frischem Öl auf; siehe Warten des Motoröls.
Entfernen Sie die Zündkerzen, gießen 3 cl SAE 30 Öl in die Zylinder und drehen den Motor langsam, um das Öl zu verteilen. Tauschen Sie die Zündkerzen aus, siehe Austauschen der Zündkerzen.
Entfernen Sie Schmutz und Schnittgutrückstände vom Zylinder, den Zylinderkopfrippen und vom Gebläsegehäuse.
Entfernen Sie die Batterie und laden sie voll auf, siehe Aufladen des Akkus. Lagern Sie sie entweder auf einem Regal oder in der Maschine. Wenn Sie das Akku in der Maschine lagern, lassen Sie die Kabel abgeklemmt. Lagern Sie den Akku an einem kühlen Ort ein, um ein zu schnelles Entladen des Akkus zu vermeiden.
Lagern Sie die Maschine wo möglich an einem warmen, trockenen Ort ein.