| 维护间隔时间 | 维护程序 |
|---|---|
| 在每次使用之前或每日 |
|
本机器是一款驾乘式、滚刀刀片果岭剪草机,需由商业应用领域雇用的专业操作员进行操作。主要为了在保养得很好的草坪上进行剪草作业而设计。将本产品用于指定用途以外的其他目的可能会对您和旁观者造成危害。
请仔细阅读本手册,了解如何正确操作及维护您的产品,避免人身伤害和产品损坏。正确并安全地操作本产品是您的责任.
访问 www.Toro.com 以了解更多信息,包括安全提示、培训材料、附件信息、帮助查找经销商或注册您的产品。
当您需要关于维修保养、Toro 真品零件或其他方面的信息时,请联系 Toro 授权经销商,并准备好有关您的产品的型号和序列号等资料。图 1显示了产品上型号和序列号的位置。将型号、序列号写在提供的空白处。
Important: 您可以使用移动设备扫描序列号标贴上的二维码(如配备),以查阅保修、零售及其他产品信息。

本手册旨在确定潜在危险并列出安全警告标志(图 2)所标示的安全信息,该标志表明了在不遵循建议的预防措施进行操作时可能造成的严重伤害或死亡事故。

本手册使用两个词语来突出信息。重要事项唤起人们对特殊机械信息的注意,而注意则强调值得特别关注的一般信息。
此产品遵循欧盟所有相关指令,详情请参阅另外提供的、特定产品的合格证明(DOC)单页。
如果该发动机的消火花消声器(定义见第 4442条)工作不正常,或发动机没有进行防火方面的隔离、装备或维护,根据《加利福尼亚州公共资源条例》(California Public Resource Code)第 4442 条或第 4443 条规定,在任何森林、灌木丛或草皮覆盖区域使用和操作该发动机均属违法。
随附的发动机用户手册介绍了美国环境保护局 (EPA) 和加州排放管制法中有关排放系统、维护和保修的信息。更换产品可通过发动机制造商订购。
加利福尼亚州
第65号提案中警告称:
本产品的发动机排出的废气含有加利福尼亚州已知的能致癌、致出生缺陷或损害生殖系统的化学物质。
加利福尼亚州认为电池接柱、接头以及相关配件含铅或铅混合物、化合物,会引发癌症和造成生殖损害。用后请务必洗手。
使用此产品可能导致接触加利福尼亚州已知的能致癌、致出生缺陷或损害生殖系统的化学物质。
本产品可能切断手脚并抛掷物体。
在启动发动机之前,请首先阅读并理解本操作员手册的内容。
操作机器时应全神贯注。不要从事任何引起分心的活动;否则,可能会造成人身伤害或财产损失。
切勿将手脚放在机器的活动组件附近。
请仅在所有防护装置和其他安全装置到位且可在机器上正常工作的情况下才操作机器。
让旁观者和儿童远离操作区。切勿让儿童操作机器。
关闭机器、拔下钥匙、等待所有移动完全停止,然后再离开操作员位置。等待机器冷却,然后再进行调整、维修、清洁或存放。
不当使用或维护本机器可能导致人身伤害。若要减少潜在伤害,请遵循这些安全说明并始终注意安全警告标志
,即小心、警告或危险等个人安全指示。不遵循这些说明可能导致人身伤害甚至死亡事故。
![]() |
任何潜在危险区附近均贴有操作员清晰可见的安全标贴和说明。更换受损或丢失的标贴。 |













给电池充电;请参阅为电池充电。
此程序中需要的物件:
| 托架螺栓(5/16 x ¾ 英寸) | 2 |
| 螺母(5/16 英寸) | 2 |
将电池安装在座椅后面,使电池端子朝向机器前面(图 3)。
用电池正极接线(红色)连接启动马达线圈与电池的正极(+)(图 3)。用托架螺栓和螺母进行固定。
Important: 确保电线远离座椅,处于最后面的位置,因为座椅可能导致电线磨损或损坏。
电池端子或金属工具可能会与机器金属部件发生短路并产生火花。火花可引发电池气体爆炸,从而造成人身伤害。
拆下或安装电池时,切勿让电池端子接触到机器的任何金属部件。
切勿让金属工具短接电池端子和机器的金属部件。

将黑色地线(从发动机基座)连接至电池的负极(-)。用托架螺栓和螺母进行固定。
电池接线不正确会损坏机器,而且接线之间会产生火花。火花可引发电池气体爆炸,从而造成人身伤害。
应始终先断开负极(黑色)电池线,然后才能断开正极(红色)接线。
应始终先连接正极(红色)电池线,然后才能连接负极(黑色)接线。
在两个端子上涂抹石油膏。
安装电池夹和垫圈,用蝶形螺帽进行固定(图 3)。
将端子盖盖到电池正极(+)上。
此程序中需要的物件:
| 螺栓 (½ x 1¾ 英寸) | 2 |
| 螺栓 (½ x 1½ 英寸) | 6 |
| 螺母(½ 英寸) | 8 |
卸下将千斤顶垫固定到机器右侧的螺丝和螺母。
将翻车保护杆(图 4)放低到安装支架上,与安装孔对齐。

用 4 个螺栓(½ x 1½ 英寸)和锁紧螺母将翻车保护杆的左侧固定到安装支架上(图 4)。
上紧紧固件扭矩至 91~115N∙m。
用 2 个螺栓(½ x 1½ 英寸)、2 个螺栓(½ x 1¾ 英寸)和锁紧螺母,将翻车保护杆的右侧和先前卸下的千斤顶垫固定到安装支架上,如图 4所示。
上紧紧固件扭矩至 91~115N∙m。
如果您在操作车辆时不系好安全带,可能导致您被抛出座椅及在翻车事故中受到伤害。
应始终使用安全带。
此程序中需要的物件:
| 滚刀组 | 3 |
| 集草斗 | 3 |
Important: 当滚刀马达位于机器机架的支座中时,切勿将悬挂提升至行驶位置。否则,可能导致马达或软管受损。
Note: 在磨快滚刀组、设置剪草高度或执行其他维护程序时,应将滚刀组滚刀马达放在机架前面和机器侧面的支撑管上,防止软管受到损坏。
从包装箱中取出滚刀组。按照滚刀组操作员手册列明的内容,组装和调节滚刀组。
将滚刀组滑到牵引架下,同时将吊钩滑到提升臂上(图 5)。

将套管滑回球窝接头接收器,然后将接收器挂到滚刀组球头螺栓上。松开套管,让它滑到螺栓上方,从而将组件锁定到一起(图 6)。

将集草斗安装到牵引架上,松开牵引臂上的锁紧螺母,然后调节球座,直至集草斗边缘与滚刀刀片之间有 6~13mm 的间隙。
Note: 这样可以防止集草斗使滚刀组向前翻转,剪草操作时滚刀组前翻会导致提升滚筒脱离提升臂。
Note: 确保集草斗边缘与所有滚刀的刀片距离相等。如果集草斗太接近滚刀,提升或放下滚刀组到地面上时,滚刀可能会接触到集草斗。
对齐球窝接头内的球座,使球座开口侧的中心朝向球头螺栓,然后拧紧锁紧螺母,将球座固定到位(图 7)。

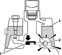
确保每个滚刀驱动马达安装螺栓都有大约 13mm 的螺纹露在外面(图 8)。

在马达的花键轴上涂抹干净的润滑脂。
安装马达,首先顺时针旋转马达,使马达法兰脱离螺栓,然后逆时针旋转马达,直至法兰环绕住螺栓。
然后旋紧安装螺栓(图 8)。
为了对齐机器以进行连续剪草,请对 2 号和 3 号滚刀组斗执行如下程序:
从每个集草斗的外沿测量约 12.7 cm。
在每个斗的外沿并行粘一个白色胶带或画一条线 (图 9)。

此程序中需要的物件:
| 后配重块套件(零件号 100-6442)——单独购买 | 1 |
| 19.5kg 氯化钙(单独购买) | 1 |
| 后配重块套件(零件号 99-1645)——单独购买,如果您已安装了 3 轮驱动套件 | 1 |
当配备后配重块套件(零件号 100-6442)和向后轮添加 19.5kg 氯化钙压载物时,本机器符合 ANSI B71.4-2017 和 EN ISO 5395:2013 标准。如果您安装了 3 轮驱动套件,应使用零件号为 99-1645 的后配重块套件,而不是零件号为 100-6442 的后配重块套件。
Important: 如果带氯化钙的轮胎出现穿孔,请尽快将机器驶离草坪区。为防止损害草坪,请立即用水浸洗受影响的区域。
此程序中需要的物件:
| CE 保护器套件——零件号 04440(单独出售) | 1 |
安装 CE 保护器套件;请参阅 CE 保护器套件——Greensmaster 3150 2 轮驱动主机安装说明
此程序中需要的物件:
| 警告标贴(零件号 136-8505) | 1 |
| CE 标贴 | 1 |
| 生产年份标贴 | 1 |
如果在遵守 CE 标准的国家使用本机器,请在安装 CE 保护器套件之后执行以下步骤:
请把警告标贴(零件号为 136-8505),贴在现有警告标贴之上(零件号为 136-8506)。

将 CE 标贴和生产年份标贴粘贴在脚踏板支架上的序列号牌附近(图 11)。

出于运输目的,轮胎出厂时为涨胎状态。启动机器之前要将胎压降低至适当水平;请参阅检查轮胎气压。
摩擦刹车;请参阅摩擦刹车。

踩下刹车踏板(图 13),启用前轮刹车来停止机器。
要设定驻车刹车,请踩下刹车踏板,然后按下驻车刹车凸耳(图 13)接合踏板。踩下刹车踏板可分离凸耳。离开机器前应始终接合手刹。
油门杆(图 15)使操作员可以控制发动机的转速。将油门杆移向快速位置,会增加发动机的转速;将油门杆移向慢速位置,会减慢发动机的转速,但不会关闭发动机。

要启动冷却的发动机,请将阻风门控制杆向后 (图 15) 拉出到关闭位置,关闭化油器阻风门。发动机启动之后,调节阻风门控制杆以保持发动机平稳运行。尽快将阻风门控制杆后拉至打开位置打开阻风门。热发动机需要很小阻风或根本不需要阻风。
使用该开关(图 15)检查防漏油感应器警报的操作和时间延迟。
小时表(图 15)显示机器已经操作的总小时数。将点火钥匙开关旋至开时,开始计时。
座椅调节杆位于座椅的左侧(图 16)。 移动调节杆可打开座椅锁定,将座椅前后调节 10cm。

剪草操作过程中前移提升/降下剪草控制杆(图 17),可降低滚刀组并启动滚刀。向后拉控制杆,可停止滚刀并提升滚刀组。如果需要在不提升滚刀组的情况下停止滚刀,可向后快速拉动并放开控制杆;向前移动控制杆可再次启动滚刀。

功能控制杆(图 17)提供两个驱动选择和一个空档位置。机器运动中,可以从剪草转为行驶,或从行驶转为剪草(不能转为空档);这样不会造成任何损坏。
后位置——空档位置;倒磨滚刀时使用
中间位置——剪草时使用
前位置——作业现场之间驾驶机器时使用
将钥匙插入开关(图 17)并顺时针旋转至启动位置,以启动发动机。发动机启动后立即松开钥匙;钥匙将移至运行位置。逆时针将钥匙转至停止位置,关闭发动机。
向前旋转锁定杆(图 18)可松开调节,提升或降低方向盘到您舒适的位置,然后向后旋转螺栓,可锁定调节。

旋松旋钮(图 19),直至旋钮的轴肩远离转向臂上的凹口。将转向臂提起或降低至所需高度,同时将旋钮的轴肩对准转向臂的凹口。拧紧旋钮以锁定调节。

存放机器或者用卡车或拖车运输机器时,应关闭油箱下面的燃油切断阀(图 20)。

使用倒磨控制杆(图 21)配合提升/降下剪草控制杆和滚刀速度控制杆,可以倒磨滚刀。

使用滚刀速度控制杆(图 21)调节滚刀速度。
Note: 规格与设计如有变更,恕不另行通知。
| 剪草宽度 | 150 cm |
| 轮距 | 126cm |
| 轴距 | 119 cm |
| 总长度 | 229cm |
| 总宽度 | 177cm |
| 总高度 | 189cm |
| 净重 | 493kg |
Toro 批准的一系列附件和配件可与机器一同使用,以提升和扩大其能力。请联系您的授权服务代理商或 Toro 授权经销商,或访问 www.Toro.com,获取所有经批准附件和配件的清单。
为保持机器的最佳性能和持续安全证明、请仅使用 Toro 真品更换零件和附件。其他制造商制造的更换件和附件可能引发危险、而且使用非真品可能使产品保修失效。
Note: 请根据正常操作位置来判定机器的左侧和右侧。
切勿让儿童或未接受过培训的人员操作或维修机器。当地法规可能对操作员的年龄有所限制。产品所有人负责培训所有操作员和机械师。
熟悉设备的安全操作、操作员控制装置和安全标识。
在离开操作位置之前,应设好手刹、关闭机器、拔下钥匙,并等待所有活动件完全停下来。等待机器冷却,然后再进行调整、维修、清洁或存放。
了解如何快速停止机器和关闭机器。
检查操作员到位控制装置、安全开关和安全保护装置是否已安装,以及功能是否正常。如果机器运行不正常,切勿进行操作。
剪草之前,始终要先行检查机器,确保滚刀组处于良好工作状况。
检查机器将要使用的区域,清除可能被机器抛起的所有物体。
处理燃油时要格外小心。燃油极度易燃,产生的蒸汽会发生爆炸。
应熄灭所有香烟、雪茄、烟斗及其他火源。
仅使用经批准的燃料容器。
在发动机运行或较热时,切勿拆下油箱盖或向油箱加油。
切勿在密闭的空间添加或排放燃油。
切勿将机器或燃油容器存放在有明火、火花或常明火的地方,例如热水器或其他电器上。
如果燃油溢出,切勿尝试启动发动机;避免形成任何火源,直到燃油蒸汽完全消散。
油箱容量:26.6L
推荐燃油:辛烷值为 87 或更高的无铅汽油((R+M)/2 分等法)
乙醇:在汽油中,乙醇(乙醇汽油)体积与甲基叔丁基醚 (MTBE) 体积最高仅可分别为 10% 或 15%。乙醇与 MTBE 不同。不得使用乙醇体积占15%的(E15)的汽油。
切勿使用乙醇体积超过 10% 的汽油、例如 E15(含 15% 的乙醇)、E20(含 20% 乙醇)或 E85(含高达 85% 的乙醇)。
切勿使用含有甲醇的燃油。
切勿在冬季将燃油存放于燃油箱或燃油容器内,除非使用燃油稳定剂。
切勿将机油添加到汽油中。
为取得最佳效果,请仅使用干净新鲜的汽油(少于 30 天)。
使用未经批准的汽油可能导致超出保修范围的性能问题和/或发动机损坏。
Important: 切勿使用燃油稳定剂/调节剂以外的燃油添加剂。切勿使用基于酒精(如乙醇、甲醇或异丙醇)的燃油稳定剂。
清理燃油箱盖附近的区域,然后将其卸下(图 22)。

将指定燃油添加到油箱加油颈底部以下 25mm 处。
油箱中留出的这部分空间是为了预防燃油发生膨胀。切勿将油箱完全加满。
盖好燃油箱盖。
Note: 油箱盖固定时可听到咔哒一声。
擦干净溅出的燃油。
| 维护间隔时间 | 维护程序 |
|---|---|
| 在每次使用之前或每日 |
|
每天启动机器之前,应执行以下程序:
检查机油油位——请参阅检查机油。
检查液压油油位——请参阅检查液压油油位。
检查滚刀到底刀的接触——请参阅检查滚刀到底刀的接触。
检查轮胎气压——请参阅检查轮胎气压。
所有者/操作员应防止发生可能导致人身伤害或财产损害的事故,并对此承担责任。
穿戴适当的服装,包括护目镜、长裤、结实的防滑鞋和听力保护用具。切勿身着宽松衣物或佩戴松散的珠宝,务请扎好长发。
在生病、疲劳或受酒精或药物影响时,切勿操作机器。
操作机器时应全神贯注。不要从事任何引起分心的活动;否则,可能会造成人身伤害或财产损失。
启动发动机之前,应确保所有驱动装置都处于空档位置、驻车刹车已接合且您处于操作位置。
不要在机器上运载乘客。
让旁观者和儿童远离操作区。如果必须有同事在场,请务必小心,并确保集草斗已安装到机器上。
仅在光线良好的情况下操作机器,以避免坑洞和潜在危险。
避免在湿草地上剪草。牵引力的降低可能导致机器滑动。
确保手和脚远离滚刀组。
后退之前观察后面和下面的情况,确定道路无阻碍。
当接近可能遮挡视线的死角、灌木、树木或其他物体时需小心谨慎。
不剪草时应停止滚刀组。
当机器转向或穿越道路和人行道时,请放慢速度并保持谨慎。应始终遵守交通规则。
仅在通风良好的区域操作发动机。排出气体中含有一氧化碳,吸入后会致命。
切勿在无人看管的情况下离开运行中的机器。
离开操作位置之前,请执行以下操作:
将机器停在水平地面上。
将滚刀组降至地面并确保它们已脱离。
接合驻车刹车。
关闭发动机并拔下钥匙。
等待所有移动完全停止。
仅在能见度良好和适当的天气条件下操作机器。切勿在面临雷电风险时操作机器。
切勿从机器上卸下任何 ROPS 组件。
确保安全带已连接,且在紧急状况下可以迅速解开。
应始终佩戴安全带。
仔细检查是否有头顶障碍物,且不要触碰到它们。
定期全面检查 ROPS 是否受损,并保持所有安装紧固件都处于拧紧状态,使 ROPS 始终处于安全操作状态之下。
更换所有受损的 ROPS 组件。切勿修理或修改它们。
斜坡是引发失控和翻倒事故的主要因素,这些意外可能导致严重的人身伤害甚至死亡事故。您负责斜坡的安全操作。在任何斜坡上操作机器都需要特别小心。
评估现场情况,包括考察现场,以确定斜坡是否可以安全操作机器。执行此类考察时应始终使用常识和良好的判断力。
参阅以下列出的在斜坡上操作机器的说明。在操作机器之前,请查看现场条件,以确定您是否可在当天的现场条件下操作机器。地形的变化可能导致机器坡度操作的变化。
在斜坡上操作机器时避免启动、停止或转向。避免突然改变速度或方向。要缓慢和逐渐转向。
切勿在牵引、转向或稳定性有问题的任何情况下操作机器。
应移除或标记障碍物,如沟渠、孔洞、车辙、凸起、岩石或其他隐患。高草可能会隐藏有障碍物。崎岖不平的地形可能导致机器翻倒。
请注意,在湿草地、斜坡或下坡上操作机器可能会导致机器失去牵引力。驱动轮失去牵引力可能会导致打滑以及丧失制动和转向能力。
在靠近陡降处、沟渠、河堤、水障碍物或其他危险处操作时需要特别谨慎。如果车轮行驶到边缘上或边缘塌陷,机器可能会突然翻倒。应在机器与任何危险之间建立一个安全区域。
确认斜坡底部是否存在危险。如果有危险,请使用带步行控制功能的机器修剪斜坡。
如果可能,在斜坡上操作时,应始终让滚刀组放低到地面上。在斜坡上操作机器时升起滚刀组可能导致机器不稳。
要格外留意集草系统或其他附件。这些附件可能会影响机器的稳定性并导致失控。
请参阅随机器提供的发动机手册,了解磨合期建议的机油更换和维护程序。
磨合期仅需操作 8 个小时。
由于机器最初几个小时的运行对未来的可靠性至关重要,因此请密切监控其功能和性能,从而随时注意到并纠正可能导致大问题的小困难。请在磨合期内经常检查机器是否有任何漏油、松动或任何其他故障的迹象。
Note: 检查剪草机下方的区域,确保没有杂物。
坐在座椅上,确保设定手刹,分离提升/降下剪草控制杆,并将功能控制杆移至空档位置。
确保脚未踩在驱动踏板上,并确保踏板处于空档位置。
将阻风门控制杆移至开启位置(仅当启动冷却的发动机时),然后将油门杆移至半油门位置。
启动发动机,调节阻风门以保持发动机平稳运行。
尽快将阻风门向后推至关闭位置,打开阻风门。
Note: 热发动机需要很小阻风或根本不需要阻风。
在发动机启动后按照以下顺序检查机器:
将油门杆移至快速位置。
将驱动控制杆移至剪草位置,然后立即通过向前移动提升/降下剪草控制杆,接合滚刀。
滚刀组应落下,并且所有滚刀都应转动。
向后移动提升/降下剪草控制杆,直至滚刀组提升至完全行驶位置。
提升一开始滚刀组就会停止旋转。如果在滚刀组完全提升前松开控制杆,向上的移动将停止,但滚刀组仍会停止旋转。
锁好手刹并关闭发动机。
检查集草斗的边缘,确保其在操作过程中不会与滚刀接触。
如果看到任何接触的迹象,请调节牵引臂;请参阅 安装滚刀组。
检查是否有漏油现象,如果发现任何泄漏,请拧紧液压接头。
Note: 当机器为全新,且轴承和滚刀较紧时,进行此检查时必须使用快速油门杆位置。磨合期之后可能不再需要快速油门设置。
Note: 如果漏油情况继续存在,请联系您的 Toro 授权经销商寻求帮助,必要时更换零件。
Important: 马达或车轮密封件上出现油迹是正常的。密封件需要少量润滑才能正常使用。
将油门杆移至快速位置。
快速向前移动提升/降下剪草控制杆。
滚刀组应放下,并且所有滚刀都应转动。
Note: 当放下滚刀组时,功能控制杆应位于中间(剪草)位置以使滚刀运行
向后移到提升/降下剪草控制杆。
滚刀应停止旋转,然后滚刀组应提升至完全行驶位置。
接合刹车以防止机器移动,通过前进和后退位置操作驱动踏板。
继续上述程序 1 至 2 分钟。将功能控制杆移至空档,刹好手刹,关闭发动机。
检查是否有漏油现象,如果发现任何泄漏,请拧紧液压接头。
Note: 当机器为全新,且轴承和滚刀较紧时,进行此检查时必须使用快速油门杆位置。磨合期之后可能不再需要快速油门设置。
Note: 如果漏油情况继续存在,请联系当地的 Toro 授权经销商寻求帮助,必要时更换零件。
Important: 马达或车轮密封件上出现油迹是正常的。密封件需要少量润滑才能正常使用。
将油门杆移至慢速位置,向后拉提升/降下剪草控制杆,并将功能控制杆移至空档位置。
将点火钥匙开关转至关闭位置,即可关闭发动机。从点火开关上拔下钥匙,防止意外启动。
存放机器前应关闭燃油切断阀。
| 维护间隔时间 | 维护程序 |
|---|---|
| 在每次使用之前或每日 |
|
如果安全联锁开关断开或损坏,机器运转可能异常,造成意外人身伤害。
切勿随意改动联锁开关设置。
每日均应检查联锁开关的操作,更换任何损坏的开关,然后再操作机器。
安全联锁系统的用处是防止对机器执行可能伤害到您或损坏机器的操作。
安全联锁系统可防止发动机启动,除非:
驱动踏板处于 空档 位置。
功能控制杆处于 空档 位置。
安全联锁系统可防止发动机移动,除非:
手刹已分离。
您坐在操作员座椅上。
功能控制杆处于 剪草 位置或 行驶 位置。
除非功能控制杆处于剪草位置,否则安全联锁系统将阻止滚刀运行。
| 维护间隔时间 | 维护程序 |
|---|---|
| 在每次使用之前或每日 |
|
每日执行以下系统检查,确保联锁系统操作正确:
坐在座椅上,将驱动踏板移至空档 位置,将功能控制杆移至空档 位置并设定手刹。
尝试向前或向后移动驱动踏板。
踏板应该不会移动,这表明联锁系统操作正确。如果操作错误,请更正。
坐在座椅上,将驱动踏板移至空档 位置,将功能控制杆移至空档 位置并设定手刹。
将功能控制杆移至 剪草 或 行驶 位置,并尝试启动发动机。
发动机如果不转动或不启动,则表明联锁系统操作正确。如果操作错误,请更正。
坐在座椅上,将驱动踏板移至空档 位置,将功能控制杆移至空档 位置并设定手刹。
启动发动机,将功能控制杆移至剪草或行驶位置。
发动机应关闭,这表明联锁系统操作正确。
如果操作错误,请更正。
坐在座椅上,将驱动踏板移至空档 位置,将功能控制杆移至空档 位置并设定手刹。
启动发动机。
松开手刹,将功能控制杆移至 剪草 位置,并从座椅上抬起。
发动机应关闭,这表明联锁系统操作正确。如果操作错误,请更正。
坐在座椅上,将驱动踏板移至空档 位置,将功能控制杆移至空档 位置并设定手刹。
启动发动机。
前移提升/降下剪草控制杆,降低滚刀组。滚刀组应降低,但不会开始旋转。
如果开始旋转,则表示联锁系统操作错误;请在操作机器之前解决该问题。
确保滚刀组完全提起。
将功能控制杆移至行驶位置。
开下陡峭的小山时、用刹车减慢机器速度、防止失控。
靠近长草区时应始终减速、并小心穿过起伏较大的地形。
熟悉机器的宽度。切勿尝试从两个靠得很近的物体之间穿过,以免造成代价昂贵的损坏和停机时间。
Important: 如果在修剪果岭时防漏油感应器(如果您的型号配备)警报响起或您注意到漏油现象,应立即提起滚刀组,直接驶出果岭,然后在远离果岭的区域停下机器。确定漏油的原因,并纠正问题。
修剪果岭之前,找一个开阔区域,练习操作机器的基本功能(如启动和停止机器、提升和降下滚刀组、转向等)。
检查果岭上的杂物,取下洞杯里面的旗杆,并确定最佳剪草方向。按照上一次剪草的方向确定剪草方向。始终以不同于上一次剪草的方向交替选择剪草方向,这样草叶就不会轻易倒下,否则很难进入滚刀片与底刀之间。
在功能控制杆处于剪草位置且油门处于全速时靠近果岭。
从果岭的 1 侧开始剪草,这样您可以使用带状剪草程序。
Note: 这可以将草坪压实情况降至最低、并在果岭上留下整洁、极具吸引力的图案。
在集草斗的前面穿过果岭外缘时,应向前推提升/降下剪草杆。
Note: 此程序会将滚刀组放在草坪上,并启动滚刀。
Important: 中间滚刀组的降下和升起会略迟于前滚刀组的;因此应进行练习,留出必要的时间,将清扫剪草作业减至最少。
Note: 升起和降下中间滚刀组的延时取决于液压油温度。冷液压油会导致更长的延时。随着液压油温度增加,延迟时间会变短。
掉头回来的下一道,请与前一道保持最小的交叠量。
Note: 为了保持以直线方式穿过果岭、并使得机器与此前剪草的边缘保持等距,请在机器前到果岭未剪部分的边缘想象一条长约 1.8~3m 的视线(图 24)。包括将方向盘的外缘看作视线的一部分;即让方向盘边缘对准与机器前面始终保持等距的某个点。
当集草斗的前面穿过果岭边缘时,应向后拉提升/降下剪草杆,控制住剪草杆,直至所有滚刀组都已提起。这将停止滚刀并提升滚刀组。
Important: 正确选择何时执行这一步,这样您就不会切入边缘区域,但仍可修剪尽可能多的果岭,从而把外周的剪草量减至最少。
要缩短下一趟剪草的操作时间并方便剪出直线,应轻轻朝相反方向转动机器,然后再转向未剪部分。此动作是一个泪滴状的转弯(图 23),可将机器快速对齐,进行下一趟剪草。

Note: 转弯应尽可能短,除非是在温暖天气下——较大弧度的转弯可以将对草坪的损坏降到最低。

Note: 完成转向后转向轮将不会回复至其初始位置。
Important: 滚刀组接合时,切勿在果岭上停止机器,因为这可能损坏草坪。在较湿的果岭上停止机器可能会留下车轮印记或压痕。
将外围的草剪掉、完成果岭剪草作业。采用与上一次剪草不同的剪草方向。
Note: 在修剪外围的草时,使用油门杆调节机器速度。这样可以使修剪适合果岭,并且可能减少三联环。
Note: 始终要考虑天气和草坪状况,请确保采用与上一次剪草不同的剪草方向。
完成外周的剪草时,向后轻拍提升/降低剪草杆,停止滚刀,然后驶离果岭。当所有滚刀组都已离开果岭时,提起滚刀组。
Note: 此步骤可最大程度地减少果岭上的草屑堆积。
重新放回旗杆。
将机器行驶至下一个果岭之前,清空集草斗里的所有草屑。
Note: 较重的湿草屑会对集草斗产生不当压力,为机器增加不必要的重量,从而导致机器系统(如发动机、液压系统和刹车等)的负荷增大。
在离开操作位置之前,应设好手刹、关闭发动机、拔下钥匙,并等待所有活动件完全停下来。等待机器冷却,然后再进行调整、维修、清洁或存放。
清除滚刀组和驱动装置处的杂草和杂物,防止发生火灾。清理溢出的机油或燃油。
存放或拖曳机器时关闭燃油。
无论何时拖曳或闲置机器,都应断开附件驱动。
将机器存放在任何封闭区域之前,需先等机器冷却。
必要时,应维护并清洁安全带。
切勿将机器或燃油容器存放在有明火、火花或常明火的地方,例如热水器或其他电器上。
仅拖曳设计有专用拖曳挂钩的机器。切勿将被拖曳设备连接到挂钩点外的任何其他位置。
遵守制造商有关被拖曳设备和斜坡拖曳重量限制的建议。在斜坡上,被拖曳设备的重量可能导致牵引力丧失和失控。
切勿让儿童或其他人待在被拖曳设备的内部或上面。
拖曳时应缓慢行驶,并留出额外的停止距离。
如遇紧急情况,最长可拖曳机器 0.4km。
Important: 拖曳机器的速度切勿超过 3~5 km/h,以免损坏驱动系统。如果您必须移动机器超过 0.4km 的距离,请使用卡车或拖车来运输。
找到泵上的旁通阀 (图 25)。

要打开旁通阀,请将阀门逆时针旋转 3 圈。
启动发动机之前,上紧旁通阀扭矩至 12 N·m。
Important: 旁通阀打开时,切勿启动发动机。
| 维护间隔时间 | 维护程序 |
|---|---|
| 在每次使用之前或每日 |
|
完成剪草后,用不带喷嘴的浇水软管彻底清洗机器,防止过大的水压污染或损坏密封件和轴承。切勿用水清洗热发动机或电气连接。
清洁机器之后,请执行以下操作:
检查机器可能出现的液压油泄漏、损坏,或液压与机械组件的磨损情况。
检查滚刀组的锋利程度。
可使用 SAE 30 油来润滑刹车轴组件,或喷上润滑剂,从而防止腐蚀,并帮助机器在接下来的剪草作业中始终取得令人满意的表现。
从拖车或卡车装卸机器时需小心谨慎。
将机器装入拖车或卡车时,请使用全宽坡道。
用箍带、链条、缆绳或绳索将机器固定牢靠。前后箍带都应从机器的下方向外伸出(图 26)。

未能正确维护机器可导致机器系统过早出现故障,从而可能对您或旁观者造成伤害。
遵守这些说明,确保机器始终处于良好的维护和工作状况。
Note: 请根据正常操作位置来判定机器的左侧和右侧。
Note: 您可以访问 www.Toro.com,并从主页上的“手册”链接搜索您的机器,下载免费的电路图或液压系统示意图。
Important: 请参阅您的发动机用户手册,了解更多维护程序。
如果将钥匙留在点火开关上,可能会有人无意中启动发动机,对您或其他旁观者造成严重伤害。
执行任何维护前,请拔下点火钥匙,然后断开火花塞电线。收起电线,以防止意外接触火花塞。
离开操作员位置之前,请执行以下操作:
将机器停在水平地面上。
分离滚刀组。
接合驻车刹车。
关闭发动机并拔下钥匙。
等待所有移动完全停止。
待机器组件冷却后再执行维护。
如果可能,切勿在发动机运行时执行维护。远离活动件。
在机器下工作时务必要用千斤顶车架支撑机器。
小心释放储能组件中的压力。
确保机器的所有零件都处于良好工作状况,保持所有紧固件拧紧。
更换所有磨损或损坏的标贴。
为确保机器的安全和最佳性能,请仅使用 Toro 真品更换零件。其他制造商制造的更换件可能引发危险、而且使用非真品可能使产品保修失效。
| 维护间隔时间 | 维护程序 |
|---|---|
| 初次使用1小时后 |
|
| 初次使用10小时后 |
|
| 初次使用50小时后 |
|
| 在每次使用之前或每日 |
|
| 每50个小时 |
|
| 每100个小时 |
|
| 每200个小时 |
|
| 每800个小时 |
|
| 每1000个小时 |
|
| 每2000个小时 |
|
| 每年一次 |
|
| 每两年一次 |
|
复印本页以供日常使用。
| 维护检查项 | 第____周: | ||||||
|---|---|---|---|---|---|---|---|
| 周一 | 周二 | 周三 | 周四 | 周五 | 周六 | 周日 | |
| 检查安全联锁操作。 | |||||||
| 检查仪表工作情况 | |||||||
| 检查防漏油感应器警报。 | |||||||
| 检查刹车工作情况。 | |||||||
| 检查燃油油位。 | |||||||
| 检查液压油油位。 | |||||||
| 检查机油油位。 | |||||||
| 清洁发动机冷却翅片。 | |||||||
| 检查空气滤清器预滤器。 | |||||||
| 检查是否有任何异常发动机噪音。 | |||||||
| 检查滚刀到底刀的调节。 | |||||||
| 检查液压软管是否受损。 | |||||||
| 检查漏液情况。 | |||||||
| 检查轮胎气压。 | |||||||
| 检查剪草高度的调节。 | |||||||
| 给所有黄油嘴加润滑脂。1 | |||||||
| 润滑剪草、提升和刹车联动装置。 | |||||||
| 为掉漆部分补漆。 | |||||||
|
1. 不管间隔多久,每次清洗后立即执行 |
|||||||
| 检查人员: | ||
| 项目 | 日期 | 情况 |
Note: 如果您需要频繁取出座椅组件,可使用 R 键销(零件号 3290-467)替换柱销。
卸下座椅组件,以查看机器的阀组区。
打开闩锁并提起座椅,使用支撑杆固定。
断开座椅下方的 2 个线束接头。
放下座椅,取出将座椅枢轴杆固定至机架的柱销(图 27)。

将座椅枢轴杆滑到左侧。
将座椅向前移动并将其向上提出机器。
反向执行该程序,可装回座椅。
如果机器未正确支撑,可能会跌落,砸伤您或他人。
维修机器之前,请使用千斤顶或木块支撑机器。
升起机器之前,请先放下滚刀组。千斤顶支撑点如下所示:
右侧——千斤顶垫下方,靠近 ROPS 支撑架(图 28)
左侧——脚踏下方
后面——在脚轮叉处

| 维护间隔时间 | 维护程序 |
|---|---|
| 每50个小时 |
|
用 2 号锂基润滑脂定期润滑黄油嘴。
按如下方式润滑黄油嘴:
后滚筒毂组件,或(如果配备了 3 轮驱动套件)后轮滚筒闩锁和外部滚珠轴承(1 个)(图 29)

转向叉轴(1 个)(图 30)
转向油缸杆端(图 30)

提升臂枢轴(3 个)和枢铰(3 个)(图 31)

牵引架轴和滚筒(12 个) (图 32)

转向油缸端(图 33)

提升油缸(3 个)(图 34)

驱动踏板(图 35)



擦干净黄油嘴,这样就不会有杂质进入轴承或轴套中。
将润滑脂打入轴承或轴套中,直到看到润滑脂。擦掉多余的润滑脂。
将滚刀组取出进行维修时,应在滚刀马达花键轴和提升臂上涂抹润滑脂。
在日常清洁之后,在所有枢轴点上滴上几滴 SAE 30 机油或喷上润滑油(WD 40)。
检查油位或向曲轴箱加油之前,必须关闭发动机。
切勿改变调速器速度或超速运行发动机。
| 维护间隔时间 | 维护程序 |
|---|---|
| 每50个小时 |
|
| 每100个小时 |
|
清洁空气滤清器盖(图 38)。

松开锁箍并拆下空气滤清器盖。
卸下将滤芯固定到空气滤清器壳体上的蝶形螺帽(图 39)。
如果泡沫滤芯变脏,请将其从纸质滤芯中取出(图 39)。按照以下方式彻底清洁滤芯:
使用液体肥皂和温水溶液清洗泡沫滤芯。挤压滤芯以清除污渍。
用干净的抹布包裹滤芯,吸干其中的水分。挤压抹布和泡沫滤芯使其变干。
Important: 干燥泡沫滤芯时,切勿用力扭曲,因为泡沫可能被撕裂。

检查纸质滤芯的状况。在平坦的表面轻轻敲滤芯进行清洁,或在必要时更换。
依次安装泡沫滤芯、纸质滤芯、蝶形螺帽和空气滤清器盖。
Important: 没有安装空气滤清器的情况下禁止操作发动机,因为这样可能导致发动机过度磨损和损坏。
发货时发动机的曲轴箱内带有机油;但是,在首次启动发动机前后仍须检查机油油位。
API 油服务等级: SJ 或更高
油粘度: SAE 30
Note: 使用高品质去污油。
| 维护间隔时间 | 维护程序 |
|---|---|
| 在每次使用之前或每日 |
|
将机器停放在水平地面上,关闭发动机,然后拔下钥匙。
旋出并取下量油尺,用干净的抹布擦拭。
将量油尺插入量油尺管道并拧紧(图 40)。

拧下量油尺并从量油尺管道中拉出,查看油位。
如果油位较低,请从气门室盖上拆下加油颈盖,然后将机油通过加油颈添加到发动机,使油位提高到量油尺上的“已满”标记。
在此过程中应缓慢添加机油并不时检查油位。
Important: 切勿向发动机添加过多的机油。
安装加油颈盖和量油尺。
| 维护间隔时间 | 维护程序 |
|---|---|
| 每1000个小时 |
|
火花塞规格: Champion RC 14YC
空隙规格:0.76mm
清洁火花塞周围的部位,防止杂质落入气缸。
将电线从火花塞中拉出,然后拔出火花塞。
检查侧电极、中心电极和中心电极绝缘体的状况,确保没有任何损坏。
Important: 更换破裂、污浊、肮脏或有其他故障的火花塞。切勿使用钢丝刷喷砂、刮擦或清洗电极,因为砂粒最终会从火花塞中漏出,进入气缸并损坏发动机。
如图 42所示,将中心电极与侧电极之间的空隙设置为 0.76mm。

安装火花塞和密封垫片,并将火花塞拧紧至 23N∙m。
| 维护间隔时间 | 维护程序 |
|---|---|
| 每800个小时 |
|
管线式燃油滤清器位于油箱与化油器之间的燃油管内(图 43)。
在特定条件下,燃油极为易燃易爆。燃油起火或爆炸会灼伤您和他人,而且还会造成财产损失。
发动机冷却下来后,将燃油排出油箱。请在室外开阔区域排油。擦干净溢出的燃油。
排放燃油时切勿吸烟,而且要远离明火或火花可能点燃汽油烟气的场所。
| 维护间隔时间 | 维护程序 |
|---|---|
| 每两年一次 |
|
检查燃油管线是否老化、损坏或松脱。
维修机器之前先断开电池的连接。首先断开负极端子,然后断开正极端子。首先连接正极端子,然后连接负极端子。
在通风良好的开阔地为电池充电,远离火花和明火。连接电池或断开电池连接之前,拔出充电器。穿上防护服并使用绝缘工具。
电池端子或金属工具可能会与机器金属部件发生短路并产生火花。火花可引发电池气体爆炸,从而造成人身伤害。
拆下或安装电池时,切勿让电池端子接触到机器的任何金属部件。
切勿让金属工具短接电池端子和机器的金属部件。
断开电池的负极接线(黑色),然后断开电池的正极接线(红色)(图 44)。

电池接线不正确会损坏主机和电线,导致火花。火花可引发电池气体爆炸,从而造成人身伤害。
应始终先断开负极(黑色)电池线,然后才能断开正极(红色)接线。
取下紧固件和电池夹,拿出电池。
将 2~4A 电池充电器连接到电池电极。电流达到 4 A 的情况下,电池充电时间至少为 2 小时;2 A 时,至少为 4 小时,直到比重达到 1.250 或以上,且温度至少为 16 °C,同时所有电池都通气顺畅。
给电池充电时会产生可爆炸的气体。
切勿在电池附近吸烟,而且附近不能有火花和明火。
Important: 如果电池充电未达到上述指定时间,可能会缩短电池寿命。
电池充满电之后,把充电器从插座和电瓶电极上断开。
将电池放在电池座盘上,用之前拆下的电池夹和紧固件固定。
使用先前卸下的螺栓和螺母将正极(红色)接线连接到正极 (+) 电池端子,负极(黑色)接线连接到负极 (-) 电池端子(图 44)。将橡皮套滑动到正极电池端子上,防止可能发生的短路情况。
电池接线不正确会损坏主机和电线,导致火花。火花可引发电池气体爆炸,从而造成人身伤害。
应始终先连接正极(红色)电池线,然后才能连接负极(黑色)接线。
机器电气系统的保险丝位于座椅下(图 45)。

| 维护间隔时间 | 维护程序 |
|---|---|
| 在每次使用之前或每日 |
|
根据您的草坪状况,调节前轮的胎压,最低为 0.55 bar,最高为 0.83 bar。
调节后轮的胎压,最低为 0.55 bar,最高为 1.03 bar。
| 维护间隔时间 | 维护程序 |
|---|---|
| 初次使用1小时后 |
|
| 初次使用10小时后 |
|
| 每200个小时 |
|
未能保持适当的车轮螺母扭矩可能会导致人身伤害。
以指定间隔将车轮螺母上紧至规定扭矩值。
车轮螺母扭矩规格:95~122 N∙m
Note: 为确保均匀分布,以 X 方式上紧车轮螺母。
如果机器在驱动控制踏板处于空档位置时缓慢前移,应调节空档回位机制。
垫高机架,使一个前轮离开地面。
Note: 如果机器装配有 3 轮驱动套件,需要抬高和垫高后轮。
启动发动机,将油门移至 慢速,并确保离开地面的前轮不旋转。
如果这个轮子在旋转,则停止发动机并执行以下操作:
踩下驱动踏板,松开将踏板限位器固定至底板上的锁紧螺母。
松开踏板限位器,直至达到所需的行驶速度。
拧紧固定踏板限位器的锁紧螺母。
工厂设置:6.1km/h
松开驱动踏板一侧枢轴螺栓上的锁紧螺母(图 48)。

逆时针旋转枢轴螺栓可提高剪草速度;顺时针旋转则降低剪草速度。
上紧锁紧螺母,但不要转动枢轴螺栓,然后检查地面行驶速度。必要时重复此程序。
如果液体穿透皮肤,请立即就医。如果液压油渗透皮肤,必须在几个小时内由医生进行手术治疗。
在对液压系统施加压力之前,请确保所有液压油软管和管路均处于良好状态、且所有液压连接和接头均紧固到位。
请确保身体和双手远离喷射高压液压油的针孔泄漏点或喷嘴。
使用纸板或纸张找出液压泄漏点。
在对液压系统执行任何工作之前,请先安全释放液压系统中的所有压力。
Important: 无论使用何种类型的液压油,用于果岭外应用、切根或在高于 29°C 环境温度下使用的任何主机都应安装油冷却器组件(零件号 105-8339)。
液压油箱在出厂时已添加高品质液压油。首次启动发动机之前请先检查液压油的液位,之后每天都要检查;请参阅检查液压油油位。
建议液压油:Toro PX 延长寿命液压油;提供 19 L 桶装或 208 L 圆桶装。
Note: 使用建议更换液压油的机器无需频繁的液压油和过滤器更换。
备选液压油:如果无法获得 Toro PX 延长寿命液压油,可使用其规格符合所有以下所有材料性能和行业标准的另一种常规石油基液压油来代替。切勿使用合成油。请咨询您的润滑剂经销商,帮您确定一款合格产品。
Note: 对于因使用不当替代产品而造成的损坏,Toro 将不承担任何责任,因此,请仅使用信誉好的制造商的产品,他们会对其产品提供支持。
| 材料属性: | ||
| 粘度、ASTM D445 | cSt @ 40 ℃ 44~48 | |
| 粘度指数 ASTM D2270 | 140 或更高 | |
| 倾点,ASTM D97 | -37 °C~-45 °C | |
| 行业规格: | Eaton Vickers 694(I-286-S、M-2950-S/35VQ25 或 M-2952-S) | |
Note: 许多液压油都是几乎无色的,所以很难找出泄漏点。我们提供 20 ml 瓶装的人造红色染色添加剂,可添加到液压油中。一瓶足够添加到 15~22 L 的液压油中。订购零件号为 44-2500,可从 Toro 授权经销商处购买。
Important: Toro 优质合成、可生物降解液压油是 Toro 认可的唯一一种合成可生物降解液压油。此液压油与 Toro 液压系统中使用的橡胶部件相配,适合各种温度条件。此液压油与常规矿物油相兼容,但为了实现最佳的生物降解能力和最佳性能,应彻底冲洗液压系统中的常规液压油。Toro 授权经销商为这种液压油提供两种容量包装:19 L 桶装或 208 L 圆桶。
将机器停在水平地面上。
Note: 确保机器已经冷却,这样油才是冷的。
请根据机器上的油箱检查液压油的油位:
如果辅助液压油箱有观察窗口,请通过窗口检查油位(图 54),然后转至步骤 5。
Note: 如果油位介于观察窗口上的 2 个标记之间,则表明油位足够。
如果辅助液压油箱没有观察窗口,请找到液压油箱顶部的量油尺(图 54),然后继续步骤 3。

取出量油尺并用干净的抹布擦拭,然后再把量油尺拧回油箱。
取出量油尺并检查液压油位。如果液压油介于量油尺上的标记之间,表明油位足够。如果油位未介于标记之间,则需要相应调整液压油位(图 55)。

取下液压油箱的盖子,将适当的高品质液压油缓慢注入油箱,直至油位介于观察窗口或量油尺的 2 个标记之间。
Important: 为防止系统污染,请在穿孔之前清洁液压油容器的顶部。确保加液口和漏斗的干净整洁。
Note: 切勿混合各种液压油。
盖好油箱盖。
Note: 靠近目视检查液压组件。检查是否存在漏油、紧固件松动、零件丢失或布线不当。进行任何必要的纠正。
| 维护间隔时间 | 维护程序 |
|---|---|
| 每800个小时 |
|
| 每1000个小时 |
|
| 每2000个小时 |
|
液压油容量: 25.7 L
如果液压油受到污染,请联系您的 Toro 授权经销商对系统进行冲洗。与清洁的液压油相比,被污染的液压油呈乳状或黑色。
| 维护间隔时间 | 维护程序 |
|---|---|
| 在每次使用之前或每日 |
|
每日检查液压管线和软管是否有泄漏、管线扭结、支撑架松脱、磨损、接头松开、日久老化及化学变质的情况。操作之前请执行所有必需的修理。
防漏油感应器系统的设计旨在帮助提前检测液压油系统泄漏的情况。如果主液压油箱的油位下降 118~177ml, 油箱中的浮动开关将关闭。经过一秒钟的延迟之后,警报将响起,向操作员发出警告(图 59)。机器操作期间正常加热会引起机油膨胀,从而导致机油转移到辅助油箱。当关闭点火钥匙开关时,油会流回主油箱。



当点火钥匙开关处于开启位置时,向后移动并按住防漏油感应器开关。经过 1 秒钟的延迟后,警报应该响起。
松开防漏油感应器开关。
将点火开关移至 开启 位置。不要启动发动机。
从油箱颈上取下液压油箱呼吸器。
将干净的支杆或螺丝刀插入油箱颈,然后轻轻地向下推至浮动开关上(图 60);经过 1 秒钟的延迟后,警报应响起。

松开浮动开关,警报应停止发声。
安装液压油箱盖。
将点火开关移至 关闭 位置。
防漏油感应器警报可能因以下任一原因响起:
出现漏油 118~177ml 的情况。
由于油冷却收缩造成主油箱的油位下降 118~177ml。
如果警报响起,应尽快关闭剪草机并检查泄漏情况。如果在果岭上操作时警报响起,应首先驶出果岭。应在继续操作之前确定泄漏来源并维修。
如果未发现泄漏情况,或怀疑是错误警报,请将点火钥匙开关移至 关闭 位置,让机器停止 1~2 分钟,使油位稳定下来。启动机器并在一个非敏感区域操作,以确认是否存在泄漏。
机油收缩造成的错误警报可能是机器在正常操作后闲置时间过长导致的。如果机器在繁重工作负载下运行较长时间后在工作负载减少的情况下运行,也可能会导致错误警报。要避免错误警报,则需关闭机器,而不是长时间闲置。
磨损或受损的刀片或底刀可能会断裂,刀片碎片可能会被抛掷到您或旁观者所在的区域,导致严重人身伤害甚至死亡事故。
定期检查刀片和底刀是否过度磨损或损坏。
检查刀片时需小心谨慎。维修滚刀时,需佩戴手套并小心操作。仅更换或倒磨刀片和底刀;切勿拉直或焊接。
在多滚刀组机器上,旋转滚刀组时应小心谨慎,因为它可能导致其他滚刀组内的滚刀跟着旋转。
| 维护间隔时间 | 维护程序 |
|---|---|
| 在每次使用之前或每日 |
|
每天操作机器之前,都要检查滚刀到底刀的接触情况,无论是否接受之前的剪草质量。整个长度上滚刀和底刀都必须轻微接触;请参阅滚刀组操作员手册。
接触滚刀或其他活动件可能造成人身伤害。
确保双手和衣服远离滚刀或其他活动件。
发动机运转时,切勿尝试用手或脚转动滚刀。
将机器停放在水平地面上,降低滚刀组,关闭发动机,拔掉钥匙,设定手刹。
向前倾斜操作员座椅,用支撑杆支撑(图 64)。

初步对滚刀到底刀进行适当调整,以便精磨将要倒磨的所有滚刀组;请参阅滚刀组《操作员手册》。
将倒磨控制杆转至 反转 (R) 位置(图 65)。


将滚刀速度旋钮旋转至设置 1(图 65)。
启动发动机并低怠速运转。
Important: 切勿在倒磨或滚刀可能停止时改变发动机速度。只有在发动机怠速运转时才能倒磨。
当剪草/行驶控制杆处于空档位置时,向前移动提升/降下剪草控制杆,开始对滚刀进行倒磨操作。
用长把刷子涂抹研磨膏。切勿使用短把刷子。
如果滚刀在倒磨过程中停转或变得不稳定、请选择更高的滚刀速度设置直到速度稳定下来、然后将滚刀速度恢复为设置 1 或所需的速度。
要在倒磨过程中调整滚刀组,向后移动提升/降下剪草控制杆并关闭发动机,关闭滚刀。完成调整后,重复步骤 4至 8。
对您想要倒磨的所有滚刀组重复步骤 4至 8。
完成后,将倒磨控制杆回复至 F 位置,将滚刀速度旋钮移到所需的滚刀速度设置,放下座椅,并洗掉滚刀组上的所有研磨膏。按需要调整滚刀组滚刀到底刀的情况。
Important: 如果倒磨控制杆在倒磨后没有返回至正转 (F) 设置,滚刀组将无法适当抬起或正常运转。
关闭机器、拔下钥匙、等待所有移动完全停止,然后再离开操作员位置。等待机器冷却,然后再进行调整、维修、清洁或存放。
切勿将机器或燃油容器存放在有明火、火花或常明火的地方,例如热水器或其他电器上。
如果您想长期存放机器,应在存放前执行以下步骤:
关闭发动机,拔下钥匙,等待所有活动件停止并让机器冷却下来,然后再进行存放。
清除积聚的灰尘和旧草屑。打磨滚刀和底刀(如必要);请参阅滚刀组操作员手册。在底刀和滚刀刀片上添加防锈剂。为所有润滑点添加润滑脂和润滑油;请参阅 润滑机器。
垫高轮子,取下轮胎上的任何配重块。
排干油箱。运行发动机,直到因缺油而停止。更换燃油滤清器,请参阅更换燃油滤清器。
在发动机尚未冷却时,排干曲轴箱内的所有机油。重新注入新鲜机油,请参阅维护机油。
取出火花塞,将 29.6ml SAE 30 机油倒入气缸,然后缓慢转动让机油分散开来。更换火花塞;请参阅 更换火花塞。
清除气缸、气缸盖散热片及冷却风扇壳体的灰尘及草屑。
拆下电池,将电池完全充满电;请参阅为电池充电。将电池存放在货架上或存放在机器内。如果要将电池存放在机器内,请断开接线。将电池存放在凉爽的环境中,以免电池中的电量快速损耗。
如果可能,将机器存放在温暖干燥的地方。