| Wartungsintervall | Wartungsmaßnahmen |
|---|---|
| Bei jeder Verwendung oder täglich |
|
Dieser Aufsitzsichelmäher sollte nur von geschulten Lohnarbeitern in gewerblichen Anwendungen eingesetzt werden. Er ist hauptsächlich für das Mähen von Gras auf gepflegten Grünflächen in Parkanlagen, Sportplätzen und öffentlichen Anlagen gedacht. Wenn diese Maschine für einen anderen Zweck als vorgesehen eingesetzt wird, kann das für Sie und andere Personen gefährlich sein.
Lesen Sie diese Informationen sorgfältig durch, um sich mit dem ordnungsgemäßen Einsatz und der Wartung des Geräts vertraut zu machen und Verletzungen und eine Beschädigung des Geräts zu vermeiden. Sie tragen die Verantwortung für einen ordnungsgemäßen und sicheren Einsatz des Geräts.
Besuchen Sie Toro.com, hinsichtlich Produktsicherheit und Schulungsunterlagen, Zubehörinformationen, Standort eines Händlers oder Registrierung des Produkts.
Wenden Sie sich an Ihren autorisierten Service-Vertragshändler oder Toro-Kundendienst, wenn Sie eine Serviceleistung, Toro Originalersatzteile oder zusätzliche Informationen benötigen. Halten Sie hierfür die Modell- und Seriennummern Ihres Produkts griffbereit. In Bild 1 ist angegeben, wo an dem Produkt die Modell- und die Seriennummer angebracht sind. Tragen Sie hier die Modell- und Seriennummern des Geräts ein.
Important: Scannen Sie mit Ihrem Mobilgerät den QR-Code auf dem Seriennummernaufkleber (falls vorhanden), um auf Garantie-, Ersatzteil- oder andere Produktinformationen zuzugreifen.

Dieses Sicherheitswarnsymbol (Bild 2) in diesem Handbuch und an der Maschine weißt auf wichtige Sicherheitshinweise hin, die Sie beachten müssen, um Unfälle zu vermeiden.

Das Sicherheitswarnsymbol wird über Information dargestellt, die Sie vor unsicheren Handlungen oder Situationen warnen, gefolgt von dem Wort GEFAHR, WARNUNG oder VORSICHT.
GEFAHR bezeichnet eine unmittelbar drohende Gefahr. Wenn sie nicht gemieden wird, sind Tod oder schwerste Verletzungen die Folge.
WARNUNG bezeichnet eine möglicherweise drohende Gefahr. Wenn sie nicht gemieden wird, können Tod oder schwerste Verletzungen die Folge sein.
VORSICHT bezeichnet eine möglicherweise drohende Gefahr. Wenn sie nicht gemieden wird, können leichte oder geringfügige Verletzungen die Folge sein.
In dieser Anleitung werden zwei weitere Begriffe zur Hervorhebung von Informationen verwendet. Wichtig weist auf spezielle mechanische Informationen hin, und Hinweis hebt allgemeine Informationen hervor, die Ihre besondere Beachtung verdienen.
Dieses Produkt erfüllt alle relevanten europäischen Richtlinien; weitere Details finden Sie in der produktspezifischen Konformitätserklärung (DOC).
Entsprechend dem California Public Resource Code Section 4442 oder 4443 ist der Einsatz des Motors in bewaldeten oder bewachsenen Gebieten ohne richtig gewarteten und funktionsfähigen Funkenfänger, wie in Section 4442 definiert, oder ohne einen Motor verboten, der nicht für die Brandvermeidung konstruiert, ausgerüstet und gewartet ist.
Die beiliegende Motoranleitung enthält Angaben zu den Emissionsbestimmungen der US Environmental Protection Agency (EPA) und den Kontrollvorschriften von Kalifornien zu Emissionsanlagen, der Wartung und Garantie. Sie können einen Ersatz beim Motorhersteller anfordern.
Dieses Produkt erfüllt alle relevanten europäischen Richtlinien; weitere Details finden Sie in der produktspezifischen Konformitätserklärung (DOC).
Wenn diese Maschine mit einem Telematikgerät ausgestattet ist, wenden Sie sich an Ihren Toro Vertragshändler, um Anweisungen zur Aktivierung des Geräts zu erhalten.
KALIFORNIEN
Warnung zu Proposition 65
Die Dieselauspuffgase und einige Bestandteile wirken laut den Behörden des Staates Kalifornien krebserregend, verursachen Geburtsschäden oder andere Defekte des Reproduktionssystems
Batteriepole, -klemmen und -zubehör enthalten Blei und Bleibestandteile. Dies sind Chemikalien, die laut den Behörden des Staates Kalifornien krebserregend sind und zu Erbschäden führen können. Waschen Sie sich nach dem Umgang mit diesen Materialien die Hände.
Bei Verwendung dieses Produkts sind Sie ggf. Chemikalien ausgesetzt, die laut den Behörden des Staates Kalifornien krebserregend wirken, Geburtsschäden oder andere Defekte des Reproduktionssystems verursachen.
Dieses Produkt kann Hände und Füße amputieren und Gegenstände aufschleudern. Befolgen Sie zum Vermeiden von schweren Verletzungen immer alle Sicherheitshinweise.
Lesen und verstehen Sie vor dem Anlassen des Motors den Inhalt dieser Bedienungsanleitung.
Konzentrieren Sie sich immer bei der Verwendung der Maschine. Tun Sie nichts, was Sie ablenken könnte, sonst können Verletzungen oder Sachschäden auftreten.
Bedienen Sie die Maschine niemals, wenn nicht alle Schutzvorrichtungen und Abdeckungen angebracht und funktionstüchtig sind.
Berühren Sie bewegliche Teile nicht mit den Händen oder Füßen. Bleiben Sie immer von der Auswurföffnung fern.
Halten Sie Unbeteiligte und Kinder vom Arbeitsbereich fern. Die Maschine darf niemals von Kindern betrieben werden.
Stellen Sie vor dem Verlassen des Fahrersitzes den Motor ab, ziehen Sie den Schlüssel ab und warten Sie, bis alle beweglichen Teile zum Stillstand gekommen sind. Lassen die Maschine abkühlen, bevor Sie sie einstellen, warten, reinigen, oder einlagern.
Der unsachgemäße Einsatz oder die falsche Wartung
dieser Maschine kann zu Verletzungen führen. Befolgen Sie zur
Verringerung des Verletzungsrisikos diese Sicherheitshinweise und
beachten Sie das Warnsymbol
mit der Bedeutung Achtung, Warnung oder Gefahr
– Sicherheitsrisiko. Wenn diese Hinweise nicht beachtet werden,
kann es zu schweren bis tödlichen Verletzungen kommen.
![]() |
Die Sicherheits- und Bedienungsaufkleber sind für den Bediener gut sichtbar und befinden sich in der Nähe der möglichen Gefahrenbereiche. Tauschen Sie beschädigte oder verloren gegangene Aufkleber aus. |

















CE-Maschinen


Note: Bestimmen Sie die linke und rechte Seite der Maschine anhand der üblichen Einsatzposition.
Prüfen Sie den Reifendruck vor der Benutzung; siehe Prüfen des Reifendrucks.
Important: Stellen Sie sicher, dass alle Reifen den gleichen Druck haben, um eine gute Schnittqualität und optimale Maschinenleistung zu gewährleisten. Achten Sie darauf, dass der Reifendruck nicht zu niedrig ist.
Prüfen Sie den Motorölstand vor dem Anlassen des Motors, siehe Überprüfen des Motorölstands.
Prüfen Sie den Hydraulikölstand vor dem Anlassen des Motors; siehe Prüfen des Hydraulikölstands.
Prüfen Sie das Kühlsystem vor dem Anlassen des Motors; siehe Prüfen der Kühlanlage.
Schmieren Sie die Maschine vor der Benutzung ein; siehe Einfetten der Lager und Büchsen. Wenn Sie die Maschine nicht einwandfrei einfetten, kommt es zum frühzeitigen Ausfall wichtiger Bauteile.
Nehmen Sie die Versandblöcke von den Schneideinheiten ab und entsorgen sie.
Nehmen Sie die Versandstifte von den Aufhängearmen der Schneideinheit ab und entsorgen sie.
Note: Mit den Versandstiften werden die Schneideinheiten während des Versands stabilisiert; entfernen Sie die Stifte vor dem Einsatz der Maschine.
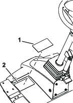
Sie können die Position des Steuerarms auf Ihren Komfort einstellen.
Lösen Sie die zwei Schrauben, mit denen der Steuerarm an der Befestigungshalterung befestigt ist (Bild 3).

Drehen Sie den Steuerarm in die gewünschte Stellung und ziehen Sie die zwei Schrauben fest.
Wenden Sie sich an den offiziellen Toro Vertragshändler, um die Maschinensoftware auf die CE-Betriebsart einzustellen.
Für diesen Arbeitsschritt erforderliche Teile:
| Motorhaubenriegel | 1 |
| Unterlegscheibe | 1 |
Entriegeln und öffnen Sie die Motorhaube.
Nehmen Sie die Gummidichtung aus dem Loch links an der Motorhaube heraus (Bild 4).

Nehmen Sie die Mutter vom Motorhaubenriegel ab (Bild 5).

Setzen Sie das Hakenende des Riegels von außen durch das Loch in der Motorhaube; stellen Sie sicher, dass die Gummidichtungsscheibe an der Außenseite der Motorhaube bleibt (Bild 5).
Setzen Sie die Metallscheibe an der Innenseite der Motorhaube auf den Riegel und befestigen Sie diesen mit der Mutter. Stellen Sie sicher, dass der Riegel den Rahmenverschluss aktiviert, wenn er geschlossen ist.
Note: Öffnen oder schließen Sie den Motorhaubenriegel mit dem beiliegenden Schlüssel für den Motorhaubenriegel.
Für diesen Arbeitsschritt erforderliche Teile:
| CE-Aufkleber | 1 |
| Herstellungsjahr-Aufkleber | 1 |
| Warnaufkleber | 1 |
Verwenden Sie Reinigungsalkohol und einen sauberen Lappen, um den Bereich der Haube neben dem Haubenriegel zu reinigen, und lassen Sie die Haube trocknen (Bild 6).

Entfernen Sie die Trägerfolie vom CE-Aufkleber.
Anbringen des Aufklebers an der Haube.
Verwenden Sie Reinigungsalkohol und einen sauberen Lappen, um den Bereich der Bodenplattenhalterung zu reinigen, und lassen Sie Halterung trocknen (Bild 7).

Entfernen Sie die Trägerfolie vom Baujahr-Aufkleber.
Bringen Sie den Aufkleber an der Bodenplattenhalterung an.
Verwenden Sie Reinigungsalkohol und einen sauberen Lappen, um die Oberfläche des Warnaufklebers zu reinigen, und lassen Sie den Aufkleber trocknen (Bild 8).

Entfernen Sie die Trägerfolie des CE-Warnaufklebers.
Bringen Sie den CE-Warnaufkleber über den vorhandenem Aufkleber an.
Der optionale Heckrollenabstreifer arbeitet am effektivsten, wenn zwischen dem Abstreifer und der Rolle ein Abstand von 0,5 mm bis 1 mm besteht.
Lösen Sie die Schmiernippel und Befestigungsschraube (Bild 9).

Schieben Sie den Abstreifer nach oben oder unten, bis Sie einen Abstand von 0,5 mm bis 1 mm zwischen der Stange und der Rolle erhalten.
Ziehen Sie den Schmiernippel und die Schraube abwechselnd bis auf 41 N∙m an.
Wenden Sie sich an Ihren autorisierten Toro-Vertragshändler, um das richtige Mulchablenkblech zu erhalten.
Reinigen Sie die Befestigungslöcher an der Rückwand und an der linken Wand der Kammer gründlich.
Montieren Sie das Mulchablenkblech in der hinteren Öffnung und befestigen Sie es mit fünf Bundschrauben (Bild 10).

Prüfen Sie, dass das Mulchablenkblech weder die Messerspitze berührt noch in die Rückwand der Kammer vorsteht.
Die Verwendung des Hochhubmessers mit dem Mulchablenkblech kann zum Bruch des Messers führen und schwere oder tödliche Verletzungen zur Folge haben.
Setzen Sie das Hochhubmesser nicht mit dem Ablenkblech ein.



Note: Diese Maschine verfügt nicht über einen Hebel oder Schalter zur Steuerung der Motordrehzahl.
Wenn die Zapfwelle eingekuppelt wird, um die Mähwerke zu starten, schaltet die Maschine automatisch auf hohe Leerlaufdrehzahl und behält diese bei, bis die Mähwerke ausgekuppelt werden.
Wenn die Zapfwelle nicht eingekuppelt ist, koppelt die Gasbedienung der Maschine von der Stellung des Fahrpedals ab, genau wie die Gasbedienung eines Autos.
Das Fahrpedal (Bild 12) steuert die Vorwärts- und Rückwärtsfahrt. Treten Sie oben auf das Pedal, um vorwärts zu fahren und unten auf das Pedal, um rückwärts zu fahren.
Note: Nehmen Sie in Notbremssituationen den Fuß vom Fahrpedal und schalten Sie den Schalter der Feststellbremse nach vorne (Bild 11).
Wenn der Zapfwellenschalter eingeschaltet ist, befindet sich die Maschine im MäHbetrieb, in dem Sie bis zu 13 km/h schnell fahren können, wenn die Höchstgeschwindigkeit nicht begrenzt ist.
Wenn der Zapfwellenschalter ausgeschaltet ist (Bild 11), befindet sich die Maschine im TRANSPORTbetrieb, in dem Sie bis zu 16 km/h schnell fahren können, wenn die Höchstgeschwindigkeit nicht begrenzt ist.
Note: Verwenden Sie die geschützten Menüs im InfoCenter, um die Höchstgeschwindigkeit für jede Betriebsart einzustellen.

Um die Feststellbremse zu aktivieren, (Bild 11) stellen Sie den Schalter auf der Konsole nach vorne. Das rote Licht am Schalter leuchtet auf, wenn die Feststellbremse aktiviert ist. Stellen Sie den Schalter nach hinten, um die Feststellbremse zu lösen.
Die Aktivierung des Feststellbremsschalters bewirkt, dass die Maschine unabhängig von der Stellung des Fahrpedals automatisch abbremst und die Feststellbremse aktiviert wird, sobald die Maschine zum Stillstand kommt.
Sobald der Motor abgestellt ist und sich die Maschine nicht mehr bewegt, wird die Feststellbremse aktiviert, unabhängig von der Stellung des Feststellbremsschalters.
Wenn Sie das Lenkrad zu Ihnen kippen möchten, treten Sie das Pedal durch und ziehen Sie die Lenksäule zu sich, bis Sie die bequemste Stellung erreicht haben. Nehmen Sie dann den Fuß vom Pedal (Bild 12). Treten Sie auf das Fußpedal und bewegen das Lenkrad von sich weg; lösen Sie das Pedal, wenn das Lenkrad in der gewünschten Betriebsstellung ist.
Dieser Hebel (Bild 11) hebt und senkt die Mähwerke.
Um die Mähwerke abzusenken, drücken Sie den Hebel nach vorne. Wenn der Zapfwellenschalter AKTIVIERT ist, befindet sich die Maschine im MäHbetrieb und die Mähwerke beginnen zu laufen, wenn sie abgesenkt werden.
Note: Stellen Sie sicher, dass Sie die Mähwerke absenken , nachdem der Zapfwellenschalter zum Starten der Mähwerke betätigt wurde. Wenn Sie die Mähwerke absenken, bevor der Zapfwellenschalter eingeschaltet ist, beginnen die Mähwerke noch nicht zu laufen.
Um die Mähwerke vollständig anzuheben, ziehen Sie den Hebel nach hinten. Wenn die Mähwerke angehoben sind und der Zapfwellenschalter deaktiviert ist, befindet sich die Maschine im TRANSPORTbetrieb.
Das Zündschloss (Bild 11) hat drei Stellungen: AUS, EIN/GLüHKERZEN und START.
Schalten Sie den Schalter nach oben, um die Scheinwerfer einzuschalten (Bild 11).
Die Anzeige der Hydraulikölfilterverstopfung warnt Sie, wenn die Hydraulikfilter gewechselt werden müssen; siehe Wechseln des Hydraulikölfilters.

Die Stromsteckdose (Bild 15) stellt 12 Volt für elektronische Geräte bereit.


Ziehen Sie den Sitzeinstellhebel (Bild 16), um den Sitz nach vorne oder hinten zu bewegen. Lassen Sie den Sitzeinstellhebel wieder los, um den Sitz in der gewünschten Stellung zu arretieren.
Drehen Sie das Einstellhandrad für Gewicht, bis Ihr Gewicht im Fenster der Gewichtsanzeige angezeigt wird.
Drehen Sie das Handrad für die Höheneinstellung, um die Höhe des Sitzes einzustellen.
Auf dem InfoCenter-LCD-Display werden Informationen zur Maschine angezeigt, u. a. Betriebszustand, verschiedene Diagnostikwerte und andere Informationen zur Maschine (Bild 11).
Die angezeigten Bildschirme sind von den von Ihnen ausgewählten Schaltflächen abhängig. Der Zweck jeder Taste hängt von den aktuellen Erfordernissen ab.
Note: Änderungen der technischen Daten und des Designs sind vorbehalten.

| Beschreibung | Bild 17 Referenz | Abmessung oder Gewicht |
| Gesamthöhe | A | 217 cm |
| Radspur (Reifenmitte zu Mitte), Hinterachse | B | 185 cm |
| Gesamtbreite (Transport) | C | 231 cm |
| Gesamtbreite (Mähen) | D | 247 cm |
| Radstand | E | 152 cm |
| Gesamtlänge (Transport) | F | 315 cm |
| Gesamtlänge (Mähen) | G | 315 cm |
| Fassungsvermögen des Kraftstofftanks | 53 Liter | |
| Transportgeschwindigkeit | 0-16 km/h | |
| Mähgeschwindigkeit | 0-13 km/h | |
| Nettogewicht (mit Mähwerken und Flüssigkeiten) | 1.492 kg |
Ein Sortiment an Originalanbaugeräten und -zubehör von Toro wird für diese Maschine angeboten, um den Funktionsumfang des Geräts zu erhöhen und zu erweitern. Eine Liste der zugelassenen Anbaugeräte und Zubehörteile erhalten Sie bei Ihrem offiziellen Toro-Vertragshändler oder finden Sie unter www.Toro.com.
Verwenden Sie, um die optimale Leistung und Sicherheit zu gewährleisten, nur Originalersatzteile und -zubehörteile von Toro. Ersatzteile und Zubehör anderer Hersteller können gefährlich sein und eine Verwendung könnte die Garantie ungültig machen.
Note: Bestimmen Sie die linke und rechte Seite der Maschine anhand der üblichen Einsatzposition.
Kinder oder nicht geschulte Personen dürfen die Maschine weder verwenden noch warten. Örtliche Vorschriften bestimmen u. U. das Mindestalter von Benutzern. Der Besitzer ist für die Schulung aller Bediener und Mechaniker verantwortlich.
Machen Sie sich mit dem sicheren Betrieb der Maschine sowie den Bedienelementen und Sicherheitssymbolen vertraut.
Stellen Sie vor dem Verlassen des Fahrersitzes den Motor ab, ziehen Sie den Schlüssel ab und warten Sie, bis alle beweglichen Teile zum Stillstand gekommen sind. Lassen Sie die Maschine abkühlen, bevor Sie sie einstellen, warten, reinigen, oder einlagern.
Sie müssen wissen, wie Sie die Maschine schnell anhalten und den Motor abstellen können.
Prüfen Sie, ob alle Sitzkontaktschalter, Sicherheitsschalter, und Schutzvorrichtungen montiert und funktionsfähig sind. Nehmen Sie die Maschine nur in Betrieb, wenn diese richtig funktionieren.
Überprüfen Sie vor jedem Mähen, ob die Schnittmesser, -schrauben und die Mähwerke funktionsfähig sind. Tauschen Sie abgenutzte oder defekte Messer und -schrauben als komplette Sätze aus, um die Wucht der Messer beizubehalten.
Prüfen Sie den Arbeitsbereich gründlich und entfernen Sie alle Objekte, die von der Maschine aufgeschleudert werden könnten.
Diese Maschine erzeugt ein elektromagnetisches Feld. Wenn Sie ein implantierbares elektronisches medizinisches Gerät tragen, konsultieren Sie Ihren Arzt, bevor Sie diese Maschine verwenden.
Seien Sie besonders vorsichtig beim Umgang mit Kraftstoff. Kraftstoff ist brennbar und die Dämpfe sind explosiv.
Machen Sie alle Zigaretten, Zigarren, Pfeifen und andere Zündquellen aus.
Verwenden Sie nur einen vorschriftsmäßigen Benzinkanister.
Entfernen Sie nie den Tankdeckel oder füllen den Kraftstofftank, wenn der Motor läuft oder heiß ist.
Füllen Sie Kraftstoff nicht in einem geschlossenen Raum auf oder lassen ihn ab.
Lagern Sie die Maschine oder den Benzinkanister nie an Orten mit offener Flamme, Funken oder Zündflamme, z. B. Warmwasserbereiter, oder anderen Geräten.
Versuchen Sie niemals, bei Kraftstoffverschüttungen den Motor anzulassen. Vermeiden Sie Zündquellen, bis die Verschüttung verdunstet ist.
53 Liter
Important: Verwenden Sie nur Diesel mit extrem niedrigem Schwefelgehalt. Kraftstoff mit höherem Schwefelgehalt verunreinigt den Dieseloxidationskatalysator; dies führt zu Betriebsproblemen und verkürzt die Nutzungsdauer der Motorteile.Das Nichtbefolgen dieser Vorsichtsmaßnahmen zu Motorschäden führen.
Verwenden Sie nie Kerosin oder Benzin statt Dieselkraftstoff.
Mischen Sie nie Kerosin oder altes Motoröl mit Dieselkraftstoff.
Bewahren Sie Kraftstoff nie in Behältern auf, die innen verzinkt sind.
Verwenden Sie keine Kraftstoffzusätze.
Cetanwert: 45 oder höher
Schwefelgehalt: Extrem niedriger Schwefelgehalt (<15 ppm)
| Technische Angaben für Dieselkraftstoff | Ort |
| ASTM D975 | USA |
| Nr. 1-D S15 | |
| Nr. 2-D S15 | |
| EN 590 | Europäische Union |
| ISO 8217 DMX | International |
| JIS K2204 Grad Nr. 2 | Japan |
| KSM-2610 | Korea |
Verwenden Sie nur sauberen, frischen Dieselkraftstoff oder Biodieselkraftstoff
Kaufen Sie den Kraftstoff in Mengen ein, die innerhalb von 180 Tagen verbraucht werden können; damit stellen Sie sicher, dass der Kraftstoff frisch ist.
Verwenden Sie bei Temperaturen über -7 °C Sommerdiesel (Nr. 2-D) und bei niedrigeren Temperaturen Winterdiesel (Nr. 1-D oder Nr. 1-D/2-D-Mischung).
Note: Bei Verwendung von Winterdiesel bei niedrigeren Temperaturen besteht ein niedrigerer Flammpunkt und Kaltflussmerkmale, die das Anlassen vereinfachen und ein Verstopfen des Kraftstofffilters vermeiden.Die Verwendung von Sommerkraftstoff über -7 °C erhöht die Lebensdauer der Kraftstoffpumpe und steigert im Vergleich zum Winterkraftstoff die Kraft.
Diese Maschine kann auch mit einem Kraftstoff eingesetzt werden, der bis zu B20 mit Biodiesel vermischt ist (20 % Biodiesel, 80 % Erdöldiesel).
Schwefelgehalt: Extrem niedriger Schwefelgehalt (<15 ppm)
Technische Daten für Biodiesel-Kraftstoff:ASTM D6751 oder EN 14214
Technische Angaben für Mischkraftstoff: ASTM D975, EN 590 oder JIS K2204
Important: Der Erdöldieselanteil muss einen extrem niedrigen Schwefelgehalt haben.
Befolgen Sie die nachstehenden Sicherheitsvorkehrungen:
Biodieselmischungen können lackierte Oberflächen beschädigen.
Verwenden Sie B5 (Biodiesel-Inhalt von 5 %) oder geringere Mischungen in kaltem Wetter.
Prüfen Sie Dichtungen und Schläuche, die mit Kraftstoff in Kontakt kommen, da sie sich nach längerer Zeit abnutzen können.
Nach der Umstellung auf Biodieselmischungen wird der Kraftstofffilter für einige Zeit verstopfen.
Wenden Sie sich an den offiziellen Toro-Vertragshändler für weitere Informationen zu Biodiesel.


Füllen Sie den Tank bis ca. 6 mm bis 13 mm unterhalb der Tankoberseite, nicht des Einfüllstutzens, mit Nr. 2 Dieselkraftstoff.
Note: Füllen Sie den Kraftstofftank falls möglich nach jeder Verwendung, dadurch verringert sich eine mögliche Kondensationsablagerung im Kraftstofftank.
Prüfen Sie vor dem Anlassen des Motors und vor der Inbetriebnahme der Maschine erst den Ölstand im Kurbelgehäuse, siehe Überprüfen des Motorölstands.
Prüfen Sie vor dem Anlassen des Motors und vor Einsatz der Maschine erst die Kühlanlage, siehe Prüfen der Kühlanlage.
Vor dem Anlassen des Motors und dem Einsatz der Maschine sollten Sie die Hydraulikanlage prüfen, siehe Prüfen des Hydraulikölstands.
Lassen Sie Wasser und andere Verunreinigungen aus dem Wasserabscheider ab Ablassen von Wasser aus dem Kraftstofffilter/Wasserabscheider.
| Wartungsintervall | Wartungsmaßnahmen |
|---|---|
| Bei jeder Verwendung oder täglich |
|
Der richtige Reifendruck für die Vorder- und Hinterreifen beträgt 0,83-1,03 bar.
Important: Achten Sie auf einen korrekten Reifendruck in allen Reifen, um eine gute Schnittqualität und optimale Maschinenleistung zu gewährleisten. Stellen Sie den Reifendruck nicht zu niedrig ein.Prüfen Sie den Reifendruck in allen Reifen, bevor Sie die Maschine verwenden.

| Wartungsintervall | Wartungsmaßnahmen |
|---|---|
| Nach der ersten Betriebsstunde |
|
| Nach 10 Betriebsstunden |
|
| Alle 250 Betriebsstunden |
|
Wenn Sie die Radmuttern nicht fest genug ziehen, kann sich ein Rad lösen, was zu Verletzungen führen kann.
Ziehen Sie die Vorder- und Hinterradmuttern auf ein Drehmoment von 94 bis 122 N∙m im Rahmen der empfohlenen Wartungsintervalle an.
Important: Die Schneideinheiten mähen häufig ca. 6 mm tiefer als eine Spindel-Schneideinheit mit der gleichen Einstellung. Sie müssen ggf. den Standardbereich dieser Schneideinheit 6 mm höher einstellen als bei Spindelschneideinheiten, die in demselben Bereich schneiden.
Important: Der Zugang zu den Heckmähwerken ist einfacher, wenn Sie das Mähwerk von der Maschine abnehmen. Senken Sie die Mähwerke ab und entfernen Sie die Mähwerke von den Rahmen, indem Sie die unter Bild 20 dargestellten Schrauben und Stifte entfernen.

Parken Sie die Maschine auf einer ebenen Fläche, aktivieren Sie die Feststellbremse, senken Sie die Mähwerke ab, stellen Sie den Motor ab und ziehen Sie den Schlüssel ab.
Lockern Sie die Schrauben, mit denen die Schnitthöhenhalterungen an der Schnitthöhenplatte (vorne und an beiden Seiten) befestigt sind, siehe (Bild 21).
Nehmen Sie die Schraube, angefangen von der vorderen Einstellposition, ab.

Entfernen Sie das Distanzstück, während Sie gleichzeitig die Kammer abstützen (Bild 21).
Stellen Sie die Kammer auf die gewünschte Schnitthöhe ein und setzen Sie das Distanzstück im gewünschten Schnitthöhenloch und -schlitz ein (Bild 22).

Fluchten Sie die Befestigungsplatte mit dem Distanzstück aus.
Bringen Sie die Schraube handfest an.
Wiederholen Sie die Schritte 4 bis 7 für jede seitliche Einstellung.
Ziehen Sie alle drei Schrauben mit 41 N∙m an. Ziehen Sie die vordere Schraube immer zuerst an.
Note: Einstellungen über 3,8 cm erfordern ggf. den vorübergehenden Einbau auf einer dazwischenliegenden Höhe, um ein Festfressen zu verhindern (wie z. B. der Wechsel der Schnitthöhe von 3,1 cm auf 7 cm).
| Wartungsintervall | Wartungsmaßnahmen |
|---|---|
| Bei jeder Verwendung oder täglich |
|
Wenn die Sicherheitsschalter abgeklemmt oder beschädigt werden, kann die Maschine auf eine unerwartete Weise funktionieren, was Verletzungen verursachen kann.
An den Sicherheitsschaltern dürfen keine Veränderungen vorgenommen werden.
Prüfen Sie deren Funktion täglich und tauschen Sie alle defekten Schalter vor der Inbetriebnahme der Maschine aus.
Important: Wenden Sie sich an Ihren Toro Vertragshändler, wenn die Maschine eine der Kontrollen der Sicherheitsschalter nicht besteht.
Fahren Sie die Maschine langsam auf eine offene freie Fläche.
Senken Sie die Mähwerke ab, stellen Sie den Motor ab und aktivieren Sie die Feststellbremse.
Setzen Sie sich auf den Sitz.
Aktivieren Sie die Feststellbremse.
Schalten Sie den Zapfwellenschalter in die AUSKUPPELN-Stellung.
Betätigen Sie das Fahrpedal.
Drehen Sie den Schlüssel in die START-Stellung.
Note: Der Motor darf nicht starten, wenn das Fahrpedal betätigt ist.
Setzen Sie sich auf den Sitz.
Stellen Sie den Zapfwellenschalter nach oben in die EINKUPPELN-Stellung.
Drehen Sie den Schlüssel in die START-Stellung.
Note: Der Motor sollte nicht anspringen, wenn sich der Zapfwellenschalter in der EINGEKUPPELT-Stellung befindet.
Setzen Sie sich auf den Sitz.
Schalten Sie den Zapfwellenschalter in die AUSKUPPELN-Stellung.
Anlassen des Motors.
Stellen Sie den Zapfwellenschalter nach oben in die EINKUPPELN-Stellung.
Senken Sie die Mähwerke ab, um die Zapfwelle einzukuppeln.
Stehen Sie vom Sitz auf.
Note: Die Zapfwelle sollte nicht laufen, wenn Sie sich nicht auf dem Fahrersitz befinden.
Note: Lassen Sie die Mähwerke während dieses Tests nicht länger als ein paar Sekunden laufen, um unnötigen Verschleiß zu vermeiden.
Setzen Sie sich auf den Sitz.
Aktivieren Sie die Feststellbremse.
Schalten Sie den Zapfwellenschalter in die AUSKUPPELN-Stellung.
Anlassen des Motors.
Betätigen Sie das Fahrpedal.
Note: Wenn Sie bei aktivierter Feststellbremse auf das Fahrpedal treten, sollte die Maschine nicht reagieren. Im InfoCenter sollte eine entsprechende Meldung eingeblendet werden.
Setzen Sie sich auf den Sitz.
Anlassen des Motors.
Lösen Sie die Feststellbremse.
Stehen Sie vom Sitz auf.
Note: Die rote Kontrollleuchte am Feststellbremsschalter sollte aufleuchten, wenn Sie sich nicht auf dem Fahrersitz befinden. Dies zeigt, dass die Feststellbremse aktiviert ist.
Setzen Sie sich auf den Sitz.
Anlassen des Motors.
Stellen Sie sicher, dass die Mähwerke in die Transportstellung angehoben sind.
Stehen Sie vom Sitz auf.
Senken Sie die Mähwerke ab.
Note: Die Mähwerke dürfen sich nicht absenken, wenn Sie sich nicht auf dem Fahrersitz befinden.
| Wartungsintervall | Wartungsmaßnahmen |
|---|---|
| Bei jeder Verwendung oder täglich |
|
Die Messer des Mähwerks müssen innerhalb von ca. fünf Sekunden nach dem Abstellen des Aktivierungsschalters für das Mähwerk zum kompletten Stillstand kommen.
Note: Stellen Sie sicher, dass die Mähwerke auf eine saubere Rasenfläche oder eine feste Oberfläche abgesenkt werden, damit kein Staub oder Schmutz aufgewirbelt wird.
Eine zweite Person sollte mindestens sechs Meter vom Mähwerk entfernt sein und die Messer eines Mähwerks beobachten.
Schalten Sie den Zapfwellenschalter aus, während die Mähwerke eingekuppelt sind und sich mit voller Geschwindigkeit drehen, und notieren Sie die Zeit, die die Messer benötigen, um vollständig zum Stillstand zu kommen.
Note: Wenn es erst nach sieben Sekunden oder länger zum Stillstand kommt, muss das Bremsventil eingestellt werden. Ziehen Sie zum Durchführen dieser Einstellung Ihren offiziellen Toro-Vertragshändler hinzu.
Dieses Messer richtet die Halme in den meisten Bedingungen ausgezeichnet auf und verteilt sie. Ziehen Sie ein anderes Messer in Erwägung, wenn Sie eine geringere Aufrichtung der Halme oder eine geringere Verteilungsgeschwindigkeit wünschen.
Attribute: Ausgezeichnetes Anheben und Verteilen der Grashalme in den meisten Bedingungen
Dieses Messer eignet sich am besten für geringere Schnitthöhen von 1,9 cm bis 6,4 cm.
Attribute:
Schnittgut ist gleichmäßiger bei geringeren Schnitthöhen.
Schnittgut wird nicht so leicht nach links ausgeworfen. Dies ergibt ein besseres Aussehen um die Bunker und Fairways.
Geringerer Leistungsbedarf bei geringeren Höhen und dichtem Gras.
Das Messer liefert im Allgemeinen eine bessere Leistung in Schnitthöhen von 7 cm bis 10 cm.
Attribute:
Mehr Hub und größere Auswurfgeschwindigkeit.
Dünne oder abgeknickte Grünfläche wird hauptsächlich bei höheren Schnitthöhen aufgesammelt
Nasses oder klebriges Schnittgut wird besser ausgeworfen. Dies verhindert ein Verstopfen der Mähwerke.
Benötigt mehr Leistung für den Betrieb
Schnittgut wird meistens weiter nach links ausgeworfen und kann bei niedrigen Schnitthöhen zu Schwaden führen
Die Verwendung des Hochhubmessers mit dem Mulchablenkblech kann zum Bruch des Messers führen und schwere oder tödliche Verletzungen zur Folge haben.
Setzen Sie das Hochhubmesser also keinesfalls mit dem Mulchablenkblech ein.
Dieses Messer ist besonders für das Mulchen von Laub geeignet.
| Abgewinkeltes Flügelmesser | Paralleles Hochhubmesser mit Windflügeln(nicht zusammen mit dem Mulchablenkblech) (nicht CE-konform) | Mulchablenkblech | Rollenabstreifer | |
| Mähen: Schnitthöhe von 1,9 cm bis 4,4 cm | Für die meisten Einsätze geeignet | Kann gute Ergebnisse bei leichtem oder dünnen Gras ergeben | Verbessert bewiesenermaßen die Verteilung und die Performance nach dem Mähen bei Grünflächen in nördlichen Regionen, bei denen mindestens dreimal die Woche weniger als ein Drittel der Grashalmlänge geschnitten wird. Nicht mit dem parallelen Hochhubmesser mit Windflügeln einsetzen | Verwenden Sie es immer dann, wenn sich an den Rollen Gras ansammelt oder Sie große, flache Grasklumpen erkennen. Die Abstreifer können bei gewissen Einsätzen das Verklumpen verstärken. |
| Mähen: Schnitthöhe von 5 cm bis 6,4 cm | Für dickes oder sattes Gras empfohlen | Für leichtes oder dünnes Gras empfohlen | ||
| Mähen: Schnitthöhe von 7 cm bis 10 cm | Kann gute Ergebnisse bei sattem Gras ergeben | Für die meisten Einsätze geeignet | ||
| Laubmulchen | Empfohlen für einen Einsatz mit dem Mulchablenkblech | Nicht zulässig | Nur Verwendung mit Kombinationsflügel- oder abgewinkeltem Flügelmesser | |
| Vorteile | Gleichmäßige Verteilung bei geringen Schnitthöhen; professionelleres Aussehen um Bunker und Fairways sowie geringere Kraftanforderungen. | Besseres Anheben und höhere Auswurfgeschwindigkeit. Dünne oder schwache Grashalme werden an der Schnitthöhe aufgenommen. Nasses oder klebriges Schnittgut wird leistungsfähig ausgeworfen | Kann bessere Verteilung und ein besseres Aussehen bei bestimmten Mäheinsätzen ergeben, sehr gut für Laubmulchen geeignet. | Reduziert Rollenablagerungen in gewissen Anwendungen. |
| Nachteile | Grashalme werden bei hohen Schnitthöhen nicht gut angehoben; nasse oder klebrige Grashalme lagern sich schnell in der Kammer ab und führen zu schlechter Schnittqualität und höherem Leistungsbedarf. | Benötigt mehr Kraft in einigen Anwendungen. Neigt bei sattem Gras zum Aufreihen bei niedrigeren Schnitthöhen. Keine Verwendung mit dem Mulchablenkblech. | Grasrückstände lagern sich in der Kammer ab, wenn Sie versuchen, zu viel Gras mit installiertem Ablenkblech zu mähen |
Das Display zeigt Informationen über Ihr Fahrzeug an, zum Beispiel Betriebszustand, unterschiedliche Diagnose- und andere Fahrzeuginformationen. Es gibt mehrere Bildschirme auf dem Display. Sie können jederzeit zwischen den Bildschirmen wechseln, wenn Sie eine Display-Taste drücken und den entsprechenden Richtungspfeil auswählen.

Note: Der Zweck jeder Taste hängt von den aktuellen Erfordernissen ab. Jede Taste ist mit einem Symbol beschriftet, das die aktuelle Funktion anzeigt.
![]() | Betriebsstundenzähler |
![]() | Service ist fällig. |
![]() | Gibt die Motordrehzahl in U/min an |
![]() | Einstellungen des virtuellen Pedalanschlags |
![]() | Die Glühkerzen sind aktiviert. |
![]() | Der Bediener muss auf dem Sitz sitzen. |
![]() | Die Feststellbremse ist aktiviert. |
![]() | Kühlmitteltemperatur (°C oder °F) |
![]() | Fahrpedal |
![]() | Anlassen des Motors. |
![]() | Der Tempomat ist aktiviert. |
![]() | Motor |
![]() | Aufwärmmodus |
![]() | Anforderung für Standby-Regeneration zurücksetzen |
| Anforderung für geparkte oder Wiederherstellungsregeneration | |
![]() | Eine geparkte oder Wiederherstellungsregeneration wird ausgeführt. |
![]() | Hohe Abgastemperatur |
![]() | Fehlfunktion der NOx-Steuerungsdiagnose: fahren Sie die Maschine zurück in die Werkstatt und wenden Sie sich an Ihren autorisierten Toro-Vertragshändler (ab Softwareversion U). |
![]() | Die Zapfwelle ist deaktiviert. |
![]() | Die Zapfwelle ist eingekuppelt. |
![]() | Akku |
![]() | Kraftstoffstand |
![]() | Der Kraftstoffvorrat ist gering. |
![]() | Warnung |
![]() | Aktiv |
![]() | Inaktiv |
![]() | Zurück |
![]() | Weiter |
![]() | Erhöhen |
![]() | Verringern |
![]() | Vorheriger Bildschirm |
![]() | Nächster Bildschirm |
![]() | Wert erhöhen |
![]() | Wert verringern |
![]() | Menü |
![]() | Hoch/runter scrollen |
![]() | Links/rechts scrollen |
![]() | Verriegelt |
Nur
durch die Eingabe der PIN zugänglich
Drücken Sie auf dem Hauptbildschirm die Taste für den Menüzugriff, um das InfoCenter-Menüsystem zu öffnen. Das Hauptmenü wird angezeigt. In den folgenden Tabellen finden Sie eine Zusammenfassung der Optionen, die in den Menüs verfügbar sind:
| Hauptmenü: Menüelement | Beschreibung |
| Fehler | Das Fehler-Menü enthält eine Liste der letzten Maschinendefekte. Weitere Informationen zum Fehler-Menü und den im Menü enthaltenen Angaben finden Sie in der Wartungsbedienungsanleitung oder wenden Sie sich an den offiziellen Toro Vertragshändlers. |
| Wartung | Das Menü Wartung“ enthält Informationen zur Maschine, u. a. Betriebsstundenzähler und ähnliche Angaben. |
| Diagnostik | Im Menü Diagnostics“ wird der Zustand der Maschinenschalter, Sensoren sowie der Steuerausgabe angezeigt. Diese Angaben sind bei der Problembehebung nützlich, da Sie sofort sehen, welche Bedienelemente der Maschinen EIN- oder AUSGESCHALTET sind. |
| Einstellungen | Im Einstellungen-Menü können Sie Konfigurationsvariablen auf der Anzeige anpassen und ändern. |
| Maschineneinstellungen | Im Menü "Maschineneinstellungen" können Sie die Schwellenwerte für Beschleunigung, Geschwindigkeit und Gewichtsausgleich einstellen. |
| Info | Im Info-Menü wird die Modellnummer, Seriennummer und Softwareversion der Maschine aufgelistet. |
| Service: Menüelement | Beschreibung |
| Hours | Listet die Gesamtbetriebsstunden der Maschine, des Motors und der Zapfwelle auf, sowie die Transportstunden der Maschine und fälligen Kundendienst. |
| Counts | Listet zahlreiche Ereignisse für die Maschine auf. |
| Kundendienst-Gasbedienung | Schaltet die Kundendienst-Gasbedienung ein und aus. Ermöglicht die manuelle Überbrückung der Kfz-Gasbedienung für bestimmte Servicearbeiten, wie z. B. die Neupositionierung der Maschine in der Werkstatt. |
| Kundendienst-Drehzahl | Stellt die Kundendienst-Drehzahl ein. |
Fahrpedal ![]() | |
Traktionspumpe ![]() | |
Virtueller Geschwindigkeitssensor ![]() | |
| DPF Regeneration | Die Option für die Regeneration des Dieselpartikelfilters und die Untermenüs für den Dieselpartikelfilter |
| Diagnostics: Menüelement | Beschreibung |
| Mähwerk | Zeigt die Ein- und Ausgänge für das Anheben und Absenken der Schneideinheiten an. |
| Antrieb | Zeigt die Ein- und Ausgänge für das Antriebspedal an. |
| Schneideinheiten | Gibt die Eingaben, Qualifizierer und Ausgaben für das Anheben und Absenken der Schneideinheiten an. |
| PTO | Gibt die Eingaben, Qualifizierer und Ausgaben für das Aktivieren der Zapfwelle an. |
| Motor | Gibt die Eingaben, Qualifizierer und Ausgaben für das Anlassen des Motors an |
CAN-Statistiken ![]() | Zeigt die Ein- und Ausgänge des CAN an. |
| Einstellungen: Menüelement | Beschreibung |
| PIN eingeben | Ermöglicht einer Person (Vorarbeiter/Mechaniker), die von Ihrer Firma dazu berechtigt ist, mit dem PIN-Code auf die geschützten Menüs zuzugreifen |
| Backlight [Hintergrundbeleuchtung] | Steuert die Helligkeit des LCD-Displays. |
| Sprache | Steuert die für das InfoCenter verwendete Sprache*. |
| Schriftgröße | Steuert die Größe der Schrift auf dem Display. |
| Maßeinheiten | Steuert die auf dem InfoCenter verwendeten Maßeinheiten (englische oder metrisch). |
Geschützte Menüs![]() | Ermöglicht einer Person, die von Ihrer Firma dazu berechtigt ist, mit dem PIN-Code auf die geschützten Menüs zuzugreifen |
Protect Settings [Geschützte Einstellungen] ![]() | Ermöglicht das Ändern der Einstellungen in den geschützten Einstellungen. |
Note: Das Menü Maschineneinstellungen wird nur angezeigt, wenn die PIN eingegeben wurde.
Maschineneinstellungen: Menüelement![]() | Beschreibung |
Mähgeschwindigkeit ![]() | Steuert die maximale Mähgeschwindigkeit (niedriger Bereich). |
Transportgeschwindigkeit ![]() | Steuert die maximale Transportgeschwindigkeit (hoher Bereich). |
Smart Power ![]() | Ein- und Ausschalten von Smart Power. |
Gegengewicht ![]() | Steuert das richtige Gegengewicht, das von den Mähwerken angewendet wird. |
Beschleunigung ![]() | Die Einstellungen Niedrig“, Medium“ und Hoch“ steuern, wie schnell die Fahrgeschwindigkeit reagiert, wenn Sie das Fahrpedal bewegen. |
Geschützt
unter den geschützten Menüs – Nur durch die Eingabe
der PIN zugänglich
| Info: Menüelement | Beschreibung |
| Modell | Listet die Modellnummer der Maschine auf. |
| Seriennummer | Listet die Seriennummer der Maschine auf. |
| Maschinensteuerung Revision | Listet die Softwarerevision des Hauptsteuergeräts auf. |
| S/W Überprüfung | Listet die Softwarerevision des Hauptsteuergeräts auf. |
InfoCenter Revision ![]() | Listet die Softwarerevision des InfoCenter auf |
Unter dem Menü EINSTELLUNGEN im InfoCenter befinden sich die Einstellmöglichkeiten für die Betriebskonfigurationen. Um diese Einstellungen zu sperren, benutzen Sie das GESCHüTZTE MENü.
Note: Bei der Auslieferung programmiert der Händler den anfänglichen Passcode.
Note: Der werksseitige Standard für den PIN-Code für Ihre Maschine ist entweder 0000 oder 1234.Wenn Sie den PIN-Code geändert und vergessen haben, wenden Sie sich an den offiziellen Toro-Vertragshändler.
Blättern Sie vom HAUPTMENü zum Menü EINSTELLUNGEN und drücken Sie die Auswahltaste (Bild 24).

Blättern in den EINSTELLUNGEN bis zu PIN EINGEBEN und drücken Sie die Auswahltaste (Bild 25A).

Drücken Sie für die Eingabe des PIN-Codes die auf/ab Navigationstasten Bild 25, bis die erste korrekte Ziffer angezeigt wird; drücken Sie dann die rechte Navigationstaste Bild 25, um auf die nächste Ziffer (B und C) zu gehen. Wiederholen Sie diesen Schritt, bis Sie die letzte Ziffer eingegeben haben.
Drücken Sie die Auswahltaste.
Note: Wenn der PIN-Code im Display akzeptiert wird und das geschützte Menü entsperrt ist, wird oben rechts auf dem Bildschirm PIN“ angezeigt.
Drehen Sie den Schlüsselschalter in die AUS-Stellung und dann in die EIN-Stellung, um das geschützte Menü zu sperren.
In EINSTELLUNGEN, scrollen Sie runter auf EINSTELLUNGEN SCHüTZEN.
Um die Einstellungen zu sehen und zu ändern,
ohne einen PIN-Code einzugeben, verwenden Sie die Auswahltaste, um
die EINSTELLUNGEN SCHüTZEN auf
(Aus) zu schalten.
Um die Einstellungen mit einem PIN-Code zu sehen und
zu ändern, verwenden Sie die Auswahltaste um die EINSTELLUNGEN SCHüTZEN auf
(Ein) zu schalten. Stellen
Sie den PIN-Code ein und stellen den Schlüssel im Zündschloss
in die AUS-Stellung und dann in die EIN-Stellung.
Der Timer für Service fällig“ wird nach Durchführung einer planmäßigen Wartungsmaßnahme zurückgesetzt.
In EINSTELLUNGEN, scrollen bis PIN EINGEBEN und die Auswahltaste drücken.
PIN eingeben; siehe Zugreifen auf die geschützten Menüs.
In WARTUNG, zu STUNDEN navigieren und die Auswahltaste drücken.
Nach unten scrollen bis zum SERVICE FäLLIG“.
Note: Wenn der Service gerade fällig ist,JETZT erscheint neben SERVICE FäLLIG“.
Markieren Sie das Serviceintervall und drücken Sie die Auswahltaste.
Note: Das Serviceintervall (250 Stunden, 500 Stunden, usw.) befindet sich neben SERVICE FäLLIG“. Das Serviceintervall ist ein geschützter Menüpunkt.
Wann der SERVICE-TIMER ZURüCKSETZEN? Bildschirm erscheint, drücken sie die Auswahltaste für YES [Ja] oder die Taste Zurück“ für NO [Nein].
Nachdem Sie YES [Ja] gewählt haben, wird der Intervall-Bildschirm ausgeblendet und kehrt zur Auswahl Service Hours“ [Betriebsstunden] zurück.
Die gewählte Einstellung wird zusammen mit den Einstellungen des Tempomats und des Pedalanschlags als X auf dem Fahrgeschwindigkeits-Balkendiagramm angezeigt. Ein X in einem Balken zeigt Ihnen an, dass die Höchstgeschwindigkeit durch den Betreiber begrenzt ist (Bild 29).
Note: Diese Einstellung wird im Speicher beibehalten und auf die Fahrgeschwindigkeit angewandt, bis Sie diese ändern.
In MASCHINENEINSTELLUNGEN, runter scrollen auf MäHGESCHWINDIGKEIT.
Verwenden Sie die linke und rechte Navigationstaste, um die maximale Mähgeschwindigkeit in Schritten von 0,8 km/h zwischen 1,6 und 12,9 km/h zu erhöhen.
Die gewählte Einstellung wird zusammen mit den Einstellungen des Tempomats und des Pedalanschlags als X auf dem Fahrgeschwindigkeits-Balkendiagramm angezeigt. Ein X in einem Balken zeigt Ihnen an, dass die Höchstgeschwindigkeit durch den Betreiber begrenzt ist (Bild 29).
Note: Diese Einstellung wird im Speicher beibehalten und auf die Fahrgeschwindigkeit angewandt, bis Sie diese ändern.
In MASCHINENEINSTELLUNGEN, runter scrollen auf TRANSPORTGESCHWINDIGKEIT.
Verwenden Sie die linke und rechte Navigationstasten, um die maximale Transportgeschwindigkeit in Schritten von 0,8 km/h zwischen 8,0 und 16,0 km/h zu erhöhen.
In EINSTELLUNGEN, scrollen Sie runter auf SMART POWER.
Drücken Sie die rechte Navigationstaste, um zwischen EIN und AUS zu wechseln.
Blättern Sie in MASCHINENEINSTELLUNGEN nach unten auf GEGENGEWICHT.
Drücken Sie auf die rechte Navigationstaste, um Gegengewicht“ auszuwählen und wechseln Sie zwischen den Einstellungen NIEDRIG, MITTEL und HOCH.
In MASCHINENEINSTELLUNGEN, runter scrollen auf BESCHLEUNIGUNG.
Drücken Sie die rechte Navigationstaste, um zwischen NIEDRIG, MITTEL und HOCH zu wechseln.
Note: Aus Betriebsgründen entscheiden Sie ggf., eine geparkte Regeneration auszuführen, bevor die Rußlast 100 % erreicht, wenn der Motor mehr als 50 Betriebsstunden seit der letzten erfolgreichen Zurücksetzen-, Wiederherstellungsregeneration oder geparkten Regeneration gelaufen ist.
Verwenden Sie dasIm Menü Technician“ [Techniker] wird der aktuelle Zustand der Regenerationssteuerung des Motors und den erfassten Rußstand angezeigt.
Blättern Sie in EINSTELLUNGEN nach unten zu DPF-REGENERATION und drücken Sie die Auswahltaste.
Blättern sie im Menü DPF-REGENERATION nach unten zu TECHNICIAN [Techniker] und drücken Sie die Auswahltaste.


Blinkt rot - aktiver Fehler
Durchgehend rot - aktiver Hinweis
Durchgehend blau - Kalibrierung/Dialogmeldungen
Durchgehend grün - normaler Betrieb
Die Maschine bremst dynamisch und hält an, wenn Sie das Fahrpedal in die Neutralstellung zurückstellen.
Note: Für ein sanftes Abbremsen stellen Sie das Fahrpedal mit dem Fuß langsam in die Neutralstellung zurück. Nehmen Sie den Fuß nicht vom Fahrpedal und lassen Sie es nicht in die Neutralstellung zurückstellen, es sei denn, Sie beabsichtigen, schnell anzuhalten.
Die Maschine sollte bei der maximalen Transportgeschwindigkeit von 16 km/h auf einer Strecke von etwa 3,7 m zum Stillstand kommen.
Markieren Sie auf ebenem, trockenem Untergrund den Anfang und das Ende einer Strecke von 3,7 m.
Fahren Sie die Maschine mit der maximalen Transportgeschwindigkeit von 16 km/h und nehmen Sie den Fuß vom Fahrpedal am Anfang der Strecke mit 3,7 m.
Prüfen Sie, ob die Maschine innerhalb von 0,6 m von der Endmarkierung (3,7 m) zum Stehen kommt.
Wenden Sie sich an Ihren Toro Vertragshändler, wenn der Anhalteweg der Maschine nicht innerhalb von 0,6 m dieses Abstands liegt.
Rückwärtsgeschwindigkeit im Transportbetrieb
Wenn die von der verantwortlichen Person eingestellte maximale Transportgeschwindigkeit über 8,0 km/h liegt, beträgt die maximale Rückwärtsgeschwindigkeit 8,0 km/h.
Wenn die von der verantwortlichen Person eingestellte maximale Transportgeschwindigkeit bei oder unter 8,0 km/h liegt, entspricht die maximale Rückwärtsgeschwindigkeit der von der verantwortlichen Person eingestellten Transportgeschwindigkeit.
Rückwärtsgeschwindigkeit im Mähbetrieb
Wenn die von der verantwortlichen Person eingestellte maximale Mähgeschwindigkeit über 6,4 km/h liegt, beträgt die maximale Rückwärtsgeschwindigkeit 6,4 km/h.
Wenn die von der verantwortlichen Person eingestellte maximale Mähgeschwindigkeit bei oder unter 6,4 km/h liegt, entspricht die maximale Rückwärtsgeschwindigkeit der von der verantwortlichen Person eingestellten Transportgeschwindigkeit.
Diese Maschine zeigt die geschätzte Fahrgeschwindigkeit in Kilometern pro Stunde (km/h) oder Meilen pro Stunde (mph) an.
Die momentane Geschwindigkeit wird in der oberen linken Ecke der Bildschirme des Tempomats und des virtuellen Pedalanschlags angezeigt.
Die Fahrgeschwindigkeiten werden geschätzt und so kalibriert, dass sie bei 8,0 km/h während des Mähbetriebs am genauesten sind. Die angezeigten Geschwindigkeiten sind genau, wenn sie auf trockener, ebener Fahrbahn um 0,8 km/h über oder unter der angezeigten Geschwindigkeit liegen.
Wenden Sie sich an Ihren Toro Vertragshändler, wenn die beobachteten Geschwindigkeiten der Maschine um mehr als 2,4 km/h von den angezeigten Geschwindigkeiten abweichen.
Wenn die Maschine bei kaltem Wetter gestartet wird, begrenzt der Aufwärmmodus die Motordrehzahl für einen kurzen Zeitraum nach dem Anlassen des Motors auf eine niedrige Leerlaufdrehzahl, um mögliche Schäden an Komponenten durch den Betrieb der Maschine mit kaltem Öl zu vermeiden.
Ein Schneeflocken-Symbol
auf dem InfoCenter-Bildschirm zeigt an, dass
der Aufwärmbetrieb aktiv ist. Nehmen Sie die Maschine erst nach
der Aufwärmphase in Betrieb.
Der Besitzer bzw. Bediener ist für Unfälle oder Verletzungen von Dritten sowie Sachschäden verantwortlich und kann diese verhindern.
Tragen Sie geeignete Kleidung, u. a. eine Schutzbrille, lange Hosen, rutschfeste Arbeitsschuhe und einen Gehörschutz. Binden Sie lange Haare hinten zusammen und tragen Sie keinen Schmuck oder weite Kleidung. Tragen Sie in staubigen Betriebsbedingungen eine Staubmaske.
Setzen Sie die Maschine nicht ein, wenn Sie müde oder krank sind oder unter Alkohol- oder Drogeneinfluss stehen.
Konzentrieren Sie sich immer bei der Verwendung der Maschine. Tun Sie nichts, was Sie ablenken könnte, sonst können Verletzungen oder Sachschäden auftreten.
Stellen Sie vor dem Anlassen des Motors sicher, dass alle Antriebe in der Neutralstellung sind, dass die Feststellbremse aktiviert ist und Sie in der Bedienungsposition sind.
Nehmen Sie nie Passagiere auf der Maschine mit und halten Sie alle unbeteiligten Personen und Haustiere aus dem Betriebsbereich der Maschine fern.
Setzen Sie die Maschine nur bei guten Sichtverhältnissen ein, um Löcher sowie andere verborgene Gefahren zu vermeiden.
Vermeiden Sie ein Mähen auf nassem Gras. Bei reduzierter Bodenhaftung kann die Maschine ins Rutschen geraten.
Berühren Sie bewegliche Teile nicht mit den Händen oder Füßen. Bleiben Sie immer von der Auswurföffnung fern.
Schauen Sie vor dem Rückwärtsfahren hinter sich und nach unten, um sicherzugehen, dass der Weg frei ist.
Seien Sie vorsichtig, wenn Sie sich unübersichtlichen Kurven, Sträuchern, Bäumen und anderen Objekten nähern, die Ihre Sicht behindern können.
Stellen Sie die Messer ab, wenn Sie nicht mähen.
Halten Sie die Maschine an, ziehen sie den Schlüssel ab und warten Sie, bis alle beweglichen Teile zum Stillstand gekommen sind, bevor Sie das Anbaugerät prüfen, wenn sie ein Objekt berührt haben oder ungewöhnliche Vibrationen auftreten. Führen Sie alle erforderlichen Reparaturen durch, ehe Sie die Maschine wieder in Gebrauch nehmen.
Fahren Sie beim Wenden und beim Überqueren von Straßen und Gehsteigen mit der Maschine langsam und vorsichtig. Geben Sie immer Vorfahrt.
Kuppeln Sie den Antrieb des Mähwerks aus, stellen Sie den Motor ab, ziehen Sie den Schlüssel ab und warten Sie, bis alle beweglichen Teile zum Stillstand gekommen sind, bevor Sie die Schnitthöhe einstellen (wenn Sie sie nicht von der Bedienerposition aus einstellen können).
Betreiben Sie den Motor nur in gut belüfteten Bereichen. Die Abgase enthalten Kohlenmonoxid, das beim Einatmen tödlich ist.
Lassen Sie niemals eine laufende Maschine unbeaufsichtigt zurück.
Bevor Sie den Fahrerstand verlassen, gehen Sie wie folgt vor:
Stellen Sie die Maschine auf einer ebenen Fläche ab.
Kuppeln Sie die Zapfwelle aus und senken Sie die Anbaugeräte ab.
Aktivieren Sie die Feststellbremse.
Stellen Sie den Motor ab und ziehen Sie den Schlüssel ab.
Warten Sie, bis alle beweglichen Teile zum Stillstand gekommen sind.
Setzen Sie die Maschine nur bei guten Sichtverhältnissen ein. Fahren Sie die Maschine nie bei Gewitter, bzw. wenn Gefahr durch Blitzschlag besteht.
Verwenden Sie die Maschine nicht als Zugmaschine.
Verwenden Sie nur von Toro® zugelassenes Zubehör, Anbaugeräte und Ersatzteile.
Verwenden Sie die Geschwindigkeitsregelung (falls vorhanden) nur, wenn Sie die Maschine in einem offenen, ebenen Bereich ohne Hindernisse betreiben können, in dem die Maschine ohne Unterbrechung mit konstanter Geschwindigkeit fahren kann.
Der Überrollschutz ist eine integrierte und leistungsfähige Sicherheitseinrichtung.
Entfernen Sie die Komponenten des Überrollschutzes nicht von der Maschine.
Stellen Sie sicher, dass der Sicherheitsgurt befestigt ist.
Ziehen Sie den Gurt über Ihren Schoß und stecken Sie ihn in das Gurtschloss auf der anderen Seite des Sitzes.
Zum Lösen des Sicherheitsgurts den Gurt festhalten, die Taste auf dem Gurtschloss drücken, um den Gurt zu lösen, und ihn durch die automatische Einzugsöffnung führen. Stellen Sie sicher, dass der Gurt in einem Notfall schnell gelöst werden kann.
Achten Sie immer auf hängende Objekte und berühren Sie sie nicht.
Halten Sie den Überrollschutz in einem sicheren Betriebszustand, überprüfen Sie ihn regelmäßig auf Beschädigungen und halten Sie alle Befestigungen angezogen.
Tauschen Sie beschädigte Teile des Überrollschutzes aus. Führen Sie keine Reparaturen oder Modifikationen daran aus.
Eine von Toro montierte Kabine ist ein Überrollbügel.
Legen Sie immer den Sicherheitsgurt an.
Hanglagen sind eine wesentliche Ursache für den Verlust der Kontrolle und Umkippunfälle, die zu schweren ggf. tödlichen Verletzungen führen können. Sie sind für den sicheren Einsatz an Hanglagen verantwortlich. Das Einsetzen der Maschine an jeder Hanglage erfordert große Vorsicht.
Evaluieren Sie das Gelände, einschließlich einer Ortsbegehung, um zu ermitteln, ob die Maschine sicher auf der Hanglage eingesetzt werden kann. Setzen Sie immer gesunden Menschenverstand ein, wenn Sie diese Ortsbegehung durchführen.
Prüfen Sie die unten aufgeführten Anweisungen für den Einsatz der Maschine auf Hanglagen und ermitteln Sie, ob die Maschine in den Bedingungen an diesem Tag und an diesem Ort eingesetzt werden kann. Veränderungen im Gelände können zu einer Veränderung in der Neigung für den Betrieb der Maschine führen.
Vermeiden Sie das Anfahren, Anhalten oder Wenden der Maschine an Hanglagen. Vermeiden Sie plötzliche Geschwindigkeits- oder Richtungsänderungen. Wenden Sie möglichst langsam und vorsichtig.
Benutzern Sie die Maschine niemals unter Bedingungen, bei der die Bodenhaftung, das Lenkverhalten oder die Stabilität des Fahrzeugs gefährdet werden.
Entfernen oder markieren Sie Hindernisse, u. a. Gräben, Löcher, Rillen, Bodenwellen, Steine oder andere verborgene Gefahren. Hohes Gras kann Hindernisse verdecken. Die Maschine könnte sich in unebenem Terrain überschlagen.
Beim Arbeiten auf nassem Gras, Überqueren von steilen Hanglagen oder beim Fahren hangabwärts kann die Maschine die Bodenhaftung verlieren. Wenn die Antriebsräder die Bodenhaftung verlieren, kann die Maschine rutschen und zu einem Verlust der Bremsleistung und Lenkung führen.
Gehen Sie beim Einsatz der Maschine in der Nähe von Abhängen, Gräben, Böschungen, Gewässern oder anderen Gefahrenstellen besonders vorsichtig vor. Die Maschine kann sich plötzlich überschlagen, wenn ein Rad über den Rand fährt oder die Böschung nachgibt. Halten Sie stets einen Sicherheitsabstand von der Maschine zur Gefahrenstelle ein.
Achten Sie auf Gefahren unten am Hang. Mähen Sie die Hanglage mit einer handgeführten Maschine, wenn Gefahren vorhanden sind.
Halten Sie das/die Mähwerk(e), sofern möglich, beim Einsatz der Maschine an Hanglagen abgesenkt. Das Anheben des Mähwerks beim Arbeiten an Hanglagen kann zu einer Instabilität der Maschine führen.
Passen Sie besonders mit Heckfangsystemen oder anderen Anbaugeräten auf. Diese Geräte können die Stabilität der Maschine ändern und zu einem Verlust der Fahrzeugkontrolle führen.
Die Fahrgeschwindigkeit dieser Maschine wird wie bei einem normalen Automobil gesteuert , die durch das Fahrpedal kontrolliert wird.
Diese Maschine verfügt über keinen separaten Gasschalter oder Gashebel.
Wenn Sie den Fuß vom Fahrpedal nehmen, bremst die Maschine dynamisch bis zum Stillstand ab.
Die Pedalsteuerung ist optimiert, um ein reaktionsschnelles und dennoch stabiles Ansprechverhalten zu gewährleisten, so dass der Fahrer eine gleichbleibende Kontrolle über unwegsames Gelände behält und gleichzeitig ein schnelles und sanftes Bremsen ermöglicht.
Während des Transports funktioniert das Fahrpedal ähnlich wie bei einem Automobil und verändert die Motordrehzahl und die Fahrgeschwindigkeit in Abhängigkeit von der Fahrpedalstellung.
Beim Mähen wird die Motordrehzahl automatisch auf hohe Leerlaufdrehzahl angehoben.
Bei niedrigem Leerlaufdrehzahl des Motors wird die Motordrehzahl durch Ausführen einer Funktion wie Heben der Mähwerke oder Betätigen des Fahrpedals auf eine minimale Arbeitsdrehzahl angehoben, so dass genügend Leistung zur effizienten Ausführung der Funktion zur Verfügung steht.
Begrenzen Sie die Dauer des Leerlaufbetriebs der Maschine, wie für die Regeneration des Dieselpartikelfilters (DPF) empfohlen. Schalten Sie Maschine ab, um längere Leerlaufzeiten zu vermeiden.
Die Höchstgeschwindigkeiten, die in den PIN-geschützten Menüeinstellungen festgelegt werden, werden vom Betreiber eingestellt, um die maximale Fahrgeschwindigkeit der Maschine zu begrenzen.
Die erreichbaren Geschwindigkeiten für den Einsatz des Fahrpedals, des Tempomats und des Pedalanschlags werden alle durch die im PIN-geschützten Menü eingestellten Höchstgeschwindigkeiten begrenzt.
Wenn sich ein Hindernis im Mähpfad befindet, heben Sie die Mähwerke an oder mähen Sie um das Hindernis herum.
Wenn Sie die Maschine zwischen den Einsatzbereichen transportieren, schalten Sie die Zapfwelle aus und heben Sie die Mähwerke vollständig an. Dadurch kann das Fahrpedal wie bei einem Automobil verwendet werden.
Fahren Sie in unebenem Gelände immer langsam.
Schalten Sie die Maschine niemals während der Fahrt aus.
Üben Sie die Bedienung der Maschine, um sich mit den Funktionen der Maschine vertraut zu machen.
Heben Sie die Mähwerke an, lösen Sie die Feststellbremse, treten Sie auf das Vorwärtsfahrpedal und fahren Sie vorsichtig auf einen freien Bereich.
Üben Sie das Fahren mit der Maschine, da sie ein hydrostatisches Getriebe hat, dessen Fahrverhalten sich von einigen anderen Rasenpflegemaschinen unterscheidet.
Üben Sie das Vorwärts- und Rückwärtsfahren sowie das Starten und Stoppen der Maschine. Nehmen Sie zum Anhalten Ihren Fuß vom Fahrpedal und lassen es in die NEUTRAL-Stellung zurückgehen.
Note: Beim Hangabwärtsfahren müssen Sie zum Stoppen u. U. das Rückwärtsfahrpedal treten.
Nehmen Sie den Fuß vom Fahrpedal, um schnell anzuhalten.
Üben Sie das Umfahren von Hindernissen bei angehobenen und abgesenkten Mähwerken. Fahren Sie vorsichtig zwischen Hindernissen durch, sodass Sie weder die Maschine noch die Mähwerke beschädigen.
Das Fahrpedal steuert die Vorwärts- und Rückwärtsgeschwindigkeit der Maschine sowie das dynamische Bremsen, wenn Sie die Maschine in die Neutralstellung zurückbringen.
Das Fahrpedal der Maschine funktionieret wie bei einem Auto - die Motordrehzahl und die Maschinengeschwindigkeit reagieren auf die Stellung des Fahrpedals.
Während des Transports funktioniert das Fahrpedal ähnlich wie bei einem Automobil und verändert die Motordrehzahl und die Fahrgeschwindigkeit in Abhängigkeit von der Fahrpedalstellung.
Während des Mähens wird die Motordrehzahl automatisch auf hohen Leerlauf angehoben, um die Mähleistung zu optimieren, und das Fahrpedal steuert nur die Fahrgeschwindigkeit.
Je weiter Sie das Pedal vorwärts oder rückwärts treten, desto schneller bewegt sich die Maschine.
Um die Maschine während des Transports oder Mähens zu einem sanften Stillstand zu bringen, stellen Sie das Fahrpedal mit dem Fuß mit der gewünschten Geschwindigkeit wieder in den Leerlauf.
Um die maximale Bremsleistung zu erreichen, entfernen Sie Ihren Fuß vom Fahrpedal und lassen Sie ihn in den Leerlauf zurückkehren. Die Maschine bremst dynamisch und kommt zu einem Stopp.
Dieses Traktionssystem ermöglicht es dem Fahrer, die Beschleunigungseinstellungen für den Fahrerkomfort und die Geländebedingungen anzupassen. Informationen zum Ändern der Einstellungen finden Sie hier Funktion des Beschleunigungsmodus.

Mit der Funktion Virtueller Pedalanschlag“ (VPS) können Sie vorübergehend die maximale Fahrgeschwindigkeiten für den Mäh- und Transportbereich festlegen.
Um auf diese Funktion zuzugreifen, drücken Sie im Hauptmenü auf dem InfoCenter die Navigationstaste nach oben oder unten (Bild 29).
Verwenden Sie das VPS, um die maximale Fahrgeschwindigkeit an Ihren Bedarf oder an die Anwendung anzupassen.
Sie können die VPS-Geschwindigkeitsgrenze nicht schneller als die durch die verantwortliche Person geschützte maximale Fahrgeschwindigkeit einstellen.
VPS ist eine vorübergehende Einstellung. Diese Funktion kehrt zu den von der verantwortlichen Person eingestellten Geschwindigkeitseinstellung zurück, wenn die Maschine über den Schlüsselschalter AUSgeschaltet wird.
Wird die maximale Fahrgeschwindigkeit über die geschützten Einstellungen für die maximale Geschwindigkeit oder den virtuellen Pedalanschlag geändert, wird das Fahrpedal automatisch so umprogrammiert, dass der gesamte Pedalweg zwischen dem Leerlauf und der neuen maximalen Geschwindigkeit genutzt wird.
Wenn Sie die maximale Fahrgeschwindigkeit herabsetzen, können Sie das Antriebssystem präzise steuern.

Verringern Sie während der Nutzung des VPS vorübergehend die maximale Geschwindigkeit für die folgenden Aufgaben:
Mähen des Reinigungsdurchgangs auf dem Fairway.
Arbeiten in oder in der Nähe der Werkstatt.
Verladen der Maschine auf einen Anhänger.
Note: Eine niedrigere Höchstgeschwindigkeit ermöglicht eine bessere Kontrolle bei der Durchführung dieser Aufgaben.
Der Tempomatschalter stellt den Tempomat ein, um die gewünschte Fahrgeschwindigkeit aufrechtzuerhalten. Wenn Sie hinten auf den Schalter drücken, wird der Tempomat deaktiviert; in der mittleren Stellung des Schalters ist der Tempomat aktiviert und die gewünschte Fahrgeschwindigkeit stellen Sie vorne am Schalter ein.
Nachdem der Tempomatschalter aktiviert und die Geschwindigkeit eingestellt wurde (Bild 30), verwenden Sie das InfoCenter, um die Geschwindigkeitseinstellung des Tempomaten anzupassen (Bild 30 und Bild 31).
Um den Tempomat auszuschalten, gehen Sie wie folgt vor:
Betätigen Sie im Transportbetrieb das Rückwärtsfahrpedal, aktivieren Sie die Feststellbremse oder stellen Sie den Tempomatschalter in die AUS-Stellung.
Drücken Sie im Mähbetrieb das Rückwärtsfahrpedal, aktivieren Sie die Feststellbremse, schalten Sie den Zapfwellenschalter aus oder stellen Sie den Tempomatschalter in die AUS-Stellung.
Note: Wird der Tempomat ausgeschaltet, bremst die Maschine dynamisch bis zum Stillstand ab. Wenn Sie den Tempomat während der Fahrt ausschalten möchten, drücken Sie das Fahrpedal, um einen sanften Übergang vom Tempomat zur manuellen Geschwindigkeitsregelung zu erreichen.

Legen Sie eine Geschwindigkeit am Tempomat für lange Strecken ohne viele Hindernisse fest.
Auf unebenem Gelände können Sie die Geschwindigkeit über das InfoCenter steuern.
Verwenden Sie den Tempomat für Wendemanöver wie folgt:
Stellen Sie beim Mähen eine sichere, komfortable Geschwindigkeit für das Wenden am Ende der Mähvorgänge ein.
Drücken Sie das Fahrpedal, um die Geschwindigkeit zum Mähen während des Mähvorgangs zu erhöhen.
Nehmen Sie den Fuß vom Pedal, wenn Sie für den nächsten Mähdurchgang wenden.
Die Maschine verlangsamt auf die am Tempomat niedrige eingestellte Geschwindigkeit, so dass Sie bei konstanter Geschwindigkeit effizient wenden können.
Verwenden Sie nach dem Wenden das Fahrpedal, um die Geschwindigkeit der Maschine für den nächsten Mähdurchgang wieder zu erhöhen.
Diese Funktion bestimmt, wie schnell die Maschine die Fahrgeschwindigkeit ändert, wenn sich das Fahrpedal nicht in der NEUTRAL-Stellung befindet.
Note: Wenn Sie den Fuß vom Fahrpedal nehmen und es in die NEUTRAL-Stellung zurückkehren lassen, während sich die Maschine bewegt, wird das Bremsprofil aktiviert. Das Bremsprofil ist immer dasselbe und kann nicht durch die Beschleunigungsfunktion angepasst werden.
Gehen Sie in die geschützten Menüs im InfoCenter, um den Beschleunigungsmodus zu ändern. Der Beschleunigungsmodus hat die folgenden drei Stellungen:
Niedrig: Geringstmögliche Beschleunigung und Verzögerung
Mittel (Standardeinstellung): Mittlere Beschleunigung und Verzögerung
Hoch: Höchstmögliche Beschleunigung und Verzögerung
Die Gegengewichtanlage erhält den Hydraulikgegendruck auf die Mähwerkhubzylinder. Das Ballastsystem überwacht den Antriebsdruck in Echtzeit und ändert dynamisch den Gegendruck des Hubzylinders, um die Traktionsfähigkeit und das Erscheinungsbild des Nachschnitts zu optimieren. Der Gegengewichtdruck wurde im Werk auf eine optimale Balance von Schnittbild und Antrieb in den meisten Grünflächenbedingungen eingestellt. Das Verringern der Gegengewichteinstellung führt ggf. zu einem stabileren Mähwerk, kann den Antrieb jedoch verschlechtern. Das Erhöhen der Gegengewichteinstellung kann die Traktion verbessern, sich aber nachteilig auf das Schnittbild auswirken, siehe Ändern der Gegengewichteinstellungen.
Die anpassbaren Einstellregler für den Ballast sind wie folgt:
Gering: das meiste Gewicht auf den Mähwerken und das niedrigste Gewicht auf den Antriebsrädern
Mittel: mittleres Gewicht auf den Mähwerken und den Antriebsrädern
Hoch: das geringste Gewicht liegt auf den Mähwerken und das höchste Gewicht auf den Antriebsrädern der Maschine
Sie können die Anzahl der benötigten Gegengewichte (Aufwärtshub) der Schneideinheiten ändern, um sie Ihren aktuellen Mähbedingungen anzupassen.
Stellen Sie die Maschine auf einer ebenen Fläche ab, senken Sie die Mähwerke ab, stellen Sie den Schlüssel im Schalter in die AUS-Stellung und aktivieren Sie die Feststellbremse.
Drehen Sie den Schlüssel im Schalter in die LAUF-Stellung.
Gehen Sie im Menü Einstellungen“ im InfoCenter auf Gegengewicht“.
Drücken Sie auf die rechte Taste, um Gegengewicht“ auszuwählen und wechseln Sie zwischen den Einstellungen Niedrig, Mittel und Hoch.
Note: Bringen Sie die Maschine nach Abschluss der Einstellung in einen Testbereich und betreiben Sie die Maschine mit der neuen Einstellung. Die neue Gegengewichteinstellung kann die Schnitthöhe ändern.
Mit Smart Power muss der Bediener in schwierigen Bedingungen nicht auf die Motordrehzahl achten. Smart Power verhindert, dass die Maschine in schweren Grünflächen steckenbleibt. Hierfür wird die Maschinengeschwindigkeit automatisch gesteuert und die Mähleistung optimiert.
Note: Standardmäßig ist die Smart Power-Funktion EINgeschaltet.
Important: Die Kraftstoffanlage wird automatisch vor dem Anlassen des Motors entlüftet, wenn Sie den Motor zum ersten Mal anlassen, der Motor aufgrund von Kraftstoffmangel abgestellt hat oder Sie Wartungsarbeiten an der Kraftstoffanlage durchgeführt haben.
Setzen Sie sich auf den Sitz, nehmen Sie den Fuß vom Fahrpedal, so dass es sich in der NEUTRAL-Stellung befindet, aktivieren Sie die Feststellbremse und stellen Sie sicher, dass der Zapfwellenschalter AUSGEKUPPELT ist.
Drehen Sie den Schlüssel im Schalter in die LAUF-Stellung.
Drehen Sie den Schlüssel im Schalter in die START-Stellung, wenn die Glühkerzenlampe ausgeht. Lassen Sie den Zündschlüssel sofort los und in die LAUF-Stellung zurückgehen, sobald der Motor anspringt.
Lassen Sie den Motor in niedrigem Leerlauf warm laufen.
Stellen Sie alle Bedienelemente in die NEUTRAL-Stellung, aktivieren Sie die Feststellbremse und warten Sie, bis der Motor die niedrige Leerlaufdrehzahl erreicht hat.
Important: Lassen Sie den Motor für fünf Minuten im Leerlauf laufen, bevor Sie ihn nach einem Einsatz unter voller Last ausschalten. Andernfalls können Motorteile beschädigt werden.
Stellen Sie den Schlüssel im Schalter in die AUS-Stellung und ziehen ihn ab.
Starten Sie den Motor, lösen Sie die Bremse, kuppeln Sie die Zapfwelle aus und heben Sie die Mähwerke an.
Fahren Sie die Maschine mit dem Fahrpedal wie bei einem Automobil an den Mähbereich.
Stellen Sie den Zapfwellenschalter in die EINKUPPELN-Stellung.
Fahren Sie mit der Maschine los und senken Sie die Mähwerke erst ab, wenn sich alle Mähwerke über dem Mähbereich befinden.
Beginnen Sie mit dem Mähen der Fläche.
Wenn Sie einen Mähdurchgang beendet haben, tippen Sie den unteren Steuerhebel nach hinten, um die Mähwerke anzuheben, bevor Sie den Mähbereich verlassen.
Führen Sie eine tränenförmige Wende durch, um die Maschine schnell für den nächsten Durchgang auszurichten.
Betätigen Sie den unteren Steuerhebel, um alle Mähwerke im Mähbereich automatisch abzusenken und mit dem Mähen fortzufahren.
Der Dieselpartikelfilter (DPF) entfernt Ruß aus den Motorabgasen.
Der DPF-Regenerationsprozess nutzt die Wärme aus dem Motorabgas, die durch den Katalysator erhöht wird, um den angesammelten Ruß zu Asche zu reduzieren.
Beachten Sie Folgendes, um den Dieselpartikelfilter sauber zu halten:
Den Motor möglichst mit voller Motordrehzahl laufen lassen, um die Selbstreinigung des Dieselpartikelfilters zu fördern.
Verwenden Sie das richtige Motoröl.
Minimieren Sie die Zeit, in der Sie den Motor im Leerlauf laufen lassen.
Verwendet Sie nur Diesel mit extrem niedrigem Schwefelgehalt.
Vergessen Sie die Funktion des Dieselpartikelfilters nicht bei der Verwendung oder Wartung Ihrer Maschine. Der Motor unter Last erzeugt in der Regel eine ausreichende Abgastemperatur für die Regeneration des Dieselpartikelfilters.
Important: Verringern Sie die Dauer, für die Sie den Motor im Leerlauf laufen lassen oder den Motor mit einer niedrigen Motordrehzahl verwenden, um die Ansammlung von Ruß im Dieselpartikelfilter zu verringern.
Die Auspufftemperatur ist heiß (ca. 600 °C) bei der Regeneration des Dieselpartikelfilters. Heiße Auspuffgase können Sie oder andere Personen verletzen.
Lassen Sie den Motor nie in geschlossenen Räumen laufen.
Stellen Sie sicher, dass sich keine brennbaren Materialien in der Nähe der Auspuffanlage befinden.
Achten Sie darauf, dass die heißen Abgase nicht mit Oberflächen in Berührung kommen, die durch Hitze beschädigt werden können.
Fassen Sie kein heißes Teil der Auspuffanlage an.
Halten Sie sich nicht in der Nähe oder hinter dem Auspuffrohr der Maschine auf.
| Symbol | Symbolerklärung |
![]() | • Geparkt- oder Regenerationswiederherstellung-Symbol: Regeneration wird angefordert. |
| • Führen Sie die Regeneration sofort durch. | |
![]() | • Eine Regeneration wird quittiert und die Anfrage wird bearbeitet. |
![]() | • Eine Regeneration wird ausgeführt und die Abgastemperatur ist erhöht. |
![]() | • Fehlfunktion des NOx-Steuerungssystems: die Maschine muss gewartet werden. |
| Typ der Regeneration | Konditionen, die eine Regeneration des Dieselpartikelfilters bewirken | Dieselpartikelfilter-Beschreibung des Betriebs |
|---|---|---|
| Passiv | Tritt beim normalen Einsatz der Maschine mit hoher Motordrehzahl oder hoher Motorlast auf | • Im InfoCenter wird kein Symbol angezeigt, das die passive Regeneration angibt. |
| • Bei der passiven Regeneration verarbeitet der Dieselpartikelfilter sehr heiße Auspuffgase, oxidiert schädigende Emissionen und verbrennt Ruß zu Asche. | ||
| Unterstützt | Tritt bei niedriger Motordrehzahl, niedriger Motorlast oder der Computer erkennt, dass der DPF mit Ruß verstopft ist. | • Im InfoCenter wird kein Symbol angezeigt, das die unterstützte Regeneration angibt. |
| • Während der unterstützten Regeneration passt der Motorcomputer die Motoreinstellungen, um die Auspufftemperatur zu erhöhen. | ||
| Zurücksetzen | Tritt alle 100 Betriebsstunden auf | • Wenn das Symbol für die hohe Auspufftemperatur im InfoCenter angezeigt
wird, wird eine Regeneration ausgeführt. |
| Tritt auch auf, wenn der normale Motorbetrieb die zulässige Rußansammlung im Filter überschreitet. | ||
| • Während der Reset-Regeneration hält der Motorcomputer eine erhöhte Motordrehzahl aufrecht, um die Filterregeneration zu gewährleisten. |
| Typ der Regeneration | Konditionen, die eine Regeneration des Dieselpartikelfilters bewirken | Dieselpartikelfilter-Beschreibung des Betriebs |
|---|---|---|
| Geparkt | Tritt auf, weil der Computer feststellt, dass die automatische Reinigung des Dieselpartikelfilters nicht ausreichend war. | • Wenn das Reset-Standby/Geparkt-
oder Wiederherstellungsregeneration-Symbol oder eine Regeneration
angefordert wird. |
| Tritt auch auf, wenn Sie eine geparkte Regeneration eingeleitet haben. | ||
| Kann auftreten, weil die Regenerationsunterdrückung eingeleitet wurde und die automatische Reinigung des Dieselpartikelfilters deaktiviert wurde | • Führen Sie die geparkte Regeneration sobald wie möglich aus, damit keine Wiederherstellungsregeneration erforderlich ist. | |
| Kann aufgrund von falschem Kraftstoff oder Motoröl auftreten | • Eine geparkte Regeneration dauert 30 Minuten bis 60 Minuten. | |
| • Der Kraftstofftank muss mindestens ein Viertel der Kraftstoffmenge enthalten. | ||
| • Sie müssen die Maschine parken, um eine geparkte Regeneration auszuführen. | ||
| Wiederherstellung | Tritt auf, weil die Anforderung für eine geparkte Regeneration ignoriert wurde, wodurch sich der Dieselpartikelfilter kritisch verstopfen kann. | • Wenn das Reset-Standby/Geparkt- oder Wiederherstellungsregeneration-Symbol: oder eine Wiederherstellungsregeneration
angefordert wird. |
| • Eine Wiederherstellungsregeneration dauert ca. 3 Stunden. | ||
| • Der Kraftstofftank muss mindestens halb voll sein. | ||
| • Sie müssen die Maschine parken, um eine Wiederherstellungsregeneration auszuführen. |
Scrollen Sie im HAUPTMENü zu SERVICE und drücken Sie die Auswahltaste.
Blättern Sie in SERVICE zu DPF REGENERATION und drücken Sie die Auswahltaste.
Wählen Sie die gewünschte Regenerationsfunktion aus.

Zugriff auf dasMenü zur DPF REGENERATION und scrollen Sie zu LAST REGEN [Letzte Regeneration].
Wählen Sie den Eintrag LAST REGEN [Letzte Regeneration] aus.
Ermitteln Sie mit dem Feld LAST REGEN die Betriebsstunden, für die Sie den Motor seit der letzten Rücksetzregeneration, geparkten Regeneration oder Wiederherstellungsregeneration eingesetzt haben.
Drücken Sie die Zurück“-Taste , um zum Bildschirm DPF-REGENERATION zurückzukehren.

Eine Reset-Regeneration erzeugt erhöhte Motorabgase. Wenn Sie die Maschine in der Nähe von Bäumen, Büschen, hohem Gras oder anderen temperaturempfindlichen Pflanzen oder Materialien betreiben, können Sie die Einstellung INHIBIT REGEN [Regeneration unterdrücken] verwenden, um zu verhindern, dass der Motorcomputer eine Reset-Regeneration durchführt.
Note: Die Option INHIBIT REGEN [Regeneration unterdrücken] wird immer dann verwendet, wenn die Maschine in einem geschlossenen Bereich gewartet wird.
Note: Wenn Sie das InfoCenter so einstellen, dass die Regeneration verhindert wird, zeigt das InfoCenter alle 15 Minuten eine Meldung an, wenn der Motor eine Reset-Regeneration anfordert.
Important: Wenn Sie den Motor abstellen und erneut anlassen, ist die Einstellung für Inhibit Regen.“ standardmäßig OFF.
Rufen Sie das Menü zur REGENERATION DES DIESELPARTIKELFILTERS auf und scrollen Sie zu INHIBIT REGEN [Regeneration unterdrücken].
Wählen Sie den Eintrag REGEN [Regeneration] aus.
Ändern Sie die Einstellung zur Unterdrückung der Regeneration von AUS auf EIN.
Stellen Sie sicher, die Maschine für den Typ der Regeneration, die Sie durchführen, genug Kraftstoff im Tank hat.
Geparkte Regeneration: Stellen Sie sicher, dass der Kraftstofftank mindestens ein Viertel der Kraftstoffmenge enthält, bevor Sie die geparkte Regeneration durchführen.
Wiederherstellungsregeneration: Stellen Sie sicher, dass der Kraftstofftank mindestens halb voll ist, bevor Sie die Wiederherstellunsregeneration durchführen.
Bringen Sie das Gerät in einen Bereich, der entfernt von brennbaren Materialien oder Gegenständen liegt, die durch Hitze beschädigt werden können.
Stellen Sie die Maschine auf einer ebenen Fläche ab, stellen Sie alle Bedienelemente in die NEUTRAL-Stellung, kuppeln Sie die Zapfwelle aus und senken Sie die Mähwerke ab.
Aktivieren Sie die Feststellbremse und warten Sie, bis der Motor die niedrige Leerlaufdrehzahl erreicht hat.
Wurde eine geparkte Regeneration vom Motorcomputer angefordert, folgen Sie den Meldungen im InfoCenter.
Important: Der Computer der Maschine bricht die Regeneration des Dieselpartikelfilters ab, wenn Sie die Motordrehzahl vom niedrigen Leerlauf erhöhen oder die Feststellbremse lösen.
Rufen Sie das Menü DPF REGENERATION auf und scrollen Sie nach unten zu PARKED REGEN [geparkte Regeneration] oder RECOVERY REGEN [Wiederherstellungsregeneration].
Wählen Sie den Eintrag PARKED REGEN [geparkte Regeneration] oder RECOVERY REGEN [Wiederherstellungsregeneration] aus.
Note: Um eine Wiederherstellungsregenerierung einzuleiten, müssen Sie den richtigen PIN-Code eingeben.
Überprüfen Sie auf dem Bildschirm REGEN PARAMETERS [Kraftstofftank überprüfen], dass der Kraftstofftank zu einem Viertel gefüllt ist, wenn Sie eine geparkte Regeneration durchführen, oder dass er halb voll ist, wenn Sie die Wiederherstellungsregeneration ausführen. Stellen Sie sicher, dass die Feststellbremse aktiviert ist und die Motordrehzahl auf niedrigen Leerlauf eingestellt ist. Drücken Sie die Auswahltaste, um fortzufahren.
Betätigen Sie im Bildschirm INITIATE DPF REGEN [Regeneration des Dieselpartikelfilters einleiten] die Weiter“-Taste, um fortzufahren.
Im InfoCenter wird die Meldung INITIATE DPF REGENERATION angezeigt.
Note: Betätigen Sie bei Bedarf das Abbrechen-Symbol, um den Regenerationsvorgang abzubrechen.
Im InfoCenter wird die Meldung über die Abschlusszeit angezeigt.
Das InfoCenter zeigt den Startbildschirm an und das
Symbol für die Bestätigung Regeneration wird eingeblendet
.
Note: Während der Ausführung der Regeneration des Dieselpartikelfilters
wird das Symbol für die hohe Auspufftemperatur
angezeigt.
Wenn der Motorcomputer eine geparkte oder Wiederherstellungsregeneration durchführt, zeigt das InfoCenter eine Meldung an. Drücken Sie eine beliebige Taste, um den Homebildschirm anzuzeigen.
Note: Kann die Regeneration nicht abgeschlossen werden, folgen Sie den Hinweisen und drücken Sie eine beliebige Taste, um den Startbildschirm zu verlassen.
Verwenden Sie die Einstellung PARKED REGEN CANCEL [geparkte Regeneration abbrechen] oder RECOVERY REGEN CANCEL [Wiederherstellungsregeneration abbrechen], um eine laufende geparkte oder Wiederherstellungsregeneration abzubrechen.
Blättern Sie im Menü DPF-REGENERATION zu PARKED REGEN [geparkte Regeneration] oder RECOVERY REGEN [Wiederherstellungsregenerierung].
Drücken Sie auf die Auswahltaste, um eine geparkte Regeneration oder eine Wiederherstellungsregenerierung abzubrechen.

Die häufige Änderung der Mähmuster verringert Probleme beim Schnittbild, die durch wiederholtes Mähen in der gleichen Richtung auftreten. Dies ist die wirksamste Methode, um ein Waschbrettbildung zu verhindern.
Weitere Informationen finden Sie in der Anleitung Beheben von Schnittbildproblemen“ (Aftercut Appearance Troubleshooting Guide) unter www.Toro.com.
Orientieren Sie sich an einem Baum oder einem anderen Gegenstand in einiger Entfernung und fahren diesen geradlinig an, um ein professionelles gerades Schnittbild und Streifen herbeizuführen.
Für die Mähwerke sind auch festgeschraubte Mulchablenkbleche erhältlich. Die Mulchablenkbleche funktionieren gut, wenn Sie die Grünfläche regelmäßig mähen, damit jeweils höchstens 25 mm der Schnittlänge des Grases entfernt wird. Wenn Sie bei eingebauten Mulchablenkblechen zu viel Gras schneiden, kann das Schnittbild leiden und der zum Rasenmähen erforderliche Kraftaufwand nimmt zu. Die Mulchablenkbleche eignen sich ebenfalls zum Zerschneiden von herbstlichem Laub.
Mähen Sie ca. 25 mm, aber nie mehr als ⅓ der Grashalme. Sie müssen bei extrem sattem und dichtem Gras u. U. die Schnitthöhe erhöhen.
Ein scharfes Messer mäht sauber, ohne Grashalme zu zerreißen oder zu zerhäckseln, was bei stumpfen Messern vorkommt. Abgerissene und zerhäckselte Grashalme werden an den Kanten braun. Dadurch reduziert sich das Wachstum, und die Anfälligkeit des Rasens für Krankheiten steigt. Stellen Sie sicher, dass sich das Messer in einwandfreiem Zustand befindet, und dass die Windflügel noch ganz sind; siehe Prüfen und Schärfen des Schnittmessers.
Stellen Sie sicher, dass die Mähwerkkammern in gutem Zustand sind. Biegen Sie alle Verbiegungen der Kammerteile gerade, um den korrekten Abstand zwischen Messersitzen und der Kammer sicherzustellen. Stellen Sie sicher, dass alle Rollen und Drehgelenke kein Spiel haben, um Rasenschäden oder ein schlechtes Erscheinungsbild nach dem Schnitt zu vermeiden.
Reinigen Sie die Maschine nach dem Mähen gründlich mit einem Gartenschlauch ohne Spritzdüse, um zu vermeiden dass Dichtungen und Lager durch einen zu hohen Wasserdruck verunreinigt oder beschädigt werden. Stellen Sie sicher, dass der Kühler und Ölkühler frei von Schmutz und Schnittgut bleiben. Nach dem Reinigen sollten Sie die Maschine auf mögliche Öllecks, Beschädigungen oder Abnutzung der hydraulischen und mechanischen Komponenten und die Mähwerke auf Schärfe prüfen.
Stellen Sie vor dem Verlassen des Fahrersitzes den Motor ab, ziehen Sie den Schlüssel ab und warten Sie, bis alle beweglichen Teile zum Stillstand gekommen sind. Lassen Sie die Maschine abkühlen, bevor Sie diese einstellen, warten, reinigen oder einlagern.
Um Brände zu vermeiden, stellen Sie sicher, dass Mähwerke, Antriebe, Schalldämpfer, Kühlsiebe und der Motorraum frei von Gras und Schmutzablagerungen sind. Wischen Sie Öl- und Kraftstoffverschüttungen auf.
Befinden sich die Mähwerke in der Transport-Stellung, verwenden Sie die formschlüssige mechanische Sicherung (sofern vorhanden), bevor Sie die Maschine unbeaufsichtigt lassen.
Lassen Sie den Motor abkühlen, bevor Sie die Maschine in einem geschlossenen Raum abstellen.
Ziehen Sie den Schlüssel ab und schließen Sie den Kraftstoffhahn (falls vorhanden), bevor Sie die Maschine einlagern oder schleppen.
Lagern Sie die Maschine oder den Benzinkanister nie an Orten mit offener Flamme, Funken oder Zündflamme, z. B. Warmwasserbereiter, oder andere Geräte.
Den/die Sicherheitsgurt(e) bei Bedarf warten und reinigen
Ziehen Sie den Schlüssel ab und schließen Sie den Kraftstoffhahn (falls vorhanden), bevor Sie die Maschine einlagern oder transportieren.
Gehen Sie beim Verladen und Abladen der Maschine auf einen/von einem Anhänger oder Pritschenwagen vorsichtig vor.
Verwenden Sie durchgehende Rampen für das Verladen der Maschine auf einen Anhänger oder Pritschenwagen.
Vergurten Sie die Maschine.
Im Notfall können Sie die Maschine durch Aktivieren des Sicherheitsventils an der stufenlosen Hydraulikpumpe und Schieben oder Schleppen bewegen.
Important: Schieben oder schleppen Sie die Maschine höchstens mit 3-4,8 km/h ab. Wenn Sie die Maschine mit einer höheren Geschwindigkeit schieben oder abschleppen, kann das interne Getriebe beschädigt werden.Öffnen Sie die Sicherheitsventile und lösen Sie die Bremse, wenn die Maschine geschoben oder geschleppt wird.
Entriegeln Sie das Sitzunterteil und klappen Sie den Sitz auf.
Suchen Sie unter dem Sitz das Sicherheitsventil auf der Oberseite des Hydrostatikantriebs (Bild 37).

Öffnen Sie die Sicherheitsventile um drei (3) Umdrehungen, um das Öl intern umzuleiten.
Note: Da das Öl abgelenkt wird, kann die Zugmaschine ohne Schäden am Getriebe langsam bewegt werden.
Suchen Sie den Bremslöseverteiler in der Nähe des rechten Vorderrads und hinter dem Hydraulikölbehälter (Bild 38).

Führen Sie das lange Ende einer Ratsche oder eines ähnlichen Gegenstands ein, halten Sie den schwarzen Knopf am Verteiler fest und pumpen Sie den Verteiler dreimal. Sobald beim Pumpen ein erheblicher Widerstand auftritt, wird die Bremse gelöst.
Important: Pumpen Sie den Verteiler nicht an, wenn er sich nicht leicht aufpumpen lässt. Wenn der Verteiler zu stark aufgepumpt wird, kann er beschädigt werden.
Note: Sobald der Druck im Verteiler aufgebaut ist, wird die Bremse für etwa 60 Minuten gelöst. Falls erforderlich, lösen Sie die Bremse nach 60 Minuten erneut, indem Sie den Verteiler aufpumpen.
Schieben oder schleppen Sie die Maschine ab.
Aktivieren Sie die Bremse, indem Sie den schwarzen Knopf herausziehen oder den Motor starten.
Note: Die Bremse stellt sich automatisch zurück, wenn Sie den Motor starten, Sie müssen den schwarzen Knopf nicht herausziehen.
Schließen Sie die Sicherheitsventile. Ziehen Sie die Ventile auf ein Drehmoment von 11 N∙m an.
Important: Stellen Sie sicher, dass die Sicherheitsventile geschlossen sind, bevor Sie die Maschine betreiben. Wenn Sie den Motor bei geöffnetem Sicherheitsventil laufen lassen, überhitzt das Getriebe.
Note: Bestimmen Sie die linke und rechte Seite der Maschine anhand der üblichen Einsatzposition.
Bevor Sie den Fahrerstand verlassen, gehen Sie wie folgt vor:
Stellen Sie die Maschine auf einer ebenen Fläche ab.
Kuppeln Sie die Zapfwelle aus und senken Sie die Anbaugeräte ab.
Aktivieren Sie die Feststellbremse.
Stellen Sie den Motor ab und ziehen Sie den Schlüssel ab.
Warten Sie, bis alle beweglichen Teile zum Stillstand gekommen sind.
Tragen Sie geeignete Kleidung, u. a. eine Schutzbrille, lange Hose und rutschfeste Arbeitsschuhe. Halten Sie Hände, Füße, Kleidung, Schmuck und lange Haare von beweglichen Teilen fern.
Wenn Sie den Schlüssel im Zündschloss lassen, könnte eine andere Person den Motor versehentlich anlassen und Sie und Unbeteiligte schwer verletzen. Ziehen Sie den Schlüssel aus dem Zündschloss, bevor Sie Wartungsarbeiten durchführen.
Lassen Sie alle Maschinenteile abkühlen, ehe Sie mit Wartungsarbeiten beginnen.
Befinden sich die Mähwerke in der Transport-Stellung, verwenden Sie die formschlüssige mechanische Sicherung (sofern vorhanden), bevor Sie die Maschine unbeaufsichtigt lassen.
Führen Sie Wartungsarbeiten möglichst nicht bei laufendem Motor durch. Fassen Sie keine beweglichen Teile an.
Betreiben Sie den Motor nur in gut belüfteten Bereichen. Die Abgase enthalten Kohlenmonoxid, das beim Einatmen tödlich ist.
Stützen Sie die Maschine mit Achsständern ab, wenn Sie Arbeiten unter der Maschine ausführen.
Lassen Sie den Druck aus Maschinenteilen mit gespeicherter Energie vorsichtig ab.
Alle Teile der Maschine müssen sich in gutem Zustand befinden, und alle Hardware – insbesondere die Messerbefestigungen – korrekt festgezogen sein.
Ersetzen Sie abgenutzte und beschädigte Aufkleber.
Verwenden Sie nur Originalersatzteile von Toro, um eine sichere und optimale Leistung zu gewährleisten. Ersatzteile anderer Hersteller können gefährlich sein und eine Verwendung könnte die Garantie ungültig machen.
| Wartungsintervall | Wartungsmaßnahmen |
|---|---|
| Nach der ersten Betriebsstunde |
|
| Nach 10 Betriebsstunden |
|
| Bei jeder Verwendung oder täglich |
|
| Alle 50 Betriebsstunden |
|
| Alle 100 Betriebsstunden |
|
| Alle 200 Betriebsstunden |
|
| Alle 250 Betriebsstunden |
|
| Alle 400 Betriebsstunden |
|
| Alle 800 Betriebsstunden |
|
| Alle 1000 Betriebsstunden |
|
| Alle 2000 Betriebsstunden |
|
| Alle 3000 Betriebsstunden |
|
| Vor der Einlagerung |
|
| Alle 2 Jahre |
|
Important: Wenn Sie Wartungsarbeiten an der Maschine durchführen und den Motor mit einer Abluftleitung für den Motorauspuff laufen lassen, stellen Sie die Einstellung Inhibit Regen.“ in die EIN-Stellung, siehe Einstellen von Inhibit Regen.“.
Kopieren Sie diese Seite für regelmäßige Verwendung.
| Wartungsprüfpunkt | Für KW: | ||||||
|---|---|---|---|---|---|---|---|
| Mo | Di | Mi | Do | Fr | Sa | So | |
| Prüfen Sie die Funktion der Sicherheitsschalter. | |||||||
| Prüfen Sie die Funktion der Bremsen. | |||||||
| Prüfen Sie dann Motoröl- und Kraftstoffstand. | |||||||
| Entleeren Sie den Kraftstoff-/Wasserabscheider. | |||||||
| Prüfen Sie die Anzeige für die Luftfilterverstopfung. | |||||||
| Prüfen Sie den Kühler und das -gitter auf Sauberkeit. | |||||||
| Achten Sie auf ungewöhnliche Motorgeräusche.1 | |||||||
| Achten Sie auf ungewöhnliche Betriebsgeräusche. | |||||||
| Prüfen Sie den Füllstand der Hydraulikanlage. | |||||||
| Prüfen Sie die Anzeige für den Hydraulikfilter. 2 | |||||||
| Prüfen Sie die Hydraulikschläuche auf Defekte. | |||||||
| Prüfen Sie die Dichtheit. | |||||||
| Prüfen Sie den Reifendruck. | |||||||
| Prüfen Sie die Funktion der Instrumente. | |||||||
| Prüfen Sie die Schnitthöheneinstellung | |||||||
| Prüfen Sie den Messerzustand | |||||||
| Prüfen Sie die Schmierung aller Schmiernippel 3 | |||||||
| Bessern Sie alle Lackschäden aus. | |||||||
|
1. Prüfen Sie bei schwerem Starten, zu starkem Qualmen oder unruhigem Lauf die Glühkerzen und Einspritzdüsen. 2. Prüfen Sie bei laufendem Motor (Öl sollte Betriebstemperatur haben) 3. Unmittelbar nach jeder Reinigung, ungeachtet des aufgeführten Intervalls |
|||||||
| Inspiziert durch: | ||
| Punkt | Datum | Informationen |
| 1 | ||
| 2 | ||
| 3 | ||
| 4 | ||
| 5 | ||
| 6 | ||
| 7 | ||
| 8 | ||
Note: Laden Sie ein kostenfreies Exemplar des elektrischen oder hydraulischen Schaltbilds von www.Toro.com herunter und suchen Sie Ihre Maschine vom Link für die Bedienungsanleitungen auf der Homepage.
| Wartungsintervall | Wartungsmaßnahmen |
|---|---|
| Bei jeder Verwendung oder täglich |
|
Stellen Sie die Maschine auf einer ebenen Fläche ab.
Aktivieren Sie die Feststellbremse.
Kuppeln Sie die Zapfwelle aus.
Stellen Sie den Mähwerkshebel der in die MäHEN-Stellung.
Stellen Sie den Motor ab und ziehen Sie den Schlüssel ab.
Warten Sie, bis alle sich bewegenden Teile zum Stillstand gekommen sind.
Lassen Sie den Motor abkühlen.
Drehen Sie den Sitz leicht an und heben Sie die vordere Stütze aus der Vertiefung des Sitzhalterungsschlitzes.
Senken Sie den Sitz vorsichtig ab, bis er sicher einrastet.
Note: Stützen Sie die Maschine mit Achsständern ab, wenn Sie Arbeiten unter der Maschine ausführen.
Verwenden Sie die folgenden Punkte als Hebepunkte für die Maschine:

Front: Die Wagenheberaufnahmen des Vorderachsrohrs (Bild 40).
Heck: Das Hinterachsrohr.
| Wartungsintervall | Wartungsmaßnahmen |
|---|---|
| Alle 50 Betriebsstunden |
|
Wird die Maschine unter normalen Bedingungen betreiben, verwenden Sie Lithiumfett Nr. 2, um alle Lager und Büchsen im angegebenen Wartungsintervall zu schmieren. Fetten Sie Lager und Buchsen unmittelbar nach jeder Wäsche, ungeachtet des aufgeführten Intervalls ein.
Die Schmiernippel und deren Anzahl sind:
U-Gelenk der Pumpenantriebswelle (3)—Bild 41

Hubarmzylinder der Schneideinheit (2)—Bild 42

Hubarmgelenke (1)—Bild 42
Schneideinheit-Trägerrahmen und Drehzapfen (1)—Bild 43

Hubarmgelenkwelle (1)—Bild 44

Achsenlenkzapfen (1)—Bild 45

Lenkzylinder-Kugelgelenke (2) und Hinterachse (1)—Bild 46

Spindelwellenlager der Schneideinheit (2 pro Schneideinheit)—Bild 47
Note: Sie können den Nippel nutzen, der am besten zugänglich ist. Pressen Sie Fett in den Nippel, bis etwas Fett an der Unterseite des Spindelgehäuses (unter der Schneideinheit) austritt.

Heckrollenlager (2 pro Schneideinheit)—Bild 48

Note: Stellen Sie sicher, dass die Schmiermittelkerbe in jeder Rollenhalterung mit dem Schmiermittelloch an jedem Ende der Rollenwelle ausgefluchtet sind. Zum leichteren Ausfluchten der Kerbe und des Lochs hat ein Ende der Rollenwelle eine Ausfluchtungsmarkierung.
Stellen Sie den Motor ab und ziehen den Schlüssel ab, bevor Sie den Ölstand prüfen oder Öl in das Kurbelgehäuse einfüllen.
Ändern Sie nicht die Geschwindigkeit des Drehzahlreglers oder überdrehen den Motor.
| Wartungsintervall | Wartungsmaßnahmen |
|---|---|
| Alle 400 Betriebsstunden |
|
Prüfen Sie die ganze Ansauganlage auf undichte Stellen, Beschädigungen oder lose Schlauchklemmen. Verwenden Sie nie beschädigte Luftfilter.
Warten Sie den Luftfilter nur, wenn dies von der Kundendienstanzeige angegeben wird. Das frühzeitige Auswechseln des Luftfilters erhöht nur die Gefahr, dass Schmutz in den Motor gelangt, wenn Sie den Filter entfernen.
Important: Stellen Sie sicher, dass die Abdeckung richtig eingesetzt ist und das Luftfiltergehäuse abdichtet, dass das Gummiablassventil nach unten zeigt, ungefähr zwischen 17.00 Uhr und 19.00 Uhr (vom Ende her gesehen).


Premium Motoröl von Toro ist vom offiziellen Toro-Vertragshändler mit einer Viskosität von 15W-40 oder 10W-30 erhältlich.
Verwenden Sie qualitativ hochwertiges Öl mit niedrigem Aschengehalt, das die folgenden Spezifikationen erfüllt oder übersteigt:
API-Klassifikation CJ-4 oder höher
ACEA-Klassifikation E6
JASO-Klassifikation DH-2
Important: Wenn Sie Motoröl verwenden, das nicht die Klassifikation API CJ-4 oder höher, ACEA E6 oder JASO DH-2 erfüllt, kann der Dieselpartikelfilter verstopfen und den Motor beschädigen.
Verwenden Sie Motoröl mit der folgenden Motorölviskosität:
Bevorzugte Ölsorte: SAE 15W-40 (über -18 °C)
Ersatzöl: SAE 10W-30 oder 5W-30 (alle Temperaturen)
| Wartungsintervall | Wartungsmaßnahmen |
|---|---|
| Bei jeder Verwendung oder täglich |
|
Der Motor wird vom Werk aus mit Öl befüllt. Prüfen Sie jedoch den Ölstand, bevor und nachdem Sie den Motor das erste Mal verwenden.
Important: Prüfen Sie das Motoröl täglich. Wenn der Stand des Motoröls über der Voll-Markierung am Peilstab liegt, ist das Motoröl ggf. mit Kraftstoff verdünnt.Wenn der Stand des Motoröls über der Voll-Markierung liegt, wechseln Sie das Motoröl.
Der Stand des Motoröls sollte am besten bei kaltem Motor vor dem täglichen Anlassen geprüft werden. Wenn der Motor gelaufen ist, lassen Sie das Öl für 10 Minuten in die Wanne zurücklaufen, bevor Sie den Ölstand prüfen. Wenn der Ölstand an oder unter der Nachfüllen-Markierung am Peilstab liegt, gießen Sie Öl nach, bis der Ölstand die VOLL-Markierung erreicht.Füllen Sie nicht zu viel Motoröl ein.
Important: Halten Sie den Stand des Motoröls zwischen den unteren und oberen Markierungen am Peilstab; der Motor kann ausfallen, wenn er mit zu wenig oder zu viel Öl verwendet wird.
Parken Sie die Maschine auf einer ebenen Fläche.
Prüfen Sie den Ölstand im Motor (Bild 50).


Note: Lassen Sie, wenn Sie die Ölsorte wechseln möchten, das Altöl vollständig aus dem Kurbelgehäuse ablaufen, bevor Sie das neue einfüllen.
Ca. 5,2 l mit Filter.
| Wartungsintervall | Wartungsmaßnahmen |
|---|---|
| Alle 250 Betriebsstunden |
|
Lassen Sie den Motor an und lassen Sie ihn ca. 5 Minuten lang laufen, damit sich das Öl erwärmt.
Parken Sie die Maschine auf einer ebenen Fläche, stellen den Motor ab, ziehen den Schlüssel ab und warten, bis alle beweglichen Teile zum Stillstand gekommen sind, bevor Sie die Bedienerposition verlassen.
Tauschen Sie das Motoröl und den Motorölfilter aus (Bild 51).


Füllen Sie Öl nach.
Diese Bedienungsanleitung enthält detailliertere Informationen zum Kraftstoff und zur Wartung der Kraftstoffanlage als die Yanmar® Motor Bedienungsanleitung, die ein allgemeines Nachschlagewerk zum Thema Kraftstoff und Wartung der Kraftstoffanlage ist.
Sie müssen entsprechende Kenntnisse über die Wartung der Kraftstoffanlage, die Lagerung des Kraftstoffs und die Kraftstoffqualität besitzen, um Ausfallzeiten und umfangreiche Motorreparaturen zu vermeiden.
Für das Kraftstoffsystem gelten aufgrund der Emissions- und Kontrollanforderungen extrem enge Toleranzen. Die Qualität und Sauberkeit des Dieselkraftstoffs ist für die Langlebigkeit der heutigen Hochdruck-Common-Rail-Einspritzsysteme (HPCR) in Dieselmotoren von großer Bedeutung.
Important: Wasser oder Luft im Kraftstoffanlage beschädigt Ihren Motor! Gehen Sie nicht davon aus, dass neuer Kraftstoff sauber ist. Vergewissern Sie sich, dass Ihr Kraftstoff von einem Lieferanten stammt, der qualitativ hochwertigen Kraftstoff liefert. Lagern Sie den Kraftstoff korrekt und verbrauchen Sie Ihren Kraftstoffvorrat innerhalb von 180 Tagen.
Important: Die Nichtbeachtung der Anweisungen zum Austausch des Kraftstofffilters, zur Wartung des Kraftstoffsystems und zur Lagerung des Kraftstoffs kann zu einem vorzeitigen Ausfall des Kraftstoffsystems des Motors führen. Führen Sie alle Wartungsarbeiten am Kraftstoffsystem in den vorgeschriebenen Intervallen durch oder immer dann, wenn der Kraftstoff verunreinigt ist oder eine schlechte Qualität aufweist.
Die richtige Lagerung von Kraftstoff ist entscheidend für Ihren Motor. Die ordnungsgemäße Wartung von Kraftstofftanks wird oft vernachlässigt und führt zu einer Verunreinigung des an die Maschine gelieferten Kraftstoffs.
Beschaffen Sie nur so viel Kraftstoff, wie Sie innerhalb von 180 Tagen verbrauchen. Verwenden Sie keinen Kraftstoff, der länger als 180 Tage gelagert wurde. Dadurch werden Wasser und andere Verunreinigungen im Kraftstoff vermieden.
Wenn Sie das Wasser nicht aus dem Lagertank oder dem Kraftstofftank der Maschine entfernen, kann es zu Rost oder Verunreinigungen im Lagertank und in den Komponenten der Kraftstoffanlage führen. Durch Schimmel, Bakterien oder Pilze entstandener Tankschlamm behindert den Durchfluss und verstopft den Filter und die Kraftstoffeinspritzdüsen.
Überprüfen Sie Ihren Kraftstofftank und den Maschinentank regelmäßig zur Überwachung der Kraftstoffqualität im Tank.
Beziehen Sie ihren Kraftstoff von einem Qualitätsanbieter.
Wenn Sie Wasser oder Verunreinigungen in Ihrem Lagertank oder Maschinenkraftstofftank finden, arbeiten Sie mit Ihrem Kraftstoffanbieter zusammen, um das Problem zu beheben, und führen Sie alle Wartungsarbeiten am Kraftstoffsystem durch.
Lagern Sie Dieselkraftstoff nicht in Tanks oder Kanistern, die aus verzinkten Teilen bestehen.

| Wartungsintervall | Wartungsmaßnahmen |
|---|---|
| Bei jeder Verwendung oder täglich |
|
Lassen Sie das Wasser aus dem Kraftstofffilter bzw. Wasserabscheider ab, wie in Bild 53 dargestellt.

Entlüften Sie den Filter und die Leitungen zur Hochdruckpumpe; siehe Vorfüllen der Kraftstoffanlage.
| Wartungsintervall | Wartungsmaßnahmen |
|---|---|
| Alle 400 Betriebsstunden |
|
Wechseln Sie den Filter aus, wie in Bild 54 dargestellt.

Entlüften Sie den Filter und die Leitungen zur Hochdruckpumpe; siehe Vorfüllen der Kraftstoffanlage.
| Wartungsintervall | Wartungsmaßnahmen |
|---|---|
| Alle 400 Betriebsstunden |
|
Reinigen Sie den Bereich um den Kraftstofffilterkopf (Bild 55).

Entfernen Sie den Filter und reinigen die Kontaktfläche (Bild 55).
Note: Verwenden Sie ein sauberes Tuch, um den Filterkopf zu reinigen.
Fetten Sie die Filterdichtung mit sauberem Motorschmieröl ein. Weitere Informationen finden Sie in der Motorbedienungsanleitung.
Setzen Sie die trockene Filterglocke mit der Hand ein, bis die Dichtung den Filterkopf berührt; drehen Sie sie dann um eine weitere halbe Umdrehung fest.
Entlüften Sie den Filter und die Leitungen zur Hochdruckpumpe; siehe Vorfüllen der Kraftstoffanlage.
Lassen Sie den Motor an und achten Sie auf Undichtigkeiten am Filterkopf.
| Wartungsintervall | Wartungsmaßnahmen |
|---|---|
| Alle 800 Betriebsstunden |
|
| Vor der Einlagerung |
|
Zusätzlich zu den aufgeführten Serviceintervallen, sollten Sie den Tank entleeren und reinigen, wenn die Kraftstoffanlage verschmutzt ist oder die Maschine längere Zeit eingelagert wird. Spülen Sie den Tank nur mit frischem Kraftstoff.
Entlüften Sie den Filter und die Leitungen zur Hochdruckpumpe; siehe Vorfüllen der Kraftstoffanlage.
| Wartungsintervall | Wartungsmaßnahmen |
|---|---|
| Alle 400 Betriebsstunden |
|
Prüfen Sie die Kraftstoffleitungen auf Verschleiß, Defekte oder lockere Anschlüsse.
Wechseln Sie beschädigte Schlauchklemmen oder Schläuche aus.
Note: Entlüften Sie die Kraftstoffanlage, wenn Sie Kraftstoffleitungen ersetzen, siehe Vorfüllen der Kraftstoffanlage.
| Wartungsintervall | Wartungsmaßnahmen |
|---|---|
| Alle 3000 Betriebsstunden |
|
Informationen zum Entfernen und Montieren des Dieseloxidationskatalysators und des Rußfilters am Dieselpartikelfilter finden Sie in der Wartungsanleitung.
Wenden Sie sich an Ihren offiziellen Toro-Vertragshändler für Ersatzteile für den Dieseloxidationskatalysator und den Rußfilter oder deren Wartung.
Wenden Sie sich nach dem Einsetzen eines sauberen Dieselpartikelfilters an den offiziellen Toro-Vertragshändler, um das elektronische Steuergerät des Motors zurückzusetzen.
Entlüften Sie die Kraftstoffanlage nach folgenden Ereignissen:
Wechsel des Kraftstofffilters.
Entleeren des Wasserabscheiders nach jedem Gebrauch oder täglich.
Leergefahrenen Kraftstofftank.
Wechsel eines Kraftstoffschlauchs oder Öffnen der Kraftstoffanlage aus irgendeinem Grund.
Führen Sie zum Befüllen der Kraftstoffanlage die folgenden Schritte aus.
Important: Entlüften Sie die Kraftstoffanlage niemals, indem Sie den Motor mittels dem Anlasser starten.
Stellen Sie sicher, dass Kraftstoff im Kraftstofftank ist.
Führen Sie die folgenden Schritte aus, um den Filter und die Leitungen zur Hochdruckpumpe zu entlüften, um Verschleiß oder Beschädigungen an der Pumpe zu vermeiden:
Drehen Sie den Zündschlüssel 15 bis 20 Sekunden lang auf die EIN-Stellung.
Drehen Sie den Zündschlüssel 30 bis 40 Sekunden lang auf die AUS-Stellung.
Note: Dadurch kann das ECU heruntergefahren werden.
Drehen Sie den Zündschlüssel 15 bis 20 Sekunden lang auf die EIN-Stellung.
Überprüfen Sie den Filter und die Schläuche auf Undichtigkeiten.
Lassen Sie den Motor an und prüfen Sie die Dichtheit.
Klemmen Sie vor dem Durchführen von Reparaturen an der Maschine den Akku ab. Klemmen Sie immer zuerst die Minusklemme und dann die Plusklemme ab. Schließen Sie immer zuerst den Pluspol und dann den Minuspol an.
Laden Sie den Akku in offenen, gut gelüfteten Bereichen und nicht in der Nähe von Funken und offenem Feuer. Stecken Sie das Ladegerät aus, ehe Sie die Batterie anschließen oder abklemmen. Tragen Sie Schutzkleidung und verwenden Sie isoliertes Werkzeug.
| Wartungsintervall | Wartungsmaßnahmen |
|---|---|
| Alle 50 Betriebsstunden |
|
Gehen Sie zum Warten der Batterie folgendermaßen vor:
Prüfen Sie den Zustand der Batterie
Reinigen Sie Batterie (bei Bedarf)
Note: Reinigen Sie zum Reinigen der Batterie den ganzen Kasten mit Natronlauge. Spülen Sie mit klarem Wasser nach.
Prüfen Sie die Kabelanschlüsse an der Batterie und tragen Sie eine Schicht Grafo 112X-Fett oder Vaseline auf die Batteriepole und Kabelanschlüsse auf, um Korrosion vorzubeugen.
Important: Klemmen Sie vor Schweißarbeiten an der Maschine das negative Akkukabel vom Batteriepol ab, um einer Beschädigung der elektrischen Anlage vorzubeugen. Vor Schweißarbeiten an der Maschine müssen Sie auch den Motor, das InfoCenter und die Maschinensteuergeräte abtrennen.
Der Sicherungsblock (Bild 57) befindet sich unter dem Sitz. Siehe Bild 59 für eine Beschreibung der einzelnen Sicherungen.
Entriegeln Sie das Sitzunterteil, klappen Sie das Sitzunterteil auf und stützen Sie es mit den Stützstangen ab.

Ersetzen Sie die defekte Sicherung durch denselben Sicherungstyp und denselben Amperewert.

Schließen Sie den Sitz und das Sitzunterteil zu und verriegeln Sie das Sitzunterteil.


Beim Laden der Batterie werden Gase erzeugt, die explodieren können.
Rauchen Sie nicht in der Nähe der Batterie und halten Funken und offene Flammen von der Batterie fern.
Important: Halten Sie die Batterie immer voll aufgeladen. Dies ist besonders wichtig zum Verhüten von Batterieschäden, wenn die Temperatur unter 0 °C fällt.
Reinigen Sie den Akkukasten und die Akkupole von außen.
Note: Schließen Sie die Batterieladegerätkabel an den Batteriepolen an, ehe Sie das Ladegerät mit der Stromquelle verbinden.
Schauen Sie sich die Batterie an und finden Sie heraus, welcher der Pluspol und welcher der Minuspol der Batterie ist.
Schließen Sie das Plus-Batterieladegerätkabel am Pluspol der Batterie an (Bild 60).

Schließen Sie das Minus-Batterieladegerätkabel am Minuspol der Batterie an (Bild 60).
Schließen Sie das Batterieladegerät an die Stromquelle an und laden Sie die Batterie auf.
Important: Überladen Sie die Batterie nicht.
Wenn die Batterie ganz aufgeladen ist, ziehen Sie den Stecker des Ladegeräts aus der Stromquelle. Klemmen Sie dann die Klemmen des Ladegeräts von den Batteriepolen ab (Bild 60).
| Wartungsintervall | Wartungsmaßnahmen |
|---|---|
| Nach der ersten Betriebsstunde |
|
| Nach 10 Betriebsstunden |
|
| Alle 250 Betriebsstunden |
|
Ziehen Sie die vorderen Achsnabenmuttern auf ein Drehmoment von 407 bis 542 N∙m an.
Wenn Ihre Maschine mit der CrossTrax®-Funktion ausgestattet ist, ziehen Sie die Muttern der Hinterachsnabe auf ein Drehmoment von 366 bis 447 N∙m an.

| Wartungsintervall | Wartungsmaßnahmen |
|---|---|
| Alle 800 Betriebsstunden |
|
Drehen Sie das Lenkrad so, dass die Hinterräder gerade nach vorne stehen.
Lösen Sie die Klemmmutter an jedem Ende der Spurstange (Bild 62).
Note: Das Ende der Spurstange mit der externen Rille ist ein Linksgewinde.

Drehen Sie die Spurstange mit dem Schraubenschlüsselschlitz.
Messen Sie den Abstand vorne und hinten an den Hinterrädern auf Achshöhe.
Note: Der Abstand vorne an den Hinterrädern sollte 6 mm kleiner als der Abstand hinten an den Rädern sein.
Wiederholen Sie diesen Vorgang nach Bedarf.
Ein Verschlucken von Motorkühlmittel kann zu Vergiftungen führen; Kinder und Haustiere sollten keinen Zugang zum Kühlmittel haben.
Ablassen von heißem, unter Druck stehendem Kühlmittel bzw. eine Berührung des heißen Kühlers und benachbarter Teile kann zu schweren Verbrennungen führen.
Lassen Sie den Motor immer für mindestens 15 Minuten abkühlen, bevor Sie den Kühlerdeckel abnehmen.
Verwenden Sie beim Öffnen des Kühlerdeckels einen Lappen und öffnen den Kühler langsam, damit Dampf ohne Gefährdung austreten kann.
Setzen Sie die Maschine nie mit abgenommenen Abdeckungen ein.
Halten Sie Finger, Hände und Kleidungsstücke vom sich drehenden Lüfter und dem Treibriemen fern.
Der Kühlmittelbehälter ist werkseitig mit einer 50/50-Lösung aus Wasser und langlebigem Kühlmittel auf Ethylenglykolbasis gefüllt.
Important: Verwenden Sie nur handelsübliche Kühlmittel, die den in der Tabelle Kühlmittelprodukte mit verlängerter Lebensdauer“ aufgeführten Spezifikationen entsprechen.Verwenden Sie kein herkömmliches (grünes) Kühlmittel mit anorganischer Säuretechnologie (IAT) in Ihrer Maschine. Mischen Sie kein herkömmliches Kühlmittel mit Kühlmittel mit verlängerter Lebensdauer.
|
Ethylen-Glykol Kühlmittel |
Korrosionsinhibitor |
|
Frostschutzmittel mit verlängerter Lebensdauer |
Organische-Säure Technologie (OAT) |
|
Important: Verlassen Sie sich nicht auf die Farbe des Kühlmittels, um den Unterschied zwischen herkömmlichen (grün) Kühlmittel mit anorganischer Säuretechnologie (IAT) und Kühlmittel mit verlängerter Lebensdauer zu erkennen.Hersteller können Kühlmittel mit verlängerter Lebensdauer in einer der folgenden Farben einfärben: rot, rosa, orange, gelb, blau, türkis, violett und grün. Verwenden Sie Kühlmittel, die den in der Tabelle Kühlmittelprodukte mit verlängerter Lebensdauer“ Spezifikationen entsprechen. |
|
|
ATSM International |
SAE International |
|
D3306 und D4985 |
J1034, J814 und 1941 |
Important: Die Kühlmittelkonzentration sollte ein 50/50-Gemisch aus Kühlmittel und Wasser sein.
Bevorzugt: Wenn Sie Kühlmittel aus einem Konzentrat mischen, mischen Sie es mit destilliertem Wasser.
Bevorzugte Option: Wenn kein destilliertes Wasser verfügbar ist, verwenden Sie ein vorgemischtes Kühlmittel anstelle eines Konzentrats.
Mindestanforderung: Wenn destilliertes Wasser und vorgemischtes Kühlmittel nicht zur Verfügung stehen, mischen Sie konzentriertes Kühlmittel mit sauberem Trinkwasser.
| Wartungsintervall | Wartungsmaßnahmen |
|---|---|
| Bei jeder Verwendung oder täglich |
|
Das Kühlsystem enthält eine 50:50-Mischung aus Wasser und permanentem Ethylenglykol-Frostschutzmittel. Fassungsvermögen des Kühlsystems: 9,5 l.
Prüfen Sie den Kühlmittelstand im Ausdehnungsgefäß (Bild 63).
Note: Er muss sich zwischen den Marken an der Seite des Gefäßes befinden.

Entfernen Sie bei niedrigem Stand des Kühlmittels den Deckel vom Ausdehnungsgefäß und füllen entsprechend nach. Füllen Sie nicht zu viel ein.
Setzen Sie den Deckel des Ausdehnungsgefäßes auf.
| Wartungsintervall | Wartungsmaßnahmen |
|---|---|
| Bei jeder Verwendung oder täglich |
|
| Alle 100 Betriebsstunden |
|
| Alle 2 Jahre |
|
Entfernen Sie täglich allen Schmutz vom Gitter und Kühler bzw. Ölkühler. Reinigen Sie bei schmutzigen Bedingungen häufiger.
Stellen Sie den Schlüssel im Zündschloss in die AUS-Stellung und ziehen ihn ab.
Entfernen Sie alle Rückstände aus dem Motorbereich.
Entriegeln Sie den Riegel und drehen Sie das hintere Gitter auf (Bild 64).

Reinigen Sie beide Seiten des Kühlers bzw. Ölkühlers (Bild 65) gründlich mit Druckluft.

Schließen Sie das Gitter und befestigen Sie den Riegel.
| Wartungsintervall | Wartungsmaßnahmen |
|---|---|
| Nach 10 Betriebsstunden |
|
| Alle 100 Betriebsstunden |
|
Note: Bei einer richtigen Riemenspannung lässt sich der Riemen 10 mm durchbiegen, wenn eine Kraft von 44 N in der Mitte zwischen den Riemenscheiben angesetzt wird.
Lockern Sie bei einer Durchbiegung von mehr oder weniger als 10 mm die Befestigungsschrauben der Lichtmaschine (Bild 66).

Erhöhen oder reduzieren Sie die Spannung des Lichtmaschinen-Treibriemens und ziehen Sie die Schrauben wieder fest.
Prüfen Sie die Riemenspannung noch einmal auf korrekte Einstellung.
Suchen Sie beim Einspritzen unter die Haut sofort einen Arzt auf. In die Haut eingedrungene Flüssigkeit muss sie innerhalb weniger Stunden von einem Arzt entfernt werden.
Stellen Sie sicher, dass alle Hydraulikschläuche und -leitungen in gutem Zustand und alle Hydraulikverbindungen und -anschlussstücke fest angezogen sind, bevor Sie die Hydraulikanlage unter Druck setzen.
Halten Sie Ihren Körper und Ihre Hände von Nadellöchern und Düsen fern, aus denen Hydrauliköl unter hohem Druck ausgestoßen wird.
Gehen Sie hydraulischen Undichtheiten nur mit Pappe oder Papier nach.
Lassen Sie den Druck in der Hydraulikanlage auf eine sichere Art und Weise ab, bevor Sie irgendwelche Arbeiten an der Hydraulikanlage durchführen.
Der Behälter wird im Werk mit hochwertigem Hydrauliköl gefüllt. Prüfen Sie den Stand des Hydrauliköls vor dem ersten Anlassen des Motors und dann täglich; siehe Prüfen des Hydraulikölstands.
Empfohlenes Hydrauliköl: Toro PX Extended Life Hydraulic Fluid; erhältlich in 19-l-Eimern oder 208-l-Fässern.
Note: An einer Maschine, die mit dem empfohlenen Ersatzhydrauliköl befüllt wird, muss weniger häufig ein Öl- oder Filterwechsel durchgeführt werden.
Ersatzölsorten: Wenn das Toro PX Extended Life Hydraulic Fluid nicht erhältlich ist, können Sie andere handelsübliche, auf Erdöl basierende, Hydraulikflüssigkeiten verwenden, dessen Spezifikationen für alle folgenden Materialeigenschaften im aufgeführten Bereich liegen und die Industrienormen erfüllen. Kein synthetisches Öl verwenden. Wenden Sie sich an den Ölhändler, um einen entsprechenden Ersatz zu finden.
Note: Toro haftet nicht für Schäden, die aus einer unsachgemäßen Substitution entstehen. Verwenden Sie also nur Erzeugnisse namhafter Hersteller, die für die Qualität ihrer Produkte garantieren.
| Materialeigenschaften: | ||
| Viskosität, ASTM D445 | cSt @ 40 °C, 44 bis 48 | |
| Viskositätsindex ASTM D2270 | 140 oder höher | |
| Stockpunkt, ASTM D97 | -34 °C bis -45 °C | |
| Branchenspezifikationen: | Eaton Vickers 694 (I-286-S, M-2950-S/35VQ25 oder M-2952-S) | |
Note: Viele Hydraulikölsorten sind fast farblos, was das Erkennen von undichten Stellen erschwert. Als Beimischmittel für das Hydrauliköl können Sie ein rotes Färbmittel in 20 ml Flaschen kaufen. Eine Flasche reicht für 15-22 l Hydrauliköl. Sie können es unter der Teilenummer 44-2500 über Ihren Toro-Vertragshändler beziehen.
Important: Das synthetische und biologisch abbaubare Hydrauliköl Toro Premium ist das einzige von Toro zugelassene synthetische biologisch abbaubare Hydrauliköl. Dieses Öl ist mit den Elastomeren kompatibel, die in den Hydraulikanlagen von Toro verwendet werden, und eignet sich für viele Klimata. Dieses Öl ist mit konventionellen Mineralölen kompatibel. Sie sollten die Hydraulikanlage jedoch gründlich spülen, um das konventionelle Öl zu entfernen, um die beste biologische Abbaubarkeit und Leistung zu erhalten. Das Öl ist in Behältern mit 19 L oder Fässern mit 208 L bei Ihrem Toro-Vertragshändler erhältlich.
| Wartungsintervall | Wartungsmaßnahmen |
|---|---|
| Bei jeder Verwendung oder täglich |
|
| Alle 200 Betriebsstunden |
|
Stellen Sie die Maschine auf einer ebenen Fläche ab, senken die Mähwerke ab und stellen den Schlüssel im Schalter in die AUS-Stellung.
Prüfen Sie den Stand des Hydrauliköls (Bild 67).


| Wartungsintervall | Wartungsmaßnahmen |
|---|---|
| Alle 800 Betriebsstunden |
|
| Alle 2000 Betriebsstunden |
|
| Alle 2 Jahre |
|
Fassungsvermögen der Hydraulikanlage: 56,7 l
Wenn das Öl verunreinigt wird, setzen Sie sich mit Ihrem Toro-Vertragshändler in Verbindung, um die Anlage spülen zu lassen. Verunreinigtes Öl sieht im Vergleich zu sauberem Öl milchig oder schwarz aus.
Stellen Sie den Schlüssel im Schalter in die AUS-Stellung und öffnen Sie die Motorhaube.
Stellen Sie eine große Auffangwanne unter das Anschlussstück, das unten am Hydraulikölbehälter befestigt ist (Bild 68).

Schließen Sie den Schlauch unten am Anschlussstück ab und lassen das Hydrauliköl in eine Auffangwanne ablaufen.
Schließen Sie den Schlauch an, wenn kein Öl mehr ausströmt.
Füllen Sie den Hydraulikbehälter mit Hydrauliköl (Bild 67).
Important: Verwenden Sie nur die angegebenen Hydrauliköle. Andere Ölsorten können die hydraulische Anlage beschädigen.
Schrauben Sie den Behälterdeckel wieder auf.
Drehen Sie den Schlüssel im Schalter in die EIN-Stellung, lassen Sie den Motor an, benutzen Sie alle hydraulischen Bedienelemente, um das Hydrauliköl in der ganzen Anlage zu verteilen, prüfen Sie auch auf undichte Stellen.
Drehen Sie den Schlüssel im Schalter in die AUS-Stellung.
Prüfen Sie anschließend den Füllstand und gießen, wenn der Ölstand zu niedrig ist, so viel Öl ein, dass der Ölstand die Voll-Markierung erreicht.
Important: Füllen Sie nicht zu viel ein.
| Wartungsintervall | Wartungsmaßnahmen |
|---|---|
| Alle 800 Betriebsstunden |
|
| Alle 1000 Betriebsstunden |
|
Die Hydraulikanlage hat eine Wartungsintervallanzeige (Bild 69). Schauen Sie sich die Anzeige bei laufendem Motor an, sie sollte in der grünen Zone liegen. Wechseln Sie die Hydraulikfilter, wenn die Anzeige im roten Bereich liegt.

Important: Der Einsatz anderer Filter führt u. U. zum Verlust Ihrer Garantieansprüche für einige Bauteile.
Stellen Sie die Maschine auf eine ebene Fläche, senken die Mähwerke ab, drehen den Schlüssel im Schalter in die AUS-Stellung, aktivieren die Feststellbremsen und ziehen den Zündschlüssel ab.
Tauschen Sie beide Hydraulikfilter aus (Bild 70).


Drehen Sie den Schlüssel im Schalter in die EIN-Stellung, lassen Sie den Motor an und lassen ihn ca. zwei Minuten lang laufen, um die Anlage zu entlüften.
Stellen Sie den Schlüssel im Schalter in die AUS-Stellung und prüfen Sie auf undichte Stellen.
| Wartungsintervall | Wartungsmaßnahmen |
|---|---|
| Bei jeder Verwendung oder täglich |
|
| Alle 2 Jahre |
|
Führen Sie alle erforderlichen Reparaturen vor der Inbetriebnahme durch.
Unter Druck austretendes Hydrauliköl kann unter die Haut dringen und Verletzungen verursachen.
Konsultieren Sie beim Einspritzen unter die Haut sofort einen Arzt.
Stellen Sie sicher, dass alle Hydraulikschläuche und -leitungen in gutem Zustand sind, und dass alle Hydraulikverbindungen und -anschlussstücke fest angezogen sind, bevor Sie die Hydraulikanlage unter Druck setzen.
Halten Sie Ihren Körper und Ihre Hände von Nadellöchern und Düsen fern, aus denen Hydrauliköl unter hohem Druck ausgestoßen wird.
Gehen Sie hydraulischen Undichtheiten nur mit Pappe oder Papier nach.
Lassen Sie den Druck in der Hydraulikanlage auf eine sichere Art und Weise ab, bevor Sie irgendwelche Arbeiten an der Hydraulikanlage durchführen.
Testen Sie mit den Teststellen der Hydraulikanlage den Druck in den hydraulischen Kreisen. Wenden Sie sich an den offiziellen Toro Vertragshändler.
Identifizieren und beschreiben Sie anhand der Liste unten die verschiedenen Funktionen der Stromspulen im Hydraulikverteiler. Jede Stromspule muss aktiviert werden, um die Funktion auszulösen.
| Stromspule | Funktion |
|---|---|
| PRV2 | Frontmähwerk-Schaltkreis |
| PRV1 | Heckmähwerk-Schaltkreis |
| PRV | Mähwerke anheben/absenken |
| S1 | Absenden der Mähwerke |
| S2 | Absenden der Mähwerke |
Stellen Sie die Maschine auf eine ebene Fläche, senken die Schneideinheiten ab, stellen den Schlüssel im Schalter in die AUS-Stellung und aktivieren die Feststellbremse.
Schließen Sie den Hydraulikmotor von der Schneideinheit ab und nehmen Sie ihn ab (Bild 71). Decken Sie die Spindeloberseite ab, um einer Verunreinigung vorzubeugen.

Entfernen Sie den Klappstecker, mit dem der Trägerrahmen des Mähwerks am Lagerbolzen des Hubarms befestigt ist (Bild 72).

Rollen Sie die Schneideinheit von der Zugmaschine weg.
Stellen Sie die Maschine auf eine ebene Fläche und stellen Sie den Schlüssel im Schalter in die AUS-Stellung.
Stellen Sie die Schneideinheit vor die Zugmaschine.
Schieben Sie den Mähwerkträgerrahmen auf den Lagerbolzen des Hubarms und befestigen ihn mit dem Klappstecker (Bild 72).
Montieren Sie den Hydraulikmotor am Mähwerk (Bild 71) Stellen Sie sicher, dass sich der O-Ring unbeschädigt in seiner Position befindet.
Fetten Sie die Spindel ein.
Prüfen Sie die Frontrolle auf Abnutzung, starkes Flattern oder Kleben. Warten oder ersetzen Sie die Rolle oder die Komponenten, wenn Sie eines dieser Symptome feststellen.
Entfernen Sie die Rollenbefestigungsschraube (Bild 73).
Führen Sie einen Dorn durch das Ende des Rollengehäuses ein und treiben das gegenüberliegende Lager durch abwechselndes Klopfen auf die gegenüberliegende Seite des inneren Lagerrings. Es sollten ungefähr 1,5 mm des inneren Rings sichtbar sein.

Drücken Sie das zweite Lager mit einer Presse aus.
Prüfen Sie das Rollengehäuse, die Lager und das Distanzstück auf Beschädigungen (Bild 73). Tauschen Sie alle beschädigten Teile aus und bauen Sie alles wieder zusammen.
Drücken Sie das erste Lager in das Rollengehäuse (Bild 73). Drücken Sie dabei nur auf den äußeren Ring oder gleichmäßig auf die inneren und äußeren Ringe.
Setzen Sie ein Distanzstück ein (Bild 73).
Drücken Sie das zweite Lager in das Rollengehäuse (Bild 73). Drücken Sie gleichmäßig auf den inneren und äußeren Ring, bis der innere Ring das Distanzstück berührt.
Montieren Sie die Rolle am Mähwerkrahmen.
Stellen Sie sicher, dass der Abstand zwischen der Rolle und den Befestigungshalterungen der Rolle am Mähwerkrahmen höchstens 1,5 mm ist. Setzen Sie ausreichend Scheiben (⅝") ein, wenn der Abstand größer als 1,5 mm ist, um dieses Spiel zu beseitigen.
Important: Das Befestigen der Rolle mit einem Abstand größer als 1,5 mm erzeugt eine seitliche Belastung des Lagers, die zu einem frühzeitigem Ausfall führen kann.
Ziehen Sie die Befestigungsschraube mit 108 N∙m an.
Prüfen Sie das Messer regelmäßig auf Abnutzung und Defekte.
Kontrollieren Sie die Messer vorsichtig. Wickeln Sie die Messer in einen Lappen ein oder tragen Handschuhe; gehen Sie bei der Wartung der Messer mit besonderer Vorsicht vor. Wechseln oder schärfen Sie die Messer, sie dürfen keinesfalls geglättet oder geschweißt werden.
Denken Sie bei Maschinen mit mehreren Schnittmessern daran, dass ein rotierendes Schnittmesser das Mitdrehen anderer Schnittmesser verursachen kann.
Das Sichelmähwerk wird im Werk auf eine Schnitthöhe von 5 cm und eine Messerneigung von 7,9 mm eingestellt. Die linke und rechte Höheneinstellung ist ebenfalls mit einem maximalen Unterschied von ±0,7 mm eingestellt.
Das Mähwerk wurde so ausgeführt, dass es Schläge auf die Messer ohne Verformen der Kammer standhalten kann. Prüfen Sie nach einem Aufprallen auf einen festen Gegenstand das Messer auf eventuelle Schäden und das Messerniveau auf korrekten Stand.
Entfernen Sie den Hydraulikmotor vom Mähwerk und entfernen das Mähwerk von der Zugmaschine.
Stellen Sie das Mähwerk mit Hilfe eines Flaschenzuges (oder mindestens mit zwei Personen) auf eine flache Werkbank.
Markieren Sie ein Ende des Messers mit einem Farbstift oder Markierapparat. Benutzen Sie diese Seite des Messers zum Prüfen aller Höheneinstellungen.
Positionieren Sie die Schnittkante der markierten Messerseite in die 12-Uhr-Stellung (geradeaus in Mährichtung) (Bild 74) und messen die Höhe vom Tisch bis zur Schnittkante.

Drehen Sie die markierte Seite des Messers auf die 3- und die 9-Uhr-Stellung (Bild 74) und messen die Höhe.
Vergleichen Sie die in der 12-Uhr-Stellung gemessene Höhe mit der Schnitthöheneinstellung. Beide Werte müssen innerhalb von 0,7 mm liegen. Die Werte in der 3-Uhr- und der 9-Uhr-Stellung sollten 1,6 mm bis 6,0 mm höher als der 12-Uhr-Wert sein und sich nicht mehr als 1,6 mm bis 6,0 mm unterscheiden.
Note: Wenn einer dieser Werte außerhalb der angegebenen Toleranz liegt, verfahren Sie wie folgt Einstellen des Messerniveaus.
Beginnen Sie mit der vorderen Einstellung (stellen Sie jeweils eine Halterung ein).
Entfernen Sie die Schnitthöhen-Einstellhalterung (vorne, links oder rechts) vom Mähwerkrahmen (Bild 75).
Führen Sie 1,5-mm- und/oder 0,7-mm-Beilagscheiben zwischen dem Mähwerkrahmen und der Halterung ein, um die gewünschte Schnitthöhe zu erhalten (Bild 75).

Bringen Sie die Schnitthöhen-Einstellhalterung am Mähwerkrahmen mit den restlichen Beilagscheiben unter dem Bügel an.
Ziehen Sie die Sechskantschraube bzw. das Distanzstück und die Bundmutter an.
Note: Die Sechskantschraube und das Distanzstück werden mit Gewindesperrmittel verbunden, damit das Distanzstück nicht in den Mähwerkrahmen fallen kann.
Prüfen Sie die Höhe auf der 12-Uhr-Einstellung und führen bei Bedarf eine weitere Einstellung durch.
Bestimmen Sie, ob nur ein oder beide Schnitthöheneinstellhalterungen (rechts und links) eingestellt werden muss bzw. müssen. Wenn die 3-Uhr- oder 9-Uhr-Seite 1,6 mm bis 6,0 mm höher als die neue vordere Höhe ist, erübrigt sich die Einstellung an dieser Seite. Stellen Sie die andere Seite so ein, dass der Wert sich nicht mehr als 1,6 mm bis 6,0 mm von der richtigen Seite unterscheidet.
Wiederholen Sie die Schritte 1 bis 3 für das Einstellen der rechten und/oder linken Schnitthöheneinstellhalterungen.
Ziehen Sie die Schlossschrauben und Bundmuttern fest.
Prüfen Sie dann wieder die 12-Uhr-, 3-Uhr- und 9-Uhr-Stellungen nach.
Wechseln Sie das Messer aus, wenn es einen festen Gegenstand berührt, nicht ausgewuchtet oder verbogen ist. Benutzen Sie immer nur Originalersatzmesser von Toro, um die sichere und optimale Leistung der Maschine sicherzustellen.
Parken Sie die Maschine auf einer ebenen Fläche, heben Sie das Mähwerk in die Transportstellung an, aktivieren Sie die Feststellbremse, stellen Sie den Motor ab und ziehen Sie den Schlüssel ab.
Note: Blockieren Sie oder sperren Sie das Mähwerk so, dass sie nicht herunterfallen kann.
Halten Sie das Ende des Messers mit einem stark wattierten Handschuh oder wickeln Sie einen Lappen um es herum.
Entfernen Sie die Messerschraube, die Antiskalpierkuppe und das Messer von der Spindelwelle (Bild 76).

Bringen Sie das Messer, die Antiskalpierkuppe und die Messerschraube an und ziehen Sie die Messerschraube mit 115-149 N∙m an.
Important: Der gebogene Teil des Schnittmessers muss zur Innenseite der Schneideinheit zeigen, um einen guten Schnitt sicherzustellen.
Note: 7Wenn Sie auf einen Fremdkörper aufgeprallt sind, ziehen Sie alle Riemenscheibenmuttern der Spindeln bis auf 115-149 N∙m an.
Heben Sie das Mähwerk in die Transportstellung an, drehen Sie den Schlüssel im Zündschloss in die AUS-Stellung und aktivieren Sie die Feststellbremse.
Blockieren Sie das Mähwerk so, dass es nicht herunterfallen kann.
Prüfen Sie die Schnittkanten des Messers sorgfältig, insbesondere dort, wo die geraden Flächen die gebogenen berühren (Bild 77).
Note: Da Sand und anderes reibendes Material das Metall abschleifen kann, das die flachen mit den gebogenen Teilen verbindet, müssen Sie das Messer vor jedem Einsatz der Maschine prüfen.
Wenn Sie Abnutzungen (Bild 77) feststellen, sollten Sie das Messer auswechseln, siehe Prüfen des Messerniveaus
Wenn sich das Messer abwetzen kann, bildet sich ein Schlitz zwischen dem Windflügel und dem flachen Teil des Messers (Bild 77). Zuletzt kann sich ein Stück des Messers lösen und aus dem Gehäuse herausgeschleudert werden. Das kann zu schweren Verletzungen bei Ihnen selbst und Unbeteiligten führen.
Prüfen Sie das Messer regelmäßig auf Abnutzung und Defekte.
Tauschen Sie ein abgenutztes oder defektes Messer immer aus.

Untersuchen Sie die Schnittkanten aller Messer. Schärfen Sie alle stumpfen und ausgekerbten Schnittkanten. Schärfen Sie nur die Oberseite der Schnittkante und behalten dabei den ursprünglichen Schnittwinkel bei, um die Schärfe des Messers zu gewährleisten (Bild 78).
Wenn das Messer stumpf ist oder Kerben hat, schärfen Sie nur die Oberseite der Schnittkante und behalten den Originalschnittwinkel bei (Bild 78).
Note: Das Schnittmesser behält seine Auswuchtung bei, wenn von beiden Schnittkanten die gleiche Materialmenge entfernt wird.

Legen Sie das Messer, um seine Geradheit und Parallelität zu prüfen, auf eine flache Oberfläche und prüfen seine Enden.
Note: Die Enden des Messers müssen etwas tiefer als die Mitte liegen, und die Schnittkante muss etwas tiefer liegen als der Messerrücken. Dieses Messer erzeugt eine gute Schnittqualität und nimmt eine minimale Motorleistung in Anspruch. Wenn ein Messer dagegen höhere Enden als die Mitte aufweist oder dessen Schnittkanten höher als sein Rücken sind, ist es verbogen oder verzerrt und muss ausgetauscht werden.

Setzen Sie das Messer (der Flügel sollte zum Mähwerk zeigen) mit der Antiskalpierkuppe und der Messerschraube ein. Ziehen Sie die Messerschraube bis auf 115-149 N∙m an.
Stellen Sie vor dem Verlassen des Fahrersitzes den Motor ab, ziehen Sie den Schlüssel ab und warten Sie, bis alle beweglichen Teile zum Stillstand gekommen sind. Lassen die Maschine abkühlen, bevor Sie sie einstellen, warten, reinigen, oder einlagern.
Lagern Sie die Maschine oder den Benzinkanister nie an Orten mit offener Flamme, Funken oder Zündflamme, z. B. Warmwasserbereiter, oder anderen Geräten.
Important: Verwenden Sie zur Reinigung der Maschine kein Brack- oder wiederaufbereitetes Wasser.
Reinigen Sie die Zugmaschine, Mähwerke und den Motor gründlich.
Prüfen des Reifendrucks. Pumpen Sie alle Reifen der Zugmaschine auf 83-103 kPa auf (12-15 psi).
Prüfen Sie auf lockere Befestigungsteile und ziehen diese bei Bedarf fest.
Fetten Sie alle Schmiernippel und Drehpunkte ein. Wischen Sie überflüssigen Schmierstoff ab.
Schmirgeln Sie alle Lackschäden leicht und bessern Bereiche aus, die angekratzt, abgesprungen oder verrostet sind. Reparieren Sie alle Blechschäden.
Warten Sie den Akku und die Akkukabel wie folgt:
Entfernen Sie die Akkuklemmen von den -polen.
Note: Klemmen Sie immer zuerst die Minusklemme und dann die Plusklemme ab. Schließen Sie immer zuerst den Pluspol und dann den Minuspol an.
Reinigen Sie Akku, -klemmen und -pole mit einer Drahtbürste und Natronlauge.
Überziehen Sie die Kabelanschlussklemmen und Akkupole mit Grafo 112X-Fett (Bestellnummer 505-47) oder mit Vaseline, um einer Korrosion vorzubeugen.
Laden Sie die Batterie alle 60 Tage 24 Stunden lang langsam auf, um einer Bleisulfation des Akkus vorzubeugen.
Lassen Sie das Motoröl in eine Auffangwanne ablaufen und schrauben die Ablassschraube wieder ein.
Entfernen und entsorgen Sie den Ölfilter. Montieren Sie einen neuen Ölfilter.
Füllen Sie die Ölwanne mit der entsprechenden Menge Motoröl.
Stellen Sie den Schlüssel im Schalter in die EIN-Stellung, lassen Sie den Motor an und lassen ihn für ca. zwei Minuten im Leerlauf laufen.
Drehen Sie den Schlüssel im Schalter in die AUS-Stellung.
Entleeren Sie den Kraftstofftank, die -leitungen, den -filter und den Wasserabscheider gründlich.
Spülen Sie den Kraftstofftank mit frischem, sauberem Diesel.
Befestigen Sie alle Teile der Kraftstoffanlage.
Reinigen und warten Sie den Luftfilter gründlich.
Dichten Sie die Ansaugseite des Luftfilters und das Auspuffrohr mit witterungsbeständigem Klebeband ab.
Prüfen Sie den Frostschutz und füllen Sie bei Bedarf Frostschutzmittel entsprechend den in Ihrem Gebiet zu erwartenden Mindesttemperaturen nach.
Setzen Sie, wenn die Schneideinheit längere Zeit von der Zugmaschine abgetrennt wird, einen Spindelstöpsel in der Oberseite der Spindel ein, um diese gegen Staub und Wasser zu schützen.