![]() |
警告 | |

![]() |
危険 | |
![]() |
警告 | |
![]() |
注意 | |




| 緑色 - 点滅
|
ワイヤーは正常に動作しています。
|
| 赤色 - 点滅
|
ペリフェラルワイヤーが検出できません。ワイヤーが切れているか、長すぎることが原因である可能性があります。
|
| 赤色 - 点灯
|
これは問題を示しています。これは、ワイヤが短すぎる(200 m未満)か、電子機器に問題がある可能性があります。
|



| 幅
|
45 cm
|
| 長さ
|
85 cm
|
| 高さ
|
34.5 cm
|
| 動作温度 |
より高い温度に対しては、0°C~50°C の温度保護が適用されています |
| 侵入保護 |
IPX4
|
| 電源入力 |
100 VAC 3.5 A 50-60HZ |
| 充電出力 |
31 VDC 10.7 A
|
| 出力回路 |
クラス II
|

| 重要 |
| 重要 |


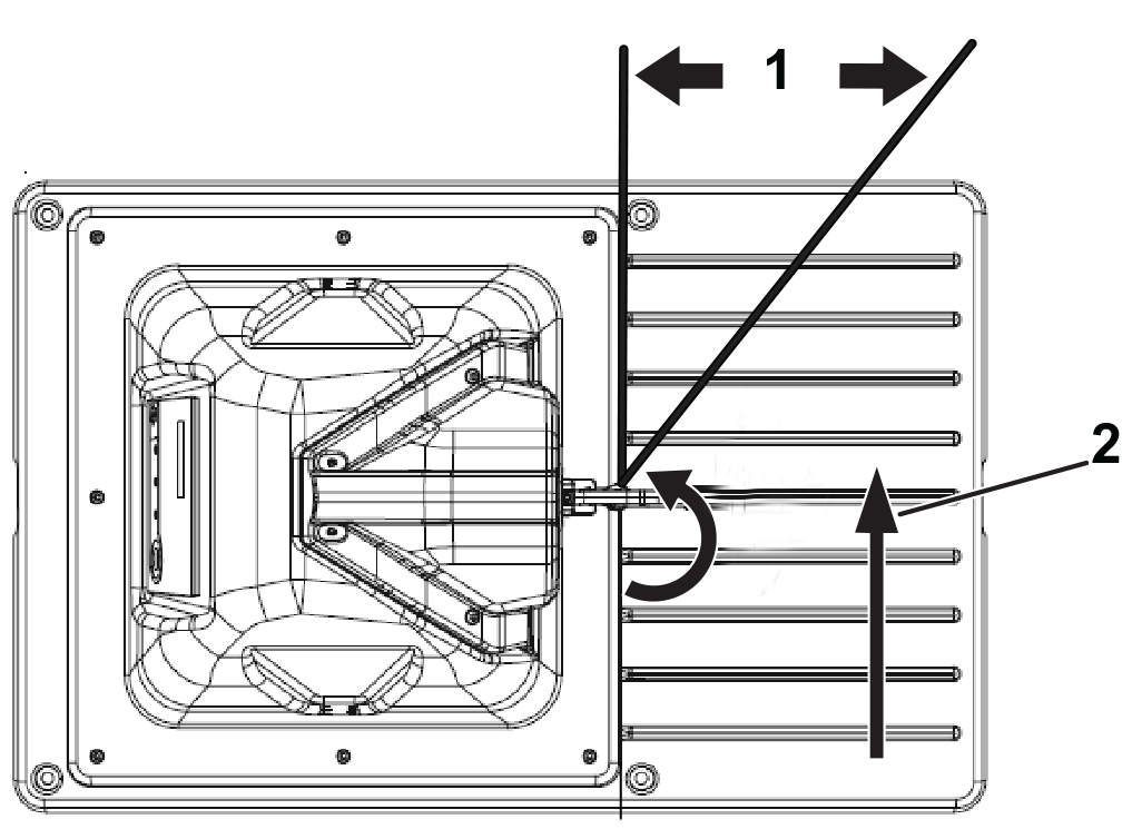
| 重要 |





にワイヤーを通す。









![]() |
このロボットはヨーロッパの基準を満たしています。
|
![]() |
リサイクル: 廃棄する電気製品および電子機器は選択収集の対象となります。ロボットは現行の基準に従ってリサイクルしてください。
|
| バッテリー上のアイコン
|
|
![]() |
バッテリーを取り扱ったり使ったりする前に、必ず説明書をよく読んでください。
|
![]() |
バッテリーと水の接触を避けてください。
|
![]() |
注意 – バッテリーの取り扱いと使用には注意してください。粉砕、加熱、焼却、ショート、分解、または液体への浸漬を行わないでください。漏れや破裂の危険があります。0℃以下では充電しないでください。ユーザーマニュアルで指定された充電器のみを使ってください。
|
![]() |
バッテリーをリサイクルに出してください。バッテリーのリサイクル手順については、ユーザーマニュアルを参照してください。
|
![]() |
バッテリーの極性を示します。
|