| Périodicité d'entretien | Procédure d'entretien |
|---|---|
| À chaque utilisation ou une fois par jour |
|
Cette tondeuse autotractée à lame rotative est destinée au grand public. Elle est principalement conçue pour tondre les pelouses entretenues régulièrement dans les terrains privés. L'utilisation de ce produit à d'autres fins que celle prévue peut être dangereuse pour vous-même et toute personne à proximité.
Lisez attentivement cette notice pour apprendre comment utiliser et entretenir correctement votre produit, et éviter ainsi de l'endommager ou de vous blesser. Vous êtes responsable de l'utilisation sûre et correcte du produit.
Pour plus d'information, y compris des conseils de sécurité, des documents de formation, des renseignements concernant un accessoire, pour obtenir l'adresse d'un dépositaire ou pour enregistrer votre produit, rendez-vous sur le site www.Toro.com.
Veillez à enregistrer votre machine sur www.Toro.com/register. L'enregistrement vous permet d'être informé(e) en cas de rappel d'un produit. Vos données d'enregistrement ne sont jamais vendues ou partagées avec des sociétés tierces. Pour éviter le gaspillage et protéger l'environnement, votre produit n'est pas automatiquement fourni avec une goulotte d'éjection (la plupart des clients préfèrent recycler ou récupérer les déchets de coupe dans le bac de ramassage). Vous pouvez demander une goulotte d'éjection quand vous enregistrez votre produit sur www.Toro.com/register. Cochez simplement la case correspondante sur le formulaire d'enregistrement en ligne et Toro vous enverra une goulotte d'éjection sans frais supplémentaires. Les goulottes d'éjection seront expédiées en fonction des stocks disponibles.
Pour obtenir des prestations de service, des pièces Toro d'origine ou des renseignements complémentaires, munissez-vous des numéros de modèle et de série du produit et contactez un dépositaire-réparateur ou le service client Toro agréé. La Figure 1 indique l'emplacement des numéros de modèle et de série du produit. Inscrivez les numéros de modèle et de série du produit dans l'espace réservé à cet effet.
Important: Avec votre appareil mobile, vous pouvez scanner le code QR sur l'autocollant du numéro de série (le cas échéant) pour accéder à l'information sur la garantie, les pièces détachées et autres renseignements concernant le produit

Le symbole de sécurité (Figure 2) utilisé dans ce manuel et sur la machine identifie d'importants messages de sécurité dont vous devez tenir compte pour éviter des accidents.

Le symbole de sécurité apparaît au-dessus de toute information signalant des actions ou des situations dangereuses. Il est suivi de la mention DANGER, ATTENTION ou PRUDENCE.
DANGER signale un danger immédiat qui, s'il n'est pas évité, entraînera obligatoirement des blessures graves ou mortelles.
ATTENTION signale un danger potentiel qui, s'il n'est pas évité, risque d'entraîner des blessures graves ou mortelles.
PRUDENCE signale un danger potentiel qui, s'il n'est pas évité, peut éventuellement entraîner des blessures légères ou modérées.
Ce manuel utilise également deux autres termes pour faire passer des renseignements essentiels. Important pour attirer l'attention sur une information d'ordre mécanique spécifique, et Remarque pour souligner une information d'ordre général méritant une attention particulière.
Vous commettez une infraction à la section 4442 ou 4443 du Code des ressources publiques de Californie si vous utilisez cette machine dans une zone boisée, broussailleuse ou recouverte d'herbe, à moins d'équiper le moteur d'un pare-étincelles en bon état, tel que défini dans la section 4442, ou à moins que le moteur soit construit, équipé et entretenu correctement pour prévenir les incendies.
Le manuel du propriétaire du moteur ci-joint est fourni à titre informatif concernant la réglementation de l'Agence américaine pour la protection de l'environnement (EPA) et la réglementation antipollution de l'état de Californie relative aux systèmes antipollution, à leur entretien et à leur garantie. Vous pouvez vous en procurer un nouvel exemplaire en vous adressant au constructeur du moteur.
Couple brut ou net : le couple brut ou net de ce moteur a été calculé en laboratoire par le constructeur du moteur selon la norme SAE J1940 ou J2723 de la Society of Automotive Engineers (SAE). Étant configuré pour satisfaire aux normes de sécurité, antipollution et d'exploitation, le moteur monté sur cette classe de tondeuse aura un couple effectif nettement inférieur. Reportez-vous au manuel du constructeur du moteur fourni avec la machine.
CALIFORNIE
Proposition 65 - Avertissement
Les gaz d'échappement de ce produit contiennent des substances chimiques considérées par l'état de Californie comme susceptibles de provoquer des cancers, des malformations congénitales et autres troubles de la reproduction.
L'utilisation de ce produit peut entraîner une exposition à des substances chimiques considérées pas l'état de Californie comme capables de provoquer des cancers, des anomalies congénitales ou d'autres troubles de la reproduction.
Ce produit peut sectionner les mains ou les pieds et projeter des objets. Respectez toujours toutes les consignes de sécurité pour éviter des blessures graves ou mortelles.
Vous devez lire, comprendre et respecter toutes les instructions et mises en garde qui figurent dans ce Manuel de l'utilisateur ainsi que sur la machine et les accessoires avant de démarrer le moteur.
Ne placez pas les mains ou les pieds près des pièces mobiles ou sous la machine. Ne vous tenez pas devant l'ouverture d'éjection.
N'utilisez pas la machine s'il manque des capots ou d'autres dispositifs de protection, ou s'ils sont en mauvais état.
N'admettez personne, notamment les enfants, dans le périmètre de travail. N'autorisez pas les enfants à utiliser la machine. Seules les personnes responsables, formées à l'utilisation de la machine, ayant lu et compris les instructions et physiquement aptes sont autorisées à utiliser la machine.
Arrêtez la machine, coupez le moteur et attendez l'arrêt complet de toutes les pièces mobiles avant de faire l'entretien, de faire le plein de carburant ou de déboucher la machine.
L'usage ou l'entretien incorrect de cette machine
peut occasionner des accidents. Pour réduire les risques d'accidents
et de blessures, respectez les consignes de sécurité
qui suivent. Tenez toujours compte des mises en garde signalées
par le symbole de sécurité
et la mention Prudence,
Attention ou Danger. Le non respect de ces instructions peut entraîner
des blessures graves voire mortelles.
![]() |
Des autocollants de sécurité et des instructions bien visibles par l'opérateur sont placés près de tous les endroits potentiellement dangereux. Remplacez tout autocollant endommagé ou manquant. |





Important: Retirez et mettez au rebut la pellicule de plastique qui protège le moteur ainsi que tout autre emballage ou élément en plastique utilisé sur la machine.


Important: Pour démarrer le moteur facilement et en toute sécurité chaque fois que vous utilisez la machine, installez le câble du lanceur dans le guide.

Important: Vous risquez d'endommager le moteur si vous le faites tourner alors que le niveau d'huile moteur est trop bas ou trop élevé.



| Modèle | Poids | Longueur | Largeur | Hauteur |
|---|---|---|---|---|
| 21565 | 40 kg | 154 cm | 58 cm | 115 cm |
| (88 lb) | (60,6 po) | (23 po) | (45,3 po) |
Une sélection d'outils et accessoires agréés par Toro est disponible pour augmenter et améliorer les capacités de la machine. Pour obtenir la liste de tous les accessoires et outils agréés, contactez votre dépositaire-réparateur ou votre distributeur Toro agréé, ou rendez-vous sur www.Toro.com.
Pour garantir un rendement optimal et conserver la certification de sécurité de la machine, utilisez uniquement des pièces de rechange et accessoires Toro d'origine. Les pièces de rechange et accessoires d'autres constructeurs peuvent être dangereux et leur utilisation risque d'annuler la garantie de la machine.
Note: Les côtés gauche et droit de la machine sont déterminés d'après la position d'utilisation normale.
Coupez toujours le moteur, attendez l'arrêt complet de toutes les pièces en mouvement et faites refroidir la machine avant de la régler, de la réparer, de la nettoyer ou de la remiser.
Familiarisez-vous avec le maniement correct du matériel, les commandes et les symboles de sécurité.
Vérifiez que tous les capots et dispositifs de sécurité, comme les déflecteurs et/ou le bac à herbe, sont en place et en bon état.
Vérifiez toujours que les lames et les boulons de lame ne sont pas usés ou endommagés.
Inspectez la zone de travail et débarrassez-la de tout objet pouvant gêner le fonctionnement de la machine ou être projeté pendant son utilisation.
Le contact avec la lame en mouvement entraîne des blessures graves. Ne mettez pas les doigts sous le carter.
Le carburant est extrêmement inflammable et hautement explosif. Un incendie ou une explosion causé(e) par du carburant peut vous brûler, ainsi que toute personne à proximité, et causer des dommages matériels.
Pour éviter que l'électricité statique n'enflamme le carburant, posez le bidon et/ou la machine directement sur le sol avant de faire le plein; ne les laissez pas dans un véhicule ou sur un support quelconque.
Faites le plein du réservoir de carburant à l'extérieur, dans un endroit bien dégagé, lorsque le moteur est froid. Essuyez tout carburant répandu.
Ne fumez pas lorsque vous manipulez du carburant et tenez-vous à l'écart des flammes nues ou sources d'étincelles.
N'enlevez pas le bouchon du réservoir de carburant et n'ajoutez pas de carburant quand le moteur tourne ou est encore chaud.
Si vous renversez du carburant, n'essayez pas de démarrer le moteur à cet endroit. Évitez de créer des sources d'inflammation jusqu'à dissipation complète des vapeurs de carburant.
Conservez le carburant dans un récipient homologué et hors de la portée des enfants.
Le carburant est toxique, voire mortel en cas d'ingestion. L'exposition prolongée aux vapeurs de carburant peut causer des blessures et des maladies graves.
Évitez de respirer les vapeurs de carburant de façon prolongée.
N'approchez pas le visage ou les mains du pistolet ni de l'ouverture du réservoir de carburant.
Tenez le carburant à l'écart des yeux et de la peau.
| Type | Essence sans plomb |
| Indice d'octane minimum | 87 (États-Unis) or 91 (octane recherche; hors États-Unis) |
| Éthanol | Pas plus de 10 % par volume |
| Méthanol | Aucune |
| MTBE (éther méthyltertiobutylique) | Moins de 15 % par volume |
| Huile | Ne pas ajouter au carburant |
Utilisez uniquement du carburant propre et frais (stocké depuis moins d'un mois) provenant d'une source fiable.
Important: Pour réduire les problèmes de démarrage, ajoutez au carburant frais la quantité de stabilisateur/conditionneur indiquée par le fabricant du stabilisateur/conditionneur.
Reportez-vous au manuel du propriétaire du moteur pour plus de renseignements.
Remplissez le réservoir de carburant comme montré à la Figure 9.

| Périodicité d'entretien | Procédure d'entretien |
|---|---|
| À chaque utilisation ou une fois par jour |
|
Important: Si vous faites tourner le moteur alors que le niveau d'huile dans le carter est trop bas ou trop élevé, vous risquez d'endommager le moteur.

Vous pouvez élever ou abaisser le guidon à la position qui vous convient le mieux. Voir la Figure 11 pour cette procédure.
Verrouillez le guidon.
Desserrez les écrous afin de permettre au boulon de carrosserie de coulisser à la position haute ou basse.
Réglez le guidon à la hauteur supérieure ou inférieure.
Resserrez les écrous.
Verrouillez les deux côtés du guidon en position.

Lors du réglage des leviers de hauteur de coupe, vous risquez de vous blesser gravement si vos mains touchent une lame en mouvement.
Coupez le moteur et attendez l'arrêt complet de toutes les pièces mobiles avant de régler la hauteur de coupe.
Ne mettez pas les doigts sous le carter du tablier de coupe quand vous réglez la hauteur de coupe.
Si le moteur vient de tourner, le silencieux est très chaud et peut vous brûler.
Ne vous approchez pas du silencieux encore chaud.
Choisissez la hauteur de coupe voulue. Réglez toutes les roues à la même hauteur de coupe (Figure 12).

Portez une tenue adéquate, y compris une protection oculaire, un pantalon, des chaussures solides à semelle antidérapante et des protecteurs d'oreilles. Si vos cheveux sont longs, attachez-les et ne portez pas de vêtements amples ni de bijoux pendants.
Accordez toute votre attention à l'utilisation de la machine. Ne vous livrez à aucune activité risquant de vous distraire, au risque de causer des dommages corporels ou matériels.
N'utilisez pas la machine si vous êtes malade ou fatigué(e), ni sous l'emprise de l'alcool, de drogues ou de médicaments.
La lame est tranchante et vous pouvez vous blesser gravement à son contact. Coupez le moteur et attendez l'arrêt complet de toutes les pièces mobiles avant de quitter la position d'utilisation.
Lorsque vous relâchez la barre de commande de la lame, le moteur et la lame doivent s'arrêter en moins de 3 secondes. Si ce n'est pas le cas, cessez immédiatement d'utiliser la machine et contactez un dépositaire-réparateur agréé.
N'admettez personne dans le périmètre de travail. Veillez à ce que les jeunes enfants restent hors du périmètre de travail, sous la garde d'un adulte responsable autre que l'utilisateur. Arrêtez la machine si quelqu'un entre dans la zone de travail.
Vérifiez toujours si la voie est libre juste derrière la machine et sur sa trajectoire avant de faire marche arrière.
N'utilisez la machine que si la visibilité est suffisante et dans de bonnes conditions météorologiques. N'utilisez pas la machine si la foudre menace.
En travaillant sur l'herbe ou les feuilles humides, vous risquez de glisser et de vous blesser gravement si vous touchez la lame en tombant. Évitez de tondre quand l'herbe est humide.
Faites preuve de la plus grande prudence à l'approche de tournants sans visibilité, de buissons, d'arbres ou d'autres objets susceptibles de masquer la vue.
Ne dirigez pas l'éjection vers qui que ce soit. N'éjectez pas l'herbe coupée contre un mur ou un obstacle, car elle pourrait ricocher dans votre direction. Arrêtez la (les) lame(s) quand vous passez sur du gravier.
Méfiez-vous des trous, ornières, bosses, rochers ou autres obstacles cachés. Les irrégularités du terrain peuvent vous faire déraper ou perdre l'équilibre.
Si la machine heurte un obstacle ou commence à vibrer, coupez immédiatement le moteur, attendez l'arrêt complet de toutes les pièces mobiles et débranchez le fil de la bougie avant de vérifier si la machine n'est pas endommagée. Effectuez toutes les réparations nécessaires avant de réutiliser la machine.
Avant de quitter la position d'utilisation, coupez le moteur et attendez l'arrêt de toutes les pièces mobiles.
Si le moteur vient de tourner, il est très chaud et peut vous brûler gravement. Ne vous approchez pas du moteur encore chaud.
Ne faites tourner le moteur que dans des lieux bien aérés. Les gaz d'échappement contiennent du monoxyde de carbone, un gaz inodore mortel.
Vérifiez fréquemment l'état des composants du bac à herbe et de la goulotte d'éjection, et remplacez au besoin les pièces usées ou endommagées par des pièces Toro d’origine.
Travaillez transversalement à la pente, jamais en montant ou descendant. Changez de direction avec la plus grande prudence sur les terrains en pente.
Ne tondez pas de pentes trop raides. Vous pourriez glisser et vous blesser en tombant.
Tondez toujours avec prudence à proximité de dénivellations, fossés ou berges.
Maintenez la barre de commande de la lame contre le guidon (A de Figure 13).
Tirez la poignée du lanceur (B de Figure 13).
Note: Tirez la poignée du lanceur lentement jusqu'à ce que vous sentiez une résistance, puis tirez vigoureusement. Laissez le lanceur se rétracter lentement jusqu'à la poignée.
Note: Si le moteur ne démarre pas après plusieurs tentatives, contactez un dépositaire-réparateur agréé.

Pour actionner l'autopropulsion, il vous suffit d'avancer, les mains posées sur la partie supérieure du guidon et les coudes serrés ; la machine avance automatiquement à votre rythme (Figure 14).

Note: Si vous avez des difficultés à faire reculer la machine après avoir utilisé l'autopropulsion, immobilisez-vous, laissez vos mains en place et laissez la machine avancer de quelques centimètres (pouces) pour désengager la transmission aux roues. Vous pouvez aussi essayer d'atteindre la barre en métal, située juste sous la partie supérieure du guidon, et de pousser la machine en avant sur quelques centimètres (pouces). Si la machine a toujours des difficultés à reculer, contactez un dépositaire-réparateur agréé.
| Périodicité d'entretien | Procédure d'entretien |
|---|---|
| À chaque utilisation ou une fois par jour |
|
Pour couper le moteur, relâchez la barre de commande de la lame.
Important: Lorsque vous relâchez la barre de commande de la lame, le moteur et la lame doivent s'arrêter en moins de 3 secondes. Si ce n'est pas le cas, cessez immédiatement d'utiliser la machine et adressez-vous à un dépositaire-réparateur agréé.
À la livraison, votre machine est prête à recycler l'herbe et les feuilles coupées pour nourrir votre pelouse.
Si le bac à herbe est monté sur la machine, enlevez-le avant de procéder au recyclage de l'herbe coupée. Voir Retrait du bac à herbe.
Utilisez le bac à herbe pour recueillir l'herbe et les feuilles coupées à la surface de la pelouse.
Si le bac à herbe est usé, des gravillons ou autres débris similaires peuvent être projetés vers vous ou des personnes à proximité, et infliger des blessures graves ou mortelles.
Examinez fréquemment le bac à herbe. S'il est endommagé, remplacez-le par un bac Toro neuf d'origine.
Les lames sont tranchantes et vous pouvez vous blesser gravement à leur contact.
Avant de quitter la position d'utilisation, arrêtez la machine, enlevez la clé et attendez l'arrêt complet de toutes les pièces mobiles.
Arrêtez la machine et attendez l'arrêt complet de toutes les pièces mobiles.
Soulevez le déflecteur arrière et maintenez-le dans cette position (A de Figure 15).
Retirez l'obturateur d'éjection arrière en appuyant sur le verrou avec le pouce et en tirant l'obturateur hors de la machine (B et C de Figure 15).
Placez les extrémités de la tige du bac dans les crans à la base du guidon et basculez le bac d'avant en arrière pour vous assurer que les extrémités de la tige sont bien engagées au fond des deux crans (D de Figure 15).
Abaissez le déflecteur arrière jusqu'à ce qu'il repose sur le bac à herbe.

De l'herbe ou autres débris peuvent être projetés par toute ouverture dans le carter de la machine. Ces débris peuvent être projetés avec une force suffisante vers vous ou d'autres personnes et infliger des blessures graves ou mortelles.
Si vous enlevez le bac à herbe, ne démarrez jamais la machine avant d'avoir mis en place l'obturateur d'éjection.
N'ouvrez jamais le déflecteur arrière de la machine en marche.
Inspectez la zone de travail et débarrassez-la de tout objet qui pourrait être projeté par la machine.
Évitez de heurter des obstacles avec la lame. Ne passez jamais intentionnellement sur un objet quel qu'il soit.
Si la machine heurte un obstacle ou commence à vibrer, coupez immédiatement le moteur, attendez l'arrêt complet de toutes les pièces mobiles, débranchez le fil de la bougie et vérifiez que la machine n'est pas endommagée.
Pour obtenir des résultats optimaux, installez une lame Toro au début de la saison de tonte ou quand cela est nécessaire.
Ne tondez l'herbe que sur un tiers de sa hauteur à chaque fois. N'utilisez pas une hauteur de coupe inférieure à 51 mm (2 po), sauf si l'herbe est clairsemée ou à la fin de l'automne quand la pousse commence à ralentir.
Si l'herbe fait plus de 15 cm (6 po), effectuez d'abord un premier passage à vitesse réduite à la hauteur de coupe la plus haute. Effectuez ensuite un deuxième passage à une hauteur de coupe inférieure pour obtenir une coupe plus esthétique. L'herbe trop haute risque d'obstruer la machine et de faire caler le moteur.
L'herbe et les feuilles humides ont tendance à s'agglomérer sur la pelouse et peuvent obstruer la machine et faire caler le moteur. Évitez de tondre quand l'herbe est humide.
Soyez conscient des risques d'incendie par temps très sec, respectez tous les avertissements locaux relatifs aux incendies, et ne laissez pas l'herbe et les feuilles sèches s'accumuler sur la machine.
Alternez la direction de la tonte. Cela permet de disperser les déchets plus uniformément et d'obtenir une fertilisation plus homogène.
Si l'aspect de la pelouse tondue n'est pas satisfaisant, essayez une ou plusieurs des solutions suivantes :
Remplacez la lame ou faites-la aiguiser.
Tondez en avançant plus lentement.
Augmentez la hauteur de coupe.
Tondez plus souvent.
Empiétez sur les passages précédents pour tondre une largeur de bande réduite.
Après la tonte, 50 % de la pelouse doit être visible sous la couche de feuilles hachées. À cet effet, vous devrez peut-être repasser plusieurs fois sur les feuilles.
Si la couche de feuilles sur la pelouse fait plus de 13 cm (5 po) d'épaisseur, utilisez une hauteur de coupe plus élevée, puis faites un second passage à la hauteur de coupe désirée.
Ralentissez la vitesse de déplacement si les feuilles ne sont pas hachées assez menues.
Coupez toujours le moteur, attendez l'arrêt complet de toutes les pièces en mouvement et faites refroidir la machine avant de la régler, de la réparer, de la nettoyer ou de la remiser.
Pour éviter les risques d'incendie, enlevez les brins d'herbe et autres débris qui sont agglomérés sur la machine. Nettoyez les coulées éventuelles d'huile ou de carburant.
Ne remisez jamais la machine ou les bidons de carburant à proximité d'une flamme nue, d'une source d'étincelles ou d'une veilleuse, telle celle d'un chauffe-eau ou d'autres appareils.
Procédez avec prudence pour charger ou décharger la machine.
Empêchez la machine de rouler.
| Périodicité d'entretien | Procédure d'entretien |
|---|---|
| Après chaque utilisation |
|
Pour obtenir des résultats optimaux, nettoyez rapidement le dessous de la machine après la tonte.
Abaissez la machine à la hauteur de coupe la plus basse.
Amenez la machine sur une surface revêtue plane et horizontale.
Mettez le moteur en marche et engagez la lame, puis dirigez un jet d'eau devant la roue arrière droite (Figure 16).
Note: L'eau éclaboussera en direction de la lame et enlèvera les débris d'herbe agglomérés.

Lorsqu'il ne reste plus d'herbe sur la lame, arrêtez l'eau et déplacez la machine à un endroit sec.
Mettez le moteur en marche et laissez-le tourner quelques minutes pour sécher la dessous de la machine et l'empêcher de rouiller.
Coupez le moteur, enlevez le bouton de démarrage électrique (selon l'équipement) et laissez refroidir la machine avant de la remiser dans un local fermé.
Placez la machine en position verticale ; voir Remisage de la machine en position verticale.
Lavez le dessous de la machine pour éliminer les débris d'herbe.
Pendant la saison de tonte ou hors saison, vous pouvez remiser la machine en position verticale pour minimiser l'espace occupé.
Le carburant est extrêmement inflammable et explosif. Un incendie ou une explosion causé(e) par du carburant peut vous brûler, ainsi que d'autres personnes.
Si le réservoir de carburant est trop plein, du carburant peut s'en échapper si vous remisez la machine en position verticale. Le carburant est extrêmement inflammable et explosif. Un incendie ou une explosion causé(e) par du carburant peut vous brûler, ainsi que d'autres personnes.
Ne remisez la machine en position verticale que si le niveau de carburant dans le réservoir ne dépasse pas la limite recommandée dans ce Manuel de l'utilisateur.
Ne remisez pas la machine au-delà de la position verticale (90°), car du carburant pourrait s'échapper du réservoir.
Ne transportez pas la machine en position verticale.
Ne tentez pas de démarrer la machine en position verticale.
Les machines non conçues pour cela ne doivent pas être remisées en position verticale lorsqu'elles contiennent de l'huile et du carburant.
Vous risquez d'endommager les câbles et de rendre l'utilisation de la machine dangereuse si vous ne pliez ou ne dépliez pas le guidon correctement.
Veillez à ne pas endommager les câbles en pliant ou dépliant le guidon.
Si un câble est endommagé, adressez-vous à un dépositaire-réparateur agréé.
Vérifiez que le niveau de carburant dans le réservoir ne dépasse pas la limite recommandée par le constructeur du moteur ; voir l'autocollant du constructeur apposé sur le moteur (Figure 17).
Note: Si le niveau de carburant est trop élevé dans le réservoir, vidangez-en une partie dans un bidon homologué jusqu'à ce que le niveau soit égal ou inférieur à la limite recommandée par le constructeur du moteur.

Vérifiez que la hauteur de coupe de la machine est réglée à 92 mm (3⅝ po) ou moins. Si ce n'est pas le cas, baissez-la ; voir Réglage de la hauteur de coupe.
Déverrouillez le guidon (Figure 18).

Pliez le guidon complètement en avant (Figure 18).
Important: Faites passer les câbles à l'extérieur des boutons quand vous pliez le guidon.
Verrouillez le guidon.
Soulevez l'avant de la machine par le guidon et amenez-la jusqu'à un lieu de remisage (Figure 19).

| Périodicité d'entretien | Procédure d'entretien |
|---|---|
| À chaque utilisation ou une fois par jour |
|
| Après chaque utilisation |
|
| Toutes les 25 heures |
|
| Une fois par an |
|
| Une fois par an ou avant le remisage |
|
Coupez toujours le moteur, attendez l'arrêt complet de toutes les pièces en mouvement et faites refroidir la machine avant de la régler, de la réparer, de la nettoyer ou de la remiser.
Débranchez le fil de la bougie avant de procéder à un quelconque entretien.
Portez des gants et une protection oculaire pour faire l'entretien de la machine.
La lame est tranchante et vous pouvez vous blesser gravement à son contact. Portez des gants pour effectuer l'entretien de la lame. Ne réparez pas et ne modifiez pas les lames.
N'enlevez et ne modifiez jamais les dispositifs de sécurité. Vérifiez régulièrement qu'ils fonctionnent correctement.
Du carburant peut s'échapper lorsque la machine est basculée sur le côté. Le carburant est inflammable et explosif, et peut causer des blessures. Laissez tourner le moteur jusqu'à ce qu'il s'arrête faute de carburant ou vidangez le reste de carburant avec une pompe manuelle; ne siphonnez jamais le carburant.
Pour garantir un rendement optimal de la machine, utilisez toujours des pièces de rechange et accessoires Toro d'origine. Les pièces de rechange et accessoires d'autres constructeurs peuvent être dangereux et leur utilisation risque d'annuler la garantie de la machine.
Coupez le moteur et attendez l'arrêt complet de toutes les pièces mobiles.
Débranchez le fil de la bougie (Figure 20).

Rebranchez le fil sur la bougie une fois l'entretien terminé.
Important: Avant de basculer la machine pour vidanger l'huile ou remplacer la lame, laissez le moteur en marche jusqu'à ce qu'il s'arrête faute de carburant. S'il est nécessaire de basculer la machine avant d'être à sec de carburant, utilisez une pompe à carburant manuelle pour vidanger le carburant. Basculez toujours la machine sur le côté, avec la jauge en bas.
| Périodicité d'entretien | Procédure d'entretien |
|---|---|
| Toutes les 25 heures |
|
| Une fois par an |
|
Déclipsez le haut du couvercle du filtre à air (Figure 21).

Déposez le filtre à air (Figure 21).
Examinez le filtre à air.
Note: Si le filtre à air est excessivement encrassé, remplacez-le par un neuf. Sinon, tapotez le filtre sur une surface dure pour déloger les débris.
Mettez le filtre à air en place.
Fixer le couvercle du filtre à air avec le clip.
| Périodicité d'entretien | Procédure d'entretien |
|---|---|
| Une fois par an |
|
Il n'est pas nécessaire de vidanger l'huile moteur, mais si vous souhaitez le faire, procédez comme suit.
Note: Faites tourner le moteur pendant quelques minutes avant la vidange pour réchauffer l'huile. L'huile chaude s'écoule plus facilement et entraîne plus d'impuretés.
| Capacité d'huile moteur | 0,44 L (15 oz liq.)* |
| Viscosité d'huile | Huile détergente SAE 30 ou SAE 10W-30 |
| Classe de service API | SJ ou mieux |
*Il reste de l'huile dans le carter après la vidange. Ne remplissez pas complètement le carter d'huile. Remplissez le carter d'huile en procédant comme suit :
Amenez la machine sur une surface plane et horizontale.
Tournez le bouchon dans le sens antihoraire et sortez la jauge (Figure 22).

Inclinez la machine sur le côté (filtre à air en haut) pour vidanger l'huile usagée par le tube de remplissage (Figure 22).

Redressez la machine après avoir vidangé l'huile usagée.
Versez avec précaution environ 75 % de la capacité d'huile moteur dans le tube de remplissage d'huile.
Attendez 3 minutes que l'huile se stabilise dans le moteur.
Essuyez la jauge sur un chiffon propre.
Insérez la jauge au fond du tube de remplissage, sans la visser, puis ressortez-la.
Vérifiez le niveau d'huile indiqué sur la jauge.
Si le niveau d'huile indiqué par la jauge est trop bas, versez lentement une petite quantité d'huile dans le tube de remplissage, attendez 3 minutes puis répétez les opérations 8 à 10 jusqu'à ce que le niveau d'huile correct soit indiqué par la jauge.
Si le niveau d'huile indiqué par la jauge est trop élevé, vidangez l'excédent d'huile jusqu'à obtention du niveau d'huile correct sur la jauge.
Important: Vous risquez d'endommager le moteur si vous le faites tourner alors que le niveau d'huile moteur est trop bas ou trop élevé.
Insérez et vissez solidement la jauge dans le tube de remplissage.
Recyclez l'huile usagée correctement.
| Périodicité d'entretien | Procédure d'entretien |
|---|---|
| Une fois par an |
|
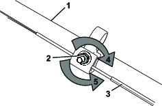
Important: Vous aurez besoin d'une clé dynamométrique pour monter la lame correctement. Si vous n'en possédez pas ou si vous ne vous sentez pas capable d'effectuer cette procédure, adressez-vous à un dépositaire-réparateur agréé.
Examinez l'état de la lame chaque fois que le réservoir de carburant est vide. Si la lame est endommagée ou fêlée, remplacez-la immédiatement. Si la lame est émoussée ou ébréchée, faites-la aiguiser et équilibrer ou remplacez-la.
La lame est tranchante et vous pouvez vous blesser gravement à son contact.
Portez des gants pour effectuer l'entretien de la lame.
Basculez la machine sur le côté (filtre à air en haut).
Immobilisez la lame avec un morceau de bois (Figure 24).

Déposez la lame mais conservez les fixations (Figure 24).
Montez la nouvelle lame et toutes les fixations (Figure 25).

Important: Dirigez les ailettes des lames vers le carter de la machine.
À l'aide d'une clé dynamométrique, serrez le boulon de la lame à 88 N·m (65 pi-lb).
Lorsque vous remplacez un câble de commande d'autopropulsion ou que l'autopropulsion est déréglée, vous devez régler l'autopropulsion.
Tournez l'écrou de réglage dans le sens antihoraire pour desserrer le réglage du câble (Figure 26).

Ajustez la tension du câble (Figure 26) en le tirant en arrière ou en le poussant en avant puis en le maintenant à cette position.
Note: Poussez le câble vers le moteur pour accroître la traction et éloignez-le du moteur pour réduire la traction.
Tournez l'écrou de réglage dans le sens horaire pour serrer le réglage du câble.
Note: Serrez l'écrou fermement avec une clé à douille ou à molette.
Remisez la machine dans un local frais, propre et sec.
Coupez toujours le moteur, attendez l'arrêt complet de toutes les pièces en mouvement et faites refroidir la machine avant de la régler, de la réparer, de la nettoyer ou de la remiser.
Lors du dernier plein de l'année, ajoutez un stabilisateur (tel l'additif de traitement Toro première qualité) au carburant frais selon les indications de l'étiquette.
Débarrassez-vous correctement du carburant inutilisé. Recyclez-le conformément à la réglementation locale ou utilisez-le dans une voiture.
Important: La présence de carburant trop vieux dans le réservoir est la principale cause des problèmes de démarrage. Ne conservez pas le carburant sans stabilisateur plus de 30 jours. Ne conservez pas le carburant stabilisé au-delà de la durée recommandée par le fabricant du stabilisateur.
Laissez tourner le moteur de la machine jusqu'à ce qu'il s'arrête faute de carburant.
Redémarrez le moteur et laissez-le tourner jusqu'à ce qu'il s'arrête. Le moteur est suffisamment sec lorsqu'il n'y a plus moyen de le faire démarrer.
Débranchez le fil de la bougie et branchez-le à la borne de retenue (selon l'équipement).
Retirez la bougie et versez 30 ml (1 oz liq.) d'huile dans l'ouverture laissée par la bougie. Tirez ensuite la poignée du lanceur lentement à plusieurs reprises pour bien répartir l'huile à l'intérieur du cylindre et empêcher celui-ci de rouiller pendant le remisage de la machine.
Remettez la bougie en place sans la serrer.
Serrez tous les écrous, boulons et vis.
Contrôlez et resserrez toutes les fixations.
Retirez la bougie et faites tourner le moteur rapidement en tirant la poignée du lanceur pour éliminer l'excédent d'huile dans le cylindre.
Reposez et serrez la bougie à 20 N·m (15 pi-lb) à l'aide d'une clé dynamométrique.
Effectuez les entretiens requis; voir .
Contrôlez le niveau d'huile moteur; voir Contrôle du niveau d'huile moteur.
Remplissez le réservoir de carburant neuf; voir Remplissage du réservoir de carburant.
Rebranchez le fil de la bougie.