តំហែទាំ
Note: កំណត់ផ្នែកខាងឆ្វេង និងផ្នែកខាងស្តាំរបស់គ្រឿងចក្រពីចំណុចបញ្ជាធម្មតា។
ការគាំទ្រផ្នែកកាត់
នៅពេលណាដែលអ្នកត្រូវការផ្អៀងផ្នែកកាត់ឲ្យប៉ះនឹងឃ្លុបកាំបិត/ដុំរមូរ ទ្រផ្នែកខាងក្រោយរបស់ផ្នែកកាត់ដើម្បីធ្វើឲ្យប្រាកដថាខ្ចៅនៅលើចុងខាងក្រោយរបស់វីសលៃតម្រូវរបារគ្រែមិនផ្ដេកលើផ្ទៃការងារ (រូបភាព 12)។

លម្អិតផ្នែកបច្ចេកទេសរបស់ឃ្លុបកាំបិត
ការជួសជុលឃ្លុបកាំបិត
មានតែជាងម៉ាស៊ីនដែលបានទទួលការបណ្តុះបណ្តាលត្រឹមត្រូវប៉ុណ្ណោះដែលគួរជួសជុលរបារឃ្លុប និងឃ្លុបកាំបិតដើម្បីការពារការខូចខាតដល់ដុំរមូរ របារឃ្លុប និងឃ្លុបកាំបិត។ ប្រសើរបំផុត ត្រូវយកផ្នែកកាត់ទៅកាន់អ្នកចែកចាយផលិតផល Toro ដែលមានការអនុញ្ញាតសម្រាប់ការជួសជុល។ សូមអាន សៀវភៅណែនាំអំពីសេវាជូសជុល សម្រាប់ម៉ាស៊ីនកាត់ស្មៅសណ្ដោងបានរបស់អ្នកសម្រាប់សេចក្ដីណែនាំពេញលេញ ឧបករណ៍ពិសេស និងដ្យាក្រាមសម្រាប់ការជួសជុលឃ្លុបកាំបិត។ បើអ្នកត្រូវការរុះរើឬដំឡើងឃ្លុបរបារដោយខ្លួនឯង ការណែនាំត្រូវបានផ្តល់ជូនខាងក្រោមដូចនឹងលម្អិតផ្នែកបច្ចេកទេសសម្រាប់ជួសជុលឃ្លុបកាំបិត។
Important: ត្រូវអនុវត្តតាមនិតិវិធីរបស់ឃ្លុបកាំបិតដែលរៀបរាប់ពិស្ដានៅក្នុង សៀវភៅណែនាំអំពីសេវាជូសជុល របស់អ្នកនៅពេលជួសជុលឃ្លុបកាំបិត។ បរាជ័យក្នុងការដំឡើង និងសំលៀងឃ្លុបកាំបិតឲ្យបានត្រឹមត្រូវអាចនាំឲ្យខូចខាតដល់ដុំរមូរ របារឃ្លុប ឬឃ្លុបកាំបិត។
ការដករបារឃ្លុបចេញ/បង្គុំឃ្លុបកាំបិត
-
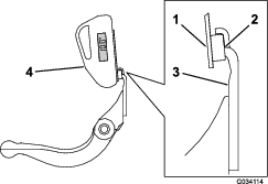
មួលវីសលៃតម្រូវរបារឃ្លុបច្រាសទ្រនិចនាឡិកាដើម្បីដកឃ្លុបកាំបិតចេញពីដុំរមូរ (រូបភាព 13)។

-
មួលខ្ចៅសម្ពាធរឺស័រចេញរហូតទាល់តែរ៉ងលែងសង្កត់នឹងរបារឃ្លុប (រូបភាព 13)។
-
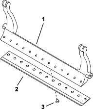
នៅផ្នែកនីមួយៗរបស់គ្រឿងចក្រ សូមបន្ធូរខ្ចៅដែលភ្ជាប់ប៊ូឡុងរបារឃ្លុប (រូបភាព 14)។

-
ដកប៊ូឡុងរបារឃ្លុបនីមួយៗ ដើម្បីឲ្យរបារឃ្លុបត្រូវបានទាញចុះក្រោម និងដកចេញពីផ្នែកកាត់ (រូបភាព 14)។
មានរ៉ងនីឡុងចំនួន 2 និងរ៉ងដែកចំនួន 1 នៅលើចុងនីមួយៗរបស់របារឃ្លុប (រូបភាព 15)។

-
ដោះឃ្លុបកាំបិតចេញពីរបារឃ្លុបដោយដោះវីសទាំងអស់ដែលចាប់វានៅជាប់ទីនោះ។ ប្រើម៉ាឡេតមួលខ្ចៅជាមួយឧបករណ៍មួលវីសឃ្លុបកាំបិត (លេខគ្រឿងបន្លាស់ TOR510880)។
Note: អ្នកអាចប្រើម៉ាឡេតដំណើរការដោយមេកានិក ឬខ្យល់ដើម្បីបន្ធូរវីសឃ្លុបកាំបិត។
Note: បោះចោលឃ្លុបកាំបិត និងវីសទាំងនោះ។
ការដំឡើងឃ្លុបកាំបិតថ្មី
-
ជ្រើសរើសឃ្លុបកាំបិតថ្មី តារាងម្ពស់មុខកាត់ និងផ្នែកឃ្លុបកាំបិត។
-
កោសបំបាត់ស្នាមច្រេះ ស្នាមដាច់ និងស្នាមច្រេះចេញពីផ្ទៃរបារឃ្លុប ហើយលាបប្រេងមួយស្រទាប់ស្ដើងទៅផ្ទៃរបារឃ្លុប។
Important: កុំដោះទ្រនាប់ ចេញពីរបារឃ្លុប។ របារឃ្លុបផតនៅផ្នែកកណ្ដាលដោយការរចនា កុំសង្កត់វា។
-
សម្អាតវ័ណ្ឌនៅលើរបារឃ្លុប។
-
លាបសមាសធាតុការពារការស្អិតជាប់លើវីសឃ្លុបកាំបិតថ្មី ហើយដំឡើងឃ្លុបកាំបិតលើរបារឃ្លុប។
Important: ប្រើសម្រាប់តែវីសឃ្លុបកាំបិតប៉ុណ្ណោះ។
Note: ចំនួនវីសខុសគ្នាអាស្រ័យលើរបារឃ្លុប។

-
មួលវីសខាងក្រៅចំនួន 2 ទៅ 1 N∙m (10 in-lb)។
-
ការធ្វើការបង្កើតចំណុចកណ្ដាលនៃឃ្លុបកាំបិត មួលវីសទៅកម្រិត 25.9 +/- 1.4 N∙m (19 +/- 1 ft-lb)។
Important: កុំរឹតវីសឃ្លុបកាំបិតដោយប្រើម៉ាឡេតដំណើរការដោយមេកានិក ឬខ្យល់។

-
កិនឃ្លុបកាំបិតថ្មី សូមមើល លម្អិតផ្នែកបច្ចេកទេសសំលៀងឃ្លុបកាំបិត។
លម្អិតផ្នែកបច្ចេកទេសសំលៀងឃ្លុបកាំបិត

| មុំសុវត្ថិភាពឃ្លុបកាំបិត (ផ្នែកខាងលើ) | សូមមើល តារាងម្ពស់មុខកាត់ និងផ្នែកឃ្លុបកាំបិត។ |
| ជួរមុំខាងមុខ | 13° ដល់ 17° |
| មុំខាងមុខឃ្លុបកាំបិតប្រើនៅវាលស្មៅ | 10° |
ការពិនិត្យមុំសំលៀងផ្នែកខាងលើ
មុំដែលអ្នកប្រើក្នុងការសំលៀងឃ្លុបកាំបិតរបស់អ្នកគឺពិតជាសំខាន់ណាស់។
ប្រើឧបករណ៍បង្ហាញមុំ (គ្រឿងបន្លាស់ Toro លេខ 131-6828) និងទម្រឧបករណ៍បង្ហាញមុំ (គ្រឿងបន្លាស់ Toro លេខ 131-6829) ដើម្បីពិនិត្យមុំដែលប្រដាប់សំលៀងរបស់អ្នកបង្កើត ហើយបន្ទាប់មកលៃតម្រូវចំពោះភាពមិនត្រឹមត្រូវណាមួយរបស់ប្រដាប់សំលៀង។
-
ដាក់ឧបករណ៍បង្ហាញមុំនៅលើផ្នែកខាងក្រោមនៃឃ្លុបកាំបិតដូចបានបង្ហាញក្នុង រូបភាព 19។

-
ប៉ះប៊ូតុង Alt Zero នៅលើឧបករណ៍បង្ហាញមុំ។
-
ដាក់ទម្រឧបករណ៍បង្ហាញមុំនៅលើជាយរបស់ឃ្លុបកាំបិត ដើម្បីឲ្យជាយមេដែកពាក់ជាប់ជាយរបស់ឃ្លុបកាំបិត(រូបភាព 20)។
Note: បន្ទះបង្ហាញឌីជីថលគួរតែអាចមើលឃើញពីផ្នែកដូចគ្នាអំឡុងជំហាននេះ ដូចដែលវានៅក្នុងជំហាន 1។

-
ដាក់ឧបករណ៍បង្ហាញមុំនៅលើទម្រដូចបានបង្ហាញនៅក្នុង រូបភាព 20។
Note: នេះជាមុំដែលប្រដាប់សំលៀងរបស់អ្នកបង្កើតឡើង ហើយគួរតែស្ថិតក្នុងមុំ 2 ដឺក្រេ នៃមុំសំលៀងផ្នែកខាងលើដែលបានណែនាំ។
ដំឡើងបង្គុំរបារឃ្លុប/ឃ្លុបកាំបិត
-
ដំឡើងបង្គុំរបារឃ្លុប/ឃ្លុបកាំបិត ដែលកំណត់ទីតាំងត្រចៀកចាប់រវាងរ៉ង និងវីសលៃតម្រូវរបារឃ្លុប (រូបភាព 13)។
Important: ទាញឧបករណ៍លៃតម្រូវ DPA មកកណ្ដាលនៅលើត្រចៀករបារឃ្លុបដូចបង្ហាញក្នុង រូបភាព 21។ប្រសិនបើឧបករណ៍លៃតម្រូវ DPA ត្រូវបានដំឡើងទល់នឹងច្រៀករបារឃ្លុប នេះអាចផ្ដល់ផលអវិជ្ជមានដោយប៉ះនឹងដុំរមូរឃ្លុបកាំបិត។

-
រឹតរបារឃ្លុបទៅនឹងបន្ទះចំហៀងនីមួយៗជាមួយប៊ូឡុងរបារឃ្លុប (ខ្ចៅនៅលើប៊ូឡុង) និងរ៉ងចំនួន 3 (សរុប 6)។
-
កំណត់ទីតាំងរ៉ងនីឡុងនៅផ្នែកនីមួយៗរបស់ទ្រនាប់បន្ទះចំហៀង។ ដាក់រ៉ងដែកខាងក្រៅរ៉ងនីឡុងនីមួយៗ (រូបភាព 15)។
-
មួលប៊ូឡុងរបារឃ្លុបពី 27 ទៅ 36 N∙m (20 ទៅ 27 ft-lb)។
-
រឹតបន្តឹងអេគ្រូមួលសម្លាប់រហូតអ្នកដោះចុងទ្រនាប់ចេញពីរ៉ងដែក តែអ្នកអាចមួលវាដោយដៃបាន។ រ៉ងនៅផ្នែកខាងក្នុងប្រហែលជាមានគម្លាត។
Important: កុំរឹតអេគ្រូមួលសម្លាប់ខ្លាំងពេក បើមិនដូច្នោះទេវានឹងធ្វើឲ្យបន្ទះចំហៀងងាកចេញ។
-
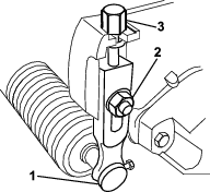
រឹតបន្តឹងខ្ចៅសម្ពាធរឺស័ររហូតទាល់តែរឺស័រធ្លាក់ស្រុត បន្ទាប់មកមួលវាចេញកន្លះ (½) ជុំ (រូបភាព 22)។

-
លៃតម្រូវឃ្លុបកាំបិតទៅនឹងដុំរមូរ សូមអាន ការលៃតម្រូវដងកាំបិតទៅដុំរមូរ
លក្ខណៈបច្ចេកទេសរបស់ដុំរមូរ
ការរៀបចំដុំរមូរសម្រាប់សំលៀង
-
ត្រូវប្រាកដថាសមាសធាតុផ្នែកកាត់ទាំងអស់មានលក្ខណៈល្អ ហើយកែតម្រូវបញ្ហាណាមួយមុនពេលសំលៀង។
-
អនុវត្តតាមការណែនាំរបស់ក្រុមហ៊ុនផលិតប្រដាប់សំលៀងដុំរមូរដើម្បីសំលៀងដុំរមូរផ្លែកាត់តាមលម្អិតផ្នែកបច្ចេកទេសដូចខាងក្រោម។
លម្អិតផ្នែកបច្ចេកទេសសំលៀងដុំរមូរ អង្កត់ផ្ចិតដុំរមូរថ្មី 128.5 មម (5.06 អ៊ិញ) ដែនកំណត់សេវាកម្មអង្កត់ផ្ចិតដុំរមូរ 114.3 មម (4.50 អ៊ិញ) មុំសុវត្ថិភាពស្លាបចក្រ 30° ± 5° ទទឹងដីស្លាបចក្រចន្លោះ 0.8 ដល់ 1.2 mm (0.03 ដល់ 0.05 អ៊ិញ) ដែនកំណត់សេវាកម្មកង់រង្វិលអង្កត់ផ្ចិតដុំរមូរ 0.25 មម (0.010 អ៊ិញ)
ការសង្កត់សង្គ្រោះដុំរមូរ
ដុំរមូរថ្មីមានប្រវែងទទឹងដីពី 0.8 ទៅ 1.2 មម (0.03 ដល់ 0.05 អ៊ិញ) និងការសង្កត់ដោះដុំរមូរមុំ 30°។
នៅពេលដែលទទឹងដីមានទំហំធំជាង 3 mm អនុវត្តដូចខាងក្រោម៖
-
អនុវត្តការសង្កត់ដោះមុំ 30° នៅលើផ្លែកាំបិតរបស់ដុំរមូរទាំងអស់រហូតដល់ទទឹងដីមានទំហំ 0.8 មម (0.03 អ៊ិញ) (រូបភាព 23។

-
សង្កត់បង្វិលដុំរមូរដើម្បីសម្រេចបាន <0.025 មម អស់ដុំរមូរ។
Note: នេះបណ្តាលឲ្យទទឹងដីកើនឡើងបន្តិចបន្តួច។
-
លៃតម្រូវផ្នែកកាត់ សូមអាន សៀវភៅណែនាំប្រតិបត្តិករផ្នែកកាត់របស់អ្នក។
Note: ដើម្បីពង្រីកភាពជាប់បានយូរនៃគែមនៃដុំរមូរ និងឃ្លុប កាំបិត—បន្ទាប់ពីបានសំលៀងដុំរមូរ និងឃ្លុបកាំបិត—សូមពិនិត្យមើលទំនាក់ទំនងរវាងដុំរមូរ និងឃ្លុបកំបិតម្តងទៀត បន្ទាប់ពីបានកាត់ 2 វាលស្មៅហើយ ដោយសារគែមដែលគ្រោមនោះនឹងត្រូវដកចេញ ដែលបង្កើតឲ្យមានការសម្អាតមិនត្រឹមត្រូវពីដុំរមូរ ទៅឃ្លុបកាំបិត ដូច្នេះហើយធ្វើឲ្យវាឆាប់រេចរិល។ ស្នាមប្រេះអាចនឹងបង្កើតឲ្យមានការសម្អាតមិនត្រឹមត្រូវពីដុំរមូរ ទៅឃ្លុបកាំបិតដែលអាចធ្វើឲ្យកាន់តែឆាប់សឹក។
ការសំលៀងផ្លែកាំបិតដោយម្សៅថ្មសំលៀងនៃផ្នែកកាត់
គ្រោះថ្នាក់
ការប៉ះនឹងដុំរមូរ ឬផ្នែកមានចលនាផ្សេងទៀតអាចបណ្តាលឱ្យមានរបួសផ្ទាល់ខ្លួន។
រក្សាម្រាមដៃ ដៃ និងសម្លៀកបំពាក់របស់អ្នកឱ្យឆ្ងាយពីដុំរមូរ ឬផ្នែកដែលមានចលនាផ្សេងទៀត។
-
នៅឱ្យឆ្ងាយពីដុំរមូរខណៈពេលដែលកំពុងសំលៀង។
-
កុំប្រើជក់លាបដងខ្លីសម្រាប់សំលៀង។ ជកដងវែងអាចរកបានពីតំណាងចែកចាយពេញសិទ្ធិរបស់ Toro ក្នុងតំបន់របស់អ្នក
-
ទុកគ្រឿងចក្រនៅលើផ្ទៃរាបស្មើ ស្អាត បន្ទាបផ្នែកកាត់ ដាក់ហ្វ្រាំងដៃ បញ្ឈប់ម៉ាស៊ីន ហើយដកកូនសោបញ្ឆេះចេញ។
-
ដោះម៉ូទ័រដុំរមូរចេញពីផ្នែកកាត់ និងផ្ដាច់ ហើយដោះផ្នែកកាត់ចេញពីដៃលើក។
-
ភ្ជាប់ម៉ាស៊ីនសំលៀងទៅនឹងផ្នែកកាត់ដោយស៊កកំណាត់បំពង់ជ្រុងប្រវែង ⅜ អ៊ិញទៅក្នុងតំណស្ពឺកងធ្មេញនៅក្នុងចុងផ្នែកកាត់។
Note: ការណែនាំ និងនិតិវិធីបន្ថែមស្ដីពីការសំលៀងអាចរកបាននៅក្នុង សៀវភៅណែនាំប្រតិបត្តិករ ម៉ាស៊ីនកាត់ស្មៅសណ្ដោងបានរបស់អ្នកនិង សៀវភៅណែនាំរបស់ Toro សម្រាប់ការសំលៀងដុំរមូរ និងម៉ាស៊ីនកាត់ស្មៅវិល, ទម្រង់លេខ 80-300PT។
Note: ដើម្បីកាត់គែមកាន់តែប្រសើរជាងមុន សូមដំណើរការឆាបនៅតាមមុខខាងមុខនៃឃ្លុបកាំបិត និដុំរមូរនៅពេលប្រតិបត្តិការជាន់លើគ្នាត្រូវបានបញ្ចប់។ នេះនឹងដោះស្នាមប្រេះ ឬគែមមិនស្មើដែលអាចបង្កើតឡើងនៅលើគែមកាត់។
ការជួសជុលរ៉ូឡូ
កញ្ចប់ប្រដាប់ប្រដារបង្កើតរ៉ូឡូឡើងវិញ (គ្រឿងបន្លាស់លេខ 140-5552) និងកញ្ចប់ឧបករណ៍បង្កើតរ៉ូឡូឡើងវិញ (គ្រឿងបន្លាស់លេខ 140-5553) (រូបភាព 24អាចរកបានសម្រាប់ការបម្រើសេវាកម្មរ៉ូឡូ។ កញ្ចប់ប្រដាប់ប្រដារបង្កើតរ៉ូឡូឡើងវិញដាក់បញ្ចូលនូវរាល់បាដាង ខ្ចៅបាដាង សៀលខាងក្នុង និងសៀលខាងក្រៅដើម្បីបង្កើតរ៉ូឡូឡើងវិញ។ ឧបករណ៍បង្កើតរ៉ូឡូឡើងវិញដាក់បញ្ចូលនូវរាល់ឧបករណ៍ និងសេចក្ដីណែនាំអំពីការដំឡើងតម្រូវឱ្យមានការបង្កើតរ៉ូឡូឡើងវិញដោយប្រើប្រដាប់ប្រដារបង្កើតរ៉ូឡូឡើងវិញ។ សូមអានសៀវភៅរាយឈ្មោះគ្រឿងបន្លាស់របស់អ្នក ឬទាក់ទងអ្នកចែកចាយផលិតផល Toro ដែលមានការអនុញ្ញាតសម្រាប់ជំនួយ។



ដែលមានន័យថា ប្រុងប្រយ័ត្ន
ព្រមាន ឬគ្រោះថ្នាក់—សេចក្ដីណែនាំអំពីសុវត្ថិភាពផ្ទាល់ខ្លួន។
ការខកខានក្នុងការគោរពតាមការណែនាំទាំងនេះអាចបណ្ដាលឲ្យរងរបួសដល់រាងកាយ
ឬការស្លាប់។









