Vzdrževanje
Note: Ugotovite, katera stran je leva in katera desna, gledano s položaja za upravljanje stroja.
Opora za rezalno enoto
Kadarkoli morate rezalno enoto nagniti, da izpostavite spodnji nož/vreteno, podprite zadnji del rezalne enote, da zagotovite, da se matice na zadnji strani nastavitvenih vijakov za nastavitev nosilca spodnjega noža ne dotikajo delovne površine (Diagram 12).

Specifikacije za spodnji nož
Servisiranje spodnjega noža
Samo ustrezno usposobljen mehanik lahko servisira nosilec spodnjega noža in spodnji nož, da prepreči poškodbe vretena, nosilca spodnjega noža ali spodnjega noža. V idealnem primeru odnesite rezalno enoto na servis k pooblaščenemu distributerju za izdelke Toro. Za popolna navodila, posebna orodja in diagrame za servisiranje spodnjega noža glejte Servisni priročnik za vašo vlečno enoto. Če bi kdaj morali sami odstraniti ali sestaviti nosilec spodnjega noža, so spodaj navedena navodila kot tudi specifikacije za servisiranje spodnjega noža.
Important: Pri servisiranju spodnjega noža vedno upoštevajte postopke za spodnji nož, ki so v Servisnem priročniku podrobno opisani. Če spodnjega noža ne namestite in obrusite pravilno, se lahko poškoduje vreteno, nosilec spodnjega noža ali spodnji nož.
Odstranjevanje nosilca spodnjega noža/sklop spodnjega noža
-
Obrnite nastavitveni vijak za nastavitev nosilca spodnjega noža v nasprotni smeri urinega kazalca, da spodnji nož odmaknete od vretena (Diagram 13).

-
Odmikajte matico za napenjanje vzmeti, dokler podložka ni več napeta ob spodnjo prečko (Diagram 13).
-
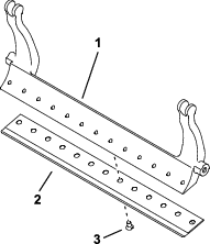
Na vsaki strani stroja popustite varovalno matico, ki pritrjuje vijak spodnje prečke (Diagram 14).

-
Odstranite vsak vijak nosilca spodnjega noža tako, da lahko nosilec spodnjega noža potegnete navzdol in ga odstranite z rezalne enote (Diagram 14).
Pazite na 2 najlonski podložki in 1 jekleno podložko na vsakem koncu nosilca spodnjega noža (Diagram 15).

-
Odstranite spodnji nož s spodnje prečke tako, da odstranite vse vijake, ki ga držijo na mestu. Uporabite nasadni ključ z orodjem za vijake spodnjega noža (št. dela TOR510880).
Note: Za odvijanje vijakov spodnjega noža lahko uporabite mehanski ali pnevmatski udarni ključ.
Note: Spodnji nož in vijake zavrzite.
Namestitev novega spodnjega noža
-
Izberite nov spodnji nož v skladu z preglednicama za nastavitev višine košnje in izbiro spodnjega noža.
-
Odstranite rjo, vodni kamen in korozijo s površine spodnje prečke in nanjo nanesite tanek sloj olja.
Important: Ne odstranjujte ulitega materiala s spodnje prečke. Spodnja prečka je na sredini konkavna; ne brusite je.
-
Očistite navoje na spodnji prečki.
-
Na nove vijake noža kosilnice nanesite sredstvo za zatesnitev in namestite spodnji nož na spodnjo prečko.
Important: Uporabljajte samo nove vijake za spodnji nož.
Note: Število vijakov se razlikuje glede na spodnjo prečko.

-
Zategnite 2 zunanja vijaka z zateznim momentom 1 N·m.
-
Začnite od sredine spodnje prečke in privijte vijake z navorom 25,9 +/-1,4 N∙m.
Important: Vijakov spodnjega noža ne zategujte z mehanskim ali pnevmatskim udarnim ključem.

-
Zbrusite novi spodnji nož; glejte Specifikacije za brušenje spodnjega noža.
Specifikacije za brušenje spodnjega noža

| (Zgornji) prosti kot spodnjega noža | Glejte preglednicama za nastavitev višine košnje in izbiro spodnjega noža. |
| Razpon sprednjega kota | Od 13° do 17° |
| Sprednji kot spodnjega noža za čistine | 10° |
Preverjanje zgornjega kota brušenja
Kot, pod katerim brusite svoje spodnje nože, je zelo pomemben.
S kazalnikom kota (št. dela Toro 131-6828) in nosilcem kazalnika kota (št. dela Toro 131-6829) preverite kot, pod katerim deluje vaš brusilnik, in ga po potrebi popravite, če brusilnik ni natančen.
-
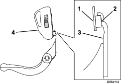
Kazalnik kota namestite na spodnjo stran spodnjega noža, kot je prikazano na sliki Diagram 19.

-
Pritisnite gumb Alt Zero na kazalniku kota.
-
Namestite nosilec kazalnika kota na rob spodnjega noža tako, da se rob magneta dotika robu spodnjega noža (Diagram 20).
Note: Digitalni zaslon naj bi bil med tem korakom viden z iste strani, kot je bil viden tudi med korakom 1.

-
Kazalnik kota namestite na nosilec, kot je prikazano na sliki Diagram 20.
Note: To je kot, ki ga ustvari vaš brusilnik, in mora biti znotraj 2 stopinj priporočenega zgornjega kota brušenja.
Namestitev sklopa spodnje prečke/spodnjega noža
-
Namestite sklop spodnje prečke/spodnjega noža in namestite montažna ušesa med podložke in vijak za nastavitev spodnje prečke (Diagram 13).
Important: Dvotočkovne nastavitvene regulatorje (DPA) postavite na sredino med ušesca spodnje prečke, kot prikazuje Diagram 21.Če so dvotočkovni nastavitveni regulatorji (DPA) nameščeni ob ušesca spodnje prečke, to lahko negativno vpliva na stik med spodnjim nožem in vretenom.

-
Pritrdite spodnjo prečko na vsako stransko ploščo z vijaki spodnje prečke (matice na vijakih) in 3 podložkami (skupaj 6).
-
Namestite podložko iz najlona na vsako stran vodila stranske plošče. Namestite jekleno podložko na zunanjo stran vsake od podložk iz najlona (Diagram 15).
-
Vijake spodnje prečke privijte s 27 do 36 N∙m.
-
Privijte varovalno matico, dokler ne odpravite vrzeli z jeklenih podložk, vendar jih lahko vrtite ročno. Podložke na notranji strani imajo lahko vrzel.
Important: Matic ne zategnite premočno, saj se bodo stranske plošče odklonile.
-
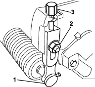
Matico za napenjanje vzmeti zategnite, dokler se vzmet ne sesede, nato pa popustite za 1/2 obrata (Diagram 22).

-
Nastavite spodnji nož glede na vreteno; glejte Nastavitev spodnjega noža glede na vreteno.
Specifikacije vretena
Priprava vretena za brušenje
-
Zagotovite, da so vse komponente rezalne enote v dobrem stanju in odpravite morebitne težave pred brušenjem.
-
Upoštevajte navodila proizvajalca brusilnika za vretena in rezalna vretena zbrusite po naslednjih specifikacijah.
Specifikacije za brušenje vreten Nov premer vretena 128,5 mm Obratovalna omejitev premera vretena 114,3 mm Prosti kot rezila 30° ± 5° Razpon širine odrezka rezila od 0,8 do 1,2 mm Obratovalna omejitev koničastega premera vretena 0,25 mm
Varnostno brušenje vretena
Novo vreteno ima širino odrezka od 0,8 do 1,2 mm in prosti kot 30°.
Ko je del vretena, ki pride v stik s travo, širši od 3 mm, izvedite naslednje:
-
Na vseh rezilih vretena nastavite prosti kot 30°, dokler ni širina odrezka 0,8 mm (Diagram 23).

-
Med vrtenjem brusite vreteno za < 0,025 mm.
Note: Tako se bo širina vretena, ki pride v stik s travo, nekoliko povečala.
-
Nastavite rezalno enoto; za vašo rezalno enoto glejte Priročnik za upravljanje.
Note: Da bi rob vretena in spodnji nož dlje časa ostala ostra, po brušenju vretena in/ali spodnjega noža ponovno preverite stik med vretenom in nožem, še prej pa pokosite 2 zelenici, saj boste tako odstranili morebitni zarobki. Zarobki lahko povzročijo, da bi bila lahko razdalja med vretenom in spodnjim nožem neprimerna in bi se tako pospešila obraba.
Brušenje rezalne enote
Nevarnost
Stik z vretenom ali drugimi premikajočimi se deli lahko povzroči telesne poškodbe.
Prsti, roke in oblačila ne smejo biti blizu vreten ali drugih premikajočih se delov.
-
Med brušenjem se ne približujte vretenom.
-
Nikoli ne uporabljajte krtače s kratkim ročajem za brušenje. Krtače z dolgimi ročaji so na voljo pri vašem lokalnem pooblaščenem distributerju za izdelke Toro.
-
Stroj parkirajte na čisti, ravni površini, spustite rezalne enote, zaustavite motor, zategnite parkirno zavoro in odstranite kontaktni ključ.
-
Odstranite motorje vreten z rezalne enote in odklopite ter odstranite rezalno enoto z dvižnih rok.
-
Povežite stroj za brušenje z rezalno enoto tako, da vstavite kos dolg ⅜" kvadratnega materiala v spoj utora na koncu rezalne enote.
Note: Dodatna navodila in postopki za pritrjevanje so na voljo v Priročniku za upravljanje vaše vlečne enote in v Priročniku Toro za brušenje vretena in rotacijske kosilnice, obrazec št. 80-300PT.
Note: Za boljši rezalni rob po brušenju s pilo potegnite čez sprednji del spodnjega noža in vretena. S tem boste odstranili vse grebene ali grobe robove, ki so se morda nabrali na rezalnem robu.
Servisiranje valja
Za servisiranje valja sta na voljo komplet za obnovo valja Roller Rebuild Kit (št. dela 140-5552) in komplet orodij za obnovo valja Roller Rebuild Tool Kit (št. dela 140-5553) (Diagram 24). Komplet za obnovo valja Roller Rebuild Kit vključuje vse ležaje, ležajne matice, notranja tesnila in zunanja tesnila za obnovo valja. Komplet orodij za obnovo valja Roller Rebuild Tool Kit vključuje vsa orodja in navodila za namestitev, ki so potrebna za obnovo valja s kompletom za obnovo valja. Za pomoč glejte katalog delov ali se obrnite na pooblaščenega distributerja za izdelke Toro.



, ki lahko pomeni: svarilo, opozorilo ali nevarnost – navodilo
za osebno varnost. Neupoštevanje teh navodil lahko privede
do telesnih poškodb ali smrti.









