Одржавање
Note: Utvrdite levu i desnu stranu mašine iz uobičajenog položaja operatera.
Podupiranje jedinice za sečenje
Svaki put kada treba da nagnete jedinicu za sečenje kako biste otkrili ležajni nož/cilindar, poduprite zadnji deo jedinice za sečenje kako biste osigurali da navrtke na zadnjem kraju zavrtanja za podešavanje ležajne šipke ne budu naslonjene na radnu površinu (Слика 12).

Specifikacije ležajnog noža
Servisiranje ležajnog noža
Samo propisno obučeni mehaničar treba da servisira ležajnu šipku i ležajni nož kako bi se sprečilo oštećenje cilindra, ležajne šipke ili ležajnog noža. U idealnom slučaju, servisirajte jedinicu za sečenje kod ovlašćenog distributera kompanije Toro. Pogledajte servisni priručnik za svoju vučnu jedinicu za potpuna uputstva, posebne alate i dijagrame za servisiranje ležajnog noža. Ako ikada bude potrebno da sami uklonite ili montirate ležajnu šipku, uputstva su data u nastavku, kao i specifikacije za servisiranje ležajnog noža.
Important: Kada servisirate ležajni nož uvek pratite postupke za ležajni nož koji su navedeni u vašem servisnom priručniku. Ukoliko ne montirate i ne naoštrite ležajni nož pravilno, može doći do oštećenja cilindra, ležajne šipke ili ležajnog noža.
Uklanjanje sklopa ležajne šipke/ ležajnog noža
-
Okrenite zavrtanj za podešavanje ležajne šipke u smeru suprotnom od kretanja kazaljke na satu da biste udaljili ležajni nož od cilindra (Слика 13).

-
Olabavite navrtku za zatezanje opruge dok podloška više ne bude zategnuta uz ležajnu šipku (Слика 13).
-
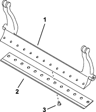
Na svakoj strani mašine, otpustite sigurnosnu navrtku koja pričvršćuje zavrtanj ležajne šipke (Слика 14).

-
Uklonite svaki zavrtanj ležajne šipke, omogućavajući da se ležajna šipka povuče nadole i ukloni sa jedinice za sečenje (Слика 14).
Uzmite 2 najlonske podloške i 1 čeličnu podlošku na svakom kraju ležajne šipke (Слика 15).

-
Uklonite ležajni nož sa ležajne šipke uklanjanjem svih zavrtanja koje ga drže pričvršćenim. Upotrebite nasadni ključ sa alatom za zavrtnje ležajnog noža (br. dela TOR510880).
Note: Možete da upotrebite mehanički ili pneumatski udarni ključ da otpustite zavrtnje ležajnog noža.
Note: Odložite ležajni nož i zavrtnje.
Montiranje novog ležajnog noža
-
Izaberite novi ležajni nož u skladu sa Tabela izbora visine košenja i ležajnog noža.
-
Uklonite rđu, kamenac i koroziju sa površine ležajne šipke i nanesite tanak sloj ulja na površinu ležajne šipke.
Important: Nemojte uklanjati izliveni materijal sa ležajne šipke. Ležajna šipka je projektovana da bude konkavna u sredini; nemojte je brusiti.
-
Očistite navoje u ležajnoj šipci.
-
Nanesite sredstvo protiv vezivanja na nove zavrtnje ležajnog noža i montirajte ležajni nož na ležajnu šipku.
Important: Koristite isključivo nove zavrtnje ležajnog noža.
Note: Broj potrebnih zavrtanja zavisi od ležajne šipke.

-
Zategnite 2 spoljašnja zavrtnja na 1 N·m.
-
Radeći od sredine ležajnog noža, zategnite zavrtnje momentom od 25,9 +/- 1,4 N∙m.
Important: Nemojte zatezati zavrtnje ležajnog noža pomoću mehaničkog ili pneumatskog udarnog ključa.

-
Naoštrite novi ležajni nož; pogledajte Specifikacije za oštrenje ležajnog noža.
Specifikacije za oštrenje ležajnog noža

| Rasteretni (gornji) ugao ležajnog noža | Pogledajte Tabela izbora visine košenja i ležajnog noža. |
| Opseg prednjeg ugla | 13° do 17° |
| Prednji ugao ležajnog noža plovnog puta | 10° |
Provera gornjeg ugla oštrenja
Ugao koji koristite za oštrenje ležajnih noževa je vrlo važan.
Koristite indikator ugla (Toro br. dela 131-6828) i nosač indikatora ugla (Toro br. dela 131-6829) da biste proverili ugao koji proizvodi vaš oštrač, a zatim ispravite bilo kakvu netačnost oštrača.
-
Postavite indikator ugla na donju stranu ležajnog noža kao što je prikazano na Слика 19.

-
Pritisnite dugme Alt Zero na indikatoru ugla.
-
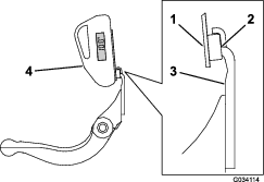
Postavite držač indikatora ugla na ivicu ležajnog noža tako da ivica magneta bude spojena sa ivicom ležajnog noža (Слика 20).
Note: Digitalni displej bi trebalo da se vidi sa iste strane tokom ovog koraka kao što je bilo u koraku 1.

-
Postavite indikator ugla na nosač kao što je prikazano na Слика 20.
Note: Ovo je ugao koji proizvodi vaš oštrač i treba da bude unutar 2 stepena od preporučenog gornjeg ugla oštrenja.
Montiranje sklopa ležajna šipka / ležajni nož
-
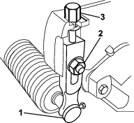
Montirajte sklop ležajne šipke / ležajnog noža, postavljajući montažne ušice između podloški i zavrtnja za podešavanje ležajne šipke (Слика 13).
Important: Centrirajte podešavanja u dve tačke (DPA) u ušicama ležajne šipke, kao što je prikazano na Слика 21.Ako su podešavanja u dve tačke (DPA) montirana na ušice ležajne šipke, to može negativno da utiče na kontakt između ležajnog noža i cilindra.

-
Pričvrstite ležajnu šipku na svaku bočnu ploču pomoću zavrtanja ležajne šipke (navrtkama na zavrtnjima) i 3 podloške (ukupno 6).
-
Postavite najlonsku podlošku na svakoj strani glavčine bočne ploče. Postavite čeličnu podlošku spolja na svakoj najlonskoj podloški (Слика 15).
-
Zategnite zavrtnje ležajne šipke na 27 do 36 N∙m.
-
Zategnite sigurnosne navrtke dok ne uklonite krajnji zazor sa čeličnih podloški, ali tako da ih možete rotirati rukom. Podloške na unutrašnjoj strani mogu imati razmak.
Important: Nemojte previše zatezati sigurnosne navrtke jer će saviti bočne ploče.
-
Zategnite navrtku za zatezanje opruge dok se opruga ne priljubi, a zatim je olabavite za ½ okreta (Слика 22).

-
Podesite ležajni nož na cilindar; pogledajte Podešavanje ležajnog noža na cilindar.
Specifikacije cilindra
Priprema cilindra za oštrenje
-
Proverite da li su sve komponente jedinice za sečenje u dobrom stanju i rešite sve probleme pre oštrenja.
-
Pratite uputstva proizvođača oštrača cilindra za oštrenje cilindra prema sledećim specifikacijama.
Specifikacije za oštrenje cilindra Novi prečnik cilindra 128,5 mm Servisno ograničenje prečnika cilindra 114,3 mm Rasteretni ugao sečiva 30° ± 5° Opseg širine kontakta sečiva od 0,8 do 1,2 mm Servisno ograničenje konusnog prečnika cilindra 0,25 mm
Rasteretno oštrenje cilindra
Novi cilindar ima širinu kontakta od 0,8 do 1,2 mm i rasteretni ugao oštrenja od 30°.
Kada širina kontakta postane veća od 3 mm, uradite sledeće:
-
Primenite oštrenje pod rasteretnim uglom od 30° na sva sečiva cilindra dok širina kontakta ne bude široka 0,8 mm (Слика 23).

-
Zavrtite oštrenje cilindra kako bi se postiglo <0,025 mm slobodnog prostora cilindra.
Note: To dovodi do blagog povećanja širine kontakta.
-
Podesite jedinicu za sečenje; pogledajte za vašu jedinicu za sečenje priručnik za operatera.
Note: Da biste produžili vek trajanja oštrine ivice cilindra i ležajnog noža – nakon oštrenja cilindra i/ili ležajnog noža – ponovo proverite kontakt između cilindra i ležajnog noža nakon košenja 2 golf grinova, jer će sve neravnine biti uklonjene. Neravnine mogu da stvore neispravan zazor između cilindra i ležajnog noža i time ubrzaju habanje.
Oštrenje jedinice za sečenje glačanjem u obrnutom smeru rotacije
Опасност
Kontakt sa cilindrom ili drugim pokretnim delovima može dovesti do telesne povrede.
Držite prste, šake i odeću podalje od cilindra ili drugih pokretnih delova.
-
Držite se dalje od cilindra tokom oštrenja.
-
Nemojte nikada koristiti četku za farbanje kratke drške za oštrenje. Četke sa dugačkom drškom možete nabaviti kod lokalnog ovlašćenog distributera kompanije Toro.
-
Postavite mašinu na čistu, ravnu površinu, spustite jedinice za sečenje, zaustavite motor, aktivirajte parkirnu kočnicu i uklonite kontakt ključ.
-
Uklonite motore cilindra iz jedinica za sečenje i odvojite i uklonite jedinice za sečenje sa podiznih krakova.
-
Povežite mašinu za oštrenje na jedinicu za sečenje umetanjem komada kvadrata od ⅜ inča u urezanu spojnicu na kraju jedinice za sečenje.
Note: Dodatna uputstva i postupke za oštrenje možete pronaći u priručniku za operatera vaše vučne jedinice i Toro priručniku za oštrenje cilindra i rotacionih kosilica, obrazac br. 80-300PT.
Note: Za bolju oštricu, pređite turpijom preko prednje strane ležajnog noža i cilindra kada se završi operacija oštrenja. Time ćete ukloniti sve neravnine ili grube ivice koje se mogu stvoriti na oštrici.
Servisiranje valjka
Komplet za remont valjaka (br. dela 140-5552) i komplet alata za remont valjaka (br. dela 140-5553) (Слика 24) dostupni su za servisiranje valjaka. Komplet za remont valjaka uključuje sve ležaje, navrtke ležaja, unutrašnje zaptivke i spoljašnje zaptivke za remont valjaka. Komplet za remont valjaka uključuje sve alate i uputstva za instalaciju potrebne za remont valjaka pomoću kompleta za remont valjaka. Pogledajte svoj katalog delova ili se obratite za pomoć ovlašćenom distributeru kompanije Toro.



, koji znači Oprez,
Upozorenje ili Opasnost – uputstvo za ličnu bezbednost.
Nepoštovanje ovih uputstava može dovesti do telesne
povrede ili smrtnog ishoda.









